Проектирование объемного гидропривода движения подачи шлифовального станка

  • Вид работы:
    Курсовая работа (т)
  • Предмет:
    Другое
  • Язык:
    Русский
    ,
    Формат файла:
    MS Word
    140,07 Кб
  • Опубликовано:
    2014-11-27
Вы можете узнать стоимость помощи в написании студенческой работы.
Помощь в написании работы, которую точно примут!

Проектирование объемного гидропривода движения подачи шлифовального станка

Оглавление

1. Исходные данные

. Анализ исходных данных

.1 Описание работы гидропривода и назначение элементов гидропривода

.2 Выбор рабочей жидкости гидропривода и описание ее свойства

.3 Определение усилие на штоке гидропривода, хода штока и скорости движения при рабочем и холостом ходе

. Определение расчетного диаметра гидроцилиндра и выбор типа и размеров стандартного гидроцилиндра

. Определение величины действительной подачи рабочей жидкости в гидроцилиндр при рабочем и холостом ходе

. Определение подачи насоса и объемного КПД

. Определение диаметров всасывающего, нагнетательного и сливного трубопровод по допустимым скоростям

. Выбор типа и гидравлических характеристик основных элементов гидропривода

. Определение давления на выходе насоса

. Выбор типа и описание характеристик стандартного гидронасоса

. Определение общего КПД привода

. Определение минимально необходимого объема жидкости

. Изображение полученного гидропривода с помощью условных обозначений

Литература

         

          1. Исходные данные


Спроектировать объемный гидропривод движения подачи шлифовального станка, обеспечивающего обработку с силой Р при перемещении стола на расстояние S.

Регулирование скорости движения потока гидропривода осуществляется машинным способом.

Таблица 1

Р, Н

, МПа

S, мм

t1, с

t2, с

7000

4

2000

15

15


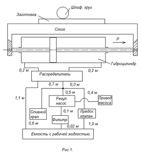
Структура гидропривода.

         

          2. Анализ исходных данных

         

          2.1 Описание работы гидропривода и назначение элементов гидропривода


При включении привода насоса, шлифовального станка, на панели станка, сливной кран находится в закрытом положении. После включения привода насоса масло через фильтр тонкой очистки поступает по трубопроводу в насос. Насос, создавая рабочее давление, направляет масло по трубопроводу в центральную проточку реверсивного золотника (на рис. 1 - распределитель).

Из реверсивного золотника масло поступает в правую или левую полость гидроцилиндра, тем самым, заставляя поршень перемещаться соответственно влево или вправо. В свою очередь масло из левой или правой полости гидроцилиндра вытекает в одну из полостей распределителя, откуда по трубопроводу поступает в резервуар с рабочей жидкостью.

Тем временем реверсивный золотник, дойдя до упора, через механизм реверсирования, перемещается в противоположную сторону, тем самым масло под давлением поступает соответственно в левую или в правую полость гидроцилиндра. А из правой или левой полости гидроцилиндра масло через реверсивный золотник сливается в резервуар.

Для предохранения гидросистемы гидропривода от избыточного давления масла, подаваемого насосом, предусмотрен предохранительный клапан. Скорость перемещения поршня, в данном случае, изменяется с помощью регулируемого насоса.

В конце работы шлифовального станка или при необходимости моментальной остановки поршня, в гидроприводе предусмотрен сливной кран, с помощью которого масло поступающее из насоса сливается прямо в резервуар, тем самым, разгружая гидросистему.

Назначение элементов гидропривода:

1. Привод насоса - предназначен для передачи вращательного движения через вал на ротор насоса;

2. Насос - предназначен для преобразования энергии движения ведущего звена (вала) в энергию потока масла;

3. Фильтр - предназначен для поддержания в процессе эксплуатации необходимой чистоты масла в целях обеспечения надежной и долговечной работы гидропривода;

4. Распределитель - предназначен для изменения направления или пуска и остановки потока масла в двух или более линиях в зависимости от наличия внешнего управляющего воздействия. Они позволяют реверсировать движение рабочих органов в станках, останавливать рабочие органы, а также выполнять другие операции в соответствии с гидросхемой распределителя;

5. Гидроцилиндр - предназначен для преобразования энергии потока масла в энергию движения выходного звена гидромашины, рабочий процесс гидроцилиндра основан на попеременном заполнении рабочей камеры маслом и вытеснении его из рабочей камеры;

6. Сливной кран - предназначен для слива масла из гидросистемы, тем самым, разгружая последнюю;

7. Предохранительный клапан - предназначен для предохранения гидропривода от избыточного давления, превышающего рабочее.

         

          2.2 Выбор рабочей жидкости гидропривода и описание ее свойства


Для данного гидропривода выбираем масло Турбинное Т30, как наиболее применяемое масло для станков и отвечающее необходимыми свойствами.

Приведем необходимые свойства выбранного масла:

а) кинематическая вязкость при 50ºС - 3 • 10-5 м3/с;

б) индекс вязкости, не более- 90;

в) кислотное число, мг КОН на 1 г масла, не более - 0,02;

г) плотность масла - 900 кг/м3;

д) температура застывания - 12°С.

         

          2.3 Определение усилие на штоке гидропривода, хода штока и скорости движения при рабочем и холостом ходе


Усилие на штоке гидропривода дано в задании и составляет Р = 7000 Н.

Ход штока принимаем наибольший по заданию - S = 2000 мм = 2 м.

Определяем скорость движения при рабочем Vраб., м/с, и холостом Vхх., м/с, ходе по формулам:

, (0)

, (0)

где t1, t2 - время движения рабочего и холостого хода, соответственно равно 15с (см. задание).

Таким образом:

         

          3. Определение расчетного диаметра гидроцилиндра и выбор типа и размеров стандартного гидроцилиндра


Определяем расчетный диаметр поршня гидроцилиндра Dпорш. по формуле:

 (0)

где р = 4 МПа - рабочее давление гидроцилиндра, Па;

α = 0,35 - отношение диаметра штока к диаметру поршня;

η = 0,95 - К.П.Д. гидроцилиндра.

.

Принимаем по ГОСТ 12447-80 [1] диаметр поршня Dпорш = 50 мм.

Определяем расчетный диаметр штока dштока. по формуле:

 (0)

По справочнику [1] принимаем стандартный гидроцилиндр повышенной точности П2 - 50 × 20 × 2 000 ОТС 2Г22-2-73 с диаметром поршня 50 мм, диаметром штока 20 мм, величиной хода штока 2000 мм с торможением в конце хода поршня при его движении в обе стороны.

          4. Определение величины действительной подачи рабочей жидкости в гидроцилиндр при рабочем и холостом ходе


Так как в данном случае гидроцилиндр двухштоковый, то, следовательно, в дальнейшем расчете рассчитывается только рабочий ход (холостой будет равен рабочему).

Определяем величину действительной подачи масла в гидроцилиндр при рабочем ходе Qраб, м3/с, по формуле:

(0)

где Sэф. раб - рабочая площадь поршня в штоковой камере, м2.

Тогда:

раб. = Qхх. = 2,15 • 10 -4 м3/с = 0,0128 м3/мин = 12,8 л/мин.

          5. Определение подачи насоса и объемного КПД


Определяем подачу насоса Qнасоса. с учетом утечек, величину которых принимаем из расчета 1% от действительной подачи:

 (0)

где Qmax. - максимально необходимая величина подачи масла по гидроприводу, м3/мин.

Принимаем величину Qmax. значение действительной подачи масла в гидроцилиндр при рабочем ходе:

Qmax. = Qхх. = 0,0128 м3/мин.

Тогда подача насоса будет равна:

гидропривод холостой насос давление

Определяем объемный КПД насоса ηо по формуле:

, (0)

         

          6. Определение диаметров всасывающего, нагнетательного и сливного трубопровод по допустимым скоростям


Определяем диаметр всасывающего трубопровода dтр.вс., мм, по формуле:

, (0)

где Vвс. = 1,5 м/с - расчетная скорость всасывания масла, м/с.


Принимаем по ГОСТ 12447-80 диаметр всасывающего трубопровода dтр.вс. = 14 мм.

Определяем диаметр нагнетающего трубопровода dтр. нагн., мм, по формуле:

, (0)

где Qmax -величина действительной подачи масла при рабочем ходе (см. п.3), м3/мин;

Vнагн. = 2,0 м/с - расчетная скорость нагнетания масла, м/с.


Принимаем по ГОСТ 12447-80 диаметр нагнетающего трубопровода dтр. нагн. = 12 мм.

Определяем диаметр сливного трубопровода dтр.сл., мм, по формуле:

, (0)

где Qmax.СЛ. -величина подачи слива масла при рабочем ходе (см. п.5), м3/мин.сл. = 2,0 м/с - расчетная скорость слива масла, м/с.


Принимаем по ГОСТ 12447-80 диаметр сливного трубопровода dтр.сл. = 12 мм.

Выбираем стальные холоднотянутые без шовные трубы по ГОСТ 8734-75 [4] стр. 230. Для всасывающего трубопровода принимаем:

.

Для сливного и нагнетающего трубопровода принимаем:

.

После принятия стандартных размеров труб пересчитаем фактические значения скоростей всех принятых труб. Фактические скорости всасывания Vвс., нагнетания Vнагн., и слива Vсл., соответственно определяем по формулам:

, (0)

, (0)

. (0)

Учитывая размеры принятых труб, определяем фактические скорости по формулам (11÷13):

         

          7. Выбор типа и гидравлических характеристик основных элементов гидропривода


Выбираем основные характеристики основных элементов гидропривода учитывая рабочие давления и условные проходы элементов по справочнику [1]:

1)   всасывающий фильтр - 0,08Г42-М33В; диаметр условного прохода-32 мм; способ монтажа-для встраивания; номинальная тонкость фильтрации-80 мкм; номинальная пропускная способность - 40÷400 л/мин; тип фильтроэлемента - сетчатый очищаемый; способ сигнализации - имеется индикатор электрической и визуальной сигнализации, а также перепускной клапан;

2)   предохранительный клапан - МПВГ52-24; диаметр условного прохода - 20 мм; рабочее давление 0,6÷6,3 МПа; без электронного управления разгрузкой; стыковое присоединение клапана;

3)   распределитель (трехпозиционный) - РН 322-ФМ 54; диаметр условного прохода - 32 мм; номинальное давление 20 МПа; способ присоединения - без плиты; с механическим управлением и фиксацией золотника, но без регулировки времени срабатывания; исполнение гидрораспределителя по 54-ой гидросхеме ([1] стр. 102);

4)   сливной кран (двухпозиционный) - БГ 71-31; рабочее давление 20 МПа; расход масла - 8 л/мин; с резьбовым присоединением, фланцевым креплением для наружной установки.

         

          8. Определение давления на выходе насоса


Определим необходимое давление на выходе насоса с учетом потерь на элементах гидропривода с помощью уравнения:

 (0)

где ρ • g = 900 • 9,81 = 8829 кг/(м•с)2 - удельный вес масла;

Р = 4 МПа = 4 • 10 6 Па - рабочее давление в гидроцилиндре;

Δh - потери давления, определяемые по формуле:

 (14.1)

где Σ ℓ - суммарная длина трубопровода, м;- внутренний диаметр трубопровода, м;

Σ ξ - сумма коэффициентов местных сопротивлений;- скорость в трубопроводе, м/с.

Для данного расчета принимаем величены коэффициентов местных сопротивлений:

для резких изгибов трубопровода - ξизг = 1;

для выхода масла из сливной полости гидроцилиндра - ξвых = 2,6;

для тройника трубопровода - ξтр = 1,2;

для гидрораспределителя - ξг. расп = 2

для входа в гидроцилиндр - ξг. расп = 2,8.

Таким образом:

Σ ξ = 6 • 1 + 2,6 + 1,2 + 2 + 2,8 = 14,6.

Σ ℓ = 0,3 + 0,2 + 0,2 + 1,1 = 1,8 м.

d = 0,0132 м.= 1,559 м/с.

λ - коэффициент гидравлического сопротивления в трубопроводе.


, (0)

где ν - кинематическая вязкость масла, м3/с;- диаметры нагнетающего и сливного трубопроводов, соответственно, м.

.

Так как число Рейнольдса меньше 2300 в обоих случаях, то режим движения ламинарный.

Следовательно:


Таким образом:


Следовательно, искомое необходимое давление на выходе насоса с учетом потерь на элементах гидропривода равно:

          9. Выбор типа и описание характеристик стандартного гидронасоса


После проведенных расчетов необходимого давления на выходе насоса принимаем гидронасос пластинчатый регулируемый - Г12-53АМ с характеристиками:

1)   величина подачи масла - 25,5 л/мин;

2)   давление на выходе из насоса - 6,3 МПа;

3)   номинальная частота вращение вала насоса - 1500 об/мин;

4)   номинальная мощность - 3,6 кВт;

5)   рабочий объем - 20 см3.

         

          10. Определение общего КПД привода


Определяем общий КПД привода ηобщ. по формуле:

 (0)

         

          11. Определение минимально необходимого объема жидкости


Определяем минимальный объем рабочей жидкости Vmin.объем, дм3, необходимого для нормальной работы гидропривода, по формуле:

 (0)


Принимаем по ГОСТ 12448-80 [1] стандартный объем бака для рабочей жидкости:

Vбака = 40 дм3.

          12. Изображение полученного гидропривода с помощью условных обозначений



          Литература


1. Гидравлика, гидромашины и гидроприводы: Учеб. для машиностроительных вузов / Т.М. Башта, С.С. Руднев, Б.Б. Некрасов и др. - 2-е изд., перераб. - М., "Машиностроение", 1982.

2. Анурьев В.И. Справочник конструктора-машиностроителя: В 3-х т. Т. 3. - 5-е изд., перераб. и доп. - М.: Машиностроение, 1978.

3. Анурьев В.И. Справочник конструктора-машиностроителя: В 3-х т. Т. 2. - 5-е изд., перераб. и доп. - М.: Машиностроение, 1978.

4. Свешников В.К., Усов А.А. Станочные гидроприводы: Справочник. - М.: Машиностроение, 1982.

Похожие работы на - Проектирование объемного гидропривода движения подачи шлифовального станка

 

Не нашли материал для своей работы?
Поможем написать уникальную работу
Без плагиата!
Без нейросетей!