Привод к роторному затвору пневматического рыбоперегружателя
СОДЕРЖАНИЕ
ЗАДАНИЕ
.
ОПИСАНИЕ ПРОЕКТИРУЕМОГО РЕДУКТОРА
.
ВЫБОР ЭЛЕКТРОДВИГАТЕЛЯ И КИНЕМАТИЧЕСКИЙ РАСЧЕТ
.
РАСЧЕТ ЗУБЧАТЫХ КОЛЕС РЕДУКТОРА
.
ПРЕДВАРИТЕЛЬНЫЙ РАСЧЕТ ВАЛОВ РЕДУКТОРА
.
КОНСТРУКТИВНЫЕ РАЗМЕРЫ ШЕСТЕРНИ И КОЛЕСА
.
КОНСТРУКТИВНЫЕ РАЗМЕРЫ КОРПУСА РЕДУКТОРА
.
РАСЧЕТ ЦЕПНОЙ ПЕРЕДАЧИ
.
ПЕРВЫЙ ЭТАП КОМПОНОВКИ РЕДУКТОРА
.
ПРОВЕРКА ДОЛГОВЕЧНОСТИ ПОДШИПНИКА
.
ВТОРОЙ ЭТАП КОМПОНОВКИ РЕДУКТОРА
.
ПРОВЕРКА ПРОЧНОСТИ ШПОНОЧНЫХ СОЕДИНЕНИЙ
.
УТОЧНЕННЫЙ РАСЧЕТ ВАЛОВ
СПИСОК
ЛИТЕРАТУРЫ
ЗАДАНИЕ
Спроектировать привод к роторному затвору
пневматического рыбоперегружателя (рис.1), состоящий из электродвигателя 1
комбинированной упруго-предохранительной муфты 2, редуктора с косозубыми
цилиндрическими колёсами 3 и цепной передачи с втулочно-роликовой цепью 4.
Через приёмный бункер рыба подаётся к разгрузочному устройству, частью которого
служит роторный затвор. Он выполнен в виде корпуса 5, внутри которого на
коренном валу установлен ротор с радиальными лопастями и резиновыми
уплотнителями на них 6. Объём между лопастями заполняется рыбой, при вращении
ротора высыпающейся в разгрузочный люк. Мощность на валу ротора Pр =3,6 кВт.
Частота вращения вала ротора nр =80 об/мин. и синхронная частота вращения
двигателя nс =1500 об/мин.
редуктор роторный привод подшипник
ОПИСАНИЕ ПРОЕКТИРУЕМОГО РЕДУКТОРА
Одноступенчатые цилиндрические редукторы
Из редукторов рассматриваемого типа наиболее
распространены горизонтальные (рис. 2). Как горизонтальные, так и вертикальные
редукторы могут иметь колеса с прямыми, косыми или шевронными зубьями. Корпуса
чаще выполняют литыми чугунными, реже - сварными стальными. При серийном
производстве целесообразно применять литые корпуса. Валы монтируют на
подшипниках качения или скольжения. Последние обычно применяют в тяжелых
редукторах.
Максимальное передаточное число одноступенчатого
цилиндрического редуктора по ГОСТ 2185-66 umax=12,5. Высота одноступенчатого
редуктора с таким или близким к нему передаточным числом больше, чем
двухступенчатого с тем же значением и. Поэтому практически редукторы с
передаточными числами, близкими к максимальным, применяют редко, ограничиваясь
и<6. Ново-Краматорский машиностроительный завод (НКМЗ) выпускает крупные
(межосевые расстояния aw = 300÷1000
мм) одноступенчатые горизонтальные редукторы с и = 2,53÷8,0.
Выбор горизонтальной или вертикальной схемы для
редукторов всех типов обусловлен удобством общей компоновки привода
(относительным расположением двигателя и рабочего вала приводимой в движение
машины и т. д.).
Рис. 2 Одноступенчатый горизонтальный редуктор с
цилиндрическими зубчатыми колесами:а - кинематическая схема: б - общий вид
редуктора с косозубыми колесами
Цепная передача
Цепная передача состоит из звездочек и цепи.
Цепи по назначению бывают:
приводные;
конвейерные;
тяговые;
По конструкции:
зубчатые;
втулочные;
одно, двухрядные.
Достоинство:
1. Большие передаточные отношения
.
. Большое усилие.
. Больше срок эксплуатации цепи.
Недостатки:
. Необходимость в смазке.
. Шум при высоких скоростях.
. Сложность конструкции
Валы и оси
Валы вращаются и передают крутящий
момент, оси могут вращаться или быть неподвижными, но никогда не передают
крутящего момента и поэтому валы рассчитываются на кручение и изгиб, а оси
только на изгиб.
ВЫБОР ЭЛЕКТРОДВИГАТЕЛЯ И
КИНЕМАТИЧЕСКИЙ РАСЧЕТ
По ([1] §1.1 табл.1.1.) примем:
КПД пары цилиндрических зубчатых
колес η1 = 0,97;
коэффициент, учитывающий потери пары подшипников качения, η2 = 0,99;
кпд открытой цепной передачи η3 = 0,95; кпд, учитывающий потери в
опорах вала приводного барабана, η4 = 0,99.
Общий КПД привода
η=η1 η2 η32 =
0,97·0,95·0,992 = 0,9.
Мощность на валу ротора Рр = 3,6
кВт.
Требуемая мощность электродвигателя
кВт.
В ([1] Приложения. табл.П.1) по
требуемой мощности Ртр=4 кВт с учетом возможностей привода, состоящего из
цилиндрического редуктора и цепной передачи (см. [1] §1.3 возможные значения
частных передаточных отношений для цилиндрического зубчатого редуктора iр = 3
6 и для
цепной передачи iц = 3
6, iобщ = iр
iц = =9
36),
выбираем электродвигатель трехфазный
короткозамкнутый серии 4А, закрытый, обдуваемый, с синхронной частотой вращения
1500 об/мин 4А 100L4
угловая скорость
рад/с.
Проверим общее передаточное
отношение:
что можно признать приемлемым, так
как оно находится между 9 и 36 (большее значение принимать не рекомендуют).
Частные передаточные числа (они
равны передаточным отношениям) можно принять: для редуктора по ГОСТ 2185-66
(см. [1] с.36)
, для цепной
передачи
|
Вал
С
|
об/мин рад/с
|
|
|
Вал
В
|
об/мин рад/с
|
|
|
Вал
А
|
об/мин рад/с
|
|
Таблица 1. Частоты вращения и угловые скорости
валов редуктора и приводного барабана:
Вращающие моменты:
РАСЧЕТ ЗУБЧАТЫХ КОЛЕС РЕДУКТОРА
Так как в задании нет особых
требований в отношении габаритов передачи, выбираем материалы со средними
механическими характеристиками ([1] гл.3 табл.3.3): для шестерни сталь 45,
термическая обработка - улучшение, твердость НВ 230; для колеса - сталь 45,
термическая обработка-улучшение, 110 твердость на 30 единиц ниже НВ 200.
Допускаемые контактные напряжения
([1] гл.3 формуле 3.9)

где -
предел контактной выносливости при
базовом числе циклов.
По ([1] гл.3 табл.3.2) для
углеродистых сталей с твердостью поверхностей зубьев менее НВ 350 и
термической обработкой (улучшением)
2HB + 70
КHL- коэффициент долговечности; при
числе циклов нагружения больше базового, что имеет место при длительной эксплуатации
редуктора, принимают КHL =1; коэффициент безопасности
1,10.
Для косозубых колес расчетное
допускаемое контактное напряжение по ([1] гл.3 формуле 3.10)
[σН]=0,45([σН1]+[σН2])
для шестерни
МПа.
для колеса
МПа.
Тогда расчетное допускаемое
контактное напряжение
[σН]= 0,45 (482 + 428) = 410
МПа.
Требуемое условие [σН]
1,23[σН2]
выполнено.
Коэффициент Кнβ, несмотря
на симметричное расположение колёс относительно опор (см. рис.2.1), примем выше
рекомендуемого для этого случая, так как со стороны цепной передачи действуют
силы, вызывающие дополнительную деформацию ведомого вала и ухудшающие контакт
зубьев. Принимаем предварительно по ([1] табл.3.1.) как случае, несимметричного
расположения колес, значение Кнβ =1,25.
Принимаем для косозубых колес
коэффициент ширины венца по межосевому расстоянию (см. [1] с.36)

Межосевое расстояние из условия
контактной выносливости активных поверхностей зубьев по ([1] гл.3 формуле 3.7)
мм,
где для косозубых колес
, а
передаточное число нашего редуктора
Ближайшее значение межосевого
расстояния по 1 ряду ГОСТ 2185-66
125 мм (см. [1] с.36).
Нормальный модуль зацепления
принимаем по следующей рекомендации:
,
мм; принимаем по ГОСТ 9563-60*
= 1,25 мм
(см. [1] с.36).
Примем предварительно угол наклона
зубьев
= 10° и
определим числа зубьев шестерни и колеса ([1] см. формулу 3.16)
Принимаем
=33; тогда
=
Уточнённое значение угла наклона
зубьев
Основные размеры шестерни и колеса:
диаметры делительные:
мм;
мм;
Проверка:
мм,
диаметры вершин зубьев:
мм;
мм;
ширина колеса
мм;
ширина шестерни
мм = 55мм.
Определяем коэффициент ширины
шестерни по диаметру:
Окружная скорость колес и степень
точности передачи
м/с.
При такой скорости для косозубых
колес следует принять 8-ю степень
точности
(см. [1] с.32).
Коэффициент нагрузки
Значения
даны в ([1]
гл.3 табл.3.5); при
, твердости
НВ
350 и
несимметричном расположении колес относительно опор с учетом изгиба ведомого
вала от натяжения цепной передачи 
1,17.
По ([1] гл.3 табл.3.4) при
=2,7 м/с и
8-й степени точности
1,08. По
([1] гл.3 табл.3.6) для косозубых колес при
=5 м/с имеем
= 1,0. Таким
образом,
.
Проверка контактных напряжений по
([1] гл.3 формуле 3.6):

МПа< [σН] 410МПа
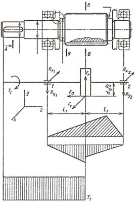
Силы, действующие в зацеплении: ([1]
гл.8 формулы 8.3 и 8.4 )
окружная
Н;
радиальная
Н;
осевая
Н.
Проверяем зубья на выносливость по
напряжениям изгиба
По ([1] гл.3 формуле 3.25):
.
Здесь коэффициент нагрузки
(см. [1]
с.42). По ([1] гл.3 табл.3.7) при
1,322, твердости
и
несимметричном расположении зубчатых колес относительно опор
= 1,38. По
([1] гл.3 табл.3.8)
= 1,3. Таким
образом, коэффициент KF = 1,34 ·1,1 = 1,47; YF - коэффициент, учитывающий форму
зуба и зависящий от эквивалентного числа зубьев
(см.[1] гл.3, пояснение к формуле
3.25):
у шестерни
у колеса
= 3,6 и
= 3,75 (см.
[1] с.42).
Допускаемое напряжение по ([1] гл.3
формуле 3.24)
.
По ([1] гл.3 табл.3.9) для стали 45
улучшенной при твердости
НВ
350
1,8НВ.
для шестерни
1,8·230 =
415 МПа;
для колеса
1,8·200=360
МПа.
- коэффициент безопасности (см.[1]
гл.3, пояснение к формуле 3.24), где
=1,75,
=1(для
поковок и штамповок). Следовательно,
= 1,75.
Допускаемые напряжения:
для шестерни
=
МПа;
для колеса
=
МПа.
Находим отношения
:
для шестерни
= 63,2 МПа;
для колеса
= 57,22 МПа.
Дальнейший расчет следует вести для
зубьев колеса, для которого найденное отношение меньше.
Определяем коэффициенты
и
(см.[1]
гл.3, пояснение к формуле 3.25):
;
;
для средних значений коэффициента
торцового перекрытия
и 8-й
степени точности
.
Проверяем прочность зуба колеса
по(см.[1] гл.3, формула 3.25):
Условие прочности выполнено.
ПРЕДВАРИТЕЛЬНЫЙ РАСЧЕТ ВАЛОВ
РЕДУКТОРА
Предварительный расчет проведем на
кручение по пониженным допускаемым напряжениям.
Ведущий вал:
диаметр выходного конца при
допускаемом напряжении
25 МПа
(см.[1] гл.8, формула 8.16)
25 мм.
п=30
мм, dк=35 мм.
Ведомый
вал:
Учитывая
влияние изгиба вала от натяжения цепи, принимаем
20 МПа.
Диаметр
выходного конца вала
мм.п=50 мм,
dк=55 мм.
Принимаем
ближайшее большее значение из стандартного ряда (см.[1] гл.VIII, пояснение к
формуле 8.16):
34 мм.
Диаметр вала под подшипниками принимаем
50 мм, под зубчатым колесом
55 мм.
Диаметры
остальных участков валов назначают исходя из конструктивных соображений при
компоновке редуктора.
КОНСТРУКТИВНЫЕ
РАЗМЕРЫ ШЕСТЕРНИ И КОЛЕСА
Шестерню
выполняем за одно целое с валом, ее размеры определены выше:
41,6 мм;
44,1 мм;
55 мм.
Колесо
кованое (см.[1] гл.X, табл. 10.1):
208,3 мм;
210,8 мм;
50 мм.
Диаметр
ступицы 
1,6·20 = 40 мм;
длина
ступицы
мм,
принимаем
40 мм.
Толщина
обода
мм,
принимаем
мм.
Толщина
диска С = 0,3∙
0,3·50 = 15
мм.
КОНСТРУКТИВНЫЕ
РАЗМЕРЫ КОРПУСА РЕДУКТОРА
Толщина
стенок корпуса и крышки:
0,025·125+1
4,125 мм,
принимаем
мм;
0,02·125 + 1
= 3,5 мм, принимаем
мм.
Толщина
фланцев поясов корпуса и крышки:
верхнего
пояса корпуса и пояса крышки
мм;
мм;
нижнего
пояса корпуса
мм;
принимаем
20 мм.
Диаметр
болтов: фундаментных
мм;
принимаем болты с резьбой М18;
крепящих
крышку к корпусу у подшипников
мм; принимаем болты с резьбой М14;
соединяющих
крышку с корпусом
мм; принимаем болты с резьбой М12.
РАСЧЕТ ЦЕПНОЙ ПЕРЕДАЧИ
Выбираем приводную роликовую
однорядную цепь (см.[1] гл.VII, пояснение к формуле 7.15).
Вращающий момент на ведущей
звездочке
Н·мм.
Передаточное число было принято
ранее
Число зубьев: ведущей звездочки
(см.[1] с.148)
;
ведомой звездочки
.
Принимаем
и
.
Тогда фактическое
Отклонений нет.
Расчетный коэффициент нагрузки
(см.[1] гл.VII, пояснение к формуле 7.38)
,
где
- динамический коэффициент при
спокойной нагрузке;
учитывает
влияние межосевого расстояния;
учитывает влияние угла наклона линии
центров;
учитывает
способ регулирования натяжения цепи;
при периодическом регулировании
натяжения цепи;
при
непрерывной смазке;
учитывает
продолжительность работы в сутки, при односменной работе
.
Для определения шага цепи по (см.[1]
гл.VII, формула 7.38), надо знать допускаемое давление
в шарнирах
цепи. В ([1] гл.VII, табл. 7.38) допускаемое давление
задано в
зависимости от частоты вращения ведущей звездочки и шага t. Поэтому для расчета
по (см.[1] гл.VII, формула 7.38), величиной
следует задаваться ориентировочно.
Ведущая звездочка имеет частоту вращения
об/мин.
Среднее значение допускаемого
давления при
об/мин
МПа.
Шаг однорядной цепи
Подбираем по ([1] гл.VII, табл.
7.15) цепь ПР-25,4-60 по ГОСТ 13568 -75, имеющую
25,4 мм; разрушающую нагрузку
кН; массу
2,6 кг/м;
179,7 мм2.
Скорость цепи
м/с
Окружная сила
Н.
Давление в шарнире проверяем по
формуле (см.[1] гл.VII, формула 7.39)
МПа.
Уточняем по ([1] гл.VII, табл. 7.18)
допускаемое давление
МПа. Условие
<
выполнено.
В этой формуле 29 МПа табличное значение допускаемого давления по ([1] гл.VII,
табл. 7.15) при
100 об/мин и
мм.
Определяем число звеньев цепи по
(см.[1] гл.VII, формула 7.36)
где
(см. с. 148);
.
Тогда
Принимаем
.
Уточняем межосевое расстояние цепной
передачи по (см.[1] гл.VII, формула 7.37)
Для свободного провисания цепи
предусматриваем возможность уменьшения межосевого расстояния на 0,4 %, т. е. на
мм.
Определяем диаметры делительных
окружностей звездочек (см.[1] гл.VII, формула 7.34)
мм.
мм.
Определяем диаметры наружных
окружностей звездочек (см.[1] гл.VII, формула 7.35)
мм
где
15,88 мм - диаметр ролика цепи ([1]
гл.VII, табл. 7.15);
мм.
Силы, действующие на цепь:
окружная
Н -
определена выше;
от центробежных сил
H, где
кг/м по ([1]
гл.VII, табл. 7.15);
от провисания
Н, где
1,5 при угле
наклона передачи 450 (см. [1] с. 151).
Расчетная нагрузка на валы
Н.
Проверяем коэффициент запаса
прочности цепи по ([1] гл.VII, формула 7.40)
Это больше, чем нормативный
коэффициент запаса
(см. [1]
гл.VII, табл. 7.19); следовательно, условие s >
выполнено.
Размеры ведущей звездочки:
ступица звездочки
мм;
мм;
принимаем
мм;
толщина диска звездочки
мм.
где
- расстояние между пластинками
внутреннего звена ([1] гл.VII, табл. 7.15).
Аналогично определяют размеры ведомой
звездочки.
ПЕРВЫЙ ЭТАП КОМПОНОВКИ РЕДУКТОРА
Компоновку обычно проводят в два
этапа. Первый этап служит для приближенного определения положения зубчатых
колес и звездочки относительно опор для последующего определения опорных
реакций и подбора подшипников.
Компоновочный чертеж выполняем в
одной проекции - разрез по осям валов при снятой крышке редуктора; желательный
масштаб 1: 1, чертить тонкими линиями. Примерно посередине листа параллельно
его длинной стороне проводим горизонтальную осевую линию; затем две
вертикальные линии - оси валов на расстоянии
160 мм.
Вычерчиваем упрощенно шестерню и
колесо в виде прямоугольников; шестерня выполнена за одно целое с валом; длина
ступицы колеса равна ширине венца и не выступает за пределы прямоугольника.
Очерчиваем внутреннюю стенку
корпуса:
а) принимаем зазор между торцом
шестерни и внутренней стенкой корпуса
мм; при наличии ступицы зазор
берется от торца ступицы;
б) принимаем зазор от окружности
вершин зубьев колеса до внутренней стенки корпуса
мм;
в) принимаем расстояние между
наружным кольцом подшипника ведущего вала и внутренней стенкой корпуса
мм; если
диаметр окружности вершин зубьев шестерни окажется больше наружного диаметра
подшипника, то расстояние А надо брать от шестерни.
Предварительно намечаем радиальные
шарикоподшипники средней серии и роликоподшипники; габариты подшипников
выбираем по диаметру вала в месте посадки подшипников
30 мм и
50 мм.
По ([1] табл.П3) имеем:
|
Условное
обозначение подшипника
|
d
|
D
|
B
|
C
|
C0
|
|
306
32310А
|
30
50
|
72
110
|
19
27
|
28,1
110,0
|
14,6
70,5
|
Решаем вопрос о смазывании
подшипников. Принимаем для подшипников пластичный смазочный материал. Для
предотвращения вытекания смазки внутрь корпуса и вымывания пластичного
смазочного материала жидким маслом из зоны зацепления устанавливаем
мазеудерживающие кольца. Их ширина определяет размер
мм.
Измерением находим расстояния на
ведущем валу
54,5 .мм и
на ведомом
57,5 мм.
Примем окончательно
58 мм.
Глубина гнезда подшипника
1,5В; для
подшипника 309
25 мм;
1,5·21 =
31,5 мм; примем
31,5 мм.
Толщину фланца
крышки
подшипника принимают примерно равной диаметру
отверстия; в этом фланце
14 мм.
Высоту головки болта примем
9,8 мм. Устанавливаем зазор между
головкой болта и торцом соединительного пальца цепи в 10 мм. Длину пальца l
примем на 5 мм больше шага t. Таким образом,
30,04 мм.
Измерением устанавливаем расстояние
58 мм,
определяющее положение звездочки относительно ближайшей опоры ведомого вала.
Примем окончательно
58 мм.
ПРОВЕРКА ДОЛГОВЕЧНОСТИ ПОДШИПНИКА
Ведущий вал.
Из предыдущих расчетов имеем
1531,25Н,
563 Н и
218,2 Н; из
первого этапа компоновки
58 мм.
Реакции опор:
в плоскости xz
Н;
в плоскости yz
Проверка:
Суммарные реакции
Подбираем подшипники по более
нагруженной опоре 1.
Намечаем радиальные шариковые
подшипники 306:
30 мм;
72 мм;
19 мм;
28,1 кН и
14,6 кН.
Эквивалентная нагрузка по формуле
в которой радиальная нагрузка
830,06 Н; осевая нагрузка
218,2 Н; V=
1 (вращается внутреннее кольцо);
коэффициент безопасности для
приводов ленточных конвейеров
;
1 ([1] см. табл. 9.19-9.20).
Отношение
; этой величине
(по [1] табл. 9.18) соответствует
.
Отношение
>e;
0,56 и
2,20.
Н.
Расчетная долговечность, млн. об
[[1] формула (9.20)]
млн.об.
Расчётная долговечность, ч
ч,
что больше установленных ГОСТ
16162-85 (см. также [1]с. 307).
Ведомый вал несет такие же нагрузки,
как и ведущий:
1531,25 Н,
563 Н и
218,2 Н;
Нагрузка на вал от цепной передачи
Н
Составляющие этой нагрузки
Н.
Из первого этапа компоновки 
58 мм.
Реакции опор:
в плоскости xz
H.

H.
Проверка:
в плоскости xy

H.
Проверка:
Суммарные реакции
Н
Н
Выбираем подшипники по более
нагруженной опоре 4. Роликоподшипники радиальные 32310А средней узкой серии
(см.[1] таб. П3):
50 мм;
110 мм;
27 мм;
110,0 кН и
70,5 кН.
Отношение
; этой
величине (по [1] табл. 9.18) соответствует
(получаем, интерполируя).
Отношение
<
;
следовательно, 
Поэтому
Н. (Примем
1,2,
учитывая, что цепная передача усиливает неравномерность нагружения.)
Расчетная долговечность, млн. об
млн.об.
Расчётная долговечность, ч
ч,
ч. (таков ресурс самого редуктора),
но не должен быть менее 10000ч. (минимально допустимая долговечность
подшипника). В нашем случае подшипники ведущего вала 306 имеет ресурс
ч., а
подшипники ведомого вала 32310А имеют ресурс
ч.
ВТОРОЙ ЭТАП КОМПОНОВКИ РЕДУКТОРА
Второй этап компоновки имеет целью конструктивно
оформить зубчатые колеса, валы, корпус, подшипниковые узлы и подготовить данные
для проверки прочности валов и некоторых других деталей.
Примерный порядок выполнения следующий.
Вычерчиваем шестерню и колесо по конструктивным
размерам, найденным ранее (см. п.3). Шестерню выполняем за одно целое с валом.
Конструируем узел ведущего вала:
а) наносим осевые линии, удаленные
от середины редуктора на расстояние
. Используя эти осевые линии,
вычерчиваем в разрезе подшипники качения (можно вычерчивать одну половину
подшипника, а для второй половины нанести габариты);
б) между торцами подшипников и
внутренней поверхностью стенки корпуса вычерчиваем мазеудерживающие кольца (см.
[1] рис.9.39). Их торцы должны выступать внутрь корпуса на 1-2 мм от внутренней
стенки. Тогда эти кольца будут выполнять одновременно роль маслоотбрасывающих
колец. Для уменьшения числа ступеней вала кольца устанавливаем на тот же
диаметр, что и подшипники(Ø40 мм).
Фиксация их в осевом направлении осуществляется заплечиками вала и торцами
внутренних колец подшипников;
в) вычерчиваем крышки подшипников
(см. [1] рис.9.31-9.33) с уплотнительными прокладками (толщиной ~ 1 мм) и
болтами. Болт условно заводится в плоскость чертежа, о чем свидетельствует
вырыв на плоскости разъема.
Войлочные и фетровые уплотнения
применяют главным образом в узлах, заполненных пластичной смазкой. Уплотнения
манжетного типа широко используют как при пластичных, так и при жидких
смазочных материалах.(см.[1] §9.5)
г) переход вала Ø30 мм к присоединительному
концу Ø25 мм
выполняют на расстоянии 10-15 мм от торца крышки подшипника так, чтобы ступица
муфты не задевала за головки болтов крепления крышки.
Длина присоединительного конца вала Ø25 мм
определяется длиной ступицы муфты. Аналогично конструируем узел ведомого вала.
Обратим внимание на следующие особенности:
а) для фиксации зубчатого колеса в
осевом направлении предусматриваем утолщение вала с одной стороны и установку
распорной втулки - с другой; место перехода вала смещаем на 2 - 3 мм внутрь
распорной втулки с тем, чтобы гарантировать прижатие мазеудерживающего кольца к
торцу втулки (а не к заплечику вала);
б) отложив от середины редуктора
расстояние
проводим
осевые линии и вычерчиваем подшипники;
в) вычерчиваем мазеудерживающие
кольца, крышки подшипников с прокладками и болтами;
г) откладываем расстояние
и
вычерчиваем звездочку цепной передачи; ступица звездочки может быть смещена в
одну сторону для того, чтобы вал не выступал за пределы редуктора на большую
длину.
Переход от Ø30мм к Ø25мм смещаем
на 2 - 3 мм внутрь подшипника с тем, чтобы гарантировать прижатие кольца к
внутреннему кольцу подшипника (а не к валу). Это кольцо - между внутренним
кольцом подшипника и ступицей звездочки - не допускает касания ступицы и
сепаратора подшипника;
д) от осевого перемещения звездочка
фиксируется на валу торцовым креплением. Шайба прижимается к торцу ступицы
одним или двумя винтами. Следует обязательно предусмотреть зазор между торцом
вала и шайбой в 2 - 3 мм для натяга. На ведущем и ведомом валах применяем
шпонки призматические со скругленными торцами по ГОСТ 23360-78. Вычерчиваем
шпонки, принимая их длины на 5 - 1О мм меньше длин ступиц.
Непосредственным измерением уточняем
расстояния между опорами и расстояния, определяющие положение зубчатых колес и
звездочки относительно опор. При значительном изменении этих расстояний
уточняем реакции опор и вновь проверяем долговечность подшипников.
ПРОВЕРКА ПРОЧНОСТИ ШПОНОЧНЫХ СОЕДИНЕНИЙ
Шпонки призматические со
скругленными торцами. Размеры сечений шпонок и пазов и длины шпонок - по ГОСТ
23360-78 (см. [1] табл. 8.9).
Материал шпонок - сталь 45
нормализованная.
Напряжения смятия и условие
прочности по формуле (по [1] формула 8.22)
.
Допускаемые напряжения смятия при
стальной ступице
100÷120 МПа, при
чугунной
50÷70 МПа.
Ведущий вал:
30 мм; 
мм;
5,0/3,3мм; длина шпонки
70 мм (при длине ступицы полумуфты
МУВП 82 мм [по [1] табл.11.5]); момент на ведущем валу
(материал полумуфт МУВП - чугун
марки СЧ 20).
Ведомый вал:
Из двух шпонок - под зубчатым
колесом и под звездочкой - более нагружена вторая (меньше диаметр вала и
поэтому меньше размеры поперечного сечения шпонки). Проверяем шпонку под
звездочкой:
50 мм;
мм;
5 мм; длина
шпонки
50мм.
(обычно звездочки изготовляют из
термообработанных углеродистых или легированных сталей). Условие
выполнено.
УТОЧНЕННЫЙ РАСЧЕТ ВАЛОВ
Примем, что нормальные напряжения от
изгиба изменяются по симметричному циклу, а касательные от кручения - по
отнулевому (пульсирующему).
Уточненный расчет состоит в
определении коэффициентов запаса прочности s для опасных сечений и сравнении их
с требуемыми (допускаемыми) значениями [s]. Прочность соблюдена при s
[s].
Будем производить расчет для
предположительно опасных сечений каждого из валов.
Ведущий вал:
Материал вала тот же, что и для
шестерни (шестерня выполнена заодно с валом), т. е. сталь 45, термическая
обработка - улучшение.
По ([1] табл. 3.3) при диаметре
заготовки до 90 мм (в нашем случае
мм;
среднее значение
780 МПа.
Предел выносливости при симметричном
цикле изгиба
МПа.
Предел выносливости при симметричном
цикле касательных напряжений
МПа.
Сечение А-А. Это сечение при
передаче вращающего момента от электродвигателя через муфту рассчитываем на
кручение. Концентрацию напряжений вызывает наличие шпоночной канавки.
Коэффициент запаса прочности
где амплитуда и среднее напряжение
отнулевого цикла
При
30 мм; 
мм;
5 мм;
мм3
МПа
Принимаем
(см.[1]
табл. 8.5);
(см. [1]
табл. 8.8);
(см. [1] с.
166).
ГОСТ 16162-78 указывает на то, чтобы
конструкция редукторов предусматривала возможность восприятия радиальной
консольной нагрузки, приложенной в середине посадочной части вала. Величина
этой нагрузки для одноступенчатых зубчатых редукторов на быстроходном валу
должна быть
при 25·103 Н·мм<
< 250·103
Н·мм.
Приняв у ведущего вала длину
посадочной части под муфту равной длине полумуфты
мм, получим
изгибающий момент в сечении А - А от консольной нагрузки
Коэффициент запаса прочности по
нормальным напряжениям
Результирующий коэффициент запаса
прочности
получился близким к коэффициенту
запаса
. Это
незначительное расхождение свидетельствует о том, что консольные участки валов,
рассчитанные по крутящему моменту и согласованные с расточками стандартных
полумуфт, оказываются прочными и что учет консольной нагрузки не вносит
существенных изменений. Надо сказать и о том, что фактическое расхождение будет
еще меньше, так как посадочная часть вала обычно бывает короче, чем длина
полумуфты, что уменьшает значения изгибающего момента и нормальных напряжений.
Такой большой коэффициент запаса
прочности (28,3 или 8,3) объясняется тем, что диаметр вала был увеличен при
конструировании для соединения его стандартной муфтой с валом электродвигателя.
По той же причине проверять
прочность в сечениях Б - Б и В - В нет необходимости.
Ведомый вал.
Материал вала - сталь 45
нормализованная;
570 МПа.
Пределы выносливости
МПа и
МПа.
Сечение А-А.
Концентрация напряжений обусловлена
наличием шпоночной канавки (см.[1] табл. 8.5)
и
масштабные факторы
(см.[1] табл. 8.8); коэффициенты
и
(см. [1] с.
163 и 166).
Крутящий момент Т2 = 154,46 ·103
Н·мм.
Изгибающий момент в горизонтальной
плоскости
Н ·мм;
изгибающий момент в вертикальной плоскости
Н ·мм;
суммарный изгибающий момент в
сечении А - А
Н· мм.
Момент сопротивления кручению (
55мм;
мм;
6мм;)
мм
Момент сопротивления изгибу (см.[1]
табл. 8.5)
мм
Амплитуда и среднее напряжение цикла
касательных напряжений
МПа
Амплитуда нормальных напряжений
изгиба
МПа; среднее напряжение
Коэффициент запаса прочности по
нормальным напряжениям
Коэффициент запаса прочности по
касательным напряжениям
Результирующий коэффициент запаса
прочности для сечения А-А
Сечение К-К. Концентрация напряжений
обусловлена посадкой подшипника с гарантированным натягом (см.[1] табл. 8.7);
и
; принимаем
и
.
Изгибающий момент
Н·мм.
Осевой момент сопротивления
мм
Амплитуда нормальных напряжений
МПа;
Полярный момент сопротивления
мм
.
Амплитуда и среднее напряжение цикла
касательных напряжений
МПа.
Коэффициент запаса прочности по
нормальным напряжениям
Коэффициент запаса прочности по
касательным напряжениям
Результирующий коэффициент запаса
прочности для сечения К-К
Сечение Л-Л. Концентрация напряжений
обусловлена переходом от Ø50 мм к Ø34 мм: при
и
коэффициенты
концентрации напряжении
и
(см.[1] табл.
8.2). Масштабные факторы (см.[1] табл. 8.8) 
.
Внутренние силовые факторы те же,
что и для сечения К-К
Осевой момент сопротивления сечения
мм
Амплитуда нормальных напряжений
МПа.
Полярный момент сопротивления
мм
.
Амплитуда и среднее напряжение цикла
касательных напряжений
МПа.
Коэффициенты запаса прочности
Результирующий коэффициент запаса
прочности для сечения л-л
Сечение Б-Б. Концентрация напряжений
обусловлена наличием шпоночной канавки (см.[1] табл. 8.5):
Изгибающий момент (положим
мм)
Н· мм.
Момент сопротивления сечения нетто
при
мм;
5мм;
мм
Амплитуда нормальных напряжений
изгиба
МПа
Момент сопротивления кручению
сечения нетто
мм
Амплитуда и среднее напряжение цикла
касательных напряжений
МПа.
Коэффициенты запаса прочности
Результирующий коэффициент запаса
прочности для сечения Б-Б
Сведем результаты про верки в
таблицу:
|
Сечение
|
A-A
|
K-K
|
Л-Л
|
Б-Б
|
|
Коэффициент
запаса s
|
8,3
|
3,5
|
4,3
|
1,2
|
Во всех сечениях s
[s].
Посадки зубчатого колеса, звездочки
и подшипников
Посадки назначаем в соответствии с
указаниями, данными в. табл. 10.13.
Н7
Посадка зубчатого колеса на вал р6
по ГОСТ 25347 - 82.
Посадка звездочки цепной передачи на
вал редуктора H7j116 .
Шейки валов под подшипники выполняем
с отклонением вала k6. Отклонения отверстий в корпусе под наружные кольца по
Н7.
Остальные посадки назначаем,
пользуясь данными табл. 10.13.
Выбор сорта масла
Смазывание зубчатого зацепления
производится окунанием зубчатого колеса в масло, заливаемое внутрь корпуса до
уровня обеспечивающего погружение колеса примерно на 10 мм. Объем масляной
ванны V определяем из расчета 0,25
масла на 1 кВт передаваемой
мощности:
.
По табл. 10.8 устанавливаем вязкость
масла. При контактных напряжениях
и скорости
м/с
рекомендуемая вязкость масла должна быть примерно равна
. По табл.
10.10 принимаем масло индустриальноеИ-30А (по ГОСТ 20799-
).
Камеры подшипников заполняем
пластичным смазочным материалом УТ-1 (см. табл. 9.14), периодически пополняем
его шприцем через пресс-масленки.
Сборка редуктора
Перед сборкой внутреннюю полость
корпуса редуктора тщательно очищают и покрывают маслостойкой краской.
Сборку производят в соответствии со
сборочным чертежом редуктора, начиная с узлов валов:
на ведущий вал насаживаю
мазеудерживающие кольца и шарикоподшипники, предварительно нагретые в масле до
80-100 °С;
в ведомый вал закладывают шпонку
и
напрессовывают зубчатое колесо до упора в бурт вала; затем надевают распорную
втулку, мазеудерживающие кольца и устанавливают шарикоподшипники,
предварительно нагретые в масле.
Собранные валы укладывают в
основание корпуса редуктора и надевают крышку корпуса, покрывая предварительно
поверхности стыка крышки и корпуса спиртовым лаком. Для центровки устанавливают
крышку на корпус с помощью двух конических штифтов; затягивают болты, крепящие
крышку к корпусу.
После этого на ведомый вал надевают
распорное кольцо, в подшипниковые камеры закладывают пластичную смазку, ставят
крышки подшипников с комплектом металлических прокладок для регулировки.
Перед постановкой сквозных крышек в
проточки закладывают войлочные уплотнения, пропитанные горячим маслом.
Проверяют проворачиванием валов отсутствие заклинивания подшипников (валы
должны проворачиваться от руки) и закрепляют крышки винтами.
Далее на конец ведомого вала в
шпоночную канавку закладывают шпонку, устанавливают звёздочку и закрепляют её
торцовым креплением; винт торцового крепления стопорят специальной планкой.
Затем ввёртывают пробку
маслоспускного отверстия с прокладкой и жезловый маслоуказатель.
Заливают в корпус масло и закрывают
смотровое отверстие крышкой с прокладкой из технического картона; закрепляют
крышку болтами.
Собранный редуктор обкладывают и
подвергают испытанию на стенде по программе, устанавливаемой техническими
условиями.
СПИСОК ЛИТЕРАТУРЫ
1.
Чернавский С.А. Курсовое проектирование деталей машин: Учебное пособие - М.:
ООО ТИД «Альянс», 2005.-416с.
.
Основы расчет и конструирования машин и автоматов пищевых производств Под ред.
Соколова Л.Я. - М.: Машиностроение, 1969
.
Соколов В.И. Основы расчета и конструирование машин и аппаратов
пищевых
производств - М : Колос, 1992
.
Основы расчета и конструирования машин и аппаратов пищевых производств. Под
ред. Соколова Л. Я. - М.: Пищепромиздат, 1960.
.
Лунин О.Г., Вельгищев В.Н. Основы расчета мельниц, прессов и мешалок.
Учебное
пособие - М. ВЗИИП, 1987
.
Чернилевский Д.В. Основы проектирования машин. Учебное пособие для студентов
вузов. - М.: УМ и ИЦ «Учебная литература», 1998