Построение системы управления поперечной подачей при шлифовании
Тольяттинский
Государственный Университет
Институт
Машиностроения
Кафедра
"ОТМП"
Курсовая
работа
по
дисциплине: "Теория автоматического управления"
Студент: Лещёв Н.Н.
Группа: ТМб-1101
Вариант: 12
Преподаватель: Гуляев В.А.
Тольятти
2014 г.
Содержание
автоматический шлифование редуктор
найквист
Введение
.
Исходные данные
.
Построение функциональной схемы
.
Определение передаточных функций звеньев САУ
4.
Определение устойчивости САУ по критерию Найквиста
Выводы
Заключение
Список
используемой литературы
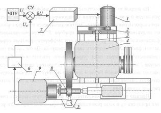
Система автоматического управления поперечной
подачей при врезном шлифовании.
Предназначена для реализации оптимального цикла
врезного шлифования при различных уровнях скорости поперечной подачи на разных
этапах шлифования.
Рис. 1. Принципиальная схема САУ:
-двигатель;
-редуктор;
-ходовой винт;
-шлифовальная бабка;
-индуктивный измерительный прибор;
-дифференцирующий усилитель;
-усилитель-преобразователь;
-деталь;
-привод передней бабки.
1. Исходные данные
Преобразователь: kт.п.=20, Тт.п.=0,02 с.
Двигатель: kд=1,8 рад/(с*В), Тя=0,05 с, Тм=0,37
с.
Усилитель: kу=70, Ту=0 с.
Измеритель перемещения: kи.п.=0,1 В/мм.
Шаг винтовой пары: hв.п.=4,5 мм.
Редуктор: kп=0,07.
. Построение функциональной
схемы
Управляемым объектом является врезное
шлифование, управляющим воздействием - поперечная подача Vв, возмущением -
заданная скорость снятия припуска (глубина резания), регулируемым параметром -
сила резания.
Рис. 2. Функциональная схема САУ
. Определение передаточных функций звеньев САУ
Усилитель-преобразователь:
;
Электродвигатель:


;
Механический редуктор:
;
Процесс резания можно упрощенно представить
передаточной функцией, которая отвечает апериодическому звену 1-го порядка:
Измерительный прибор:
;
Дифференцирующий усилитель:
,т.к. Tу =0;
Рис. 3. Структурная схема САУ.
В САУ можно выделить прямой канал регулирования
- от задающего сигнала U3 до составляющей Р силы резания и канал обратной связи
- от Р до напряжения U0, поступающего на элемент сравнения.
. Определение устойчивости САУ по критерию
Найквиста
Рис. 4
Передаточная функция разомкнутой системы имеет
вид:
Рис. 6. Главный интерфейс прикладной программы,
план Нейквиста для исследования устойчивости системы.
Анализ показывает, что система является
неустойчивой, поскольку график её АФЧХ в разомкнутом состоянии охватывает
критическую точку с координатами [-1;0].
Для стабилизации системы поменяем значение
коэффициента усилителя преобразователя на kт.п. = 2.
Получим:
Рис. 7. Главный интерфейс и план Нейквиста после
изменения kт.п.
По результатам построения плана Нейквиста видно,
что система устойчива.
Для построения переходной характеристики рассчитываем
передаточную функцию САУ в замкнутом рабочем состоянии:


Выводы
По переходной характеристике определяем все
показатели качества регулирования:
- время переходного процесса (быстродействие)
относительное перерегулирование
затухание за период
0%
Заключение
В процессе выполнения данной курсовой работы
были задействованы и закреплены знания по ТАУ, полученные ранее.
Полученная система устойчива.
Список используемой литературы
1.
Пертаков Ю.В., Драчев О.И. Теория автоматического управления технологическими
системами: учебное пособие для студентов вузов. - М.: Машиностроение, 2008.
.
Курс лекций.