Пиролиз как термический метод переработки древесины

  • Вид работы:
    Отчет по практике
  • Предмет:
    Другое
  • Язык:
    Русский
    ,
    Формат файла:
    MS Word
    384,59 Кб
  • Опубликовано:
    2014-07-10
Вы можете узнать стоимость помощи в написании студенческой работы.
Помощь в написании работы, которую точно примут!

Пиролиз как термический метод переработки древесины

Министерство образования и науки Российской Федерации

ФГБОУ ВПО "Сибирский государственный технологический университет"

Факультет переработки природных соединений

Кафедра химической технологии древесины и биотехнологии








Отчет

по учебной практике

Руководитель практики от университета

к. т. н., доцент

И.С. Почекутов

Студент группы 52-3

Ермолаева М.В.





Красноярск 2014

Содержание

 

Введение

1. Сырье для пиролизного производства

2. Первичные продукты пиролиза древесины

2.1 Переработка древесного угля

3. Уксусно-кислотное производство

3.2 Обессмоливание жижки

3.3 Извлечение уксусной кислоты из жижки

3.4 Очистка и ректификация уксусной кислоты - сырца

4. Устройство и принцип действия экстрактора

Заключение

Список использованных источников

Введение

Термин пиролиз происходит от греческих слов. К термическим методам переработки древесного сырья в широком понятии этого термина относятся смолокурение, дегтекурение, углежжение, собственно пиролиз, газификация и энергохимическое использование древесины. Из всех термических методов переработки древесины наиболее важное значение имеет пиролиз древесины, Пиролиз древесины ведется либо на крупных предприятиях, где, как правило, вырабатывают древесный уголь, уксусную кислоту, ее производные, древесно-смоляные и другие продуты, либо на небольших установках, где древесный уголь чаще всего является единственным продуктом.

1. Сырье для пиролизного производства


Сырьем для термической переработки чаще всего является специально заготавливаемая технологическая древесина, которая доставляется на лесной склад предприятия. Для устройства склада выбирается ровная, сухая площадка возможно ближе к заводу, но с соблюдением расстояний, требующихся по нормам противопожарной безопасности. Древесина поступает на заводы железнодорожным и автомобильным транспортом в виде долготья и коротья по ГОСТ 24260-80 "Сырье древесное для пиролиза и углежжения". Сырье разделывается на отрезки, длина которых в зависимости от принятой технологии бывает 1 м или 230-300 мм (чурка или тюлька). Для разделки древесины на чурку используются многопильные станки-слешеры.

Железнодорожные пути для подвозки древесины со склада сырья ширококолейные (ширина колеи - 1524 мм), лишь на отдельных заводах сооружены узкоколейные пути (ширина колеи - 750 мм).

Склад сырья должен быть хорошо освещен и благоустроен. Древесина на складе хранится в кучах высотой до 14 м и объемом до 50 тыс. м3. Ширина прямоугольных куч или диаметр круглых куч не более 50 м. Расстояние между продольными сторонами прямоугольных куч должно быть 25 м, между торцовыми сторонами, а также между круглыми кучами-15 м.

Древесина всегда содержит влагу. По влажности она подразделяется на три группы: воздушно-сухая (W до 25 %, W0 до 20 %), полусухая (W 26 50 %, W0 - 21-33 %), сырья, с более высоким содержанием влаги.

Воздушно-сухое состояние древесины достигается обычно при ее естественной сушке на складе. Круглые сортименты, особенно березовые сушке на складе. Круглые сортименты, особенно березовые, в коре сохнут медленнее, чем в окоренном виде. Расколка кругляка ускоряет сушку.

Производственный опыт показал, что древесину лиственных пород лучше хранить в окроненном и расколотом виде, устраивая под кучи соответствующие основания и приспособления для проветривания. Коротье, уложенное весной в кучи высотой 9-14 м, высыхает за год с 40-45 % -й относительной влажности до воздушно-сухого состояния. Древесина березы и особенно осины в старшем возрасте часто поражена гнилью, а при неправильном хранении ее на складе процессы гниения ускоряются. Это приводит к уменьшению массы древесины в единице объема и снижению выхода продуктов пиролиза, кроме того, уголь получается мелкий и непрочный.

Выход угля из древесины хвойных пород немного выше, чем из лиственных, но качество угля из лиственных пород выше. Выход уксусной кислоты наибольший из древесины лиственных пород и березы, немного меньше из мягколиственных и меньше всего из хвойных. Кора дает уксусной кислоты в 203 раза меньше, чем древесина, а уголь из коры имеет высокую зольность, поэтому сырье для пиролиза целесообразно окорять, однако в заводской практике окорку древесины обычно не производят.

Древесное сырье для углежжения и пиролиза подразделяют на три группы. К первой группе относятся береза и твердолиственные породы: бук, ясень, граб, ильм, вяз, дуб, клен, ко второй - мягколиственные породы: осина, ольха, липа, тополь, ива, третью группу составляют хвойные породы: сосна, ель, кедр, пихта, лиственница, которые используются только для углежжения.

Наряду с технологической древесиной могут применяться так же отходы лесозаготовок и деревообработки, которые по своему химическому составу мало отличаются от стволовой древесины.

пиролиз уксусная кислота древесина

2. Первичные продукты пиролиза древесины


Газообразные, жидкие и твердые продукты пиролиза древесины состоят, как и исходная древесина, из трех основных элементов: углерода, водорода и кислорода, в них содержится также незначительное количество азотосодержащих веществ.

Газы. Состав газов, образующихся при пиролизе древесины, мало зависит от породы дерева. При пиролизе 1м3 древесины образуется 75-90 м3 неконденсирующихся газов.

Жидкие продукты. Конденсат, получаемый при охлаждении парогазовой смеси, образующийся при пиролизе древесины, называется жижкой или сырой жижкой.

Сырая жижка имеет плотность 1,02-1,03 г/см3. Она содержит разнообразные органические вещества как растворимые, так и нерастворимые в воде. Некоторые из нерастворимых в воде веществ способны растворятся в жижке, другие же находятся в ней в виде мельчайших взвешенных капелек. При отстаивании они отделяются от водного слоя, образуя отстойную смолу, собирающуюся в нижней части отстойника. Кроме того, при переугливании дров некоторых пород, в частности березы и осины, образуется небольшой слой легких масел, всплывающих на поверхность жижки и по составу близких к дегтю; эти масла образуются в основном вследствие разложения коры. Кроме отстойной смолы, в жижке содержится также растворимая смола, отделяющая только при перегонке жижки.

Состав жижки зависит от породы переугливаемой древесины, ее влажности и условий ведения процесса. В ней содержатся кислоты: муравьиная, уксусная, пропионовая, масляная, валериановая и др; спирты: метиловый, пропиловый, аллиловый и др.; кетоны: ацетон, метилэтилкетон, метилпропилкетон, метилбутилкетон и др; альдегиды: формальдегид, ацетальдегид, фурфурол и др; метиловые эфиры уксусной кислоты и других кислот, фенолы, эфиры фенолов и многие другие соединения.

Чем лучше высушена древесина, тем меньше выход жижки, но тем, соответственно, больше концентрация полезных компонентов в ней. При переугливании березовой древесины, высушенной до влажности 8-10 %, выход жижки составляет 280-295кг/м3, из воздушно-сухой получается 350-380 кг/м3 жижки и т.д.

Из 1 м3 древесины березы получается больше жижки, чем из осины, поскольку березовая древесина имеет более высокую плотность.

Твердые продукты (древесный уголь). При одинаковых условиях переугливания древесины различных пород уголь имеет почти одинаковый состав. С повышением температуры переугливания выход угля снижается, но одновременно повышается его качество. Несколько снижается выход угля и при ускорении переугливания.

Уголь не должен быть пережженным или недожжённым. Пережженный уголь получается при действии свободного кислорода на раскалённый уголь, он имеет много трещин, хрупок, иногда на нем виден белесый налет. Недожжённый уголь получается при недостаточной температуре или продолжительности выжига, он содержит головни, имеет бурый цвет, при сжигании горит пламенем. Трещины снижают прочность угля, поэтому наиболее прочный уголь получается из коротких отрезков, которые меньше растрескиваются в процессе сушки и пиролиза. Объем хорошо покаленного угля составляет примерно 60 % от объема исходной древесины.

Зольность древесного угля колеблется от 1 до 4 %, при этом зольность крупного угля из древесины сухопутной доставки обычно не превышает 1,5 %. Уголь, выгруженный из реторты, не содержит влаги, но поглощает ее из воздуха до влажности 10-15 %.

Уголь считается хорошим, если насыпная масса 1м3 березового угля нормальной влажности - не менее 175 кг, осинового - 140, соснового - 135, елового - 120 кг. Важной характеристикой угля является содержание нелетучего углерода. Под нелетучим (или твердым) углеродом понимают остаток от кратковременного прокаливания угля в строго определенных условиях, под летучим - углерод, содержащийся в летучих продуктах, выделяющихся при таком прокаливании. Чем выше температура выжига угля, тем больше в нем доля нелетучего углерода.

2.1 Переработка древесного угля


Из многочисленных способов переработки древесного угля приведены только некоторые, представляющие наибольшей интерес для лесохимической промышленности.

Брикетирование древесного угля. Древесный уголь, особенно древесно-угольная мелочь, - малотранспортабельный материал; при транспортировке и перевалках уголь сильно измельчается и распыляется. Эти недостатки древесного угля устраняются при его брикетировании с применением связующих веществ. В качестве связующих могут быть применены растворимые в воде продукты (растворимая смола, технические лигносульфонаты и др.) и нерастворимые (отстойная смола, древесно-смоляной пек в смеси со смолой, битум и др.) Производственно древесно-угольных брикетов состоит в приготовлении брикетной смеси, прессовании сырых брикетов и сушки или прокаливания их. Например, древесно-угольную мелочь растирают 30 мин на бегунах с техническими лингосульфонатами (полученными при производстве целлюлозы с варочной кислотой на аммониевом основании) и получают брикетную смесь, содержащую 77-78 % угля, 11-12 % лингосульфонатов (в расчете на сухое вещество) и 10-11 % воды. Смесь прессуют на вальцово-ручейном прессе под давлением 15-20 МПа. Сырье брикеты высушивают при 100 - 120°С в течение 2 ч или прокаливают при 500°С. Плотность готовых брикетов до 0,75 г/см3, прочность на сжатие около 6 МПа. Теплота сгорания 1 кг брикетов примерно такая же, как у исходного угля, однако ввиду большей плотности брикетов теплота сгорания единицы объема их гораздо выше.

Брикеты используются в кузнечном и литейном производствах, в сфере общественного питания, туризма и др.

Существуют также способы окускования (склеивания) древесно-угольной мелочи без прессования под давлением.

Производство карбюризатора. Карбюризатор - это березовый древесный уголь, покрытый пленкой углекислого бария. Он применяется для цементации стальных изделий, т.е. для обогащения их поверхностного слоя углеродом с целью придания особой твердости.

Технологический процесс производства карбюризатора состоит из следующих основных операций: дробления и сортировки угля-сырца, обмазки угля углекислым барием, сушки и охлаждения сырого карбюризатора. Уголь - сырец измельчают на дробильных валках в три ступени, с промежуточным рассевом, сначала на куски размером 25-35 мм, затем до 15 мм и окончательно на куски 3,5-1 - мм.

После отсева от мелочи, пыли и охлаждения уголь поступает в обмазочный аппарат типа бетономешалки. Для обмазки готовят суспензию углекислого бария в водном растворе крахмала. Затем карбюризатор сушат в горизонтальных вращающихся барабанах дымовыми газами, температуру которых на входе в барабаны поддерживают в пределах 600-700°С. Готовый карбюризатор аналогично древесному углю охлаждают воздухом в тонком слое на конвейере, что стабилизирует продукт и предотвращает его самовозгорание.

Расход крахмала на 1 т карбюризатора равен 10 кг, углекислого бария - 215 кг. Углекислый барий - вещество 1-го класса опасности, ПДК его аэрозоля в воздухе рабочей зоны - 0,5 мг/м3.

Согласно ГОСТ 2407-83 карбюризатор должен содержать, %, не более 2 углекислого бария, не более 2 углекислого кальция, до 0,04 общей серы, до 0,2 двуокиси кремния, не более 8 летучих веществ и 4 влаги. Не менее 92 % карбюризатора должно при рассеве оставаться между ситами с полотном № 35 и № 100, масса крупных частиц не должна превышать 2%, а мелочи на поддоне - 6 %.

Производство активного угля. Активным или активированным древесным углем называется продукт, получаемый путем специальной обработки древесного угля-сырца, в результате которой во много раз увеличивается его пористость за счет удаления остатков летучих веществ и выгорания смолистых пленок. Активация угля производится в активационных печах путем воздействия на него перегретого водяного пара или топочных газов при температуре 750-1000°С. Степень обгара, т.е. потеря массы древесного угля при его активации, в зависимости от требуемых свойств готового продукта, равна 40-80 %. В древесном угле - сырце имеются в основном макропоры, размер которых превышает 100 нм. В активном древесном угле поры гораздо мельче: микропоры размером 1-2 нм и переходные, или мезопоры, размером до 50 нм, т.е. они соизмеримы с величиной молекул различных веществ. Удельная поверхность пор достигает огромной величины, исчисляемой сотнями квадратных метров 1 г активного древесного угля, вследствие чего поглотительная способность его во много раз больше, чем у исходного угля - сырца.

Поэтому активный уголь широко применяется для обесцвечивания жидкостей в сахарорафинадном и других производствах, для поглощения паров органических растворителей из воздуха производственных помещений, является обязательной составной частью противогазов и др.

В лесохимической промышленности вырабатывается активный уголь марки ДАК. Сырьем для его производства служит угольная мелочь (отход карбюризаторного производства), при необходимости добавляется кусковый уголь. Печь активации представляет собой стальной цилиндр, футерованный жароупорным кирпичом. Уголь прокаливают 45-60 мин под воздействием парогазовой смеси, состоящей из продуктов сгорания дизельного топлива и перегретого водяного пара; температура смеси 800-950°С. Активирующим началом является химически связанный кислород, в результате взаимодействия с которым смолистые вещества угля образуют твердый углерод и газообразные соединения. Охлаждение готового активного угля ведется в стальном охлаждающем барабане, орошаемом снаружи водой. Выход - 50 % от исходного угля.

Активный уголь марки ДАК имеет активность по йоду не менее 30 см3/г, пористость по воде не менее 1,4 см3/г и влаги до 10 %. Применяется для обезмасливания парового конденсата на теплоэлектростанциях.

Активный осветляющий уголь высокого качества можно получать из отработанной щепы канифольно-экстракционных заводов. Если для выработки активного угля использовать древесный уголь, полученный при природе пиролизе древесины с катализаторами, то выход активного угля в расчете на исходную древесину повышается примерно в 1,5 раза.

Производство окисленного древесного угля. Древесный уголь, дробят, сортируют и окисляют при повышенной температуре кислородом воздуха. В некоторых случаях окисленный уголь подвергают термообработке и повторному окислению.

В результате на поверхности угля образуются различные функциональные группы: карбоксильные, фенольные, спиртовые и др. Меняя условия окисления, можно добиться преобладания тех или иных групп и придания продукту окисления различных свойств: ионообменных, комплексообразующих, каталитических и др.

Древесный окисленный уголь марки ДОУ - 1 - полифункциональный катионит, способный заменить более дорогие и токсичные катиониты на основе синтетических смол. ДОУ - 2 имеет высокую избирательность к ионам тяжелых металлов и применяется для глубокий очистки химических реактивов от примесей железа, меди, никеля и др. ДОУ - 3с предназначен для глубокой очистки неорганических реактивов от примесей щелочноземельных металлов и используется, в частности, при получении фторидов калия и натрия особой чистоты. Уголь ДОУ - 4с обладает высокой каталитической активностью, например, в процессах этерификации и переэтерификации смесей низкомолекулярных жирных кислот и их эфиров.

Древесные окисленные угли отличаются высокой термостойкостью (до 300°С), химической и радиационной устойчивостью, легко регенерируется, могут выпускаться в виде гранул.

3. Уксусно-кислотное производство


Уксусная кислота извлекается из пиролизной жижки на холоде в основном экстракцией органическими растворителями или же азеотропным укреплением. Этими способами почти повсеместно вытеснен ранее распространённый двухступенчатый порошковый метод. До извлечения уксусной кислоты жижку, как правило, обесспиртовывают и обессмоливают. При этом в зависимости от применяемого способа из жижки выделяются следующие полезные продукты, кг: отстойная смола 22-29, уксусная кислота 18-22 и спиртовые продукты 7-10 в расчете на 1 м3 переугленной древесины. Коэффициент извлечения для всех кислот - 66 - 75 % и для суммы спиртовых продуктов - 60 - 70 %.

3.1 Обесспиртовывание жижки


При обесспиртовывании жижки из нее выделяются легколетучие компоненты (метиловый спирт, метилацетат и др.) и, частично, высококипящие вещества, способные перегоняться в смеси с ними или с водой при более низкой температуре.

На рисунке 1 приведена схема типового обесспиртовывающего аппарата. Жижка вместе со смолой или в смеси с высококипящими смоляными маслами (так как иначе происходит засмоление исчерпывающей колонны) поступает через теплообменник (1) (он же дефлегматор) на верх колонны (10), в которой при температуре внизу 105-107°С и давлении 20 - 25 кПа происходит отгонка всех спиртовых продуктов в колонну (3). Степень их извлечения проверяется по составу пробы паров, отбираемых с нижних тарелок через холодильник (8). Тепло, необходимое для процесса, подводится через каландрию.

Пары отогнанных спиртовых продуктов поступают в дефлегматор (1) и, частично конденсируясь, образуют флегму, возвращаемую в верхнюю часть колонны (3). Остальная часть паров в конденсаторе (2) образует метанол - сырец, охлаждаемый в холодильнике (5). На нижних тарелках колонны (3) накапливаются спиртовые масла, отводимые в жидкой фазе при 97-98°С через холодильник (8) и отстаиваемые во флорентине (7), из которой водный слой возвращают в колонну. Из 1 м3 древесины выходит до 1,5 кг масел.


Рисунок 1 - Схема типового обесспиртовывающего аппарата

3.2 Обессмоливание жижки


После обесспиртовывании жижки производится ее обессмоливание. В противном случае смолистые примеси попадают в уксусную кислоту - сырец и усложняют ее очистку. Вначале путем отстаивания отделяют отстойную смолу, а затем, на большинстве заводов, жижку перегоняют с целью выделения растворимой смолы. Можно обессмоливать парогазовую смесь в смолоотделителях в ретортном цехе до конденсации ее в жижку, предварительно пропуская эту смесь через пылеуловитель.

Наиболее распространенным способом освобождения жижки от растворимой смолы является перегонка в НДА, состоящем из трех последовательно соединенных кубов. В трубчатку первого корпуса подается обесспиртованная жижка, отделенная от отстойной смолы, и доводится до кипения путем обогрева паром. Пары жижки попадают в качестве так называемых соковых паров в межтрубное пространство второго корпуса (2) и, конденсируясь, отдают свое тепло на испарение жижки, засасываемой во второй корпус из первого. В свою очередь пары кислой воды, образовавшиеся во втором корпусе (2) из - за разности давлений попадают в межтрубное пространство третьего корпуса (3) происходит дополнительное испарение остатка жижки, засасываемого в третий корпус. Разрежение во втором корпусе на разных заводах - 30 - 50 кПа, в третьем - 60 - 80 кПа, а температура кипения, соответственно, 80-92°С и 60 - 70°С. При таком процессе расход пара сокращается в 2-2,5 раза по сравнению с простой перегонкой жижки. Для осаждения капелек жижки, уносимых парами, ставят сепараторы. Конденсат из межтрубного пространства второго корпуса отсасывается в третий корпус. А из него насосом подается через сепаратор в общий холодильник кислой воды. В тот же холодильник поступает кислая вода, образовавшаяся при конденсации паров, выходящих из третьего корпуса и охлаждаемых в конденсаторах.

Кубовая смола периодически спускается из трубчатки третьего корпуса в вакуум-приемники. Разрежение в аппарате создается паровым эжектором. В смоле содержится 25-35 % воды, 8-13 % летучих кислот, 55-60 % масел и пека. Ее направляют для обезвоживания в НДА. Выход смолы - 7 - 1 - % от жижки.

Из общего количества летучих кислот, содержащихся в перегоняемой жижке, 82-85 % переходит в кислую воду, 10 - 15 % остается в сырой кубовой смоле и 3 - 4 % теряется в процессе перегонки. Трубчатки выпарного аппарата периодически очищают от закоксовавшейся смолы. На одном из заводов успешно работает трехкорпусный выпарной аппарат с принудительной циркуляцией жижки, через трубчатки корпусов при помощи выносных насосов. Перспективно также выпаривание отстоявшейся жижки в трубчатом проточном испарителе, где может быть обеспечено минимальное время пребывания термолабильных веществ смолы в зоне высокой температуры. На рисунке 2 приведена схема трехкорпусного аппарата для обессмоливания жижки.

Рисунок 2 - Схема трехкорпусного аппарата для обессмоливания жижки

3.3 Извлечение уксусной кислоты из жижки


Промышленностью освоены порошковый, экстракционный и азеотропный способы извлечения уксусной кислоты из жижки. Порошковый способ основан на связывании кислот, содержащихся в жижке, известью с образованием раствора кальциевых солей этих кислот, экстракционный способ - на различной растворимости уксусной кислоты и воды в экстрагенте (растворителе). При азеотропном способе укрепления жижки используется избирательная способность некоторых веществ (антренеров) перегоняться в смеси с водой, не увлекая с собой в заметном количестве уксусную кислоту.

Экстракционный способ. Обесспиртованную или необесспиртованную, но обязательно отделенную от отстойной смолы жижку противоточно обрабатывают растворителем. При этом образуются два слоя, разделяемые отстаиванием: верхний, содержащий экстрагент с растворенной в нем уксусной кислотой (экстракт), называемый эфирокислотой, и нижний, водный слой (рафинат) с небольшим количеством растворенного в нем экстрагента, называемой эфироводой. Путем отгонки растворителя из эфирокислоты получают черную уксусную кислоту - сырец, а из эфироводы - отбросную воду. Отогнанный экстрагент снова возвращают в цикл.

Экстрагент должен иметь максимальную растворяющую способность для уксусной кислоты и минимальную для ее примесей и воды, низкую растворимость в воде и малую плотность (для быстрого отстаивания от жижки), максимальную разность температур кипения по отношению к кислоте, возможно меньшую теплоту испарения и минимальную летучесть и токсичность.

Экстракция уксусной кислоты из кислой воды. Кислую воду перед экстракцией отстаивают от масел (1 - 1,5 % от массы кислой воды). После этого кислая вода имеет плотность 1,020 - 1,025 г/см3, содержит 7 - 9 % кислот, из них в среднем 90 % уксусной, 2 - 3 % муравьиной (в жижке от вертикальных реторт 6 - 8 %), 4 - 5 % пропионовой и других высших гомологов, остальное нелетучие оксикислоты; масел и смол 0,6 - 1,4 %.

Кислая вода подается насосом в верхнюю часть экстрактора, наполненного в начале процесса кислой водой в качестве сплошной фазы, а экстрагент - снизу через барботер насосом из бака.

Вследствие разности плотностей кислой воды и экстрагента, последний устремляется вверх, распадается на мелкие струйки и капельки и, насыщаясь постепенно уксусной кислотой и другими растворимыми в нем веществами, образует эфирокислоту. Она отстаивается в верхней части аппарата и во флорентине, а затем отводится на дальнейшую переработку.

Из нижней части экстрактора через приподнятую до его верха распределительную гребенку, поддерживающую постоянный уровень жидкости, непрерывно отводится эфировода. Дозировка соотношения объемов поступающих жижки и экстрагентов и количество отбора эфироводы регулируются в соответствии с заданным режимом. При этом съем эфирокислоты обеспечивается автоматически за счет указанной выше разности плотностей между месью жижки с экстрагентом в экстракторе и эфироводой в гребенке.

При соотношении этилацетата к кислой воде 1,21 - 4: 1 коэффициент извлечения кислот доходит до 94 %, потери летучих кислот - 4 - 5 %. Эфировода содержит 0,3 - 0,5 % кислот, 0,2 - 0,4 масел и 7 - 8 % этилацетата.

По такой же схеме производят экстракцию и из необесспиртованной жижки, отделенной от отстойной смолы.

Регенерации растворителя из эфироводы. Отгонка растворителя из эфироводы производится в НДА, имеющем в исчерпывающей и ректификационной части колонны по 12 - 15 тарелок. Такой НДА может переработать до 3-4 т эфироводы в час, считая на 1 мІ поперечного сечения колонны. Эфироводу пропускают через подогреватель, а низ колонны обогревают паром. Отогнанные пары растворителя охлаждаются в конденсаторах и дополнительно в холодильнике регенерированный растворитель с кислотностью 0,2 % из флорентины возвращается в производство. Температура в верхней части колонны 70-73°С, а отбросной воды 101-103°С.

Этилацетат легко отгоняется из эфироводы, но в отбросной воде остается этиловый спирт, содержащийся в исходном этилацетате и образовавшийся в результате частичного гидролиза эфира. Для извлечения этого спирта отбросную воду пропускают через регенератор с колоннами имеющими по 15 тарелок каждая. Сверху колонны (13), через конденсаторы (14) и (15) и холодильник (16) отбирают фракцию спирта, содержащую метилацетат, 5-7 % этилацетата и до 35 % этанола, направляемую в этилацетатное производство. После этого в отбросной воде из колонны остается лишь 0,1 % этилацетата и 0,2 % спиртов. Кислотность отбросной воды - 0,3 %.

Переработка эфирокислоты. Эфирокислота содержит 5 % уксусной кислоты и других кислот, 1 - 2 % смоляных кислот и 5-8 % воды. Отгонка растворителя из него производится в двухколонном НДА в каждой из колонки которого имеется 15-20 тарелок. В нижнюю часть колонны через подогреватель подается до 2 т в час эфирокислоты в пересчете на 1 мІ сечения колонны. Источник тепла - глухой пар, подаваемый в каландрию. Давление пара - 0,8 МПа.

Пары растворителя конденсируется в мощных конденсаторах и дополнительном холодильнике. Полученный оборотный эфир через флорентину и сборник возвращается в цикл, а водный слой из нее поступает в эфироводу. Все воздушники из эфироводного и эфирокислотного НДА выведены в скруббер, где стекает освобожденный от растворителя кислый остаток - черная кислота. Температура в эфирокислотном НДА вверху ректификационной колонны 72-76°С, внизу исчерпывающей колонный 120-125°С, в каландрии до 145°С.

Этилацетат образует с водой азеотропную смесь и поэтому обезвоживает черную кислоту. При переработке жижки с кислотностью 7 - 9 % массовая доля кислот в черной кислоте, считая по отношению к воде, достигает 95-97 %. Вместе с тем из-за большой растворяющей способности этилацетата черная кислота содержит много смолистых веществ (12-15 %, а при экстракции неперегнанной жижки - 33 - 36 %); в ней остается до 2 % этилацетата.

На 1 т выработанной кислоты обычно расходуется 30 - 40 кг этилацетата. Около половины из них теряется с отбросной водой из эфироводного НДА, около третьей части с черной кислоты. Применяемый этилацетат должен содержать не менее 96-97 % основного вещества, в противном случае его расход возрастает в основном из-за неполной отгонки высших эфиров из черной кислоты и растворения этилового спирта в эфироводе. При экстракции уксусной кислоты этилацетатом из необесспиртованной и неперегнанной жижки расход тепла на процессы сокращается. Кроме того, этилацетат обогащается высшими кетонами, эфирами, альдегидами, хорошо извлекающими уксусную кислоту, образуется комбинированный экстрагент и расход собственно этилацетата снижается до 20 кг/т. Однако при работе по этой схеме повышается загрязненность отбросной воды с эфироводных аппаратов, поскольку в ней остаются не извлекаемые экстрагентом компоненты растворимой смолы. Помимо этого, экстрагент постепенно разбавляется спиртовыми продуктами, ухудшающими процессами экстракции: снижается степень извлечения кислоты из жижки, повышается содержание воды в эфирокислоте и черная кислота получается менее концентрированной. Во избежание этого экстрагент приходится систематически заменять свежим.

Общий расход тепла при экстракционном способе извлечения уксусной кислоты из жижки на 1 т переработанной жижки составляет 4,3-5,9 ГДж, включая все стадии процесса вплоть до выпуска товарной уксусной кислоты; расхода воды - около 80 м3, электроэнергии - 1,6 кВт-ч.

Азеотропный способ. Азеотропное укрепление уксусной кислоты, содержащийся в жижке, производят в паровой фазе. Для этого пары перегоняемой обесспиртованной жижки противоточно обрабатывают каким - либо малорастворимым в воде веществом - антренером (водоувлекателем), который перегоняется с парами воды в определенном соотношении и при определенной температуре. Получившиеся смеси называют азеотропными смеси.

Они (в том числе многокомпонентные) могут образовываться не только с водой, но и с другими веществами. Наиболее выгодны антренеры, требующие меньших затрат тепла на отгонку и увлекающие максимальное количество воды, например бутилацетат, уносящий с собой около 30 % воды, этилпропионат, а также более дешевые древесно - спиртовые масла, содержащие высшие кетоны.

Азеотропный способ с применением древесно-спиртовых масел. В этом случае антренеров служит смесь хвостовых погонов масел, выделяемых при переработке метанола - сырца. Эти масла в смеси с водой перегоняются при 85-95°С, обеспечивая довольно высокий (0,60-0,90) коэффициент распределения уксусной кислоты. Плотность масел 0,880 - 0,900 г/см3; содержание альдегидов и кетонов в них 33-40%, эфиров 18-38 и кислот 0,3-0,9 %. Выход антренера - 0,6-0,7 кг/м3 древесины.

Обесспиртованная жижка обессмоливается в трех испарителях и ее пары через брызгоуловитель направляются в азеотропную колонну (2), где обрабатываются антренером, подаваемым на верх колонны в соотношении 1,5: 1 к парам жижки. Отводимая из последнего испарителя кубовая смола содержит 8-10 % воды и до 4,5 % летучих кислот.

Азеотропная колонна имеет 20 тарелок. Ее производительность по жижке на 1 мІ до 1 т/ч. По мере продвижения в верх этой колонны пары жижки освобождаются от уксусной кислоты и обогащаются парами воды. Выходящая с верху колонны азеотропная смесь с температурой 85-90°С содержит части антренера и часть воды. После конденсации паров смеси в конденсаторах (3) слой антренера отделяется от водного слоя во флорентине и в виде флегмы возвращается в колонну, а водный слой с кислотностью не более 0,2-0,3 %, направляется на регенерацию растворенного в воде антренера. Растворимость антренера в воде 6-10 %, а воды в антренере 5 - 7 %.

Обезвоженная жижка из колонны поступает на верх исчерпывающей колонны, где отгоняются остатки антренера и других легкокипящих примесей. Снизу колонны стекает черная кислота, содержащая смолу. Она кипятится в две ступени - в кубе - испарителе и в каландрии. Отгоняемые здесь пары с температурой 110-115°С направляются в них исчерпывающей колонны. Колонна имеет 16 тарелок. Черная кислота - сырец имеет кислотность 45 - 50 %, в ней содержится до 25 % смолы и менее 33 % воды. Ее выход составляет в среднем 59 кг на 1 м3 древесин, в том числе кислот - 29 кг.

Регенерация антеренера из водного слоя (из флорентины) производится в колонне, имеющей 17 тарелок. В ней отгоняется острым паром антренер и другие летучие продукты, выводимые из системы через конденсатор и флорентину. С водным (нижним) слоем из последней отводятся накапливающиеся в системе метилацетат, спирты и. т.д., а слой антренера (верхний) стекает в общую флорентину (4). Кислотность отбросной воды из колонны не должна превышать 0,2-0,3 %.

Коэффициент извлечения товарной кислоты при азеотропном способе доходит до 72-75 %. Расход тепла немного выше, чем при экстракционном способе, и составляет 8,3-9,6 ГДж на 1 г кислоты - сырца, воды расходуется 80 м3, антеренера до - 60 кг/т.

Азеотропный способ укрепления жижки осуществим и с применением бутилацетата, образующего с водой постоянно кипящую при температуре 90,2°С азеотропную смесь, содержащую 28,9 % воды.

Коэффициент извлечения уксусной кислоты несколько ниже, чем при использовании древесно - спиртовых масел, а расход тепла (пара) примерно равен расходу по экстракционному способу с применением этилацетата. На 1 т товарной кислоты расходуется 41-45 кг бутилацетата. Иногда используют смесь бутилацетата с древесно - спиртовыми маслами. Азеотропные способы извлечения уксусной кислоты имеют ряд преимуществ: упрощение стадии обессмоливания жижки, меньшая загрязненность отбросных вод и лучшее качество продукции. Главный их недостаток - невыгодность укрепления слабой жижки.

3.4 Очистка и ректификация уксусной кислоты - сырца


В уксусной кислоте - сырце, выделенной из жижки различными способами, содержатся вода, масла, смола (особенно много при экстракции неперегнанной жижки), гомологи уксусной кислоты - муравьиная, пропионовая, масляная. Для получения товарных сортов кислоты сырец необходимо укрепить и освободить от примесей, подвергнув в разгонке на НДА. Уксусная кислота идет на выработку сложных (ацетатных растворителей), применяется в текстильной, кожевенной промышленности, для производства ацетилцеллюлозы, уксусного ангидрида, красителей и др. Из хорошего очищенных фракций химической обработкой получают так называемые чистые сорта уксусной кислоты - ледяную, пищевую и реактивную. Ледяная 98-99 % уксусная кислота затвердевает уже при 15-16°С в прозрачные или слегка матовые "ледяные" кристаллы, откуда и произошло ее название (температура застывания безводной химически чистой уксусной кислоты 16,3-16,7°С). В настоящее время почти вся лесохимическая уксусная кислота перерабатывается в пищевую кислоту. Уксусная кислота перевозится в стеклянной или деревянной таре, в алюминиевых бочках, бачках из полиэтилена, а также в железнодорожных цистернах. Чистые сорта уксусной кислоты разливают в специально оборудованном разливочном отделении. Расфасовка пищевой кислоты ведется в 20 литровые бутыли или во флаконы по 200 г, при этом расфасовка во флаконы полностью механизирована и автоматизирована.

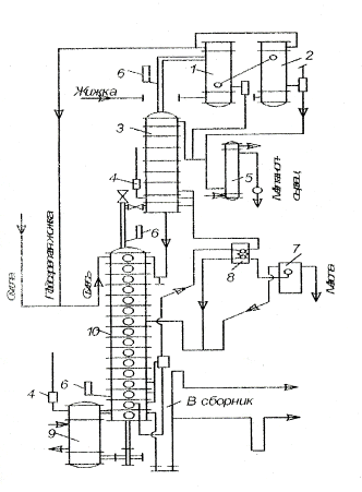
4. Устройство и принцип действия экстрактора


Экстрактор. Наиболее экономичным и технологически надежным является способ выделения из жижки уксусной кислоты. Извлечение ее растворителем-экстрагентом. Процесс извлечения уксусной кислоты из жижки ведут в экстракторах. Аппараты изготавливают из меди или титана с ситчатыми полками провального типа, расположенными на расстоянии 0,4-0,5 м друг от друга; сечение полок 10-18 % от общего. Часть полок зажата между фланцами царг, а часть нанизана на отрезки труб внутри обечаек и закреплена стяжными винтами. Зазоры между стенками обечаек колонны и тарелками, а также между фланцами должны уплотнены.

Над верхней полкой расположен кольцевой барботер с отверстиями внизу для ввода жижки, а под нижней полкой такой же барботер для ввода экстрагента. Эфирокислота отстаивается в верхней расширенной полой части экстрактора и выводится через боковой штуцер. Аналогично эфировода отстаивается в нижней части колонны и выводится через боковой штуцер нижней части колонны. Над верхней сферической крышкой имеется штуцер для воздушной линии, а под нижней крышкой большого диаметра штуцер с краном на случай аварийного слива.

В нижней и верхней царге вмонтированы уровнемеры жидкости и смотровые фонари. Фонари меньшего диаметра имеются и на других царгах. Через эти смотровые фонари можно наблюдать за работой аппарата по всей высоте. Гребенка 4-5 вентилями для отбора эфироводы поднятая до верха экстрактора и позволяет поддерживать уровень жидкости в аппарате по принципу гидрозатвора.

Аппарат имеет диаметр 0,8-1,2 м, высоту 12-18 м, число полок 30-36 шт. Через такой экстрактор можно пропустить 5,5-8 т/ч жижки. Линейная скорость движения жидкостного потока не менее 6 м3/ч, что составляет продолжительность процесса 2-2,5 ч, а удельная производительность экстрактора на 1м2 составляет до 20 т/ч жижки.

Несмотря на значительную высоту аппарата, число ступеней изменения концентрации в этих экстракторах составляет 5-6. Объясняется это плохим контактом экстрагента с жижкой т.е. малой поверхностью массобмена. Более эффективными в этом отношении являются роторнодисковые экстракторы или экстракторы с применением пульсационной подачи или ступенчатого-струйного применения. Хорошо могут работать и диафрагменные смесители с последующим разделением фаз во фрорентинах. При этом необходимо учитывать, что в силу малой величины поверхностного натяжения у этилацетата (основного экстрагента) и малой разности плотностей его и жижки продолжительность расслоения в верхней части экстрактора приходится увеличивать, иначе может произойти проскок эмульгированной жижки в эфирокислоту.

Заключение


Во время учебной практики я ознакомилась с принципом работы пиролизного производства. Важное значение имеет пиролиз древесины. Он ведется на крупных предприятиях, где вырабатывают древесный уголь, уксусную кислоту.

Кроме того, в отчете по практике содержится индивидуальное задание, в котором я ознакомилась с устройством и принципом действия экстрактора.

Список использованных источников


. Технология лесохимических производств: учеб. пособие для студентов вузов / Т.В. Рязанова, С.М. Репях, Б.А. Золин. - Красноярск: СибГТУ, 2004. - 196 с.

Похожие работы на - Пиролиз как термический метод переработки древесины

 

Не нашли материал для своей работы?
Поможем написать уникальную работу
Без плагиата!
Без нейросетей!