Особенности прессования полимеров
Учреждение
образования «БЕЛОРУССКИЙ НАЦИОНАЛЬНЫЙ ТЕХНИЧЕСКИЙ УНИВЕРСИТЕТ»
Факультет
технологий управления и гуманитаризации
Кафедра
Организация упаковочного производства
РАСЧЕТНО-ПОЯСНИТЕЛЬНАЯ
ЗАПИСКА
КУРСОВОЙ
РАБОТЫ
по
дисциплине «Технология переработки полимерных материалов»
Тема
«Особенности прессования полимеров»
Исполнитель
студентка 3 курса
группы 108032-11
Бобученко М.А.
Руководитель
проф.
Карпунин
И.И
Минск
2013
Реферат
Расчетно-пояснительная записка содержит 24 стр.,
12 рис., 5 источников литературы.
ПРЕСС-ФОРМЫ, ПРЕССОВАНИЕ, ЛИТЬЕВОЕ ПРЕССОВАНИЕ,
РЕАКТОПЛАСТЫ
Целью данной курсовой работы является
рассмотреть особенности прессования полимеров.
Содержание
Реферат
Введение
.
Определения
.
Материалы: формы поставки, типизация и приготовление сырья
.
Подготовка полимерного сырья к прессованию
.1
Дозировка
.2
Таблетирование
.3
Предварительный нагрев
.4
Предпластикация
.
Прессование
.
Конструкции прессов
.
Пресс-формы
.
Прессование реактопластов, армированных волокнистых наполнителей
.
Литьевое прессование
.1
Конструкции прессов для литьевого прессования
.2
Давление и температура прессования
.
Снятие облоя
.
Прессование слоистых изделий
.
Прессование термопластов
Заключение
Список
литературы
прессование полимер облой
Введение
Способ переработки прессованием существует с тех
пор, как изделия и полуфабрикаты стали изготавливаться из реактопластов. Именно
поэтому прессование рассматривается как классический метод производства изделий
из отверждаемых формовочных масс в пресс-форме или из полуфабрикатов между
плитами пресса.
Позднее появилось литьевое прессование.
Значительный прогресс, достигнутый в области литья под давлением реактопластов,
в последние годы отодвинув на задний план технологию прессования. Тем не менее
и на сегодняшний день прессование может быть использовано в качестве
рентабельного метода переработки. Определяющими при выборе технологии
производства является консистенция полимерного сырья, требования, предъявляемые
к готовому изделию, а также экономические причины.
1. Определения
Оба метода стандартизированы в соответствии с
DIN 16700.
Под прессованием (прямым прессованием) понимают
такую переработку формовочной массы, при которой она (таблетированная,
предварительно нагретая или пластицированная) под давлением м воздействием
температуры заполняет формующую полость разомкнутой пресс-формы, при смыкании
которой образуется изделие.
В ходе этого процесса в переработке
реактопластов при высокой температуре происходит сшивка макромолекул, а при
переработке термопластов происходит охлаждение расплава.
Литьевое прессование отличается от прямого тем,
что сырье закладывается не в формующую камеру, а в загрузочную часть
пресс-формы, откуда после расплавления под давлением через литниковую систему в
формующие полости.
По отношению к прямому прессованию литьевое
прессование в последнее время все больше отходят на второй план. При
переработке термопластов прессование продолжает свое значение лишь для
следующих изделий:
Толстостненные листы;
Вспененные полуфабрикаты;
Изделия из полимеров с очень большой
молекулярной массой.
2. Материалы: формы поставки, типизация и
приготовление сырья
Производители сырья и предприятия, его
перерабатывающие, согласовывают определенные характеристики, которые
стандартизированы в соответствии с DIN7708, DIN 16911, DIN 16912 и DIN 16913.
По комбинации цифр можно установить не только свойства сырья, но также и тип
полимера, тип наполнителя, цвет и процентное содержание смол.
Так например, рассматривая тип 31, можно
сказать, что речь идет о сочетании фенольной смолы с древесной мукой. Наряду с
перечисленными типами полимерного сырья существует также некоторые специальные
массы, из которых, в качестве замены масс до сих пор наполнявшихся асбестом,
изготавливают высококачественные технические изделия.
Полимерное сырье поставляется в виде порошка,
гранулята, пасты или препрега. От формы поставки зависит технология переработки
сырья. Однако, в любом случае, прежде чем полимерное сырье будет использовано,
его необходимо подготовить. В процессе приготовления наполнители и добавки
совмещаются со смолой, которая может предварительно частично сшиваться.
Рис.1 Процесс приготовления термореактивного
сырья: - смеситель для предварительного смешения;- валок; с -шнековый смеситель
(пластикатор)
Рис.2 Метод работы с жидкой смолой для
приготовления термореактивного полимерного сырья: а - смеситель; b - бегуны
3. Подготовка полимерного сырья к прессованию
Прежде чем в пресс-форме образуется изделие,
полимерное сырье проходит несколько технологических операций. Такими рабочими
этапами является:
Дозировка;
Таблетирование;
предварительный нагрев;
шнековая предпластикация.
Схематическое изображение процесса подготовки
полимерного сырья представлено на рис 3.
Рис. 3 Схематическое изображение процесса
подготовки
полимерного
сырья
Для каждого изделия необходимо достаточное
количество полимерного сырья. Точная дозировка важна для свойств и
дополнительной обработки изделий. Недостаточность дозировки становится причиной
появления пористых участков. Чрезмерная дозировка, в свою очередь, приводит к
образованию облоя, а значит потребуется дополнительная обработка. Существуют
два способа дозировки: объемная и весовая. На выбор конкретного метода решающее
значение оказывает приготовление полимерного сырья.
Объемная дозировка является, наиболее часто
используемым методом. Однако производитель полимерного сырья должен
гарантировать неизменную насыпную плотность, а также достаточную сыпучесть
материала. Оба этих свойства могут быть легко проверены на предприятии,
занимающемся переработкой полимерного сырья.
Для того чтобы все гнезда пресс-формы
заполнялись одновременно, дозировка полимерного сырья всегда должна
осуществляться автоматически. Для этого используются так называемые загрузочные
шаблоны. Время контакта полимерного сырья с горячей пресс-формой должно быть
непродолжительным, чтобы смыкание пресс-формы могло произойти мгновенно.
Весовое дозирование представляет собой точный
метод, но, как правило, требует больших затрат, чем объемное.
Данный метод подходит для полимерного сырья с
наполнителем из длинного волокна и крошки, которое не является сыпучим, а
значит и не может быть дозировано по объему. Весовое дозирование требует от
производителя неизменной кажущейся плотности полимерного сырья, что позволит
избежать колебаний насыпного веса.
Более трудоемким является дозировка препрега,
который в случае своего клейкого состояния поставляется уложенным между
пленками. После удаления пленки препрег должен быть разрезан в соответствии с
контуром изделия, как можно более точно, поскольку иначе облой станет причиной
преждевременного смыкания пресс-формы.
3.2 Таблетирование
Таблетирование формовочной массы имеет следующие
преимущества:
Удаление воздуха, находящегося в насыпной массе;
Обеспечение возможности рентабельного
предварительного нагрева;
Оптимальное использование высоты загрузочной
камеры в процессе литьевого прессования.
Существуют различные типы прессов для таблетирования,
причем за счет использования разнообразных пресс-форм могут быть изготовлены
всевозможные формы таблеток. Таблетирование, как правило, осуществляется при
комнатной температуре, и может быть выполнено автоматически практически для
всех сыпучих пресс-материалов.
При таблетировании возможна как объемная, так и
весомая дозировка, прессовщик же имеет возможность перед подачей сырья в
пресс-форму еще раз осуществить весовое дозирование, которое рекомендуется
предпринимать в том случае, если таблетки получены со склада или поставляются
производителем.
.3 Предварительный нагрев
В целях сокращения времени пресс-материал
подогревается вне пресс-формы. Для этого существует ряд возможностей, например:
Предварительный нагрев между горячим
металлическими поверхностями;
Предварительный нагрев в печи;
Предварительный нагрев инфракрасных лучей;
Высокочастотный предварительный нагрев;
Микроволновой предварительный нагрев;
Предварительный нагрев в горячих загрузочных
шаблонах;
Предпластикация
Предварительный нагрев осуществляется прежде
всего при работе с конденсационными и эпоксидными смолами.
.4 Предпластикация
С начала 1970-х годов на рынке представлены
устройства шнековой предпластикации, которые рационализировали переработку
реактопластов. По всей конструкции и действию эти устройства схожи с
экструдером, который подает пластичный жгут из термореактивного полимерного
сырья в накопитель.
В качестве преимущества устройства шнековой
предпластикации следует рассматривать не только увеличение загрузки прессов, но
и щадящее отношение к пресс-формам.
Лучшая текучесть пластичной массы, по сравнения
с не подвергшимся предварительному нагреву пресс-материалом, способствует е
меньшему износу пресс-форм. При использовании текучего пресс-материала отпадает
и необходимость в аэрации, поскольку летучие компоненты в значительной степени
улетучиваются. С этим, как правило, связано лучшее качество поверхности готовых
изделий и их более высокие механический свойства. Устройства предпластикации
могут быть использованы со всеми прессами пригодными для литьевого прессования.
В зависимости от продолжительности отверждения отдельных изделий такая
установка может подготавливать полимерное сырье для нескольких прессов.
4. Прессование
Процесс прессования формовочная масса на основе
термореактивного полимера загружается в пресс-форму, где отверждается под
давлением и при повышенной температуре. На рис. 4 схематически изображена
последовательность этого технологического процесса. В исходном положении и
пресс-форма разомкнута настолько широко, что в нее может быть легко загружен
пресс-материал, а после завершения цикла извлечено готовое изделие. Путь до
момента смыкания формы должен быть преодолен как можно быстрее, после чего
пресс-материал в ходе смыкания будет пластицирован и равномерно распределен в
гнезде пресс-формы. Нагреванием, а также за счет дополнительной теплоты трения,
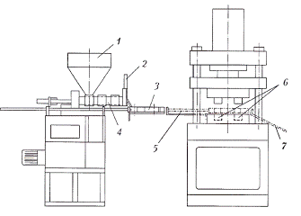
Рис. 4 Использование устройства шнековой
предпластикации на полуавтоматическом прессе:
- Загрузочный бункер; 2 - отрезной нож; 3-
загрузочный шаблон;
- пластикационный цилиндр; 5 - передвижной стол;
- гнезда пресс-форм; 7 - снимающий шаблон
Рис.5 Схематическое отображение цикла
прессования:
1
- пуансон; 2 - матрица; 3 - пресс-материал; 4 - изделие
создаваемой
при смыкании пресс-формы, материал доводится до температуры отверждения. В ходе
выдержки под давлением макромолекулы олигомерного связующего сшиваются между
собой, и образуются отверждения должен быть завершен настолько, чтобы
наталкиватели не смогли повредить изделия или не появились признаки коробления.
Недостаточность выдержки легко отличить по пористости поверхности готового
изделия. После извлечения изделия из пресс-формы ее необходимо очистить, причем
основное внимание следует уделить удалению облоя, образующегося в ходе
прессования.
Довольно простая по описанию технология
прессования на самом деле представляет собой достаточно сложный процесс,
требующий определенного опыта. В предыдущих разделах уже упоминалось о
воздействии, которое на прессование оказывает подготовка пресс-материала.
Предварительный нагрев массы в значительной степени влияет на время выдержки,
изнашивание пресс-формы, а также на качество поверхности готовых изделий.
Оптимальный предварительны й нагрев пресс-материала способен сократить
время цикла и обеспечить изготовление материала изделий со значительной
разницей толщины стенок. Кроме того, в том случае, как правило, практически
исключается влияние низкой теплопроводности материала. Выдержка под давлением
имеет решающее значение для качества готовых изделий. Недостаточная выдержка
становится с этим низкими электрическими свойствами. Чрезмерное отверждение
ведет к появлению на поверхности мелких волосяных трещин, что в свою очередь
также вызывает повышенное водопоглощение.
Именно поэтому качество изделий, полученных
прессованием, должна подвергаться постоянному контролю.
5. Конструкции прессов
Прессование представляет собой довольно старый
метод формования в полимерной промышленности, поэтому и сегодня по-прежнему
эксплуатируется достаточно большое количество прессов устаревшей конструкции.
Различают два конструктивных исполнения прессов:
Коленчато-рычажный пресс;
Гидравлический пресс.
Ранее преобладали прессы первого типа, сегодня
же на рынке предлагается исключительно гидравлическое оборудование.
Гидравлические прессы оборудованы четырьмя
направляющими колонами (рис. 6) обеспечивающими возможность прессования с
образованием равномерным распределением усилия прессования по всей поверхности
прессования. Большое значение имеют устройства управления и регулировки.
Современные гидравлические прессы оборудованы устройством управления, которое
позволяет воспроизводить все выполняемые операции. Помимо этого они снабжены
устройством регулированиям обеспечивающим плоскопараллельные смыкания
пресс-формы.
Прессы, особенно крепежные плиты, должны быть
крутильно-жесткими.
Управление прессом осуществляется с помощью
компьютера, который регистрирует все необходимые данные и выводит их на
дисплей.
Производители гидравлических прессов предлагают
две системы: в первой - нижний плунжир перемещает нижнюю инструментальную плиту
навстречу верхней плите во второй - верхний плунжир смещает верхнюю плиту вниз.
Важен тот факт, что обе системы могут быть совмещены с устройствами
предпластикации или даже с литьевыми агрегатами. Для того чтобы дать
возможность позиционированной закладки, в том числе и вставных изделий,
существуют процессы, оборудованные раздвижными или поворотными столами.
Рис. 6 Автоматический пресс с объемным
дозированием:
- нижняя плита; 2 - верхняя плита;
- кожух концевого выключателя; 4 - устройство
управления;
- привод; 6 - гидравлический плунжер
Преимущество подобной конструкции состоит в том,
что пока в одной из нижних частей пресс-формы опрессовываются вставные изделия,
из других частей извлекаются готовые изделия и вкладываются новые.
Эта операция уже частично выполняется
автоматически, чему способствует вертикальный принцип работы прессов.
К пресс автоматам предъявляются следующие
требования:
Точная четырехколонная направляющая;
Легкодоступные и крутильно-жесткие крепежные
поверхности;
Синхронно-следящее регулирование;
Управление, регистрирующее путь и давление,
передача всех данных на дисплей, документирование данных;
Возможность согласования с устройствами
предпластикации, и перемещение изделий на установки для снятия облоя.
На сегодняшний денно пресс-автоматы настолько
хорошо оборудованы, что их можно сравнить с современными литьевыми машинами.
Они снабжены компьютерным управлением, пропорциональной гидравликой с
самоусилением, а также скоростным гидроцилиндром для осуществления смыкания. Все
это обеспечивает воспроизводиельность заданных параметров процесса в каждом
новом цикле. Пожелания предприятий-потребителей, требовавших гибкости
производства, в особенности в последующей сборке отдельных деталей, привели к
созданию многопозиционного пресс-автомата.
В этом случае речь идет об автономном
производственном участке, на котором несколько работающих независимо друг от
друга пресс-автоматов связаны в один технологический цикл. Наряду с
индивидуальной настройкой параметров возможна одновременная переработка
различного термореактивного полимерного сырья.
6. Пресс-формы
Формовочные массы из-за высокого процента
содержания наполнителей вызывают их износ. За счет соответствующей рецептуры
пресс-материала и предварительного нагрева такой износ может быть сведен к
минимуму. Для производителей полимерного сырья незначительность износа - один
из аргументов, способствующий и продажам.
На рис. 5 представлена конструкция пресс-формы.
В зависимости от смыкания оформляющей полости различают два основных конструтивных
исполнения: закрытая (поршневая) пресс форма (рис. 7) и пресс форма с
перетеканием (рис. 7). Чаще используется закрытая пресс-форма. В этом случае
пресс-материал должен быть точно дозирован и в зависимости от вида материала
введен в виде сыпучей массы, в таблетированном или пластицированном виде в
оформляющую полость матрицы через шаблоны загрузочной камеры. Погружаемый в
загрузочную камеру пуансон оказывает полное и равномерное давление на
формовочную массу.
При использовании пресс-формы с перетеканием в
момент сближения обеих ее частей избыточный материал выдавливается из формующей
полости верхним пуансоном.
Работа с избытком формовочной массы позволяет
исключить появление изделий с разной плотностью.

- крепежная плита; 2 - направляющая колонна; 3 -
пуансон;
-замыкающие планки; 5 - формованное изделие; 6 -
матрица;
- выталкиватель; 8 - плита выталкивателей;
- крепежная плита
Рис. 8 Пресс-форма с перетеканием
На сегодняшний день для изготовления пресс-форм
в основном используется высококачественная сталь, которая обладает достаточной
поверхностей твердостью, легко полируется и имеет мягкую, но выносливую
сердцевину. Часто поверхности пресс-формы подвергаются хромированию.
Легированная сталь используется в тех случаях, когда возникает необходимость
изготовления изделий не допускающих коробления.
7. Прессование реактопластов, армированных волокнистым
наполнителем
За последние годы были отмечены значительные
темпы прироста в переработке препрегов, которые представляют собой
полуфабрикаты из реакционноспособных полимеров (например, эпоксидных смол),
армированных волокон или тканью (например, стекловолокном).
Предпосылками для изготовления высококачесвенных
изделий из предпрегов являются однородность полуфабрикатов в том, что касается
веса единицы объема, равномерности распределения волокна и смолы, равномерности
раскроя, а также наличие точных и программируемых прессов. Для внедрения
данного метода сегодня предлагаются гидравлические прессы с коротким ходом
плунжера у которых все перемещения могут быть согласованы со свойствами
материала. Это означает, что соотношении скорости и времени, а также давления и
времени поддаются четкому управлению и частично могут быть запрограммированы.
Особенно важны деформационная жесткость пресса и точная параллельность
плоскостей прессования.
8. Литьевое прессование
В процессе литьевого (трансферного) прессования
формовочная масса по относительно узким распределительным каналам заполняет
гнезда пресс-формы. За счет сдвиговых напряжений происходит разогрев материала,
что сравнимо с предварительным нагревом в ходе прямого прессования.
Ненужная формовочная масса в виде коржа остается
в загрузочной камере, что позволяет избежать чрезмерного впрыска, а значит и
образования слишком большого количества облоя. При литьевом прессовании
рекомендуется перерабатывать предварительно нагретый или пластицированный
полимерный материал, что позволяет добиться дополнительного эффекта
пластикации. Недостаток данного метода - ориентация волокнистого наполнителя в
направлении движения расплава. На рис. 9 схематически представлена технология
летьевого прессования на прессе с нижним давлением.
Рис. 9 Литьевое прессование с использованием
нижнего рабочего плунжера:
а - заполнение загрузочной камеры полимерной
массой;- впрыск полимерного сырья при помощи нежного плунжера;
с - съем готового формовочного изделия
.1 Конструкции прессов для литьевого прессования
Обязательным условием литьевого прессования
является использование гидравлических прессов, поскольку впрыск полимерного
сырья в замкнутую пресс-форму может быть осуществлен только гидравлически.
Нижний стол большинства таких прессов оборудован
дополнительным плунжером (метод использования нижнего плунжера или метод с
использованием двух рабочих плунжеров), при помощи которого полимерное сырье
вдавливается в гнезда пресс-формы. Лишь на немногих прессах для литьевого
прессования в верхний плунжер встроен дополнительный литьевой плунжер (метод
использования верхнего плунжера или метод работы с одним плунжером).
Прессы для литьевого прессования в большей
степени пригодны для сочетания с устройствами предварительной пластикации,
поскольку в материальный цилиндр необходимо вкладывать всего одну таблетку.
Пресс-формы для литьевого прессования. Основная
разница между обычным и литьевым прессованием состоит в конструкции пресс-форм.
Отдельные гнезда пресс-формы связаны с материалом цилиндром распределительной
системы. Поэтому литниковые каналы должны быть выполнены в виде вставок из
износостойких сталей.
.2 Давление и температура прессования
Также важно какие температуры и давления следует
задавать на машинах. В качестве рекомендации в табл. 1 для некоторых типов
сырья приведены соответствующие значения, которое, однако, не следует
использовать не проконсультировавшись с производителем пресс-материала. Кроме
того, сегодня на рынке представлено большое количество не стандартизированных
прессовочных масс.
Предварительным давления прессования относятся
исключительно к прямому прессованию, если же речь заходит о литьевом, то в этом
случае удельные давления литьевого плунжера составляют от 50 до 200 Н/мм2.
При работе со смолами, полученными
поликонденсацией, в случае отсутствия предварительного нагрева может возникнуть
необходимость использования подпресоовок и прессования с вентиляционными
каналами, что обеспечивает отвод летучих веществ.
После смыкания пресс-формы часто бывает
достаточно на которое время снять давление, а затем вновь в полной мере подать
его до завершения времени отверждения. Продолжительность подпрессовки и
удаление летучих определяет желаемое качество поверхности готовых изделий
Таблица 1
Данные, для переработки термореактивного
полимерного сырья
|
Тип
|
Температура
прессования, °С
|
Давление
прессования, Н/мм2
|
|
12
13 31 131 150 180 801 871
|
От
150 до 170 От 160 до 175 От 160 до 170 От 145 до 165 От 140 до 165 От 145 до
165 От 140 до 160 От 150 до 175
|
>20
>25 >15 >25 >25 >25 >5 >10
|
9. Снятие облоя
Едва ли существует возможность изготовления
изделий из термореактивного материала без образования облоя, а значит целью
каждого производителя должно стать получение изделий с его минимальным
количеством. В принципе различают два вида снятия облоя (рис. 10):
Вручную;
Машинным способом.
Рис. 10 Методы снятия облоя. Преимущества и
недостатки
Автоматизированное производство допускает
исключительно автоматическое снятие облоя. Сегодня существуют установки, на
которых производят изделия без облоя, однако при этом нельзя допускать снижение
качества поверхности изделий.
Какой из названных методов снятия облоя слудует
использовать зависит от вида изделия, а также от степени автоматического
производства. Для многих изделий снятие облоя происходит только вручную,
поскольку автоматизация процесса не имеет смысла или попросту невозможна. На
крупносерийном производстве использование автоматов- насущная необходимость.
Не методы снятия облоя в производстве изделия из
реактопластов следует обратить внимание, поскольку они способны в значительной
степени повлиять на производственные издержки.
10. Прессование слоистых изделий
Под прессованием слоистых изделий
подразумевается прессование пропитанных под воздействием температуры и давления
синтетической смолой (полимером) слоистых наполнителей для изготовления
гетинаксов иди текстолитов.
Слоистые материалы и их свойства
регламентированы в DIN7735, 40802 и 16962. На рис. 11 схематически представлен
процесс изготовления слоистых пластиков.
В процессе первой технологической операции
подложка (ткань или бумага) пропитывается соответствующей смолой. Для этого
полотно пропускается удаление растворителей. В конце установки размещаюися
намоточные устройства, на которые подложки наматываются перед последующей
переработкой. Следует обратить внимание на отвод паров, возникающих в процессе
сушки.
При дальнейшей переработке полностью пропитанные
смолой подложки разрезаются подлине и в необходимом количестве пакладываются
друг на друга образуя пакеты. В зависимости от предполагаемого использования
слоистых изделий необходимо структурировать его слои (феноло-формальдегидная
или крезоло-формальдегидная смолы не пригодны к использованию в качестве
внешнего декоративного слоя поскольку они сильно желтеют и не могут быть
окрашены в светлые цвета).
Укладка пакетов на плиты должна выполняться
чрезвычайно чисто, так как после прессования пылинки четко просматриваются на
поверхности изделия.
При прессовании пакеты укладываются между
отполированными до зеркального блеска прессовочными плитами и выдерживаются при
температуре от 130 до 180 °С под давлением 7 до 20 МПа.
Время выдержки под давлением зависит от толщины
слоистых материалов и от степени предварительной сшивки. При сборке слоев из
различных смол или использовании декоративных материалов необходимо обратить
особое внимание на температурный режим прессования, что позволит избежать
обесцвечивания (изменения окраски). Степень сшивки напрямую влияет на свойства
слоистых пластиков.
После завершения отверждения сформировавшиеся
пластины медленно охлаждаются под давлением. Это необходимо для того, чтобы
избежать коробления и пузырей, что особенно важно при использовании смол,
полученных поликонденсацией.
Рис. 11 Схематическое отображение изготовления
гетинакса
и текстолита
Рис. 12 Многоэтажный пресс для изготовления
гетинакса и текстолита
11. Прессование термопластов
Прессование термопластов получило незначительное
распространение, поскольку здесь достаточно высока трудоемкость процесса и
продолжительно время цикла. Данный метод пригоден лишь для изготовления блоков
и толстостенных плит, которые не могут быть произведены экструзией или каландрированием.
Такой способ прессования применяется, например при работе с высокомолекулярными
полиолефинами (ПЭ, ПП), способными к сшивке, или же с некоторыми полимерными
пенами.
Порошкообразное или гранулированное полимерное
сырье загружается в нагретое гнездо пресс-формы и сжимается в ней под
давлением. Если есть такая возможность, рекомендуется внешняя пластикация сырья
в экструдере. После полной пластикации массы давление может повышать до тех
пор, пока сырье не окажутся выделены все воздушные включения. В отличие от
работы с реактопластами, термопласты не требуют последующего отверждения. В
этом случае необходимо охлаждение в пресс-форме. Для частично кристаллизующихся
полимеров степень кристаллизации, а значит и свойства изделий, определяются
скоростью охлаждения. Охлаждение может быть достаточно долгим, однако это
необходимо, чтобы при извлечении из пресс-формы избежать повреждений и
коробления изделия.
Наряду со многими недостатками прессование
термопластов обладает тем преимуществом, что при его использовании получаются
изделия с незначительной ориентацией.
В последние годы получило развитие прессование
термопластов, армирванных стекломатом. Изделия изготовленные таким методом,
применяются в качестве защитных и армирующих компонентов в автомобильной промышленности.
Здесь используются такие полимеры как ПП, ПА, полибутилметакрилат, а также их
смеси. В будущем этому методу, вероятно, будет уделяться все более пристальное
внимание, поскольку он обеспечивает качественную переработку вторичного сырья.
Технологический процесс подразделяется на три
этапа:
Пропитка стекломата;
Пластикация материала (полуфабриката) вне
пресса;
Прессование формовочной массы и превращение ее в
изделие.
Пропитанный стекломат, как правило, поставляется
производителем сырья в виде плиты или раскатанного полотнища. На
перерабатывающем предприятии заготовка разрезается по необходимым размерам,
после чего предварительно нагревается в печи или с помощью инфракрасного
нагрева. Для толщины формованного изделия решающее значение имеет количество
укладываемых друг на друга слоев. Затем пластицированная заготовка
закладывается в пресс-форму, а пресс очень быстро смыкается. После охлаждения,
продолжительность которого зависит от толщины слоя, изделие извлекается из
пресс-формы. Время цикла в этом случае, в сравнении с описанными выше
технологиями, короче, поскольку можно обойтись лишь термостированием
пресс-формы. Изготавливаемые подобным способом изделия имеют облой.
Заключение
В ходе выполнения курсовой работы я изучила
особенности прессования полимеров следующими способами: прямое прессование и
литьевое прессование.
Для каждого метода используются стандарты в
соответсвии с DIN 16700.
При подготовке полимерного сырья выполняются 4 рабочих
этапа:
Дозировка;
Таблетирование;
Предварительный нагрев;
Шнековая предпластикация
Дозировка очень важна для свойств и
дополнительной обработки изделий.
Также таблетирование имеет следующие
преимущества:
Удаление воздуха, находящегося в насыпной массе;
Обеспечение возможности рентабельного
предварительного нагрева;
Оптимальное использование высоты загрузочной
камеры в процессе литьевого прессования.
Устройства предпластикация появилась на рынке с
начала 1970-х годов, которые рационализировали переработку реактопластов.
Также рассмотрела такие понятия как:
пресс-формы, конструкции прессов, снятие облои, температура и давление при
прессовании.
Список использованных источников
1.
Шварц О. и др. Переработка пластмасс. С.-Петерб. Профессия. 2005. -320 с.
.
Полимерные плёнки. Перевод с англ. Под редакцией Е. Заикова. С.-Петерб.
Профессия, 2006.-352 с.
.
http://academic.ru/dic.nsf/bse/123570/Прессование
.
Мэллой Р.А. Конструирование пластмассовых изделий для литья под давлением. Пер.
с англ. С.-Петерб. Профессия, 2008. - 519с.
.
Красовский В.Н., Воскресенский А.М. Сборник полимеров и задач по технологии
переработки полимеров. Мн.:Вышейшая школа.-1975.