Организация технологического процесса на Машиностроительном заводе им. С.М. Кирова

  • Вид работы:
    Отчет по практике
  • Предмет:
    Другое
  • Язык:
    Русский
    ,
    Формат файла:
    MS Word
    715,38 Кб
  • Опубликовано:
    2015-06-30
Вы можете узнать стоимость помощи в написании студенческой работы.
Помощь в написании работы, которую точно примут!

Организация технологического процесса на Машиностроительном заводе им. С.М. Кирова

СОДЕРЖАНИЕ

Введение

. О заводе имени С.М. Кирова

1.1 История

.2 Программа развития

.3 Миссия. Видение. Цели

.4 Социальная ответственность

.5 Структура

2. Услуги завода

2.1 Конструкторское бюро

.2 Технологическое бюро

. Виды производства

3.1 Механообрабатывающее производство <#"809855.files/image001.gif">

ВВЕДЕНИЕ

Преддипломная практика является неотъемлемой частью получения высшего образования в области машиностроения и обработки материалов давлением. Она дает возможность студенту применить на практике знания полученные во время обучения.

Преддипломная практика преследует цель закрепить теоретические знания полученные в высшем учебном заведении, и усвоить практические навыки самостоятельно работая в условиях производственной деятельности предприятия.

1. О заводе имени С.М. Кирова

.1      История

Богатая история предприятия насчитывает более 70 лет. «Машиностроительный завод им. С.М. Кирова» основан в 1942 году и является единственным производителем торпед с тепловым двигателем на территории СНГ.

Начало 1882 г.

Завод берет свое начало с далекого 1882 года, когда в местечке Большой Токмак Таврический, что на Украине, немецкими предпринимателями Фуксом и Клейнером было основано предприятие по производству сельхозмашин.

В 1914-1915 гг. это производство переходит в распоряжение военного ведомства и занимается ремонтом военной техники.

С 1919 года на заводе вновь начался выпуск сельхозмашин.

С 1922 г. завод становится госпредприятием "Красный прогресс" и приступает к выпуску нефтяных двигателей, а затем и первых отечественных тракторов "Запорожец" мощностью 12 л. с.

июля 1935 г. заводу присваивается имя С. М. Кирова и постановлением правительства поручается приступить к изготовлению первого отечественного образца морского оружия - самодвижущихся морских мин. Производится реконструкция завода, и теперь он становится заводом №175 им. С. М. Кирова. С этого момента завод стал ведущим по производству парогазовых торпед. Первые образцы торпед поступили на вооружение ВМФ в 1937 г.

годы

В начале Великой Отечественной войны завод, как имеющий стратегически важное значение, был эвакуирован в город Махачкалу, а в конце 1942 года - в АлмаАту. Именно в Казахстане и была создана уникальная и единственная в СССР производственная база по выпуску сложной машиностроительной продукции - торпед с тепловыми двигательными установками.

Уже в конце 1942 г. завод приступил к выпуску новых партий продукции для нужд фронта.

Период 1950-1980

Машиностроительный завод имени Кирова вошел в число самых крупных и секретных предприятий советской оборонной промышленности. Предприятий, равных по своему научно-техническому и технологическому потенциалу «кировцу», надо было еще поискать даже в самых развитых странах Запада. То же самое касается и производительности - завод был крупнейшим производителем торпед не только в СССР, но и в мире.

августа 1978 г. Указом Президиума Верховного Совета СССР завод награжден Орденом Трудового Красного Знамени "За заслуги в создании и освоении производства специальной техники".

В 1982 г. за разработку, освоение в производстве и серийную поставку на флот одного из лучших образцов спецтехники, большая группа инженерно-технических работников ОКБ завода и техотдела филиала завода, руководителей и испытателей была отмечена Государственной Премией СССР.

-е годы

АО «Машиностроительный завод им. С.М. Кирова» создано на основании Постановления Алматинского территориального комитета по государственному имуществу РК №257 от 30 декабря 1993 года в результате преобразования ГП «Машиностроительный завод им. С.М.Кирова».

с 2000 года и по настоящее время

В соответствии с Постановлением Правительства РК от 13 марта 2003 года №244 государственный пакет акций АО «Машиностроительный завод им. С.М. Кирова» передан в оплату уставного капитала АО «НК «Казахстан инжиниринг».

1.2    Программа развития

Деятельность завода происходит в соответствие со стратегическими инициативами Республики Казахстан:

2010-2014

Стратегия индустриально-инновационного развития

-2014

Государственная программа по форсированному индустриально-инновационному развитию Республики Казахстан

-2014

Карта индустриализации Казахстана

-2020

Программа «Дорожная карта бизнеса 2020»;

-2014

Программа посткризисного восстановления(оздоровление конкурентоспособных предприятий)

-2014

Программа по развитию машиностроения в Республике Казахстан;

-2020

Производительность 2020

1.3    Миссия. Видение. Цели

Миссия: завод вносит значительный вклад в развитие экономики

Казахстана через поставку качественной продукции для горнодобывающего, железнодорожного, нефтяного и оборонительного сектора с оказанием высокопрофессионального сервиса. Мы продолжаем совершенствоваться. В стремлении быть лучшими мы меняемся в соответствии с современными правилами ведения бизнеса.

Инструментами для создания качественного продукта и безопасных условий труда, для наиболее полного удовлетворения требований Потребителей и Клиентов и их ожиданий, соблюдения применимых законодательных актов в области качества, безопасности является интегрированная система менеджмента, функционирующая в соответствии с требованиями стандартов ISO 9001, непрерывное улучшение которой является первостепенной задачей команды Высшего руководства.

Наша основная движущая сила и базис успеха - это преданные и профессиональные люди, объединенные общей корпоративной культурой и разделяющие ключевые ценности компании.

-        Современные технологии и разработки;

         Внимание к клиенту;

         Эффективность и оперативность;

         Безопасность.

Видение: лидер на мировом рынке морского вооружения благодаря использованию современных технологий и разработок вкупе с 70 летней историей проектировки, испытаний и выпуска передовой продукции военного сектора.

Лидер на рынке СНГ по выпуску продукции для горнодобывающего, нефтяного, железнодорожного сектора с использованием технологий проектирования и производства продукции для военного сектора.

Стратегические цели: стратегическими целями развития АО «Машиностроительный завод им. С. М. Кирова» определены:

-        Финансовые цели (обеспечение прироста доходов, сокращение удельных затрат, контроль уровня общих и административных расходов, оптимизация и сокращение затрат на непрофильные и убыточные виды деятельности);

         Увеличение производственных активов, расширение спектра услуг и географии бизнеса;

         Установление долгосрочных и устойчивых взаимоотношений с клиентами-партнерами;

         Развитие системы управления;

         Развитие кадрового потенциала.

1.4    Социальная ответственность

В своей деятельности компания уделяет большое внимание поддержке культурных и социальных проектов, общественных мероприятий, спонсорству. Достижение высокого уровня социальной ответственности является частью корпоративной культуры завода.

Приоритетные направления социальной деятельности завода: восстановление и развитие социальной инфраструктуры, подготовка кадров, проведение социально значимых мероприятий посвященных национальным праздникам, культура и спорт, благоустройство и озеленение прилегающей к заводу территории.

Ежегодно к 9 мая Акционерное общество оказывает благотворительную поддержку ветеранам Великой Отечественной Войны с проведением мероприятий на территории завода.

Реализованные проекты - это лучшее доказательство приверженности АО «Машиностроительный завод им. С. М. Кирова» принципам социальной ответственности бизнеса, которая является неотъемлемой частью стратегии ее развития.

1.5    Структура

Завод имеет металлообрабатывающие цехи, литейный цех, инструментальный цех, цех термической обработки, кузнечно-прессовый цех, цех гальванических покрытий и др.

Завод располагает конструкторским бюро (КБ), отделом главного технолога (ОГТ) и лабораторно-аналитическим центром (ЛАЦ), где опытные специалисты выполняют научно-исследовательские, конструкторские работы, метрологическую экспертизу, лабораторный контроль и анализ качества выпускаемой продукции.

Номенклатура выпускаемых изделий:

Морское подводное оружие, изделия судовой гидравлики, судовые системы автоматического управления процессом горения котлов, запчасти для железной дороги, изделия для горнодобывающей промышленности и нефтегазового комплекса.

«Машиностроительный завод им. С.М. Кирова» является акционерным обществом с государственным контрольным пакетом акций и входит в состав Национальной компании «Казахстан Инжиниринг».

Лабораторно-аналитический центр (ЛАЦ)

Обеспечивает:

-        Единство и точность измерений;

         Поверку средств измерений и аттестацию оборудования;

         Учет и содержание стандартных и нестандартизованных средств измерений;

         Контроль методов и средств измерений;

         Метрологическую экспертизу документации;

         Лабораторный анализ качества выпускаемой продукции, входной контроль материалов.

Контролирует:

-        Санитарное состояние условий труда и окружающей среды.

         Разрабатывает и внедряет новые методы контроля качества материалов, полуфабрикатов и деталей.

Испытывает:

-        Выпускаемую продукцию на соответствие требованиям НД

Конструкторское бюро (КБ) разрабатывает:

-Конструкторскую документацию на новые, модернизируемые изделия и нестандартизированное оборудование для эксплуатации изделий;

Программы и методики испытаний узлов, агрегатов и готовых изделий;

Эксплуатационную, ремонтную и учебную документацию.

Рабочие места специалистов КБ оснащены - автоматизированным

программным комплексом «Компас».

Подразделение Главного технолога специализировано по следующим

направлениям:

-        Разработка технологической документации - технологических процессов на механическую обработку, сборку и испытание различной сложности изделий, литьё, горячую и холодную штамповку, сварку, нанесение защитных покрытий и на изготовление резинотехнических деталей;

         Разработка управляющих программ для станков с ЧПУ;

         Разработка чертежей заготовок деталей, чертежей технологической оснастки (штампов, пресс-форм, приспособлений для механической обработки и сборки, испытаний, сварки, термообработки, покраски, и гальванопокрытий), чертежей специального режущего и мерительного инструмента.

Для оперативной и качественной разработки конструкторской и

технологической документации, подразделения оснащены персональными компьютерами Pentium IV с использованием лицензионного программного комплекса «Гемма».

Внедрена САПР «Вертикаль», которая позволяет решить задачи автоматизированной разработки техпроцессов и выпуска различной техдокументации

2. Услуги завода

.1 Конструкторское бюро

Конструкторское бюро Машиностроительного завода им. С. М. Кирова оказывает широкий спектр услуг по:

-        Машиностроению,

         Проектированию и разработке морского подводного оружия, судовой гидравлики, автоматики горения для корабельных энергетических установок, оборудования и запасных частей для АПК (теплоэнергетическое оборудование), горнорудной отрасли, подвижного состава железной дороги и др.

Бюро оказывает услуги по изготовлению конструкций и технологического оборудования для различных областей промышленности. Конструкторское бюро Машиностроительного завода им. С. М. Кирова - команда профессионалов, целью которой является качественная реализация требований заказчика в максимально короткие сроки. Энергичность в сочетании с опытом наших специалистов позволяют справляться с любыми задачами в области проектирования и предлагать конкурентоспособные условия нашим клиентам. Инженеры нашего бюро обладают фундаментальными знаниями, значительным творческим потенциалом, а также солидным практическим опытом конструирования различных изделий и механизмов.

Бюро оказываем услуги по проектированию и конструированию нестандартного и уникального оборудования любой сложности различного назначения. Будь то экспериментальная установка, машина, агрегат, механизм или производственная линия. Ответственно подходит к выполнению любых инженерных задач.

2.2   
Технологическое бюро

Технологическое бюро Машиностроительного завода им. С. М. Кирова обеспечивает технологическую подготовку производства завода:

-        Разрабатывает проектную документацию с математическим обеспечением и применением различных систем ЧПУ.

         Занимается разработкой технологических процессов для разных видов производств завода:

         Пусконаладочными работами и дефектацией оборудования;

         Сервисным и техническим обслуживанием оборудования;

         Монтажом и пусконаладочными работами;

         Проектированием, изготовлением оборудования;

         А также проектированием и изготовлением нестандартного оборудования и деталей, как по чертежам заказчика, так и с привлечением своих специалистов.

Нашей целью является расширение и повышение технологических возможностей, точностных характеристик, увеличение производительности оборудования и снижения себестоимости производимых товаров.

3.  Виды производства

3.1    Механообрабатывающее производство <#"809855.files/image002.jpg">

Рисунок 1. Пример механической обработки(сверление)

В рамках механообрабатывающего производства на заводе ведутся следующие виды работ:

- Токарные работы (обработка резанием наружных и внутренних поверхностей вращения, в том числе цилиндрических и конических, торцевание, отрезание, снятие фасок, обработка галтелей, прорезание канавок, нарезание внутренних и наружных резьб на токарных станках).

Обработка деталей вращения диаметром до 2500 мм, длиной до 3000 мм;

А также диаметром до 600 мм, длиной до 8000 мм.

Для проведения токарных работ завод располагает токарно-винторезными станками (универсальными и с числовым программным управлением).

- Расточные работы (обработка заготовок крупных размеров в условиях индивидуального и серийного производства; растачивание, сверление, зенкерование, нарезание внутренней и наружной резьб, обтачивание цилиндрических поверхностей, подрезка торцов, цилиндрическое и торцовое фрезерование).

Фрезерные работы;

Зубообрабатывающие работы (изготовление прямозубых и косозубых шестерен наружного зацепления до 5 степени точности, модулем от 0,5 до 10 мм, наружный диаметр обработки до 630 мм; изготовление прямозубых шестерен внутреннего зацепления модулем от 1,5 до 6 мм, диаметр обработки от 150 до 500 мм);

Шлифовальные работы (обработка деталей с точностью до 6 квалитета, размеры стола 630 х 1220 мм; шлифовка наружных и внутренних поверхностей с точностью до 6 квалитета; диаметр обработки наружной поверхности до 560 мм, длина до 2000 мм; диаметр обработки внутренней поверхности до 400 мм, длина до 1400 мм).

Для проведения расточных работ завод располагает:

-        Горизонтально-расточными станками с размерами поворотного стола до 1250 х 1120 мм, обработкой корпусных деталей массой до 5000 кг;

         Координатно-расточными станками с размером стола до 1120 х 630 с точностью позиционирования 0,01 мм;

         Фрезерными станками с размерами стола до 1600 х 400 мм, точностью обработки до 9 квалитета;

         Круглошлифовальными станками.

3.2    Кузнечно-штамповочное производство

Штамповка - это процесс пластической деформации материала с изменением формы и размеров тела. Чаще всего штамповке подвергаются металлы или пластмассы. Пример цеха кузнечно-штамповочного производства приведен на рисунке 2.

Рисунок 2. Цех кузнечно-штамповочного производства на базе тяжелых и сверхтяжелых агрегатов

В рамках кузнечно-штамповочного производства на заводе ведутся следующие виды работ:

-        Горячая объемная штамповка цветных металлов, сталей весом от 0,05 кг до 25 кг (вид обработки металлов давлением, при которой формообразование поковки из нагретой заготовки осуществляют с помощью специального инструмента - штампа);

         Изготовление поковок различной конфигурации из стали, титана, цветных сплавов массой от 0,5 кг до 200 кг;

         Раскатка колец с уменьшенными припусками с фигурной образующей по наружному и внутреннему диаметрам (наружный диаметр от 220 мм до 800 мм; внутренний диаметр от 110 мм до 700 мм; высота от 20 мм до 140 мм);

         Холодная штамповка деталей из листа: вытяжка, гибка, формовка деталей из листа толщиной от 1 до 8 мм с габаритами от 20 до 600 мм (процесс, где в качестве заготовки используют полученные прокаткой лист, полосу или ленту, свёрнутую в рулон);

Резка и рубка деталей из металла (резка на гильотинных ножницах заготовок их листового материала толщиной от 0,5 мм до 18 мм).

3.3 Литейное производство

Литейное производство занимается изготовлением фасонных деталей и заготовок путём заливки расплавленного металла в форму, полость которой имеет конфигурацию требуемой детали. Цех литейного производстве показан на рисунке 3.

Рисунок 3. Цех литейного производства

В рамках литейного производства на заводе ведутся отливка в землю, кокильное литье, литье под давлением, литье по выплавляемым моделям, художественное литье.

-        Литье в землю сталей, чугунов, цветных сплавов массой до 3 тонн;

         Литье в кокиль медных и алюминиевых сплавов с массой от 50 г до 50 кг (литье в разборную форму (чаще всего металлическую), которая раскрывается после застывания и охлаждения, и из нее извлекается изделие);

         Литье под давлением алюминиевых и цинковых сплавов весом до 5 кг (изготовления отливок из сплавов, при котором сплав приобретает форму отливки, быстро заполняя пресс-форму под высоким давлением);

Литье по выплавляемым моделям сталей, чугунов и цветных сплавов массой от 10 г до 10-15 кг;

Художественное литье из цветных сплавов массой до 3 тонн, сборной сварной конструкции до 12 тонн.

3.4 Слесарно-сварочное производство

В рамках слесарно-сварочного производства на заводе ведутся следующие виды работ:

- Сварка:

Газовая (плавлением с применением смеси кислорода и горючего газа);

Электродуговая (способ сварки, использующий для нагрева и расплавления металла электрическую дугу);

В среде защитных газов;

Контактная (нагрев свариваемых изделий до пластического состояния и их совместное пластическое деформирование);

Точечная (детали зажимаются в электродах сварочной машины или специальных сварочных клещах);

Стыковая (заготовки сваривают по всей плоскости их касания);

Изготовление обечаек: диаметр от 200 до 2000 мм (длина от 100 до 3000 мм, толщина стенки от 1 до 25 мм);

Изготовление объемных и плоских сварных конструкций;

Сварка в полуобитаемой камере «Аргон-2» в среде инертного газа (вес деталей до 100 кг, максимальные габаритные размеры: диаметр до 650 мм, длина до 1200 мм);

Электронно-лучевая сварка на установке УЛ-181 (источником теплоты является электронный луч, получаемый за счёт термоэлектронной эмиссии с катода электронной пушки. Сварка ведётся в высоком вакууме в вакуумных камерах): стальные и титановые детали вращения диаметром от 300 до 500 мм, длиной до 1000 мм, толщиной стенки от 6 до 20 мм.

.5 Гальваническое производство

Гальванизация - это метод покрытия одного металла каким-либо другим путём электролиза. Гальванизируют поверхности в декоративных целях или для укрепления металлической поверхности изделий и защиты их от воздействия внешней среды, например от коррозии. На рисунке 4 показан общий вид цеха гальваники.

Рисунок 4. Общий вид цеха гальваники

На заводе применяются следующие методы нанесения гальванических покрытий:

-        Никелирование (с целью защиты или придания характерного внешнего вида обработанной поверхности. Никелирование защищает изделия от коррозии в атмосфере, растворах щелочей и солей, а также слабых органических кислот);

         Оловянирование, или лужение (производится для защиты металла от коррозии или для подготовки к пайке (лужёная поверхность лучше смачивается припоем));

         Кадмирование;

         Химическое оксидирование (создание оксидной плёнки на поверхности изделия или заготовки в результате окислительно-восстановительной реакции; преимущественно используют для получения защитных и декоративных покрытий, а также для формирования диэлектрических слоёв);

         Цинкование (покрытие металла слоем цинка для защиты от коррозии ); размер деталей: длина до 6000 мм диаметр до 300 мм;

         Хромирование (диффузионное насыщение поверхности стальных изделий хромом, либо процесс осаждения на поверхность детали слоя хрома из электролита под действием электрического тока; осуществляется для декоративных целей, либо для обеспечения защиты от коррозии или для увеличения твердости поверхности); размер деталей: длина до 2500 мм, диаметр до 600 мм;

         Анодирование (электрохимический процесс получения защитного или декоративного покрытия на поверхности различных сплавов); размер деталей: диаметр от 30 до 900 мм, длина до 4000 мм;

         Фосфатирование; размер деталей: диаметр до 800 мм, длина до 2000 мм;

         Меднение; размер деталей длина до 800 мм, диаметр до 400 мм;

         Электрохимполирование нержавеющей стали; длина до 800 мм, диаметр до 400мм.

3.6    Инструментальное производство

В рамках инструментального производства завод занимается изготовлением:

-        Станочных приспособлений (устройств для установки и закрепления заготовки при обработке на металлорежущем станке.);

         Прессформ для изготовления резинотехнических и пластмассовых деталей (устройств для получения изделий различной конфигурации из металлов, пластмасс, резины и других материалов под действием давления, создаваемого на литьевых машинах.);

         Оснастки литейного производства;

         Специального и гостированного режущего и мерительного инструмента.

4. Специальная часть. Определение основных кинематических величин

Эффективная энергия удара в конце хода ползуна вниз.

 =  +=, (1)

принятая  = 280 кгс.м.,

конечная наибольшая скорость ползуна

 =  ·, (2)

следовательно

 =  += (3)

Или

 =  (+ . (4)

Приведенный момент инерции(с учетом поступательного движения ползуна).

 =+  , (5)

 =0,5995 +  = 0,5995 +48,93 0,000415 = 0,6198

где = 480 кг - вес ползуна, гайки, промежуточной плиты и т.п.

Конечная наибольшая угловая скорость маховика (перед ударом)


 =  = = = 30 сек.

Разгон маховика при ходе вниз производится в два этапа.

.        Разгон до угловой скорости  дугостаторным электродвигателем за время .

2.      Разгон до угловой скорости  после отключения электродвигателя за счет действия активного момента  от действия веса ползуна за время .

Разгон маховика электродвигателя до угловой скорости  происходит по закону прямой, согласно выражению:

 = , (7)

где  - средний момент электродвигателя за время пуска.

 - активный постоянный момент от действия веса ползуна, гайки, промежуточной плиты и т.д.

Определяем установленном принятом электродвигателе 9 квт

 = 1,85 Мn, (8)

Учитывая снижение момента двигателя в конце разгона получаем:

 = 0,851,85 Мn = 1,57 Мn (9)

Номинальный момент электродвигателя:

Мn =  , (10)

Мn =  =29,25 кгс.м

 = 1,5729,25 = 45,92 кгс.м

Определяем - активный постоянны момент от действия веса ползуна, гайки промежуточной плиты и т.п.

 = tg(λ -  , (11)

где  - вес ползуна,

λ - угол подъема винтовой линии шпинделя,

 - угол трения угловой пары,

 - 0,08 - коэффициент трения в винтовой паре пресса при ходе ползуна вверх или вниз,

 = arc tg 0,08 = 4°35’,

 - средний диаметр резьбы винта = 127 мм или ,

 - момент трения в упорном подшипнике воспринимающем вес маховика, шпинделя, ползуна с гайкой

 = (, (12)

где

(, (13)

 = 150,7 + 101,9 = 252,6,

 125 мм, радиус дорожки упорного подшипника или  0,125 м,

 - 0,03 - коэффициент трения в упорном подшипнике,

 (480 + 252,6)  = 732,6  0,125  0,03 = 2,75 кгс.м

 = tg(λ - , (14)

где λ = 17°47’ угол подъема винтовой линии резьбы шпинделя

 = arc tg , (15)


 = arc tg 0,08 = 4°35’

 = tg(17°47’ - 4°35’) 0,5   -  , (14)

 = tg 13°12’ 0,5   - 2,75 = 4800,23450,50,127 - 2,75 = 4,397

 = 4,397 кг.м

Разгон маховика электродвигателя до угловой скорости  происходит за время

 = , (16)

 =  =  = 0,0123.

Разгон маховика активным моментом  от угловой скорости  до угловой скорости  также происходит по закону прямой.

 =  +    , (17)

где  =  или  =  = 7,094  - угловое ускорение маховика от действия момент

или

 =  +    , (18)

 - время разгона маховика

 =  или  = , (19)

количество оборотов маховика (в радианах) соответствующее полному ходу ползуна вниз.

 +  =  =  = 11,28 , (20)

где  - ход ползуна = 230 мм

h - ход резьбы шпинделя 128 мм подставив в выше полученное выражение значения   получим

 +  = 11,28 ,

0,061=  = 11,28 ,

0,0865=  + 900 -  = 160,

0,913 = 740,

 =  =  =28,47 ,

 = = 0,0123 · 28,47= 0,35 сек.,

 =  =  = 0,216 сек.,

Время хода ползуна вниз

 =  = 0,35 +0,216 = 0,566 сек, (21)

Число оборотов моховика в минуту

 =  =  =286,62 об/мин., (22)

 =  =272 об/мин.,

Наибольшая скорость ползуна

 =  =  = 0,61 м/сек., (23)

Наибольшая окружная скорость на ободе маховика


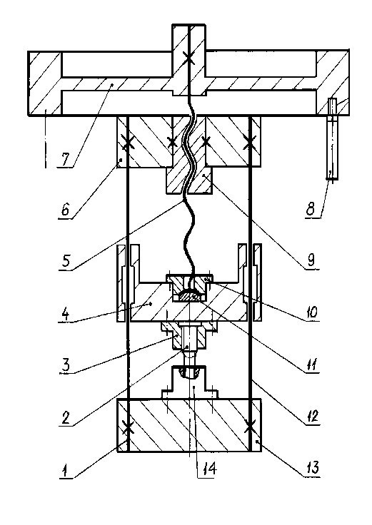
Кинематическая схема винтового пресса показана на рисунке 5.

Рисунок 5. Кинематическая схема винтового пресса

ЗАКЛЮЧЕНИЕ

За время прохождения практики мною была проделана работа в следующих направлениях:

1.      Сбор материала для написания дипломной работы.

2.      Расчет основных кинематических величин.

3.      Ознакомление с АО «Машиностроительный завод им. С.М. Кирова»

.        Анализ собранного материала.

Похожие работы на - Организация технологического процесса на Машиностроительном заводе им. С.М. Кирова

 

Не нашли материал для своей работы?
Поможем написать уникальную работу
Без плагиата!
Без нейросетей!