|
Показатель
|
Норма
для молока
|
|
высшего
сорта
|
первого
сорта
|
второго
сорта
|
несортового
|
|
Кислотность,
°Т
|
16...18
|
16...18
|
16...21
|
Менее
16 или более 21
|
|
Группа
чистоты по эталону, не ниже группы
|
I
|
I
|
II
|
III
|
|
Плотность,
кг/м3, не менее
|
1028
|
1027
|
1027
|
Менее
1027
|
|
Температура
замерзания, °С
|
Не
выше - 0,52
|
Выше
-0,52
|
Примечание. Если измеряют температуру замерзания
молока, то плотность его можно не определять.
Молоко на предприятия закупается согласно ГОСТ
13264-88:
Молоко должно быть цельным, свежим и полученным
от здоровых коров, иметь чистый, сладковатый вкус и запах, свойственный свежему
молоку. Цвет от белого до светло-кремового, без каких-либо цветных пятен и
оттенков. По консистенции это однородная жидкость без сгустков белка и комочков
жира, без осадка, плотностью не ниже 1027 кг/м3. Не подлежит приемке молока в
первые 7 дней после отела и старо дойное молоко за 10-15 дней перед запуском коровы.
Не допускается в молоке резко выраженных кормовых привкусов, а также молоко со
стойким запахом химикатов и нефтепродуктов с добавлением нейтрализующих
веществ, с остаточным содержанием химических средств защиты растений и
животных, а также антибиотиков, с прогорклым, затхлым привкусом, тягучей
консистенции. Молоко подразделяется по сортам.
В качественную оценку молока при приемке на
заводе входит определение степени чистоты по эталону, бактериальной
обсемененности, титруемой кислотности.
Для определения степени чистоты по эталону
применяют приборы разнообразной конструкции. По содержанию механических
примесей молоко в соответствии с эталоном, предусмотренным ГОСТом, разделяют на
три группы: в молоке 1 группы на фильтре отсутствуют частицы механических
примесей, 2 - на фильтре обнаруживаются отдельный частицы3 - на фильтре имеется
заметный осадок частиц механических примесей.
Бактериальную обсемененность молока определяют
по редуктазной пробе и относят молоко к одному из 4 классов. К классу 1 относят
молоко, содержащее менее 0,5 млн. бактерий в 1 мл. Это хорошее в бактериальном
отношении молоко можно использовать в производстве различных молочных
продуктов. К классу 2 относят молоко, содержащее до 4 млн. бактерий в 1 мл. в
молоке класса 3 содержится до 20 млн. бактерий в 1 мл. молоко класса 4 не
принимают заводы молочной промышленности.
Молоко кислотностью не выше 21 0Т, бактериальной
обсемененностью не ниже 3 класса и степенью чистоты не ниже 2 группы, а также
молоко от больных или подозреваемых в заболевании коров, использование в пищу
которого разрешается после термической обработки, принимается как не сортовое.
Молоко кислотностью свыше 21 ºТ
считается некондиционным и приемке не подлежит.
Расчеты за сданное молоко проводятся по базисной
жирности и содержанию белка соответствующим средним нормам для данного сырья.
При приемке проводят также контроль молока на санитарно-биологическое состояние
(раз в декаду), на механическую загрязненность, на бактериологическую
обсемененность.
Также в качестве сырья для производства
пастеризованного молока используют восстановленное и рекомбинированное молоко и
их смеси. При выработке пастеризованного восстановленного молока сухие
компоненты растворяют в воде при температуре 38…42º
С,
фильтруют и охлаждают до 5…8º С.
С целью набухания белков и достижения требуемой плотности восстановленное
молоко выдерживают при температуре охлаждения в течении 3…4 часов.
2. ОПИСАНИЕ СХЕМЫ ТЕХНОЛОГИЧЕСКОГО
ПРОЦЕССА
.1 Технология приемки молока
На перерабатывающих предприятиях молоко принимают
по массе (кг) или объему (м3) в специальных цехах или приемных отделениях. При
приемке молока по объему пересчитывают объемные единицы в массовые в
зависимости от плотности молока. Таблица пересчета приведена в табл.2.1.
Приемные цехи и отделения оснащены необходимым оборудованием (весы, счетчики,
насосы, резервуары и др.), имеют специальные платформы для обслуживания
автомолцистерн, конвейеры и оборудование для мойки автомолцистерн и фляг - для
молока, доставленного во флягах. В приемных отделениях (цехах) целесообразно
иметь дополнительное оборудование, чтобы исключить возможность смешивания
различных по качеству партий молока. В отдельных случаях приемные отделения
оборудуют системами приемки сливок, возврата обезжиренного молока, сыворотки и
др. Часовое поступление молока должно соответствовать часовой
производительности аппаратного цеха. Приемку начинают за 30 мин до начала
работы.
Таблица 2.1 - Пересчет объемных единиц в
массовые для молока при температуре 20ºС
Молоко принимает приемщик или мастер с
обязательным участием лаборанта. При приемке молока в первую очередь
осматривают тару и отмечают ее чистоту, целостность пломб, наличие заглушек на
патрубках автомолцистерн. Тару, загрязненную при транспортировании, обмывают
снаружи водой и только после этого вскрывают. После вскрытия тары определяют
запах молока, температуру, а затем берут пробу для оценки его качества.
Молоко и сливки, получаемые в качестве сырья, в
сыром или пастеризованном виде должны отвечать требованиям действующих
нормативных документов по органолептическим, физико-химическим, биохимическим и
санитарно-гигиеническим показателям. В договорах между поставщиком (хозяйством,
предприятием) и получателем могут быть оговорены необходимые требования и
показатели качества молока и молочных продуктов с учетом его переработки на
данном предприятии.
Порядок сдачи-приемки и перевозки молока и
молочной продукции, требования к таре для транспортирования и продолжительность
приемки продукции на предприятиях молочной отрасли указаны в действующей
Инструкции о порядке проведения государственных закупок (сдачи и приемки)
молока и молочной продукции.
2.2 Технология производства
пастеризованного молока
Технологический процесс производства
пастеризованного молока осуществляется следующим образом. Вначале оценивается
качество молока и проводится его приемка, в процессе которой молоко
перекачивается центробежными насосами из автомолцистерн в емкости для
хранения.- Одновременно устанавливается масса принимаемого молока взвешиванием
его на весах, в емкостях с тензометрическим устройством или регистрируется
объем молока с помощью счетчиков для молока. Измерение массы молока можно также
осуществить путем использования тарированных автомолцистерн или емкостей.
Рисунок 2.1
После взвешивания молока или регистрации его
объема оно охлаждается до 4-6 °С на пластинчатых охладителях. Молоко с
температурой не выше 10 °С допускается принимать без охлаждения. Охлажденное
молоко хранится в емкостях и нормализуется путем смешения с рассчитанным
количеством обезжиренного молока или сливок.
Если пастеризованное молоко вырабатывают из
сухого цельного или сухого обезжиренного молока и сливок, то сырье
подготавливают следующим образом. Сначала устанавливают качество сухого
продукта и его состав. Продукт, удовлетворяющий требованиям действующего
стандарта, растворяется в водопроводной воде, подогретой до 45-50 °С.
Полученная смесь охлаждается до 5-8°С и для лучшего растворения белков хранится
в течение 3-4 ч. По окончании хранения к восстановленному молоку добавляется
недостающее количество воды. I
Принятое цельное молоко и полученное
восстановленное после хранения подвергаюся подогреву до 40-45 °С и очистке на
сепараторах-молокоочистителях. Предварительная очистка восстановленного молока
допускается также на фильтрах.
При наличии на производстве
сепараторов-нормализаторов молоко нормализуется путем отделения сливок. В этом
случае нормализацию молока при хранении не проводят. Одновременно с
нормализацией происходит очистка молока от механических загрязнений.
После этого молоко подогревается до 62-63°С и
при производстве топленого, восстановленного молока, а также молока с
повышенной массовой долей жира (3,5; 6 %) гомогенизируется при давлении 10-15
МПа.
Нормализованное и гомогенизированное молоко
пастеризуется при 76 С с выдержкой 15-20 с. Затем молоко охлаждается до 4-6°С и
поступает на хранение в течение не более 6 ч. Перед розливом восстановленное
молоко обычно смешивается с цельным молоком.
Охлажденное молоко после хранения разливается в
бутылки, пакеты, фляги или цистерны.
Пастеризованное молоко хранится после розлива
при температуре 0-8°С не более 36 ч, в том числе на предприятии-изготовителе -
не более 18 ч.
Производство пастеризованного молока осуществляется
на технологической линии (рис. 2.1). Молоко центробежным насосом перекачивается
в емкости для хранения, которые оснащены надежной термоизоляцией. Сырое молоко
хранится в емкостях различной вместимости. Горизонтальные и вертикальные
емкости вместимостью 2000-30 000 л размещают внутри здания, а крупные емкости
на 50 000 и 100 000 л устанавливают вне здания, поскольку их высота обычно
превышает высоту одноэтажного помещения.
Рисунок 2.2 - Схема технологической линии
производства пастеризованного молока: 1 - насосы для молока; 2 - счетчик для
молока; 3 - емкости для молока; 4 - пластинчатая охладительная установка; 5 -
уравнительный бачок; 6 - пластинчатая пастеризационное охладительная установка
для молока; 7 - сепаратор; 8 - гомогенизатор; 9 - трубчатая пастеризационная
установка; 10 - емкость
На комбинате вырабатывают следующий вид
продукции
Молоко пастеризованное 3,2% и 2,5 %
Сметана 10% 15%, 20%
Творог 9%
Кефир 1%, 2.5%, 3,2%
Молоко пастеризованное должно иметь вкус и
запах, свойственные свежему молоку, без посторонних привкусов и запахов,
представлять собой однородную жидкость без осадка, иметь белый цвет со слегка
желтоватым оттенком. Массовая доля сухого обезжиренного молочного остатка
(СОМО) молока жирностью 2,5; 3,2 и 3,5 % должна быть не менее 8,1 %.
Кислотность пастеризованного молока с массовой долей жира 2,5; 3,2 и нежирного,
а также топленого должна быть не более 21 ºТ,
молока с массовой долей Пастеризованное молоко должно иметь степень чистоты не
ниже 1 группы и температуру не более 8 ºС.
Кефир вырабатывают из пастеризованного молока.
Закваска приготовляется на кефирных грибках. Это продукт смешанного брожения
молочнокислого и спиртового.
Кефир имеет кисломолочный освежающий, слегка
острый вкус. Консистенция однородная сметанообразная, cгycток не нарушенный при
термостатном способе производства и нарушенный при резервуарном. сгусток может
быть пронизан пузырьками углекислого газа, что вызывается спиртовым брожением.вopoг
белковый кисломолочный продукт, который вырабатывают из пастеризованного
нормализованного или обезжиреннoгo молока, а также пахты путем сквашивания его
закваской с последующим удалением из полученного сгустка части сыворотки.
Творог имеет чистые, нежные кисломолочные вкус и
запах.
Консистенция творога в зависимости от способа
производства может быть слоистой или представлять собой однородную гомогенную
массу.
Сметану получают из нормализованных
пастеризованных сливок путем сквашивания их закваской, приготовленной на чистых
культурах молочнокислых бактерий, и созревания при низких температурах.
4. ГРАФИК РАБОТЫ МАШИН И АППАРАТОВ И
ОБОСНОВАНИЕ ВЫБРАННОГО ОБОРУДОВАНИЯ
.1 Подбор оборудования в приемный
цех
Поскольку, мощность молочного предприятия составляет
80 000 кг в смену, то согласно норм технологического проектирования, при данной
мощности завода предусматривается приемка молока в 2 смены, не менее трех часов
в каждую смену.
Часовая производительность оборудования
определяется по формуле:
кг/ч
где ММ - масса молока в смену, кг-
время приемки молока, ч
Для приемки заданного количества
молока выберем станцию учета и приемки молока П8-ОПМ-25 000 производительностью
25000 л/час с фильтрацией
Поскольку производительность
выбранного устройства несколько ниже чем рассчитанная выше часовая
производительность оборудования, то уточним время приемки молока
ч
Подбираем насосы самовсасывающие
такой же производительности. Выберем центробежный самовсасывающий электронасос
50-3Ц7,1-20, производительностью 25000 л/ч.
Пластинчатая охладительная установка
ООЛ-25 (производительностью 25000 л/ч)
Для промежуточного хранения молока
необходимо предусмотреть резервуары вместимостью 100% от суточного поступления.
Таким образом предусмотрим 4 емкости: 3 емкости типа Г6-ОМГ-25 (вместимостью
25000 л) и 1 емкость В2-ОМВ-6.3 (вместимостью 6300 л).
Таблица 4.1 - Технологическое
оборудование
|
Наименование
оборудования
|
Тип,
марка
|
производительность
|
Габариты,
мм.
|
Занимаемая
площадь
|
Количество
оборудования
|
Общая
площадь м2
|
|
|
|
длина
|
ширина
|
высота
|
|
|
|
|
Оборудование
для производства пастеризованного молока
|
|
Насос
центробежный самовсасывающий
|
50-3Ц7,1-20
|
25000
л\ч
|
825
|
365
|
690
|
0,3
|
1
|
0,3
|
|
Станция
учета и приемки молока
|
П8-ОПМ-25
000
|
25000
л\ч
|
1600
|
1500
|
1500
|
2,4
|
1
|
2,4
|
|
Пластинчатая
охладительная установка
|
ООЛ-25
|
25000
л\ч
|
1900
|
700
|
1450
|
1,33
|
1
|
1,61
|
|
Резервуар
для хранения молока
|
Г6-ОМГ-25
|
25000
л
|
6200
|
2820
|
3660
|
17,5
|
3
|
|
Резервуар
для хранения молока
|
В2-ОМВ-6.3
|
6300
л
|
2324
|
2280
|
2855
|
5,3
|
1
|
5,3
|
Площадь занимаемая оборудованием - f = 62,41 м2
Определим площадь цеха
=fn=62.41*5=312.05 м2
где n - коэффициент запаса.
4.2 Построение графика работы
оборудования приемного цеха
График работы машин и аппаратов строят следующим
образом:
на горизонтальной прямой откладывают время
работы, а на вертикальной - проставляют наименования машин и аппаратов,
вводимых в технологический процесс. Запись наименования машин и аппаратов
следует вести снизу вверх.
При построении графика работы машин и аппаратов
учитывается норма производительности оборудования. Практически во всех случаях
продолжительность работы любого оборудования в смену можно принимать равной 6
ч, за исключением оборудования, которое останавливается в течение смены для мойки
(например, сепаратор) или должно работать непрерывно более смены (например,
вакуум-выпарные установки).
По графику устанавливают продолжительность и
очередность работы машин, проверяют правильность их подбора и расчета; он
служит основанием для определения расхода электроэнергии, пара, воды, холода на
технологические нужды.
В строке работы машин с помощью условных
обозначений указывают технологическое время, время наполнения, опорожнения и
мойки в соответствии с производительностью предыдущей и последующей машин.
Рисунок 4.1
5. СПЕЦИФИКАЦИЯ ТЕХНОЛОГИЧЕСКОГО
ОБОРУДОВАНИЯ
|
№
|
Наименование
|
Кол-во
|
Марка,
модель, тип
|
Примечание
|
|
1
|
Насос
центробежный самовсасывающий
|
1
|
50-3Ц7,1-20
|
Перекачивание
молока
|
|
2
|
Станция
учета и приемки молока
|
1
|
П8-ОПМ-25
000
|
Учет
количества и фильтрация
|
|
3
|
Пластинчатая
охладительная установка
|
1
|
ООЛ-25
|
Охлаждение
|
|
4
|
Резервуар
для хранения молока
|
3
|
Г6-ОМГ-25
|
Хранение
молока
|
|
5
|
Резервуар
для хранения молока
|
1
|
В2-ОМВ-6.3
|
Хранение
молока
|
6. ОПИСАНИЕ УСТРОЙСТВА, МОНТАЖА И
ЭКСПЛУАТАЦИИ ДВУХ ВИДОВ МОНТИРУЕМОГО ОБОРУДОВАНИЯ
.1 Устройство и монтаж резервуара
Г6-ОМГ-25
Емкость для хранения молока Г6-ОМГ-25
представляет собой термоизолированный сосуд, в который заливают охлажденное
молоко, накапливают его и хранят без образования отстоя жира. Она (рис. 6.1)
представляет собой алюминиевый корпус, защищенный стальным кожухом,
пространство между которыми заполнено изоляционным пенопластом. Сосуд
устанавливают на регулируемые по высоте опоры. Наполнение и опорожнение
резервуара осуществляются через сливной патрубок, к которому подсоединяется
через переходник молочный трехходовой кран с условным проходом 50 мм. Выход из
емкости при наполнении ее молоком, а также для подвода воздуха при сливе молока
осуществляется через фильтр.
Перемешивается молоко с помощью насоса, который
забирает молоко и нагнетает его в насадку. Молоко, выбрасываемое из насадки,
пронизывает всю массу, захватывая все слои, чем обеспечивается равномерное
перемешивание. Для отсоединения насоса предусмотрены краны. Насос включается
автоматически.
Осмотр внутренней поверхности емкости и
наблюдение за процессом перемешивания молока осуществляются при помощи
лестницы, смотрового окна и светильника.
Для дистанционного автоматического контроля
уровня молока в емкости установлены сигнализатор контроля уровня, датчики
которого расположены на емкости, а сигнализирующие элементы - в электрошкафу;
электронный индикатор уровня, стержневой датчик которого находится в верхней части
емкости, а показывающий прибор - в электрошкафу.
Температура молока контролируется термометром с
дистанционной передачей показаний, установленным на переднем днище емкости, и
показывающим прибором термометра, находящимся в электрошкафу.
Санитарная обработка внутренней поверхности
емкости производится с помощью моечных головок.
Рисунок 6.1 - Емкость для хранения молока
Г6-ОМГ-25: 1 - опора; 2- трубопровод; 3 - болт заземления; 4 - переходник; 5,
24 - трехходовые краны; 6 - крышка люка; 7- электрооборудование; 8 - лестница;
9 - наружный корпус; 10 - датчик к электронному индикатору уровня; 11 -
алюминиевая емкость; 12 - датчик верхнего предельного уровня, 13 - ушко; 14 -
моечная головка; 15 - трубопровод; 16 - кожух; 17 - электрошкаф; 18 - смотровое
окно; 19 - фильтр; 20 - светильник; 21 - датчик термометра; 22 - узел
блокировки крышки люка; 23 - насадка; 25 - центробежный насос; 26 - проходной
кран; 27 - сливной патрубок; 28 - датчик нижнего предельного уровня
Для доступа внутрь емкости имеется люк с
крышкой, которая с помощью рычага прикреплена к кронштейну, приваренному к
обшивке емкости. Чтобы открыть крышку, ослабляют зажим, выводят упор из
зацепления с ободом люка, после чего поворачивают его на 90º.
За
счет смещения центра тяжести крышка поворачивается вокруг своей оси в
горизонтальном положении, располагаясь узкой частью вдоль большой оси люка,
после чего за упор и винт заводится внутрь резервуара. Закрывается люк в
обратном порядке. Герметичность соединения крышки с корпусом достигается с
помощью прокладки.
Крышка люка сблокирована с электродвигателем
насоса для подачи молока и моющих средств. Блокировка обеспечивает
автоматическое отключение электродвигателя с одновременной подачей светового и
звукового сигналов при открытой крышке люка.
При монтаже оборудования больших габаритов
следует заранее предусмотреть пути транспортировки его к отметке монтажа,
достаточную площадь и высоту для размещения, правильную ориентировку машины в
цехе по отношению к смежным участкам и оборудованию. Машины или аппараты к
отметке монтажа доставляют по возможности в разобранном виде, если это
предусмотрено инструкцией завода-изготовителя.
Оборудование с большой массой следует
монтировать на надежном основании, которое рассчитывают на массу машины в
рабочем состоянии, например, резервуар, заполненный молоком. При необходимости
производят статический расчет фундамента или определяют удельную нагрузку на
основание. Несущую способность междуэтажного перекрытия устанавливают
специалисты проектных организаций.
Завод-изготовитель поставляет горизонтальные
резервуары без упаковки, закрепленными на деревянных салазках, которые крепят к
ножкам резервуара хомутами. При погрузке и разгрузке резервуар стропят за
проушины или за грузовые винты.
Затем согласно монтажным схемам монтируют
электрооборудование, устанавливают электрошкаф. Корпус электрошкафа и корпус
резервуара заземляют. Резервуар подключают к линиям заполнения и слива молока
(рис. 14.1, в) и к трубопроводу от установки для централизованной мойки
резервуаров и трубопроводов. Насос для перемешивания молока и светильник,
напряжение которого должно быть 12 В, подключают к электросети.
Если монтируется несколько резервуаров,
соединенных общим трубопроводом для молока, то оси сливных патрубков должны
быть параллельными между собой, находиться в одной горизонтальной плоскости и
перпендикулярно к оси трубопровода. Выверку производят по струне, которую
прикладывают к торцам патрубков резервуаров или их сливных кранов. Должна быть
предусмотрена возможность слива воды в канализацию при мойке резервуаров и
трубопроводов для молока.
Рисунок 6.2 - Схема подключения к резервуару
трубопроводов для молока
Горизонтальные резервуары, можно устанавливать
на полу (рис. 6.3, а) или эстакаде (антресоли) как в здании, так и вне его
(рис. 6.3, б). В последнем случае для удобства обслуживания резервуара переднее
днище его должно находиться в производственном помещении, а остальную его часть
размещают непосредственно на эстакаде 5 или на плите усиления 7. Плиту усиления
делают из швеллеров 1, уложенных под ножки резервуара, поперек его оси. К
швеллерам приваривают стальные опорные пластины 6 под каждую ножку, после чего
швеллеры заливают бетоном.
В обоих случаях резервуар устанавливают с
уклоном 1-1,5° в сторону сливного патрубка с перепадом высотных отметок между
передними и задними ножками 100-150 мм. Положение резервуара изменяют, вращая
регулируемые по высоте ножки. Для этого в них предусмотрено специальное
отверстие 9, в которое вставляют штырь 10. Все восемь ножек резервуара должны
равномерно опираться на основание.
а б
Рисунок 6.3 - Способы монтажа резервуаров: а -
горизонтальных, установленных в помещении на двух продольных швеллерах; б -
горизонтальных, установленных вне помещения, на плите усиления: 1 - швеллер; 2
-стена производственного помещения; 3 - кожух; 4 - трубопровод для подвода
моющего раствора; 5 - эстакада вне здания; 6 - стальные опорные пластины,
приваренные к швеллерам; 7 - плита усиления; 8 -теплоизоляция; 9 - отверстие в
ножке для штыря; 10 - штырь
После установки резервуара собирают трубопровод
4 моющего устройства и подсоединяют его к системе безразборной мойки.
Трубопровод изолируют любым изоляционным материалом (пенопластом, шлаковатой и
др.) и закрывают кожухом 3 после того, как убедятся в герметичности его
соединений. Из отверстий и резьбовых патрубков удаляют защитные заглушки,
расконсервируют детали и крепят сливной кран. Подвешивают светильник, в
патрубки ввинчивают датчики нижнего и верхнего предельных уровней.
Устанавливают датчик дистанционного термометра.
На стене или стойке крепят электрошкаф. Кабель
показывающего прибора электронного индикатора уровня подсоединяют к датчику,
подключают датчики предельных уровней, подводят питание к электрошкафу, насосу
и светильнику, после чего резервуар заземляют.
6.2 Устройство и монтаж насоса
50-3Ц7,1-20
По конструкции насос центробежный,
одноступенчатый, консольно-моноблочный, с закрытыми лопастями рабочего колеса,
самовсасывающий. Его устанавливают бесфундаментно на трех ножках. Основные узлы
насоса (рис. 6.4, а): электродвигатель, корпус насоса, опора, рабочее колесо,
воздухоотделитель. На периферии корпуса насоса приварен вертикально
расположенный выходной патрубок. К корпусу зажимным кольцом через
уплотнительное резиновое кольцо прижимается крышка. Пространство между корпусом
и крышкой образует рабочую камеру насоса. Крышка имеет в центре резьбовой
штуцер, к которому с помощью накидной гайки крепится в вертикальном положении
всасывающая труба, кольцо служит для уплотнения зазора в соединении. Внутри корпуса
установлено рабочее колесо, закрепленное гайкой на наконечнике, напрессованном
на вал электродвигателя. Торцевое уплотнение из сальника, втулки и звездочки
создаст герметичность в месте прохода наконечника в камеру насоса.
В выходном патрубке корпуса насоса между двумя
уплотнительными кольцами установлено сопло, охватывающее своей нижней частью
рабочее колесо. Воздухоотделитель в верхней части выходного патрубка корпуса
насоса закреплен на корпусе болтами с гайками. В центре воздухоотделителя
имеется штуцер нагнетательного патрубка, к которому с помощью накидной гайки
присоединен нагнетательный трубопровод. Задний торец воздухоотделителя закрыт
крышкой. Уплотнение рабочей камеры воздухоотделителя осуществляется резиновыми
и зажимными кольцами. Для защиты электродвигателя от попадания воды установлен
облицовочный кожух. Насос приобретает самовсасывающую способность в результате
применения воздухоотделителя, сопла, лопаток рабочего колеса и изогнутой вверх
всасывающей трубы.

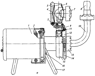
Рисунок 6.4 - Центробежный самовсасывающий
электронасос 50-3Ц7.1-20 (Г2-ОПД): а - общий вид: 1 - облицовочный кожух; 2 -
электродвигатель; 3 - уплотнительное кольцо; 4 - задняя крышка; 5 - зажимное
кольцо; 6 - воздухоотделитель; 7 -трубный наконечник; 8 - штуцер рукава; 9 -
болт; 10 - всасывающая труба; 11 - уплотнительное кольцо; 12 - крышка; 13 -
накидная гайка; 14 - зажимное кольцо; 15 - корпус; 16 - болт; 17 - опора; б-
схема монтажа: 7 - накидная гайка; 2-воронка; 3 - регулирующий кран; 4 -
нагнетательный трубопровод; 5 - штуцер; 6 - резиновый рукав; 7 - всасывающий
трубопровод; 8 - всасывающая труба; 9 - всасывающее сопло
Насос, подключенный к всасывающему и
нагнетательному трубопроводам, заполняют продуктом до верхнего уровня
всасывающего штуцера рукава. Рабочее колесо, вращаясь, образует в рабочей
камере воздушно-жидкостную смесь и выталкивает ее через сопло в
воздухоотделитель, где жидкость, освободившись от воздуха, возвращается обратно
в рабочую камеру для образования воздушно-жидкостной смеси. Этот процесс
продолжается до тех пор, пока не будет создано необходимое разрежение для
подъема жидкости через всасывающий трубопровод и заполнения рабочей камеры.
После заполнения рабочей камеры жидкостью насос работает как центробежный. При
необходимости повторного отсоса воздуха из всасываемого трубопровода процесс
возобновляется благодаря наличию оставшейся жидкости в рабочей камере.
Перед пуском насоса необходимо снять зажимное
кольцо и крышку, кратковременно (на 5-10 с) включить электродвигатель и
проверить направление вращения рабочего колеса. Рабочее колесо должно вращаться
против часовой стрелки, если смотреть со стороны крышки; если направление
вращения обратное, нужно поменять на пусковом устройстве две фазы. После этого
установить крышку и закрепить ее кольцом. Направление вращения колеса указано
на крышке насоса стрелкой. Затем надо вернуть на место крышку насоса, закрепить
ее кольцом, установить всасывающую трубу, ориентируя ее вертикально вверх, и
закрепить накидной гайкой.
Насос подсоединяют к трубопроводам по
приведенной схеме (рис. 6.4, б), к всасывающей трубе - всасывающий
трубопровод-Отклонение вертикального участка трубопровода от вертикали
допускается до 30е. К концу горизонтального участка трубопровода подсоединяют
штуцер рукава, резиновый рукав и всасывающее сопло, которыми укомплектован
насос. Затем приступают к монтажу нагнетательного трубопровода, приварив к нему
штуцер. На вертикальном участке трубопровода устанавливают воронку и
регулирующий кран.
Рекомендуемая высота горизонтальных участков
всасывающего и нагнетательного трубопроводов под уровнем основания не менее
1200 мм. Высота подъема жидкости не должна превышать 6 м. Трубопроводы,
особенно всасывающий, желательно делать как можно короче. К собранному насосу
подключить трубопроводы и провести безразборную мойку, перекачивая через насос
горячий моющий раствор, а затем горячую воду. После этого можно приступить к
эксплуатации насоса.
7. РАСЧЕТ ДИАМЕТРОВ МОЛОКОПРОВОДОВ
Молокопроводы должны быстро разбираться и
собираться, быть доступными для мойки и чистки. Их изготавливают обычно из
нержавеющей стали, меди и алюминия. При этом медные трубы покрывают слоем
пищевого олова. Также на современных заводах широкое распространение получили
стеклянные и полимерные трубы. При расчете молокопровода необходимо учитывать
тот факт, что при перемещении продукта должна сохранятся неизменность качества
продукта. Это достигается правильным выбором режима движения и
соответствующими, заданными технологически скоростями движения различных
молочных продуктов. С учетом количества перемещаемого продукта рассчитывают
требуемый диаметр трубопровода. В цехе приемки перемещаем лишь молоко. Его
скорость движения V по трубопроводу должна составлять 0,5-1,5 м/с.
Диаметр молокопровода определим по формуле
где М - расход продукта м3/ч.
Диаметр молокопровода для
производительности 25000 л/ч = 25 м3/ч составит
м Примем 0,1 м = 100 мм
Уточним скорость молока в
молокопроводе
м/с - скорость допустима
СПИСОК ИСПОЛЬЗОВАННОЙ ЛИТЕРАТУРЫ
1.
Бредихин С.А., Космодемьянский Ю.В., Юрии В.Н. Технология и техника переработки
молока.- М.: Колос, 2003. - 400 с.
.
Илюхин В.В., Тамбовцев И.М., Бурлев М.Я. Монтаж, наладка, диагностика, ремонт и
сервис оборудования предприятий молочной промышленности. - СПб.: ГИОРД, 2006.
-500 с.
.
Крусь Г.Н., Тиняков В.Г., Фофанов Ю.Ф. Технология молока и оборудование
предприятий молочной промышленности. - М.: Агропромиздат, 1986. - 280 с.
.
Проектирование предприятий молочной отрасли с основами промстроительства: Учеб.
пос. / Л.В. Голубева, Л.Э. Глаголева, В.М. Степанов, Н. А. Тихомирова. - СПб.:
ГИОРД, 2006. -288 с.
.
Ростроса Н. К., Мордвинцева П. В. Курсовое и дипломное проектирование
предприятий молочной промышленности. - М.: Агропромиздат, 1989. - 303 с.
.
Сурков В.Д. Технологическое оборудование предприятий молочной промышленности /
Сурков В.Д., Липатов Н.Н., Золотин Ю.П. - М.: Легкая и пищевая промышленность,
1983. - 432 с.