Монтаж храпового механизма

  • Вид работы:
    Дипломная (ВКР)
  • Предмет:
    Другое
  • Язык:
    Русский
    ,
    Формат файла:
    MS Word
    482,39 Кб
  • Опубликовано:
    2014-08-01
Вы можете узнать стоимость помощи в написании студенческой работы.
Помощь в написании работы, которую точно примут!

Монтаж храпового механизма

Реферат

Дипломный проект представлен пояснительной запиской, содержащей: 86 страниц, 3 рисунка, 12 таблиц, 14 источников.

В дипломном проекте решается задача улучшение условий труда машиниста конвейера, путем совершенствования храпового механизма.

Целью дипломного проекта является совершенствование храпового механизма останова.

При выборе остановочного механизма был проведен сравнительный анализ.

Основными задачами были:

Ø  проектный расчет храпового механизма;

Ø  изготовление и монтаж храпового механизма.

В дипломном проекте выполнены конструкционные и технологические расчеты элементов.

Пояснительная записка дипломного проекта состоит из пяти разделов:

Ø  Обоснование проекта;

Ø  Расчетно-конструкторский;

Ø  Эксплуатационно-технологический;

Ø  Безопасность и экологичность;

Ø  Экономическая часть.

Графическая часть проекта представлена на 8 листах формата А1.

конвейер сборка монтаж аттестация

Содержание

Введение

. Обоснование проекта

.1 Обоснование проекта

.2 Инструкция по рабочему месту машиниста конвейера

. Расчетно-конструкторский

.1 Выбор и обоснование конструкции

.2 Проведение конструкционных и технологических расчетов элементов

. Эксплуатационно-технологический

.1 Технологическая схема сборки, монтажа и испытание

.2 Обоснование выбора оборудования, инструмента и приспособлений для сборки, монтажа и испытания

.3 Описание состава работ, выполняемых в процессе эксплуатации ленточного конвейера

.4 Порядок и методика проведения испытаний, технических освидетельствований и периодических проверок

.5 Порядок и методика проведения аттестации рабочего места

.6 Порядок и схема сертификации работ по требованиям охраны труда на предприятии

. Безопасность и экологичность

.1 Оценка условий труда при работе на ленточных конвейерах

.2 Организация работы по обеспечению и созданию безопасных условий труда на ленточном конвейере

.3 Экологичность

5. Экономическая часть

.1 Технико-экономическое обоснование целесообразности внедрения

Заключение

Список используемой литературы

Введение

ОАО "Уралкалий" - это мощный промышленный комплекс, в состав которого входят 3 основные производственные подразделения.

В состав каждого рудоуправления входят шахты, рудообогатительные фабрики (пособа), цеха по производству калийных удобрений и солей, склады и виспользующие химический и флотационный способ обогащения руды или оба сспомогательные подразделения, которые обеспечивают энергоснабжение, подготовку воды и пара, проведение погрузо-разгрузочных и транспортно-экспедиционных работ и др.

Основные приоритеты ОАО "Уралкалий": увеличение объемов производства, в первую очередь, по хлористому калию; поддержание и улучшение качества выпускаемой продукции; повышение эффективности и снижение издержек производства; дальнейшая модернизация предприятия и поддержание его мощностей.

         Главная цель ОАО "Уралкалий" - удовлетворение потребностей, ожиданий потребителей и обеспечение на этой основе стабильного экономического положения предприятия.

Основным транспортным оборудованием на складах и в цехах предприятия являются ленточные конвейера.

Опасными и вредными производственными факторами при эксплуатации ленточных конвейеров являются:

Ø  движущаяся лента и перемещаемые грузы, особенно при размещении конвейеров в тоннелях, галереях и других стесненных условиях;

Ø  вращающиеся элементы приводных, натяжных, загрузочных, разгрузочных узлов конвейеров и др.;

Ø  поражения электрическим током;

Ø  повышенная запыленность воздуха рабочей зоны и производственных помещений;

Ø  недостаточная освещенность.

Знание этих опасных и вредных производственных факторов способствует успешному усовершенствованию системы защиты ленточных конвейеров, направленных на сохранение здоровья рабочих, задействованных в процессах транспортирования.

В дипломном проекте рассмотрим ленточный конвейер КЛС-1400 предназначенный для транспортировки различных материалов (руды-сильвинита; галитовых отходов, готового продукта - хлористого калия) в технологических схемах и операциях.

Характеристика конвейера:

Ø  производительность - 1 200 т/ч;

Ø  длина - 190,6 м;

Ø  ширина - 1400 мм;

Ø  мощность двигателя - 250 кВт;

Ø  число оборотов двигателя - 1 500об/мин.

1. Обоснование проекта

1.1 Обоснование проекта

На предприятии ОАО "Уралкалий" для перемещения насыпных грузов широко используются ленточные конвейера. Они отличаются производительностью, длиной, составом и конструкцией привода, натяжных устройств, размерами и др.

Применение ленточных конвейеров рационально, т.к. они имеют высокие эксплуатационные качества, большой диапозон производительности независимо от длинны транспортирования, простую конструкцию и относительно небольшую массу. Груз, перемещаемый по ленточным конвейерам не измельчается.

Принцип действия ленточных конвейеров одинаков и заключается в том, что лента, с лежащим на ней грузом, перемещаясь по стационарным роликоопорам, одновременно является грузонесущим и тяговым органном. Относительно ленты груз неподвижен, но при проходе по верхним роликоопорам встряхивается.

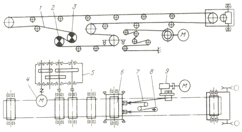
Принцип действия ленточного конвейера заключается в следующем: лента (рис1.1 поз.1) первый приводной барабан (рис1.1 поз.3) огибает рабочей

Стороной, а второй барабан (рис1.1 поз.2) огибает нерабочей стороной. Приводные барабаны кинематически жестко связаны с редуктором (рис1.1 поз.5) и приводится во вращение электродвигателем (рис1.1 поз.4). Натяжная станция - полуавтоматическая; состоит из натяжного барабана (рис1.1 поз.6), размещенного на тележке, и электролебедки (рис1. поз.9). Барабан (рис1.1 поз.6) и лебедка (рис1.1 поз.9) соединены канатным полиспастом (рис1. поз.7). Контроль натяжения осуществляется гидродатчиком (рис1.1 поз.8).

При эксплуатации ленточных конвейеров на ОАО "Уралкалий" была выявлена следующая закономерная ситуация.

Во время аварийных отключений (отключение электричества) происходила частая поломка храпового механизма.

Рисунок 1.1- Схема ленточного конвейера

- лента конвейера; 2, 3 - натяжные барабаны; 4 - электродвигатель; 5- редуктор; 6 - натяжной барабан; 7 - полиспаст; 8 - гидродатчк; 9 - тележка с электроприводом.

Храповый механизм смонтирован в торце ведущего барабана со стороны противоположной приводу. В результате поломки храпового механизма:

Ø  образовывалась заштыбовка перегрузочного пункта, которую, вручную, убирал машинист конвейера;

Ø  слесаря-ремонтники проводили замену храпового механизма

Поэтому целью данного дипломного проекта является:

Ø  усовершенствовать конструкцию храпового механизма для защиты ленточных конвейеров от образования заштыбовки и аварийных ремонтов;

Ø  улучшение условий труда.

Основные задачи дипломного проекта:

Ø  выполнить проектный расчет храпового механизма;

Ø  разработать рабочие чертежи храпового механизма;

Ø  рассчитать экономический эффект от усовершенствования храпового механизма.

.2 Инструкция по рабочему месту и охране труда для машиниста конвейера

К самостоятельной работе в качестве машиниста конвейера допускаются лица, не моложе 18 лет, имеющие удостоверение машиниста конвейера, прошедшие медицинский осмотр, вводный и первичный инструктажи по охране труда, стажировку на рабочем месте и прошедшие проверку знаний на допуск к самостоятельной работе с оформлением распоряжения.

Повторный инструктаж машиниста конвейера проводиться один раз в 6 месяцев. Периодическая проверка знаний по профессии и инструкциям по охране труда проводится 1 раз в 12 месяцев.

Требования к объёму знаний машиниста конвейера.

Для выполнения своих обязанностей машиниста конвейера должен знать:

Ø  политику ОАО "Уралкалий" в области качества, охраны окружающей среды, здоровья и безопасности труда;

Ø  требования технологического регламента к транспортируемым продуктам;

Ø  порядок действий по устранению несоответствий по качеству продукции;

Ø  характеристики транспортируемых продуктов;

Ø  характеристика, устройство и принцип действия обслуживаемого оборудования;

Ø  требования инструкций, указанных в "Перечне профессий, с указанием номеров инструкций, необходимых для инструктирования";

Ø  способы оказание первой доврачебной помощи пострадавшим от действия электрического тока, а также при получении любой травмы или отравления на производстве;

Ø  Правила внутреннего трудового распорядка, установленные в ОАО "Уралкалий".

Таблица 1 - Нормы выдачи спецодежды, спецобуви, СИЗ

№ п/п

Наименование средств

Норма выдачи

Срок (месяц)

1

Костюм х/б для защиты от общих производственных загрязнений и механических воздействий или Костюм из смешанных тканей для защиты от общих производственных загрязнений и механических воздействий

1  1

12  12

2

Ботинки кожаные с жестким подноском или

1 пара

12


Сапоги кожаные с жестким подноском или

1 пара

12


Сапоги резиновые жестким подноском

2 пары

12

3

Перчатки с полимерным покрытием

12 пар

12

4

Каска защитная

1

36

5

Подшлемник под каску

1

12

6

Очки защитные

До износа


7

Наушники противошумные (с креплением на каску) или Вкладыши противошумные

До износа До износа


8

Респиратор

До износа


9

На наружных работах зимой дополнительно:




Костюм из смешанной ткани на утепляющей прокладке

 1

 24


Белье нательное утепленное Валенки с резиновым низом или Сапоги войлочные с галошами или Ботинки кожаные утепленные с жестким подноском. Подшлемник утепленный (с однослойным или трехслойным утеплителем) Перчатки с защитным покрытием, морозостойкие с шерстяными вкладышами.

2 1 1 1 1  1

 12 24 12 24 12  12

10

Дополнительно:




Костюм для защиты от воды из синтетической ткани с пленочным покрытием

до износа



Время начала и окончания работы, время перерывов в работе, продолжительность ежедневной работы, число смен в сутки, чередование рабочих и нерабочих дней устанавливается графиком выходов.

Продолжительность ежегодного оплачиваемого отпуска устанавливается в соответствии с Коллективным договором ОАО "Уралкалий".

Нормы выдачи спецодежды, спецобуви и других СИЗ для машиниста конвейера установлены в соответствии с Перечнем спецодежды, спецобуви и СИЗ, подлежащих выдаче работникам ОАО "Уралкалий"

Машинист конвейера при поступлении на работу должен получить противопожарный инструктаж, в дальнейшем выполнять требования пожарной безопасности в соответствии с инструкцией №47 по пожарной безопасности для отделения обогащения СОФ. Знать места расположения средств пожаротушения, уметь ими пользоваться, выполнять правила поведения при пожаре.

Рабочей зоной машиниста конвейера является участок измельчения и обезвоживания, где установлены ленточные конвейера.

Рабочее место машиниста конвейера предназначено:

Ø  для подачи руды (сильвинита) из перегрузочного узла № 1 (размольного отделения) в отделение обогащения;

Ø  для распределения руды (сильвинита) по бункерам;

Ø  для подачи руды и регулировки нагрузки по руде на дуговые сита;

Ø  для транспортировки галитовых отходов до конвейеров участка удаления отходов;

Ø  для транспортировки готового продукта до конвейеров сушильного отделения.

          Машинист конвейера 2 разряда должен выполнять следующие работы, соответствующие его квалификации:

выполняет работу по управлению конвейерами, приводной станцией конвейера, реверсированию и переключению движения конвейеров, регулированию степени их загрузки, регулированию натяжных узлов и хода ленты, наблюдению за исправным состоянием перегрузочных течек, натяжных барабанов, редукторов, автоматических устройств, удалению с конвейерной ленты посторонних предметов, выявлению и устранению неисправностей в работе обслуживаемого оборудования.

Должен знать устройство, принцип работы и назначение обслуживаемого оборудования, пусковой и контрольно-измерительной аппаратуры, правила ухода за ними; установленную сигнализацию и правила подачи сигналов; допустимые нагрузки для каждого вида обслуживаемого оборудования; способы выявления и устранения неисправностей; характеристику транспортируемого материала; схему расположения конвейеров, питателей, натяжных устройств; основы слесарного дела.

           Машинист конвейера 3 разряда должен выполнять следующие работы, соответствующие его квалификации:

Ø  Выполняет работу по управлению конвейерами, производительностью свыше 200 т/час, наблюдению за исправным состоянием конвейера, течек, редукторов, автоматических устройств, смазке роликов и приводов.

Ø  Должен знать и уметь обслуживать конвейера производительностью более 500 т/час, должен обладать знаниями, навыками, умением выполнять работы более низкой квалификации по этой же профессии.

Обслуживаемое оборудование:

Ø  ленточные конвейера КЛС-1400 - 5 шт. (поз. 101-1,2; поз.171-1,2; поз.172);

Ø  ленточные конвейера КЛС-1200 - 2 шт. (поз.102-1,2);

Ø  ленточные конвейера КЛС-1000 - 6 шт. (поз.108 А,Б,В,Г,Д);

Ø  течки и шибера;

Ø  оборудование КИПиА;

Ø  электрооборудование;

Ø  конструкции системы измерения содержания хлористого калия в руде на конвейере поз. 102-1;101-2 (АРС).

Таблица 2 - Неисправности и способы их устранения

Неполадки

Причины

Способ устранения

1 Конвейер не запускается

Неисправна система управления.

Сообщить оператору, электроперсоналу проверить и устранить неисправности.

2 Повышенный нагрев подшипников барабанов конвейера

Отсутствует смазка; подшипники пережаты; подшипник вышел из строя.

Сообщить мастеру смены.

3 Повышенный нагрев подшипников редуктора

а) Недостаток масла в редукторе;  б) Вышел из строя подшипник.

а) Проверить количество масла в редукторе и при необходимости добавить; б) остановить редуктор на ремонт, сообщить мастеру смены.

4 Греется электродвигатель

Увеличение напряжения тока более 10% номинального.

Вызвать деж. электромонтера для выяснения причины повышения напряжения.

5 Повышенный износ внутренней стороны ленты

а) Не вращаются ролики на верхней ветви ленты; б) на ролики налипла транспортируемая масса.

а) проверить ролики;  б) очистить поверхность роликов от налипшей транспортируемой массы.


На рабочем месте машиниста конвейера находится следующая документация:

Ø  журнал приема-сдачи смен при эксплуатации ленточных конвейеров и записи ежесменных осмотров закрепленного оборудования, выявленных нарушениях в работе оборудования и принятых мерах по его наладке;

Ø  инструкция по рабочему месту и охране труда для машиниста конвейера.

В своей работе машинист конвейера придерживается норм, определяемых технологическим регламентом.

При выполнении работы на машиниста конвейера могут воздействовать следующие опасные и вредные производственные факторы:

Ø  движущиеся, вращающиеся части оборудования;

Ø  опасности при работе с инструментом;

Ø  падение предметов сверху;

Ø  воздействие перемещаемым грузом;

Ø  падение с высоты;

Ø  падение при перемещении по отделению;

Ø  электрические опасности (воздействие электрическим током, прямой контакт, тепловое излучение, воздействие расплавленных частиц);

Ø  термические опасности (загорание, температура воздуха в рабочей зоне);

Ø  опасности от материалов веществ (повышенный уровень шума, запыленности (пыль сильвинит);

Ø  недостаточное освещение.

Ø  опасности вне зоны выполнения работ;

Ø  опасности вблизи зоны выполнения работ подрядными организациями;

Ø  человеческий фактор

Допустимые уровни вредных производственных факторов на рабочем месте и в рабочей зоне:

Ø  ПДК по аминам алифатическим - не более 1 мг/м3;

Ø  ПДК по пыли (сильвинит) - не более 5 мг/м3.

Ø  освещенность                                  - не менее 100 люкс;

Ø  температура окружающего воздуха - не менее +180С;

Ø  относительная влажность воздуха - не более 75%;

Ø  уровень шума                                 - не более 70 дб.

Машинист конвейера имеет право:

- На рабочее место, соответствующее требованиям охраны труда.

На обязательное социальное страхование от несчастных случаев на производстве и профессиональных заболеваний.

На получение достоверной информации от работодателя об условиях и охране труда на рабочем месте, о существующих рисках повреждения здоровья, а также мерах по защите от воздействия вредных и (или) опасных производственных факторов.

На отказ от выполнения работ в случае возникновения опасности для здоровья и (или) жизни вследствие нарушения требований охраны труда до устранения такой опасности.

На обучение безопасным методам и приемам труда.

На внеочередной медицинский осмотр (обследование) в соответствии с медицинскими рекомендациями.

Требовать от администрации своевременного обеспечения спецодеждой, спецобувью, средствами индивидуальной защиты (СИЗ.

Требовать обеспечения необходимым инструментом, приборами и приспособлениями.

Прекратить работу и остановить оборудование при обнаружении нарушений правил техники безопасности или при его неисправности, если эти нарушения могут привести к аварии или несчастному случаю.

Требовать проведения дополнительного инструктажа и разъяснений по выполнению незнакомой работы, к работе без инструктажа не приступать.

Требовать от мастера смены своевременного обеспечения необходимой (технической) документацией и информацией на вновь вводимое оборудование, при изменении норм технологического режима, технологической схемы производства;

- Вносить предложения по совершенствованию организации труда.

Обжаловать действия непосредственного руководителя в установленном порядке.

Машинист конвейера обязан:

Знать и выполнять требования инструкций в соответствии с "Перечнем профессий         с указанием номеров инструкций, необходимых для инструктирования", инструкции по эксплуатации оборудования, аппаратов согласно паспортов заводов-изготовителей.

- Соблюдать требования по охране труда и технике безопасности, правильно применять средства коллективной и индивидуальной защиты.

Проходить обучение по безопасным методам и приемам выполнения работ по охране труда, оказанию первой помощи при несчастных случаях на производстве, инструктажи по охране труда, стажировку на рабочем месте, проверку знаний требований охраны труда.

Проходить обязательные предварительные при поступлении на работу) и периодические (в течение трудовой деятельности) медицинские осмотры ( обследования).

Выполнять только ту работу, которая поручена по наряду или входит в круг его обязанностей.

Своевременно принимать меры по устранению нарушений и неполадок при выполнении работ. При невозможности их устранить, сообщить мастеру.

Не допускать присутствия на рабочем месте посторонних лиц.

Работать только исправным инструментом, приспособлениями, механизмами.

Отвечать за все действия стажеров и находящихся у него на обучении учеников.

- Отвечать за сохранность документации, отвечать за сохранность и срок годности средств индивидуальной защиты (СИЗ), средств пожаротушения (огнетушители) на рабочем месте.

- Немедленно извещать своего непосредственного или вышестоящего руководителя о любой ситуации, угрожающей жизни или здоровью людей, о каждом несчастном случае, происшедшем на производстве, или об ухудшении состояния своего здоровья.

В течение всего рабочего времени выполнять все требования, возложенные на него настоящей инструкцией.

Требования безопасности перед началом работы

Надеть положенную по нормам спецодежду, используемые средства индивидуальной защиты.

Машинист конвейера должен прибыть на рабочее место к назначенному часу, согласно графика выходов на работу.

Узнать у сдающего смену о соблюдении технологического режима, состоянии оборудования, рабочего места, об имевших место нарушениях в течении смены и мерах по их устранению.

Произвести обход рабочего места, проверить состояние и исправность технологического оборудования, наличие ограждений вращающихся и движущихся частей оборудования, чистоту и освещенность рабочего места, состояние обслуживающих площадок, переходных мостиков и их ограждений, рабочего инструмента, наличие средств пожаротушения на рабочем месте, наличие технической документации согласно реестра, надежность крепления заземлений электродвигателей, наличие и исправность тросов аварийного останова световой и звуковой сигнализации, наличие индивидуальных средств защиты (диэлектрические перчатки, защитные очки).

Ознакомиться с записями в журнале приема-сдачи смены по рабочему месту.

Потребовать от сдающего смену машиниста конвейера безотлагательного устранения обнаруженных нарушений и недостатков.

После обхода рабочего места:

Ø  прибыть на наряд, который проводит старший мастер (мастер) смены в помещении нарядной;

Ø  доложить обо всех обнаруженных нарушениях и недостатках;

Ø  получить разрешение мастера (старшего мастера) на прием смены и наряд-задание на ведение работ с росписью в журнале;

Ø  прибыть на рабочее место для начала работы;

Ø  сделать в технологическом журнале записи о нарушениях и недостатках, если таковые имели место в момент приема-сдачи смены;

Ø  расписаться в журнале о приеме смены одновременно со сменщиком.

Прием смены с обнаруженными, но не устраненными недостатками и нарушениями возможен только по указанию мастера (старшего мастера) смены.

Требования безопасности во время работы

Выполнять следующие действия:

Ø  вести технологический процесс в соответствии с утвержденным регламентом, осуществлять контроль норм технологического режима;

Ø  осуществлять контроль за работой оборудования, техническим состоянием и исправностью средств КИПиА, ограждений, защитного заземления, рабочего инструмента и приспособлений, систем искусственного освещения, системы смазки и смазочных устройств, систем вентиляции;

Ø  обеспечивать надлежащее ведение и сохранность технической документации согласно реестра;

Ø  осуществлять контроль за наличием и сохранностью средств пожаротушения, индивидуальной защиты, за наличием и исправностью тросов аварийного останова;

Ø  проверять нагрев подшипников и корпусов электродвигателей (проверять тыльной стороной ладони), наличие смазки;

Ø  содержать в чистоте рабочее место, следить за чистотой площадок, лестниц, переходных мостиков, регулярно производить уборку;

Ø  не допускать разливов смазочных материалов, своевременно убирать разлитое масло и смазочные материалы в специально отведенное для этого место;

Ø  готовить резервное оборудование;

Ø  быть внимательным к сообщениям оператора пульта управления по ПГС;

Ø  при проверке заземления, включении-отключении электрооборудования пользоваться диэлектрическими перчатками;

Ø  шкафы управления электрооборудования содержать в закрытом состоянии;

Ø  в течении смены вести записи в журнале о работе оборудования и ходе технологического процесса;

Ø  своевременно принимать меры по устранению неполадок в работе оборудования, нарушений технологического режима, правил охраны труда и техники безопасности и информировать об этом мастера смены (старшего мастера), оператора пульта управления;

Ø  при остановке конвейера проверять работу сигнализации и концевых выключателей аварийного останова, результаты проверки записывать в журнале приема-сдачи смены;

Ø  в случаях, когда остановка конвейера для выполнения уборки невозможна по технологическим причинам, уборку производить под руководством мастера смены с оформлением специального инструктажа;

Ø  при уборке использовать инструмент (скребок, лопата) длина черенка которого не менее 1,5 метров;

Ø  проведение работ по чистке оборудования, подготовке его к ремонту, уборке соли под конвейером производить при остановленном конвейере, снятии напряжения в электроустановках (разобранной электросхеме), контрольном нажатии на пусковую кнопку и вывешенном аншлаге "Не включать - работают люди!";

Ø  поддерживать надлежащее санитарное состояние на рабочем месте;

Ø  передвигаться только по переходным мостикам, рабочим площадкам, лестницам, оборудованным перилами;

Ø  подавать заявки на снятие и подачу напряжения на электрооборудование дежурному электромонтеру, только в письменном виде в специальном журнале;

Ø  не допускать, чтобы лента терлась о неподвижные части конвейера (остановившиеся ролики, упавший с ленты материал, став конвейера).

При эксплуатации конвейера запрещается:

Ø  остановка конвейеров до полного опорожнения ленты, за исключением аварийных случаев;

Ø  очистка и ремонт конвейеров во время движения ленты;

Ø  загрузке конвейеров до их пуска;

Ø  устранение пробуксовки ленты на приводном барабане с применением различных материалов (канифоль, гудрон и т.п.);

Ø  ввод конвейеров в эксплуатацию до устранения неисправностей и проведения контрольного осмотра;

Ø  пуск конвейеров без предупредительного сигнала;

Ø  работа с не отрегулированной лентой;

Ø  предотвращение схода ленты на сторону, установкой различных опор;

Ø  пролезать под конвейерами;

Ø  становиться на конвейерную ленту, не сообщив предварительно об этом лицам, производящим их включение;

Ø  производить очистку вручную барабанов, роликов, ленты, загрузочных устройств, бункеров и т.д. от просыпей налипшей массы и кусков соли во время работы конвейера;

Ø  производить регулировку хода ленты перекосом роликов или с помощью регулируемых барабанов и роликов при работающем конвейере;

Ø  находиться при работающем конвейере в области натяжного устройства.

Порядок запуска и остановки конвейеров.

Пуск и остановка конвейера производится по указанию мастера смены или через оператора пульта управления.

Останавливает конвейер с пульта оператор пульта управления, если они были запущены в автоматическом режиме или машинист конвейера по месту - (кнопкой). При необходимости все конвейера можно остановить концевым выключателем, дернув за трос аварийного останова.

Перед пуском проверить:

Ø  исправность механизмов и их готовность к работе;

Ø  наличие смазки в подшипниках и масла в редукторах, надежность закрепления и исправность ограждений и заземлений, звуковую и световую сигнализацию, аварийные выключатели и тросы аварийного останова;

Ø  перевести перекидные заслонки, течки и шибера на перегрузочных узлах на то оборудование, которое будет работать;

Ø  проверить отсутствие посторонних предметов на оборудовании и внутри него;

Ø  проверить отсутствие людей в непосредственной близости от запускаемого оборудования;

Ø  доложить мастеру смены или оператору пульта управления о готовности;

Ø  запустить оборудование в работу в следующей последовательности: подать предупредительный звуковой сигнал продолжительностью 10 сек.; после первого сигнала должна предусматриваться выдержка времени не менее 30 сек., после чего перед запуском конвейера должен подаваться второй звуковой сигнал продолжительностью 30 сек.;

Ø  дублирующая световая сигнализация предусматривается в местах с повышенным уровнем шума;

Ø  после запуска конвейера проверить ход ленты, работу редуктора и электродвигателя, подшипников;

Ø  после этого можно давать нагрузку на конвейер.

Порядок остановки конвейера:

Ø  прекратить подачу продукта на конвейер;

Ø  освободить и очистить пересыпные узлы;

Ø  освободить от продукта ленту конвейера;

Ø  остановить оборудование;

Ø  убедиться в том, что оборудование обесточено нажатием пусковой кнопки и только тогда вывесить плакат "Не включать - работают люди!";

Ø  очистить от масла и соли корпуса подшипников барабанов, редуктора, электродвигатель, ролики и став конвейера, убрать соль под конвейером.

Машинист конвейера обязан при приемке оборудования из ремонта проверить отсутствие посторонних предметов на ленте конвейера.

Требования безопасности в аварийных ситуациях.

При возникновении пожара, опасности, грозящей аварией, несчастным случаем или непосредственно при аварии машинист конвейера немедленно сообщает об этом мастеру смены, оператору пульта управления.

При возникновении пожара (загорания):

Ø  остановить конвейер путем нажатия кнопки "стоп" или за трос аварийного останова, который необходимо потянуть до остановки конвейера;

Ø  сообщить по ГГС оператору пульта управления;

Ø  принять меры к ликвидации загорания, используя имеющиеся первичные средства пожаротушения;

Ø  действовать согласно плана ликвидации аварий под руководством мастера смены.

При несчастном случае машинист конвейера:

Ø  оказать пострадавшему первую доврачебную помощь;

Ø  сообщить о случившемся мастеру смены, оператору пульта управления;

Ø  принять меры по сохранению обстановки на месте происшествия, если это не создает опасности окружающим;

При отключении электроэнергии машинист конвейера производит запуск остановившегося под нагрузкой оборудования постепенно, разгружая его так, чтобы не перегрузить и не вывести его из строя.

При возникновении аварийных ситуаций (нахождение человека на конвейере, разрыв ленты, пробуксовка ленты, срыв футеровки с приводного барабана, заштыбовка перегрузочного пункта) машинист конвейера:

Ø  останавливает конвейер и сообщает об этом мастеру смены, оператору пульта управления;

Ø  принимает меры по устранению аварии.

Требования безопасности по окончании работы.

Произвести обход рабочего места и проверить техническое состояние оборудования.

Устранить выявленные неполадки и нарушения технологического процесса.

Произвести уборку рабочего места.

Сделать все необходимые записи в журнале приема-сдачи смен, внести возникшие неполадки, которые не удалось устранить до конца смены.

Дать полную информацию о состоянии оборудования и процесса, принимающему смену.

Сдает по смене инструмент, необходимый в работе.

Устраняет замечания принимающего смену и расписывается в журнале в графе "смену сдал".

В случае неявки сменщика, необходимо поставить в известность мастера смены (старшего мастера). Покидать рабочее место только с разрешения мастера смены (старшего мастера).

Ответственность за работу оборудования и ведение технологического процесса во время приема-сдачи смены несет машинист конвейера, сдающий смену.

Машинист конвейера несет ответственность за качественное и своевременное выполнение возложенных на него настоящей инструкцией обязанностей.

За невыполнение требований настоящей инструкции, согласно "Положению об оплате труда руководителей, специалистов, служащих и рабочих в ОАО "Уралкалий", машинист конвейера лишается премии полностью или размер премии может быть снижен.

Машинист конвейера, в соответствии с действующим законодательством, может быть привлечен к дисциплинарной, административной, уголовной, а при нанесении материального ущерба - материальной ответственности.

2. Расчетно-конструкторский

2.1 Выбор и обоснование конструкции

Безопасность выбора ленточного конвейера для перемещения руды обеспечивается:

Ø  Выбором их типа и конструктивного исполнения, соответствующих условиям их применения;

Ø  Применением средств механизации, автоматизации и дистанционного управления, средств защиты;

Ø  Включением требований безопасности в техническую документацию на их монтаж, эксплуатацию, ремонт, транспортировку, хранение;

Ø  Реле скорости РС-67 с магнитоиндуктивным датчиком ДМ-2 устанавливается на отклоняющем барабане конвейера и обеспечивает выполнение следующих режимов:

Ø  выдержку времени на включение;

Ø  контроль скорости, пробуксовки и поперечного порыва ленты ленточного конвейера;

Ø  автоматическое отключение привода конвейера при аварийных режимах, связанных с пробуксовкой, понижающей скорости ленты более чем на 25%, поперечным порывом ленты;

Ø  выдержку времени на отключение после исчезновения сигнала от датчика.

Ø  Выключатель: кабель - тросовый типа КТВ-2М предназначен для экстренного прекращения пуска и экстренной остановки конвейерных приводов с любого места технологической линии (конвейера).

Остановочные устройства применяются для удержания от проворачивания ведущего барабана ленточного конвейера. Действие остановов основано на том, что они позволяют вращаться валу, передающему крутящий момент, в одну сторону и препятствуют вращению в обратную сторону.

По конструктивному исполнению различают остановы:

Ø  храповые - с наружным и внутренним зацеплением;

Ø  фрикционные - роликовые и клиновые.

Таблица 3 - Выбор оптимального варианта

№ п/п

Название механизма

Назначение

Достоинства

Недостатки

1

Мотор-редуктор

Совмещение назначений привода и останова

1.Увеличение сроков службы привода конвейера. 2.Повышение надежности. 3.Уменьшение габаритов привода, 4.Встроенный стопор обратного хода. 5.Возможность исключения тихоходной муфты.

1.Высокая стоимость мотор- редуктора 2. Повышенное действие на вал ведущего барабана крутящего момента.

2

Храповый останов с внутренним зацеплением

Удержания от проворачивания ведущего барабана

1.Больший передающий момент. 2.Больший межремонтный цикл. 3.Изготовление в РМЦ


3.

Фрикционный роликовый останов

Удержания от проворачивания ведущего барабана


1.Быстрый износ дисков и пружины. 2. Меньший передающий момент

4.

Фрикционный клиновой останов

Удержания от проворачивания ведущего барабана


1.Быстрый износ обода и пружины. 2. Меньший передающий момент


Согласно таблицы 3 сделаем вывод, что наиболее экономномичным и простым в эксплуатации является храповый механизм. Храповый механизм до модернизации срок эксплуатации имел две недели, а после модернизации 1,5 года.

2.2 Проведение конструкционных и технологических расчетов элементов

Рисунок 2.1- Схема конвейера

Расчет

Скорость конвейера

 = (π x Dn.б. х nn.в.) / 60 = (3,14 х 1,6 х 37,5) / 60 = 3,14 м/с [1].

Где nn - частота вращения вала приводного барабана;

n = п / i = 1 500 / 40 = 37,5 об / мин

Расчет привода (расчет установившегося движения)

б = (N1 + N2 + N3) x K2 x K3 x K4 x K5 + Nщ + Nу, кВт [2].

Где N1 - мощность расходуемая на перемещение ленты, кВт;

1 = (К1 х Lг x V) / 10 000 (2.1)

Где К1 = 600 - коэффициент, зависящий от веса роликоопор, ширины и типа ленты [2].

Lг = 190,6 м - длина горизонтальной проекции конвейера;

1 = (600 х 190,6 x 3,14) / 10 000 = 35,91 кВт;

2 - мощность, расходуемая на перемещение груза в горизонтальном положении, кВт;

2 = (1,2 х Q x Lг) / 10 000 [2].

N2 = (1,2 х 1 200 x 190,6) / 10 000 = 27,44 кВт;

2 - мощность, расходуемая на подъем груза, кВт;

3 = (27,2 х Q x Н) / 10 000 [2].

N3 = (27,2 х 1 200 x 37,8) / 10 000 = 123,38 квт;

К2 = 1,0 - коэффициент, зависящий от длины конвейера, [2].

К3 - коэффициент, учитывающий форму трассы конвейера без перегибов,

К3 = 1,1 + 0,03d;

где d = 1 - количество перегибов;

К3 = 1,1 + 0,03 х 1 = 1,13;

К4 = 1,1 - коэффициент, зависящий от условий работы,

К5 = 1,0 - коэффициент, зависящий от наличия разгрузочной тележки,

Nщ = 2,8 кВт - мощность, расходуемая на очистительные устройства,

Nу - мощность, расходуемая на трение ленты о борт, кВт, [2].

у = 0,12 х Lу х V (2.2)

Где Lу = 14 м - длина бортов;

у = 0,12 х 14 х 3,14 = 5,28 кВт;

Nб = (35,91 + 27,44+ 123,38) x 1,0 x 1,13 x 1,1 x 1,0 + 2,8 + 5,28 = 240,2 кВт;

Мощность двигателя

дв = (Nб х К) / η, (2.3)

Где К = 1,15…1,25 - коэффициент запаса;

η = 0,94 - кпд привода при загруженном конвейере;

дв = (240,2 х 1,2) / 0,94 = 306,6 кВт;

Параметры существующего электродвигателя ДАЗО 4 400 ХК - 4МТ2

Мощность - Nдв = 250 кВт;

Число оборотов - n = 1 500 об/мин;

Существующий редуктор ЦДН - 710 - 40 - 12

Передаточное число - i = 40;

Существующий двигатель не соответствует существующему редуктору.

Выбираем электродвигатель ДАЗО 4 400 ХК 4МУ1

Мощность - Nдв = 315 кВт;

Число оборотов - n = 1 500 об/мин;

Мощность, передаваемая редуктором, определяется по формуле

р = (Мвых. ном. х N(ВХ)) / (9550 х i ) (2.4)

Где Мвых. ном. = 1 000 Нм - крутящий момент на выходном валу редуктора;

N(ВХ) = 1 500 об/мин - частота вращения входного вала;

i = 40 - передаточное число редуктора;

р = (1 000. х 1 500) / (9550 х 40 ) = 392,67 кВт ≥ Nдв = 315 кВт;

Вывод: мощность двигателя меньше мощности передаваемой редуктором.

Условие выполняется, редуктор ЦДН - 710 - 40 - 12 соответствует двигателю ДАЗО 4 400 ХК 4МУ1.

Окружное усилие на приводном барабане

Р = (102 х Nб) / V = (102 х 240,2) / 3,14 = 7 796,178 кг = 7642,544 Н [2].

Крутящий момент на валу приводного барабана

Мкр = Р х D/2 = (51 x Nб x D)/ V, (2.5)

Где D = 1,6 м - диаметр приводного барабана;

Мкр = (51 x 240,2 x 1,6)/ 3,14 = 6 242,14 кг * м = 61 173 Н*м.

Расчет тормоза.

Расчетный тормозной момент на валу двигателя, Н*м;

pm = Tинm + Tcm,

Где Tинm - момент сил инерции на валу двигателя при торможении

инm = (δ * I * n)/(9,55 * tm) + (C * η) / (n * tm), (2.6)

Где tm - время торможения конвейера, с;

m = (2 * lm) /V, (2.7)

где lm - максимальный путь торможения конвейера, работающего в технологической цепи (во избежание засыпки грузом узла перегрузки), можно принять 2…3 м.

m = (2 * 2,5) /3,14 = 1,59 с.

δ = 1,1…1,25 - коэффициент, учитывающий влияние вращающихся масс привода механизма (кроме ротора двигателя и муфты), [3].

η = 0,94 - кпд привода при загруженном конвейере;

I - момент инерции ротора двигателя (Iр) и муфты (Iм), кг*м2;

 = Iр + Iм, (2.8)

электродвигатель тип - ДАЗО 4 400 ХК 4МУ1

р = 11 кг*м2

Iм ≈ (0,1…0,15) * m * D2, (2.9)

Где m = 92 кг - масса муфты;

D = 0, 475 м - наибольший диаметр муфты;

Iм ≈ (0,1…0,15) * 92 * 0,4752 = 2,076…3,114 кг*м2;

Примем Iм = 2,5 кг*м2

 = 11 + 2,5 = 13,5 кг*м2;

С = 9,55 * Ку * [(q + qл) * Lг + qл * (Ln + Lx) + (qpp * Lp + qpx * Lx + mб) * Кс] * V2, (2.10)

Где Ку = 0,5…0,7 - коэффициент, учитывающий упругость тягового органа, благодаря которой не все элементы конвейера приходят в движение одновременно для резинотканевых лент. Меньшие значения для конвейеров длиной более 100 м, [3]. q - погонная масса груза;

q = Q / 3,6 * V = 1 200 / 3,6 * 3,14 = 106,195 кг/м, [3].

где qл = 22,7 кг/м;

Lг = 191,8 м - длина груженного участка рабочей ветви;

Ln = 2 м - длина порожнего участка ветви;

Lx =193,8 м - длина холостой ветви конвейера;

Lр =193,8 м - длина рабочей ветви конвейера;pp - погонная масса вращающихся частей роликоопор рабочей ветви конвейера, кг/м;

qpp = mр / lp = 54 / 1,2 = 45 кг/м, , [3].

где mр = 54 кг - масса вращающихся частей роликоопоры рабочей ветви конвейера;

lp = 1,2 м - шаг роликоопор рабочей ветви конвейера;px - погонная масса вращающихся частей роликоопор холостой ветви конвейера, кг/м;

qpx = mх / lх = 38/3 = 12,67 кг/м, [3].

б = 5 444 кг -масса вращающихся частей барабанов конвейера;

Кс = 0,7…0,9 - коэффициент, учитывающий уменьшение скорости вращающихся частей конвейера относительно скорости тягового органа для ленточных конвейеров.

С = 9,55 * 0,6 * [(106,195 + 22,7) * 191,8 + 22,7 * (2 + 193,8) + (45 * 193,8 + 12,67* 193,8 + 5 444) * 0,8] * 3,142 = 1 823 438,25инm = (1,2 * 13,5 * 1 500)/(9,55 * 1,59) + (1 823 438,25 * 0,94) / (1 500 * 1,59)= 2 319,462 Н*м;

cm - момент статических сопротивлений конвейера на валу двигателя при торможении, Н*м;

cm = Tсвm * η /i, (2.11)

Tсвm - момент статических сопротивлений на приводном валу конвейера при торможении, необходимый для предотвращения его обратного хода, Н*м;

свm = ηбар * [q * H - K * (F0 / g - q* H)] * g * Dn.б./2, (2.12)

Где ηбар = 0,96…0,98 - кпд барабана;

Н = 37,8 м - высота подъема груза;

К = 0,55…0,6 - коэффициент возможного уменьшения сопротивлений конвейера;

F0 = Р = 76 402,544 Н - тяговая сила конвейера;

свm = 0,97 * [106,195 * 37,8 - 0,55 * (76 402,544 / 9,81 - 106,195* 37,8)] * 9,81 * 1,6./2 = 11 172,758 Н*м;cm = 11 172,758 * 0,96 /40 = 268,146 Н*мpm = 2 319,462 + 268,146 = 2 587, 608 Н*м

расчетный тормозной момент на валу двигателя;

Согласно "Единые правила безопасности при дроблении, сортировке, обогащении полезных ископаемых и окусковывании руд и концентратов" ПБ 03 - 571 - 03 выпуск 26 п. 408: при установке конвейеров под углом более 60 необходимо тормозное устройство.

Расчет храпового механизма

Число зубьев храпового колеса

 = 3600 /α = 3600/ 11,250 = 32, [4].

Модуль храпового колеса для внутреннего зацепления

m = 1,13√Мкр /(Z * ψ * [σ], (2.13)

где ψ = 1 - отношение ширины колеса к модулю

 = 1,13√61 173 000 /(32 * 1 * 120 = 27,676;

Расчетный модуль округляем до стандартного m = 30;

Диаметр начальной окружности

 = m * Z = 30 * 32 = 960 мм;

Шаг

 = π * m = 3,14 * 30 = 94,2 мм;

Высота зуба

 = 0,75 * m = 0,75 * 30 = 22,5 мм;

ψ - отношение ширины колеса к модулю

ψ = в / m (2.14)

Отсюда ширина колеса

в = ψ * m = 1 * 30 = 30 мм;

Исходя из конструктивных особенностей:

Число зубьев храпового колеса

Z = 3600 /α = 3600/ 11,250 = 32, [4].

Модуль храпового колеса для внутреннего зацепления

= D / Z = 1 362 / 32 = 42,56 мм;

Расчетный модуль округляем до стандартного

m = 42;

Диаметр начальной окружности

 = m * Z = 42 * 32 = 1 344 мм;

Шаг

 = π * m = 3,14 * 42 = 131,947 мм;

Высота зуба

 = 0,75 * m = 0,75 * 42 = 31,5 мм;

ψ - отношение ширины колеса к модулю

ψ = в / m (2.15)

Принимаем ψ = 1,5

Отсюда ширина колеса

в = ψ * m = 1,5 * 42 = 63 мм;

В1 - ширина собачки

В1 = в + 2 = 63 + 2 = 65 мм;

Напряжение в опасном сечении собачки

σи = Ми /W + P/F ≤ [σи], (2.16)

где [σи] = 120 Мпа - допускаемое напряжение изгиба для стали 45;

Р - окружная сила

Р = 2 * Tpm / (m * Z) = 2 * 2 587,608 * / 0,042 * 32 = 3 850,6 Н;

Ми - изгибающий момент

Ми = Р * l (2.17)

Где l - длина плеча изгиба

Ми = 3 850,6 * 0,33 = 1 270,7 Н*м

 - осевой момент сопротивления

 = В1 * Х2 /6 = 0,065 * 0,0442 / 6 = 0,000020973 м;

F = В1 * Х = 0,065 * 0,044 = 0,00286 м;

σи = 1 270,7 /0,000020973 + 3 850,6/0,00286 = 62 933 785, 56 Па

σи = 61,93 Мпа ≤ [σи] = 120 МПа;

Диаметр оси собачки

D = 3√{P / (0,1 * [σи])} * B1 / 2, (2.18)

где [σи] ≤ 50 Мпа - допускаемое напряжение изгиба для оси собачки для стали 45, [4];

 = 3√{3 850,6 / (0,1 * 5 000 000)} * 0,065 / 2 = 0,0292 м = 29,2 мм

Принимаем конструктивно диаметр оси собачки d = 40 мм.

3. Эксплуатационно-технологический

3.1 Технологическая схема сборки, монтажа и испытание

Модернизация и усовершенствование любого оборудования производится во время проведения капитального ремонта. Капитальный ремонт проводится согласно месячного графика ППР блочным методом. За два месяца до капитального ремонта ленточного конвейера в РМЦ по рабочим чертежам был изготовлен, собран и испытан новый храповый механизм с электромагнитным приводом. В качестве опоры под этот механизм была изготовлена металлическая рама. Храповый механизм и рама были доставлены на склад цеха. После подписания приказа на проведение капитального ремонта ленточного конвейера, ремонтная бригада слесарей-ремонтников и технологических рабочих приступили к следующим работам:

Ø  Останов ленточного конвейера;

Ø  Сдача ленточного конвейера в капитальный ремонт по акту;

Ø  Демонтаж дефектных узлов, деталей и в том числе храпового механизма;

Ø  Замена дефектных узлов и деталей, согласно дефектной ведомости и в том числе металлической рамы и храпового механизма с электромагнитным приводом;

Ø  Выверка, обкатка и сдача ленточного конвейера в эксплуатацию.

3.2 Обоснование выбора оборудования, инструмента и приспособлений для сборки, монтажа и испытания

Кран - балка является основным грузоподъемным оборудованием для проведения ремонтных работ по ленточному конвейеру. Кроме кран - балки в цехе имеется мостовой кран грузоподъемностью 80/20 т для производства монтажных и ремонтных работ основного и вспомогательного оборудования.

Бригада - слесарей ремонтников в качестве ГПМ также имеет блоки, полиспасты, кошки, домкраты.

Таблица 4 - Параметры ГПМ


Таблица 5 - Перечень грузоподъемных приспособлений

№ п/п

Наименование

Параметры

Количество

1

2

3

4

3

Домкрат винтовой БТ-5

Q=5т; Н = 300 мм; Q = 21 кг.

4

4

Домкрат гидравлический БТ - 15

Q=15т; Н = 350 мм; Q = 48 кг.

2

5

Винтовые стяжки с усилием

Р = 5 000кг

2

6

Фаркопф с усилием

Р = 3 000кг

2

5

Стропы 4 -х ветвевые

Q=10т; L=4м

2

6

Стропы 2 -х ветвевые

Q=5т; L=3,5м

2

7

Стропы 2 -х ветвевые

Q=5т; L=2м

4

8

Блоки однорольные

Q = 2 т;

2


Так же в процессе монтажа необходимым приспособлением являются инструменты, которые приведены в таблице 6

Таблица 6 - Перечень инструментов

Приспособление

Ед. измерения

Количество

1

2

3

4

1

Ключи гаечные ГОСТ 2839-80

комплект

2

2

Ключи гаечные разводные ГОСТ 7275-75

Комплект

1

3

Ключи трубные

комплект

1

4

Монтажки длиной 800 мм

шт

2

5

Щупы

комплект

2

6

Угольники

комплект

2

7

Рулетка РС -1, РС -10, РС - 50

шт.

3

8

Плоскогубцы

шт.

3

9

Отвертки

шт.

8

10

Тиски слесарные

шт.

4

11

Кувалда кузнечная

шт.

3

12

Молоток слесарный

шт.

3

13

Щётка стальная

шт.

5

14

Уровни

комплект

2

15

Штангенциркуль

комплект

2

16

Трансформатор электросварки V = 380 вт, А = 500 вТ

шт.

2

17

 Кабель электросварочный Ø75 мм2

м1

25

18

Индикатор на штативе

шт

2

19

Проверочная линейка ГОСТ 8026 -98

шт

1


.3 Описание состава работ, выполняемых в процессе эксплуатации ленточного конвейера

Обслуживание конвейера заключается в наблюдении за его работой, периодическом осмотре, регулировании, смазке и выполнении плановых и срочных ремонтов.

Плановые ремонты конвейера производится в строго установленные сроки и в полном объёме. От своевременности и качества планово-предупредительных ремонтов зависит надёжность работы конвейера.

Для ленточного конвейера рекомендуется следующие сроки плановых ремонтов:

Ø  текущий ремонт - 1 раз в месяц;

Ø  капитальный ремонт - 1 раз в год.

Текущий ремонт предусматривает:

Ø  тщательный предупредительный осмотр;

Ø  проверку состояния всех осей и блоков;

Ø  замену повреждений и сильно изношенных деталей;

Ø  подтяжку болтов крепления рам и опорных плит;

Ø  регулировку натяжения конвейерной ленты, клиноременной передачи привода;

Капитальный ремонт предусматривает:

Проведение всех работ по текущему ремонту и дополнительно:

Ø  снятие всех верхних крышек

Ø  проверка степени износа внутренних поверхностей короба, а также звёздочек, блоков;

Ø  разборку всех подшипниковых узлов;

Ø  проверку состояния подшипников, осей и валов;

Ø  проверку узлов и уплотнений и пригодность прокладок и других деталей;

Ø  проверку износа ременной и цепной передач привода, износ редукторов и электродвигателей;

Ø  замену всех изношенных составных частей и элементов конструкции.

Ежесменное обслуживание

Приемка ленточного конвейера по смене:

Ø  осмотр, прослушивание и тактильное ощущение подшипниковых узлов;

Ø  осмотр, прослушивание и тактильное ощущение редуктора;

Ø  проверка натяжения ленты;

Ø  проверка натяжного устройства;

Ø  проверка привода конвейера;

Ø  проверка натяжного узла конвейера.

Ø  в течении смены вести записи в журнале о работе оборудования и ходе технологического процесса;

Ø  своевременно принимать меры по устранению неполадок в работе оборудования, нарушений технологического режима, правил охраны труда и техники безопасности и информировать об этом мастера смены (старшего мастера), оператора пульта управления;

Ø  при остановке конвейера проверять работу сигнализации и концевых выключателей аварийного останова, результаты проверки записывать в журнале приема-сдачи смены;

Ø  в случаях, когда остановка конвейера для выполнения уборки невозможна по технологическим причинам, уборку производить под руководством мастера смены с оформлением специального инструктажа.

В обязанности машиниста конвейера входит также подготовка и сдача ленточного конвейера в ремонт.

Порядок сдачи в ремонт и приемки из ремонта регламентирован ГОСТ 19504-74 "Порядок сдачи в ремонт и приемки из ремонта. Общие требования".

Подготовка и остановка основного технологического оборудования на ремонт осуществляется по письменному распоряжению с указанием лица, ответственного за остановку и подготовку оборудования к ремонту.

Вывод оборудования в ремонт и все ремонтные работы проводится в соответствии с требованиями инструкций и правил, в частности:

Ø  по технике безопасности, промышленной санитарии и пожарной безопасности цеха, в котором проводятся работы;

Ø  по организации и ведению работ в газоопасных местах и порядку оформления разрешений на право выполнения этих работ на предприятии;

Ø           о порядке проведения огневых работ;

Ø           о порядке работы сторонних цехов и служб предприятия в технологических цехах.

Подготовка оборудования к ремонту производится эксплуатационным и дежурным ремонтным персоналом технологического цеха.

Порядок остановки конвейера:

Ø  прекратить подачу продукта на конвейер;

Ø  освободить и очистить пересыпные узлы;

Ø  освободить от продукта ленту конвейера;

Ø  остановить оборудование;

Ø  отключить электроэнергию, снять напряжение на сборках и щитах;

Ø  убедиться в том, что оборудование обесточено нажатием пусковой кнопки и только тогда вывесить плакат "Не включать - работают люди!";

Ø  очистить от масла и соли корпуса подшипников барабанов, редуктора, электродвигатель, ролики и став конвейера, убрать соль под конвейером;

Ø  освободить оборудование и коммуникации от остатков технологических материалов, грязи и шлама с соответствующей уборкой от них помещения;

Ø  очистить приямки, каналы, лотки, промыть канализационные трубопроводы, очистить оборудование от осадка, накипи и твердых отложений.

На подготовительные работы дежурный ремонтный персонал может привлекаться только по письменному распоряжению начальника цеха.

Ответственность за своевременную остановку объекта и качество подготовки к передаче его в ремонт возлагается на заказчика. После приемки оборудования в ремонт руководитель ремонта является ответственным за соблюдение правил техники безопасности, пожарной безопасности, срока выполнения работ, безопасного ведения работ, общего порядка на выделенной для ремонта площадке.

После проведения ремонтных работ машинист конвейера обязан перед пуском проверить:

Ø  исправность механизмов и их готовность к работе;

Ø  наличие смазки в подшипниках и масла в редукторах, надежность закрепления и исправность ограждений и заземлений, звуковую и световую сигнализацию, аварийные выключатели и тросы аварийного останова;

Ø  перевести перекидные заслонки, течки и шибера на перегрузочных узлах на то оборудование, которое будет работать;

Ø  проверить отсутствие посторонних предметов на оборудовании и внутри него;

Ø  проверить отсутствие людей в непосредственной близости от запускаемого оборудования;

Ø  доложить мастеру смены или оператору пульта управления о готовности;

Ø  запустить оборудование в работу в следующей последовательности: подать предупредительный звуковой сигнал продолжительностью 10 сек.; после первого сигнала должна предусматриваться выдержка времени не менее 30 сек., после чего перед запуском конвейера должен подаваться второй звуковой сигнал продолжительностью 30 сек.;

Ø  дублирующая световая сигнализация предусматривается в местах с повышенным уровнем шума;

Ø  после запуска конвейера проверить ход ленты, работу редуктора и электродвигателя, подшипников;

Ø  после этого можно давать нагрузку на конвейер.

.4 Порядок и методика проведения испытаний, технических освидетельствований и периодических проверок

Ввод конвейера в эксплуатацию осуществляется на основе результатов приемо-сдаточных испытаний, которые выполняются после монтажа и после каждого капитального ремонта. В ходе приемо-сдаточных испытаний ленточных конвейеров производится внешний осмотр, проверка укомплектованности и правильности сборки конвейера, их испытания, при этом:

Ø  Перед первым пуском производится внешний осмотр конвейера и проверка его укомплектованности и правильности монтажа става, механизмов и узлов, привода, электрооборудования, смазочных и сигнальных устройств, натяжения ленты и т. п.

Ø  Опробывание ленточного конвейера на холостом ходу производится сначала до установки загрузочных, разгрузочных, очистных и весовых устройств, а затем и после их монтажа. Продолжительность испытаний не менее двух часов. При опробывании ленточного конвейера на холостом ходу контролируются:

·        Скорость движения и ход ленты;

·        работа тормозов;

·        действие натяжного устройства;

·        вращение барабанов;

·        вращение роликов;

·        действие центрирующих устройств;

·        температура в подшипниковых узлах;

·        работа редукторов;

·        действие средств автоматизации и электрической блокировки;

·        температуру основных агрегатов.

Ø  Допустимое отклонение ленты от продольной оси ленточного конвейера не должно превышать разности между длиной обечайки концевого или оборотного барабана и шириной ленты.

Пуск конвейера под нагрузкой производится после устранения неисправностей, обнаруженных при холостой работе конвейера.

Загрузка конвейера осуществляется с нарастанием по отношению к номинальной его производительности, по достижению которой конвейер должен работать не менее двух часов при условии центрированного хода ленты. При опробывании ленточного конвейера под нагрузкой контролируются:

Ø  расположение груза на ленте;

Ø  скорость движения ленты;

Ø  действие тормозов, натяжного устройства;

Ø  температуру подшипниковых узлов барабанов, редукторов, электродвигателей;

Ø  действие средств пробуксовки, сигнализации и управления;

Ø  работа устройств для очистки ленты;

Ø  работу механизмов загрузки и разгрузки конвейера и других вспомогательных устройств;

Ø  уровень вибрации, шума, пылеобразования

3.5 Порядок и методика проведения аттестации рабочего места

Аттестация рабочих мест по условиям труда включает в себя:

Ø  гигиеническую оценку существующих условий и характера труда;

Ø  травмобезопасность рабочих мест;

Ø  учет обеспеченности работников средствами индивидуальной защиты.

При проведении аттестации рабочих мест по условиям труда в качестве нормативной базы необходимо использовать:

Ø  постановление Правительства РФ от 6 мая 1994 г. за № 485 "О проведении обязательной сертификации постоянных рабочих мест на производственных объектах, средств производства, оборудования для средств коллективной и индивидуальной защиты";

Ø  постановление Минтруда России от 20 июня 1994 г. № 49 "О проведении обязательной сертификации постоянных рабочих мест на производственных объектах на соответствие требованиям охраны труда";

Ø  постановление Минтруда России от 3 ноября 1995 г. № 64 "Об организации работ по проведению сертификации производственных объектов на соответствие требованиям по охране труда";

Ø  постановление Минтруда России от 14 марта 1997 г. № 12 "О проведении аттестации рабочих мест по условиям труда".

Основными результатами работ при проведении аттестации рабочих мест по условиям труда должно быть получение исходных материалов, необходимых для следующих целей:

Ø  планирования и проведения мероприятий по охране труда в соответствии с действующими нормативными правовыми документами;

Ø  сертификации производственных объектов на соответствие требованиям по охране труда;

Ø  обоснования представления льгот и компенсаций работникам, занятым на тяжелых работах и работах с вредными и опасными условиями труда, в предусмотренном законодательством порядке;

Ø  решения вопроса о связи заболевания с профессией при подозрении на профессиональное заболевание, установлении диагноза профзаболевания, в том числе при решении споров, разногласий в судебном порядке;

Ø  рассмотрения вопроса о прекращении (приостановлении) эксплуатации цеха, участка, производственного оборудования, изменении технологий, представляющих непосредственную угрозу для жизни и (или) здоровья работников;

Ø  включения в трудовой договор (контракт) факторов условий труда работников;

Ø  ознакомления работающих с условиями труда на рабочих местах;

Ø  составления статистической отчетности о состоянии условий труда, льготах и компенсациях за работу с вредными и опасными условиями труда;

Ø  применения административно-экономических санкций (мер воздействия) к виновным должностным лицам в связи с нарушением законодательства об охране труда.

Сроки проведения аттестации устанавливаются организацией исходя из изменения условий и характера труда, но не реже одного раза в 5 лет с момента проведения последней оценки.

Обязательной переаттестации подлежат рабочие места после замены производственного оборудования, изменения технологического процесса, реконструкции средств коллективной защиты и др., а также по требованию органов Государственной экспертизы условий труда Российской Федерации при выявлении нарушений при проведении аттестации рабочих мест по условиям труда.

Для организации и проведения аттестации рабочих мест по условиям труда издается приказ, в соответствии с которым создается аттестационная комиссия организации и, при необходимости, комиссии в структурных подразделениях; назначаются председатель аттестационной комиссии, члены комиссии и ответственный за составление, ведение и хранение документации по аттестации рабочих мест по условиям труда, а также определяются сроки и график проведения работ по аттестации рабочих мест по условиям труда.

В состав аттестационной комиссии организации рекомендуется включать специалистов служб охраны труда, организации труда и заработной платы, главных специалистов, руководителей подразделений организации, медицинских работников.

На каждое рабочее место (или группу аналогичных по характеру выполняемых работ и по условиям труда рабочих мест) составляется карта аттестации рабочих(его) мест(а) по условиям труда.

Оценка опасных и вредных производственных факторов на аналогичных по характеру выполняемых работ и по условиям труда рабочих местах производится на основании данных, полученных при аттестации не менее 20 % таких рабочих мест.

Уровни опасных производственных факторов определяются на основе инструментальных измерений. Инструментальные измерения физических, химических, биологических и психофизиологических факторов, эргономические исследования должны выполняться в процессе работы, то есть при проведении производственных процессов в соответствии с технологическим регламентом, при исправных и эффективно действующих средствах коллективной и индивидуальной защиты. При этом используются методы контроля, предусмотренные соответствующими ГОСТами и (или) другими нормативными документами.

При проведении измерений необходимо использовать средства измерений, указанные в нормативных документах на методы измерений. Применяемые средства измерений должны быть метрологически аттестованы и проходить государственную поверку в установленные сроки.

Инструментальные измерения производственных факторов оформляются протоколами. Форма протоколов устанавливается нормативными документами, определяющими порядок проведения изменений уровней показателей того или иного фактора.

Основными объектами оценки травмобезопасности рабочих мест являются: производственное оборудование, приспособления и инструменты, обеспеченность средствами обучения и инструктажа.

Оценка производственного оборудования, приспособлений и инструмента производится на основе действующих и распространяющихся на них нормативных правовых актов по охране труда (государственных и отраслевых стандартов, правил по охране труда, типовых         инструкций по охране труда и др.)

Перед оценкой травмобезопасности рабочих мест проверяются наличие, правильность ведения и соблюдение требований нормативных документов в части обеспечения безопасности труда.

Оценка травмобезопасности проводится путем проверки соответствия производственного оборудования, приспособлений и инструмента, а, также средств обучения и инструктажа требованиям нормативных правовых актов. При этом необходимо учитывать наличие сертификатов безопасности установленного образца на производственное оборудование.

При оценке травмобезопасности проводятся пробные пуски и остановки производственного оборудования с соблюдением требований безопасности.

В случаях, когда производственное оборудование и приспособления на рабочих местах изготовлены до введения в действие распространяющихся на них нормативных правовых актов или когда эти документы не разработаны и не утверждены в установленном порядке, оценка травмобезопасности производственного оборудования и приспособлений проводится на соответствие требованиям, изложенным в общегосударственных нормативных правовых актах, обеспечивающих на рабочих местах безопасные условия труда.

Оценка травмобезопасности рабочего места оформляется протоколом установленной формы.

По каждому рабочему месту должна быть определена обеспеченность работников средствами индивидуальной защиты и их эффективность.

Оценка обеспеченности работников средствами индивидуальной защиты осуществляется посредством сопоставления фактически выданных средств с Типовыми отраслевыми нормами бесплатной выдачи рабочим и служащим специальной одежды, специальной обуви и других средств индивидуальной защиты и другими нормативными документами (ГОСТ, ТУ и т. д.).

При оценке обеспеченности работников средствами индивидуальной защиты одновременно производится оценка соответствия выданных средств индивидуальной защиты фактическому состоянию условий труда на рабочем месте, а также производится контроль их качества.

Оценка обеспечения работников средствами индивидуальной защиты оформляется протоколом установленной формы.

После получения фактических данных, характеризующих условия труда на рабочих местах, делается оценка о соответствии действующих производственных факторов нормативным требованиям.

При этом делается раздельная оценка по степени вредности, по степени травмобезопасности и по обеспеченности работников средствами индивидуальной защиты и их эффективности.

Оценка фактического состояния условий труда по ступени вредности и опасности производится в соответствии с гигиеническими критериями оценки условий труда по показателям вредности и опасности факторов производственной среды, тяжести и напряженности трудового процесса на основе сопоставления результатов измерений всех опасных и вредных факторов производственной среды, тяжести и напряженности трудового процесса с установленными для них гигиеническими нормативами. На базе таких сопоставлений определяется класс условий труда как для каждого фактора, так и для их комбинации и сочетания, а также для рабочего места в целом.

Определение допустимого времени контакта работников с опасными и вредными производственными факторами за рабочую смену и (или) период трудовой деятельности (ограничение стажа работы) осуществляют центры по представлению администрации организации применительно к профессиональным группам.

Оценка травмобезопасности рабочего места и отношение его к соответствующему классу опасности проводятся в соответствии с классификацией.

При отсутствии на рабочем месте опасных и вредных производственных факторов или соответствии их фактических значений оптимальным или допустимым величинам, а также при выполнении требований по травмобезопасности и обеспеченности работников средствами индивидуальной защиты, считается, что условия труда на рабочем месте отвечают гигиеническим требованиям и требованиям безопасности. Рабочее место признается аттестованным.

В случаях, когда на рабочем месте фактические значения опасны и вредных производственных факторов превышают существующие нормы или требования по травмобезопасности и обеспеченности работников средствами индивидуальной защиты не соответствуют существующим нормам, условия труда на таком рабочем месте относятся к вредным и (или) опасным.

При отнесении условий труда к 3-му классу (вредному) рабочее место признается условно аттестованным с указанием соответствующего класса и степени вредности и внесением предложений по приведению его в соответствие с нормативными правовыми актами по охране труда.

При сертификации производственных объектов на соответствие требованиям по охране труда условно аттестованное рабочее место не засчитывается как аттестованное.

При отнесении условий труда к 4-му классу (опасному) рабочее место признается неаттестованным и подлежит незамедлительному переоснащению или ликвидации.

По результатам аттестации рабочих мест по условиям труда оформляются следующие документы:

Ø  ведомость рабочих мест и результатов их аттестации по условиям труда в подразделении, в которую включаются сведения об аттестуемых рабочих местах и условиях труда на них, о количестве занятых в этих условиях работников, обеспеченности их средствами индивидуальной защиты;

Ø  сводная ведомость рабочих мест и результатов их аттестации по условиям труда в организации, где указывается количество рабочих мест по структурным подразделениям и в целом по организации;

Ø  количество рабочих мест, на которых проведена аттестация с распределением их по классам условий труда;

Ø  количество работников, занятых на рабочих местах, на которых проведена аттестация;

Ø  сведения об обеспечении работников средствами индивидуальной защиты;

Ø  протокол аттестационной комиссии предприятия по установленной форме.

К протоколу должны прилагаться:

Ø  карты аттестации рабочих мест по условиям труда;

Ø  ведомости рабочих мест и результатов их аттестации по условиям труда в подразделениях;

Ø  сводная ведомость рабочих мест и результатов их аттестации по условиям труда в организации

Ø  план мероприятий по улучшению и оздоровлению условий труда в организации.

План должен предусматривать мероприятия по:

Ø  улучшению техники и технологии;

Ø  применению средств индивидуальной и коллективной защиты;

Ø  оздоровительные мероприятия;

Ø  мероприятия по охране и организации труда.

В плане указываются источники финансирования мероприятий, сроки их исполнения и исполнители. План должен предусматривать приведение всех рабочих мест в соответствие с требованиями по охране труда.

План подписывается председателем аттестационной комиссии и после согласования с совместным комитетом (комиссией) по охране труда, утверждается руководителем организации и включается в коллективный договор.

По завершении работы по аттестации рабочих мест по условиям труда руководитель организации издает приказ, в котором дается оценка проведенной работы и утверждаются ее результаты.

С учетом результатов аттестации рабочих мест по условиям труда аттестационная комиссия разрабатывает предложения о порядке подготовки подразделений организации к их сертификации на соответствие требованиям по охране труда и намечает мероприятия, конкретизирующие требования по охране труда, и мероприятия, конкретизирующие содержание такой подготовки.

3.6 Порядок и схема сертификации работ по требованиям охраны труда на предприятии

Правовой основой для сертификации производственных объектов на соответствие требованиям по охране труда является:

Ø  постановление Правительства РФ от 6 мая 1994 г. за № 485 "О проведении обязательной сертификации постоянных рабочих мест на производственных объектах, средств производства, оборудования для средств коллективной и индивидуальной защиты";

Ø  постановление Минтруда России от 20 июня 1994 г. № 49 "О проведении обязательной сертификации постоянных рабочих мест на производственных объектах на соответствие требованиям охраны труда";

Ø  постановление Минтруда России от 3 ноября 1995 г. № 64 "Об организации работ по проведению сертификации производственных объектов на соответствие требованиям по охране труда";

Ø  постановление Минтруда России от 14 марта 1997 г. № 12 "О проведении аттестации рабочих мест по условиям труда".

Сертификация производственных объектов на соответствие требованиям по охране труда внедряется в практику управления охраной труда и ее основой является аттестация рабочих мест по условиям труда. Сертификация возложена на органы государственной экспертизы условий труда Минтруда России и его территориальных подразделений, а также на уполномоченные ими организации, имеющие лицензию.

Устанавливаются три категории сертификата безопасности:

категория I - аттестовано не менее 90 % имеющихся рабочих мест, на остальные представлены документы, обеспечивающие их переаттестацию в течение 6 месяцев после выдачи сертификата;

· категория II - аттестовано не менее 75 % рабочих мест, на переаттестацию остальных отводится 1 год;

· категория III - аттестовано не менее 50 % рабочих мест, на переаттестацию остальных отводится 2 года.

Для получения сертификата любой категории обязательно необходимо выполнить еще ряд условий, а именно:

Ø  иметь службу охраны труда;

Ø  программу мероприятий по улучшению условий и охраны труда и положительное заключение от территориальных органов надзора;

Ø  регулярно проводить обучение работающих по охране труда.

Сертификация проводится по специальной процедуре в несколько этапов.

4. Безопасность и экологичность

4.1 Оценка условий труда при работе на ленточных конвейерах

Для определения категории тяжести работ каждый из факторов рабочей среды, реально действующий на человека, оценивают по шестибальной шкале и определяют интегральную бальную оценку тяжести труда

Таблица 7 - Расчет интегральной балльной оценки тяжести труда

Фактор рабочей среды и условия труда

Показатель

Знначение показателя, балл

Балльная оценка фактора

Продолжительность действия фактора, мин

Удельный вес времени действия фактора, tуд

Оценка удельной тяжести рабочей среды, хф

1,2

Температура воздуха на рабочем месте в помещении, 0С: Теплый период Холодный период

  t0C

  18 16

  1 3

   480



3

Токсичное вещество, кратность превышения ПДК

раз

≤1

2

480



4

Промышленная пыль, кратность превышения ПДК

раз

1,5

3

480



5

Вибрация, превышение ПДУ

дБ

Ниже ПДУ

1

480



6

Промышленный шум, превышение ПДУ

дБ

Равно ПДУ

2

480



7

Освещенность рабочего места

Лк

На уровне санитарных норм

2

480



8

Рабочее место (РМ), поза и перемещение в пространстве


РМ стацио-нарное, поза свободная

1

480



9

Сменность

см

3 смены

3




10

Число важных объектов наблюдения

шт

5…10

2

480



11

Режим труда и отдыха


Обос-нован-ный

2




Интегральная балльная оценка тяжести труда машиниста ленточного конвейера

Т = Хmax + [(6 - Xmax) / 6(N - 1)] * ∑Xi (4.1)

где Хmax - наивысшая из полученных бальных отметок Xi;

N - общее число факторов;

Xi - бальная оценка по i - тому из учитываемых факторов (частная балльная оценка);

n - число учитываемых факторов без учета одного

Т = 3 + [(6 - 3) / 6(11 - 1)] * (1 + 3 + 2 + 3 +1 +2 +2 +1 + 2 + 2) = 3,95

Таблица 8 - Интегральная оценка

№ п/п

Интегральная оценка, баллы

Категория тяжести

1

2

3

1

До 1,8

1

2

1,8…3,3

2

3

3,4…4,5

3

4

4,6…5,3

4

5

5,4…5,9

5

6

Более 5,9

6


.2 Организация работы по обеспечению и созданию безопасных условий труда на ленточном конвейере

Требования охраны труда при работе конвейеров определяются государственными стандартами на конвейеры, документацией завода-изготовителя, настоящими Правилами.

Трасса конвейера должна быть проложена по кратчайшему пути с минимальным числом перегибов.

Максимально допустимые углы наклона ленточных конвейеров с гладкой конвейерной лентой при транспортировке грузов на спуск должны быть на 6 - 8° меньше углов наклона, , но не более 12°.

Загрузочные и разгрузочные устройства конвейеров (бункеры, направляющие лотки, загрузочные воронки и т.п.) должны обеспечивать равномерную и центрированную подачу груза на несущее полотно конвейера в направлении его движения и устойчивое положение груза на нем, быть оборудованы средствами, предотвращающими налипание, заклинивание и зависание в них груза, образование просыпей (выпадение штучных грузов) и перегрузку конвейера.

Приемная часть загрузочных устройств конвейеров для сыпучих и пылевидных грузов должна быть выполнена так, чтобы обеспечивалась загрузка механизированным способом и пылеулавливание.

У наклонно установленных конвейеров должна исключаться возможность самопроизвольного перемещения грузонесущего элемента с грузом при отключении привода.

Грузовые натяжные устройства конвейеров должны иметь концевые упоры для ограничения хода натяжной тележки и конечные выключатели, отключающие привод конвейера при достижении натяжной тележкой крайних положений.

Конструктивные элементы конвейеров массой более 50 кг, подлежащие подъему или перемещению при монтаже, демонтаже, ремонте, должны иметь приливы, отверстия или рым-болты, если без них применение стропов и других такелажных средств является опасным.

При размещении стационарных конвейеров для транспортировки сыпучих грузов должна быть обеспечена возможность применения в доступных местах трассы конвейера механизированной уборки из-под него просыпи без остановки конвейера.

В схеме управления конвейерами должна быть предусмотрена блокировка или установка предупредительной сигнализации, исключающей возможность несанкционированного включения привода до ликвидации аварийной ситуации.

На участках трассы конвейеров, находящихся вне зоны видимости оператора с пульта управления, должна быть установлена двухсторонняя предупредительная предпусковая звуковая или световая сигнализация, включающаяся автоматически перед включением привода конвейера.

Электрические провода на конвейере и от конвейера до рубильника должны быть защищены дополнительной резиновой изоляцией. Рама конвейера должна быть заземлена.

Конвейеры должны иметь устройства, отключающие конвейер при обрыве ленты. При наличии на одном конвейере нескольких пусковых кнопок, установленных в разных местах, они должны быть электрически сблокированы так, чтобы исключался случайный пуск конвейера.

На отключенных электрических аппаратах конвейеров при работе людей на линии должны вывешиваться таблички с надписью "Не включать - работают люди!"

Производство ремонтных и других работ на конвейере во время его работы не допускается. Не допускается работа конвейеров при отсутствии или неисправности ограждения натяжных и приводных барабанов, роликоопор и отклоняющих роликов, заземления электрооборудования, бронированных кабелей и металлоконструкций, а также сигнализации и освещения, а в необходимых случаях - переходных мостиков, перекрытий бункеров, ходовых трапов, средств борьбы с пылью (аспирационных устройств, оросительных систем и т.п.), при загромождении проходов.

Для обеспечения безопасности при работе нескольких взаимосвязанных конвейеров в одной технологической линии применяется взаимная блокировка их электрических приводов. У каждого конвейера устанавливается аварийная кнопка "Стоп", с помощью которой при необходимости может быть остановлена вся транспортная система. Пульт управления ленточных конвейеров оборудуется сигнальными лампами, которые показывают движение или остановку каждого конвейера, что способствует предотвращению несогласованности их работы.

Движущиеся части конвейеров (приводные, натяжные, отклоняющие барабаны, натяжные устройства, канаты и блоки натяжных устройств, ременные, зубчатые, цепные и другие передачи, муфты и т.п., а также опорные ролики и ролики нижней ветви тягового органа в зоне рабочих мест, шкивы, набегающие участки лент на расстоянии не менее радиуса барабана плюс 1,0 м от линии касания ленты и барабана), к которым в зонах рабочих мест возможен доступ работников, должны быть ограждены.

Защитные ограждения конвейеров должны быть откидными (на петлях, шарнирах) или съемными, изготовленными из отдельных секций. Для удобства обслуживания конвейеров в ограждениях должны быть предусмотрены дверцы и крышки.

Ограждения, дверцы и крышки должны быть снабжены приспособлениями для надежного удержания их в закрытом (рабочем) положении и в случае необходимости быть сблокированы с приводом конвейера для его отключения при снятии (открытии) ограждения.

Защитные ограждения конвейеров следует изготавливать из металлических листов или из сетки с ячейками размером не более 20 х 20 мм. Не допускается изготавливать ограждения из наваренных на каркас прутьев и полос. Для подвесных конвейеров размер ячеек сетки для ограждения может быть увеличен в зависимости от характера транспортируемого груза.

В зоне возможного нахождения людей должны быть ограждены:

а) канаты и блоки натяжных устройств, грузы натяжных устройств на высоту их перемещения и участок пола под ними;

б) загрузочные устройства для насыпных грузов, периодически очищаемые обслуживающим персоналом;

в) приемные устройства (бункеры, горловины машин и т.п.), установленные в местах сброса грузов с конвейеров;

г) нижние выступающие части конвейера, пересекающего проходы для людей или проезды для транспортных средств, устройством навесов, продолженных за габариты конвейера не менее чем на 1,0 м;

д) участки трассы конвейеров (кроме подвесных), через которые не допускается проход людей, установкой вдоль трассы перил высотой не менее 1,0 м со сплошной обшивкой понизу на высоту не менее 0,15 м от уровня пола и дополнительной ограждающей планкой на высоте 0,5 м от пола.

На рабочих местах обслуживания конвейера или конвейерной линии должны быть размещены таблички, разъясняющие значения применяемых средств сигнализации и режим управления конвейером.

Места периодической смазки узлов конвейеров должны быть доступны без снятия защитных устройств.

На конвейерах, входящих в транспортные или технологические линии, должны быть предусмотрены автоматические устройства остановки привода конвейера при появлении аварийной ситуации.

Не допускается управление автоматизированной конвейерной линией с двух и более пультов (мест), а также стопорение подвижных элементов аппаратуры управления иными, не предусмотренными инструкцией, способами.

В местах передачи транспортируемого груза с одного конвейера на другой конвейер или на иное оборудование должны быть предусмотрены устройства, исключающие падение груза с конвейера.

Конвейерные линии должны быть оснащены аппаратурой автоматического или дистанционного управления.

Аппаратура управления конвейерной линии должна допускать перевод управления любым конвейером с автоматического на местное с сохранением в этом режиме действия всех защит, предупредительной сигнализации и экстренной остановки конвейера.

Конвейерная линия большой протяженности включается по грузопотоку.

Средства автоматизации конвейеров должны обеспечивать автоматический контроль и защиту каждого конвейера, автоматическое управление конвейерной линией в заданном режиме, сигнализацию и блокировку с перегрузочным оборудованием.

Оператору конвейерной линии оставлять свое рабочее место и передавать управление конвейерной линией другому лицу разрешается в порядке, установленном в организации.

Конвейеры с грузовыми натяжными устройствами должны иметь концевые упоры и выключатели привода конвейера при крайнем положении натяжной тележки.

На технологической линии, состоящей из нескольких последовательно соединенных и одновременно работающих конвейеров или из конвейеров в сочетании с другими машинами (питателями, дробилками и т.п.), приводы конвейеров и всех машин должны быть сблокированы так, чтобы в случае внезапной остановки какой-либо машины или конвейера предыдущие машины и конвейеры автоматически отключались, а последующие продолжали работать до полного схода с них транспортируемого груза.

С мест обслуживания должна быть предусмотрена возможность отключения каждого конвейера.

Конвейеры в головной и хвостовой частях должны быть оборудованы аварийными кнопками "Стоп".

Конвейеры с открытой трассой в местах повышенной опасности, а также конвейеры длиной более 30 м должны быть дополнительно оборудованы выключающими устройствами, позволяющими останавливать конвейер в аварийных ситуациях с любого места по его длине со стороны прохода для его обслуживания.

Работники, обслуживающие конвейер, должны хорошо знать местонахождение кнопочных выключателей, которые располагаются на видных и доступных местах. При аварийной обстановке на конвейере должна автоматически включаться светозвуковая сигнализация.

Многоприводные конвейеры должны иметь тормозные устройства на каждом приводе.

При работе конвейера не допускается:

а) ремонтировать узлы и элементы конвейера, очищать поддерживающие ролики, барабаны приводных, натяжных и концевых станций, убирать просыпь из-под конвейера;

б) устранять пробуксовку ленты на барабане путем подбрасывания в зону между лентой и барабаном песка, глины, канифоли, битума и других материалов;

в) переставлять поддерживающие ролики, натягивать и выставлять ленту конвейера вручную;

г) работать при неисправных реле скорости, защиты от пробуксовки, схода ленты и других реле, при неисправных сигнальных устройствах и устройствах экстренной остановки конвейера;

д) ремонтировать электрооборудование, находящееся под напряжением.

Выполнение указанных работ должно производиться при полной остановке и отключении от сети конвейера, при снятых предохранителях и закрытом на замок пусковом устройстве, на котором должна быть вывешена табличка с надписью "Не включать - работают люди!"

К монтажу, эксплуатации, обслуживанию и ремонту конвейеров допускаются работники, прошедшие обучение и обладающие необходимыми техническими знаниями и производственными навыками по обслуживанию и ремонту конвейеров, прошедшие инструктаж по охране труда и допущенные к выполнению работ в установленном порядке.

Работники, обслуживающие конвейеры, должны систематически проверять состояние конвейерной установки, выявлять и устранять в установленном порядке неисправности, не допускать заштыбовки (чрезмерного накопления просыпи) трассы конвейера и концевых станций.

Смазка узлов и элементов конвейера (шестерен, цепей и т.п.) должна производиться при полной остановке конвейера и после принятия мер по исключению его случайного пуска.

При работе конвейера необходимо следить за работой очистных и оросительных устройств (при их наличии), за наличием и состоянием ограждений, исправностью приводных, натяжных и тормозных устройств, поддерживающих роликов, ловителей, за положением несущего органа по всей трассе конвейера.

Для обеспечения нормальной эксплуатации, обслуживания, ремонта конвейеров рекомендуется закрепление за ними ответственных лиц из числа инженерно-технических работников, аттестованных в установленном порядке.

Ввод конвейера в эксплуатацию осуществляется на основе результатов приемо-сдаточных испытаний:

стационарных конвейеров - на месте их эксплуатации;

производятся внешний осмотр, проверка укомплектованности и правильности сборки конвейеров, их испытания, при этом:

а) перед первым пуском производятся внешний осмотр конвейера и проверка его укомплектованности и правильности монтажа става, механизмов и узлов, привода, электрооборудования, смазочных и сигнальных устройств, натяжения грузонесущего полотна конвейера и т.п.;

б) опробование конвейера на холостом ходу производится сначала до установки загрузочных, разгрузочных, очистных и весовых устройств, а затем и после их монтажа.

Продолжительность испытаний - не менее 2 часов. Контролируются: скорость движения и ход грузонесущего полотна, действие тормозов, натяжного устройства, вращение барабанов, роликов, действие центрирующих устройств, подшипников барабанов, работа редукторов, средств автоматизации и электрической блокировки, температура основных агрегатов.

Допустимое отклонение ленты от продольной оси конвейера не должно превышать половины разности между длиной обечайки концевого или оборотного барабана и шириной ленты;

в) пуск конвейера под нагрузкой производится после устранения неисправностей, обнаруженных при холостой работе конвейера.

Загрузка конвейера осуществляется с нарастанием по отношению к номинальной его производительности, по достижении которой конвейер должен работать не менее 2 часов при условии стабильного центрированного хода грузонесущего полотна.

Контролируются: расположение груза на грузонесущем полотне, скорость движения ленты, действие тормозов и натяжного устройства, температура подшипников барабанов, редукторов, электродвигателей, расход электроэнергии, действие средств пробуксовки, сигнализации и управления, устройств для очистки ленты, загрузки и разгрузки конвейера и других вспомогательных механизмов, а также уровень вибрации, шума, пылеобразование.

Результаты испытаний конвейеров оформляются приемо-сдаточным актом и протоколом, в которых дается заключение о годности конвейера к эксплуатации.

После выполнения монтажно-наладочных работ производится пробная эксплуатация (обкатка) конвейера под нагрузкой в течение нескольких рабочих смен под постоянным наблюдением эксплуатационного персонала.

Для обеспечения исправного состояния и работоспособности конвейер должен систематически проходить техническое обслуживание, текущий и капитальный ремонты.

Техническое обслуживание и текущий ремонт производятся, как правило, по эксплуатационной документации завода-изготовителя.

Основными условиями безопасности при эксплуатации конвейеров являются:

а) недопущение таких работ без остановки конвейера, как уборка просыпи, подметание, устранение налипания материала, исправление смещения (сбега) ленты, устранение ее пробуксовки и т.п.;

б) ограждение приводных и натяжных барабанов, тяговых органов при скорости движения грузонесущего полотна больше 0,2 м/с;

в) установка на подвижной каретке натяжной станции двух концевых выключателей: одного - для отключения конвейера при перегрузке тяговых органов, другого - для остановки конвейера при обрыве тягового органа;

г) установка на муфте привода предохранительного пальца, работающего на срез при превышении тягового усилия на 25% от номинального;

д) рациональное устройство загрузочных лотков, воронок и сбрасывателей материала с грузонесущего полотна. Обеспечение равномерной и центрированной подачи (разгрузки) грузов на конвейер (с конвейера);

е) применение устройств, исключающих или уменьшающих необходимость ручного труда (скребки и щетки для удаления налипшего и намерзшего материала и др.);

ж) применение пускового устройства, сблокированного со звуковым сигналом таким образом, что пуск конвейера производится через 1 - 2 минуты после включения сигнала;

з) применение устройства для остановки конвейера из любого места вдоль конвейера со стороны прохода с использованием сигнального троса, натянутого вдоль конвейера;

и) ограждение конвейеров, размещенных над рабочими местами, проходами для людей и проездами для транспортных средств;

к) устройство постоянных переходных мостиков с перилами в местах расположения конвейеров на небольшой высоте от пола;

м) недопущение во время движения шнека проталкивания вручную застрявшего в желобе материала или удаления попавших инородных предметов.

.3 Экологичность

Источник воздействия на атмосферный воздух

Источниками загрязнения атмосферы являются котельная, работающая на газе, участки добычи руды в шахте, транспортирование руды, склады соли, руды, готовой продукции, отделение обогащения, сушильное отделение, цех соли и др.

В результате инвентаризации выявлено 125 источников, из них организованных - 71,оборудовано пылегазоочистными установками - 16. В атмосферу выбрасывается 33 загрязняющих вещества. Разрешенный выброс в атмосферу в целом по предприятию составляет 873,891 т/год.

На предприятии в 2010 году объем выпускаемой продукции составил 1598,6 тыс.т. 95% KCL против 2410,9 тыс.т. 95% KCL.

В 2010 году выброшено в атмосферу от стационарных источников 413,016 т. загрязняющих веществ, что на 23,265 тонн больше, чем в 2008 году. Рост валового выброса загрязняющих веществ произошел за счет выбросов диоксида серы - 73,926 т., оксидов азота - 0,648 т., сажи - 0,342 т. и связан с использованием в качестве топлива для выработки теплоэнергии 1751,4 т. мазута. Использование мазута в качестве топлива обусловлено освобождением резервуаров для проведения капитального ремонта.

При этом снижение объемов производства в 2010 году на 33,7% привело к снижению выбросов в атмосферу: хлорида калия, хлорида натрия, водорода хлористого, оксида углерода, аминов алифатических, оксида железа.

Оценка качественного и количественного состава выбросов загрязняющих веществ в атмосферу проведена с использованием данных прямых инструментальных замеров, проводимых санитарно-промышленной лабораторией ОАО "Уралкалий" ( аттестат № РОСС RU.0001.510968), и расчетными методами в соответствии с Перечнем документов по расчету выделений (выбросов) загрязняющих веществ в атмосферный воздух, рекомендованных к использованию.

Основным источниками загрязнения являются: оксид углерода, летучие органические соединения, диоксид серы, углеводороды,

Обладают негативным воздействием на окружающую среду и организм человека:

Диоксид азота NO2 сильно раздражает слизистые оболочки дыхательных путей.

Оксиды азота NOx могут воздействовать на растения тремя путями:

-прямым контактом с растениями;

-через образующиеся в воздухе кислотные осадки;

-косвенно - путем фотохимического образования таких окислителей, как озон и ПАН.

Прямое воздействие NOx на растения определяется визуально по пожелтению или побурению листьев и игл, происходящему в результате окисления хлорофилла. Окисление жирных кислот в растениях, происходящее одновременно с окислением хлорофилла, кроме того, приводит к разрушению мембран и некрозу. Образующаяся при этом в клетках азотистая кислота оказывает мутагенное действие. Отрицательное биологическое воздействие NOx на растения проявляется в обесцвечивании листьев, увядании цветков, прекращении плодоношения и роста. Такое действие объясняется образованием кислот при растворении оксидов азота в межклеточной и внутриклеточной жидкостях.

SO2- двуокись серы(оксид серы) Люди по-разному реагируют на двуокись серы. Некоторые безболезненно переносят до 4 г сульфита в день (т.е. примерно 50 мг на 1 кг массы тела), а другие уже после приема очень малых количеств жалуются на головные боли, тошноту, понос или ощущение тяжести в желудке. Для переносимости сернистой кислоты, растворённой в вине, большое значение имеет кислотность желудочного сока, - люди, имеющие пониженную или повышенную кислотность, существенно более чувствительны, чем люди с нормальной кислотностью. Связанная сернистая кислота действует на организм, в принципе, так же, как и свободная. Различие заключается лишь в силе и быстроте реакции, что объясняется разной кинетикой.

Субхроническая токсичность. Скармливание крысам 0,5-1% метабисульфита калия в течение 10 дней способствует выведению из организма кальция. Токсичность корма с содержанием 0,6% метабисульфита натрия имеет две фазы. В первые два месяца приёма главными являются нехватка витамина В. В дальнейшем (через 3-4 месяца) действие яда может быть предотвращено приёмом витамина В, лишь частично. Вдобавок наступает диарея. После 3 месяцев приёма 160 мг бисульфита натрия на 1 кг массы тела в день у мышей значительно увеличивался падёж, особенно при недостаточном питании. Наличие в корме у крыс 6-8% метабисульфита натрия в течение 10-56 дней приводило к значительному подавлению роста, уменьшению аппетита и усвоения пищи. Доза свыше 2% вызывала анемию; 1 % сульфита приводил к поражениям различных органов.

При кормлении свиней в течение 15 недель нежелательное влияние на развитие и состояние внутренних органов наблюдалось лишь при концентрации сульфитов 1,7%, но уже при концентрации 0,16% снижалась концентрация тиамина в моче и печени.

Хроническая токсичность. Присутствие 0,5-2% бисульфита натрия в корме крыс в течение года ведёт к поражениям нервной системы, половых органов, костной ткани, почек и других внутренних органов. Концентрация менее 0,25% не приводит к патологическим явлениям (при концентрации свыше 0,1% наблюдается понос). Добавление в корм самцов менее 0,1% бисульфита натрия даже способствует увеличению массы. Добавку 0,12% пиросульфита калия к питьевой воде (что соответствует 30-90 мг SO, на 1 кг массы тела) в течение 20 месяцев крысы перенесли без существенного ущерба для здоровья. Наблюдались лишь рост числа лейкоцитов у самцов, увеличение массы селезёнки у самок и снижение числа детёнышей в помёте. Скармливание 350-700 мг/кг сернистой кислоты в форме метабисульфита натрия трём поколениям крыс не оказало отрицательного влияния на состояние внутренних органов, рост, способность к размножению и массу молодняка. На свиней скармливание до 0,35% метабисульфита натрия в течение 48 недель не оказало никакого действия, но при концентрациях свыше 0,83% возникали различные органические повреждения.

Рисунок 4.1- Диаграмма выбросов от стационарных источников

Источники воздействия на водные объекты

В 2011 году на предприятии выпущено 1646,583 т.т. минеральных удобрений в пересчете на 100% К2О, что на 18,999 т.т. больше, чем в 2010 году.

Таблица 9- Сведения об объемах водопотребления, водоотведения, оборотного и повторного водоснабжения.

Наименование показателей

Ед.изм.

2007

2008

Разница в объемах

Причина изменения

1. Водопотребление

тыс.м3

1134,2

1024,5

-109,7

Сокращение забора камской воды, увеличение объема дождевых и талых вод, использование стоков сушильного отделения

- речной


194,4

162,4

-32,0


- артезианской


939,8

862,1

-77,7

Сокращение объема водопотребления котельным цехом

2. Оборотное водоснабжение

тыс.м3

5094,6

5094,6

0,0


3. Повторное водоснабжение

тыс.м3

738,4

826,5

88,1

Увеличение объема дождевых и талых вод, используемых для повторного водоснабжения

4. Водоотведение






- дренажные сточные из шламохранилища

тыс.м3

456,8

351,3

105,5

Снижение фильтрующей способности шламохранилища

- подземный горизонт

тыс.м3

1609,2

1284,6

324,6

Снижение фильтрующей способности шламохранилища


Таблица 10-Сведения об оснащенности водозаборов и выпусков сточных вод водоизмерительной аппаратурой


Таблица 11- Сравнительная таблица по количеству сброшенных загрязняющих веществ


В оценке фильтрационных потерь рассолов из шламохранилища использована "Инструкция по расчету фильтрационных потерь рассолов из шламохранилища СКРУ-2", ОАО ВНИИГ (г. С.Петербург, 2002г). Годовой коэффициент выноса солей в гидросеть равен 0,25. Разгрузка вод в гидросеть р. Усолка составил 351,3 тыс.м3, что на 105,5 тыс.м3 меньше, чем в 2008 году.

Нормативный объем сброса дренажных вод в р. Усолка 235,7 тыс.м3.

Мероприятия, направленные на охрану водного бассейна р. Усолка в 2010 году выполнены в полном объеме.

Экологическая ситуация в городе неблагоприятная. Особенно неудовлетворительно положение с очисткой промышленных стоков, отличающихся высокой токсичностью. Из 11 очистных сооружений лишь 5 обеспечивают нормальную очистку. Высокой загрязненностью характеризуется и состояние атмосферы. Главная трудность при разработке калийного месторождения - утилизация отходов (поваренная соль).

Анализ экологического состояния гидросферы Березниковско-Соликамского промрайона показывает, что масштабы техногенного воздействия на нее объектов горно-химического производства приводят к загрязнению основной водной артерии Приуралья - р. Камы и трансграничному характеру пространственного распределения поллютантов. По оценке специалистов фирмы "Агрохимбезопасность", общая масса солей, поступающих в Камское водохранилище с речным стоком загрязненных вод Березниковско-Соликамского промрайона, оценивается в 827 тыс. т в год, в т.ч. хлоридов - 319 тыс. т.

Таким образом, можно констатировать, что техногенное воздействие калийных предприятий на экологическую обстановку Березниковско-Соликамского промрайона носит значительные масштабы. Несмотря на активные усилия, предпринимаемые данными предприятиями по утилизации накопленных и вновь образующихся отходов (закладка в выработанное пространство и специальные камеры, строительство полигонов по сбросу избыточных рассолов в поглощающие горизонты) вряд ли можно ожидать в ближайшей перспективе существенного улучшения сложившейся экологической обстановки.

Реконструкция промышленного водоснабжения на РУ-3, устойчивая работа градирни после производственной реконструкции на СОФ РУ-1 позволили снизить водопотребление речной воды за прошедший год на 2546 тыс. куб.м. и сброс загрязненных стоков на 2560 тыс.куб.м.

Несколько увеличилось использование речной оды на производственные нужды РУ-2, что объясняется увеличением выпуска хлористого калия.

Воздействие на почвы

Поверхностные слои почв легко загрязняются. Большие концентрации в почве различных химических соединений - токсикантов пагубно влияют на жизнедеятельность почвенных организмов. При этом теряется способность почвы к самоочищению от болезнетворных и других нежелательных микроорганизмов, что чревато тяжелыми последствиями для человека, растительного и животного мира. Например, в сильно загрязненных почвах возбудители тифа и паратифа могут сохраняться до полутора лет, тогда как в незагрязненных - лишь в течение двух-трех суток.

Основные загрязнители почвы:

Ø  пестициды (ядохимикаты);

Ø  минеральные удобрения;

Ø  отходы и отбросы производства;

Ø  газодымовые выбросы загрязняющих веществ в атмосферу;

Осадка грунта под городом Соликамск составляет 2 мм/год, поэтому львиная доля средств была направлена на закладку солеотходов - 142 млн. рублей (10,318 - из областного бюджета, ровно столько же из городского), а также на поддержание шламохранилищ РУ-1 и РУ-2, газификацию РУ-3, закладку шламов КОФ в шахту, реконструкцию системы промышленного водоснабжения. Эффект от проведенных работ очевиден.

Оценка экологической опасности предприятия

ОАО "Уралкалий" второй год подряд становится Лидером природоохранной деятельности в России. Награждение лауреатов Третьего экологического конкурса состоялось в рамках Третьей Всероссийской экологической конференции "Новые приоритеты национальной экологической политики в реальном секторе экономики", состоявшейся при поддержке Совета Федерации РФ, Государственной Думы РФ, Правительства РФ, Минприроды России и др. в Государственном Кремлевском Дворце в конце ноября.

В этом году участие в конкурсе приняли около 2 000 предприятий страны. По итогам анализа данных по природоохранной деятельности, представленных участниками, были выбраны организации, чей вклад в сохранение экологического баланса регионов значителен.

Решением оргкомитета конференции, за активную деятельность в области охраны окружающей среды и рационального природопользования ОАО "Уралкалий" присвоено звание "Лидер природоохранной деятельности России-2007". Лидерство ОАО"Уралкалия" в природоохранной деятельности подтверждает и Независимое экологическое рейтинговое агентство (НЭРА), исследовавшее экологическую отчетность и степень экологической открытости самых крупных предприятий страны. В рейтинге 100 самых социально и экологически ответственных российских компаний ОАО"Уралкалий" занял третью строчку. ОАО"Уралкалий" стал единственным предприятием Пермского края, вошедшим в первую десятку рейтинга.

Как заявил генеральный директор ОАО "Уралкалий" Владислав Баумгертнер, экологическое направление деятельности на ОАО "Уралкалий" является одним из приоритетных. Ежегодно составляется план мероприятий по охране окружающей среды, который согласовывается в органах Ростехнадзора, Роспотребнадзора, местных органах власти. Собственные затраты акционерного общества на его реализацию в 2010 году составили 456 млн. рублей, в 2011 - 489,5 млн. руб.

В последние годы был реализован ряд мероприятий по снижению антропогенной нагрузки на окружающую среду. Выбросы в атмосферу сократились с 7 850 т в 1994 году до 1750 - в 2006-м, при том, что объемы производства увеличились практически в 3,5 раза.

Особое внимание на предприятии уделяют закладке выработанного пространства шахт. В 2010 году объемы заклады превысили 6 миллионов тонн. В 20011-м этот показатель близится к 7 млн.т. В таких объемах закладку не осуществляет ни одно калийное предприятия в мире.

Разработаны и приняты к реализации три комплексные программы по оздоровлению рек Черная, Поповка, Усолка на период 2006-2011 годы, включающие как научные разработки, так и производственно-технические мероприятия.

В прошлом году на предприятии была внедрена и сертифицирована "ТЮФ СЕРТ" интегрированная система менеджмента, отвечающая требованиям трех международных стандартов: ИСО 9001 по качеству, ИСО 14001 по охране окружающей среды и OHSAS18001 по охране здоровья и безопасности труда. Системный подход к управлению, заложенный в стандартах и применяемый на ОАО"Уралкалии", является действенным механизмом для снижения вероятности рисков, в том числе в области охраны окружающей среды.

5. Экономическая часть

5.1 Расчет экономического эффекта от внедрения

Капитальный ремонт - ремонт, осуществляемый с целью полного или близкого к полному) восстановлению ресурса оборудования с заменой или восстановлением его частей, включая базовые. При проведении капитального ремонта оборудования следует осуществлять модернизацию и усовершенствование отдельных составных частей с целью морального износа.

Ремонт делится на текущий, восстановительный и капитальный. Капитальный - существенный ремонт основных фондов, наибольший по объему вид планового ремонта, при котором производится разборка агрегата, замена всех изношенных деталей и узлов повторяемый не менее чем 1 раз в год (при текущем ремонте агрегат совсем не разбирается, или частично, без замены и ремонта базовых деталей). После капитального ремонта технические параметры машины должны приблизиться к первоначальным. Часто заодно проводится и модернизация .

Модернизация и усовершенствование любого оборудования производится во время проведения капитального ремонта. Капитальный ремонт проводится согласно месячного графика ППР блочным методом. За два месяца до капитального ремонта ленточного конвейера в РМЦ по рабочим чертежам был изготовлен, собран и испытан новый храповый механизм с электромагнитным приводом. В качестве опоры под этот механизм была изготовлена металлическая рама. Храповый механизм и рама были доставлены на склад цеха. После подписания приказа на проведение капитального ремонта ленточного конвейера, ремонтная бригада слесарей-ремонтников и технологических рабочих приступили к следующим работам:

Ø  Останов ленточного конвейера;

Ø  Сдача ленточного конвейера в капитальный ремонт по акту;

Ø  Демонтаж дефектных узлов, деталей и в том числе храпового механизма;

Ø  Замена дефектных узлов и деталей, согласно дефектной ведомости и в том числе металлической рамы и храпового механизма с электромагнитным приводом;

Ø  Выверка, обкатка и сдача ленточного конвейера в эксплуатацию.

До капитального ремонта ленточного конвейера

.        Срок службы храпового механизма - 612 маш-ч.;

.        Количество храповых механизмов за год

8760 / 612 = 14 шт.;

3.      Стоимость одной единицы храпового механизма - 5 500 руб.

.        Стоимость храповых механизмов за год

14 * 5 500 = 77 000 руб.

5. Затраты на установку:

Зарплата рабочих. Для замены старого храпового механизма требуются 4 чел. (2 слесаря 3 и 5 разряда, 2 электрогазосварщика 4 и 5разряда)

Тарифная ставка:

разряд - 63.50 руб.

разряд - 71.30 руб.

разряд - 80.43 руб.

На установку храпового механизма требуется 2 смены. Длительность одной смены 8 часов

разряд :

Тариф: 63.50*8=508руб

Премия 40%: 508*0.4=203.2руб.

Районный коэффициент 15%:

508*0.15=76.2руб.

(508+203.2+76.2)*2=1574.8руб

Подоходный налог 13%:

1574.8*0.13=204.72руб

.8-204.72=1370.07руб

4 разряд:

Тариф: 71.30*8=570.4руб.

Премия 40%: 570.4*0.4=228.16руб.

Районный коэффициент 15%:

570.4*.015=85.56руб.

(570.4+228.16+85.56)*2=1768.24руб.

Подоходный налог 13%:

1768.24*0.13=229.87руб.

.24-229.87=1538.37руб.

5 разряд:

Тариф: 80.43*8=643.44руб.

Премия 40%: 643.44*0.4=257.376руб.

Районный коэффициент 15%:

643.44*.015=96.51руб.

(643.44+257.37+96.51)*2=1994.64руб.

Подоходный налог 13%:

1994.64*0.13=259.30руб.

.64-259.30=1735.34руб.

Общие затраты на установку 1 единицы:

5 500+1370.07+1538.37+1735.34*2=11 879.12руб.

После капитального ремонта

.        Срок службы храпового механизма с электромагнитным приводом - 13 140 маш-ч.;

.        Количество храповых механизмов за год

8760 / 13 140 = 0,67 шт.;

3.      Стоимость одной единицы храпового механизма с электромагнитным приводом - 10 750 руб.

.        Стоимость храпового механизма с электромагнитным приводом за год

0,67 * 10 750 = 6 880руб.

5. Затраты на установку:

Зарплата рабочих. Для установки нового храпового механизма требуются 5 чел. (2 слесаря 3 и 5 разряда, 2 электрогазосварщика 4 и 5разряда, Слесарь КИПиА 3 разряда)

Тарифная ставка:

разряд - 63.50 руб.

разряд - 71.30 руб.

разряд - 80.43 руб.

На установку храпового механизма требуется 2 смены. Длительность одной смены 8 часов

разряд :

Тариф: 63.50*8=508руб

Премия 40%: 508*0.4=203.2руб.

Районный коэффициент 15%:

508*0.15=76.2руб.

(508+203.2+76.2)*2=1574.8руб

Подоходный налог 13%:

1574.8*0.13=204.72руб

.8-204.72=1370.07руб

4 разряд:

Тариф: 71.30*8=570.4руб.

Премия 40%: 570.4*0.4=228.16руб.

Районный коэффициент 15%:

570.4*.015=85.56руб.

(570.4+228.16+85.56)*2=1768.24руб.

Подоходный налог 13%:

1768.24*0.13=229.87руб.

.24-229.87=1538.37руб.

5 разряд:

Тариф: 80.43*8=643.44руб.

Премия 40%: 643.44*0.4=257.376руб.

Районный коэффициент 15%:

643.44*.015=96.51руб.

(643.44+257.37+96.51)*2=1994.64руб.

Подоходный налог 13%:

1994.64*0.13=259.30руб.

.64-259.30=1735.34руб.

Общие затраты на установку 1 единицы:

4500+1370.07*2+1538.37+1735.34*2=18 499.19руб.

Экономический эффект для одного конвейера

77 000 - 10 750 = 66 250 руб.

Экономический эффект на 100 единиц ленточных конвейеров

66 250 * 100 = 6 625 000 руб.

Расчет рентабельности

Rн = 66 250/6880*100%=963% (5.1)

Полученные данные занесем в таблицу 12

Таблица 12 - Расчет экономического эффекта от внедрения храпового механизма

Показатели

Старый вариант

Новый вариант

Изменения

Кол-во храповых механизмов в год

14

0.67

-13.33

Срок службы храпового механизма маш-ч.

612

13140

12528

Стоимость 1 ед. храпового механизма

5 500

10 750

5 250

Затраты на установку

6379.12

7749.19

1370.07

Общие затраты

11 879.12

18 499.19

6 620.07

Экономический эффект 1 ед.

Х

Х

66 250

Экономический эффеки для 100 ед

Х

Х

6 625 000


Заключение

Целью дипломного проекта "Совершенствование системы защиты ленточных конвейеров ОАО Уралкалий" является усовершенствования храпового механизма останова. Основными задачами были:

Ø  проектный расчет храпового механизма;

Ø  изготовление и монтаж храпового механизма.

В результате проведенного капитального ремонта с заменой храпового механизма были улучшены:

Ø  условия труда машиниста конвейра;

Ø  увеличен межремонтный цикл;

Ø  уменьшен объем работы по очистке натяжной станции и приемного лотка от заштыбовки.

Пояснительная записка дипломного проекта состоит из пяти разделов:

В первом разделе были рассмотрены следующие вопросы:

Ø  наначение ,устройство и принцип действия ленточного конвейера и храпового механизма;

Ø  обоснованиепроекта;

Ø  инструкция по рабочему месту машиниста конвейера;

Во втором разделе был выполнен проектный расчет храпового механизма.

В третьем разделе были рассмотрены вопросы:

Ø  по проведению капитального ремонта;

Ø  порядок и методика проведения аттестации рабочего места;

Ø  порядок и схема сертификации работ по требованиям охраны труда;

В четвертом разделе рассмотрены вопросы:

Ø  оценка условий труда при работе на ленточных конвейерах;

Ø  организация работы по обеспечению и созданию безопасных условий труда на ленточных конвейерах;

Ø  вопросы экологии производства.

В экономической части дипломного проекта был рассчитан полученный экономический эффект от усовершенствования храпового механизма в размере :

Ø  на один конвейер - 66 250 руб.;

Ø  на сто конвейеров - 6 625 000 руб.

Рентабельность составила 963%.

Список используемой литературы

1. Анурьев В. И. Справочник конструктора - машиностроителя, том 2.

. Гетия И.Г., Гетия С. И., Емец В. Н., Комиссарова Т. А., Кривенцов С. М., Леонтьева И. Н., Шумилин В. К. Безопасность жизнедеятельности. Практические занятия. - М.: Колос, ИПР СПО, 2002 г., 104 с.,

…83 с.

. . Девисилов В.А. Охрана труда. - М.: ФОРУМ-ИНФРА-М, 2003 г., 400 с., 343…344, 355…360 с.

. Кузьмин А. В. , Марон Ф. Л. Справочник по расчетам механизмов подъемно - транспортных машин. - М.: Высшая школа, 1993 г., 350 с.

. Левинсон В. Н. "Транспортные устройства непрерывного действия"

. Обливин В. Н., Никитин Л. И., Гуревич А. А. Безопасность жизнедеятельности в лесопромышленном комплексе. - М.: МГУЛ, 2001 г., 500 с., 15…21 с.

. Расчеты ленточных конвейеров. Методическое пособие. ГЛАВЦВЕТМЕТНИИПРОЕКТ. Научно - исследовательский и проектный институт механической обработки полезных ископаемых.

. Система технического обслуживания и ремонта оборудования технологических линий по производству целлюлозы, бумаги и картона. - М.: Лесная промышленность, 2001 г., 248 с.

. СКРУ-2 СОФ Отделение обогащения. Установка электромагнитного привода храпового механизма конвейеров поз. 101-1, 101-2. 8-2011 1-5483 00. 00. 00. РР

. Софинский П.И., Торопов Н.И., Маринина Л.К. Охрана труда в химической промышленности . - М.: Химия, 1989. - 496 с.

. Чекалин Н.А., Полухина Г.Н., Чекалина С.А. Охрана труда в электрохозяйствах промышленных предприятий: Учебник для техников. - М.: Энергоатомиздат, 1999. - 256 с.

. Файнбург Г.З., Потемкин В.И. Промышленная безопасность: Учебное пособие для руководителей и специалистов организаций, осуществляющих деятельность в области промышленной безопасности / под ред. проф. Г.З. Файнбурга. Издание 4-е, испр. И доп. ПГТУ, Пермь, 2005.-327с.

. ПБ 03-553-03. Единые правила безопасности при разработке рудных, нерудных и рассыпных месторождений подземным способом, утвержденные Госгортехнадзором России от 13 мая 2003 г. № 30

. Девисилов В.А. Охрана труда. - М.: Форум, 2009. - 496 с

. Зотов Б.И., Курдюмов В.И. безопасность жизнедеятельности на производстве. - 2-е изд., перераб. и доп. - М.: КолосС, 2003. - 432 с.

Похожие работы на - Монтаж храпового механизма

 

Не нашли материал для своей работы?
Поможем написать уникальную работу
Без плагиата!
Без нейросетей!