Монтаж и наладка АСР давления газа на газосборнике коксовых печей
Введение
В последние
десятилетия автоматизация производственных процессов остается одним из главных
направлений развития производства. Эффективность автоматизации проявляется,
прежде всего, в росте производительности труда. Производительность труда представляет
собой выпуск изделий в единицу времени, приходящийся на одного работающего.
Рост производительности труда в автоматизированном производстве по сравнению с
неавтоматизированным достигается за счет двух основных факторов:
. Сокращения
численности работающих. В автоматизированном производстве значительная часть
функций рабочих, техников, инженеров выполняется машинами;
. Сокращения
продолжительности рабочих циклов выпуска изделий. Рабочим циклом называется
повторяющийся отрезок времени, в течение которого в технологическом процессе
осуществляется выпуск одного изделия.
Сокращение
времени рабочего цикла приводит к уменьшению времени производства каждого
объекта и, следовательно, снижаются трудоемкость себестоимость продукции. В
этом состоит главное значение автоматизации. Кроме того, в автоматизированном
производстве стабилизируется качество выпускаемой продукции, повышается
ритмичность ее выпуска, так как уменьшается влияние на производство
субъективных факторов. Автоматизированное производство предъявляет более
высокие требования к квалификации рабочего персонала и способствует ее росту. С
повышением уровня автоматизации улучшаются условия труда (комфортность,
безопасность), он становится более интеллектуальным.
В основе
понятия автоматизации производственных процессов лежит замена физического и
умственного труда человека машинным трудом. Чтобы эта замена была экономически
эффективной, необходимо создание: - технологичных конструкций изделий; - технологических процессов,
оптимальных с точки зрения производительности и себестоимости; - условий технологического обеспечения
качества выпускаемой продукции; - надежных и безопасных устройств автоматизации холостых ходов
рабочего цикла. Поэтому понятие автоматизации производственных процессов
включает комплекс мероприятий, направленных на сокращение числа работающих в
целях повышения эффективности производства, качества продукции и улучшения
условий труда. Очевидно, что автоматизация технологических процессов
представляет собой создание технологий с минимальным участием людей.
Цель
курсового проекта заключается в определении специфических особенностей
коксохимического производства и в качественной проработки проектной и
технической документации.
1. Общая
часть
.1
Характеристика коксовой печи как объекта автоматизации
Сырьём для
коксохимического производства служит каменный уголь, при переработке которого
получают кокс, коксовый газ и ряд химических продуктов. После дробления и
дозирования по массе различных компонентов, взятых в необходимых соотношениях,
из их подготавливают шихту определённого состава.
Коксование -
процесс нагрева и обработки угольной шихты без доступа воздуха в герметичных
камерах коксовых печей. По мере нагревания испаряется влага шихты и повышается
её температура. При этом в начале происходит плавление угля и его первичное
разложение, в процессе которого образуется небольшое количество газообразных
жидких продуктов, и твёрдый остаток - полукокс. При дальнейшем повышении
температуры из полукокса интенсивно выделяются летучие вещества, образуя плотный
однородный и прочный кокс.
Количество и
качество образующихся продуктов определяется температурным режимом коксования.
Коксовая печь
(рис. ХIV-13) представляет собой длинную узкую
камеру из огнеупорного кирпича. Печи группируются в батареи. Между смежными
печами батареи расположены обогревательные простенки, где в вертикальных
каналах горит отопительный газ (доменный или смешанный).
Если печи
отапливают доменным газом, то при подаче из газопровода в обогревательные
простенки он предварительно подогревается в газовом регенераторе. Воздух для
горения газа подогревается в воздушном регенераторе. В то время как часть
каждого регенератора отдает тепло восходящему потоку газа (или воздуха), другая
- нагревается нисходящим потоком продуктов сгорания; периодически происходит
реверсирование газовых потоков.
Угольную
шихту загружают в печи сверху через люки из бункеров загрузочного вагона,
который перемещается вдоль батареи.
С торцовых
сторон у каждой коксовой камеры предусмотрены герметические двери для удаления
готового кокса: с одной (машинной) стороны батареи перемещается
коксовыталкиватель, с другой - (коксовой) тушильный вагон, в который по
окончании процесса коксовыталкиватель выталкивает коксовый пирог из камеры.

В тушильном
вагоне раскаленный кокс отвозят под башню тушения, где его охлаждают водой, а
затем сбрасывают на наклонную рампу, где он высыхает. Охлажденный и высохший
кокс по транспортеру направляют на сортировку.
Режим работы
коксовых печей циклический: загрузка, коксование и выдача периодически
повторяются.
Смесь
выделяющихся в процессе коксования химических продуктов (в виде паров и газов)
называют прямым коксовым газом. Из печей он поступает в газосборник и далее с
помощью газодувок направляется на конденсацию и извлечение ценных химических
продуктов (аммиака, смолы, бензола и др.).
Коксохимия.
Охлаждение газа начинается в стояках и газосборнике при выходе из коксовой печи
(до 80-90° С); при этом начинается и конденсация паров.
Дальнейшая
конденсация паров, смолы и воды достигается после охлаждения газа в трубчатых
или других холодильниках (до 30°С); при этом в конденсате растворяется до 30%
аммиака из газа и большая часть нафталина.
Сконденсировавшиеся
пары смолы и воды стекают в специальную аппаратуру, где смола отстаивается и
выделяется; вода направляется для выделения аммиака.
Охлажденный
газ направляется в машинное отделение, к газодувкам (эксгаустерам). Газодувки
сообщают газу необходимую энергию для преодоления сопротивления трубопроводов и
аппаратуры, через которые должен пройти коксовый газ.
Разрежение на
всосе газодувок обеспечивает транспортирование газа через холодильники,
давление после газодувок - подачу газа через последующие устройства улавливания
из газа аммиака и других ценных продуктов в химических цехах коксохимических
заводов, а также подачу коксового газа к потребителям
Аммиак
улавливают из газа, предварительно подогретого паром до 50-65°С. Это
осуществляется в сатураторе в ходе образования сульфата аммония при реакции
аммиака газа и аммиачных паров с серной кислотой.
Из сатуратора
газ после улавливания содержащихся в нем брызг серной кислоты охлаждается и
направляется в отделение улавливания бензола.
Охлаждение
газа в конечных холодильниках сопровождается выделением из него нафталина.
Сырой бензол
коксового газа - смесь различных соединений, главные из которых бензол, толуол,
ксилол и др. Бензольные углеводороды из коксового газа извлекают в бензольных
скрубберах, поглощая их жидкими поглотителями - маслом.
Масло,
насыщенное бензолом, из скрубберов направляют в бензольную колонну для
отделения бензола. Очищенное масло возвращают в скруббер, а сырой бензол
поступает в отделение дистилляции.
Коксовый газ
из скруббера направляют на очистку его от сероводорода.
Бензольные
углеводороды из насыщенного масляного раствора выделяют при различных
температурах кипения компонентов раствора.
Насыщенный
раствор подогревают паром в дефлегматоре (трубчатом теплообменнике) и
направляют в бензольную колонну, где острый пар, барботнруя через масло,
обогащается парами бензола..
После
охлаждения масло, очищенное от бензола, возвращают в скруббер, а обогащенный
пар поступает в нижнюю часть дефлегматора, где конденсируются и удаляются пары
воды и масла. Не сконденсировавшиеся пары бензольных углеводородов поступают из
дефлегматора в разделительную колонку, для выделения высококипящих фракций
бензола.
Дальнейшее
разделение фракций бензольных углеводородов происходит в последующих
ректификационных колоннах (головной, отпарпой, бензольной, толуольной) в
результате дробной перегонки смеси - последовательного чередования процессов
испарения и конденсации.
.2
Принципиальная схема
Схемы
функциональные разъясняют определенные процессы, протекающие в отдельных
функциональных цепях изделия или в изделии в целом. Этими схемами пользуются
для изучения принципов работы изделия, а также при их наладке, контроле,
ремонте.
Функциональная
схема по сравнению со структурной более подробно раскрывает функции отдельных
элементов и устройств.
Функциональные
схемы являются основным техническим документом, определяющим
функционально-блочную структуру отдельных узлов автоматического контроля,
управления и регулирования технологического процесса и оснащение объекта
управления приборами и средствами автоматизации (в том числе средствами телемеханики
и вычислительной техники).
Объектом
управления в системах автоматизации технологических процессов является
совокупность основного и вспомогательного оборудования вместе с встроенными в
него запорными и регулирующими органами, а также энергии, сырья и других
материалов, определяемых особенностями используемой технологии.
Задачи
автоматизации решаются наиболее эффективно тогда, когда они прорабатываются в
процессе разработки технологического процесса.
При
разработке функциональных схем автоматизации технологических процессов
необходимо решить следующее:
получение
первичной информации о состоянии технологического процесса и оборудования;
непосредственное
воздействие на технологический процесс для управления им;
стабилизация
технологических параметров процесса;
контроль и
регистрация технологических параметров процессов и состояния технологического
оборудования.
Указанные
задачи решаются на основании анализа условий работы технологического
оборудования, выявленных законов и критериев управления объектом, а также
требований, предъявляемых к точности стабилизации, контроля и регистрации
технологических параметров, к качеству регулирования и надежности.
В состав
системы автоматического регулирования входят следующие устройства:
шибер (ШК)
исполнительный
механизм (МЭО)
пускатель
(ПБР-3А)
блок ручного
управления (БРУ-42)
задатчик
(РЗД-22)
сужающее
устройство (ДК)
датчик
разности давления (Метран 100-ДД)
блок питания
(БП-36)
Для измерения
давления используют следующие методы:
Метод
переменного перепада, основан на создании и измерении перепада давления на
сужающем устройстве (сопле, диафрагме), установленном в измерительном
трубопроводе, при протекании потока через это устройство. Перепад давления, по
которому судят о расходе, измеряют с помощью дифманометра.
Динамический
метод, используется только при исследованиях или когда длина не достаточна для
установки сужающего устройства.
Метод
постоянного перепада, менее точен, чем метод переменного перепада.
Скоростной
метод, при его использовании необходима постоянная вязкость вещества.
Объёмный
метод, при его использовании необходимо очищать и подготавливать жидкость перед
измерением.
Поэтому
отдаём предпочтение методу переменного перепада давлений.
Измерение
расхода с высокой точностью возможно только при использовании стандартных
сужающих устройств.
Исходя из
стоимости и диаметра трубопровода выбираем шибер в качестве сужающего
устройства.
Шибер (от
нем. Shieber) - затвор, заслонка. Шиберы широко применяются в промышленности на
трубчатых печах, котлах, топках и т.п., для отсекания потока и регулирования
скорости движения дымовых газов в дымоходах и дымовых трубах и скорости
движения в воздухопроводах различного назначения.
Для выбора
режимы управления применяем блок ручного управления типа БРУ-42.Назначение,
заключается в применении его во всех видах и типах автоматизированных систем
управления любыми разновидностями технологических процессов. Кроме того, их
применяют для переключения и управления цепями, управляющими исполнительными
(рабочими) устройствами. Так же в блок ручного управления БРУ-42 встроен
дистанционный указатель положения.
В проекте
применяем программируемый контроллер Siemens S7-400 - это модульный
программируемый контроллер, предназначенный для построения систем автоматизации
средней и высокой степени сложности. Контроллер помогает выбрать режим
управления, функциональные блоки контроллера могут принимать различные сигналы.
К контроллеру можно подключить компьютер для визуального наблюдения, что
позволяет исключить из схемы вторичные приборы.
Бесконтактный
реверсивный пускатель ПБР-3А предназначен для бесконтактного управления
электрическими исполнительными механизмами, в приводе которых использованы
трехфазные электродвигатели.
Электрический
однооборотный исполнительный механизм (МЭО) предназначен для перемещения
регулирующих органов в системах автоматического регулирования технологическими
процессами в соответствии с командными сигналами автоматических регулирующих и
управляющих устройств.
Функциональная
схема АСР давления на газосборнике коксовой печи представлена на листе 1
графической части проекта. Принципиальная схема такой системы представлена на
листе 2 графической части проекта.
Давление
измеряется с помощью первичного преобразователя давления Метран-100 ДД (поз.
1а), сигнал с которого по проводам 1 и 2 поступает на входной аналоговый модуль
SM 431 A1 16 программируемого контроллера Seimens S7-400 (поз. PLS).
Так же на вход контроллера приходит сигнал задания от ручного задатчика типа
РЗД-22 (поз.1в) по проводам 3 и 4. Сигналы в контроллере в аналоговом модуле
ввода преобразуются в цифровую форму, удобную для восприятия процессора CPU, сигнал сравнивается с заданием и
рассчитывается управляющее воздействие по стандартному алгоритму
ПИД-регулирования.
В
автоматическом режиме из СРU
сигналы поступают на дискретный модуль вывода SM421 DO 16,
управляющее воздействие по проводам 5 и 6 поступает на перекидные контакты
блока ручного управления типа БРУ-42 (поз. 1г), далее по проводам 8, 7, 9
поступает на пускатель бесконтактный реверсивный типа ПБР-3А (поз. 1д). В
дистанционном режиме БРУ-42 питается от ПБР-3А (поз.1д), а управление
осуществляется кнопками больше «Б» и меньше «М», через перемычки. Командный
сигнал передается через конечные выключатели блока датчика, на обмотку
двигателя исполнительного механизма типа МЭО (поз. 1е), который предназначен
для отключения привода исполнительного механизма при достижении регулирующим
органом крайнего положения, а также ограничения перемещения РО. Выходной вал
МЭО сочленяется с РО (поз. 1ж) меняя его положение, которое отслеживается
дистанционным указателем положения, встроенным в БРУ.
нагревательный колодец
монтаж коксовый
2.
Специальная часть
.1
Рекомендации по монтажу АСР температуры рабочего пространства нагревательного
колодца
.1.1Монтаж
первичных преобразователей
Отборное устройство устанавливают на прямолинейных участках на
достаточном расстоянии от местном сопротивлении. При измерении давления газовых
сред отборное устройство устанавливают в верхней части трубопровода. Импульсные
линии прокладывают с уклоном в сторону отбора, чтобы образующийся конденсат
стекал в трубопровод.
Если манометр устанавливается ниже трубопровода, то в нижней части
импульсной линии устанавливается конденсатосборник. Если измеряется давление
жидкости, то отбор отбирается немного выше оси трубопровода, чтобы в импульсные
линии не попадали пузыри и шлам. Типовое отборное устройство обычно состоит из
бобышки, приваренной к трубопроводу, штуцера, который ввёртывается в бобышку, и
запорного вентиля к которому подключают соединительную импульсную линию. Если
давление в трубопроводе не превышает 16 кг/см2 (1,6 Па), то трубопроводу можно
приваривать штуцер без бобышки. Материал штуцера и бобышки должен быть такой же
как и у трубопровода. Вид запорной арматуры так же зависит от давления температуры,
и характера среды. Если давление не превышает 64 кг/см2, то манометр
устанавливают на трёхходовом кране, пробка которого может занимать 4 положения,
что позволяет осуществить продувку отборного устройства без отключения
манометра, а так же осуществить проверку установки стрелки на нулевую отметку и
показания манометра в рабочей точке.
Если
температура рабочей среды выше 70оС при установке манометра в месте отбора не
обходимо применять сифон или спиральный патрубок, где жидкость или конденсат
остывают.
Для измерения
давления запылённых газовых сред отборное устройство снабжают циклонами, в
которых взвешенные частицы за счёт внезапного расширения потока и изменении его
направления оседают в нижней части циклона или проникает в импульсные линии.
Сами циклоны периодически очищаются.
Основываясь
на общей рекомендации отборное устройство, представляет собой штуцер,
приваренный к трубопроводу. Т.к. давление на измеряемом участке не превышает
1,6 МПа, штуцер приваривают без бобышки. Материал штуцера должен быть такой же
марки, что и материал трубопровод. На штуцере устанавливают запорный вентиль
отключения импульсной линии.
.1.2 Монтаж
внешних соединительных линий
Трубные и
электрические проводки обеспечивают связь между отдельными элементами систем
автоматического контроля, регулирования и управления производством.
Трубные
проводки систем КИП и средств автоматизации представляют собой комплекс труб,
соединительных и присоединительных устройств, арматуры, крепежных и
установочных деталей, узлов и конструкций, проложенных и закрепленных по
элементам зданий, сооружений и технологическом оборудовании.
Трубные линии
обеспечивают связь между элементами автоматического контроля и регулирования.
Различают три категории трубных проводок систем автоматизации:
Соединительные-импульсные
и командные проводки, связывающие элемент автоматизации с измерительными
приборами и преобразователями, а так же остальные элементы систем
автоматизации;
Вспомогательно-питающие,
сливные, обогревающие и т.д.;
Защитные -
для прокладки в них электрических проводов и кабелей.
Трубные
проводки, работающие под избыточным давлением >10 МПа, называют трубными
проводками высокого давления; работающие под абсолютным давлением более 4,66
кПа - трубными проводками низкого вакуума.
В проекте используются импульсные и защитные проводки.
Импульсные
трубные проводки - проводки, передающие импульсы от отборных и приемных
устройств к чувствительным элементам приборов и средств автоматизации.
Защитные
трубные проводки - проводки, защищающие электрические провода и кабели от
механических воздействий и атмосферных влияний.
Максимальная
протяжённость импульсных линий составляет 50 метров, а линии для передачи
пневматических сигналов 300 м. При прокладке трубных линий, что бы избежать
появления газовых и гидравлических пробок, трубы должны прокладывать с уклоном.
Выбираем
трубы стальные бесшовные из углеродистой стали по ГОСТ 8734-75, диаметром 20 мм
с толщиной стенки 2 мм. Т.к. в проекте используются одиночные трубы, то они
прокладываются вдоль стен, по колоннам.
Несущие
конструкции - это опорные скобы и мостики. Крепежные элементы - это хомуты,
полухомуты, одинарные и двойные скобы.
Трубные
проводки соединяют различными скобами в зависимости от условий их работы.
Импульсные трубные проводки соединяют сваркой, защитные проводки - при помощи
муфт.
Прокладывать
трубы рекомендуется с наименьшим числом поворотов, без резких изгибов. Трубные
проводки всех назначений размещают на расстоянии 25-30 мм от стен зданий,
сооружений, колонн и т.п..
Для
соединения различных элементов систем контроля и автоматики применяют
соединительные линии, называемые электрическими проводками. Под электрической
проводкой понимают совокупность проводов и кабелей с относящимися к ним
различными креплениями, опорами, поддерживающими и защитными конструкциями.
В качестве
электрических проводок могут быть использованы электрические провода и кабели с
медными и алюминиевыми жилами.
Для передачи
информационных и управляющих сигналов применяют кабели контрольные с
алюминиевой жилой, с поливинилхлоридной оболочкой и изоляцией жил, без
наружного покрова АКВВГ. Число жил - 10.
Прокладка
соединительных линий осуществляется по схеме внешних проводок. Схема внешних
соединений является сводным чертежом, на котором показывают связи первичных
приборов, исполнительных устройств и других устройств с щитами, пультами,
контроллерами, а также вспомогательные устройства, входящие в схемы проводок.
Схема внешних
соединений АСР давления газа на газосборнике коксовых печей представлена в
графической части проекта на листе 3.
.1.3 Монтаж и
коммутация приборов на щите
Для данной
системы регулирования на щите монтируются: ручной задатчик РЗД-22, пускатель
ПБР-3А и блок ручного управления БРУ-42. Так как щит будет устанавливаться в
щитовом помещении, то предполагается использовать щит панельный каркасный типа
ЩПК 2200Х600, установленный на расстоянии 1100 мм от стены.
Ручной
задатчик и блок ручного управления относятся к приборам утопленного монтажа и
имеют фланец на передней стороне с глухими отверстиями. Под эти приборы делаются
вырезы на высоте 1500 и 1000 мм соответственно. Приборы вставляют в вырезы до
упора и крепят с обратной стороны упорными винтами. Для установки пускателя, на
задней стенки панели приваривают планку на высоте 800 миллиметров от пола. В
планку вкручиваются винты на расстоянии 170 мм друг от друга, на которые
подвешивается пускатель.
Внешние линии
подключаются к сборкам коммутационных зажимов, количество которых составляет 20
штук.
Коммутационные
зажимы типа ЗК-Н и ЗК-П, установленные на специальной рейке.
Для
закрепления и маркировки приборов в коммутационные зажимы на рейках
устанавливают колодки маркировочные типа КМ. Непосредственно жилы кабелей и
проводов к зажимам присоединяют следующим образом: к блокам зажимов при
выполнении проводок одно- или многопроволочным медными проводами с сечением
площадью до 2,5 мм2 - штырем; в случае присоединения к контактам приборов и
аппаратуры - пайкой, с помощью наконечников или винтов. Наконечники и пистоны
закрепляют на жилах проводов и кабелей пайкой или опрессовкой. Перед пайкой
жилы обслуживают, а перед опрессовкой смазывают кварцевазелиновой пастой.
Приборы и
регулирующие устройства должны поступать с заводов-изготовителей в комплекте с
крепежными изделиями. При соблюдении этих условий монтаж приборов регулирующих
устройств затруднений не вызывает.
2.2
Рекомендации по наладке АСР
.2.1
Статическая и динамическая настройка регулятора
Статическая и
динамическая настройка включает в себя следующие работы:
) Определение
статических и динамических характеристик объекта.
) Расчёт по
полученным данным настроек регулятора.
) Определение
статических настроек регулятора.
) Установку и
включение регулятора в работу с рассчитанными значениями настроек.
)
Корректировку параметров настройки на действующем технологическом оборудовании.
По
динамической характеристике определяем параметры объекта:
) Коэффициент
передачи статического объекта КОБ. Он представляет собой изменение выходной
величины объекта при переходе из начального в новое установившееся состояние,
отнесенное к единичному возмущению на входе. Максимальный в условиях
эксплуатации коэффициент передачи объекта управления
КОБ = 5
Па/%х.р.о.
) Постоянная
времени ТОБ. ТОБ - это условное время, в течение которого выходная величина
изменилась бы от начального до нового установившегося значения, если бы это
изменение происходило со скоростью, постоянной и максимальной для данного
переходного процесса. ТОБ = 5,8 с
)
Запаздывание tоб.
Запаздывание определяется временем, необходимым для передачи возмущающего
воздействия.
tОБ =2 с Технологами
заданы следующие показатели качества:
)
Максимальное допустимое динамическое отклонение X1 = 30 Па
) Допустимое
остаточное отклонение δ = 10 Па
) Предельно
допустимое время регулирования tрег =
25 с
)
Максимальное возмущение по каналу регулирования
Умаx = 15% х.р.о.
Выбираем
закон регулирования.
Тип
регулятора выбираем исходя из соотношения τоб/Тоб
τоб/Тоб = 2/5,8 = 0,344 с
Таблица 1 -
Тип регулятора
|
|
Релейный
|
Непрерывный
|
Импульсный
|
|
0,25
|
< 0,2
|
0,2 ÷1
|
>1
|
Выбираем
непрерывный регулятор.
Далее
рассчитываем динамический коэффициент регулирования
(1)
Для данного
объекта регулирования нежелательно иметь большие и длительные отклонения
регулируемой величины от заданного значения, ориентировочно выбираем типовой
переходный процесс с 20%-ым перерегулированием.
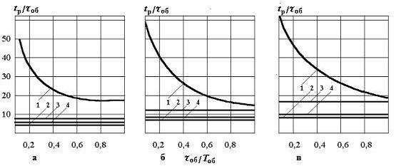
По рисунку
3(б) определяем точку, соответствующую полученному Rд. Все кривые лежащие ниже этой точки соответствуют законам
регулирования удовлетворяющее заданное требование.

а-апериодический
процесс; б-процесс с 20 %-ным перерегулированием; в- процесс с min
dt; 1-И регулятор; 2-П регулятор; 3- ПИ регулятор; 4-ПИД
регулятор Рисунок 2 - График выбора закона регулирования при статических
объектах
Определили
что можно использовать П-, ПИ-, ПИД-законы регулирования.
Проверяем возможность использования П-регулятора. Для этого по рисунку 4
(б) определяем прогнозируемое время регулирования tрег.
Рисунок 3 - Относительное время регулирования на статических объектах
(обозначения те же, что на рис.2)
tрег/tоб = 25/2=12,5 (2)
tрег
=12,5 tоб = 12,5×5,8 = 72,5 < 40 c.
Проверяем возможность использования ПИ-регулятора.
tрег =
72,5 < 650 c.
Прогнозируемое время регулирования меньше заданного значения, поэтому
выбираем для работы ПИ-регулятор.
По табличным формулам таблицы 2 определяем приближенные настройки
регулятора.
Кр = 0,7/
КОБ(tоб / Тоб) (3)
Кр = 0,7/ 5(
2/5,8)=0,406 %х.р.о./ С°
Ти =0,7 Тоб (4)
Ти = 0,7 ·
5,8 = 4,06 с
Таблица 2 -
Формулы для определения настроек регуляторов на статических объектах
|
Регулятор
|
Типовойпереходный процесс
|
|
Апериодический
|
С 20 %-ным перерегулированием
|
Min
|
|
И
|
|
|
|
|
П
|
|
|
|
|
ПИ
|
Ти=0,6 Тоб
|
Ти=0,7 Тоб
|
|
ПИД
|
Ти=2,4 Тпр=0,4
|
Ти=2,0 Тпр=0,4
|
Ти=1,3 Тпр=0,5
|
При динамической настройке регулятора, осуществляем последовательное
изменение параметра настройки.
Строим переходный процесс при первоначальном значении коэффициента
регулирования Кр, затем увеличиваем и уменьшаем эти значение на 20 %.
При изменении параметров настроек регулятора на 20 %, значение выходной
величины меняется не значительно.
Статическая настройка включает в себя определение зоны нечувствительности
регулятора. По инструкции на эксплуатацию регулирующих устройств зона
нечувствительности выбирается в пределах 1,6 - 2,4 %, принимаем зону
нечувствительности 2%. а для определения диапазона действия задатчика,
воспользуемся статическими характеристиками датчика и задатчика.
а) б)
Рисунок 4: а - Статическая характеристика датчика; б - Статическая
характеристика задатчика
Для расчёта диапазона действия задатчика используются статические
характеристики датчика и задатчика. Полный диапазон действия задатчика (50%)
2,5мА. Этот ток соответствует изменению расхода на 80 Па/ч. Следовательно, при
повороте ручки задатчика на 1% задание регулятору изменится на 1,6 Па/ч.
Динамическую настройку регулятора следует производить методом
организованного поиска (пошаговым).
2.2.2 Расчет
регулирующего органа и исполнительного механизма

Рисунок 5 -
Технологическая схема
Исходные
данные:
Регулируемая
среда - коксовый газ
Состав газа: N2= 8,3% Н2=50% СО=8% О2=1,7% СН4=30%
СН12=12%
Давление в
коксовой батареи Рни= 15 кг/м2
Давление
после вентиля В1 Рки= 11 кг/м2
Температура
газа t = 300˚С
Максимальный
расход Qн max= 500 м3/ч
Минимальный
расход газа Q н min = 300 м3/ч
Внутренний
диметр трубопровода Дтр = 1400 мм
Степень
открытия вентиля В1 = 80%
Найдем
недостающие данные:
Абсолютное
давление вначале участка
Рн = Рни +
1,033 (5)
Рн = 0,00015
+ 1,033 = 1,03315 кгс/см2
.2 Абсолютное
давление в конце участка
Рк = Рки +
0,103 (6)
Рк =
0,00011+1,033= 1,03311 кгс/см2
Абсолютная
температура среды
Т1 = t + 273 (7)
Т1 = 300 +
273 = 573˚К
Расчетный
максимальный расход в нормальных условиях
Q`нmax = 1,1 · Q н max (8)
Q`нmax = 1,1 ·
500 = 550 м3/ч
Определение
перепада давления на РО при расчетных максимальных расходах.
Q/max1=
=
= 1075,6 м3/ч (9)
2.2 Плотность
коксового газа
(10)
= 0,5284 кгс/
Плотность
газа в рабочих условиях
.3
Динамическая вязкость среды определяется по формуле
(12)
кгс/
.3 Скорость в
трубопроводе при максимальном расходе:
ωmax1=
(13)
ωmax1=
= 0,19 м/с
2.4 Число
Рейнольдса:
Rе1 = 0.0361*
(14)
Rе1 =0.0361*
= 3610340,1168
Так
как 3610340,1168>2320, следовательно, поток турбулентный.
.4
Определяем коэффициент трения:
λ1=
(15)
.5
Потери давления на трение при расчетном максимальном расходе для части
трубопровода до регулирующего органа:
ΔРТ1=
; (16)
ΔРТ1=
= 0,00009 кгс/м2
.6
Сумма коэффициентов местных сопротивлений трубопровода до регулирующего органа:
Σξ1=ξ1+ ξ2+…+ξn (17)
Σξ1 = 0,5+0,15=0,65
.7
Потери давления в местных сопротивлениях в трубопроводе до регулирующего
органа:
ΔРМ1=
; (18)
ΔРМ1=
= 0,000005 кгс/м2
2.8 Потери
давления в линии до регулирующего органа
ΔР1= ΔРТ1+ ΔРМ1 (19)
ΔР1=0,00009+ 0,000005 = 0,000012 кгс/м3
.9 Абсолютное
давление перед РО
Р1=Рн - ΔР1 (20)
Р1=1,03315-0,000012=1,03195
кгс/см2
.10 Расчетный
максимальный расход до регулирующего органа
Р2=Р1-0,3(Рн-Рк) (21)
P2
=1,03195-0,3(1,03315-1,03311)=1,031938 м3/ч
Q/max2 = Q/нmax
= 550
= 1076,8188 м3/ч (22)
.11
Динамическая вязкость при Р2 и Т2
μ2 = μ1
.12 Скорость
в трубопроводе при максимальном расходе в условиях Р2 и Т2
ωmax2=
(23)
ωmax2=
= 0,1944 м/с
.13
Число Рейнольдса после РО
Rе2 = 0,361*
(24)
Rе2 = 0.0361*
= 36484,35
Так
как 36484,35>2320, следовательно, поток турбулентный.
.14
Определяем коэффициент трения
λ2= λ1
.15
Потери давления на трение при расчетном максимальном расходе для части
трубопровода после регулирующего органа:
ΔРТ2=
(25)
ΔРТ2=
=0,000003 кгс/м2;
Σξ2=ξ1+ ξ2+…+ξn (26)
Σξ2 =0,8
2.17 Потери
давления в местных сопротивлениях в трубопроводе после регулирующего органа:
ΔРМ2=
(27)
ΔРМ2=
*0,1380= 0,000002 кгс/м2
.18
Потери давления в линии после регулирующего органа:
ΔР2= ΔРТ2+ ΔРМ2 (28)
ΔР2=0,000003+0,000002=0,000005кгс/м2;
.19
Суммарные потери давления на рабочем участке:
ΔРЛmax= ΔР1+ ΔР2 (29)
ΔРЛmax =0,000012+0,000005= 0,000015 кгс/м2;
.20
Перепад давления на регулирующем органе при максимальном расчетном расходе:
ΔРР.О.= РН- Рк- ΔРЛmax (30)
ΔРР.О. =1,03315-1,03311-0,000015=0,000025 кгс/см2;
2.21
Определяем условную пропускную способность:
Кvmax=
(31)
Кvmax =
= 3292,4 м3/ч;
.22 Условная
пропускная способность
Кvy = Кη · Кvmax (32)
Кvy = 1,25*3292,4 = 4115,5 м3/ч.
Ближайшее
большее значение 6000 м3/ч Ду = 500 мм.
2.23 Вид
регулирующего органа - шибер
Выбираем
условный диаметр регулирующего органа, соответствующий расчетному значению
пропускной способности Кvy
Т.к. Ду
соответствует условию
,25Дтр ≤
Ду ≤ Дтр ;
≤ 500 ≤
1400
то он
удовлетворяет заданным значениям. Выбираем шибер с Ду 500 мм.
3. Техника
безопасности при монтажных и наладочных работах
В проекте
производства работ (ППР) или технологической записке должны быть разработаны
мероприятия по безопасному выполнению монтажных работ на монтажной площадке и
отдельных рабочих местах. Производить монтажные работы без ППР или
технологических записок не разрешается.
На монтажной
площадке до начала работ должны быть установлены места прохода и проезда, а
также определены зоны, опасные для работы.
Перед началом
работы с электроинструментом необходимо проверить: исправность выключателя и
заземления; затяжку винтов, крепящих узлов и деталей электроинструмента;
исправность редуктора (путем проворачивания шпинделя рукой при отключенном
электродвигателя); состояние переносных проводов (целость изоляции, отсутствие
излома жил).
До начала
работы с пневмоинструментом необходимо проверить его исправность согласно
инструкции, а также убедиться в том, что: соединение шлангов между собой
выполнено при помощи ниппелей и места соединений укреплены бандажами; шланги не
имеют повреждений и надежно закреплены на штуцерах; вставной инструмент
(например, сверло) правильно заточен и не имеет дефектов. Запрещается
натягивать, перегибать и перепутывать шланги; прекращать подачу воздуха к
инструменту ˝переламыванием˝ воздушным шлангом или завязыванием
их узлом; присоединять и разъединять до прекращения подачи в них воздуха;
исправлять пневмоинструменты во время работы. Работы с применением
пневмоинструмента следует проводить в оттапливаемых помещениях при температуре
не ниже 14-16˚С.
Электро- и
газосварочные аппараты, в том числе газогенераторы и керосинорезы,
устанавливают в стороне от проходов и проездов. Рабочие места электросварщиков
следует отделять экранами (ширмами) от смежных рабочих мест и проходов.
Для выполнения
работ наладчика обеспечивают спецодеждой, соответствующей характеру выполняемых
работ, исправными инструментами и приспособлениями. При выполнении наладочных
работ на строящемся предприятии запрещается находиться на строительной площадке
без защитных касок. Точно должны быть определены зоны, где допускается
проведение работ, и пути прохода к рабочим местам. Не допускается использовать
для подхода к рабочему месту и в процессе выполнения работ временные мостики,
доски, нестандартные лестницы, а также лифты, подъемники, устройства,
предназначенные для подъема, спуска или транспортировки грузов.
В помещениях
производственных баз обеспечивают нормальные условия работы. Их оснащают
средствами индивидуальной защиты и аптечками первой помощи.
Запрещается
крепить настилы, подмости и канаты непосредственно к смонтированному
оборудованию и технологическим трубопроводам. В зимнее время настилы и подмости
посыпают пеком или шлаком.
При прокладке
трубных проводок в непосредственной близости от действующих электропроводок,
когда расстояние от них меньше длины наибольшего блока труб, производить работы
по монтажу таких блоков при включенном напряжении запрещается.
При прокладке
кабеля вручную все рабочие должны находиться по одной стороне прокладываемого
кабеля.
Прокладывать
кабели в непосредственной близости от действующих кабельных линий должны не
менее двух рабочих. Выполнять работы можно лишь после двустороннего отключения
кабельных линий, проверки на концах кабеля отсутствия напряжения, проверки
заземления брони и вывешивания плакатов «Не включать - работают люди!».
Перекладывать,
отводить или сдвигать кабели, а также переносить муфты, находящиеся под
напряжением, до их отключения и разрядки запрещается.
Работы по
монтажу первичных преобразователей и отборных устройств выполняют
непосредственно на технологических установках в производственных цехах
различных по своему назначению объектов. Как правило, в этот период
строительство объектов закончено, но в эксплуатацию они не сданы, поэтому
служба техники безопасности на таких объектах еще не организована надлежащим
образом.
Список
литературы
1) В.А. Скрипчинко. Основы
автоматизации производства. М., «Металлургия», 1993 - 253 с.
) Проектирование систем контроля и
автоматического регулирования металлургических процессов. Пособие по курсовому
и дипломному проектированию/Под ред. Г.М. Глинкова - М.: Металлургия, 1986 -
352с.
) М.Д. Климовицкий, А.П.Копелович.
Автоматический контроль и регулирование в черной металлургии. М.,
«Металлургия», 1967 - 787 с.
) А.Ф. Попов. Монтаж, эксплуатация и
ремонт контрольно-измерительных и регулирующих приборов. М., «Машиностроение»,
1969 - 359с.;
) П.М. Казьмин. Монтаж, наладка и
эксплуатация автоматических устройств химических производств. М., «Химия», 1972
- 261с.
) Гольцман В.А. Приборы контроля и
средств автоматики тепловых процессов: 2 - е изд., перераб. И доп. - М.: Высш.
Школа, 1980.
) Б.З. Барласов, В.И. Ильин. Наладка
приборов и систем автоматизации. М., «Высшая школа», 1985 - 304с.;
) К.И. Котов, М.А. Шершевер.
Промышленные системы автоматизации металлургических агрегатов. М. Металлургия
1980 - 256 с.