|
Номер группы двухваловой
передачиIIIIII
|
|
|
|
|
Число лучей в группе
|
|
|
|
|
Расхождение лучей
|
|
|
|
Из полученных вариантов структурных сеток видно, что вариант с
веерообразной структурой под номером 1 является наиболее подходящим, так
как при использовании этого варианта в области высоких чисел оборотов
обеспечиваются лучшие условия работы зубчатых передач и их компактное
расположение.
Из выбранной структурной сетки составляем передаточные отношения:
2.3 Построение
графика чисел оборотов и определение числа зубьев шестерни
Определение передаточных чисел
Для построения графика чисел оборотов необходимо в каждом из соотношений
выбрать передаточное число, тогда определятся все остальные значения. Выбор i должен производиться так, чтобы его
значение не выходило за допускаемый предел:
.
· Для первой двухваловой передачи принимаем:
Передаточные отношения находятся в допускаемых пределах.
· Для второй двухваловой передачи принимаем:
Передаточные отношения находятся в допускаемых пределах.
· Для третьей двухваловой передачи принимаем:
Передаточные отношения находятся в допускаемых пределах.
· Передаточное отношение ременной передачи:
Определение чисел оборотов
Число оборотов двигателя:
Число оборотов на втором валу:
Числа оборотов на третьем валу:
Числа оборотов на четвертом валу:
Числа оборотов на пятом валу (на шпинделе):
График чисел оборотов
По полученным данным строим график чисел оборотов(рис.15)

Определение зубьев шестерни
Составляем таблицу, в которую занесём передаточное отношение и
соотношение чисел зубьев, с помощью которых эти соотношения достигаются.
Коробка скоростей
По полученным данным строим коробку скоростей:
Рис. 16 Коробка скоростей.
3. Расчет
зубчатых передач коробки скоростей станка
.1 Определение
мощности и передаваемых крутящих моментов на шпиндель станка
Определение мощности на шпинделе станка
Где
- пары подшипников качения;
- прямозубых цилиндрических колёс двухваловых передач;
Определение крутящих моментов, передаваемых от электродвигателя на
шпиндель станка
Крутящий момент электродвигателя:
Крутящий момент, передаваемый от электродвигателя на вал I:
Крутящие моменты, передаваемые с вала I на вал II:
Крутящие моменты, передаваемые с вала II на вал III:
Крутящие моменты, передаваемые с вала III на вал IV:
Так как главная редукция происходит на последней ступени (шпиндель станка
наиболее нагружен), то дальнейший расчет проводим для двухваловой передачи,
имеющей передаточные числа
и
. Для упрощения, расчет будем проводить для передаточного
числа
.
3.2 Выбор материала зубчатых колес
В зависимости от вида изделия, условий его эксплуатации и требований к
габаритным размерам выбираем необходимый материал.
Согласно справочнику [1] принимаем материал для колес сталь 40Х
улучшенную.
Твердость сердцевины: HB =
269-302,
Твердость поверхности: HB =
269-302,
Предел текучести: σт=7500 МПа.
3.3 Определение
допускаемых напряжений
Контактное напряжение:
Напряжение на изгиб:
3.4 Определение
межосевого расстояния
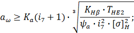
Межосевое расстояние рассчитываем по следующей формуле:
где: Ка= 4950 - (для прямозубых колёс );
i - передаточное отношение передачи;
КHb - коэффициент концентрации нагрузки;
ТНЕ2 - эквивалентный момент (Н×м);
Yа -
коэффициент; [s]Н -
допускаемое напряжение (Па).
Согласно справочнику [1] коэффициенты принимаем равными:
При симметричном расположении колес Yа
= 0,15;
При постоянной нагрузке
;
где: КНД - коэффициент долговечности принимаем равный, КНД
=1;
максимальный крутящий момент на валу IV;
Определяем по формуле:
;
Подставляем все значения в формулу и определяем межосевое расстояние:
Округляем межосевое расстояние до стандартного значения и принимаем:
Находим модуль передачи:
Определяем модуль зацепления m:
m - для прямозубых колес принимают равным 6,6;
b2 - ширина колеса
FD-коэффициент, принимаем равным 1
Определяем предварительно делительный диаметр шестерни по формуле :
мм;
Значит модуль передачи:
мм;
Из стандартного ряда справочник
подбираем значение модуля m = 5.
3.5 Определение
ширины венцов зубчатых колес
Ширина колес зубчатой передачи находим по формуле:
3.6 Определение
диаметров зубчатых колес
Находим:
Ø Делительный диаметр колеса:
;
Ø Диаметр вершины зубьев da
Ø Диаметр впадин зубьев df:
3.7 Проверка
зубьев зубчатых колес на выносливость
Проверка на выносливость по контактным напряжениям
Рис.17 Силы в зацеплении.
Силы, действующие в зубчатой передаче показаны на рис. 17
Находим окружную силу
:
Н;
Радиальная сила
:
;
H;
Проверка зубьев колес по напряжениям изгиба:
где для прямозубых колес
;
Степень точности передачи принимают по табл. 2.5 [1] зависимости от
окружной скорости колеса:
(м/с);
степень точности выбираем равной 9.
где
коэффициент концентрации нагрузки,
(табл. 2.6 [1]);
коэффициент динамической нагрузки,
(табл. 2.7 [1]);
;
коэффициент формы зуба,
(табл. 2.8 [1]);
эквивалентная окружная сила.
где
коэффициент долговечности,

Н;
Подставляем значения в формулу и находим
:

Проверка зубьев колес по контактным напряжениям:
где: для прямозубых колес
;
;
;
(табл. 2.3 [1]);
(табл. 2.9 [1]);
Прочность зубьев на контактную усталость обеспечена.
4. Расчет
шпинделя
.1 Расчет
диаметров шпинделя
Диаметр шпинделя определяем по формуле:
,
Полученное значение округляем до стандартного значения d=50 мм;
Полученное значение округляем до стандартного значения dn=60 мм;
,
Полученное значение округляем до стандартного значения d=70 мм;
;
Где: d - диаметр вала под муфту;
dп - диаметр вала под подшипником;
dk - диаметр вала под колесом;
dбп - диаметр буртика подшипника;
r -
координата фаски подшипника;
t -
высота буртика;
- момент на шпинделе.
4.2
Выбор материала шпинделя
Вал имеет шлицы, по которым перемещается блок зубчатых колес z15-z16. Вал вращается в подшипниках качения. Для обеспечения
достаточной износостойкости трущихся поверхностей принимаем сталь 20Х.
Термообработка - цементация и закалка трущихся поверхностей до HRC58-62.
Механические свойства этой стали:
· σв=6500 кг/см2;
· σт=4000 кг/см2;
· Предел выносливости при симметричном цикле изгиба σ-1=3000 кг/см2;
· Предел выносливости при кручении τ-1=1600 кг/см2;
· Коэффициент ψσ=0,05;
· Коэффициент ψτ=0.
.3
Основной расчет шпинделя
Крутящий момент передаваемый валом(max)
.
Окружная сила:
Н;
Радиальная сила
;
Н;
Вертикальная плоскость
Рис.18.
;
;
Найдём реакции опор:
Н ;
;
;
Н;
Момент на валу:
Н·м;
Горизонтальная плоскость
Рис.19.
;
;
Найдём реакции опор:
Н ;
;
;
Н;
Момент на валу:
Н·м;
Максимальный изгибающий момент:
;
Находим реакции опор:
;
Рассчитываем максимальные напряжения при изгибе и кручении σm и τm:
Для вала применим термически обрабатываемую среднеуглеродистую сталь 45.
;
;
где:
- момент сопротивления при изгибе;
- момент сопротивления при кручении.
м3;
м3;
Подставляя полученные значения в формулы получим:
Н/м2 ;
Н/м2.
Проведем проверку вала на прочность по третьей теории прочности:
Подставляем полученные значения в формулу:
;
Па.
Получаем, что
, что удовлетворяет условию прочности
4.4
Расчет вала на
усталостную прочность
Коэффициент запаса прочности по изгибу:
где:
, так как цикл нагрузки симметричный;
где:
- предел выносливости вала по нормальным напряжениям в
рассматриваемом сечении;
- предел выносливости гладких образцов при симметричном цикле
изгиба,
Па;
- коэффициент концентрации напряжений для данного сечения
вала:
где:
- эффективный коэффициент концентрации напряжений,
(табл. 10.9 [1]);
-коэффициент влияние шероховатости,
(табл. 10.4 [1]);
- коэффициент влияния поверхностного упрочнения,
(табл. 10.5 [1]).
Подставляя значения из таблиц в формулы получим:
;
;
.
Коэффициент запаса прочности по кручению:
;
где:
; (табл. 10.2 [1]),
,
;
где:
- предел выносливости вала по касательным напряжениям в
рассматриваемом сечении;
- предел выносливости гладких образцов при симметричном цикле
кручения,
Па (табл. 10.2 [1]);
- коэффициент концентрации напряжений для данного сечения
вала:
;
где:
- эффективный коэффициент концентрации напряжений;
(табл. 10.9 [1]);
-коэффициент влияние шероховатости,
(табл. 10.4 [1]);
- коэффициент влияния поверхностного упрочнения,
(табл. 10.5 [1]).
Подставляя значения из таблиц в формулы получим:
;
Суммарный коэффициент запаса прочности
,
где
-допускаемое значение коэффициента запаса прочности , которое
обычно принимают
.
5. Расчет
подшипниковых узлов
Так как применяются прямозубые зубчатые передачи, выбираем радиальные
однорядные шариковые подшипники типа 312 по ГОСТ 8338-57.
Радиальная нагрузка на подшипники:
Найдем радиальные нагрузки на каждый из подшипников:
;
Дальнейший расчет ведем по максимальной силе Fr1.
Эквивалентная динамическая радиальная нагрузка:
;
Где: V - коэффициент учитывающий, что
вращается внутреннее кольцо, V=1;
Кб - коэффициент безопасности, Кб=1,5
(табл.7.3(2));
КТ - температурный коэффициент, КТ=1.
Требуемая динамическая грузоподъемность подшипника:
;
Где: L10h - требуемая долговечность, определяемая режимом и
продолжительностью работы,
часов;
- число оборотов вала, n=46об/мин;
p=3
для шариковых подшипников.
Для данного типа подшипников Сp=64,1 кН; 19,7
кН<64,1 кН;
Таким образом, СТр<Ср, подшипниковый узел
работоспособен.
Общие выводы
станок узел скорость шпиндель
При выполнении данного курсового проекта поставленная цель была
выдержана, а именно: расчёт кинематики коробки скоростей токарно-винторезного
станка модели 1К620.
В данном проекте были рассмотрены различные аспекты расчёта коробки
скоростей станка модели 1К620 за счёт увеличения количества чисел оборотов
шпинделя с z =5 до z = 18. Это позволяет более оптимально назначать режимы
резания для обработки заготовок. А также рассчитаны следующие параметры:
мощность на шпинделе 8,8 кВт, диапазон числа оборотов на шпинделе 46 ÷
2306 об/мин, интервал
крутящих моментов 29 ÷ 926 Н
м. После чего была произведена проверка зубчатых колёс
рассчитываемой коробки скоростей на выносливость и полный расчёт шпинделя
станка с проверкой его на усталостную прочность. При этом суммарный коэффициент
запаса прочности S = 8.
Следовательно, условие запаса прочности выполняется S ≥ [S] =
1,3…2.
В результате расчёта были выбраны шарикоподшипники радиальные однорядные
312 для диаметра внутреннего кольца d = 60 средней серии из стандартного ряда по ГОСТ 8338-57 с учётом
действующей радиальной нагрузки и эквивалентной радиальной нагрузки.
Модернизация коробки скоростей станка сегодня очень актуальна, т.к. при
одной и той же его конструкции станок может выполнять более сложные
технологические операции, которые к тому же и экономически обоснованы, потому
что время на основное производство значительно сокращается.
Таким образом, данный курсовой проект является завершённой работой,
потому как произведённый расчёт может быть внедрён в непосредственно в
производство.
Литература
1. Дунаев П.Ф., Леликов О.П. Конструирование узлов и
деталей машин., учебное пособие для вузов. Издание 4-е, М.: Высшая школа 1985г.
. Анурьев В.И. Справочник
конструктора-машиностроителя.., том 2 Издание 5-е, М.: Машиностроение, 1979г.
. Андреев В.И. Справочник
конструктора-машиностроителя. том 3 М.: Машиностроение,1993г.
. Расчет и конструирование металлорежущих станков.
Москва М.: Машиностроение 1967г.
. Кучер А.М., Киватицкий М.М., Покровский А.А.
Металлорежущие станки (альбом общих видов, кинематических схем и узлов).
Изд-во: "Машиностроение", 1972г.
. Черпаков Б.И., Вереина Л.И. Технологическое
оборудование машиностроительного производства. 2-е изд.,М: Издательский центр
"Академия", 2006г.