Методика определения кинематической вязкости с помощью капиллярного вискозиметра
Методика
определения кинематической вязкости с помощью капиллярного вискозиметра
Содержание
1. Назначение и область применения
методики
. Характеристики погрешностей
измерений
. Средства измерения,
вспомогательные устройства и материалы
. Метод измерения
. Требования безопасности и охраны
окружающей среды
. Требования к квалификации
операторов
. Условия измерений
. Выполнение измерений
. Обработка результатов измерений
. Контроль погрешности результатов
измерений
. Оформление результатов измерений
Приложение А. Типы вискозиметров
Приложение Б. Определение поправки
на кинетическую энергию
Приложение В. Термометры для
определения кинематической вязкости
Приложение Г. Библиография
1. Назначение и область применения методики
Стандарт устанавливает метод определения
кинематической вязкости n жидких нефтепродуктов, прозрачных и непрозрачных
жидкостей измерением времени истечения определенного объема жидкости под
действием силы тяжести через калиброванный стеклянный капиллярный вискозиметр.
Динамическую вязкость h вычисляют как произведение кинематической вязкости
жидкости на ее плотность r.
Примечание: Полученные результаты зависят от
поведения образца и применимы к жидкостям, для которых напряжение сдвига
пропорционально скорости деформации (поведение ньютоновских жидкостей). Однако
вязкость значительно изменяется со скоростью сдвига, и при использовании
вискозиметров с различным диаметром капилляров могут быть получены различные
результаты. В стандарт также включена методика и показатели точности для
остаточных жидких топлив, которые в определенных условиях проявляют свойства
«неньютоновских» жидкостей.
Ньютоновская жидкость - жидкость, вязкость
которой не зависит от касательного напряжения и градиента скорости. Если
отношение касательного напряжения к градиенту скорости непостоянно, жидкость не
является ньютоновской.
. Характеристики погрешностей измерений
Метод капиллярной вискозиметрии вполне можно
отнести к высокоточному методу вискозиметрии в силу того, что относительная
погрешность измерений составляет доли процента, в зависимости от подбора
материалов вискозиметра и точности отсчёта времени, а также иных параметров,
участвующих в методе капиллярного истечения.
Относительная погрешность измерений при
использовании капиллярного вискозиметра составляет 0,1-2,5%.
Предел допускаемой основной приведенной
погрешности, %: капиллярные промышленные и лабораторные стационарные ±1,0;
±1,5; ±2,0.
Должен присутствовать держатель, обеспечивающий
строго вертикальное крепление вискозиметра, у которого верхняя метка
расположена непосредственно над нижней, с погрешностью не более 1°С по всем
направлениям. Если верхняя метка вискозиметра отклонена относительно нижней,
погрешность отклонения от вертикали не должна превышать 0,3°С по всем
направлениям.
Калибровку поверенных вискозиметров проводят в
условиях лаборатории по указанной в стандарте методике, используя
сертифицированные стандартные образцы вязкости. Если разность измеренной
кинематической вязкости эталона и значения, приведенного в сертификате на него,
превышает ±0,35 %, необходимо проверить каждый этап испытания, включая
калибровку термометра и вискозиметра для выявления причины ошибок.
Примечание: Самыми обычными причинами ошибок
являются частицы пыли в отверстии капилляра и погрешность в измерении температуры.
Правильный результат, полученный на сертифицированном эталоне, не исключает
возможных источников ошибок.
Постоянная вискозиметра С зависит от
гравитационного ускорения в месте калибровки и, следовательно, указывается
лабораторией по стандартизации вместе с постоянной вискозиметра. Если ускорение
силы тяжести g отличается более чем на 0,1 %, постоянную калибровки
корректируют по формуле:
. Индексы 1 и 2
соответственно обозначают лабораторию по стандартизации и испытательную
лабораторию.
3. Средства измерения, вспомогательные
устройства и материалы
Вискозиметры стеклянные капиллярные,
калиброванные, обеспечивающие измерение кинематической вязкости. Типы
вискозиметров и описание работы с ними приведены в приложении А.
Для каждого диапазона вязкости необходимо иметь
набор вискозиметров. Допускается использовать автоматические вискозиметры.
При измерении кинематической вязкости менее 10
мм2/с и времени истечения менее 200с вводят поправку на кинематическую энергию.
Определение поправки приведено в приложении Б.
Держатель, обеспечивающий строго вертикальное
крепление вискозиметра, у которого верхняя метка расположена непосредственно
над нижней, с погрешностью не более 1°С по всем направлениям.
Если верхняя метка вискозиметра отклонена
относительно нижней, погрешность отклонения от вертикали не должна превышать
0,3° по всем направлениям.
Вертикальность вискозиметра оценивается по
верхней половине широкого колена.
Примечание: Необходимое соответствие
вертикальных частей можно проверить с помощью отвеса, но в прямоугольных банях
со светонепроницаемыми краями данный способ не пригоден.
Баня с регулируемой температурой достаточной
глубины, чтобы в момент измерения расстояния от образца в вискозиметре до
верхнего уровня жидкости в бане и от образца до дна бани были не менее 20мм.
Для наполнения бани используют прозрачную жидкость, которая остается в жидком
состоянии при температуре испытания.
Температуру бани регулируют таким образом, чтобы
(для каждой серии определений времени истечения) в интервале от 15 до 100°С
температура в бане не менялась более чем на ±0,02°С по всей высоте
вискозиметров или в пространстве между вискозиметрами и местом расположения
термометра. Для температур, находящихся вне указанного интервала, изменения
температуры не должны превышать ±0,05°С.
В зависимости от температуры для заполнения
термостата используют следующие реактивы:
от минус 60 до 15°С - спирт этиловый технический
или спирт этиловый ректификованный, или изооктан технический;
от 15 до 60°С - дистиллированную воду;
свыше 60 до 90°С - глицерин, разбавленный водой
1:1, или светлое нефтяное масло;
свыше 90°С - 25%-ный раствор азотнокислого
аммония.
Для охлаждения жидкостей в термостате применяют
лед, твердую углекислоту (сухой лед), жидкий азот. При отсутствии термостата
для определения вязкости при температуре ниже 15°С допускается применять
прозрачные сосуды Дьюара соответствующей вместимости.
Устройство для измерения температуры. Для
диапазона измерения от 0 до 100°С применяют калиброванные жидкостные стеклянные
термометры (приложение В) с точностью после корректировки не менее ±0,02°С или
выше или другие термометрические устройства равноценной или более высокой
точности. Если в одной и той же бане используются два термометра, показания их
при этом не должны отличаться более чем на 0,04°С.
Примечание: При применении калиброванных
жидкостных стеклянных термометров рекомендуется использовать два термометра.
Для измерения температур вне диапазона от 0°С до
100°С следует использовать калиброванные жидкостные стеклянные термометры с
точностью после корректировки ±0,05°С и выше, а при применении двух термометров
в одной и той же бане их показания не должны отличаться более чем на ±0,1°С.
При измерении температуры в термостате (бане)
при частичном погружении контрольного термометра, градуированного на полное
погружение, в показания контрольного термометра вводят поправку (Dt) на
выступающий из термостата (над поверхностью жидкости в бане) столбик жидкости в
термометре Dt = Kh (t1 - t2), где К - коэффициент, равный для ртутного
термометра 0,00016, для спиртового - 0,001; h - высота выступающего столбика
ртути или спирта, выраженная в градусных делениях шкалы термометра; t1 -
заданная температура в термостате, °С; t2 - температура окружающего воздуха
вблизи середины выступающего столбика ртути или спирта, °С (определяется
вспомогательным термометром, резервуар которого находится на середине высоты
выступающего столбика).
Для определения истинной температуры жидкости в
термостате поправку алгебраически прибавляют к показанию термометра.
Устройство для измерения времени, дающее
возможность отсчета времени до 0,1 с (или с меньшим делением) и имеющее
погрешность с точностью ±0,07%, когда снимают показания в интервале от 200 до
900с.
Допускается использование секундомеров с ценой
деления 0,2с. Точность таймера регулярно проверяют.
Примечание: Допускается использование
электрических устройств для измерения времени, если частота тока контролируется
с точностью не ниже 0,05%. Переменный ток (в некоторых коммунальных сетях)
контролируется скорее периодически, чем постоянно, что может быть причиной
значительной ошибки при измерении вязкости.
Для проверки таймеров пригоден стандартный
частотный сигнал радиовещательной или телефонной сети. Такие сигналы подходят
для измерения времени, если они имеют точность 0,1с.
Шкаф сушильный, обеспечивающий температуру от
100 до 200°С.
Сито с размером отверстий 75 мкм.
Воронки или тигли фильтрующие.
4. Метод измерения
Сущность метода заключается в измерении
калиброванным стеклянным вискозиметром времени истечения, в секундах,
определенного объема испытуемой жидкости под влиянием силы тяжести при
постоянной температуре. Кинематическая вязкость является произведением
измеренного времени истечения на постоянную вискозиметра.
. Требования безопасности и охраны окружающей
среды
Безопасность эксплуатации вискозиметров следует
обеспечивать: изоляцией электрических цепей вискозиметров в соответствии с
нормами;
размещением составных частей вискозиметров,
находящихся под напряжением в корпусе, обеспечивающем защиту обслуживающего
персонала от соприкасания с деталями, находящимися под напряжением.
Вискозиметры (классов защиты 01 и 1 по ГОСТ
12.2.007.0) должны иметь зажимы защитного заземления металлического корпуса и
световую индикацию сетевого напряжения.
Требования к защитным заземлениям вискозиметров,
предназначенных для эксплуатации в районах с тропическим климатом, должны
соответствовать ГОСТ 15151.
Вискозиметры или их отдельные блоки, для
безопасной работы с которыми необходимо принять особые меры, указанные в
эксплуатационной документации, должны иметь на передней панели или около
частей, представляющих собой опасность, знаки безопасности по ГОСТ 12.4.026.
Вискозиметры взрывозащищенного исполнения должны
иметь вид взрывозащиты по ГОСТ 22782.0.
6. Требования к квалификации операторов
К выполнению измерений допускаются лица,
отвечающие следующим требованиям:
прошедшие обучение, инструктаж на рабочем месте
и стажировку по специальности, получившие квалификацию товарного оператора не
ниже четвертого разряда и имеющие допуск к самостоятельной работе;
изучившие настоящие рекомендации,
эксплуатационную документацию на резервуар (паспорт, технологическую карту) и
применяемые средства измерений.
7. Условия измерений
Регулируют и поддерживают необходимую
температуру испытания в бане для вискозиметров, с учетом условий, описанных в
приложении В, и поправок, приведенных в сертификатах калибровки термометров.
Инструкции по применению различных типов
вискозиметров приведены в приложении А .
Термометры должны крепиться вертикально, при том
же погружении, как и при калибровке.
Примечание: Чтобы при измерении температур
получить наиболее достоверные данные, рекомендуется использовать два термометра
с сертификатами по калибровке. Показания должны рассматриваться с помощью
объективов, дающих примерно пятикратное увеличение, установленных так, чтобы
исключить ошибки углового смещения между видимым и реальным направлением
изображения.
Берут два чистых сухих калиброванных вискозиметра
с пределами измерения, соответствующими предполагаемой вязкости (для вязкой
жидкости - с большим капилляром, для маловязкой - с маленьким капилляром).
Время истечения жидкости должно быть не менее 200с.
Примечание: В отдельные операции при определении
вязкости вносятся изменения в зависимости от типа вискозиметра.
Если температура испытания ниже точки росы, то
во избежание конденсации воды необходимо к открытым концам вискозиметра
присоединить осушающие трубки с наполнителем. Осушающие трубки должны
соответствовать конструкции вискозиметра и не ограничивать течение образца под
давлением, создаваемым в вискозиметре.
Перед помещением вискозиметра в баню заполняют
образцом рабочий капилляр и расширительную часть вискозиметра, сливают его еще
раз в целях дополнительного предотвращения конденсации влаги или замерзания ее
на стенках.
Вискозиметры, используемые для анализа
силиконовых, фторуглеродных и аналогичных жидкостей (их сложно удалить моющими
средствами), следует сохранять для определения вязкости только таких жидкостей,
но, ни в коем случае не применять их при калибровке.
Для таких вискозиметров необходимо часто
проверять данные, полученные при калибровке, причем растворитель после промывки
таких вискозиметров не следует использовать для очистки других вискозиметров.
. Выполнение измерений
Определение кинематической вязкости прозрачных
жидкостей.
. Вискозиметр заполняют испытуемым
нефтепродуктом в соответствии с формой аппарата (приложение А) аналогично тому,
как это осуществлялось при калибровке вискозиметра, и помещают в баню. Если в
образце содержатся твердые частицы, то при загрузке его фильтруют через сито с
размером отверстий 75мкм, стеклянный или бумажный фильтр. При наличии в
нефтепродукте воды его сушат безводным сульфатом натрия или прокаленной
крупнокристаллической поваренной солью, или прокаленным хлористым кальцием и
фильтруют через бумажный фильтр. Вязкие продукты допускается перед
фильтрованием подогревать от 50 до 100°С.
Примечание: Для прозрачных жидкостей используют
вискозиметры типов А и Б, перечисленные в таблице А.1.
Для продуктов, поведение которых аналогично
гелю, измерения должны проводиться при достаточно высоких температурах для
обеспечения свободного истечения и получения идентичных результатов при
использовании вискозиметров с различным диаметром капилляров.
Наполненный вискозиметр выдерживают в бане до
тех пор, пока он не прогреется до температуры испытания. Если одна баня
используется для нескольких вискозиметров, нельзя погружать или вынимать
вискозиметры из бани, пока хотя бы один вискозиметр находится в рабочем
состоянии. Так как время нахождения в бане будет меняться в зависимости от
оборудования, температуры и кинематических вязкостей, время температурного
равновесия достигается экспериментально.
Примечание: Обычно достаточно 30мин, кроме
определений очень высоких значений кинематических вязкостей.
После того, как образец достиг температурного
равновесия, доводят объем образца до требуемого уровня, если этого требует
конструкция вискозиметра.
. Используя подсос (если образец не содержит
летучих веществ) или давление, устанавливают высоту столбика образца в
капилляре вискозиметра до уровня, находящегося приблизительно на 7 мм выше
первой временной метки, если в инструкции по эксплуатации вискозиметра не
установлено другое значение.
При свободном истечении образца определяют с
точностью до 0,1с время, необходимое для перемещения мениска от первой до
второй метки. Если время истечения меньше установленного минимального,
подбирают вискозиметр с меньшим диаметром капилляра и повторяют определение.
Повторяют определение, описанное в 1.2, для
получения второго значения и записывают результат.
Если два измерения согласуются с установленной
величиной определяемости, то рассчитывают среднее арифметическое значение двух
измерений времени истечения. Если же два измерения не согласуются, следует
повторить определение после тщательной очистки и сушки вискозиметра и
фильтрации образца.
Определение кинематической вязкости непрозрачных
жидкостей.
. Отбор проб и предварительная обработка.
Очищенные цилиндрованные и темные смазочные
масла подготавливают для получения представительного образца. На кинематическую
вязкость остаточных топлив (мазутов) и аналогичных парафинистых продуктов может
повлиять предыдущая тепловая обработка.
Примечание: Для непрозрачных жидкостей
используют вискозиметры обратного потока типа В, приведенные в таблице А.1.
Нагревают образец в контейнере в течение 1ч при
температуре (60±2) °С.
Образец тщательно перемешивают соответствующим
стержнем достаточной длины, чтобы он касался дна контейнера. Перемешивают до
тех пор, пока не будет осадка или прилипания парафина к стержню.
Плотно закрывают контейнер и энергично
встряхивают в течение 1 мин до полного перемешивания.
Примечание: Для образцов с высоким содержанием
парафинов или высокой кинематической вязкостью необходимо увеличить температуру
нагрева выше 60°С для достижения тщательного перемешивания. Образец должен быть
достаточно жидким, чтобы его было удобно перемешать и встряхнуть.
После достижения текучести образца и завершения
процедур наливают образец в стеклянную колбу вместимостью 100см3 в количестве,
достаточном для заполнения двух вискозиметров, и неплотно закупоривают.
Погружают колбу на 30 мин в баню с кипящей
водой.
Примечание: При наличии воды в масле перед определением
образец необходимо осушить. При нагревании непрозрачных жидкостей, содержащих
значительное количество воды, необходимо проводить нагревание до более высоких
температур. При этом может произойти энергичное вскипание образца.
Колбу вынимают из бани, плотно закупоривают и
встряхивают 1мин.
. Заполняют два вискозиметра и помещают в баню в
соответствии с конструкцией аппарата. Например, в поперечных или BS V-образных
вискозиметрах для испытания непрозрачных жидкостей образец фильтруют через
фильтр с отверстиями размером 75мкм в два вискозиметра, предварительно поместив
их в баню. Если образец перед испытанием подвергают тепловой обработке, то
используют предварительно подогретый фильтр, чтобы таким образом предотвратить
коагуляцию образца во время фильтрации.
Примечание: Перед заполнением вискозиметры
необходимо предварительно подогреть в шкафу, так как это дает гарантию, что
образец не остынет ниже требуемой при испытаниях температуры.
Через 10мин устанавливают объем образца (где
этого требует конструкция вискозиметра), совпадающий с отметками заполнения
вискозиметра, как указано в спецификации вискозиметра.
Заполненный вискозиметр выдерживают в бане до
тех пор, пока он не прогреется до температуры испытания. Если одну баню
используют для нескольких вискозиметров, нельзя погружать или вынимать
вискозиметры из бани, пока хотя бы в одном вискозиметре проводится измерение
времени истечения.
. Для образца, находящегося в свободно текущем
состоянии, время измеряется с точностью до 0,1с. Это время требуется для
прохождения образца от первой отметки вискозиметра до второй. Результат
регистрируют. Если образцы требуют предварительной тепловой обработки, на
определение вязкости затрачивается 1ч, включая тепловую обработку.
. Из двух определений рассчитывают среднее
арифметическое значение кинематической вязкости n, мм2/с.
Для остаточных жидких топлив (мазутов), если два
определения находятся в пределах установленного значения определяемости,
рассчитывают среднее арифметическое значение двух измерений, которое затем
используют для вычисления кинематической вязкости. Полученное при вычислении
значение кинематической вязкости записывают. Если два определения не
согласуются, то определение повторяют после тщательной очистки и сушки
вискозиметра и фильтрования образца. Результат регистрируют.
Примечание: Для других непрозрачных жидкостей
данные показатели точности не применяют.
. Обработка результатов измерений
Кинематическую вязкость n, мм2/с, рассчитывают
по формуле: n = Ct, где С - калибровочная постоянная вискозиметра, мм2/с2; t -
среднее арифметическое значение времени истечения, с.
Динамическую вязкость h, МПа·с, рассчитывают на
основании кинематической вязкости по формуле: h = nr 10-3, где r - плотность
при той же температуре, при которой определялась кинематическая вязкость,
кг/м3; n - кинематическая вязкость, мм2/с.
Примечание: Плотность образца можно определять
соответствующим методом и затем скорректировать к температуре определения.
10. Контроль погрешности результатов измерений
Определяемость d
Этот метрологический термин характеризует
повторяемость результатов измерения времени истечения испытуемого продукта в
одном и том же вискозиметре.
Расхождение между последовательными
определениями времени истечения, полученными одним и тем же оператором в одной
и той же лаборатории на одной и той же аппаратуре на серии операций, приводящих
к единственному результату при нормальном и правильном выполнении метода
испытания в течение длительного времени, может превысить значение, приведенное
в таблице 1, только в одном случае из двадцати.
Сходимость r
Расхождение результатов двух последовательных
определений кинематической вязкости, полученных одним и тем же оператором,
работающим на одном и том же приборе при постоянных условиях, на одном и том же
продукте при нормальном и правильном выполнении метода испытания, может
превысить значение, приведенное в таблице 1, только в одном случае из двадцати.
Воспроизводимость R
Расхождение между двумя единичными и
независимыми результатами испытаний кинематической вязкости, полученными
разными операторами, работающими в разных лабораториях на идентичном
исследуемом материале в течение длительного времени при нормальном и правильном
выполнении метода испытания, может превысить значение, приведенное в таблице 1,
только в одном случае из двадцати.
При определении кинематической вязкости
нефтепродуктов допускается применять термостаты или термостатирующие
устройства, обеспечивающие заданную температуру с погрешностью не более ±0,1°С
при температуре от минус 30 до плюс 150°С и ±0,25°С при температуре от минус 60
до минус 30°С, а также термометры TЛ-4 № 1-4 и метеорологические низкоградусные
термометры, при этом допускаемые расхождения между определениями по времени
истечения испытуемого продукта не должны превышать значений, указанных в
таблице 2.
Таблица 2
За результат испытания принимают среднее
арифметическое результатов кинематической вязкости в двух вискозиметрах, если
расхождение между ними не превышает значений, указанных в таблице 3.
Таблица 3
Протокол испытания содержит следующие данные:
а) характеристику испытуемого продукта;
б) ссылку на настоящий стандарт;
в) результат испытания;
г) любое отклонение, по соглашению или другим
документам, от установленной методики;
д) дату испытания.
. Оформление результатов измерений
Приложение А
Типы вискозиметров
Типы вискозиметров приведены в таблице А.1. В
таблице А.1 приведен перечень капиллярных вискозиметров, обычно применяемых для
определения вязкости нефтепродуктов.
Таблица А.1
Описание работы с вискозиметрами
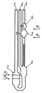
Вискозиметр Канон-Фенске (рисунок А.1)
В чистый сухой вискозиметр вносят пробу
нефтепродукта следующим образом:
На трубку 2 надевают резиновую трубку, трубку 1
погружают в сосуд с нефтепродуктом и нефтепродукт засасывают (с помощью
резиновой груши, водоструйного насоса или другим способом) до метки M2, при
этом необходимо следить, чтобы в жидкости не образовались пузырьки воздуха. В
момент, когда уровень жидкости достигает метки М2, вискозиметр вынимают из
сосуда и быстро устанавливают в нормальное положение. Снимают с внешней стороны
конца трубки 1 избыток жидкости и надевают на этот конец резиновую трубку.
Вискозиметр помещают в термостат. Выдержка в термостате должна быть достаточно
длительной. Расширение 3 должно находиться ниже уровня жидкости в термостате.
После выдержки в термостате жидкость засасывают в расширение 4 приблизительно
на 3 мм выше метки M1. Определяют время перемещения мениска жидкости от метки
M1 до метки М2.
А.2.2 Вискозиметр типа Пинкевича (ВПЖ-4, ВПЖТ-4
и ВПЖ-2, ВПЖТ-2), рисунки А.2 и А.3
Рисунок А.1 - Вискозиметр типа Канон-Фенске
Рисунок А.2 - Вискозиметр типа Пинкевича (ВПЖТ-4,
ВПЖ-4)
Рисунок А.3 - Вискозиметр типов ВПЖТ-2, ВПЖ-2
На отводную трубку 3 надевают резиновую трубку.
Далее, зажав пальцем колено 2 и перевернув вискозиметр, опускают колено 1 в
сосуд с нефтепродуктом и засасывают его (с помощью резиновой груши,
водоструйного насоса или иным способом) до метки М2, следя за тем, чтобы в
жидкости не образовались пузырьки воздуха. В момент, когда уровень жидкости
достигает метки М2, вискозиметр вынимают из сосуда и быстро перевертывают в
нормальное положение. Снимают с внешней стороны конца колена 1 избыток жидкости
и надевают на него резиновую трубку. Вискозиметр устанавливают в термостат так,
чтобы расширение 4 было ниже уровня жидкости. После выдержки в термостате не
менее 15 мин засасывают жидкость в колено 1 примерно до 1/3 высоты расширения
4. Соединяют колено 1 с атмосферой и определяют время перемещения мениска
жидкости от метки М1 до М2.
Вискозиметры типов ВПЖТ-1, ВПЖ-1 (БС/ИП/СЛ)
(рисунок А.4)
Испытуемый нефтепродукт наливают в чистый
вискозиметр через трубку 1 так, чтобы уровень ее установился между метками М3 и
М4. На концы трубок 2 и 3 надевают резиновые трубки, при этом первая из них
должна быть снабжена краном, вторая - краном и резиновой грушей. Вискозиметр
устанавливают вертикально в жидкостном термостате так, чтобы уровень
термостатирующей жидкости находился на несколько сантиметров выше расширения 4.
При температуре опыта вискозиметр выдерживают не
менее 15 мин, после чего всасывают (грушей) при закрытой трубке 2 жидкость выше
метки М1 примерно до середины расширения 4 и перекрывают кран, соединенный с
трубкой 3. Если вязкость нефтепродукта менее 500 сСт, открывают кран на трубке
3 и потом освобождают зажим на трубке 2. При более вязких нефтепродуктах
сначала открывают трубку 2, затем измеряют время понижения уровня жидкости в
трубке 2 от метки М1 до M2. Необходимо при этом обращать внимание на то, чтобы
к моменту подхода уровня жидкости к метке М1 в расширении 5 образовался
«висячий уровень», а в капилляре не было пузырьков воздуха.
Вискозиметр типа Убеллоде (рисунок А.5)
В чистый сухой вискозиметр вносят пробу
нефтепродукта следующим образом:
Вискозиметр отклоняют на 30° от вертикального
положения так, чтобы сосуд 7 оказался под капилляром. С помощью заполнительной
трубки 1 вносят пробу так, чтобы ее уровень достиг нижней метки М4. Потом
вискозиметр возвращают в нормальное положение, следя за тем, чтобы уровень
жидкости не превышал верхней метки М3. При заполнении вискозиметра пробой в
жидкости не должны образовываться пузырьки воздуха.
Вискозиметр с пробой помещают в термостат. Через
20 мин выдержки на трубку 3 надевают резиновую трубку, трубку 2 закрывают
пальцем и пробу засасывают до половины расширения 4. Потом трубку 2 открывают,
ждут, пока проба перетечет из трубки 2 в сосуд 6 и образуется «висячий
уровень».
Освобождают трубку 3 и измеряют время
перемещения мениска жидкости от метки M1 до M2.
Вискозиметры типов ВНЖ, ВНЖТ
(Канон-Фенске-Опакв) (рисунок А.6)
На отводную трубку 3 надевают резиновую трубку.
Зажав пальцем колено 2 и перевернув вискозиметр, опускают колено 1 в сосуд с
нефтепродуктом и засасывают его (с помощью резиновой груши, водоструйного
насоса или иным способом) до метки М4, следя за тем, чтобы в жидкости не
образовались пузырьки воздуха.
В тот момент, когда уровень жидкости достигает
метки М4, вискозиметр вынимают из сосуда и быстро перевертывают в нормальное
положение. Снимают с внешней стороны конца колена 1 избыток нефтепродукта и
надевают кусочек резиновой трубки длиной 8-15 см с присоединенным закрытым
краном или зажимом. Затем открывают кран для заполнения жидкостью резервуара 6
и вновь его закрывают, когда жидкость заполнит приблизительно половину
резервуара 6. Вискозиметр устанавливают в термостат и после необходимой
выдержки в нем (20 мин) открывают колено 1 и, пользуясь двумя секундомерами,
измеряют время течения жидкости от метки M1 до M2 и от метки M2 до M3.
По измеренному времени заполнения резервуара 5
вычисляют вязкость. Измеренное время заполнения резервуара 4 служит для
контроля. Значения вязкости, вычисленные по времени заполнения резервуаров 5 и
4, могут отличаться до 2 %, а при температуре ниже 15 °С - до 3 %.
А.2.6 Вискозиметр типа БС/ИП/РФ (рисунок А.7)
Рисунок А.4 - Вискозиметр типов ВПЖТ-1, ВПЖ-1
(БС/ИП/СЛ)
Рисунок А.5 - Вискозиметр типа Убеллоде
Рисунок А.6 - Вискозиметр типов ВНЖ, ВНЖТ (Канон-Фенске-Опакв)
Вискозиметр помещают в термостат так, чтобы
верхняя метка M4 находилась под уровнем жидкости в термостате приблизительно на
3 см, а капилляр был в точно вертикальном положении. Вискозиметр выдерживают в
термостате. С помощью пипетки вносят в трубку 1 пробу (проба может быть
подогретой), следя за тем, чтобы не намочить стенки вискозиметра над меткой M4
и чтобы в жидкости не образовались пузырьки воздуха.
Как только уровень жидкости достигнет положения
приблизительно на 5 мм ниже метки M3, закрывают трубку 2 и останавливают
течение жидкости.
Пробу доливают до метки М4 и выдерживают в
термостате 20-30 мин.
Освобождают трубку 2 и доводят уровень пробы до
метки М3. Трубку 2 снова закрывают. С помощью пипетки с предохранительным
упором устанавливают пробу над меткой М4. Упор на пипетке должен находиться на
такой высоте, чтобы при введении пипетки в трубку 1 и соприкосновении упора с
краем трубки 1 конец пипетки был точно на метке М4. К пипетке присоединяют
отсос и осторожно отсасывают избыток пробы, пока пипетка не начнет всасывать
воздух, после чего пипетку вынимают. Потом трубку 2 освобождают и измеряют
время прохождения мениска жидкости от метки М2 до M1. С одним заполнением
вискозиметра производят только одно измерение времени течения.
Поверка
Рабочие стандартные вискозиметры поверяют по
образцовым вискозиметрам, имеющим сертификат поверки по национальному
нормативному документу. Вискозиметры, используемые для испытания, следует
поверять по рабочим стандартным или образцовым вискозиметрам. Постоянные
вискозиметра следует определять и регистрировать с точностью до 0,1 % их
значений.
Рисунок А.7 - Вискозиметр типа БС/ИП/РФ
Калибровка
Постоянные вискозиметра проверяют по методике,
аналогичной указанной в А.3, или с помощью эталонных масел для определения
вязкости.
Примечание - Эталонные масла можно использовать
для контроля при проведении лабораторных испытаний.
Если несоответствие между значениями измеренной
кинематической вязкости исследуемого образца и вязкости эталонного масла
превышает ±0,35 %, необходимо проверить каждый этап проведения испытания,
включая градуировку термометра и вискозиметра, для выявления причины ошибок.
Правильный результат, полученный на эталонном масле, не устраняет возможных
источников ошибочных результатов.
Примечания:
. Следует иметь в виду, что правильный
результат, полученный на эталонном масле, не лишен вероятности появления
случайной ошибки.
. Эталонные масла для определения вязкости имеют
установленное в многократных испытаниях значение вязкости.
Приложение Б
Определение поправки на кинетическую энергию.
Б.1 Кинематическую вязкость n, мм2/с, вычисляют
с учетом размеров вискозиметра по формуле
(1)
где g - ускорение силы тяжести, см/с2; D -
диаметр капилляра, см; h - среднее вертикальное расстояние между верхней и
нижней метками, см; Т - время истечения, с; V - объем жидкости измерительного
резервуара, см3; L - длина капилляра, см; Е - коэффициент кинетической энергии,
мм2×с.
Если время истечения выбранного вискозиметра
превышает минимальное время истечения, указанное в данном стандарте, то формулу
(1) можно упростить, пренебрегая выражением кинетической энергии: Е/Т2 и
группируя не переменные члены в постоянную С следующим образом: V
= СТ.
Б.2 Поправка на кинетическую энергию
Вискозиметры, рассмотренные в данном стандарте,
устроены так, что поправка на кинетическую энергию: Е/Т2 очень мала, если время
истечения жидкости более 200 с. Чтобы пренебречь поправкой на кинетическую
энергию при использовании различных вискозиметров для измерения жидкостей с
малой вязкостью требуется минимальное время истечения более 200 с.
Для вискозиметров с постоянной меньше или равной
0,01 см2/с2 поправка на кинетическую энергию может быть значительной, если не
соблюдается минимальное время истечения 200 с. В этом случае вводят поправку на
кинетическую энергию в виде формулы:
V=CT-E/T2, (2)
где С - постоянная вискозиметра, см2/с2 (сСт/с2);
Т - время истечения, с; Е - коэффициент кинетической энергии, см2·с.
Коэффициент кинетической энергии Е, см2·с,
определяют по формуле
(3), где L - длина
капилляра, см.
Приложение В
Термометры для определения кинематической
вязкости..1 Конструкция термометра и спецификация
Применяют специальный термометр с небольшим
диапазоном измерения, соответствующий общей спецификации, приведенной в таблице
В.1.
В таблице В.2 приведены термометры ASTM, IP и
ASTM/IP, соответствующие спецификации, изложенной в таблице В.1, и температурам
испытания.
Примечание - Разница в конструкции, главным
образом, основывается на положении точки замерзания воды. В модели А точка
замерзания воды находится в диапазоне шкалы; в модели В - ниже диапазона шкалы;
в модели С - выше диапазона шкалы (рисунок B.1).

В таблице B.1 приведены технические требования к
термометрам.
Таблица B.1 - Технические требования к
термометрам
Таблица В.2 - Соответствие термометров по ГОСТ
400 термометрам по спецификациям ASTM и IP
В.2 Калибровка
В.2.1 Используют или жидкостные стеклянные
термометры с точностью после корректирования 0,02 °С или с лучшей точностью,
калиброванные в аккредитованной лаборатории, выдающей сертификаты,
подтверждающие, что калибрование соответствует национальному стандарту, или
используют приборы для измерения температуры, такие как платиновые термометры
сопротивления равной или лучшей точности с теми же самыми требованиями по
сертификации.
В.2.2 Корректирование шкалы жидкостных
стеклянных термометров может измениться во время хранения и применения и,
следовательно, необходимо регулярно проводить повторное калибрование.
Корректирование шкалы в рабочей лаборатории проводят повторно, калибруя точку
замерзания воды и вводя все основные корректирования, согласно изменениям в
точке замерзания воды.
Примечание - Рекомендуется интервал поверки
точки замерзания воды не более шести месяцев, но новые термометры первые шесть
месяцев следует проверять ежемесячно. Нет необходимости в полном повторном
калибровании термометра на соответствие точности, указанной для данной модели
термометра до тех пор, пока со времени полного калибрования точка замерзания
воды не изменится на одно деление шкалы, и если прошло более пяти лет. Другие
термометрические устройства (если используются) необходимо повторно калибровать
периодически. Записи всех повторных калибровок следует сохранять.
В.2.3 Методика повторного калибрования точки
замерзания воды жидкостных стеклянных термометров приведена в В.2.3.1-В.2.3.3.
В.2.3.1 Выбирают чистые кусочки льда, желательно
приготовленные из дистиллированной чистой воды. Любые мутные порции
отбрасывают. Ополаскивают лед дистиллированной водой, очищают, разбивают на
мелкие порции, стараясь не брать руками, чтобы не было контакта с химически
нечистыми предметами. Заполняют крошеным льдом колбу Дьюара и добавляют
достаточное количество воды, чтобы получилась шуга, но лед не всплывал. Как
только лед растает, следует слить немного воды и добавить битого льда.
Вставляют термометр и аккуратно уплотняют лед вокруг стержня приблизительно на
одно деление в 0°С.
В.2.3.2 После того, как пройдет не менее 3 мин,
слегка постукивают по термометру несколько раз под прямым углом к оси при
проведении наблюдений. Последовательно снятые показания не реже чем через 1мин
должны находиться в пределах 0,005°С.
В.2.3.3 Записывают показания точки замерзания
воды и определяют поправку термометра при этой температуре, исходя из среднего
показания. Если выявляется, что поправка больше или меньше поправки предыдущего
калибрования, ее изменяют при всех других температурах на то же самое значение.
Проводят операцию, соблюдая следующие условия:
а) термометр поддерживается вертикально;
б) термометр осматривают с помощью оптических
устройств, дающих пятикратное увеличение и устраняющих параллакс;
в) выражают показание точки замерзания воды с
точностью 0,005 °С.
В.2.4 При использовании прибор для снятия
температуры погружают на ту же глубину, что и для полного калибрования. Например:
если жидкостной стеклянный термометр был калиброван в обычном состоянии -
«полное погружение», то его погружают до верха ртутного столбика, причем
остаток стержня и камера расширения в самой верхней части выступают в
окружающую среду и находятся под воздействием ее температуры и давления. На
практике это означает, что верх ртутного столбика должен находиться в пределах
длины, равноценной четырем делениям шкалы поверхности среды, температура
которой измеряется. Если это условие не выполняется, то возможно необходимо
дополнительное корректирование.
В.3 Пример расчета поправки на выступающий
столбик термометра:
Допустим: Принимаем показание термометра в
термостате «-50°С» (t1). Поправка составила «-0,5°С» (Dt). Тогда истинная
температура жидкости в термостате (t) будет равна: t = t1 + Dt = -50 + (-0,5) =
-50,5°С.
Приложение Г
Библиография
[1] ИСО 3104-94 Нефтепродукты.
Прозрачные и непрозрачные жидкости. Определение кинематической вязкости и
расчет динамической вязкости
[2] ТУ 38.401-67-108-92 Бензин-растворитель
для резиновой промышленности
[3] ИСО 3694-77 Вода
деионизированная и дистиллированная. Технические требования
[4] ИСО 3105-76 Вискозиметры
стеклянные капиллярные для определения кинематической вязкости. Технические
требования и инструкция по эксплуатации
[5] ИСО 3675-96 Нефть и жидкие
нефтепродукты. Определение плотности и относительной плотности ареометром в
лабораторных условиях
[6] ИСО 91/1-82 Таблицы пересчета
измерений нефти и нефтепродуктов. Часть 1. Таблицы, основанные на стандартных
температурах 15 °С и 60 °F
[7] ТУ 23-2021.003-88 Термометры
стеклянные для испытания нефтепродуктов
[8] ТУ 38.401-67-108-92 «Нефрас
С2-80/120»