Машина для определения фрикционной теплостойкости материалов

  • Вид работы:
    Курсовая работа (т)
  • Предмет:
    Другое
  • Язык:
    Русский
    ,
    Формат файла:
    MS Word
    132,9 Кб
  • Опубликовано:
    2015-05-05
Вы можете узнать стоимость помощи в написании студенческой работы.
Помощь в написании работы, которую точно примут!

Машина для определения фрикционной теплостойкости материалов














Пояснительная записка к курсовому проекту

по дисциплине

«Проектирование контрольно-измерительной и испытательной техники»

Тема: «Машина для определения фрикционной теплостойкости материалов»

Содержание

Введение

. Общая характеристика метода испытаний

. Общая характеристика конструктивной схемы стенда

. Выбор типа датчика

. Проектирование устройства

.1 Кулачковый механизм

.1.1 Определение индекса МПК и проведение патентного поиска в базе данных Федерального института промышленной собственности (ФИПС Роспатента)

.1.2 Сопоставительный анализ аналогов

.2 Зажим цанговый

.2.1 Определение индекса МПК и проведение патентного поиска в базе данных Федерального института промышленной собственности (ФИПС Роспатента)

.3 Вращательная опора с мембранным приводом с низким моментом трения, работающая на осевую нагрузку

.3.1 Определение индекса МПК и проведение патентного поиска в базе данных Федерального института промышленной собственности (ФИПС Роспатента)

. Детальное описание устройства и работы стенда

. Формула изобретения

. Проведение анализа видов и последствий потенциальных отказов Failure Mode and Effects Analysis (FMEA)

.1 Проведение анализа видов и последствий потенциальных отказов Failure Mode and Effects Analysis (FMEA) кулачкового механизма

.2 Проведение анализа видов и последствий потенциальных отказов Failure Mode and Effects Analysis (FMEA) зажима цангового

. Расчет пружины кручения

. Определение статической погрешности

. Расчет размерной цепи с определением размеров замыкающего звена механической части стенда

. Разработка маршрутного технологического процесса

Заключение

Список использованных источников

Введение

Проектирование (от лат. projectus, буквально - брошенный вперёд), процесс создания проекта - прототипа, прообраза предполагаемого или возможного объекта, состояния.

В технике - разработка проектной, конструкторской и другой технической документации, предназначенной для осуществления строительства, создания новых видов и образцов. В процессе проектирования выполняются технические и экономические расчёты, схемы, графики, пояснительные записки, сметы, калькуляции и описания.

Цель курсового проекта заключается в проектировании машины МФТ-1 для определения фрикционной теплостойкости материалов.

Для достижения цели необходимо решить следующие задачи:

охарактеризовать метод испытаний;

описать конструктивную схему стенда;

выбрать тип датчика;

определить индекс МПК и проведение патентного поиска в базе данных Федерального института промышленной собственности (ФИПС Роспатента) по выбранным узлам;

детально описать устройство и работу стенда;

составить формулу изобретения

провести анализ видов и последствий потенциальных отказов Failure Mode and Effects Analysis (FMEA) одного из узлов стенда;

определить статическую погрешность;

рассчитать размерную цепь с определение размеров замыкающего звена механической части стенда;

разработать маршрутный технологический процесс на одну деталь.

1. Общая характеристика метода испытаний

Конструктивная схема устройства - кинематическая схема машины для определения фрикционной теплостойкости материалов, предполагает вид испытаний и метод испытаний. Вид испытания - определительное, стендовое, механическое испытание. Метод испытания - испытание материалов на трение и износ.

Средства испытаний материалов на трение и износ можно разделить на две группы в зависимости от назначения: лабораторные машины для испытания материалов на трение и износ; стенды для испытания узлов трения.

Тип оборудования зависит от положения вектора нагрузки по отношению к полости расположения векторов линейных скоростей основного движения и характера относительного движения образца и контртела:

положение вектора нагрузки по отношению к полости расположения векторов линейных скоростей основного движения- параллельное; относительное движение образца и контртела- вращательное, поступательное, возвратно- поступательное, по свежему следу (винт), сложное;

положение вектора нагрузки по отношению к полости расположения векторов линейных скоростей основного движения- перпендикулярное; относительное движение образца и контр-тела- вращательное, поступательное, возвратно- поступательное, по свежему следу (спираль), сложное.

Машина для определения фрикционной теплостойкости материалов предназначена для измерения и регистрации параметров испытаний (сила трения, температура, износ).

Машина снабжена камерой, позволяющей вести испытания в жидких средах. В процессе испытаний предусмотрены измерение и запись на диаграмме электронного патенциометра момента трения. Температуры и суммарного линейного износа образцов. При регистрации величина износа искажается из-за линейного расширения образцов. В машине предусмотрен счетчик частоты вращения.

Фрикционная теплостойкость - свойство пары трения сохранять неизменными коэффициент трения и интенсивность изнашивания в широком диапазоне температур, возникающих при трении. Широкий диапазон изменения скорости скольжения и температуры, возможность испытаний при разных давлениях и взамном перекрытии, возможность определения кинематики изменения коэффициента трения и интенсивности изнашивания в зависимости от температуры позволяют использовать МФТ-1 для определения теплостойкости материалов. Схема испытания - трение под нагрузкой двух одинаковых по размеру образцов в форме полых цилиндров (колец), соприкасающихся своими торцами, при скорости вращения от 10 до 6000 об/мин, и нагрузке до 300кгс.

2. Общая характеристика конструктивной схемы стенда

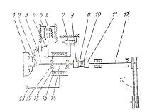
Кольцевой образец 10 установлен в самоустанавливающимся зажиме 11, закрепленным в шпинделе 12, который приводится во вращение электродвигателем постоянного тока с плавным регулированием угловой скорости через двухступенчатую коробку скоростей и клиноременную передачу 13. Кольцевой контр-образец (установлен в зажиме 8, который соединен с валом 14. Вал может поворачиваться в подшипниках 17 подвижного корпуса 16. который может без поворота по шариковым направляющим 15 перемещается относительно каретки 18. Прижим образцов происходит при помощи пневматического мембранного механизма 1, питаемого от сети сжатого воздуха или баллона. Придаваемого машине, через шарик 2. Такая конструкция в большой степени устраняет влияние осевой нагрузки на измеряемый момент трения. Момент трения через рычаг 3 и регулируемый по высоте ползун 4 воспринимается тарированным упругим элементом 6 с индуктивным преобразователем 5, жестко закрепленным на корпусе 18. линейный суммарный износ образцов (сближение зажимов) измеряется индуктивным датчиком 7. Для измерения температуры предусмотрены термопары, которые впаиваются в образец 9.

3. Выбор типа датчика

.1 Соленоидный индуктивный датчик имеет в основе катушку индуктивности, внутри которой перемещается ферромагнитный сердечник. Специфической особенностью соленоидного датчика является отсутствие замкнутой магнитной цепи

Основным достоинством соленоидных датчиков является возможность получения значительных диапозонов измерения при высокой линейности характеристики. Наибольшая относительная чувствительность соленоидного датчика:

δSmax= -2/lk,

где lk- длина катушки датчика.

Датчик получил широкое распространение в отечественных и заоубежных индуктивных приборох для линейных измерений.

3.2 Малыми габаритными размерами и высокими метрологическими характеристиками обладает соленоидный индуктивный датчик модели 223


Особенностью датчика является применение шариковых направляющих 2 измерительного стержня 4. Шариковые направляющие собирают корпус 3 с натягом 2-3нкм и затем делают обкатку направляющих не менее, чем за 15000 циклов. Измерительное усилие создается пружиной 5. Выход измерительного наконечника из корпуса датчика снабжен уплотнением 1.

С измерительным стержнем 4 связан керн 6, на который надевается с последующим закреплением трубчатый ферромагнитный якорь 8. Якорь перемещается внутри катушек 7, заключенных в магнитный экран. Для уменьшения электрических потерь магнитный экран имеет осевой разрез.

Магнитопровод датчика собирают в отдельном корпусе 9 и затем вставляют в корпус датчика. Выводы от катушек датчика припаянны к контактным лепесткам бобышки 10. Деталим магнитопровода крепят гайкой 11. Сам магнитопровод в корпусе датчика кркпится гайкой 12. Датчик имеет две посадочные поверхности Ǿ 8 и 10 мм для крепления на измерительной позиции. Применение шариковых направляющих и соленоидной конструктивной схемы позволило получить значительный диапазон измерения при малой погрешности датчика.

3.3 Характеристики малогабаритного индуктивного датчика модели 223

датчик осевого действия;

рабочие частоты 8-12 кГц;

измерительное усилие 0,3Н;

диапазон измерения 0,12мм;

свободный ход 2мм;

посадочный размер Ǿ8мм;

габаритные размеры Ǿ10×75мм;

тип направляющих- шариковые.

4. Проектирование устройства

стенд кулачковый отказ технологический

В конструктивной схеме машины для определения фрикционной теплостойкости материалов можно выделить три узла крепления испытуемого образца, датчика, передающие нагрузку от генератора нагрузки на образец:

)        Кулачковый механизм;

)        Цанговый зажим;

)        Мембранный механизм.

4.1 Кулачковый механизм

Кулачковый механизм- механизм в состав которого входит кулачок (звено механизма, имеющий элемент высшей пары в виде поверхности переменной кривизны), замыкание в высшей паре может быть силовым или геометрическим. Силовое замыкание- пружина или вес толкателя. Толкатель звено механизма, взаимодействующее с кулачком (т. е. с его рабочей поверхностью). Наконечник толкателя давит на кулачок. Наконечник может быть острым (точечным, линейным), плоским, грибовидным, роликовым. Наконечник толкателя совершает поступательные и вращательные движения.

Кулачковый механизм- часть системы продукции- стенда для механических испытаний материалов на трение и износ.

4.1.1 Определение индекса МПК и проведение патентного поиска в базе данных Федерального института промышленной собственности (ФИПС Роспатента)

Технический объект изобретения- кулачковый механизм. Для него определим индексы Международной патентной классификации (МПК):

F16H25/08;

F- машиностроение;

F16- узлы и детали машин; общие способы и устройства, обеспечивающие нормальную эксплуатацию машин и установок; теплоизоляция вообще;

F16Н- механические передачи;

F16H25- механические передачи, содержащие только кулачки и их толкатели;

F16H25/08- для взаимного преобразования вращательного движения и возвратно- поступательного движения.

F16H21/16;

F- машиностроение;

F16- узлы и детали машин; общие способы и устройства, обеспечивающие нормальную эксплуатацию машин и установок; теплоизоляция вообще;

F16Н- механические передачи;

F16H21- передачи для сообщения движения или преобразования его по средствам рычагов и кулис;

F16H21/16- для преобразования вращательного движения в возвратно-поступательное и наоборот.

В соответствии с установленными индексами МПК проводим патентный поиск в базе данных Федерального института промышленной собственности (ФИПС).

F16H25/08

Формула изобретения: кулачковый механизм, содержащий корпус с размещенным в нем приводным кулачком и толкателем с роликом, имеющим возможность поступательно перемещаться в направляющих корпуса, отличающийся тем, что кулачок и ролик выполнен в виде эксцентриков, на каждом из которых эквидистантно окружностям эксцентриков жестко закреплены зубчатые шестярни, причем диаметры делительных окружностей шестерен равны диаметрам окружностей соответствующих эксцентриков.

F16H21/16

Формула изобретения:

Механизм содержит дисковый многолепестковый кулачок с числом лепестков, кратным трем, толкатель в форме скобы-хомута, схватывающей кулачок в двух диаметрально противоположных точках валами-роликами, установленными между пластинами скобы-хомута, скрепленными между собой штифтами с жестко закрепленной на них штангой, удерживаемые и движущиеся по направляющим, расположенным симметрично по разные стороны от оси вращения кулачка. Профилированная наружная поверхность кулачка обеспечивает равное расстояние между диаметрально противоположными точками на поверхности кулачка при его вращении и сообщает поступательное движение толкателю.

4.1.2 Сопоставительный анализ аналогов

Хронологическая последовательность по дате приоритета:

) Аналог 1(Кулачковый механизм в виде спирали Архимеда);

)Аналог 2 ( Кулачковый механизм F16H21/16).

Объект- кулачковый механизм.

Признаки объекта:

Кулачок;

Толкатель;

Корпус;

Пружина;

На кулачке жестко закреплена зубчатая шестерня;

Силовое замыкание;

Геометрическое замыкание;

Силовое замыкание- пружина;

Силовое замыкание- вес толкателя;

Наконечник толкателя взаимодействует с рабочей поверхностью кулачка;

Толкатель совершает возвратно-поступательное движение;

Механизм преобразует вращательное движение в поступательное;

Наконечник толкателя роликовый;

Кулачок в виде спирали Архимеда;

Дисковая многолепестковая поверхность переменной кривизны.

Выделим типовые группы признаков:

)Наличие деталей, элементов:

Кулачок;

Толкатель;

Корпус;

Пружина;

На кулачке жестко закреплена зубчатая шестерня.

)Выполнение движения (действий):

Силовое замыкание;

Геометрическое замыкание;

Силовое замыкание- пружина;

Силовое замыкание- вес толкателя;

Наконечник толкателя взаимодействует с рабочей поверхностью кулачка;

Толкатель совершает возвратно-поступательное движение;

)Форма деталей:

Наконечник толкателя роликовый;

Кулачок в виде спирали Архимеда ;

Дисковая многолепестковая поверхность переменной кривизны.

Таблица сопоставительного анализа аналогов:

Номер признака

Признак исследуемого ТР

Аналог 1

Аналог 2

1

Кулачок

+

+

2

Толкатель

+

+

3

Корпус

+

+

4

Пружина

+

-

5

На кулачке жестко закреплена зубчатая шестерня

+

-

6

Силовое замыкание

+

+

7

Геометрическое замыкание

-

-

8

Силовое замыкание- пружина

+

-

9

Силовое замыкание- вес толкателя

-

+

10

Наконечник толкателя взаимодействует с рабочей поверхностью кулачка

+

+

11

Толкатель совершает возвратно-поступательное движение

+

+

12

Механизм преобразует вращательное движение в поступательное

+

+

13

Наконечник толкателя роликовый

+

+

14

Кулачок в виде спирали Архимеда

+

-

15

Дисковая многолепестковая поверхность переменной кривизны

-

+

По результатам сопоставительного анализа аналогов кулачкового механизма предпочтение следует отдать кулачковому механизму под номером 1. Следовательно, при конструировании машины для определения фрикционной теплостойкости материалов будет использован аналог под номером 1.


.2.1 Определение индекса МПК и проведение патентного поиска в базе данных Федерального института промышленной собственности (ФИПС Роспатента)

Технический объект изобретения- цанговый зажим. Для него определим индексы Международной патентной классификации (МПК):

G21C21/00;

G-физика;

G21- ядерная физика, ядерная техника;

G21C- ядерные реакторы;

G21C21/00-способы или устройства специально предназначенные для изготовления реакторов и их частей;

G21C21/02;

G-физика;

G21- ядерная физика, ядерная техника;

G21C- ядерные реакторы;

G21C21/02- изготовление топливных или воспроизводящих элементов в неактивных оболочках.

4.2.2 В соответствии с установленными индексами МПК проводим патентный поиск в базе данных Федерального института промышленной собственности (ФИПС)

G21C21/00

Формула изобретения: Устройство для изготовления заготовок ячеек дистанционирующих решеток тепловыделяющей сборки предназначено для использования в атомной энергетики. Устройство содержит механизм роспуска длинномерных тонкостенных трубок из сплава на основе циркония в заготовки для ячеек. Механизм снабжен подвижными стойками по всей длине длинномерной тонкостенной трубки. Последняя размещена в подпружиненных цанговых зажимах в верхних частях стоек с возможностью вращения цанговых зажимов вокруг своей оси вместе с длинномерной тонкостенной трубкой и толкателем подачи длинномерной тонкостенной трубки в зону резания. Толкатель выполнен в виде подвижной стойки. В верхней части последней с возможностью вращения вокруг своей оси соосно с длинномерной тонкостенной трубкой закреплен пруток-толкатель. Длина последнего больше суммарной длины всех стоек. На конце прутка-толкателя выполнена проточка. Последняя равна внутреннему диаметру длинномерной тонкостенной трубки с диаметральной прорезью на конце. Обеспечивается предупреждение повреждений тонкостенных трубок при роспуске на заготовки для ячеек дистанционирующих решеток.


G21C21/02

Формула изобретения: Изобретение относится к ядерной технике и может быть использовано при изготовлении тепловыделяющих элементов и сборки их в тепловыделяющие кассеты преимущественно для энергетических реакторов типа водо-водяного энергетического реактора. Проводят ультразвуковой контроль трубок перед запуском в производство вращением вокруг них пьезоэлектрических преобразователей. Притупляют наружную и внутреннюю части стенки торца трубки и выполняют два конуса на втором торце трубки после ее отрезки в размер оболочки. Выполняют калибровку торца оболочки с двумя конусами под посадочное гнездо для заглушки. Обезжиривают оболочку растворами, не снижающими качество тепловыделяющих элементов. Запрессовывают первую заглушку в калиброванный конец трубки-оболочки с натягом.

Похожие работы на - Машина для определения фрикционной теплостойкости материалов

 

Не нашли материал для своей работы?
Поможем написать уникальную работу
Без плагиата!
Без нейросетей!