КТС и диагностирование машин и оборудования НГП на примере компрессора КТ-6

  • Вид работы:
    Курсовая работа (т)
  • Предмет:
    Другое
  • Язык:
    Русский
    ,
    Формат файла:
    MS Word
    297,77 Кб
  • Опубликовано:
    2015-06-26
Вы можете узнать стоимость помощи в написании студенческой работы.
Помощь в написании работы, которую точно примут!

КТС и диагностирование машин и оборудования НГП на примере компрессора КТ-6














Курсовая работа

КТС и диагностирование машин и оборудования НГП на примере компрессора КТ-6

 

Введение

 

Техническая диагностика - область знаний, включающая в себя сведения о методах и средствах оценки технического состояния машин, механизмов, оборудования, конструкций и других технических объектов.

Основной задачей технического диагностирования объектов НГП является сокращение затрат на техническое обслуживание объектов, и на уменьшение потерь от простоя в результате отказов.

Диагностирование технических объектов включает в себя следующие функции:

·        оценка технического состояния объекта;

·        обнаружение и определение места локализации неисправностей;

·        прогнозирование остаточного ресурса объекта;

·        мониторинг технического состояния объекта.

Требования, предъявляемые к техническим системам и объектам:

·        Высокая производительность при обеспечении качества, точности и условий эксплуатации.

·        Малая металлоемкость и габаритные размеры. Технологичность конструкции.

·        Простота обслуживания и ремонта.

·        Приемлемая стоимость.

·        Качество и конкурентоспособность.

Целью данного расчетно-графического задания является изучение основ надежности и диагностирования машин и оборудования НГП на примере компрессора КТ-6 в объеме, позволяющем получить общие методические представления, знания, умения и компетенции по перечисленным вопросам для умения использовать эти знания и компетенции в будущей инженерной деятельности.

Задачи:

Изучить основы диагностирования;

Технические объекты НГП;

Методы и средства диагностики

Особенности диагностирования КТ- 6

Оценка показателей надежности

1. Общие вопросы и проблемы КТС и диагностики изделий НГП

компрессор нефтяной диагностирование

1.1 Основы ДТС


Техническая диагностика - область знаний, включающая в себя сведения о методах и средствах оценки технического состояния машин, механизмов, оборудования, конструкций и других технических объектов.

Целью технической диагностики являются определение возможности и условий дальнейшей эксплуатации диагностируемого оборудования и в конечном итоге повышение промышленной и экологической безопасности

Диагностирование проводят как при ТО, так и при ремонте.

При ТО задачи диагностирования заключаются в том, чтобы установить потребность в проведении капитального или текущего ремонта машины или ее сборочных единиц; качество функционирования механизмов и систем машин; перечень работ, которые необходимо выполнить при очередном техническом обслуживании.

При ремонте машин задачи диагностирования сводятся к выявлению сборочных единиц, подлежащих восстановлению, а также оценке качества ремонтных работ.

Диагностирование технических объектов включает в себя следующие функции:

·        оценка технического состояния объекта;

·        обнаружение и определение места дефектов и локализации неисправностей;

·        прогнозирование остаточного ресурса объекта;

·        мониторинг технического состояния объекта.

Различают прямые и косвенные диагностические параметры. Первые непосредственно характеризуют состояние объекта, а вторые связаны с прямыми параметрами функциональной зависимостью.

При проведении технического диагностирования выделяют две основные проблемы:

·        вероятность пропуска неисправности;

·        вероятность «ложной тревоги», то есть вероятность ложного сигнала о наличии неисправности.

Чем выше вероятность «ложной тревоги», тем меньше вероятность пропуска неисправности, и наоборот. Задача технической диагностики состоит в нахождении «золотой середины» между этими двумя проблемами.

.2 Системы диагностирования

Совокупность средств диагностирования, объекта и исполнителей, действующих по установленным алгоритмам, называется системой диагностирования.

Алгоритм - это совокупность предписаний, определяющих последовательность действий при диагностировании, т.е. алгоритм устанавливает порядок проведения проверок состояния элементов объекта и правила анализа их результатов. Причем безусловный алгоритм диагностирования устанавливает заранее определенную последовательность проверок, а условный - в зависимости от результатов предыдущих проверок.

Системы диагностирования предназначаются для контроля работоспособности, проверки правильности функционирования и поиска дефектов. В соответствии с ГОСТ 20417-75 устанавливаются следующие основные области применения систем диагностирования:

) в процессе производства изделия: при наладке и приеме;

) в процессе эксплуатации изделия: при техническом обслуживании на стадиях хранения, транспортирования и использования;

) перед ремонтом или после ремонта изделия.

В процессе эксплуатации диагностирование призвано обеспечить проведение технического обслуживания и ремонта двигателей по их фактическому техническому состоянию. Диагностирование двигателя проводится в следующей последовательности: выполнение подготовительных работ - измерение диагностических параметров - оценка и прогнозирование технического состояния составных частей - принятие решения об объеме технического обслуживания или ремонта.

При техническом обслуживании или ремонте не допускаются восстановительные операции агрегатов двигателя, если значения их диагностических параметров находятся в допустимых пределах. В этом случае восстановительные и регулировочные работы соответствующего вида технического обслуживания откладывают до следующего технического обслуживания, а текущий или капитальный ремонт проводят по истечении наработки, назначенной на основе прогнозирования остаточного ресурса.

.3 Применяемые методы контроля и ДТС

Для разработки методов и средств технической диагностики какой-либо машины, прежде всего, следует выявить, какие параметры характеризуют работу проверяемой машины и определяют ее надежность. Затем надо установить диагностические критерии количественной величины параметров и для их определения разработать соответствующие методы и средства.

Методы и средства диагностики отдельных агрегатов, систем и механизмов определяются их конструкцией и выполняемыми функциями.

В зависимости от вида диагностических параметров применяют следующие методы технической диагностики: измерение потерь на трение в механизмах; определение теплового состояния механизмов; проверка состояния сопряжения, установочных размеров, герметичности и утечек, контроль шума и вибраций в работе механизма; анализ картерного масла (двигателя, ротора, вертлюга и др.).

2. Компрессор, как объект диагностирования


.1 Устройство, принцип работы и техническая характеристика

Компрессор (от лат. compressio - сжатие) - устройство для сжатия и подачи газов под давлением (воздуха, паров хладагента и т. д.).

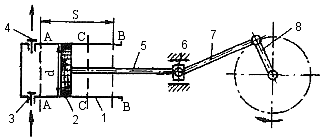
Из объёмных компрессоров наибольшее распространение получили поршневые с возвратно - поступательным движением поршня (рис. 2.1).

Поршневые компрессоры имеют вращательный или колебательный привод; в последних вместо асинхронного двигателя и кривошипно-шатунного механизма применяют электромагнит, взаимодействующий с постоянным магнитом. Поршневые компрессоры подразделяются на непрямоточные, у которых всасывающий и нагнетательный клапаны расположены в крышке цилиндра, и прямоточные, всасывающий клапан которых установлен в дне поршня.

Рисунок 2.1 - Схема поршневого компрессора

Рабочий процесс в поршневом компрессоре осуществляется за четыре этапа:

расширение газа во вредном пространстве цилиндра компрессора (в клапанах и околоклапанном пространстве, в зазоре между крышкой цилиндра и плоскостью АА, соответствующей крайнему положению поршня);

всасывание (расширение и всасывание происходят при движении поршня от плоскости АА до плоскости ВВ на длине хода поршня s; при этом всасывающий клапан открывается не сразу, а лишь после того, как газ, находящийся во вредном пространстве цилиндра, расширится, и его давление станет меньше давления во всасывающей линии, в этот момент откроется клапан 3, и газ начнет поступать в цилиндр компрессора);

сжатие (происходит при движении поршня от плоскости ВВ до плоскости СС);

нагнетание (происходит при движении поршня от плоскости СС до плоскости АА; нагнетание газа в трубопровод начинается тогда, когда давление газа в цилиндре превысит давление в нагнетательной линии, в этот момент откроется клапан 4, и газ начнет поступать в трубопровод).

Подачей компрессора называют oбъем или массу газа, проходящего за единицу времени по линии всасывания или линии нагнетания компрессора. Расход газа на нагнетании всегда меньше, чем на всасывании, за счет утечек газа через неплотности.

Компрессор КТ-6

Компрессор КТ-6 - двухступенчатый, трехцилиндровый. поршневой с W- образным расположением цилиндров.

Компрессор КТ-6 состоит из корпуса (картера) 13, двух цилиндров 29 низкого давления (ЦНД), имеющих угол развала 120°. одного цилиндра 6 высокого давления (ЦВД) и холодильника 8 радиаторного типа с предохранительным клапаном 10, узла шатунов 7 и поршней 2, 5.

Рисунок 2.1.1 - Компрессор КТ-6

Корпус 18 имеет три привалочных фланца для установки цилиндров и два люка для доступа к деталям, находящимся внутри. Сбоку к корпусу прикреплен масляный насос 20 с редукционным клапаном 21, а в нижней части корпуса помещен сетчатый масляный фильтр 25. Передняя часть корпуса (со стороны привода) закрыта съемной крышкой, в которой расположен один из двух шарикоподшипников коленчатого вала 19. Второй шарикоподшипник расположен в корпусе со стороны масляного насоса. Все три цилиндра имеют ребра: ЦВД выполнен с горизонтальным оребрением для лучшей теплоотдачи, а ЦНД имеют вертикальные ребра для придания цилиндрам большей жесткости. В верхней части цилиндров расположены клапанные коробки 1 и 4. Система смазки компрессора комбинированная: под давлением смазываются шатунная шейка коленчатого вала, пальцы прицепных шатунов и поршневые пальцы; остальные детали смазываются разбрызгиванием. Масло заливается в картер компрессора через отверстие в боковой крышке, закрываемое пробкой 27 (или через патрубок сапуна 3). Уровень масла контролируется маслоуказателем автомобильного типа.

Подача смазки осуществляется масляным насосом лопастного типа. Масляный насос состоит из крышки, корпуса и фланца, соединенных четырьмя шпильками и центрируемых двумя штифтами.

Цилиндры низкого давления расположены так, что в то время когда в левом цилиндре происходит всасывание воздуха, в правом происходит его нагнетание в холодильник, и наоборот. Из холодильника воздух всасывается в цилиндр высокого давления, где происходит его дальнейшее сжатие.

Наименование параметров

Норма для компрессора

Тип компрессора

W-образный, поршневой двухступенчатый, однорядный с воздушным охлаждением оборудован устройством для перевода на холостой ход.

Производительность по всасыванию, м³/мин

5,3

Давление нагнетания, кгс/см²

9

Частота вращения коленчатого вала, об/мин

850

Мощность потребляемая при частоте вращения, кВт:

850 об/мин

44,1

750 об/мин

39

440 об/мин

22,8

Количество цилиндров

3

Охлаждение компрессора

воздушное

Режим работы при давлении нагнетания ПВ, %:

5 кгс/см²

100

9 кгс/см²

50

Направление вращения коленчатого вала (смотреть со стороны привода) - по часовой стрелке (КТ7 - против часовой стрелки).

Привод - от электродвигателя или ДВС через эластичную муфту

Габаритные размеры, мм:

КТ6; КТ7

КТ6Эл

длина

760

760

ширина

1320

1255

высота

1050

1050

Масса (без масла и ЗИП), кг

610

600


.2 Особенности эксплуатации компрессора

Длительная нормальная работа компрессора может быть обеспечена только при соответствующем уходе за ним, заключающемся в соблюдении предусмотренных технической характеристикой параметров его работы; внимательном ежедневном наблюдении за состоянием и работой компрессора и его узлов; своевременном устранении неисправностей и принятии профилактических мер для их предупреждения. В процессе эксплуатации нужно следить за сохранением установленной величины зазоров между сопрягаемыми подвижными деталями компрессора, так как при увеличенных зазорах начинается ускоренный износ деталей. Увеличение зазоров сопровождается появлением стуков и одновременным снижением давления масла в компрессоре.

ПОДГОТОВКА К ПУСКУ

Проверить уровень масла в картере компрессора, который должен быть между рисками на маслоуказателе.

Для смазки применять масла, разрешаемые настоящим паспортом, так как применение других масел может вызвать повышенное нагарообразование на клапанах или полное стекание масла со стенок цилиндров.

Температура масла в компрессоре перед пуском должна быть не ниже +15 С.

Осмотрите компрессор для выявления течи масла, состояние креплений, соединений и пр.

ПУСК

После монтажа при первом пуске компрессор должен работать 10... 15 мин. при открытых кранах на главных воздушных резервуарах. После этого краны должны быть закрытыми и компрессор переведён в работу под нагрузкой.

При каждом пуске компрессора:

а)      откройте сливные краны и продуйте холодильник;

б)      по манометру, установленному на компрессоре, проверьте

давление масла, которое должен быть 1,5 ...6кгс/см (компрессор

должен быть прогрет).

в)      убедитесь в отсутствии посторонних шумов и стуков;

КОНТРОЛЬ ВО ВРЕМЯ РАБОТЫ

Работа компрессора сопровождается шумом определённой низкой тональности. С переходом компрессора с рабочего на холостой ход и обратно (тепловозный режим) уровень шума незначительно меняется. Во время работы компрессора посторонний шум или стуки показывают, что в компрессоре появился дефект.

При работе компрессора периодически:

а)      проверяйте на слух, не слышны ли в компрессоре повышенный шум и стуки;

б)      по манометру, установленному на компрессоре, контролируйте давление масла;

в)      проверяйте, не выбрасывает ли компрессор масло через воздушные фильтры.

.3 Дефекты и неисправности КТ-6

Основная причина поломок компрессоров - некачественный монтаж, неправильная эксплуатация. Практика ремонта показала, что они обладают сравнительно низкой ремонтопригодностью. Наиболее распространенной причиной выхода компрессора из строя является износ и повреждение поверхностей трущихся деталей. Вследствие износа увеличиваются зазоры между деталями, нарушается правильность их взаимного расположения, возникают дополнительные динамические нагрузки. Это приводит к ухудшению эксплуатационных свойств компрессора, а в отдельных случаях и к полному выходу его из строя. Так износ деталей узла трения цилиндр-поршень уменьшает хладопроизводительность холодильного агрегата, узла трения коленвал-плунжер масленого насоса нарушает нормальный режим смазки, узла трения палец-поршень вызывает появление шума.

Дефекты цилиндра. Эффективность работы компрессора в большой степени зависит от состояния цилиндра. Износ рабочей поверхности характеризуется увеличением диаметра и искажением формы цилиндра. Даже при незначительном износе его зеркальная поверхность может оказаться матовой и на ней появятся риски, царапины, задиры. При значительном износе изменяется форма цилиндра: вместо цилиндрической она становится овальной, конической. Поршень плохо прижимается к стенкам изношенного цилиндра и частично пропускает пары холодильного агента из одной полости в другую, в результате понижается производительность компрессора и возникает повышенный шум. У изношенного цилиндра в верхней части нарушается нормальная смазка из-за стекания масла, поэтому диаметральный износ цилиндра по высоте оказывается наибольшим в верхней его части.

Дефекты поршня. В процессе эксплуатации поршня отверстие в бобышках для поршневого пальца увеличивается и искажается их форма. Рабочая поверхность поршня изнашивается неравномерно больше в плоскости, перпендикулярной оси вала, причем наибольший износ происходит в момент действия силы в конце хода поршня при сжатии холодильного агента. В результате увеличения размера отверстия под поршневой палец появляется стук в компрессоре.

Дефекты коленчатого вала. В процессе работы холодильного агрегата происходит неравномерный износ шеек вала, который зависит от характера нагрузки на вал. Наибольшая нагрузка имеет место в конце хода поршня при сжатии хладагента. Из-за неравномерного износа шейки вала в сечении становятся овальными. Возникающее при этом биение вала не только нарушает работу компрессора, но и приводит к быстрой разработке подшипника, сопровождаемой стуком. При овальности шатунной шейки вала будет происходить неравномерный износ головок шатуна. При совершении одного оборота вал прижимается к верхней головке во время прямого хода поршня и крышке нижней головки шатуна во время обратного хода. Поэтому зазор и ось шейки вала изменяют свое положение относительно центра нижней головки: они будут находиться соответственно выше или ниже центра. Овальность шатунной шейки вала увеличивает его биение. Это приводит к ускорению выработки, как головок шатуна, так и шатунной шейки. Шатунная шейка может быть перекошенной относительно оси вала. В таком случае возникают следующие дефекты: быстрая разработка верхней головки шатуна, местный износ рабочей поверхности цилиндра в верхней и нижней частях. Некачественная смазка или ее отсутствие приводят к задирам и схватыванию.

Дефекты подшипников скольжения. Из-за разработки подшипников скольжения зазор между статором и ротором электродвигателя может исчезнуть, и тогда они будут представлять собой трущуюся пару. Такое явление может привести к заклиниванию двигателя при его пуске в компрессорах.

Дефекты клапанов. От качественной работы клапанов в значительной степени зависит производительность компрессора. Клапаны изготовляются из высококачественных материалов, однако они довольно быстро изнашиваются. Их основные дефекты: износ пластинки (коробление, выкрашивание) или рабочего пояса нагнетательного клапана. Вследствие этих дефектов ухудшается уплотняющая способность клапана, снижается хладопроизводительность компрессора и повышается температура нагнетания.

3. Методы и средства контроля и диагностики поршневых компрессоров

 
Метод измерений - прием или совокупность приемов сравнения измеряемой физической величины с ее единицей в соответствии с реализованным принципом измерений. Обычно метод измерений обусловлен устройством средства измерений. Различают: дифференциальный, нулевой, контактный и бесконтактный методы измерений, а также методы сравнения с мерой и метод непосредственной оценки.
Средство измерений - техническое средство, используемое при измерениях и имеющее нормированные метрологические свойства.

Выбор способа и средств для измерения геометрических размеров зависит от ряда факторов, основными из которых являются:

допуски на размеры и точность изготовления измеряемой детали;

метод контроля (пассивный или активный) и его точность;

объем выпуска деталей;

конструктивные особенности детали и экономические показатели назначаемых средств измерения (стоимость прибора, его производительность, время настройки, требуемая квалификация контролера).

Для обеспечения взаимозаменяемости деталей и узлов различных изделий создана единая система допусков и посадок. Эта система охватывает нормы взаимозаменяемости всех типов соединений, включая электрические. Основу единой системы допусков и посадок (ЕСДП) составляют ряды допусков, называемые квалитетами и ряды основных отклонений, определяющих положение полей допусков относительно линии номинального размера

3.1 Методы диагностирования изделий

В зависимости от технических средств и диагностических параметров, которые используют при проведении диагностирования, можно составить следующий неполный список методов диагностирования:

·        органолептические методы диагностирования, которые основаны на использовании органов чувств человека (осмотр, ослушивание);

·        вибрационные методы диагностирования, которые основаны на анализе параметров вибраций технических объектов;

·        акустические методы диагностирования, основанные на анализе параметров звуковых волн, генерируемых техническими объектами и их составными частями;

·        тепловые методы; сюда же относятся методы диагностирования, основанные на использовании тепловизоров;

·        специфические методы для каждой из областей техники (например, при диагностировании гидропривода широко применяется статопараметрический метод, основанный на анализе задросселированного потока жидкости; в электротехнике применяют методы, основанные на анализе параметров электрических сигналов, и т. д.).

.1.1 Визуальный конроль

На опасных производственных объектах визуальный и измерительный контроль регламентируется руководящим документом РД 03-606-03. Визуальный контроль - это единственный вид неразрушающего контроля, который может быть выполнен без какого-либо оборудования с использованием простейших измерительных средств.

Дефекты диагностируемого объекта и отклонения от заданной геометрической формы, обнаруженные при визуальном контроле, подлежат измерению с помощью различных измерительных инструментов и визуально-оптических приборов. Для измерения малых дефектов используются стандартные измерительные инструменты, применяемые в машиностроении: линейки, рулетки, штангенциркули глубиномеры, струны, отвесы, шаблоны и др. Визуальный контроль с применением оптических средств называют визуально-оптическим. Применение оптических средств позволяет существенно расширить пределы естественных возможностей человеческого зрения: производить измерения с более высокой точностью, обнаруживать более мелкие дефекты, осуществлять контроль в недоступных для человека местах закрытых конструкций. В зависимости от увеличения разрешающая способность при этом может достигать 1...5 мкм.

Приборы для визуально-оптического контроля подразделяются на три группы:

· для контроля близко расположенных объектов (лупы, микроскопы);

· для контроля удаленных объектов (зрительные трубы, бинокли, телескопы);

· для контроля закрытых объектов (эндоскопы).

В процессе технической диагностики чаще всего применяют дальномеры, нивелиры, теодолиты и тахеометры (рис. 3.1.1).

Дальномер служит для определения расстояния до заданной цели. Первые оптические дальномеры имели два объектива, разнесенные на некоторое расстояние между собой. С помощью системы линз и зеркал изображения объекта контроля от разных объективов передавались в один окуляр и накладывались друг на друга.

 

Рисунок 3.1.1 - Геодезические оптико-электронные приборы:

а - цифровой нивелир DiNi 22; 6 - электронный теодолит DJD5-1; в - электронный тахеометр DTM-352W

3.1.2 Тепловой контроль

Методы теплового вида контроля (по ГОСТ 23483-79) основаны на взаимодействии теплового поля объекта с термометрическим чувствительным элементом (термопарой, фоторезистором, термоиндикаторами, пирокристаллом и т.п.) и преобразовании параметров поля (интенсивности, температурного градиента, контраста, лучистостей и др.) в параметры электрического или другого сигнала и передаче его на регистрирующий прибор.

Тепловой вид неразрушающего контроля включает в себя методы инфракрасной дефектоскопии и пирометрии.

Инфракрасная дефектоскопия нашла применение в гражданской промышленности лишь в конце 1970-х гг. Метод основан на том, что в местах дефектов металла подогретого объекта или в зонах утонения стенок трубопровода с подогретой средой тепло передается от внутренней к внешней поверхности стенки несколько в большей степени, чем в окружающих бездефектных зонах. Тепловизор преобразует картину теплового распределения на поверхности объекта в видеоизображение. Чувствительность современных тепловизоров исчисляется десятыми долями градуса. Внешний вид некоторых тепловидеокамер показан на рис. 3.1.2. Все приборы снабжены лазерным указателем рассматриваемой зоны.

а                  б                         в

Рисунок 3.1.2 - Современные модели тепловизоров: а - «SAT S-160»; б - «SAT S-280»; в - «SAT HY-6800»; г - «SAT G-90».

Пирометрия - дистанционное измерение температуры объекта, применяется в литейном производстве для оценки температуры расплавов и в теплоэнергетике. Выполняется более простыми приборами - пирометрами (рис. 3.1.2.1).

А                      б                         в

Рисунок 3.1.2.1 - Пирометр марки «Кельвин»: а - внешний вид; б, в - измерение температуры паропроводов

Преимущества аппаратных средств пирометрии заключаются в выведении оператора из зоны действия повышенной температуры.

.1.3 Вибрационный контроль

Вибрационная диагностика основана на измерении и анализе параметров вибрации диагностируемого оборудования и занимает особое место среди прочих видов диагностики.

При изменении параметров вибрации используют два метода измерения: кинематический и динамический.

Кинематический метод заключается в том, что измеряют координаты точек объекта относительно выбранной неподвижной системы координат. Измерительные преобразователи, основанные на этом методе измерения, называют преобразователями относительной вибрации.

Динамический метод основан на том, что параметры вибрации измеряют относительно искусственной неподвижной системы отчета, в большинстве случаях инерционного элемента, связанного с объектом через упругий подвес.

В настоящее время большинство ответственных роторных машин оснащено контрольно-сигнальной виброаппаратурой (КСА), позволяющей регистрировать в контролируемых точках среднеквадратическое отклонение виброскорости в рабочей полосе частот 10...1000 Гц, автоматически включать предупредительную сигнализацию или отключать машины при достижении предельно допустимого уровня вибрации. При отсутствии КСА дежурный персонал производит измерения переносными виброметрами.

Современные системы вибромониторинга, разрабатываемые рядом организаций (ВАСТ, ТНТ и др.), предусматривают наряду с методикой измерения и обработки вибросигналов использование специализированного программного обеспечения по диагностике оборудования различных типов.

Применение таких программ обеспечивает автоматизированную диагностику неисправностей. Так, на рис. 3.1.3 приведена схема точек измерения вибрации газоперекачивающего агрегата КТ-6, оснащенного системой вибромониторинга, разработанного отечественной фирмой «ИНКОТЕС» (г. Нижний Новгород).

Рис. 3.1.3 - Схема точек измерения вибрации (температуры) компрессора КТ-6

Типовая программа диагностирования роторных машин, не оснащенных системами вибромониторинга, включает следующие основные этапы:

1. Изучение и анализ технической и эксплуатационной документации и результатов оперативного контроля.

2. Визуальный осмотр машины и фундамента, проверка состояния соединительных муфт, уплотнений и других элементов, оценка функциональной работоспособности машины по параметрическим критериям и КПД, проверка работоспособности вспомогательного оборудования, систем управления и контроля, снятие контурной характеристики машины.

3.Разработка индивидуальной программы диагностирования и графика проведения работ с учетом конструктивных особенностей машины и условий ее эксплуатации.

4.Подключение в назначенных контрольных точках и тарировка вибродиагностической аппаратуры, регистрация параметров вибрации подшипников, корпуса, фундамента. Расшифровка и анализ спектральных составляющих вибросигналов.

5.Контроль основных узлов и деталей роторной машины неразрушающими методами (при необходимости).

6.Обследование состояния фундамента и строительных конструкций здания. Обследование проводится в том случае, если при предварительном осмотре установлено нарушение их целостности или выявлены изменения вибрационной характеристики системы «ротор-фундамент» (оценка состояния фундамента и строительных конструкций здания производится по соответствующим методикам).

7.Окончательная обработка и анализ результатов контроля, принятие решения: продолжение эксплуатации машины, вывод ее в ремонт или замена на новую.

Преимущества:

1.      метод позволяет находить скрытые дефекты;

2.      метод, как правило, не требует сборки-разборки оборудования;

.        малое время диагностирования;

.        возможность обнаружения неисправностей на этапе их зарождения.

Недостатки:

. особые требования к способу крепления датчика вибрации;

. зависимость параметров вибрации от большого количества факторов и сложность выделения вибрационного сигнала.

.2 Средства КТС и ДТС

На данный момент существует множество приборов для измерения вибрации, представляющие собой как переносные, так и стационарные системы. Атлант-8 - многоканальный синхронный регистратор и анализатор вибросигналов (виброанализатор).

Рис. 3.2 - Атлант-8 - многоканальный синхронный регистратор и анализатор вибросигналов (виброанализатор).

Многоканальный синхронный регистратор-анализатор вибросигналов Атлант-8 является современным прибором, предназначенным для решения наиболее сложных задач в вибрационной диагностике состояния оборудования. Основу виброанализатора Атлант составляет переносный компьютер типа "ноутбук", в котором объединены функции регистрации сигналов, обработки, хранения. Функции первичной обработки вибросигналов, фильтрации и синхронного цифрового преобразования реализуются во внешнем блоке. К этому блоку подключаются вибродатчики и отметчик фазы, используемый при балансировке.

Анализатор вибрации двухканальный "Диана-2М" (виброанализатор) предназначен для диагностики состояния и балансировки вращающегося оборудования.

Он является портативным, малогабаритным, автономным, переносным, эффективным и дешевым решением для проведения наиболее часто встречающихся в практике диагностических работ. Прибор прост в работе и доступен специалистам, имеющим различный уровень вибрационной подготовки.

Рис. 3.2.1 -Диана-2М - двухканальный анализатор вибросигналов

Он является портативным, малогабаритным, автономным, переносным, эффективным и дешевым решением для проведения наиболее часто встречающихся в практике диагностических работ. Прибор прост в работе и доступен специалистам, имеющим различный уровень вибрационной подготовки. Анализатор вибрации «Диана-2М» обладает уникальными возможностями в регистрации и обработке сигналов.

Рис. 3.2.2 - Методы виброзащиты

4. Методы повышения надежности компрессоров и их элементов

.1 Общие положения о надежности изделий

Надежность - это свойство объекта выполнять заданные функции, сохраняя во времени значения установленных эксплуатационных показателей в заданных пределах, соответствующих заданным режимам и условиям использования, технического обслуживания, ремонтов, хранения и транспортирования (ГОСТ 13377-75).

В это определение входят три основных составляющих:• выполнение заданных функций;• время их выполнения;• условия эксплуатации.Рассмотрим эти составляющие подробнее.

Что касается выполнения заданных функций, то здесь необходимо сказать о двух понятиях тесно связанных с теорией и практикой надежности: работоспособность и исправность.

Работоспособность - состояние объекта, при котором он способен выполнять заданные функции с параметрами, установленными требованиями технической документации.

Неверно отождествлять работоспособность и исправность потому, что исправность - это состояние объекта, при котором он соответствует всем требованиям технической документации.

Вторым важнейшим элементом, входящим в понятие надежности, является время. Это - естественно, так как физическая сущность надежности состоит в том, что изделие должно сохранять свои технические характеристики во времени.

Показатели надежности

Показатель надежности - количественная характеристика одного или нескольких свойств, составляющих надежность объекта.

Под номенклатурой показателей надежности понимают состав показателей, необходимый и достаточный для характеристики объекта или решения поставленной задачи. Полный состав номенклатуры показателей надежности, из которой выбираются показатели для конкретного объекта и решаемой задачи, установлен ГОСТ 27.002-89.

Показатели надежности принято классифицировать по следующим признакам:

по свойствам надежности:

показатели безотказности;

показатели долговечности;

показатели ремонтопригодности;

показатели сохраняемости;

по числу свойств надежности, характеризуемых показателем:

единичные показатели (характеризуют одно из свойств надежности);

комплексные показатели (характеризуют одновременно несколько свойств надежности);

по числу характеризуемых объектов:

групповые показатели;

индивидуальные показатели;

смешанные показатели;

Групповые показатели - показатели, которые могут быть определены и установлены только для совокупности объектов; уровень надежности отдельного экземпляра объекта они не регламентируют.

Индивидуальные показатели - показатели, устанавливающие норму надежности для каждого экземпляра объекта из рассматриваемой совокупности (или единичного объекта).

Смешанные показатели могут выступать как групповые или индивидуальные.

по источнику информации для оценки уровня показателя:

расчетные показатели;

экспериментальные показатели;

эксплуатационные показатели;

экстраполированные показатели;

Экстраполированный показатель надежности - показатель надежности, точечная или интервальная оценка которого определяется на основании результатов расчетов, испытаний и (или) эксплуатационных данных путем экстраполирования на другую продолжительность эксплуатации и другие условия эксплуатации.

по размерности показателя различают показатели, выражаемые:

наработкой;

сроком службы;

безразмерные (в том числе, вероятности событий).

Методы повышения надежности

Все методы повышения и поддержания надежности разбиваются на три большие группы: методы, применяемые при проектировании, при изготовлении и при эксплуатации. Методы повышения надежности, применяемые при проектировании К таким методам относятся: 1) резервирование; 2) упрощение системы; 3) выбор наиболее надежных элементов; 4) создание схем с ограниченными последствиями отказов элементов; 5) облегчение электрических, механических, тепловых и других режимов работы элементов; 6) стандартизация и унификация элементов и узлов; 7) встроенный контроль; 8) автоматизация проверок. Эффективность этих методов состоит в том, что они позволяют из малонадежных элементов строить надежные системы. Эти методы позволяют уменьшить интенсивность отказов системы, уменьшить среднее время восстановления и время непрерывной работы системы.

.2 Технические предложения по повышению надежности

Воздух, всасываемый компрессором, очищается в двух воздушных фильтрах , установленных на клапанных коробках / цилиндров 1-й ступени.

После сжатия в цилиндрах 1-й ступени воздух для охлаждения поступает в холодильник компрессора, который состоит из двух секций верхнего коллектора и двух нижних коллекторов. В средней части верхнего коллектора имеется патрубок, соединяющийся с клапанной коробкой 2-й ступени.

На основании рассмотренных мной патентов, стало очевидным, что большой нагрев трущихся поверхностей вращающихся элементов компрессора таких как: подшипники, вал, узел шатунов, приводит к износу деталей и уменьшению их срока эксплуатации. Поэтому, для решения этой проблемы я предлагаю подвести холодный воздух из холодильника во внутреннюю полость нижней части компрессора, где и находятся перечисленные мной элементы. Выполнить это можно с помощью трубы небольшого диаметра (), концы которой "вмонтировать" (например, посредством сварки) в нижнюю часть патрубка, упомянутого выше, а второй конец в корпус КТ-6, соответственно. Также будет происходить охлаждение масла в картере, что положительно скажется на работе компрессора.

Чтобы сбросить избыточное давление во внутренней полости, дополнительно нужно вварить патрубок для присоединения латунного клапана (рис.4.2) с внутренним проходным диаметром 10 мм.

Рисунок 4.2 - Предохранительный клапан

4.3 Показатели качества и надежности компрессора КТ-6

Одним из важнейших требований, предъявляемых к нефтегазоперерабатывающему оборудованию, является его надежность.

Известно, что в общем случае надежность технического устройства можно характеризовать его безотказностью, долговечностью, ремонтопригодностью и сохраняемостью. Для оборудования, работающего в нефтегазопереработке, особенно важны две первые составляющие. Долговечность обеспечивает длительную работу оборудования в условиях принятой системы ремонта и техобслуживания, а безотказность - непрерывность его функционирования в межремонтный период. Высокая безотказность оборудования исключает его внезапные отказы и аварии с их непредсказуемыми и зачастую очень тяжелыми последствиями.

1. Номенклатура основных показателей качества компрессоров и холодильных установок

1.1. Номенклатура основных показателей качества компрессоров и холодильных установок приведена ниже.

.1.1. Для компрессоров

Показатели назначения:

- Объемная производительность, приведенная к начальным условиям, м3/с (м3/мин)

Давление начальное, номинальное, МПа (кгс/см2).

Давление конечное, номинальное, МПа (кгс/см2).

Показатели экономного использования сырья, материалов, топлива, энергии:

- Мощность потребляемая, кВт

Масса, кг

Удельная мощность (для компрессоров общего назначения), кВт·м-3·мин

Изотермный КПД (для компрессоров специального назначения)

Показатели надежности:

- Средний ресурс до капитального ремонта, ч

Средняя наработка на отказ, ч

Показатели технологичности:

Удельная масса:

для компрессоров общего назначения, кг·м-3·мин

для компрессоров специального назначения, кг/кВт

Средний уровень звука в контрольных точках, дБА

.1.2. Для холодильных установок

Показатели назначения:

- Холодопроизводительность, кВт (ккал/ч)

или

объемная производительность, м3/с (м3/ч),

или

тепловой поток, кВт (ккал/ч)

Поверхность теплообмена, * м2

* Для аппаратов, не входящих в состав агрегатированных машин и агрегатов.

Допустимая разность давлений нагнетания и всасывания, МПа (кгс/см2)

или

максимальное давление, МПа (кгс/см2),

или

отношение давлений

Диапазон работы по температуре, °С:

кипения,

конденсации,

нагнетания,

охлаждающей среды,

хладоносителя

Показатели экономного использования сырья, материалов, топлива, энергии:

- Мощность (на валу, из сети), кВт

Масса, кг

Удельная холодопроизводительность,

или

удельный расход греющей среды,  ,

удельный тепловой поток,  ,

или

коэффициент теплопередачи,

Показатели надежности:

- 90%-ный ресурс до капитального ремонта, год (ч) или

90%-ный полный ресурс, год (ч)

Наработка на отказ, ч

Показатели технологичности:

- Удельная масса,

Показатели стандартизации и унификации:

Диаметры:

цилиндра поршневого компрессора, мм;

ведущего винта винтового компрессора, мм;

колеса турбокомпрессора, мм.

Применяемость основных показателей качества воздушных и газовых компрессоров приведена в табл.4.3

Таблица - 4.3

Примечание. Знак "+" означает применяемость, знак "-" - неприменяемость, знак "±" - применяемость по усмотрению разработчика.

Порядок технического диагностирования технического объекта:

Рис. 4.3 - Порядок технической диагностики

 

Заключение


Диагностирование - это процесс определения и контроля технического состояния объекта.

Определяющим фактором качества машин и оборудования является надёжность, проблемы которой решаются на всех стадиях жизненного цикла.

Надежность - это свойство объекта сохранять во времени в установленных пределах сохранять все параметры, обеспечивающие выполнение требуемых функций в заданных условиях эксплуатации.

Техническое диагностирование является на данный момент одним из важнейших показателей, необходимых для контроля состояния оборудования на всех стадиях его жизненного цикла. Стадия жизненного цикла изделия включает ряд этапов, начиная от зарождения идеи нового продукта до его утилизации по окончании срока использования.

Повышение надёжности зависит в каждом случае от многочисленных факторов, правильно выбранных методов и способов повышения надёжности, которые позволяют значительно повысить эффективность работы оборудования.

Результатом данной работы является выполнение поставленных задач, а именно:

·        Закреплены знания по общим вопросам и проблемам КТС и диагностики изделий НГП;

·        Исследованы: особенности эксплуатации , дефекты и неисправности, а также устройство и принцип действия компрессора КТ-6;

·        Представлены методы и средства контроля и диагностики поршневых компрессоров;

·        Изучены методы повышения надежности компрессоров и их элементов

·        Разработано техническое предложение по повышению надежности.

Список использованных источников


1.      Всемирная инициатива CDIO. Стандарты: информационно-методическое издание/ Пер. с анг. и ред. А.И. Чучалиной, Т.С. Петровской, Е.С. Кулюкиной; Томский политехнический университет. - Томск: Изд-во Томского политехнического университета, 2011.- 17 с.

2.     Бабаев С.Г..Надежность нефтепромыслового оборудования. М.:Недра , 1997. -264 с.

3.      Богданов, Е. Л.   Основы технической диагностики нефтегазового оборудования: Учеб. пособие для вузов,  Е. А. Богданов. - М.: Высш. шк., 2006. - 279 с: ил.

.        ГОСТ Р 53480-2009 Надежность в технике. Термины и определения.

.        ГОСТ Р ИСО 9001-96. Системы качества. Модель обеспечения качества при проектировании, разработке, производстве, монтаже и обслуживании.

.        ГОСТ 25866-83. Эксплуатация техники. Термины и определения.

.        ГОСТ 28.001 -83. Система технического обслуживания и ремонта техники. Основные положения.

.        ГОСТ 2518-87. Диагностирование изделий. Общие требования.

.        Конов В.Н. Основы технологии машиностроения. Учеб. Пособие для бакалавров по направлению 151000.62 «Технологические машины и оборудование». Красноярск: Сибирский федеральный ун-т; Институт нефти и газа. 2013. - 144 с.

.        Макушкин Д.О. Диагностика и восстановление нефтепромыслового оборудования: Учеб. пособие / Д.О. Макушкин. Красноярск: ИПЦ КГТУ, 2002. 142с.

.        Протасов В.Н., Султанов Б.З., Кривенков С.В. Эксплуатация оборудования для бурения скважин и нефтегазодобычи. Под общ. ред. В.Н. Протасова: Учеб. для вузов. - М.: ООО «Недра-Бизнесцентр», 2004. - 691 с.: ил.

.        СТО 4.2 - 07 - 2014 Система менеджмента качества. Общие требования к построению, изложению и оформлению документов учебной деятельности. Введ. взамен СТО 4.2 - 07 - 2012; Красноярск: ИПК СФУ, 2014. - 60 с.

Похожие работы на - КТС и диагностирование машин и оборудования НГП на примере компрессора КТ-6

 

Не нашли материал для своей работы?
Поможем написать уникальную работу
Без плагиата!
Без нейросетей!