Исследование характера упрочнения металла по индикаторной диаграмме растяжения
МИНИСТЕРСТВО
ОБРАЗОВАНИЯ И НАУКИ РОССИЙСКОЙ
ФЕДЕРАЦИИ
Федеральное
государственное бюджетное образовательное учреждение
высшего
профессионального образования
“Магнитогорский
государственный технический университет им.Г.И.Носовa”
Кафедра
технологии, сертификации и сервиса автомобилей
КУРСОВАЯ
РАБОТА
По
дисциплине “Обработка металлов давлением”
На
тему “Исследование характера упрочнения металла по индикаторной диаграмме
растяжения”
Исполнитель: студент группы ТСБ12-1 Усманова
А.К.
Руководитель: кандидат технических наук Зотов
С.В
Работа допущена к защите ___ _______20__г.
______________
Работа защищена ____ _______20__г. с оценкой
____________
Магнитогорск
2013
ЗАДАНИЕ
Вариант 11
Для того, чтобы по индикаторной диаграмме
растяжения рассчитать характеристики упрочнения и пластичности металла образца,
а также построить кривые упрочнения, в таблице представлены необходимые данные
для расчета всех характеристик.
Таблица 1 - Исходные данные для расчета
|
Р,
кгс
|
Dl, мм
|
e, б/р
|
q
|
sусл,
кгс/мм2
|
σК МПа
|
h
|
si = sS
|
e
|
dШ, мм
|
dК, мм
|
|
РТ
|
Рmax
|
PК
|
lР
|
lК
|
eШ
|
eК
|
qШ
|
qК
|
sТ
|
sВ
|
|
|
sШ кгс/ мм2
|
К,
Па
|
εШ
|
eК
|
|
|
|
2500
|
4000
|
3500
|
16
|
22
|
0,32
|
1,18
|
0,24
|
0,54
|
31,9
|
51
|
7,2
|
0,9
|
7,2
|
7,5
|
0,28
|
0,8
|
8,71
|
677
|
d0=10 мм; F0=78,54
мм2; l0=50 мм
Рисунок 1- Индикаторная диаграмма
растяжения. Вариант 11
ВВЕДЕНИЕ
Для расчета технологических процессов обработки
металлов давлением и оборудования для их осуществления необходимо знать
пластичность металла и сопротивление его пластической деформации.
Пластичность - свойство металла получать
остаточную (пластическую) деформации без разрушения. Благодаря именно этому
свойству металлы могут подвергаться обработке давлением.
При обработке металлов давлением (при пластической
деформации) изменяются не только форма и размеры деформируемого тела, но
меняются также и механические свойства металла, в первую очередь - его
пластичность и сопротивление пластической деформации. При холодной обработке
давлением обычно пластичность уменьшается, а сопротивление пластической
деформации увеличивается. Большинство механических свойств металла определяют в
результате испытания образцов на растяжение (ГОСТ 1497-84).
Определение механических свойств металлов
производится для выбора материалов и расчета изготавливаемых из них
конструкций, а также для оценки их работоспособности в различных условиях
эксплуатации. Определение механических свойств необходимо при разработке новых
сплавов и новых технологических процессов и для оценки качества, однородности и
стандартности металлических материалов при их производстве.
Ниже рассмотрены механические характеристики
материалов, определяемые при следующих видах деформации: растяжении, сжатии,
изгибе, кручении, внедрении в тело твердого наконечника (твердость) и ударном
изгибе надрезанных образцов, а также отклонения от идеальной упругости и
явления анизотропии механических свойств реальных металлически
ГОСТ 1497-84 определяет термины и обозначения,
форму и размеры образцов для испытаний, проведение испытаний и подсчет
результатов.
С помощью статических испытаний на растяжение по
ГОСТ 1497-84 определяются следующие характеристики механических свойств
металла:
. предел пропорциональности;
. модуль упругости;
. физический предел текучести;
. условный предел текучести;
. временное сопротивление;
. относительное равномерное удлинение;
. относительное удлинение после разрыва;
. относительное сужение поперечного сечения
после разрыва.
Предел пропорциональности и модуль упругости
являются характеристиками упругих свойств металла. Физический предел текучести
и временное сопротивление характеризуют сопротивление металла пластической
деформации. Относительное равномерное удлинение, относительное удлинение после
разрыва и относительное сужение поперечного сечения образца после разрыва
характеризуют пластичность металла.
1. АНАЛИЗ ОСНОВНЫХ ТЕОРЕТИЧЕСКИХ СВЕДЕНИЙ ПО
ИССЛЕДОВАНИЮ ХАКАКТЕРА УПРОЧНЕНИЯ МЕТАЛЛА ИНДИКАТОРНОЙ ДИАГРАММЕ РАСТЯЖЕНИЯ
.1 Методы механических испытаний
Механические свойства характеризуют способность
материала сопротивляться деформации и разрушению под действием приложенных
нагрузок.
По характеру изменения во времени действующей
нагрузки механические испытания могут быть статическими (на растяжение, сжатие,
изгиб, кручение), динамическими (на ударный изгиб) и циклическими (на
усталость).
По воздействию температуры на процесс их делят
на испытания при комнатной температуре, низкотемпературные и
высокотемпературные (на длительную прочность, ползучесть).
Статические испытания проводятся при воздействии
на образец с определенной скоростью постоянно действующей нагрузки. Скорость
деформации составляет от 10-4 до 10-1 с-1. Статические испытания на растяжение
относятся к наиболее распространенным. Свойства, определяемые при этих
испытаниях, приведены в многочисленных стандартах по техническим условиям на
материалы. К статическим относятся испытания на растяжение, сжатие, изгиб,
кручение.
Динамические испытания характеризуются
приложением к образцу ударной нагрузки и значительной скоростью деформации.
Длительность испытания не превышает сотен долей секунды. Скорость деформации
составляет около 102 с-1. Динамические испытания чаще всего проводят по схеме
ударного изгиба образцов с надрезом.
Циклические испытания характеризуются
многократными изменениями нагрузки по величине и по направлению. Примером
испытаний являются испытания на усталость, они длительны и по их результату
определяют число циклов до разрушения при разных значениях напряжения. В
конечном итоге находят предельные напряжения, который образец выдерживает без
разрушения в течение определенного числа циклов нагружения.
.2 Испытания на твердость
Простейшим механическим свойством является
твердость. Методы определения твердости в зависимости от скорости приложения
нагрузки делятся на статические и динамические, а по способу ее приложения - на
методы вдавливания и царапания. Методы определения твердости по Бринеллю,
Роквеллу, Виккерсу относятся к статическим методам испытания.
Твердость - это способность материала
сопротивляться вдавливанию в него более твердого тела (индентора) под действием
внешних сил.
При испытании на твердость в поверхность
материалов вдавливают пирамиду, конус или шарик (индентор), в связи с чем
различают методы испытаний, соответственно, по Виккерсу, Роквеллу и Бринеллю.
Кроме того, существуют менее распространенные методы испытания твердости: метод
упругого отскока (по Шору), метод сравнительной твердости (Польди) и некоторые
другие.
При испытании материалов на твердость не
изготавливают стандартных специальных образцов, однако к размерам и поверхности
образцов и изделий предъявляются определенные требования.
Твердость по Виккерсу (ГОСТ 2999-75)
устанавливают путем вдавливания в металл индентора - алмазной пирамиды с углом
при вершине 136° под действием постоянной нагрузки Р: 1; 2; 2,5; 3; 5; 10; 20;
30; 50 или 100 кгс и выдержки под нагрузкой в течение 10-15 с. Для определения
твердости черных металлов и сплавов используют нагрузки от 5 до 100 кгс, медных
сплавов - от 2,5 до 50 кгс, алюминиевых сплавов - от 1 до 100 кгс. После снятия
нагрузки с помощью микроскопа прибора находят длину диагонали отпечатка, а
твердость 
рассчитывают по формуле

[1]
где Р - нагрузка, кгс; d- диагональ отпечатка,
мм.
Имеется таблица зависимости
твердости от величины нагрузки и длины диагонали. Поэтому на практике
вычислений не производят, а пользуются готовой расчетной таблицей. Твердость по
Виккерсу 
измеряется в кгс/мм2, Н/мм2 или
МПа. Значение твердости по Виккерсу может изменяться от 
2060 до 
5 при нагрузке 1 кгс.
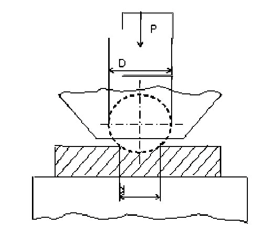
По методу Бриннелля вдавливают в
образец или изделие стальной закаленный шарик диаметром 10, 5 или 2,5 мм под
действием нагрузок 3000, 1000, 750, 500, 250, 62,5 кгс и др. (ГОСТ 9012-59,
рисунок 1.1). Полученный круглый отпечаток на образце измеряют под лупой и по
таблицам находят величину твердости по Бринеллю, значение которой не превышает
450 НВ. Твердость по Бринеллю почти совпадает со значениями твердости по
Виккерсу.
Твердость HB - это также
величина напряжений сопротивления вдавливанию:

[2]
где
P- нагрузка, кгс;площадь отпечатка, мм2;глубина сегмента отпечатка;диаметр
шарика, мм;диаметр отпечатка, мм.
Твердость
по Бринеллю НВ (по умолчанию) имеет размерность кгс/мм2, например, твердость
алюминиевого сплава равна 70 НВ. При нагрузке, определяемой в ньютонах,
твердость по Бринеллю измеряется в МПа. Например, твердость отожженной стали
равна 207 НВ при нагрузке 3000 кгс, диаметре шарика 10 мм, диаметре отпечатка
4,2 мм или, учитывая коэффициент перевода: 1 Н = 9,8 кгс,
НВ
= 2 028 МПа.
Рисунок
1.1- Схема определения твердости по Бринеллю
По
методу Роквелла (ГОСТ 9013-59) вдавливают алмазный конус с углом при вершине
120° (шкалы А и С) или стальной шарик диаметром 1,5875 мм (шкала В).
При
этом определяют твердость, соответственно, HRA, HRC и HRB. В настоящее время
измерение твердости по методу Роквелла является наиболее распространенным
методом, потому что при использовании твердомеров Роквелла не требуется
измерять отпечаток, число твердости считывается со шкалы прибора сразу после
снятия основной нагрузки.
Метод
заключается во вдавливании в испытуемый образец индентора под действием двух
последовательно прикладываемых нагрузок - предварительной Р0 и основной Р1
которая добавляется к предварительной, так что общая нагрузка Р = Р0 + Р1 После
выдержки в течение нескольких секунд основную нагрузку снимают и измеряют
остаточную глубину проникновения индентора, который при этом продолжает
находиться под действием предварительной нагрузки. Перемещение основной стрелки
индикатора на одно деление шкалы соответствует перемещению индентора на 0,002
мм, которое принимается за единицу твердости.
На
рисунке 1.2 представлена схема измерения твердости по методу Роквелла алмазным
или твердосплавным конусом. При испытаниях измеряют глубину восстановленного
отпечатка. Шкалы А и С между собой совпадают, поскольку испытания проводят
одним и тем же индентором - алмазным конусом, но при разных нагрузках: 60 и 150
кгс соответственно. Твердость в этом случае определяется как

[3]
По
шкале В (нагрузка 100 кгс, шарик)

[4]
На
практике значения твердости по Роквеллу не рассчитываются по формулам, а
считываются с соответствующей (черной или красной) шкалы прибора. Шкалы HRC и
HRA используются для высокой твердости, HRB -для низкой. Число твердости по
Роквеллу измеряют в условных единицах, оно является мерой глубины вдавливания
индентора под определенной нагрузкой.
Рисунок
1.2 - Схема определения твердости по Роквеллу (индентор - конус)
Испытание
на растяжение материалов проводят в соответствии с ГОСТ 1497-84 «Методы
испытаний на растяжение». Стандарт устанавливает методы статических испытаний
на растяжение черных и цветных металлов для определения при температуре 20 °С
пределов пропорциональности, упругости, текучести, временного сопротивления
разрыву, относительного удлинения и относительного сужения, модуля упругости.
Для
испытаний применяют плоские и цилиндрические образцы, вырезанные из детали или
специально изготовленные. Размеры образцов регламентированы указанным
стандартом, они подчиняются геометрическому подобию и могут быть короткими и
длинными. Для цилиндрического образца берется соотношение начальной рабочей
длины l0 и исходного диаметра d0 : l0= 5d0- короткий образец, l0= 10d0 -
длинный образец. Для плоского образца берется соотношение рабочей длины l0 и
площади поперечного сечения F0:= 5,65√F0 - короткий образец, l0= 11,3√F0
- длинный образец. Цилиндрические образцы изготавливаются диаметром 3 мм и
более. Образцы состоят из рабочей части длиной l0 и головок, форма и размер
которых соответствуют захватам машины (рисунок 1,3).
Рисунок
1.3 Цилиндрические и плоские образцы до (а) и после (б) испытания на растяжение
Растяжение
образца проводят на специальных машинах, позволяющих фиксировать величину
прилагаемой нагрузки и изменение длины образца при растяжении. Эти же машины
дают возможность записывать изменение длины образца при увеличении нагрузки
(рисунок 1,4) , т.е. первичную диаграмму испытания на растяжение в координатах:
нагрузка Р, Н, кН; и абсолютное удлинение образца А, мм.
Рисунок
1.4 - Первичная диаграмма растяжения
Измеряя
величину нагрузки в характерных точках диаграммы испытаний на растяжение
(рисунок 1,4), определяют следующие параметры механических свойств материалов:
σ
пц-
предел пропорциональности, точка р;
σ
0,05
- предел упругости, точка е;
σ
т
- предел текучести физический, точка s;
σ
0,2-
предел текучести условный;
σ
в
- временное сопротивление разрыву, или предел прочности, точка b.
Значения
0,05 и 0,2 в записи предела упругости и текучести соответствуют величине
остаточной деформации ∆l в процентах от l0 при растяжении образца.
Напряжения при испытании на растяжение вычисляют путем деления нагрузки Р,
соответствующей характерной точке на диаграмме, на площадь первоначального
поперечного сечения F0рабочей части испытуемого образца:

; 
; 
или 
[5]
Площадь
поперечного сечение F0 определяется по следующим формулам:
для
цилиндрического образца
=
[6]
для
плоского образца
F0 = a0
b0 [7]
где
а0 - первоначальная толщина; b0 - первоначальная ширина образца.
В
точке k устанавливают напряжение сопротивления разрушению материала.
Предел
пропорциональности и предел упругости определяют с помощью тензометра (прибор
для определения величины деформации). Предел текучести физический и условный
рассчитывают, находя нагрузку по диаграмме растяжения. Если на диаграмме нет
площадки текучести, то для вычисления условного предела текучести необходимо
провести графические построения на диаграмме (рисунок. 1). Вначале находят
величину остаточной деформации, равную 0,2 % от l0, далее отмечают отрезок на
оси деформации, равный 0,2 % от l0, и проводят линию, параллельную пропорциональному
участку диаграммы растяжения, до пересечения с кривой растяжения.
Рисунок
1.5 - Определение местоположения точки S, соответствующей условному пределу
текучести
Нагрузка
P0,2 соответствует точке их пересечения. Физический и условный предел текучести
характеризуют способность материала к началу пластической деформации, т.е.
сопротивление малой пластической деформации.
Предел
прочности можно подсчитать, используя показания силоизмерителя, по максимальной
нагрузке Рmax при разрыве либо найти Рmax (Рв) по первичной диаграмме
растяжения. Характер деформации при растяжении вязких и хрупких материалов
существенно различается.
Хрупкие
материалы после достижения максимальной нагрузки быстро разрушаются без
значительной пластической деформации, поэтому σв для
хрупких
материалов является характеристикой сопротивления разрушению, а для пластичных
- характеристикой сопротивления деформации.
Напряжение
разрушения определяют как истинное. При этом нагрузку разрушения делят на
конечную площадь поперечного сечения образца после разрушения FK:

[8]
Все
рассчитанные таким образом величины являются характеристиками прочности
материала.
Пластичность,
т.е. способность деформироваться без разрушения, характеризуется изменениями
размеров образца. При испытании на разрыв определяют следующие характеристики
пластичности:
относительное
удлинение

[9]
относительное
сужение

[10]
где
lк, Fк - соответственно, длина рабочей части и площадь поперечного сечения
образца после разрыва.
Рисунок
1.6 - Характерные участки и точки диаграммы растяжения
Рассчитанные
характеристики механических свойств после испытания на растяжение заносятся в
протокол.
Численные
значения механических характеристик позволяют оценить прочностные и
пластические свойстве испытанного материала (таблица. 1).
Таблица
1 - Оценка прочности и пластичности
|
Материал
|
sв
|
Уровень
прочности
|
d
,%
|
Уровень
пластичности
|
|
кгс/мм2
|
МПа
|
|
|
пластичности
|
|
Стали
|
140-200 и более
|
1400-2000
и более
|
высокопрочные
|
>40
|
высокопластичные
|
|
80-140
|
800-1400
|
прочные
|
20-40
|
пластичные
|
|
20-80
|
200-800
|
средней
прочности
|
10-20
|
средней
пластичности
|
|
<20
|
<200
|
малопрочные
|
<10
|
малопластичные
|
|
Алюминиевые
сплавы
|
>50
|
>500
|
высокопрочные
|
25-35
|
повышенной
пластичности
|
|
35-40
|
350-400
|
нормальной
прочности
|
20-25
|
пластичные
|
|
<35
|
<350
|
малопрочные
|
<20
|
малопластичные
|
1.3 Испытания на
ударный изгиб
Ударная вязкость характеризует удельную работу,
затрачиваемую на разрушение при ударе образца с надрезом. Ударная вязкость
испытывается на маятниковом копре с постоянным запасом работы маятника по ГОСТ
9454-78 «Металлы. Метод испытания на ударный изгиб при пониженной, комнатной и
повышенной температурах». Стандарт распространяется на черные и цветные металлы
и сплавы и устанавливает метод испытания при температурах от -100 до +1000 °С.
Метод основан на разрушении ударом маятникового копра образца с концентратором
напряжений. В результате испытания определяют полную работу, затраченную при
ударе К, или ударную вязкость КС.
Используют образцы прямоугольной формы с
концентратором типа U, V, Т (усталостная трещина). Наиболее распространенными
образцами являются образцы размерами 55x10x10 мм с U-концентратом 2x2 мм
(рисунок. 7).
Рисунок 1.7 - Стандартный образец с U-образным
надрезом для испытаний на ударный изгиб
На разрушение ударом образца затрачивается
только часть энергии маятника, в связи с чем маятник после разрушения образца
продолжает двигаться, отклоняясь на определенный угол. Чем больше величина
работы, затрачиваемой на разрушение образца, тем на меньший угол он отклоняется
от вертикали после разрушения. По величине этого угла и определяют работу удара
К или работу, затраченную на разрушение образца. Работу разрушения К относят к
площади поперечного сечения образца Soв месте излома и тем самым находят КС -
ударную вязкость:

[11]
где Kизмеряется в Дж (кгс*м), S0- в
м2 (см2).
В зависимости от вида концентратора
ударная вязкость обозначается, KCV, КСТ и имеет размерность МДж/м2 (МДж/см2)
или кгс*м/см2.
.4 Вывод
Анализируя основные характеристики
диаграмм растяжения, мы выяснили, что диаграмма - очень эффективный, наглядный
способ представления данных о деформации какого-либо металла, так как на основе
диаграммы можно сделать большое количество выводов об основных свойствах
образца- прочности, упругости, пластичности, твердости.
Помимо этого, мы выяснили, как
рассчитывается теоретический предел пропорциональности, теоретический предел
упругости, условный и физический предел текучести, временное сопротивление
разрыву, относительное удлинение и, наконец, относительное сужение на основе
анализа индикаторной диаграммы растяжения.
2. РАСЧЕТ И ОПРЕДЕЛЕНИЕ ОСНОВНЫХ
ПАРАМЕТРОВ ИНДИКАТОРНОЙ ДИАГРАММЫ
В данном разделе мы проведем расчеты
и получим значения необходимые для построения диаграмм по которым можно будет
судить о характере упрочнения металла
Рисунок 2.0 -Индикаторная диаграмма
.1 Определение m - масштаба
диаграммы по горизонтали
Определить m - масштаб
диаграммы по горизонтали (оси деформаций). Для этого провести отрезок ее¢, причем ее¢ параллельно
прямой а
[2.1]
где,
е'- расстояние на индикаторной
диаграмме от точки о до точки е'=105мм
∆lk- удлинение
образца=28 мм= 
=3.75мм
.2 Определение остаточного удлинения
образца до момента образования шейки
Рассчитать DlР
- остаточное удлинение образца до момента образования шейки
, [2.2]
где
lо- начальная длина
образца=50мм
dо- начальный
диаметр образца=10мм
dш- диаметр шейки=8,71мм
∆lp=15,895мм
.3 Определение масштаба диаграммы по вертикале
Определить n
- масштаб диаграммы по вертикали (оси нагрузок). Для этого провести отрезок df
^ оси деформаций.
[2.3]
где
Pmax-
максимальное усилие действующее на образец=4000
df- расстояние
на индикаторной диаграмме от точки d до точки f=38
n=4000/38=105,26мм
.4 Определение относительной
деформации для всех точек
Вычислить относительную деформацию
для всех точек, кроме e7=eк
, [2.4]
где
∆l-абсолютное
удлинение образца
lo-начальная
длина образца
ео=0(б/р)
е1=0,2 (б/р)
е2=0,046(б/р)
е3=0,7(б/р)
е4=0,94(б/р)
е5=1,26(б/р)
е6=1,48(б/р)
е7=0,18(б/р)
.5 Определение относительного
уменьшения длины образца
[2.5]
где
-степень деформации
qо=0(б/р)
q1=0,166(б/р)
q2=0,315(б/р)
q3=0,412(б/р)
q4=0,484(б/р)
q5=0,557(б/р)
q6=0,597(б/р)
.6 Определение относительного
уменьшения длины образца для точки q7
[2.6]
где,
Fо- начальная
площадь поперечного сечения образца=78,54мм^2
Fк- площадь
поперечного сечения образца после разрыва
dо- начальный
диаметр образца=10мм
dк- диаметр
образца после разрыва=6,77мм
q7=0,54(б/р)
.7 Определение углового напряжения
Определить угловое напряжение по
формуле:
, [2.7]
где
Pi- осевое
растягивающее усилие
Fо- начальная
площадь поперечного сечения образца
=30,8(МПа)
=32,2(МПа)
=36,2(МПа)
=40,2(МПа)
=45,6(МПа)
=49,6(МПа)
=51(МПа)
=44,3(МПа)
.8 Определение истинного напряжения
Рассчитать для всех точек, кроме последней,
истинные напряжения (сопротивление металла деформации) по формуле
, [2.8]
где
- условное напряжение
- относительная деформация
=30,8(МПа)
=38,6(МПа)
=52,9(МПа)
=68,3(МПа)
=88,4(МПа)
=112,07(МПа)
=126,3(МПа)
=87,48(МПа)
.9 Определение истинной деформации
Рассчитать значение истинной
деформации по формуле
, [2.9]
где
= относительная деформация
=0
=0,182(б/р)
=0,378(б/р)
=0,531(б/р)
=0,663(б/р)
=0,815(б/р)
=0,908(б/р)
=0,779(б/р)
.10 Определение коэффициента
анизотропии, модуля упрочнения

[2.10]; 
[2.10]
где
- коэффициент анизотропии
Т- истинное напряжение
То=17,8(МПа)
Т1=22,3(МПа)
Т2=30,5(МПа)
Т3=39,5(МПа)
Т4=51(МПа)
Т5=64,7(МПа)
Т6=72,924(МПа)
Т7=50,50(МПа)
Г-модуль упрочнения
= относительная деформация
Го=0(б/р)
Г1=0,115(б/р)
Г2=0,231(б/р)
Г3=0,404(б/р)
Г4=0,543(б/р)
Г5=0,727(б/р)
Г6=0,854(б/р)
Г7=0,681(б/р)
.11 Определение модулей пластичности
первого и второго рода

[2.12] 
[2.11]
где
Е- модуль пластичности первого рода
-истинное напряжение
= относительная деформация
Е1=192,9(МПа)
Е2=114,8(МПа)
Е3=97,6(МПа)
Е4=94(МПа)
Е6=85,340(МПа)
Е7=74,1(МПа)
G- модуль
пластичности второго рода
Е- модуль пластичности первого рода
G1=64,3(МПа)
G2=38,2(МПа)
G3=32,5(МПа)
G4=31,3(МПа)
G5=29,6(МПа)
G6=28,4(МПа)
G7=24,7(МПа)
2.12 Вывод
В данной главе был проведен комплекс расчетов
для определения величин, проанализировав зависимости которых можно будет судить
о природе испытуемого металла. Были получены ε-степени
деформации, σ- напряжения, модули
пластичности-E’,G’,
коэффициент анизотропии и модуль упрочнения.
Таблица 2 -
Расчетная таблица
|
№
точки на диаграмме
|
Р
|
Dl
|
e
|
q
|
sусл
|
sист sS si
|
ei
`e
|
Т
|
Г
|
Е¢
|
G¢
|
|
мм
на диаграмме
|
кгс
|
мм
на диаграмме
|
мм
|
б/р*
|
б/р
|
МПа
|
МПа
|
б/р
|
МПа
|
б/р
|
МПа
|
МПа
|
|
1
|
2
|
3
|
4
|
5
|
6
|
7
|
8
|
9
|
10
|
11
|
12
|
13
|
14
|
|
0
|
23
|
2421 Рт
|
0
|
0
|
0
|
0
|
30.8sт
|
30.8sт
|
0
|
17.8
|
0
|
¾
|
¾
|
|
1
|
24
|
2526.3
|
10
|
2.6
|
0.2
|
0.16
|
32.1
|
38.6
|
0.18
|
22.3
|
0.11
|
193
|
64.3
|
|
2
|
27
|
2842.1
|
23
|
6.1
|
0.46
|
0.31
|
36.2
|
52.8
|
0.38
|
30.5
|
0.23
|
114.8
|
38.3
|
|
3
|
30
|
3157.9
|
35
|
9.3
|
0.7
|
0.41
|
40.2
|
68.3
|
0.53
|
39.5
|
0.4
|
97.6
|
32.5
|
|
4
|
34
|
3578.9
|
47
|
12.5
|
0.94
|
0.48
|
45.6
|
88.4
|
0.66
|
51
|
0.54
|
94
|
31.3
|
|
5
|
37
|
3894.7
|
63
|
16.8
|
1.26
|
0.56
|
49.6
|
112
|
0.81
|
64.7
|
0.72
|
88.9
|
29.6
|
|
6
|
38 Df
|
3999.9 Pmax
|
74 od¢
|
19.7Dlp
|
1.48 eш
|
0.6 qш
|
50.9sВ
|
126.3 sш
|
0.9 eш
|
72.9
|
0.85
|
85.3
|
28.4
|
|
7
|
33 eh
|
3479.7 PК
|
106 oe¢
|
28.2DlК
|
1.18 eК
|
0.5 qК
|
44.3sусл К
|
87.5 sК
|
0.78`eК
|
50.5
|
0.68
|
74.1
|
24.7
|
3. АНАЛИЗ ГРАФИЧЕСКИХ ЗАВИСИМОСТЕЙ ИНДИКАТОРНОЙ
ДИАГРАММЫ
.1 Построим диаграмму условных напряжений σуслi=
σуслi(ε)
Рисунок 3.1 - Диаграмма условных напряжений
металл
индикаторный диаграмма растяжение
На рисунке 3.1 в изображена диаграмма условных
напряжений. Данная диаграмма является показателем зависимости условного
напряжения от деформации. Диаграмма носит название условной, так как не
учитывается утонение образца в процессе нагружения. На диаграмме наблюдается
увеличение напряжения вместе с увеличением деформации до точки соответствующей
началу образования шейки. Это обуславливается невозможностью металла далее
деформироваться пластически, начинается образование шейки, локального
уменьшения поперечного сужения образца, что вызывается падение нагрузки.
3.2 Построим кривую упрочнения первого рода σs=σs(ε)
Рисунок 3.2 - кривая упрочнения первого рода
На рисунке 3.2 изображена кривая упрочнения 1го
рода. Так называемая кривая упрочнения 1го рода, отражает зависимость степени
деформации от истинных напряжений в образце
.3 Построим кривую упрочнения второго рода σs=σs(q)
Рисунок 3.3 - кривая упрочнения второго рода
На рисунке 3.3 изображена кривая упрочнения 2го
рода. Данная диаграмма является показателем зависимости условного напряжения от
сужения. Можно заметить, что, чем больше напряжения, тем выше растет сужение.
Для анализа кривой используется касательная, которая проводится в точке
соответствующей началу образования шейки и откладывает двойное истинное
напряжение, в момент образования шейки, на перпендикуляре
.4 Построим обобщенную кривую упрочнения σi=σi(εi)
Рисунок 3.4 - обобщенная кривая упрочнения
На рисунке 3.4 изображена обобщенная кривая
упрочнения. Данная диаграмма является показателем зависимости истинных
деформаций от истинных напряжений. По диаграмме видно, что с ростом деформации,
растет и напряжение. То есть чем выше степень деформации, тем большее усилие
необходимо приложить для дальнейшей деформации металла. Происходит это как раз
в связи с явлением упрочнения металла, заключающегося в основном с перемещением
дислокаций. И если в начале деформации перемещаются только отдельные
дислокации, препятствием для которых становятся только границы зерен, то дальше
количество их возрастает, они начинают сталкиваться между собой, оставляя
микродефекты в структуре, поэтому их дальнейшее перемещение становится все
более сложным, от этого и возрастает усилие. После образования шейки деформация
происходит очень быстро, т.к уменьшается поперечное сечение и усилие
необходимое на деформацию падает. Однако истинное напряжение в самой шейке
сильно возрастает ввиду огромного количества дефектов в структуре, и количества
перемещаемых дислокаций.
.5 Построим обобщенную кривую упрочнения T=T(Г)
Рисунок 3.5 - обобщенная кривая упрочнения T=T(Г)
На рисунке 3.5 изображена обобщенная кривая
Данная диаграмма является показателем зависимости коэффициента анизотропии от
модуля упрочнения, характеризующего степень упрочнения. Кривая показывает, что
с ростом степени упрочнения возрастает коэффициент анизотропии. Этот
коэффициент характеризует неоднородность свойств металла по различным
направлениям деформации. Его повышение связано с нарушением структуры в ходе
перемещения дислокаций, появления в ней осколков дислокаций, столкнувшихся
дислокаций и прочих микродефектов.
.6 Построим зависимость E’=E’(εi),
G’=G’(Г)
Рисунок 3.6 - Модуль пластичности первого рода
На рисунке 3.6 изображена диаграмма зависимости
модуля пластичности первого рода от степени деформации. Данная диаграмма
является показателем зависимости коэффициента анизотропии от модуля упрочнения,
характеризующего степень упрочнения. Кривая показывает, что с ростом степени упрочнения
возрастает коэффициент анизотропии. Этот коэффициент характеризует
неоднородность свойств металла по различным направлениям деформации. Его
повышение связано с нарушением структуры в ходе перемещения дислокаций,
появления в ней осколков дислокаций, столкнувшихся дислокаций и прочих
микродефектов
Рисунок 3.7 - Модуль пластичности второго рода
На рисунке 3.7 изображена диаграмма зависимости
модуля пластичности второго рода от коэффициента анизотропии. Зависимость
отражает снижения модуля пластичности с повышением коэффициента анизотропии. То
есть снижение способности металла пластически деформироваться с повышением
степени анизотропии его свойств. Получается, что неоднородность свойств по
различным направлениям снижает способность металла к пластической деформации.
Обусловлено это, видимо тем, что дислокации лучше перемещаются в структуре с
однородными свойствами.
.7 Вывод о характере деформационного упрочнения
металла, из которой изготовлен образец
В главе были построены и рассмотрены различные
зависимости, отражающие изменения свойств во время упрочнения металла, а так же
проверена правильность выполнения расчетов построением касательных на кривых
упрочнения первого и второго рода и проверки их свойств. Было установлено, что
в процессе деформирования, условные напряжения увеличиваются до начала
образования шейки, после чего в связи с локальным уменьшением поперечного
сечения начинают уменьшаться. Однако истинные напряжения в шейке продолжают
расти. Выявлено, что с ростом деформации возрастает степень анизотропии
свойств, при этом способность металла к деформации снижается. Все это
обуславливается структурными изменениями металла в процессе пластического
деформирования, с перемещением дислокаций, их столкновениями, созданием
микродефектов, все это приводит к повышению степени анизотропии, повышении
нагрузки для дальнейшего деформирования и к снижению способности
деформироваться
4. ВЫВОДЫ ПО ПРОДЕЛАННОЙ РАБОТЕ
Выполняя данную курсовую работу, мы ознакомились
с индикаторными диаграммами растяжения, с их основными видами, лимитами и
характерными точками. В зависимости от типа диаграммы меняется набор
характеристик, которые по ней можно рассчитывать, а также их физический смысл.
Был проведен комплекс расчетов на основании исходной диаграммы растяжения.
Основываясь на данных расчётах (Таблица №2), мы вычислили степени деформации ε,
напряжения σ, модули
пластичности E’,G’,
коэффициент анизотропии и модуль упрочнения для исходного образца. Важнейшими
характеристиками механических свойств металлов при растяжении являются предел
пропорциональности, предел упругости, предел текучести, предел прочности,
относительное удлинение после разрыва, относительное сужение после разрыва. Все
эти характеристики дают возможность определить поведение металлов при их
дальнейшей эксплуатации.
На основании расчётов и построений графических
зависимостей по данному варианту индикаторной диаграммы растяжения, я
предполагаю что металл из которого изготовлен образец-это арматурная сталь.
СПИСОК ИСПОЛЬЗУЕМОЙ ЛИТЕРАТУРЫ
1. Теория
обработки металлов давлением - М.В. Сторожев, Е.А. Попов (4-е изд, 1977)
2. Павлов
П.А. Механические состояния и прочность материалов. Л., 1980
. Методы
неразрушающих испытаний. М., 1983
. Жуковец
И.И. Механические испытания металлов. М., 1986
. Кроха
В. А. Упрочнение металлов при холодной пластической деформации. Справочник.
6. Абдеев
Р. Г Лекции - Обработка металлов давлением
<http://www.twirpx.com/file/456246/>