Технологический проект для проведения горизонтальных подземных горных выработок

  • Вид работы:
    Курсовая работа (т)
  • Предмет:
    Геология
  • Язык:
    Русский
    ,
    Формат файла:
    MS Word
    156,57 Кб
  • Опубликовано:
    2015-03-27
Вы можете узнать стоимость помощи в написании студенческой работы.
Помощь в написании работы, которую точно примут!

Технологический проект для проведения горизонтальных подземных горных выработок

МОСКОВСКИЙ ГОСУДАРСТВЕННЫЙ ГЕОЛОГОРАЗВЕДОЧНЫЙ УНИВЕРСИТЕТ











Курсовая работа

по ПГВ




Руководитель: пр. Рудаков В.М.








Москва 2003 г.

Оглавление

Введение

Задание

.     Выбор формы поперечного сечения выработки и материала крепи

2.      Расчет площади поперечного сечения

.        Проектирование и расчет буровзрывных работ

.        Проветривание горных выработок

.        Расчет прочных размеров горной крепи

.        Уборка породы

.        Организация работ

Список использованной литературы

Введение

буровзрывной горный крепь подземный

В данной курсовом проекте мы учились составлять технологический проект для проведения горизонтальных подземных горных выработок. Это необходимо для понимания процесса проведения данных работ, в случае если в дальнейшим придется иметь дела с работами данного уровня.

 

Задание


На курсовое проектирование.

Разработать технологический проект проходки разведочной выработки для следующих условий (коэффициенты даны для горной породы):

Наименование выработки - штрек.

Горные породы - минерализованные песчаники.

Категория по трещиноватости - 2

Коэффициент крепости по Протодьяконову - 14

Коэффициент Пуассона - 0,3

Коэффициент длительной прочности - 0,85

Коэффициент структуры - 1,25

Объемная масса, т/м3 - 2,25

Проектная протяженность, м - 260

Глубина заложения выработки, м - 300

Планируемый срок выполнения работ, мес - 2

На предприятии имеется следующее горнопроходческое оборудование:

1.   различные буровые машины и инструменты для бурения шпуров.

2.      породопогрузочная машина ППН 2

.        перегружатель УПЛ 1

.        рудничный электровоз 5 АВР 2

.        рудничные вагонетки УВО 0.8

Дополнительные условия:

1.   породы обводнены.

2.      бурение шпуров осуществляется переносными перфораторами.

.        в качетве ВВ используется Порэмит-8А в патронах диаметром 32, 36 и 45 мм, массой соответственно 0,2, 0,3 и 0,5 кг с коэффициентом работоспособности относительно Аммонит №6-ЖВ равным 1.06. Плотность ВВ в патронах 1,15 г/см3.

1.  Выбор формы поперечного сечения выработки и материала крепи


Форма поперечного сечения выработки выбирается с учетом конструкции и материала крепи, которые в свою очередь, определяются устойчивостью пород в боках и кровле выработки. Необходимыми исходными данными для оценки устойчивости контура сечения являются:

1.      коэффициент крепости по М.М.Протодьяконову =14

.        объемная плотность пород =2250 (кг/м3)

.        глубина заложения выработки = 300 (м)

.        коэффициент длительности прочности массива пород =0,85

.        коэффициент Пуассона =0,3

Выбор формы поперечного сечения выработки и материала крепи производится в следующем порядке

.     ориентировочно определяют прочностные характеристики горной породы - пределы её прочности на сжатие

 (МПа)

 (МПа)

и растяжения

 (МПа)

 (МПа)

2.   категория трещиноватости горных пород

Малотрещиноватые - II категория

3.  
показатель устойчивости контура горной выработки вычисляется по формуле


4.      по значению  выбирается материал для крепления выработки

< 0,15, в породах II категории трещиноватости целесообразно использовать набрызг-бетонную крепь.

5.   в соответствии с выбранным материалом для крепи, определяется форма поперечного сечения крепи

Прямоугольно-сводчатая.

Эта форма характеризуется высотой свода hсв, радиусом осевой дуги свода R, и радиусом дуг сопряжений с вертикальными стенками r.

hсв = 0,22 b (м), где b = ширина выработки в черне.

R = 0,7b (м),= 0,26b (м).

6.   в соответствии с заданными свойствами пород и принятой формой поперечного сечения выработки определяется значение коэффициента для расчета запасов устойчивости её боков и кровли.

а) коэффициент концентрации напряжений в боках выработки

К1 = 2,5

б) коэффициент концентрации напряжений в кровле выработки

К2 = 0,4

в) коэффициент бокового распора


г) коэффициент структурного ослабления пород

Кс = 0,4

7.   определяются максимальные и минимальные напряжения на контуре горной выработки

 (МПа)

(МПа)

8.   вычисляются пределы прочности массива пород на сжатие и растяжение

 (МПа)

(МПа)

 (МПа)

(МПа)

9.   рассчитываются коэффициенты запаса устойчивости боков и кровли


10.    по полученным значениям  и окончательно решается вопрос о необходимости крепления и делается вывод о том, что менее устойчивой является кровля выработки. Выработка может проходиться без крепления, при < 0,05, >3 и >3, что в нашем случае не так.

2.  Расчет площади поперечного сечения.


Размеры поперечного сечения подземных выработок определяют графоаналитическим способом по максимальным габаритам транспортного оборудования и с учетом зазоров, предусмотренных Правилам безопасности при геологоразведочных работах.

Определение размеров поперечного сечения выработок, проводимых с электровозной откаткой породы целесообразно начинать с построения почвы выработки с балластным слоем и рельсовыми путями.

В геологоразведке чаще всего применяются рельсы типов Р11, Р18 и Р24, ширина колеи - 600 мм. Выбор типа рельсов может осуществляться в зависимости от грузоподъемности вагонеток и протяженности рельсовых путей:

Вагонетка - УВО 0,8.

Протяженность путей - 260 м.

Рельсы типа - Р11.

Техническая характеристика рельсов Р11

Масса 1 м. рельса, кг

11,2

Высота, мм

80,5

Ширина подошвы, мм

66

Ширина головки, мм

32

Толщина шейки, мм

7


Рельсы укладываются на брусковые или пластинные шпалы толщиной 120 мм. Длина шпал принимается вдвое больше ширины колеи, расстояние между шпалами не должно превышать 7м.

Толщина балластного слоя выбирается таким образом, чтобы под шпалой находилось не менее 100 мм балласта, а шпала была погружена в балласт на ⅔ своей толщины.

С одной стороны выработки настилается пешеходный трап для передвижения людей, с этой же стороны под трапом устраивается дренажная канавка. Размеры поперечного сечения канавки зависят от величины водопритока в выработку и при притоке до 50 м3/ч составляют:

Ширина по низу

200мм

Глубина

200 мм

Ширина поверху

300 мм

Площадь поперечного сечения

0,05м2


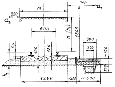
После построения ночвы выработки на чертеж наносят максимальные габаритные размеры транспортного оборудования m иn.

Технические характеристики применяемых вагонетки УВО 0,8, породопогрузочной машины ППН2 и электровоза 5 АВР 2

Рис 1. Строение пола горной выработки для расчета размеров поперечного сечения выработки

УВО 0,8

Вместимость, м3

0,8

Ширина колеи, мм

600

Жесткая база, мм

600

Тип сцепа

универсальный вращательный

Высота оси сцепа от головки рельса, мм

320

Габариты:

Длина, мм

1850

Ширина (m), мм

1000

Высота (n), мм

1250

Масса, кг

700


ППН2

Техническая производим ость, м3/мин

1

Объем ковша, м3

0,32

Размер машины, мм:


Ширина (m)

1350

Длина

2250

Высота транспортная

1600

Высота максимальная (n)

2350

Высота разгрузки

1350

Фронт разгрузки, м

2,5

Масса, т

5

Мощность двигателя, кВт

2*20

Ходовая часть

Колесно-рельсовая

Вид энергии

Пневматическая

Время цикла движения ковша, с

18/20


АВР 2

Сцепной вес, кН

50

Ширина колеи, мм

600

Двигатель:


Тип

ЭДР-7

Число

2

Мощность, кВт

6

Напряжение, В

80

Сила тока, А:


Длительный режим

45

Часовой режим

105

Тяговое усилие, кН:


Длительный режим

2,1

Часовой режим

7

Скорость, км/ч:

6,5

Жесткая база, м

0,7

Габариты, мм:


Длина

3480

Ширина (m)

1000

Высота (n)

1385

Тип аккумуляторной батареи

66ТНЖШ-350


УПЛ 1

Производительность, м3/ч

120

Тип привода

Пневматический

Мощность, кВт

9

Ширина ленты, мм

650

Скорость движения ленты, м/с

1,1

Радиус закругления минимальный, м

40

Ширина перегружателя, мм

1350

Длина, мм

15 200

Высота, мм

2150

Масса, кг

11 000

Со стороны пешеходного трапа (па высоте 1800 мм от него) откладывают минимально допустимый зазор между наиболее выступающей частью подвижного состава и крепью (стеной) выработки (точка «а1»). В соответствии с требованиями Правил безопасности, зазор принимается равным 700 мм.

С противоположной стороны минимально допустимый зазор (250 мм) между подвижным составом и крепью выработки откладывается на высоте транспортного оборудования (точка «а2»).

Через точки "а1 и "а2" проводятся линии боковых стенок выработки.

Высота боковых стенок выработки должна быть не менее 1,8 м и выбираться с учетом возможности монтажа вентиляционных труб, Ориентировочно диаметр вентиляционных труб можно принимать равным 500 мм.

Вентиляционные трубы подвешиваются к стенкам или кровле выработки обычно со стороны, противоположной пешеходному трапу, с таким расчетом, чтобы расстояние от них до наиболее выступающей част подвижного состава было бы не менее 200 мм. Разрешается подвеска вентиляционных груб (а также других коммуникаций) н со стороны свободного прохода, на высоте не ниже 1800 мм от пешеходною трапа. Если вентиляционные трубы подвешиваются на сопряжении свода выработки с вертикальной стенкой то высоту вертикальной стенки выработки можно принимать равной:


где h4 - высота транспортного оборудования от пешеходного трапа, м

DВ - диаметр вентиляционных труб, м.

,2 - зазор между транспортным оборудованием и трубопроводом, м.

При этом необходимо, чтобы соблюдалось условие: h3 > 1.8 м

При построении поперечного сечения выработок прямоугольно-сводчатой формы через верхние точки А и Б боковых стенок проводится линия свода, которая представляет из себя трехцентовую кривую.

Площадь поперечного сечения выработок "в свету" Sсв и их периметр Pсв вычисляются по формулам:

для выработок с прямоугольно-сводчатой формой сечения при hсв = 0.25 b

, (м2)

, (м2)

После построения поперечного сечения выработки "в свету" строится сечение "вчерне". В выработках, пройденных без крепления или закрепленных анкерной крепью площади поперечною сечения «в свету» и «вчерне» отличаются лишь на величину площади поперечною сечения балластного слоя. Площади и периметры поперечного сечения выработок c прямоугольно-сводчатой формы "вчерне" вычисляются по формуле:

для выработок с прямоугольно-сводчатой формой сечения при hсв= 0,25b

, (м2)

, (м2)

Полученные расчетные значения площади поперечного сечения выработки округляются в большую сторону до + 0.05 м2 . а периметра - до + 0.05 м.

При использовании породопогрузочных машин высота выработки должна быть такой, чтобы между кровлей выработки и поднятым ковшом погрузомашины оставался зазор не менее 50 мм.

Таким образом, зная характеристики нашей вагонетки и электровоза, мы можем рассчитать ширину в основании горной выработки. Она будет равна:

 (мм)

 (мм)

где m = 1000 мм, ширина 5 АВР 2, так как он имеет самые большие габариты в данном месте.

Отсюда получаем:

hсв = 0,25 b (м),

hсв = 0,25 *1,95=0,49(м),

где b = ширина выработки в черне.

R = 0,7b (м),

R = 0,7*1,95=1,37(м),= 0,26b (м). = 0,26*1,95=0,5(м).

Высоту боковой стенки принимаем за

hбок =hбалластный слой + hшпалы + hзапас +hрельсы + h5 АВР 2

hбок =100+120+80+200+1385

hбок =1882, мм

но так как высота боковой стенки от пешеходного трапа до места начала свода должна быть не меньше 1800 мм, то мы принимаем высоту боковой стенки в черне 1900 мм.

отсюда площадь поперечного сечения в черне получаем:

, м2

, м2

 м2

, м

, м

3.  Проектирование и расчет буровзрывных работ

 

Выбор ВВ и оборудования для бурения шпуров.

Исходным параметром при составлении паспорта буровзрывных работ является глубина шпуров.

(м)

где L = проектная длина выработки, м - 260

T = время, отводимое на проходку выработки, мес - 2

n = число рабочих дней в мес, - 25

m = число рабочих смен в сутки - 3

к = число циклов в смену - 1

η = КИШ - 0,77

(м)

В качестве ВВ выбирается Порэмит-8А:

Работоспособность, см3

392

Плотность ВВ, г/см3

1,15

Диаметры, мм

32 36 45

Масса, г

200 300 500

Длина, мм

220


Для проведения буровых работ выбираем переносной перфоратор с пневмоподдержкой ПП-54. По формуле

N = S/1.5

N = 4,4/1.5 = 3

Где N = количество перфораторов в забое

S = площадь поперечного сечения выработки

определяем, что

в забое максимально возможно присутствие 3 перфораторов.

Выбираем соответствующий набор буровых штанг диаметром 22 мм БШ-22-700, 1600 и 2500 с массой соответственно 2,1, 4,8 и 7,4 кг. Для бурения так же выбираем набор коронок ККП-43-25 диаметром 43 мм, так как выбираем патроны ВВ диаметром 36 мм, с маркой твердого сплава ВК-15 или ВК-11В.

Расчет параметров БВР

1.   Определяем коэффициент крепости пород с поправкой Л.И.Барона

где f = коэффициент прочности пород по Протодьяконову = 7


2.   Удельный расход ВВ

q0=0.1*, кг/м3

q0=0.1*11,5

q0=1,15, кг/м3

3.   Определяется удельный расчетный расход ВВ

, кг/м3

, кг/м3

 = коэффициент структуры горной породы = 1,25

 = коэффициент относительной работоспособности = 1,06

 = коэффициент зажима пород = 3*2,3/= 3,43

4.   Определяем количество шпуров в забое

где d = диаметр патрона ВВ, м - 0,036

 = плотность ВВ в заряде, кг/м3 - 1150

 = коэффициент заполнения шпуров ВВ - 0,7

примерное соотношение шпуров в забое

nвруб/nотб/nок = 1/0,5/2,5

nвруб =8

nотб =4

nок =16

Расстояние между парами врубовых шпуров составляет мм. Длина nвруб составляет 2,5м.

5.   Расход ВВ на один цикл составит

, кг

, кг

6.   Средняя масса одного заряда в шпуре

, кг

, кг

7.   Масса заряда врубового шпура

, кг

, кг

8.   Масса всех врубовых зарядов

, кг

, кг

9.   Масса зарядов отбойного и оконтуривающего шпуров

, кг

, кг

10. Массу в оконтуривающих и отбойных шпурах можно принимать равной

, кг

11. Определим количество патронов в каждом шпуре

,

,

,

где m = масса патрона, кг = 0,3

,

,

,

,


Но так как мы не можем резать или прессовать патроны (условия обводненности) округляем в большую сторону:

,

,


12. Уточненный заряд каждого шпура определяется выражением

, кг

, кг

, кг

, кг

, кг

, кг

13. Длина шпурового заряда

, м

, м

где  = длина патрона ВВ, м = 0,22

,

, м

, м

14. Фактический коэффициент заполнения шпуров ВВ


15.
Длина забойки в шпуре составляет

, м

, м

, м

, м

16. Уточненный расход на цикл

, кг

где  = дополнительный шпур для сооружения канавки = 1

, кг

17. Уточненный удельный расход составит

, кг/м3

, кг/м3

18.
Объем бурения в цикле

, м

, м

Выбор средства и способа взрывания.

Электрический способ взрывания подходит для любых условий.

При выборе проводов, детонаторов и взрывных приборов необходима произвести следующие расчеты.


где  = сила тока, поступающего в каждый детонатор, А

 = напряжение источника тока (ПИВ-100М), В = 600

 = сопротивление магистральных проводов (ВМВЖ - 1 жила, латунь, сечение - 1.13 мм2), Ом = 140, длина = 50 м.

 = сопротивление соединительных проводов (ВМП - 1 жила, латунь, сечение - 0,5 мм2), Ом = 40, длина = 10 м.

 = число последовательно соединенных детонаторов, = 29

 = сопротивление одного электродетонатора, Ом = 3,5

[i] = гарантированная величина тока, необходимая для безотказного взрывания электродетонаторгов, А = 1

Прибор ПИВ 100-М устраивает нас.

4.  Проветривание горных выработок


Проветривание горных выработок по нагнетательной схеме (см схему по проветриванию).

Выберем вентиляционную трубу из прорезиненной ткани, диаметром (dтр) 0,5 м, длиной (Lтр) 20 м, массой 1 метра 1,93 кг, коэффициент аэродинамического сопротивления (α) = 0,25*10-4, коэффициент удельной стыковой воздухопроницаемости Куд = 0,0016

По формуле В.Н.Воронина определяем количество воздуха, необходимого для проветривания:

, м3/с

, м3/с

где  = время проветривания, с = 1000

 = масса одновременно взрываемого в забое ВВ, кг = 54,6

 = длина проветриваемой выработки, м = 260

 = фактическая величина газовости, л/кг = 40

= площадь поперечного сечения выработки в свету, м2 = 4,2

Проверим полученное значение  на скорость движения воздуха по выработке

, м/сек

, м/сек

необходимо , иначе

По трубам

, м/сек

, м/сек

, м/сек (<20)

Аэродинамическое сопротивление трубопровода

, Н*с2/м8

, Н*с2/м8

Коэффициент утечек воздуха в данном случае


Необходимая производительность вентилятора

, м3/с

Определяем требуемый напор вентилятора

, Па

, Па

По полученным значениям определяем необходимый вентилятор ВМ-5М

Диаметр рабочего колеса, мм

500

Частота вращения, об/мин

2950

Подача, м3/мин


Минимальная

90

Максимальная

270

Давление, Па


Минимальное

450

Максимальное

2120

Основные размеры, мм


Длина

965

Ширина

660

Высота

670

Масса, кг

250

Мощность двигателя, кВт

13


Мощность потребляемая при нормальной работе вентилятора

, кВт

 0,06 , кВт

где  = КПД вентилятора - 0,7

5.  Расчет прочных размеров горной крепи


Набрызг-бетонная смесь изготавливается из цемента марок 300-500, песка и заполнителя (щебня) крупностью не более 25 мм. Состав смеси 1:2:2. в качестве ускоряющих твердение добавок в состав смеси вводят тонкомолотый алюминистый спек (2-5 % от массы цемента).

Для нанесения набрызг-бетонной смеси на стенки выработки используются роторные бетономашины БМ или шнековые бетономашины ТП. на базе двухкамерной машины БМ-60 создан комплекс оборудования «Монолиьт-1», в состав которой входят вагонетки с лобовой разгрузкой (при помощи опрокида), ленточный перегружатель, гидроцестерна и смеситель с соплом. Техническая характеристика комплекса:

Производительность по бетону, м3/ч

2,4

Суммарная мощность установленных двигателей ,кВт

6,2

Габариты, мм


Длина

10000

Высота в рабочем положении

2350

Масса, кг

4000


Расчета параметров набрызг-бетонной крепи производим в следующем порядке.

1.      Марка цемента - 400, расчетное сопротивление набрызг-бетона растяжению - мПа, крупность фракции заполнителя - 20 мм, состав бетонной смеси - цемент, песок, заполнитель.

.        Коэффициент внутреннего трения пород

3.  
Высота свода естественного равновесия

, м

, м

 - полупролет выработки, т.е. половина ширины выработки по своду.

4.   Интенсивность нормативной нагрузки

, Па

где  - высота свода естественного равновесия, м = 1,4

 - высота свода выработки, м = 0,49

 - плотность породы, кг/м3 = 2250

, Па

5.   Минимальная толщина слоя набрызг-бетона при отсутствии запаса устойчивости в кровле выработки (при nкр > 1)

, см

, см

где  - коэффициент перегрузки от горного давления - 1,2

 - коэффициент условий работы - 0,8

6.   Расход бетонной смеси на крепление 1 м2 выработки

, м3

, м3

где  - периметр поперечного сечения выработки, м - 8,19

7.   Площадь закрепляемой поверхности

, м2/цикл

, м2/цикл

6.  Уборка породы


Для уборки породы мы применяем породопогрузочную машину ППН-2, технические характеристики которой приведены выше. Для откатки разрушенной породы применяем рудничные вагонетки типа ВГ-1.6, технические характеристики которой так же приведены выше. Далее приводится расчет производительности породопогрузочной машины.

Порода убирается с помощью перегружателя, следовательно операции по обмену вагонеток в процессе погрузки породы нет. К месту разгрузки вагонетки отбуксируются электровозом.

Коэффициент разрыхления породы


Объем породы, подлежащей уборке в цикле

, м3

, м3

Эксплуатационная производительность породопогрузочной машины

, м3/час

, м3/час

где  = коэффициент, учитывающий крупность кусков породы и её физико-механические свойства = 1

 = техническая производительность породопогрузочной машины, м3/мин = 1

 = удельные затраты времени на вспомогательные операции, мин/м3 = 1,5

l = среднее расстояние от места погрузки до места обмена вагонеток, м = нет (так как используется перегружатель, данным параметром можно пренебречь)

 = скорость обмена вагонеток, м/мин = нет (так как используется перегружатель, данным параметром можно пренебречь)

 = объем кузова вагонетки, м3 = 0,8

 = коэффициент заполнения вагонетки = 0,9

= число вагонеток под погрузкой - для перегружателя это значение вычисляется как отношение длины перегружателя к длине вагонетки = 8,21

Продолжительность уборки в цикле

, ч

, ч

где  = затраты времени на выполнение подготовительно-заключительных операций при погрузке породы, ч - 0,5

7.  Организация работ


График организации работ составляется исходя из заданной скорости проведения горной выработки и принятых при определении глубины шпуров количества смен в сутки и циклов в смену. Разработка графика организации работ производится в следующей последовательности.

Определяются объемы по каждому виду работ в цикле.

По бурению шпуров


гдесуммарная длина шпуров, которые необходимо пробурит для выполнения взрывных работ.

, м

по заряжанию шпуров , м

по уборке породы , м3

по креплению горной выработки , м2/цикл

настилка рельсовых путей , , м

навеска прорезиненных вентиляционных труб

, м

, м

навеска труб для воды и сжатого воздуха

, м

, м

сооружение водосточной канавки

, м3/цикл

, м3/цикл

№ п/п

Операция цикла

Номер табл. по ЕНВ

Номер нормы

Един. измерения

Норма по ЕНВ

Поправочные коэфф.

Норма

Трудоемкость

1

Бурение шпуров

39

В7

Чел*ч/ 10 м шп

1,35

1,1

1,23

8,27

2

Заряжание и взрывание

52

Г5

Чел*ч/ 10 м шп

0,25

0,7.,0,83.,0,95

0,451

3,03

3

Уборка породы








4

Крепление

117

Е1

Чел*ч/ 10 м2

1,80

-

0,206

1,95

5

Укладка рельсов

169

Б2

Чел*ч/ 1 м. пути

0,671

1,35

0,497

0,85

6

Прокладка трубопровода для воды

148

3

Чел*ч/ 1 м. трубы

0,47

-

0,47

0,8

7

Прокладка трубопровода для сжатого воздуха

148

2

Чел*ч/ 1 м. трубы

0,28

-

0,28

0,48

8

Навеска гибких вентиляционных труб

147

А2

Чел*ч/ 1 м. трубы

0,058

0,9

0,064

0,1

9

Сооружение канавки

160

В1

Чел*ч/ 1 м3 породы

1,68

-

1,68

0,15

10






Суммарная

трудоемкость

15,63


Суммарная трудоемкость составляет 15,63 чел*ч.

Определяем количества людей в каждом звене

, чел

, чел

где  = суммарная трудоемкость

 = планируемая продолжительность цикла, ч = 6

 = продолжительность уборки породы в цикле, ч = 1,2

 = нормативный коэффициент = 1,1

Недовыполнение нормы составляет лишь 1%, следовательно, в звене будет 3 человека. Так как у нас в сутки 3 смены, то в состав проходческой бригады войдет 9 человек.

Для составления графика цикличности необходимо вычислить продолжительность выполнения каждого процесса, очередность процессов, состав исполнителей.

Продолжительность каждого процесса:

, ч

где  = количество человек

 - бурение шпуров

, ч - бурение шпуров

, ч- заряжание и взрывание

, ч - крепление набрызг-бетоном

, ч - укладка рельсов

, ч - прокладка трубопроводов для воды

, ч - прокладка трубопроводов для сжатого водуха

, ч - навеска гибких вентиляционных труб

, ч - сооружение канавки

Общая расчетная продолжительность цикла менее установленных 6 часов не более чем на 2 %, что допустимо.

Список использованной литературы


1. Учебное пособие «Проведение горизонтальных горных выработок», г Москва, МГГРУ, 2003 г.

2.      Курс лекций по ПГВ, II семестр, 2003г.

.        Справочник инженера шахтостроителя, Т.2., под ред. В.В.Белого, Москва, Недра, 1983г.

.        Транспортные машины горнорудных предприятий. Тихонов Н.В., «Недра», г. Москва, 1985 г.

.        Единые нормы времени и выработки на подземные очистные, горнопроходческие и нарезные горные работы. ч.1 г. Москва, 1984г

.        Курсовая работа по ПГВ за II семестр 2002 года.

Похожие работы на - Технологический проект для проведения горизонтальных подземных горных выработок

 

Не нашли материал для своей работы?
Поможем написать уникальную работу
Без плагиата!
Без нейросетей!