Исследование однократной и обратимой памяти формы сплава NiTi после квазистатического нагружения при различных температурах

  • Вид работы:
    Контрольная работа
  • Предмет:
    Другое
  • Язык:
    Русский
    ,
    Формат файла:
    MS Word
    407,46 Кб
  • Опубликовано:
    2014-07-20
Вы можете узнать стоимость помощи в написании студенческой работы.
Помощь в написании работы, которую точно примут!

Исследование однократной и обратимой памяти формы сплава NiTi после квазистатического нагружения при различных температурах

САНКТ-ПЕТЕРБУРГСКИЙ ГОСУДАРСТВЕННЫЙ УНИВЕРСИТЕТ

МАТЕМАТИКО-МЕХАНИЧЕСКИЙ ФАКУЛЬТЕТ

КАФЕДРА ТЕОРИИ УПРУГОСТИ










Контрольная работа

Исследование однократной и обратимой памяти формы сплава NiTi после квазистатического нагружения при различных температурах

Студент: Галиева А.Х.

Научный руководитель: Проф. Разов А.И.




Санкт-Петербург 2013

Содержание

Введение

.        Методика проведения экспериментов

.        Результаты экспериментов и их обсуждение

Выводы

Список используемой литературы

Введение

Эффект однократной памяти формы (ЭПФ) заключается в способности материала при изменении температуры (без нагрузки) полностью либо частично возвращать предварительно полученные неупругие деформации.

Кроме однократного эффекта восстановления формы существует эффект обратимой памяти формы (ОПФ), который может быть неоднократно воспроизведен в процессе термоциклирования в ненагруженном состоянии через интервалы прямого и обратного мартенситных превращений при охлаждении деформация накапливается (1), а при нагреве (2) восстанавливается (Рис.1).

Рис. 1. Накопление (1) деформации при охлаждении и ее восстановление (2) при нагреве в сплаве с ЭПФ в ненагруженном состоянии после предварительного термоциклирования под нагрузкой через интервал Мкк

ОПФ, имеет способность не исчезать практически после любого числа теплосмен. Данный эффект может быть инициирован только за счет деформационного воздействия на металл: во-первых, активным пластическим деформированием мартенсита или аустенита в изотермических условиях; во-вторых, термоциклированием материала под нагрузкой через интервал фазовых превращений.

Целью работы было исследовать функциональные свойства в сплаве NiTi эквиатомного состава после квазистатического нагружения при различных температурах.

1. Методика проведения экспериментов

Объект исследования В качестве объекта исследования взяты цилиндрические образцы, длина рабочей части которых составляет 10мм, а диаметр 5мм, из Никелида Титана эквиатомного состава, продеформированные заранее растяжением со скоростью около 10-3с-1 при различных температурах. Температура начала прямого мартенситного превращения Мs составляет 750С. После деформирования образцы термоциклировали со скоростью »2К/мин в специальной установке для дилатометрических исследований.

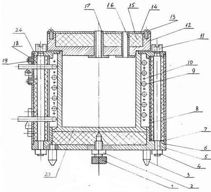
Описание установки Основная часть дилатометрической установки представляет собой цилиндрический корпус с крышкой, в котором имеется рабочая камера для размещения образцов, система нагрева, подсоединенная к ЛАТРу (Рис.2). Исследуемый образец располагается в рабочей камере вертикально. В верхний торец образца упирается стержень из инвара. Инвар - сплав, содержащий 36% никеля, и 64% железа. Коэффициент теплового расширения в этом сплаве зависит от состава и при данном соотношении имеет наименьшее значение (график зависимости коэффициента теплового расширения от состава приведен на рисунке ниже).

Рис.0. Зависимость коэффициента теплового расширения железо-никелевого сплава от процентного содержания никеля.

Образец и нижняя часть толкателя находятся внутри рабочей камеры, а верхняя часть толкателя выходит наружу через отверстие в крышке камеры. К верхнему концу толкателя через специальный переходник поджимается измеритель линейных перемещений ЛИР-15, закрепленный на массивном штативе. Штатив и корпус дилатометрической установки размещены на одной стальной плите. В крышке корпуса имеется центральное отверстие для выхода толкателя. Кроме того, крышке камеры имеются еще одно отверстие. Оно служит для вывода свободных концов термопары хромель-копель. Рабочий спай термопары прижимается к поверхности образца тонкой медной проволокой, а свободные концы, выведенные из рабочей камеры, погружаются в воду комнатной температуры. Скорость изменения температуры регулируется электрическим напряжением на электронагревателе камеры или на резисторе, погруженном в сосуд Дьюара с жидким азотом. Средняя скорость нагрева и охлаждения составляет 2 К/мин.

Рис.2. Схематическое изображение основного блока дилатометра.

1 - регулировочный винт, 2 - стопорная гайка, 3 - опора, 4, 11 - гайка, 5 - шпилька, 6 - основание, 7, 8 - обечайка, 9 - спираль охлаждающего устройства, 10 - нагревательный элемент, 12 - крышка, 13 - винт, 14 - диск, 15 - теплоизолятор, 16, 17 - втулка, 18 - зажим, 19 - винт, 23 - стакан, 24 - кольцо.

Данные с ЛИРа и термопары поступают в файл в виде таблицы:

Время

Смещение

Температура

5000

0

20,265620625

10000

0

20,265620625

15000

1

20,465620625

20000

1

20,765620625

25000

2

21,065620625

30000

2

21,4125332


Первый столбец - время, единица измерения 10-3с. Второй столбец - смещение, единица измерения 0,5*10-6м. Третий столбец - температура, единица измерения 1оС

Как видим в данном примере, информация с внешних источников (ЛИР, термопара) поступает каждые 5 секунд и в начальный момент мы имеем нулевое смещение и начальную температуру 20,265 оС.

Все данные в ходе эксперимента (нагревания/охлаждения) считываются и сохраняются с помощью программыstation.exe.

Блок-схема установки


Порядок выполнения эксперимента

.        Пропустить термопару через крышку печи

.        Закрепить термопару на образце

.        Закрепить образец в рабочей камере дилатометра

.        Закрыть крышку рабочей камеры, установить шток в крышке рабочей камеры

.        Установить ЛИР-15 на штативе

.        Подключить электропитание, включить компьютер

.        Открыть программу station.exe

.        Установить скорость для портов - 115200 для ЛИР-915; 115200 для конвертера ICPCON

.        Нажать кнопку: Чтение CJC (2 раза).

.        Установить интервал между измерениями 5000мс

.        Нажать кнопку “Start experiment”.

.        Установить напряжение 110 В на нагревателе. Когда температура достигает заданного значения (до температуры, при которой процесс, связанный с мартенситным превращением завершится), то напряжение установить на ноль.


2. Результаты экспериментов и их обсуждение

Результаты экспериментов получили в виде таблицы:

Время, 10-3с

Смещение, 0,5*10-6м

Температура, 1оС

5000

1

25,90039

10000

1

25,90039

15000

2

 25,75382

20000

2

25,75382

25000

2

25,60724


Которую обрабатывали в программе OriginPro, а именно, строили график зависимости деформации (ε) от температуры (T). Измеряли по ним однократную память формы, если таковая имеется и обратимую память формы при втором цикле. Деформацию измеряли следующим образом: смещение Δl поделим на первоначальную длину рабочей части l0, умножим на 100% и домножим на (-1) (минус возник из-за того, что при расширении образца, ЛИР записывал значения в отрицательной форме), т.е. по такой формуле:

ε=-(Δl/2l0)* 100%.

Результирующие графики будут различны, в зависимости от температуры, при которой была произведена нагрузка к образцу. В первом цикле материал может вести себя двумя способами, отсюда и получили два типа результирующих графиков, рассмотрим их на (Рис.3). На (Рис.3а) образец мы продеформировали при температуре 20оС, а на (Рис.3б) при температуре 220оС.

а)

б)

Рис.3 Графики зависимости деформации от температуры при первом термоциклировании. а)Образец продеформирован при температуре 20 оС. б)Образец продеформирован при температуре 220 оС.

Рассмотрим (Рис.3,а), анализируя экспериментальные данные, видим, что на первом этапе нагревания наблюдается эффект (однократной) памяти формы. Мы начинали нагревать наш образец, который находится изначально в мартенситном состоянии, по графику видно, что значения деформации мартенсита - линейны (тепловое расширение). Но при достижении температуры, примерно, 100 оС начинается обратное мартенситное превращение, в образце происходит накопление аустенита. Продолжали нагревать образец до 160-170 оС и заметили, что вне температурного интервала превращения наблюдается обычное расширение материала, так как зависимость снова стала линейной, то есть образец полностью перешел в аустенитное состояние. После того как мы достигли температуры окончания обратного мартенситного превращения по графику, видно, что это, примерно при 160оС, остановили нагрев и охлаждали образец. При охлаждении образец будет самопроизвольно сжиматься, и как мы видим по графику, это будет происходить по линейному закону до температуры начала мартенситных превращений, для нашего случая это примерно 75оС. Окончание же мартенситных превращений будет приблизительно при 47оС. Наш образец завершил фазовый переход и состоит на 100% из мартенсита, и снова деформация изменяется по линейному закону.

Далее нам необходимо вычислить деформацию, обусловленную ЭПФ, для этого нам необходимо вычислить изменения деформации между двумя прямолинейными участками графика (Рис.4).

Рис.4 Измерение однократной памяти формы при первом термоциклировании на примере образца, продеформированного при температуре 20оС.

Для этого мы строим две параллельные прямые таким образом: первую прямую совмещаем с верхним прямолинейным участком, а вторую параллельным переносом опускаем в точку, где наоборот начинает образовываться прямолинейный участок, то есть в точку окончания обратного мартенситного превращения. С помощью координат измерим расстояние между двумя этими параллельными прямыми, это и есть деформация, обусловленная ЭПФ.

При втором цикле нагрева образца, получили график, изображенный на (Рис.5). На этом графике изображена четкая петля гистерезиса, по которой вычисляем ОПФ (Рис.6) таким же образом, как и вычисляли для однократной памяти формы.

Рис.5 Графики зависимости деформации от температуры при втором термоциклировании

Рис.6 Измерение обратимой памяти формы при первом термоциклировании на примере образца, продеформированного при температуре 20оС.

На (Рис.5) мы видим проявление обратимой памяти формы мартенситного типа. Она образуется тогда, когда предварительная деформация сообщается материалу в мартенситном состоянии. В этом случае, при охлаждении деформация накапливается в направлении предварительной деформации, а при нагреве - возвращается.

Вернемся к (Рис.3, б).

Этот образец был продеформирован при температуре 220 оС, то есть в аустенитном состоянии, поэтому мы не можем наблюдать проявления однократной памяти. В нашем же эксперименте мы наблюдаем только ОПФ, которую и измеряем (Рис.7). Измерения проводим аналогичные, как и для образца продеформированного при 20оС.

Рис.7 Измерение обратимой памяти формы в образце, продеформированном при температуре 220 оС, во втором термоциклировании.

На (Рис.7) мы видим проявление обратимой памяти формы аустенитного типа. Она возникает после активного деформирования материала в аустенитной фазе. При охлаждении деформация всегда восстанавливается, а при нагреве накапливается в направлении предварительно заданной.

Были так же и образцы со сложным поведением, где при нагреве (охлаждении) проявлялась обратимая память формы обоих типов, то есть при деформации материал находился в двухфазном состоянии (мартенсит+аустенит). Такое смешанное поведение возникало из-за того, что образцы были продеформированны в некотором диапозоне температур, так как деформировали некоторую часть в мартенситном состоянии, а некоторую в аустенитном. На (Рис.8) изображен график подобного типа. По графику мы видим, что образец проявляет обратимую память обоих типов и, чтоб подсчитать деформацию, обусловленную ЭПФ, нужно отделить один тип от другого. При нагреве память мартенситного типа проявляется в сжатии образца (деформация уменьшается), а при аустените - в удлинении (деформация увеличивается). Ну а при остывании будет всё наоборот. На (Рис.9) приведен пример подсчета. Принцип схож с первыми графиками, например (Рис.4).

Рис.8 График зависимости деформации от температуры при втором термоциклировании.

Образец продеформирован при температуре 120 оС в диапазоне (Ms,Mf)

Таким образом, чтоб измерить память формы нам нужно, при нагреве, подсчитать все уменьшения деформации и сложить их между собой, и мы получим обратимую память формы мартенситного типа. Таким же образом можно подсчитать все увеличения деформации и сложить их - тогда получим память аустенитного типа, которую условились записывать со знаком «минус».

Рис.9. Подсчет памяти формы в образце со смешанным типом.

Таким образом мы обрабатываем все графики и получаем некоторый набор значений для построения зависимостей. А именно, зависимости однократной ПФ от температуры, при которой проводили предварительное деформирование (Рис.10) и зависимости ОПФ при нагревании (мартенситного и/или аустенитного типов) от температуры, при которой проводили предварительную деформацию (Рис.11). Так же, для сравнения, строим график зависимости ОПФ при охлаждении (мартенситного и аустенитного типов) от температуры, при которой проводили предварительную деформацию (Рис.12).

Как видно из графиков на (Рис. 11, 12) на интервале от 00С до 900С мы наблюдаем ОПФ мартенситного типа, а выше 1500С только аустенитного типа. А в интервале 115 -1300С появляется реверсивная ПФ.

Рис.10. Зависимость однократной памяти формы от температуры, при которой была приложена нагрузка.

Рис.11. Зависимость памяти формы, вычисленной в направлении нагрева, от температуры, при которой была приложена нагрузка.

Рис.12. Зависимость памяти формы, вычисленной в направлении охлаждения, от температуры, при которой была приложена нагрузка.

Выводы

. Первый цикл дает нам однократную память формы. До 900С проявляется «классическая» однократная ПФ, которая объясняется тем, что образец продеформировали при температуре ниже температуры начала обратного мартенситного превращения. Так же обнаружено, что однократный эффект памяти формы проявляется даже в диапазоне 110-1300С, убывает с увеличением температуры, но существуют вплоть до 1300С.

. Установлено, что при деформации в различных температурах по различному проявляется обратимая память формы обоих типов. Различная температура влечет различную концентрацию мартенсита и аустенита.

. В ходе работы заметили, что память мартенситного типа проявляется более выражено, нежели память аустенитного типа.

сплав квазистатический память никель

Список используемой литературы

1.      Ооцука К., Симидзу К., Судзуки Ю., Сэкигути Ю., Тадаки Ц., Хомма Т., Миядзаки С. // Сплавы с эффектом памяти формы. Изд. Металлургия, 1990. 183 с.

.        Лихачев В.А., Кузьмин С.Л., Каменцева З.П. // Эффект памяти формы. Ленинград: ЛГУ, 1987. 216 с.

.        Лихачев В.А. // Эффект памяти формы. Соросовский образовательный журнал, №3, 1997. 107 с.

.        http://wikipedia.ru/

.        Пушин В.Г., Прокошкин С.Д., Валиев Р.З. и др. Сплавы никелида титана с памятью формы. Ч. I. Структура, фазовые превращения и свойства. Екатеринбург: УрО РАН, 2006. 440 с.

.        Чупрунов Е.В., Хохлов А.Ф., Фаддеев М.А. Кристаллография. М.: Изд. Физ.-мат. лит. 2000. 496 с

7.      http:// journals.ioffe.ru/

Похожие работы на - Исследование однократной и обратимой памяти формы сплава NiTi после квазистатического нагружения при различных температурах

 

Не нашли материал для своей работы?
Поможем написать уникальную работу
Без плагиата!
Без нейросетей!