Использование жировой системы Союз 52

  • Вид работы:
    Курсовая работа (т)
  • Предмет:
    Другое
  • Язык:
    Русский
    ,
    Формат файла:
    MS Word
    745,41 Кб
  • Опубликовано:
    2014-10-09
Вы можете узнать стоимость помощи в написании студенческой работы.
Помощь в написании работы, которую точно примут!

Использование жировой системы Союз 52

Федеральное государственное бюджетное образовательное учреждение

высшего профессионального образования

ИВАНОВСКИЙ ГОСУДАРСТВЕННЫЙ ХИМИКО-ТЕХНОЛОГИЧЕСКИЙ УНИВЕРСИТЕТ

Кафедра Технологии пищевых продуктов и биотехнологии








КУРСОВОЙ ПРОЕКТ

Тема: Использование жировой системы Союз 52


Выполнила: ст-ка гр. 5/28 Н.А. Груздева







г. Иваново, 2011 г.

Содержание

Введение

1. Аналитический обзор литературы; выбор и обоснование способа производства

1.1 Пищевая ценность продукта

1.2 Исторические этапы развития аппаратурно-процессового оснащения производства творога

2. Технологическая часть

2.1 Ассортимент и характеристика продукции

2.2 Сырье для производства творога и его характеристика 

2.3 Расход сырья и компонентов

2.4 Биохимические и физико-химические процессы, протекающие при производстве творога

2.5 Описание технологической схемы производства творога раздельным кислотно-сычужным способом

2.6 Спецразработка 

2.7 Контроль производства

2.8 Материальный расчет

2.9 Режим работы цеха

2.10 Производственная программа цеха

2.11 Выбор оборудования и его расчет

2.12 Теплоэнергетический расчет

3. Автоматизация производственных процессов

4. Охрана труда и окружающей среды

5. Строительная часть

6. Экономическая оценка проектных решений

Заключение

Список использованных источников

Приложение

Введение

По числу наличия значительных предприятий не только в силу их масштабности, но и по впечатляющим результатам их рыночной деятельности молочная промышленность занимает одно из лидирующих мест в современной российской экономической жизни.

Молочная отрасль относится к числу ведущих в пищевой и перерабатывающей промышленности и формирует достаточно привлекательный по объемам рынок. Дело в том, что продукция отрасли занимает существенное место в потреблении российского населения - доля расходов на молочные продукты составляет 14 % от общих расходов на продовольствие (это 4- е место после расходов на хлебобулочные, мясные, мучные и макаронные изделия - соответственно 19 %, 18 % и 17 %).

Помимо вышесказанного не стоит забывать еще и о повышенной социальной роли отрасли, так как именно она занимается производством продуктов для детского питания. На сегодняшний момент обеспеченность детей жидкими и пастообразными молочными продуктами составляет 24 %, сухими молочными смесями - 30 %, и это на фоне общего роста детской заболеваемости и потребности 60 % детей в полном или частичном искусственном вскармливании, что тоже представляет собой достаточно перспективную рыночную нишу. /1/

Выработка молока пастеризованного 2,5 % - ной жирности в 2005 г. составила 1173 тыс.т. (35 % от общего производства молока); 1,5 % и 1 % - ной жирности - 48,7 (1,5 %); топленного - 41,2 (1,2 %); стерилизованного - 574 тыс.т. (17 %). Произведено 44 тыс.т. сливок, в том числе 10 %- ной жирности и ниже 25 тыс.т. (57 % от общего их количества).

В 2005 г. получено 1523 тыс.т. кисломолочных продуктов (рост к 2004 г. - 24 %), в том числе кефира - 7003 тыс.т. (46 % от общего выпуска); йогурта - 425 (28 %); простокваши и варенца - 35,6 (2,3 %); ряженки - 153 (10 %); ацидофильных напитков - 6,6 тыс.т. (0,4 %). /2/

Если рассматривать современный этап состояния рынка молочных продуктов, то можно выделить такие его основные черты, как:

1 практически полное господство продукции отечественного производства на прилавках магазинов;

2 ассортимент крупного молочного предприятия является практически исчерпывающим.

Развитие молочной промышленности возможно только на основе непрерывного совершенствования техники и технологии, и повышения эффективности работы основного оборудования молочных предприятий.

В настоящее время выпускается различное технологическое оборудование, позволяющее осуществить весь цикл технологических процессов, начиная от производства молока, транспортировки его на молокоперерабатывающие предприятия, малоотходную переработку, производить фасовку, упаковку, хранение.

Целью дипломного проекта является:

Использование заменителя молочного жира «СОЮЗ 71» в производстве творога. Рассмотрим на примере получения творога классического с массовой долей жира 5 %.

Поставленные задачи состоят в том, чтобы:

1 изучить, обобщить и систематизировать данные литературных источников по теме дипломного проекта;

2 получить творог классический с массовой долей жира 5 % из обезжиренного творога и заменителя молочного жира «СОЮЗ 71».

1. Обзор литературы

На рубеже XX- XXI вв. молочная отрасль агропромышленного комплекса РФ оказалась в кризисной ситуации, что обусловило значительное сокращение объемов производства и потребления социально значимой молочной продукции. Так, за период 1990 - 2006 гг., производство молока-сырья снизилось в 1,7 раза, цельномолочной продукции - в 2,3 раза, масла животного - в 3 раза, сыра - в 1,3 раза, а потребление составило 58 % от научно обоснованной нормы. При этом материально - техническая база предприятий молочной промышленности в значительной мере устарела и не позволяет выполнять задачу обеспечения населения качественной и доступной молочной продукцией. Преодоление негативных тенденций на современном этапе возможно только при ускорении научно - технического прогресса, темпы которого в России замедлились еще в 70 - 80-х годах прошлого века.

Исследования многих отечественных и зарубежных ученых позволяют утверждать, что экономический рост в обществе напрямую связан с научно-техническим прогрессом (НТП), который представляет собой комплекс объективных материальных и социально - экономических процессов, направленных на применение в хозяйственной деятельности передовых достижений науки и техники с целью повышения эффективности производственных процессов и более полного удовлетворения растущих потребностей населения. Развитие НТП обеспечивается в результате последовательного и параллельного осуществления следующих процессов: накопление знаний - преобразование их в новые технологии и технику - применение научно - технических разработок в промышленном производстве. Знание общих закономерностей развития НТП и выявление специфических особенностей, характерных для молочного производства, позволяет выявить основные направления модернизации отрасли на современном этапе. /3/

В настоящее время особенно остро стоит проблема взаимоотношений сельского хозяйства и предприятий молочной промышленности. По данным исследований экономики молочной промышленности, одним из основных сдерживающих развитие отрасли факторов является острый дефицит молока- сырья. Дальнейшее развитие сырьевого потенциала молочных заводов связано с совершенствованием системы экономического взаимодействия с производителями молока - сырья. Таким образом, одной из ключевых стратегических целей является обеспечение надежной местной сырьевой базы для обеспечения потребностей молочных заводов области в местном сырье. Из - за продолжающегося сокращения производства молока - сырья в сельхозпредприятиях области многие молочные заводы испытывают недостаток сырья. Экономическими причинами сокращения производства молока - сырья является убыточность молочно - товарных ферм, из - за этого многие сельхозпредприятия прекращают заниматься молочным животноводством.

Кроме того серьезной проблемой является качество сырого молока. Высокая заболеваемость молочного стада, плохие условия его содержания привели к тому, что в настоящее время значительная часть производимого сырого молока по своим характеристикам не устраивает перерабатывающие предприятия.

Важнейшей стратегической целью для молочных заводов является стимулирование производителей в поставке необходимых объемов молока- сырья вне зависимости от сезона года. В производстве молока - сырья существует чрезвычайно выраженная сезонность, т.е. объемы его выработки в летние месяцы существенно превосходят объемы, полученные в зимний период. Острая сезонность приводит к падению рентабельности производства по всей продовольственной цепи - от сельского хозяйства до реализации. Такая сезонность выработки продукции отрицательно сказывается на финансово - экономическом состоянии молочных заводов и ритмичности их работы.

Большую роль имеет расширение ассортимента молочной продукции и улучшению ее качества. Для расширения ассортимента и улучшения качества продукции на молочных заводах необходима модернизация оборудования и техническое перевооружение на основе импортного оборудования.

Также мощным средством повышения эффективности деятельности предприятий молочной промышленности, ее координации и контроля, являются цели финансового характера: увеличение уровня рентабельности продаж молочной продукции, повышение финансовой устойчивости и обеспечение роста собственного капитала предприятий отрасли.

Большинству молокоперерабатывающих предприятий области, следует особое внимание уделять кадровым целям. Важнейшими кадровыми целями являются увеличение производительности труда. Для этого основополагающее значение имеет стимулирование труда, включающие формирование устойчивой мотивации к повышению производительности и качества труда.

На основе стратегических целей, выделен ряд факторов определяющих эффективное развитие предприятий отрасли. К ним отнесены: обеспеченность сырьем, оборудованием, высококвалифицированным персоналом, система выпуска и реализации молочной продукции, позиции предприятий отрасли на местных и региональных рынках сбыта, стабильность и устойчивость финансового положения предприятий отрасли, использование инноваций, система стимулирования производства и повышения качества молока - сырья, возможности предприятия поддерживать благосостояние и качество жизни работников.

Возможно увеличение спроса на молочную продукцию. На конкурентную ситуацию может негативно повлиять выход на рынки молочной продукции новых иностранных производителей, демографический спад, рост производства товаров заменителей и т.д. Также в данном прогнозе на экономическую ситуацию могут повлиять в прогнозируемом периоде: экономическая глобализация, низкая рентабельность производства молока-сырья, повышение уровня участия государства в АПК и т.д.

Производство творога является достаточно трудоемким процессом, требующим значительного расхода молока. В настоящее время производители молочной продукции испытывают острый дефицит сырья, особенно в зимний период. При этом качество молока зачастую является достаточно низким при высокой его стоимости. Одним из возможных путей решения этой проблемы является использование при производстве творога растительных жиров и сухого обезжиренного молока. Такой технологический прием дает возможность сгладить сезонность в производстве, расширить ассортимент, высвободить молочное сырье для увеличения объемов производства, снизить себестоимость вырабатываемой продукции./4/

1.1 Пищевая ценность и химический состав творога

Творог - белковый кисломолочный продукт, пищевая и биологическая ценность которого обусловлена высоким содержанием белков, а также серосодержащих аминокислот, которые необходимы человеку для лучшей работы печени и почек. Повышенное содержание минеральных веществ (Са, Р, Fе, Ма и др.) содержатся в идеальном соотношении для усвоения организмом. /5/

Таблица 1 «Пищевая и энергетическая ценность творога»

Творог

Содержание основных пищевых веществ в 100 г продукта, г

Энергетическая ценность, ккал


вода

белки

углеводы

Органические кислоты в расчете на молочную

зола





лактоза

сахароза




18 %-ной жирности

65,0

14,1

2,8

-

1,0

1,0

232

9 %-ной жирности

65,0

16,7

2,0

-

1,22

1,2

159

Нежирный

80,0

18,0

1,8

-

1,22

1,2

88

"Крестьянский" 5 %-ной жирности

75,0

17,0

1,8

-

1,0

1,1

124

"Столовый" 2 %-ной жирности

76,0

18,0

2,0

-

-

-

100

Мягкий диетический:








11 %-ной жирности

73,0

16,0

1,0

-

1,0

1,0

170

4 %-ной жирности

77,5

15,0

1,0

-

1,0

1,0

104

нежирный

80,0

18,0

1,0

-

1,0

1,0

80


Творог - кисломолочный продукт, произведенный с использованием заквасочных микроорганизмов - лактококков или смеси лактококков и термофильных молочнокислых стрептококков и методов кислотной или кислотно-сычужной коагуляции белков с последующим удалением сыворотки путем самопрессования, прессования, центрифугирования и (или) ультрафильтрации (из Федерального закона от 12 июня 2008 г. N 88-ФЗ).

Творог представляет собой традиционный белковый кисломолочный продукт, обладающий высокими пищевыми и лечебно диетическими свойствами. Его вырабатывают путем сквашивания пастеризованного цельного или обезжиренного молока и удаления из полученного сгустка части сыворотки. Творог из непастеризованного молока можно использовать только для выработки изделий, подвергающихся обязательной термической обработке (вареники, сырники и др.), а также для производства плавленых сыров. В состав творога входит 14 - 17 % белков, до 18 % жира, 2,4 - 2,8 % молочного сахара. Он богат кальцием, фосфором, железом, магнием - веществами, необходимыми для роста и правильного развития молодого организма. Именно благодаря содержанию в нем большого количества кальция, творог является хорошим лечебным средством при рахите, туберкулезе, малокровии. Творог и изделия из него очень питательны, так как содержат много белков и жира. Белки творога частично связаны с солями фосфора и кальция. Это способствует лучшему их перевариванию в желудке и кишечнике. Поэтому творог хорошо усваивается организмом. С повышением массовой доли жира творога в нем увеличивается содержание -каротина, витаминов В1 и В2. Творог - один из предпочтительных продуктов для больных гипертонией. Полезен он и людям с больными почками. /6/

Таблица 2 Аминокислотный состав творога

Показатель

18 %-ной жирности

9 %-ной жирности

Нежирный

"Крестьянский"

Мягкий диетический

 






11 %-ной жирности

4 %-ной жирности

нежирный

Незаменимые аминокислоты мг на 100 г продукта: Всего:

5825

6846

7680

6921

6827

6921

7680

 

В том числе:








 

валин

838

980

990

968

900

968

990

 

изолейцин

690

828

1000

835

815

835

1000

 

лейцин

1282

1538

1850

1551

1640

1551

1850

 

лизин

1008

1210

1450

1220

1210

1220

1450

 

метионин

384

461

480

465

461

465

480

 

треонин

649

191

800

762

700

762

800

 

триптофан

212

724

180

198

206

198

180

 

фенилаланн

762

914

930

922

895

922

930

 


Метионин, холин и лизин содержащиеся в составных частях творога, предупреждают атеросклероз. Холин и метионин способствуют повышению содержания в крови лецитина, который тормозит отложение в стенках кровеносных сосудов холестерина. Метионин, кроме того, способствует выведению из организма холестерина, препятствуя, таким образом, развитию атеросклероза, предупреждает ожирение печени, которое может возникнуть в результате воздействия на организм сильных токсинов или некоторых лекарственных препаратов. При лечении наследственных мышечных дистрофий больных загружают большими дозами анаболических стероидов. Чтобы предотвратить возможное токсическое действие стероидов на печень, такие больные в обязательном порядке получают не менее. 300 г творога в сутки. Холин к тому же обеспечивает рост молодого организма; он же необходим для нормальной функции нервной системы.

Особенно нужен творог детям, беременным женщинам и кормящим матерям, так как находящиеся в нем соли кальция и фосфора расходуются на образование костной ткани, крови и т. д.

  

метионин                      лизин

Рис. 1

Творог рекомендуется больным туберкулезом и страдающим малокровием. Он полезен при заболеваниях сердца и почек, сопровождающихся отеками, так как кальций способствует выведению жидкости из организма. Обезжиренный творог рекомендуется при ожирении, болезнях печени, атеросклерозе, гипертонической болезни, инфаркте миокарда. При подагре и других заболеваниях, когда белки мяса и рыбы противопоказаны, их заменяют белком творога. Особенно полезен ацидофильно - дрожжевой творог, который обогащается дрожжами и чистой культурой ацидофильной палочки. Такой творог полезно давать ослабленным детям, при желудочно - кишечных заболеваниях, малокровии и туберкулезе. Употребление творога и творожных изделий способствует правильному обмену веществ в организме, поддержанию на определенном уровне осмотического давления. Минеральные вещества его участвуют в костеобразовании, питании нервной системы и образовании гемоглобина крови. Творог содержит разнообразные витамины, их количество для различных видов творога представлено в таблице 3.

Таблица 3 Содержание витаминов в твороге (в мг на 100 г продукта)

Творог

В-каротин

В1

В2

РР

С

18 %-ной жирности

0,06

0,05

0,30

0.30

0,5

9 %-ной жирности

0.03

0,04

0,27

0,40

0,5

Нежирный

следы

0,04

0.25

0,45

0,5

„Крестьянский"

0,02

0.04

0,26

0,42

0.5

Мягкий диетический:


11 %-ной жирности

0,03

0,04

0,27

0,40

0,5

4 %-ной жирности

0,02

0,04

0,26

0,42

0,5

нежирный

следы

0,04

0,25

0,45

0,5


.2 Исторические этапы развития аппаратурно-процессового оснащения производства творога

Показано становление и развитие аппаратно - процессового оснащения производства творога в России.

Творог относится к древнейшим кисломолочным продуктам. Предполагают, что человек начал употреблять его в пищу значительно раньше, чем сыр и масло. Это предположение обосновано тем, что в результате жизнедеятельности молочнокислых бактерий, всегда находящихся в молоке, возможно самопроизвольное скисание молока. При этом образуется сгусток, который уплотняется в результате естественного синерезиса. Естественным является и предположение, что в глубокой древности человек также случайно узнал и о сычужном сквашивании, используя в качестве тары для молока желудки убитых животных. О продуктах типа творога, получаемых в результате кислотного и сычужного свертывания молока, имеются сведения в произведениях древних поэтов, в трудах философов и ученых (Гомер, Аристотель, Гиппократ, Катон, Палладий и др.). Особенно подробно с указанием практических советов, как сквашивать молоко, и требований к качеству его писал Колуммела, живший в I веке нашей эры.

Таким образом, исторически сложилось два основных способа сквашивания молока при выработке творога: кислотный и кислотно- сычужный. Оба эти способа сохранились до сих пор.

Способы производства творога

При кислотном способе коагуляция казеина происходит в результате молочнокислого брожения. Полученный сгусток имеет хорошую консистенцию, но при выработке жирного творога он труднее освобождается от сыворотки. В связи с этим раньше кислотным способом вырабатывали, как правило, только нежирный творог. В настоящее время, применяя новые приемы обработки сгустка, этот способ как экономически наиболее выгодный используют также при производстве жирного и полужирного творога.

При кислотно-сычужном способе коагуляция казеина и образование сгустка происходит под действием молочной кислоты и сычужного фермента или пепсина. Сычужный фермент усиливает в сгустке процесс синерезиса, в результате улучшается отделение им сыворотки.

Производство жирного и полужирного творога независимо от метода коагуляции белка на предприятиях осуществляется традиционным или раздельным способом выработки.

Сущность раздельного способа заключается в том, что молоко, предназначенное для выработки творога, предварительно сепарируют. Из полученного обезжиренного молока вырабатывают нежирный творог, к которому затем добавляют необходимое количество сливок, повышающих жирность творога до 9 или 18 %. Традиционный способ производства творога позволяет получить требуемую жирность продукта непосредственно в процессе переработки молока соответствующей жирности.

При производстве творога раздельным способом сквашивание обезжиренного молока и образование сгустка осуществляется в емкостях, а для отделения сыворотки от творожного сгустка применяют сепараторы для обезвоживания творожного сгустка. Использование данного способа исключает такие трудоемкие операции как розлив сгустка в мешки и удаление из них творога в результате значительно снижаются потери творога

При производстве творога традиционным способом нормализованное молоко сквашивается в аппаратах непрерывного или периодического действия. К аппаратам непрерывного действия относят коагуляторы, периодического - творогоизготовители и творожные ванны. /7/

В зависимости от условий сквашивания выделяют два способа производства творога: термостатный и резервуарный. При термостатном способе заквашенное молоко или сливки разливают в бутылки или банки, которые затем помещают в термостатные камеры, где и протекает процесс сквашивания. Следующими операциями являются охлаждение в хладостатной камере и созревание продукта; т.е. выдержка продуктов при низкой положительной температуре. При резервуарном способе производства сквашивание, охлаждение и созревание проводят в крупных емкостях (двустенные резервуары), а затем готовый к реализации продукт фасуют./5/

Резервуарный способ более экономичен. Он исключает наличие больших площадей под термостатные и хладостатные камеры, снижается доля ручного труда, большая возможность автоматизировать и механизировать процесс. При резервуарном способе увеличивается объем продукции с 1 м кв. площади, сокращаются расходы на выработку готового продукта. Таким образом, для производства творога выбираем резервуарный способ.

В промышленных условиях творог начали вырабатывать в конце XIX - начале XX веков, что было связано с организацией городских молочных заводов. В России развитие техники и технологии производства творога условно можно разделить на несколько этапов. Следует отметить, что технология обуславливает необходимость развития техники, а техника побуждает в ряде случаев корректировать технологию.

Первый этап (с начала организации городских молочных заводов и до начала 50- х. годов XX в.).

В России промышленное производство творога на первом этапе осуществлялось, главным образом, кислотным способом с последующим отвариванием сгустка в открытых котлах или в печках. Многие десятки лет производство творога оставалось на сравнительно низком техническом уровне в основном за счет наличия в технологическом процессе таких сложных и продолжительных операций, как сквашивание и прессование. Преобладали ручные операции. В 20-е годы в России творог выпускался двух видов: из жирного молока или из «тощего» молока. В продажу шел творог в свежем виде, для хранения в прок - в соленом виде. Производство осуществлялось практически полностью вручную в деревянных чанах, деревянных прессах, топочных печах, и т. д. С небольшими изменениями это аппаратурно - процессовое оснащение производства творога сохранилась до конца 40-х годов.

В конце 40- х. - начале 50- х. годов в России согласно ГОСТ 3 - 47 творог вырабатывался двух сортов: жирный и обезжиренный. В зависимости от качественных показателей каждый сорт делился на высший, первый и второй.

Второй этап (начало 50- х. годов - начало 70- х. годов).

В этот период выполнены значительные работы по механизации и аппаратурному оформлению проведения основных технологических операций производства творога. Появились:

−ванны для сквашивания молока и получения творожного сгустка;

−пресс- тележки для удаления сыворотки из творожного сгустка;

−установки для прессования и предварительного охлаждения творога в мешочках, творогоизготовители с прессующими ваннами, где возможно совмещать операции заквашивания молока, получения сгустка, разрезка сгустка, удаления сыворотки и окончательное прессование творога;

−творогоизготовители непрерывного действия;

−сепараторы для творога;

−охладители для творога (одноцилиндровые и двухцилиндровые);

−шнековый подъемник для творога; смеситель творога со сливками;

−вальцовка для творога; машина для растирания творога;

−месильные машины для смешивания творожной массы с сахаром, изюмом, сливками, маслом и другими компонентами; дозаторы - смесители;

−поточная линия производства творога раздельным способом.

Все основные технологические операции производства творога стали высоко механизированными. Это позволило увеличить объем производства творога до объемов, обеспечивающих среднедушевое потребление его в сутки в соответствии с рекомендациями института питания.

Третий этап (начало 70- х. годов и до настоящего времени).

Этот период характеризуется дальнейшим совершенствованием техники и технологии производства творога. Были разработаны различные технологические схемы процессов производства творога непрерывным способом, в том числе с коагуляцией белков молока в потоке. Совершенствовалось технологическое оборудование для самопрессования и прессования творога, сепараторы для обезвоживания творога. Разработаны схемы и устройства для автоматизации процессов производства творога. В значительной степени, расширился ассортимент творожных изделий с вкусовыми и ароматическими добавками, покрытиями глазурью.

Совершенствовалось оборудование для мелкой фасовки творога, смесители, охладители, оборудование для его замораживания, хранения и транспортировки. Было разработано и организовано производство творога и творожных изделий нетрадиционных видов: творог из пахты и сыворотки, например альбуминный творог «Надуги», из сухих молока и сливок, зернистый творог со сливками, творог диетический, сухой творог, другие разновидности творога. /8/

Структура питания населения России в последние годы существенно изменилась. Значительно снизилось потребление пищевых продуктов животного происхождения, являющихся основным источником белка и жира (особенно у населения с низкими доходами).

Мировые тенденции в области питания связаны с созданием продуктов, способствующих улучшению здоровья при ежедневном употреблении и получивших название функциональных. В настоящее время в условиях рынка при производстве продуктов питания наибольшее распространение получили такие функциональные компоненты как пищевые волокна, витамины, минеральные вещества, полиненасыщенные жиры, антиоксиданты, олигосахариды, микроэлементы, бифидобактерии.

Учитывая концепцию государственной политики в области здорового питания России, одним из важнейших направлений разработки функциональных продуктов является использование в питании населения растительных масел и жиров.

Применение растительных масел и жиров в молочной промышленности занимает все более прочные позиции, постоянно расширяется ассортимент молочных продуктов со сложным сырьевым составом. В последнее время производители молочной продукции проявляют повышенный интерес к использованию растительных жиров в производстве творога и творожных изделий. Такой технологический прием дает возможность расширить ассортимент, высвободить молочное сырье для увеличения объемов производства, снизить себестоимость вырабатываемой продукции. ГОСТ Р 51917 - 2002 «Продукты молочные и молокосодержащие. Термины и определения» позволяет вырабатывать творожно - растительные, растительно - творожные и молокосодержащие глазированные продукты с различной массовой долей жира: нежирные (от 2,0 до 3,8 %), нормальной жирности (от 4,0 до 18,0 %), жирные (от 19,0 и более %). Для производства этой продукции рекомендуются следующие заменители молочного жира:

§  заменитель молочного жира «СОЮЗ 71»;

§  заменитель молочного жира «СОЮЗ 52 Л»;

§  заменитель молочного жира фирмы «ААК»;

§  заменитель молочного жира «Акобленд»;

§  заменитель молочного жира "Милкетта" - многокомпонентная жировая смесь со сбалансированным жирно-кислотным составом, по своим физико-химическим свойствам приближена к молочному жиру;

§  заменители молочного жира ЭКОЛАКТ - высококачественные специализированные жиры нелауринового и смешанного типов, производимые методом переэтерификации на основе фракционированных и частично гидрогенизированных растительных масел и жиров. /9/

В данном дипломном проекте рассматривается производство творога с массовой долей жира 5 % раздельным резервуарным кислотно - сычужным способом из обезжиренного творога и заменителя молочного жира «СОЮЗ 71».

При выработке творога кислотно- сычужным способом в заквашенную смесь вносят хлористый кальций и сычужный фермент. В отличие от кислотного способа не требуется нагревания сгустка для лучшего отделения сыворотки, так как в результате нагревания возможен недогрев или перегрев сгустка. В случае перегрева сгустка выше установленной температуры, получается творог с сухой и грубой консистенцией. В случае недогрева сгустка в нем замедляется отделение сыворотки, и в результате творог будет иметь повышенную кислотность, мажущую консистенцию и увеличиваются потери при его производстве.

Кроме того, в кислотном способе, под действием молочной кислоты, образующейся в результате молочнокислого брожения, казеин молока переходит в нерастворимое состояние, образуя сгусток. В отличие от сгустка, полученного при кислотно-сычужной коагуляции, он имеет меньшую прочность и вязкость. Это объясняется неодинаковой дисперсностью белковых частиц в этих двух сгустках. В сгустке, полученном при кислотно-сычужной коагуляции, белковые частицы крупных (30-50 мкм) и средних (10-30 мкм) размеров составляют около 80 %. При кислотном сквашивании в сгустке отсутствуют крупные белковые частицы, а на долю мелких (до 10 мкм) приходится около 55 %.

При кислотном свертывании кальциевые соли отходят в сыворотку, а при сычужно-кислотном сохраняются в сгустке. Это необходимо учитывать при производстве творога для детей, который необходим кальций для костеобразования. /5/

          Из приведенных выше заменителей молочного жира мы выбрали «СОЮЗ 71», так как корпорация - производитель занимает ведущее место на мировом рынке, кроме того, цена на данный вид продукции по сравнению с остальными является более приемлемой.

Жировая система «СОЮЗ 71», используемая в дипломном проекте - это смесь растительных масел. Растительные масла обладают многими полезными свойствами, которые делают их потребление более предпочтительным, чем животные жиры.

В пожилом возрасте употребление животных жиров, из-за повышенного содержания в них насыщенных жирных кислот и холестерина, может привести к ожирению и атеросклерозу. В состав растительного масла входят линолевая и линоленовая полиненасыщенные жирные кислоты, не синтезируемые в организме. Потребность в них для человека выше, чем витаминах. Полиненасыщенные жирные кислоты участвуют в качестве обязательного компонента в образовании клеточных мембран и оболочек нервных волокон. Полиненасыщенные жирные кислоты обладают свойством выводить холестерин, оказывают нормализующее действие на стенки кровеносных сосудов и могут рассматриваться в числе средств профилактики атеросклероза, инфаркта миокарда и других заболеваний сердечно-сосудистой системы. Поэтому каждый день необходимо употреблять не менее 20-30 граммов растительного масла - одного из и поставщиков незаменимых для жизнедеятельности организма человека веществ.

Высококачественный заменитель молочного жира по консистенции при 20 - 35 ºС должен быть близок к молочному жиру, т.е. содержать при этих температурах примерно равное количество твёрдой фазы.

Температуры плавления и твёрдость заменителя могут быть несколько выше, чем у молочного жира, а массовая доля твёрдой фазы при 5 - 5 ºС - на 5 -10 % ниже. В этом случае заменитель превосходит молочный жир по пластичности при низких температурах и в то же время обладает достаточной твёрдостью для недвижимости формования получаемого продукта.

2. Технологическая часть

2.1 Ассортимент и характеристика продукции

1. В зависимости от молочного сырья продукт подразделяют на:

из нормализованного молока;

из восстановленного молока;

из рекомбинированного молока;

из их смесей.

. В зависимости от диапазона массовой доли жира (м.д.ж.) продукт подразделяют на:

обезжиренный;

классический.

. В зависимости от массовой доли жира классический творог подразделяют на:

с массовой долей жира не более 1,8 %;

с массовой долей жира 5,0; 9,0; 18,0 %.

. В зависимости от технологического процесса творог мягкий обязательно выпускается одного вида:

свежий в потребительской упаковке.

          1 тонна творога с м.д.ж. 5 % раздельным способом получается путем смешивания обезжиренного творога в количестве 909 кг. с 55 % сливками, в количестве 91 кг.

Творог должен соответствовать следующим требованиям к качеству и безопасности:

. Продукт должен соответствовать требованиям технических условий и вырабатываться по технической инструкции с соблюдением соответствующих санитарных правил и норм для предприятий молочной промышленности, утвержденных в установленном порядке.

. По органолептическим показателям продукт должен соответствовать требованиям, приведенным в таблице 4.

Наименование показателя

Содержание характеристики

Внешний вид и консистенция

Мягкая, однородная или рассыпчатая, с наличием или без ощутимых частиц молочного белка. Для обезжиренного продукта - незначительное выделение сыворотки

Вкус и запах

Чистые, кисломолочные, без посторонних привкусов и запахов. Для продукта из восстановленного молока с привкусом сухого молока.

Цвет

Белый или с кремовым оттенком, равномерный по всей массе.


. По физико-химическим показателям продукт должен соответствовать требованиям, приведенным в таблице 5.

Таблица 5 Физико-химические показатели

Наименование показателя

Значение показателя для творога

 


обезжиренного

классического

Массовая доля жира, % не менее

не более 1,8

5,0

9,0

18,0

 

Массовая доля влаги, % не более

80,0

75,0

73,0

65,0

 

Массовая доля белка, % не менее

18,0

16,0

14,0

 

Кислотность, ºТ, не более

От 170 до 240

От 170 до 230

От 170 до 220

От 170 до 210

 

Температура при выпуске с предприятия, ºС

4±2

 


*Примечание - Допускается в отдельных упаковочных единицах отклонение массовой доли жира, влаги, белка ± 0,5 %.

. Остаточное количество токсичных элементов, микотоксинов, радионуклеидов и пестицидов в продукте не должно превышать допустимых уровней установленных в СанПиН 2.3.2.1078 (индекс 1.2.2), СанПиН 2.3.2.1280 и приведенных в таблице 6.

Таблица 6 Вредные вещества в продукте

Наименование вещества (элемента)

Допустимые уровни, мг/кг (л) (для радионуклеидов- Бк/кг), не более

Токсичные элементы

Свинец

0,3


Мышьяк

0,2


Кадмий

0,1


Ртуть

0,02

Микотоксины (афлатоксин М1)

0,0005

Антибиотики

Левомицетин

не допускается ‹ 0,01


Тетрациклиновая группа

не допускается ‹ 0,01 ед /г


Стрептомицин

не допускается ‹ 0,05 ед /г


Пенициллин

не допускается ‹ 0,01 ед /г

Пестициды

Гексахлорциклогексан (α, β, γ - изомеры)

1,25 в перерасчете на жир


ДДТ и его метаболиты

1,0 в перерасчете на жир

Радионуклеиды

Цезий - 137

100 Бк /л


Стронций - 90

25 Бк /л


** Для определения соответствия пищевых продуктов критериям радиационной безопасности используется показатель безопасности - В, значения которого рассчитывают по результатам измерения удельной активности цезия - 137 и стронция - 90 в пробе:

В = (А/Н)90Sr + (A/H)137Cs, (1)

где А - измеренное значение удельной активности Sr90 и Cs137 в пищевом продукте (Бк/кг); Н - допустимый уровень удельной активности для Sr90 и Cs137 в том же продукте (Бк/кг).

. По микробиологическим показателям продукт должен соответствовать требованиям СанПиН 2.3.2.1078 (индекс 1.2.2.1), СанПиН 2.3.2.1280 и приведенным в таблице 7.

Таблица 7 Микробиологические показатели

Наименование продукта

Масса продукта (г), к которой не допускаются


БГКП (колиформы)

S.aureus

Патогенные в т.ч. сальмонеллы

Дрожжи и плесени, КОЕ/г, не более

Творог со сроком годности не более 72 ч

0,01

0,1

25

дрожжи - 100  плесени - 50


Пороки вкуса, запаха и консистенции.

На органолептическую оценку влияет внешний вид творога, его вкус, запах, цвет, консистенция. Творог с дефектами вкуса (кормовой привкус, нечистый, старый, затхлый, излишне кислый, уксуснокислый, прогорклый, горький, дрожжевой вкус), консистенции (грубая, сухая, крошливая, резинистая) и внешнего вида (вспучивание, выделение сыворотки, ослизнение, плесневение) не допускается к реализации. /10/ Подобные дефекты творога возникают в результате использования недоброкачественного сырья, действия бактериальных заквасок при нарушении технологических режимов производства или несоблюдении условий охлаждения и хранения готовых продуктов. В таблице 8 приведены следующие пороки творога. /7/

Таблица 8 Пороки творога

Порок

Причины возникновения

Меры предупреждения

Кормовой привкус

Передается творогу и творожным изделиям из исходного молока

Строго контролировать качество сырья

Нечистый, старый, затхлый вкус и запах

Обусловлен: использованием плохо вымытой тары, оборудования, а также хранением продукта в плохо проветренном помещении; может быть вызван развитием о твороге гнилостных бактерий из-за применения неактивной закваски и несоблюдения режимов производства

Соблюдать санитарно-гигиенические нормы и правила при производстве продуктов, применять хорошо вымытую посуду; использовать хорошую закваску и соблюдать технологические режимы

Излишне кислый вкус

Возникает при нарушении технологического режима производства в результате усиления молочнокислого брожения при удлинении сроков самопрессования и прессования творога и несвоевременном и недостаточном охлаждении его

Строго соблюдать режимы технологических процессов

Уксуснокислые, едкие вкус и запах

Появляется в результате развития уксуснокислых бактерий, развивающихся в твороге во время хранения при повышенных температурах

Хранить творог при относительно низких положительных температурах

Прогорклый вкус

Возникает при низких температурах переработки молока и вызывается плесенями и бактериями, образующими фермент липазу, или липазой, находящейся в сыром молоке

Соблюдать санитарно-гигиенические нормы и правила обработки молока; пастеризовать молоко при соответствующих режимах с целью инактивации липазы, за счет которой и происходит разложение жира и образование горечи в продукте

Горький вкус

Появляется при поедании коровой полыни, лютика и других растений с горьким вкусом; образованию горечи способствует также развитие гнилостных бактерий, расщепляющих белки молока

Обеспечить качественный контроль молока при приемке; соблюдать санитарно-гигиенические условия выработки творога

Грубая, крошливая, сухая консистенция

Обусловлен: повышенной температурой отваривания и излишним дроблением сгустка при производстве творога кислотным способом

Соблюдать режимы технологического процесса

Резинистая консистенция

Характерна для творога, приготовленного кислотно-сычужным способом; появляется при внесении больших доз сычужного фермента при сквашивании молока при повышенных температурах.

--«--

Мажущаяся консистенция

Возникает в результате переквашивания творога

--«--

Вспучивание

Вызывается дрожжами при упаковке недостаточно охлаждённого творога, неплотной набивке его в кадки и повышенной температурой хранения

Соблюдать режимы хранения и упаковки творога

Выделение сыворотки

Наблюдается при недостаточном прессовании

Проводить прессование при условиях, предусмотренных технологическими инструкциями

Ослизнение и плесневение творога

Наблюдается при рыхлой упаковке продукта, неплотном прилегании крышки к поверхности творога и при хранении его в сырых помещениях

Соблюдать режимы хранения и упаковки творога


.2 Сырье для производства творога и его характеристика

Сырье и материалы, используемые в производстве продукта, должны соответствовать требованиям действующих нормативных и технических документов, СанПиН 2.3.2.1078, СанПиН 2.3.2.1280, СанПиН 2.3.2.1293 и сопровождаться сертификатами соответствия (декларациями о соответствии) и/или санитарно - эпидемиологическими заключениями, свидетельствами о государственной регистрации, удостоверениями качества и безопасности. Молоко натуральное коровье - сырьё должно соответствовать ветеринарным требованиям и сопровождаться ветеринарными документами в соответствии с действующей "Инструкцией о порядке выдачи ветеринарных сопроводительных документов на подконтрольные госветнадзору грузы".

Для выработки продукта применяют следующее сырьё:

·        молоко натуральное коровье - сырье не ниже второго сорта по ГОСТ Р 52054 или молоко цельное сухое высшего сорта распылительной сушки по ГОСТ 4495, или молоко сухое обезжиренное распылительной сушки по ГОСТ 10970 4495 или по другой действующей технической документации, утвержденной в установленном порядке;

·        концентраты бактериальные для творога по ТУ 9222 -127 -00419785 и ТУ 9222 -2444 -000419785 или по другой действующей технической документации, утвержденной в установленном порядке;

·        кальций хлористый двуводный по ТУ 6 - 09 - 5077 - 83, ТУ 6 - 09 - 4711 - 81 или по другой действующей документации или кальций хлористый кристаллический фармакопейный ГФ 10,10 изд.;

·        фермент сычужный пищевой по ТУ 9219 - 002 - 5331581 - 98 или пепсин пищевой свиной по ТУ 9219 - 560 - 00419779 - 00, или пепсин пищевой говяжий по ТУ 9219 - 560 - 00419779 - 00, или пепсин пищевой говяжий «ИТ» по ТУ 9219 - 564 - 00419779 - 00, или препарат ферментный по ОСТ 10288 - 2001; по ТУ 9219 - 004 - 05331581 - 98;

·        воду питьевую по СанПиН 2.1.1074 (для продукта из восстановленного молока).

Допускается использование импортного сырья по показателям качества и безопасности не уступающего требованиям, указанным в нормативных и технических документах по п. 2.6.2, разрешенного к применению органами и учреждениями Роспотребнадзора и не изменяющего природу продукта./11//12/

2.3 Расход сырья и компонентов

Списание вспомогательных материалов, химикатов, реактивов, тары и упаковочных материалов на 1000 кг продукта производится по фактическому расходу в пределах, не превышающих установленные предприятием индивидуальные нормы материалов, утвержденные в установленном порядке.

Массу сырья на выработку 1000 кг продукта учитывают по фактическим затратам, но не более действующих норм расхода и предельно допустимых потерь сырья и жира, утвержденных приказами Минмясомолпрома СССР № 397 от 29.11.85 г., № 216 и № 217 от 27.06.85 г., № 162 от 27.04.83 г. и № 323 от 30.09.85 г.

Массу обезжиренного молока на выработку нежирного продукта рассчитывают по формуле:

Мо = Мпр ((254,3* 100)/ Бо) *(1 + (К/100)), (2)

где: Мо - масса обезжиренного молока, кг;

Мпр - масса продукта, т;

Бо - массовая доля белка в обезжиренном молоке, %;

,3 - коэффициент, учитывающий массу белка, необходимую для выработки 1 т нежирного продукта с массовой долей влаги не более 76 %, кг/т;

К - коэффициент, учитывающий потери обезжиренного молока на приемку пастеризацию, охлаждение, хранение и розлив в зависимости от годового объема переработки молока (приказ Минмясомолпрома СССР № 247 от 29.11.79 ,), %;

- коэффициент для пересчета массовой доли из % в кг.

Характеристика сырья, используемого для приготовления творога.

Молоко - это продукт нормальной секреции молочной железы коровы. С физико-химических позиций молоко представляет собой сложную полидисперсную систему, в которой дисперсионной средой является вода, а дисперсной фазой - вещества, находящиеся в молекулярном, коллоидном и эмульсионном состоянии. Молочный сахар и минеральные соли образуют минеральные и ионные растворы. Белки находятся в растворенном (альбумин и глобулин) и коллоидном состоянии, молочный жир - в виде эмульсии. Такие основные компоненты, как молочный жир, лактоза, казеины, лактоальбумин, являются соединениями, которые встречаются только в молоке.

Белки молока. Белки молока - это высокомолекулярные соединения, состоящие из α- аминокислот, связанных между собой характерной для белков пептидной связью. Белки молока делят на две группы-казеины и сывороточные белки.

Казеин относится к сложным белкам и находится в молоке в виде мицелл. Эти мицеллы формируются при участии ионов кальция, фосфора др. Казеиновые мицеллы имеют округлую форму и величина их зависит от содержания ионов кальция. С уменьшением содержания в молоке кальция эти молекулы распадаются на более простые казеиновые комплексы. По современным представлениям рассматривают α -, β -, γ -казеины коровьего молока.

Казеин в сухом виде - белый порошок, без вкуса и запаха. В молоке казеин находится в коллоидном растворе в виде растворимой кальциевой соли. Под действием кислот, кислых солей и ферментов казеин свертывается (коагулирует) и выпадает в осадок. Эти свойства позволяют выделять общий казеин из молока. После удаления казеина в молоке остаются сывороточные белки (0,6 %).

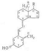
Основные сывороточные белки - альбумин и глобулин. Альбумин относится к простым белкам, хорошо растворим в воде. Под действием сычужного фермента и кислот альбумин не свертывается, а при нагревании до 70 °С выпадет в осадок. Альбумин содержит ценную незаменимую аминокислоту триптофан (до 7 %), которую не содержит ни один белок.

Рис. 2 Триптофан

Глобулин присутствует в молоке в растворенном состоянии. Он также относится к простым белкам, свертывается при нагревании в слабокислой среде до температуры 72 °С.

Сывороточные белки с точки зрения физиологии питания более полноценные, чем казеин, так как содержат больше незаменимых кислот и серы. Степень усвоения белков молока - 96 - 98 %.

Молочный жир находится в молоке в виде жировых шариков размером 0,5 - 10 мкм, окруженных лецитино - белковой оболочкой. Оболочка жирового шарика имеет сложную структуру и химический состав, стабилизирует эмульсию жировых шариков.

В молочном жире преобладают олеиновая и пальмитиновая кислоты.

CH3(CH2)7CH = CH(CH2)7COOH СН3(СН2)5СН - CH(CH2)7COOH

олеиновая кислота пальмитиновая кислота

Молочный жир в отличие от других жиров содержит повышенное (около 8 %) количество низкомолекулярных (летучих) жирных кислот (масляной, капроновой, каприловой, каприновой).

СН3-СН2-СН2-СООН  СН3-(СН2)4-СООН

масляная кислота   капроновая кислота

СН3-(СН2)6-СООН  СН3-(СН2)8-СООН

каприловая кислота   каприновая кислота

Молочный жир малоустойчив к воздействию высоких температур, световых лучей, водяных паров, кислорода воздуха, растворов щелочей и кислот. Под действием этих факторов он гидролизуется, окисляется и прогоркает.

Кроме нейтральных жиров в молоке содержатся жироподобные вещества: фосфатиды (фосфолипиды) и стерины. Основные фосфатиды - лецитин и кефалин, а стерины - холестерин и эргостерин. Энергетическая ценность молочного жира составляет 37,7 кДж, усвояемость - 95 %.

 

кефалин                                             лецитин

 

холестерин                                       эргостерин

Молочный сахар (лактоза) по современной номенклатуре углеводов относится к классу олигосахаридов (дисахарид). Из общего содержания сухих веществ на лактозу приходится около 40 % и 26 % калорийности молока.


Лактоза существует в двух изомерных формах, которые обладают разными физическими свойствами. Лактоза является главным источником энергии для молочнокислых бактерий, которые сбраживают ее на глюкозу и далее до молочной кислоты.

Особенность лактозы - медленное всасывание (усвоение) стенками желудка и кишечника. Достигая толстого кишечника, она стимулирует жизнедеятельность бактерий, продуцирующих молочную кислоту, которая подавляет развитие гнилостной микрофлоры.

Минеральные вещества (соли молока) - это ионы металлов - Са, Р, Na, K, Fe, Cu, Co, Mg, Zn и других, а также неорганические и органические кислоты молока. В молоке содержится 0,7 - 0,8 % минеральных веществ. Большую часть составляют средние и кислые соли фосфорной кислоты. Из солей органических кислот присутствуют главным образом соли казеиновой и лимонной кислот. Недостаток или избыток солей влечет за собой нарушение коллоидной системы белков, в результате чего они выпадают в осадок. Это свойство используется для коагуляции белка в производстве творога.

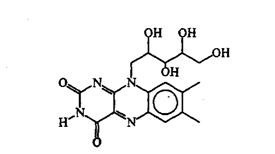
Витамины относятся к низкомолекулярным органическим соединениям, не синтезирующимся в человеческом организме. В молоке содержатся все жизненно необходимые витамины, некоторые в недостаточных количествах. Среди жирорастворимых - витамины А, Д, К, среди водорастворимых - витамины группы В. Содержание витаминов в зависит от сезона года, породы животного, качества кормов, условий хранения и обработки молока.

 

Витамин В1                           Витамин В2

  

Витамин В6                   Витамин К

 

Витамин Д                   Витамин А

Ферменты катализируют многие биохимические процессы, протекающие в молоке, и при производстве молочных продуктов. Важную роль играют такие ферменты молока как: лактаза, фосфатаза, редуктаза, пероксидаза, липаза, протеаза, амилаза.

Иммунные тела (антитела), гормоны обладают бактерицидными свойствами. Они образуются в организме животного, на непродолжительное время подавляют развитие микроорганизмов. Время, в течение которого проявляются бактерицидные свойства молока, называется бактерицидной фазой. Продолжительность ее зависит от температуры молока и составляет при 30 °С З ч, при 5 °С - более суток.

Вода - основная составная часть молока. Количество воды определяет физическое состояние продукта, физико-химические биохимические процессы.

Молоко, предназначенное для выработки творога, должно соответствовать требованиям действующего стандарта на молоко, заготовляемое и ветеринарно-санитарным правилам, утвержденным в установленном порядке, что периодически ежемесячно подтверждается справкой органов ветеринарного надзора.

Для производства творога не допускается молоко:

1 не удовлетворяющее требованиям ГОСТ;

2 полученное от коров в первые семь дней лактации (молозиво) и последние семь дней (стародойное);

3 с добавлением нейтрализующих и консервирующих веществ;

4 имеющее запах химикатов и нефтепродуктов;

5 содержащее остаточные количества химических средств защиты растений и животных, а также антибиотики и ДДТ;

6 фальсифицированное (подснятое или разбавленное);

7 с прогорклым, затхлым, гнилостным привкусом и резко выраженным кормовым привкусом (лука, чеснока, полыни, жома, силоса); с хлопьями, сгустками, слизисто-тягучее, с несвойственным нормальному молоку цветом. /13/

Сливки

Сливки- это жировая часть молока, получаемая сепарированием. Сливки являются исходным сырьем для получения сметаны, масла, для нормализации молока. Пастеризованные или стерилизованные сливки разной жирности, с наполнителями и без них предназначаются и для непосредственного потребления. Пищевая и биологическая ценность сливок обусловлена максимальным содержанием белково-лецитинового комплекса. Сливки являются богатым источником фосфатидов. Из биологически активных веществ, влияющих на рост и развитие детей, особая роль принадлежит витамину А, которого в сливках в 5-6 раз больше, чем в молоке, а также белково-лецитиновому комплексу.

Сливки получают путем сепарирования молока и в зависимости от массовой доли жира вырабатывают 8-, 10-, 18-, 20-, 33- и 35 %-ной жирности.

Вырабатывают еще пластические (высокожирные) сливки жирностью 73…83 % для технологических целей.

Закваска

Основной микрофлорой кисломолочных продуктов является молочнокислые бактерии и дрожжи. В лабораториях микроорганизмы выделяют в чистом виде и специально выращивают.

Молоко, сквашенное путем внесения в него определенных культур молочнокислых бактерий или дрожжей, называется закваской и предназначается для сквашивания молока при производстве кисломолочных продуктов. Для приготовления заквасок применяются следующие чистые молочнокислые культуры и дрожжи: молочный стрептококк (S. Lactis), болгарская палочка (L. Bulgaricus), ацидофильная палочка (L. acidophilus), ароматообразующие бактерии (S. diacetylactis, L. cremoris, S. acetoinicus, S. cremoris) и молочные дрожжи (Тоrulа), сбраживающие лактозу, бифидобактерии и другие пробиотические культуры.

Молочнокислые стрептококки повышают кислотность молока до 120 °Т, молочнокислые палочки (болгарская и ацидофильная) - до 200 - 300 °Т и являются наиболее сильными кислотообразователями.

Для приготовления производственных заквасок применяют закваски чистых культур молочнокислых бактерий, которые могут быть жидкими и сухими.

Перед использованием закваски проверяют ее органолептические показатели, доброкачественная закваска должна достаточно быстро сквашивать молоко, иметь чистый вкус и запах. Сгусток должен быть однородным, достаточно плотным, без газообразования и выделившейся сыворотки.

Активность и чистота заквасок во многом определяют качество готового продукта. При снижении активности заквасок (продолжительности свертывания) молоко не сквашивается или образуется дряблый сгусток. При развитии термоустойчивых молочнокислых палочек появляется излишняя кислотность продукта. Попадание уксуснокислых бактерий может вызвать пороки консистенции. /14/

Сычужный фермент

Молокосвертывающие ферментные препараты МЗСФ отличаются между собой молокосвертывающей активностью и содержанием в них натуральных ферментов: сычужного фермента (химозина) и пепсина.

Молокосвертывающие ферментные препараты выпускаются в виде порошка белого или светло-серого цвета. Поставляются в полиэтиленовых пакетах по 100, 200, 500 г и 1 кг стандартной активностью - 100000 и 150000 у.е.

Молокосвертывающие ферментные препараты подразделяют в зависимости от перерабатываемого сырья и ферментного состава на следующие группы:

1 сычужный фермент - препарат, изготовляемый из высушенных сычугов ягнят и телят;

2 сычужно-говяжьи препараты - препараты, изготовляемые на основе сычужного фермента и пищевых говяжьих пепсинов;

3 комплексные препараты - препараты, изготовляемые на основе пищевого куриного пепсина и/или сычужного фермента, и/или пищевых говяжьих пепсинов.

При изготовлении творога наиболее часто молокосвертывающий препарат называют сычужным ферментом.

Сычужный фермент - молокосвертывающий препарат, получаемый из сычугов молодняка (желудков телят, козлят, ягнят). Иногда его неправильно применяют для обозначения препаратов из желудков взрослых животных (пепсин), из железистых желудков цыплят (куриный пепсин), из микробиальных продуцентов. Он способствует расщеплению и переработке молока матери, которое употребляет теленок. Этот фермент невозможно получить искусственно, поэтому он достаточно дорог, но очень эффективен. Поставляется в виде белого или светло - серого порошка без запаха и цвета.

Сычужный фермент, получаемый из желудков телят, возраст которых не более 30 дней, состоит из двух основных ферментных компонентов химозина и говяжьего пепсина. Соотношение химозин: пепсин зависит от возраста теленка, причем, чем он меньше, тем выше содержание химозина в препарате. Сычужный фермент с наивысшим содержанием химозина получают из желудков телят - молокопойников.

Активность сычужного порошка зависит от общего содержания в нем химозина и пепсина, а также свойств молочной смеси, подготовленной к свертыванию. На активность фермента значительно влияют кислотность молока, содержание в нем белков и хлористого кальция, температура свертывания. При увеличении кислотности молока и дозы хлористого кальция, активность молокосвертывающего препарата возрастает, причем для препаратов с большим содержанием пепсина это возрастание более существенно. Поэтому в кислое молоко доза внесения препарата с высоким содержанием пепсина (а значит, и менее качественного) должна быть значительно уменьшено.

Растительный жир

Для придания творогу нужной жирности используют растительные жиры. В основном применяется пальмовый жир, но может использоваться и смесь различных видов жиров. Применение этого компонента способствует обогащению творога рядом необходимых организму жирных кислот, повышает его пищевую ценность.

Растительный жир соответствует требованиям нормативных документов:

ТУ 9141-020-13870642-2005

СанПиН 2.3.2.1078-0 1 п.п. 1.7.3., 1.7.3.2 ГОСТ Р 51074-2003 п.4.16. /15/

.4 Биохимические и физико-химические процессы, протекающие при производстве творога

Главными биохимическими и физико-химическими процессами, протекающими при производстве кисломолочных продуктов, являются брожение молочного сахара и зависящая от него коагуляция казеина с образованием сгустка. В результате этих процессов формируются определенная консистенция, выраженный вкус и запах готовых продуктов.

В результате развития молочнокислых бактерий выделяется фермент лактаза, который расщепляет дисахарид лактозу (молочный сахар) на две монозы глюкозу и галактозу:

    +лактаза

 C12H22O11 + H2O                           С6H12O6 + С6H12O6

лактоза                                        глюкоза галактоза

При ферментативных превращениях из глюкозы и галактозы образуется по две молекулы пировиноградной кислоты:

С6H12O6                                                                        3Н4О3 + 4Н

пировиноградная кислота

На второй стадии молочнокислого брожения пировиноградная кислота восстанавливается до молочной кислоты с участием фермента лактодегидразы:

С3Н4О3 + 2Н                                       С3Н6О3

молочная кислота

Таким образом, из одной молекулы молочного сахара образуется четыре молекулы молочной кислоты:

C12H22O11 + H2O                                 4 С3Н6О3

Одновременно с молочнокислым брожением протекают побочные процессы с образованием летучих кислот, углекислого газа, эфиров и других соединений, которые участвуют в формировании вкуса и запаха продукта./16/

При молочнокислом брожении, образовавшаяся молочная кислота воздействует на основной белок молока - казеин, который находится молоке в виде казеин - кальциевой соли. При этом молочная кислота отнимает от казеин - кальциевой соли кальций, в результате чего образуется нерастворимая казеиновая кислота (сгусток) и молочнокислый кальций:

РNН2(СОО)6Са3 + 6С3Н6О3 →З(СН3СНОНСОО)2Са + РNН2(СООН)2

казеинат кальция молочная  молочнокислый казеиновая кислота

 кислота    кальций                         (сгусток)

Механизм кислотной коагуляции казеина заключается в следующем. Молочная кислота, накапливаясь в молоке, постепенно снижает отрицательный заряд казеиновых мицелл и при рН 4,6-4,7 переводит их в изоэлектрическое состояние, характеризующееся равенством положительных и отрицательных зарядов. /17/

При изготовлении творога кислотно - сычужным способом на казеин действуют одновременно сычужный фермент и молочная кислота. Под действием сычужного фермента казеин превращается в параказеин, который с помощью молочной кислоты также переходит в изоэлектрическое состояние, правда, при другом значении рН, равном 5-5,2.

В изоэлектрической точке снижаются устойчивость и растворимость частиц казеина. В результате их столкновений образуются агрегаты и длинные нити, которые затем соединяются в единую пространственную сетку, т. е. формируется белковый каркас сгустка (рис. 1). Образующийся сгусток обладает способностью постепенно уплотняться с выделением сыворотки. Этот процесс носит название синерезиса. Его скорость зависит от способности белков удерживать влагу, которая определяется теми же факторами, что и прочность сгустков. /18/

Рис. 1. Схема образования пространственной сетки: а - начало образования сетки; б - пространственная сетка готового сгустка; 1 - частицы казеина; 2 - ячейки сетки, заполненные водой, жировыми шариками и другими составными частями молока.

2.5 Описание технологической схемы производства творога классического раздельным кислотно-сычужным способом

Технологический процесс производства творога классического с массовой долей жира (м.д.ж.) 5 % осуществляется в следующей последовательности:

1 приемка и подготовка сырья и основных материалов;

2 подогрев и сепарирование молока;

3 пастеризация и охлаждение смеси обезжиренного молока;

4 заквашивание и сквашивание молока;

5 отделение сыворотки от сгустка;

6 охлаждение творога;

7 смешивание творога с охлажденными сливками;

8 фасовка, упаковка, маркировка;

9 доохлаждение упакованного творога.

Приемка и подготовка сырья

Молоко натуральное коровье - сырье и другое сырье принимают по массе и качеству, установленному лабораторией предприятия, а также на основании сертификационных документов поставщиков. Каждую партию молока, поступающую на предприятие, необходимо контролировать ежедневно в течение 40 минут после доставки. Приемка сырья осуществляется по ГОСТ 13264 - 88 «Молоко коровье: требования при закупках». Согласно ГОСТ молоко должно быть получено от здоровых животных, отфильтровано и охлаждено (6 °С).

Приемку и оценку качества молока начинают с внешнего осмотра тары. При этом отличают чистоту, целостность пломб, правильность наполнения, наличие резиновых колец под крышками цистерн.

Решающим условием в получении точных результатов при оценке качества молока является правильный отбор проб. В «Бак» - лабораторию отбираются пробы молока для контроля бактериальной обсемененности (ГОСТ 13928 - 84).

Принятое натуральное коровье молоко - сырье очищают от механических примесей на центробежных очистителях или пропускают через фильтрующие материалы, такие как марлевые, лавсановые, фланелевые и др. материалы, разрешенные для пищевой промышленности. Затем молоко направляют на переработку или охлаждают до температуры (4±2) ºС и хранят в резервуарах промежуточного хранения. Хранение охлажденного до 4 ºС молоко до переработки не должно превышать 12 ч, до температуры 6 ºС - 6 ч.

Масло сливочное, если оно входит в производство творога, при необходимости очищают.

Подогрев и сепарирование молока

Молоко после очистки нагревают до температуры от 35 до 40 °С и направляют на сепаратор - сливкоотделитель. Молоко сепарируют, соблюдая правила, предусмотренные технической инструкцией по эксплуатации сепараторов. Полученные сливки с массовой долей жира от 50 до 55 % пастеризуют при температуре (88 ± 3) °С в течение 15-20 сек, охлаждают до температуры (4 ± 2) °С и направляют на промежуточное хранение. Обезжиренное молоко направляют на повторное сепарирование для получения обезжиренного молока м. д. ж. 0 %.

Пастеризация и охлаждение обезжиренного молока

Цель пастеризации - уничтожение вегетативных форм микроорганизмов, находящихся в молоке и инактивации ферментов.

Обезжиренное молоко пастеризуют при температуре (78 ± 2) °С в течение 15 - 20 сек или при температуре (84 ± 2) °С без выдержки, охлаждают до температуры заквашивания (26 ± 2) °С - при обычном способе или (30 ± 2) °С - при ускоренном.

Если нормализованная смесь после пастеризации не поступает на переработку, ее охлаждают до температуры (4 ± 2) °С и хранят в резервуарах при этой температуре не более 6 часов. После хранения смесь подогревают до температуры заквашивания(2.5.8.).

Заквашивание и сквашивание смеси

Закваску, в количестве 5 %, вносят в емкость в обезжиренное молоко при включенной мешалке. Перемешивание заканчивают через 15 мин после заполнения емкости.

При обычном способе сквашивания на 500 кг обезжиренного молока вносят закваску мезофильных молочнокислых стрептококков активностью 50 ед. При ускоренном способе сквашивания вносят закваску мезофильных и термофильных молочнокислых стрептококков в соотношении 1:1 активностью по 50 ед. каждого вида закваски на 1000 кг смеси.

Закваску готовят в заквасочнике согласно действующей технологической инструкции по приготовлению и применению заквасок для кисло - молочных продуктов, утвержденной в установленном порядке.

После внесения закваски в обезжиренное молоко добавляют хлористый кальций из расчета 400 г безводного хлористого кальция на 1000 кг заквашиваемого молока.

Хлористый кальций вносят в виде водного раствора с массовой долей хлористого кальция от 30 до 40 %, которую уточняют по плотности при - 20 ºС (таблица 6).

Таблица 6 Растворы хлористого кальция

Плотность водного раствора CaCI2 при 20 ºС, кг/м3

Масса CaCI2 с учетом адсорбированной влаги.

Масса раствора на 1000 кг молока, кг


%

кг. (на 1000 кг. раствора)


1282

30

38,5

1,33

1337

35

46,8

1,14

1392

40

55,8

1,00


Раствор хлористого кальция готовят согласно инструкции по технохимическому контролю на предприятиях молочной промышленности, утвержденной в установленном порядке.

После внесения раствора хлористого кальция в обезжиренное молоко вносят молокосвертывающий фермент из расчета на 1000 л. обезжиренного молока

 Stabo: 1,0 - 1,5 г;

Или

CHY- Мах: 0,8 - 1,2 г порошкообразного или 4,0 - 5,0 жидкого.

Фермент растворяют в питьевой воде, подогретой до температуры (15 - 20) °С в течение 2 - 3 мин в соотношении фермент/ вода 1: (10 - 50) для порошкообразного или 1: (5 - 15) для жидкого соответственно.

Доза фермента активностью 100000 МЕ на 1000 кг. заквашиваемой смеси равна 1 г.

Сычужный порошок или ферментный препарат ВНИИМЕ растворяют в питьевой воде, предварительно подогретой до температуры (36 ± 3) °С. Пепсин растворяют в свежей профильтрованной сыворотке, подогретой до такой же температуры.

Объём воды или сыворотки определяют по формуле:

V=Kф * 100, (3)

где Кф - масса фермента, г;- объём воды или сыворотки, см3;

- объем воды или сыворотки для растворения 1 г. фермента, см3.

В зависимости от активной части фермента, определяемой лабораторией предприятия, делают расчеты массы фермента.

Необходимую массу фермента определяют по формуле:

Кф= (100000* Dф)* Км / Аф* 1000, (4)

где Кф - масса фермента, г.;

Аф - активность применяемого фермента, МЕ;ф - масса фермента нормальной активности на 1000 кг. молока, г;

Км - масса заквашенной смеси, кг;

- масса смеси, кг.

Закваску, растворы хлористого кальция и фермента вносят при непрерывном перемешивании смеси.

Перемешивание нормализованной смеси после заквашивания продолжают от 15 до 20 мин, затем ее оставляют в покое до образования сгустка требуемой кислотности:

от 80 до 90 °Т (4,5-4,55) ед. рН - для обезжиренного.

Продолжительность сквашивания обезжиренного молока при обычном способе сквашивания составляет 12 - 16 ч, при ускоренном - 7 - 9 ч.

Отделение сыворотки от сгустка

По достижении кислотности сгустка 80 - 90 ºТ, его тщательно перемешивают и подают насосом в пластинчатый теплообменник, где его вначале подогревают до 60 - 62 ºС, а затем охлаждают до 28 - 32 ºС.

Из теплообменника сгусток под давлением подается в сепаратор творогоизготовителя, где происходит отделение сыворотки от сгустка. Обезвоживание проводят до массовой доли влаги от 75 до 79 % в зависимости от вида вырабатываемого творога. Затем сыворотку сливают, а творог отправляют в охладитель.

Охлаждение творога

Творог охлаждают в установках прессования и охлаждения творога, на охладителях, а также в мешках или пресс - тележках в холодильной камере до температуры (12 * 3) 0С и направляют в смеситель.

Смешивание творога со сливками

Творог поступает в месильную машину, куда подают рассчитанное количество охлажденных пастеризованных сливок.

Важно как можно тщательнее проводить смешивание, чтобы не произошло разделения системы.

Рекомендуется также вводить стабилизатор, при этом система становится не только однородной и не расслаивается, но и увеличивается выход продукта, после тщательного перемешивания полученный продукт направляют фасовку и упаковку.

Упаковка, маркировка

Творог упаковывают в потребительскую и транспортную тару, разрешенную к применению органами и учреждениями Госсанэпидслужбы РФ для контакта с молочными продуктами. Готовый продукт фасуют на машинах в мелкую и крупную тару. Творог фасуют в картонные ящики с вкладышами из пергамента, полиэтиленовой пленки. В мелкую упаковку творог фасуют в виде брусков массой 0,25; 0,5 и 1 кг, завернутых в пергамент или целлофан, а также в картонные коробочки, пакеты, стаканы из различных полимерных материалов.

Предел допускаемых отрицательных отклонений содержимого нетто тары от номинального количества представлена в таблицах 10 и 11.

Таблица 10 Предел допускаемых отрицательных отклонений содержимого нетто тары от номинального количества

Номинальное количество нетто, мг

Предел допускаемых отрицательных отклонений Т


% от М

г.

Свыше 50 до 100 включительно

-

4,5

Свыше 100 до 200 включительно

4,5

-

Свыше 200 до 300 включительно

-

9

Свыше 300 до 500 включительно

3

-


Таблица 11 Предел допускаемых отрицательных отклонений содержимого нетто тары от номинального количества

Номинальное количество нетто, мг


% от М

г.

Свыше 10 до 15 включительно

-

150

Свыше 15 до 50 включительно

1,0

-

Свыше 50 до 100 включительно

-

500

Свыше 100

0,5

-


Тара и упаковочные материалы, применяемые для упаковки творога, должны соответствовать требованиям действующих стандартов или технических условий.

Маркировка и упаковка продуктов - в соответствии с требованиями действующих технических условий ТУ 9222-006-49942742-06.

Доохлаждение упакованного продукта

Упакованный творог охлаждают в холодильной камере до температуры (4 ± 2) ºС. В камерах поддерживают строгий санитарный режим и не допускают значительных колебаний температуры.

После доохлаждения творога технологический процесс считается законченным и продукт готов к реализации.

Гарантийный срок хранения творога составляет 36 ч с момента окончания технологического процесса, в том числе на предприятии не более 18 ч.

.6 Спецразработка

Производитель заменителя молочного жира, используемого в производстве творога, корпорация "СОЮЗ" основана в 2000 году в Санкт-Петербурге. Это молодая‚ динамично развивающаяся компания‚ созданная путем объединения группы независимых предприятий‚ решающих общие задачи научно-исследовательской‚ инжиниринговой‚ финансовой‚ производственной и сбытовой деятельности. Корпорация "СОЮЗ" специализируется на производстве и поставках российским предприятиям пищевой промышленности масложировых систем - специализированных жиров под торговой маркой "СОЮЗ"®‚ вырабатываемых из высококачественного сырья - пальмового‚ кокосового‚ соевого и других масел.

Преимущества использования молочных жиров «СОЮЗ»:

Использование жиров «СОЮЗ» в молочной промышленности позволяет вырабатывать в широком ассортименте высококачественную, безопасную для потребителя продукцию и получать значительный экономический эффект.

Получение высококачественной продукции:

Жиры «СОЮЗ» являются жировыми системами со сбалансированным жирнокислотным составом, что позволяет вырабатывать продукцию, как общего, так и функционального назначения.

Физико-химические показатели жиров «СОЮЗ» для молочной промышленности максимально приближены к показателям молочного жира.

Жиры «СОЮЗ» обладают хорошей совместимостью с молочным жиром и другими молочными компонентами.

Отличные свойства плавления предупреждают возникновение ощущения салистости в готовом продукте.

Стабильный показатель содержания твердого жира при 20 °С и 30 °С обеспечивает постоянство структурно-механических характеристик, способствует сохранению качества жиров в процессе транспортировки и обеспечивает высокую термоустойчивость вырабатываемых продуктов.

Наличие в составе жиров «СОЮЗ» эмульгаторов способствует равномерному распределению жировой фазы в готовом продукте.

Стабильность качества жиров «СОЮЗ» гарантирует постоянное высокое качество готовой продукции.

Выработка безопасной продукции:

Содержание транс-изомеров в жирах «СОЮЗ» не превышает безопасного уровня.

Жиры «СОЮЗ» не содержат генетически модифицированных источников, так как сырье, используемое для их производства, является безопасным по этому показателю.

Жиры «СОЮЗ» вырабатываются на основе высококачественных растительных масел, поэтому в своем составе не содержат холестерин.

Экономическая эффективность:

Снижение себестоимости продукции за счет полной или частичной замены молочного жира на жиры «СОЮЗ».

Расширение ассортимента вырабатываемой продукции.

Увеличение выхода готовой продукции из 1 тонны молочного сырья.

Сглаживание сезонности производства молочной продукции.

Исключение простоев производственных мощностей при дефиците сырьевых ресурсов.

Гибкая ценовая политика Корпорации «СОЮЗ».

Стабильность качества жиров «СОЮЗ»:

Корпорация «СОЮЗ» является производителем предлагаемых жиров. Постоянный контроль на всех этапах производства обеспечивает стабильно высокое качество готового продукта. При производстве жиров «СОЮЗ» используется сырье, соответствующее европейским стандартам качества.

Высокая микробиологическая чистота жиров «СОЮЗ» обеспечивается за счет низкого содержания влаги в продукте (не более 0,3 %).

Высокая окислительная стабильность жиров «СОЮЗ».

Применение жиров «СОЮЗ» не требует существенного изменения технологического процесса и введения дорогостоящих единиц оборудования в технологическую цепочку.

Возможность полной или частичной замены молочного жира на растительные жиры «СОЮЗ».

Широкий ассортимент жиров «СОЮЗ» позволяет подобрать жиры для различных технологических процессов производства.

Оптимальный подбор температуры плавления и температуры застывания жиров «СОЮЗ» позволяет учитывать особенности технологии производства различных молочных продуктов.

Применение жиров «СОЮЗ» дает возможность изготовления молокосодержащих продуктов с новыми потребительскими свойствами.

Применение жиров «СОЮЗ» позволяет сгладить некоторые пороки вкуса молочного сырья (кормовой, силосный, затхлый привкусы).

Применение жиров «СОЮЗ» обеспечивает стабильность параметров технологического процесса и качественных характеристик готового продукта.

Таблица 12 Основные показатели идеального жира и ЗМЖ «СОЮЗ»

Вид жировой смеси

Массовая доля жирных кислот, %

Отношение полиненасыщенных к насыщенным

Содержание холестерина, мг


насыщенных

ненасыщенных




всего

Низкомолекулярных

всего

Линолевой

линолевой и линоленовой



Гипотетически идеальный жир

62,0-53,0

10,0-12,0

38,0-47,0

7,0-12,0

15,0

0,3

200

 

Молочный жир

63,9

6,2-9,7

29,9

1,0-5,2

2,0-7,3

0,3

240

 

Союз 52L

51,2

8,4

48,8

11,3

15,0

0,3

0

 

Союз 71

35,0

0,7

65

18,1

20,3

0,5

0

 


Как известно, молочный жир имеет уникальные характеристики плавления: оставаясь совершенно твёрдым при низкой температуре, он полностью расплавляется при температуре тела, что исключительно важно для вкусовых ощущений во время потребления продукта, содержащего молочный жир. Заменитель молочного жира «Союз 71» обладает аналогичными молочному жиру свойствами плавления и может заменять его, сохраняя при этом традиционное качество готового продукта. Необходимо отметить, что параметр показателя твёрдости молочного жира имеет склонность к сезонным колебаниям, а у растительных жиров, в частности, у заменителя молочного жира «Союз 71» этот показатель стабилен в течение года.

Заменитель молочного жира «Союз 71» обладает значительной устойчивостью к окислению и прогорклости, что увеличивает хранимоспособность молочных продуктов.

«Союз 71» обладает улучшенными органолептическими свойствами, он почти не содержит транс-изомеров жирных кислот, тщательно подобран состав данной жировой системы - кривая плавления максимально приближена к кривой плавления молочного жира.

Рис. 2. Содержание твердого жира в заменителе молочного жира «СОЮЗ 71» в зависимости от температуры.

«СОЮЗ 71» - это пластичная смесь, используемая в качестве заменителя молочного жира. "СОЮЗ 71" специально изготовлен для замены молочного жира в молочной промышленности. Применяется при производстве сметанных продуктов, молочных и кисломолочных напитков, продуктов молокосодержащих сгущенных, при производстве творожных продуктов и творожных изделий, творожных глазированных сырков./19/

Ингредиенты: натуральные рафинированные дезодорированные, частично гидрогенизированные растительные масла, прежде всего пальмовое, кокосовое, соевое и другие в меньшем количестве, эмульгатор.

Таблица 13 Физико-химические показатели заменителя молочного жира «СОЮЗ 71»

Физико-химические показатели

Содержание жира, %, не менее

99,7

Содержание твердого жира, %

при 10°С

44-49

при 20°С

18-23

при 30°С

6-9

Температура плавления, °С

33-35

Температура застывания, °С

24-26

Содержание транс-изомеров, %, не более

8,0

Перекисное число, ммоль/кг, не более

1,0

Свободные жирные кислоты, %, не более

0,06

Твердость по Каминскому при 15 °С, г/см

80-90

Органолептические показатели

Вкус

нейтральный

Запах

без запаха


Пальмовое масло - масло, получаемое из мясистой части плодов масличной пальмы. Имеет красно-оранжевый цвет, богато каротиноидами и пальмитиновой кислотой. Затвердевает при температуре ниже 30 °C. Мировое производство пальмового масла в 2005 - около 35 млн. тонн. Крупнейшие продуценты - Малайзия (15 млн. тонн), Индонезия (14 млн. тонн).

Примерный жирнокислотный состав:

Линолевая кислота - 4 - 10 %;

Олеиновая кислота - 35 - 40 %;

Пальмитиновая кислота - 40 - 50 %.

Также в незначительных количествах содержится - лауриновая, миристиновая, стеариновая, арахиновая и некоторые другие жирные кислоты.

СН3.(СH2)12.СООН       С11 Н23 СООН

миристиновая кислота  лауриновая кислота

С17Н35СООН                 С19Н39СООН

стеариновая кислота    арахиновая кислота

Масло устойчиво к окислению.

Применяется в кондитерской промышленности для производства мучных изделий, кремовых прослоек, начинок и т.д.; в молочной промышленности как частичная замена молочного жира; в масложировой промышленности при производстве маргарина, спредов, шортенингов; применяется также в качестве фритюрного жира.

Недавние исследования показали, что пища, в которой содержится пальмитиновая кислота (С16:0):

o     увеличивает уровень высокоплотного липопротеинового холестерола, предотвращающего риск коронарных заболеваний сердца;

o     жирная кислота С16:0 отличается меньшей гиперхолестерольностью по сравнению с жирными кислотами С12 и С14.

Пальмовое масло является естественным источником витамина Е, в котором содержится до 30 % токоферолов и 70 % токотриенолов. Токотриенолы и выполняют роль сильнейшего антиоксиданта, предотвращающего окисление ненасыщенных жирных кислот, фосфолипидов и витамина А, удаляют свободные радикалы и, таким образом, предотвращают старение клеток, появление атеросклероза и раковых заболеваний.

Так как пальмовое масло отличается высокой устойчивостью к окислению, разрушению и прогорклости продукты, произведенные на его основе:

o     обладают более продолжительным сроком хранения;

o     не повышают уровень холестерола в крови;

o     не провоцирует появление атеросклероза и раковых заболеваний.

После рафинации и дезодорации пальмовое масло должно иметь белый цвет, вкус обезличен, температура плавления 36-38 °С.

Кокосовое масло получают из высушенной мякоти кокосового плода пальмы, которая произрастает в Индонезии, Малайзии, Шри Ланка и других тропических странах. Плоды кокосовой пальмы довольно крупные - 30 см в длину и 20 см в ширину, покрыты плотной оболочкой, внутри плода находится маслянистое вещество в виде слоя 2-3 см. Плод внутри полый, в незрелом состоянии заполнен жидкостью, которую называют “кокосовым молоком”. После созревания плода молоко исчезает. Высушенная мякоть (копра) содержит до 75 % жира.

Сырое кокосовое масло имеет сладковатый запах, по консистенции напоминает топленое масло, после рафинации приобретает снежно-белый цвет. Температура плавления - 20-28 градусов.

Жирнокислотный состав:  

Лауриновая кислота - 39- 54 %;  

Миристиновая кислота - 15- 23 %;  

Олеиновая кислота - 4- 11 %;  

Каприловая кислота - 5- 10 %;  

Каприновая кислота - 4,5-9,7 %;   

Пальмитиновая кислота - 7,5- 10,5 %;   

Капровая кислота - 0,2- 0,5 %   

Стеариновая кислота - 1,0- 3,2 %.

Почти 50 % из жирно-кислотного состава масла составляет лауриновая кислота, которая преобразовывается в монолауриновую жирную кислоту в организме. Лауриновая кислота неблагоприятно действует на разнообразные микроорганизмы, включая, бактерии, дрожжи, грибы, и окутанные вирусы. Она - главный компонент человеческого грудного молока, и помогает защищать детей от болезни в течение младенчества.

Каприловая кислота, которая составляет еще 7 % от жирно-кислотного состава кокосового масла, также стимулируют антимикробную деятельность.

Соевое масло получают из бобов сои методом прямой экстракции или отжима. Бобы содержат наряду с жирами и белки. Сырое масло имеет коричневый цвет с зеленым оттенком, после рафинации и дезодорации - светло-желтое, прозрачное, вкус и запах обезличены.

Физико-химические свойства:

Температура застывания от -15 до -180 градусов; Йодное число 120-141; Кинематическая вязкость при 200 ºС (59-72)*10-6 м2/сек.

Химический состав: Витамины Е1 (необходимый для нормальной работы половых желез), С, Е, соли Са, Nа, Мg, К, Р. Ценным компонентом соевого масла является лецитин.

Жирнокислотный состав:

Линолевая (приостанавливающая рост раковых клеток) кислота - 46,2 - 52,6 %;

Альфа-линоленовая - 7,9- 8,5 %;

Олеиновая - 22- 26 %;

Пальмитиновая - 9- 12 %;

Стеариновая - 5- 6 %;

Соевое масло свободно от холестерина и содержит незначительную долю насыщенных жирных кислот. Его уникальное отличие от других растительных масел заключается в том, что наряду с традиционными жирными кислотами, в нем представлены жирные кислоты, характерные для жиров рыб, и, как было установлено, именно благодаря им обусловлено снижение риска сердечно-сосудистых заболеваний при потреблении рыбных жиров. Однако, в отличие от последних, органолептические свойства соевого масла не вызывают неприятных эмоций и исключают необходимость искусственного капсулирования его в желатиновую оболочку.

Изменения в рецептуре

Возможно два способа применения жировой системы «СОЮЗ 71»:

1.  приготовление нормализованной смеси для сквашивания и получение творожно-растительного продукта с массовой долей жира 5 %;

2.       производство творожно-растительных продуктов раздельным способом, который предполагает нормализацию нежирного творога растительными жирами до требуемой массовой доли жира 5 %.

Так как в дипломном проекте производство обезжиренного творога осуществляется раздельным способом, то подходит второй способ применения жировой системы.

Рис. 3

Структурная схема производства творога классического с м.д.ж. 5 % раздельным кислотно-сычужным способом с использованием заменителя молочного жира «СОЮЗ 71»

В отличие от действующего производства в технологический процесс внесено изменение на стадии смешивания. После отделения сыворотки на сепараторе, творог смешивается не со сливками, а с жировой системой «СОЮЗ 71».

Необходимое для нормализации количество растительных жиров готовят следующим образом: жир разрезают на мелкие куски, расплавляют до жидкого состояния при температуре 40 ºС и смешивают с творогом до однородной консистенции. Жировую систему «СОЮЗ 71» берут в определенном количестве, согласно приведенной рецептуре, с целью доведения массовой доли жира до необходимой. Все дальнейшие операции (охлаждение, фасовку и доохлаждение в камере) проводят согласно технологической инструкции./20/

Рецептура на творожно-растительный продукт с массовой долей жира 5 % ( в кг. на 1000 кг. продукта без учета потерь)

Таблица 14 Рецептура на творожно-растительный продукт

Наименование сырья

Количество, кг, по рецептуре

1.Творог нежирный с массовой долей влаги, не более 80 %

949,8

2. Жировая система «СОЮЗ 71»

50,2

Итого

1000


Процесс охлаждения, фасовки и доохлаждения проводим согласно ТИ.

Применение жира «СОЮЗ 71» не требует существенного изменения технологического процесса и введения дорогостоящих единиц оборудования в технологическую цепочку.

Так как производство творога осуществляется вторым способом, то технологическая схема остается прежней с незначительными изменениями: убираем оборудование для пастеризации, хранения и охлаждения сливок, смеситель оставляем прежним и дополнительно ставим жирорастопитель.

В результате замены сливок на жировую систему «СОЮЗ 71» мы не только получаем новый продукт, который имеет ряд преимуществ, от повышения пищевой ценности до экономической эффективности, но и убираем ненужное оборудование, в результате увеличиваем производственную площадь, экономим затраты на электроэнергию, воду, моющие средства, применяемые для обслуживания оборудования.

.7 Контроль производства

Каждую партию продукта оценивают по органолептическим, физико-химическим и микробиологическим показателям.

Технохимический и микробиологический контроль сырья и готовой продукции осуществляет ОТК (лаборатория) предприятия в соответствии с действующей инструкцией по технохимическому контролю на предприятиях молочной промышленности, инструкцией по микробиологическому контролю производства на предприятиях молочной промышленности и стандартами на методы контроля, перечисленными в технических условиях на продукт.

Все данные по производству продукта записывают в технический журнал по прилагаемой форме.

Установка заданий систем автоматического управления технологическими процессами производятся по номинальным значениям параметров показателей, указанных в настоящей технологической инструкции.

Качественные показатели, определяемые и контролируемые при производстве творога, указаны в табл. 15.

В соответствии с установленными в промышленности правилами контроля качественных показателей на отдельных стадиях производства следует кратко рассмотреть периодичность и количество проводимых анализов.

Таблица 15 Качественные показатели творога

Контролируемые качественные показатели

Молоко нормализованное и обезжиренное

Сливки

Закваска перед внесением в молоко

Сгусток молока

Сыворотка

творог


Перед заквашиванием

В процессе сквашивания



При разрезании

При выкладке сгустка

При самопрессовании


Предназначенный для расфасовки или выработки изделий

Поступающий на предприятие

Жирность

+


+





+

+

+

 

Кислотность

+

+

+

+

+

+


+

+

+

 

Плотность

+







+



 

Органолептическая оценка

+


+

+





+

+

 

Температура

+

+

+


+

+

+


+

+

 

Сомо

+










 

Проба на фосфатазу










+

 

Содержание влаги или сухих веществ








+

+

+

 

Содержание белка

+










 

Примечание. Знаком + обозначены анализы, проводимые на различных стадиях технологического процесса.

Содержание жира, белка, кислотность, плотность, температуру, а также органолептические показатели определяют с каждой партии молока, предназначенного для выработки нежирного творога.

Кислотность и температуру молока в процессе сквашивания контролируют 3 - 5 раз. Активность сычужного фермента и пепсина проверяют при поступлении каждой новой партии и затем периодически, но не реже 3 раз в месяц, а концентрацию раствора СаС12 - перед внесением его в молоко. Содержание жира в сыворотке определяют в средней пробе один раз в смену.

Такие качественные показатели сыворотки, как кислотность, плотность и содержание сухих веществ, определяют периодически в зависимости от производственной необходимости.

Качественные показатели творога оценивают в каждой партии готового продукта.

В случае поступления на городские молочные заводы готового творога, предназначенного для резервирования или дальнейшей переработки, выборочно в 2 - 3 местах каждой партии его измеряют температуру. В партии однородного творога допускается определять содержание жира в средней пробе для каждого поставщика, составленной из отдельно взятых проб. В остальных случаях содержание жира в жирном и полужирном твороге устанавливают в каждой отдельно взятой пробе.

В каждой из отобранных проб проверяют также органолептические показатели.

Кислотность и содержание влаги проверяют выборочно в отдельно отобранных пробах. Пробу на фосфатазу проводят для каждой поступающей партии творога.

Качество замороженного творога оценивают после размораживания. Пробы для проведения необходимых анализов отбирают, руководствуясь специальными методиками.

Для проверки кислотности сгустка пробы отбирают из каждой емкости. Сначала продезинфицированным ковшом снимают верхний слой сгустка, затем в том же месте берут нижележащий слой. Взятые пробы тщательно перемешивают.

Пробы творога из любой емкости отбирают щупом из разных мест (в центре и на расстоянии 3-5 см от боковых стенок), погружая его до дна. Если необходимо взять среднюю пробу из нескольких емкостей, то объем взятой порции творога из каждой емкости должен быть пропорционален количеству творога, содержащегося в них.

При большом количестве контролируемых емкостей допускается брать со щупа шпателем одинаковые порции продукта из верхней, средней и нижней частей столбика.

Отобранные порции творога необходимо быстро и тщательно перемешать.

Содержание жира в твороге определяют жиромерами для сливок или жиромерами для молока. Расхождение между параллельными определениями не должно превышать 0,5 % жира.

Кислотность творога определяют методом титрования. Расхождение между параллельными определениями не должно быть выше 4 ºТ. Содержание влаги в твороге определяют различными методами - высушиванием при 102 - 105 °С, выпариванием с применением парафина или обезвоженного топленого масла, высушиванием с помощью влагомера Чижовой.

Для контроля творога на пастеризацию исходного молока проводят пробу на фосфатазу. Творог, кислотность которого превышает предусмотренную для данного вида, не исследуют на пастеризацию исходного молока. Творог, подлежащий длительному хранению, необходимо исследовать на пастеризацию исходного молока перед закладкой его на хранение.

.8 Материальные расчеты

Из 4700 кг. молока получается примерно 1 тонна творога, без учета потерь.

Рассчитаем массу обезжиренного молока (после сепарирования) на выработку 1т. нежирного продукта по формуле (2):

Мо = Мпр ((254,3* 100)/ Бо) *(1 + К/100),

где Мо - масса обезжиренного молока, кг;

Мпр - масса продукта, т: Мпр = 1 тонна;

Бо - массовая доля белка в обезжиренном молоке, %: Бо = 18 %

,3 - коэффициент, учитывающий массу белка, необходимую для выработки 1 т нежирного продукта с массовой долей влаги не более 76 %, кг/т;

К - коэффициент, учитывающий потери обезжиренного молока на приемку пастеризацию, охлаждение, хранение и розлив в зависимости от годового объема переработки молока (приказ Минмясомолпрома СССР № 247 от 29.11.79 ,), %: К = 200 %;

- коэффициент для пересчета массовой доли из % в кг./кг.

 Мо = 1 ((245,3*100)/18) *(1 + 200/100) = 4238,33 (кг) или ( ≈ 4,2 т.)

Необходимая масса закваски составляет 5 % от количества молока и равна: (0,05 * 4238,33) = 211,9 (кг).

Необходимую массу фермента определяем по формуле (3):

Кф= (100000* Dф)* Км / Аф* 1000,

где Кф - масса фермента, г;

Аф - активность применяемого фермента, МЕ: Аф = 100000;ф - масса фермента нормальной активности на 1000 кг. молока, г.: ф = 1 г;

Км - масса заквашиваемой смеси, кг.: Км = 4450,23 кг;

- масса смеси, кг.

Кф= (100000* 1)* 4450,23 / 100000* 1000 = 4,45023 (г).

Объём воды или сыворотки определяем по формуле (4):

V=Kф * 100,

где Кф - масса фермента, г;- объём воды или сыворотки, см3;

- объем воды или сыворотки для растворения 1 г. фермента, см3.=4,45023 * 100 = 445,023 (см3).

Согласно проектированию технологического процесса при получении готовой продукции основные потери белка по стадиям распределяются следующим образом (таблица 16.).

Таблица 16 Технологические потери белка по стадиям

Наименование стадии

Норма потерь


%

кг/т

1. Потери при производстве

0,1

1

2. При отделении сыворотки

13

130

3. При самопрессовании

0,01

0,1

ИТОГО

13,11

131,1


В результате самопрессования получается 1000 кг творога с содержанием белка 18 %. Следовательно, количество белка по массе составит:

кг - 100 %

Х кг - 18 %

Х = 180 кг

В результате самопрессования потери белка составляют 0,01 %. Следовательно, на эту стадию должно поступить: 180 + 0,1=180,1 кг белка.

При розливе сгустка норма потерь белка составляют 13 %. На эту стадию должно поступить: 180,1+130=310,1 кг белка.

При производстве творога норма потерь составляет 0,1 %. Следовательно, на эту стадию должно поступить: 310,1 + 1 = 311,1 кг белка.

Согласно проектируемому технологическому процессу при получении готовой продукции основные потери материалов по стадиям представлены в табл. 17.

Таблица 17 Технологические потери по стадиям

Наименование стадии

Норма потерь


%

кг/т

1. Смешивание творога с жировой системой «СОЮЗ 71»

0,1

1

2. Охлаждение продукта

0,1

1

3. Фасовка

0,15

1,5

ИТОГО

0,35

3,5

+ 1,5 = 1001,5 (кг) ,

. Охлаждение. На данной стадии возможны потери за счет неполной выгрузки готового продукта из резервуара (остаточное содержание на стенках оборудования) из-за повышенной вязкости продукта. Нормы потерь составляют 0,1 %. Поэтому на эту стадию должно поступить:

+ 1,5 + 1 = 1002,5 (кг) ,

где 1,5 - потери творога при фасовке, кг;

- потери при охлаждении продукта, кг.

. Смешивание творога с растительным жиром «СОЮЗ 71». Определенные потери молочного сырья происходят при выгрузке (сливе), остаточное содержание на мешалке которые составляют 0,1 %.

,5 - 50,2 +1 = 953,3 (кг) .

Итого, на начало процесса для производства 1 т творога 5 - % жирности должно поступить следующее количество сырья с учетом основных потерь. Данные представлены в табл. 18.

Таблица 18 Количество сырья для производства творога 5-% жирности с учетом основных потерь.

Наименование сырья

Количество, кг., по рецептуре

1.Творог нежирный с массовой долей влаги, не более 80 %

953,3

2. Жировая система «СОЮЗ 71»

50,2

Итого

1003,5


.9 Режим работы цеха

Режим работы цеха по производству творога 5 %-ной жирности непрерывный в 2 смены по 12 часов.

.Календарный фонд рабочего времени, ч:

*24=8760.

.Количество рабочих дней в году

А=365 - (В+П+О+К), (5)

где В - выходные дни - 0;

П - праздничные дни - 8;

О - остановки на осмотр и текущий ремонт;

К - остановки на капитальный ремонт.

Рассчитывают исходя из графика планово-предупредительных ремонтов (табл.19).

Таблица 19 Нормативы длительности ремонтов и технологических остановок

Вид ремонта и остановок

Межремонтный пробег, ч

Длительность ремонта, ч

Капитальный

8460

130

Средний

4230

70

Текущий

700

8

Технологические остановы

220

5


З. Число циклов ремонта, приходящееся на год работы цеха, составляет:

·        капитального 365 *24 / 8460 = 1;

·        текущего  365 * 24 / 700 = 12;

·        среднего  365*24 / 4230 = 2;

·        остановы  365*24 / 220 = 40.

. Число суток затрачиваемых на:

капитальный ремонт К = (130 / 24) * 1 = 5;

средний ремонт С = (72 / 24) * 2 = 6;

текущий ремонт (8 / 24) * 12 = 4;

остановы (5 / 24) * 40 = 8.

. Количество рабочих дней в году, сут:

Д = 365 - (0+8+5+6+4+8) = 334.

Таким образом, годовой фонд рабочего времени составляет, ч:

*24=8016.

.10 Производственная программа цеха

Суточную производительность цеха по годовому продукту Рс при заданной годовой производительности Рг=11680 т рассчитывают по формуле:

Рс = Рг/Д = 11680 / 334=35 (т).

Суточная производительность цеха по обезжиренному молоку Рс1 рассчитывается по данным материального баланса- расхода сырья С, т сырья/ т продукта:

Рс1 = Рс*С = 35 *4238,33 = 148214,65 (т).

.11 Выбор оборудования

Транспортировка. Молоко доставляют на перерабатывающие предприятия автомобильным, железнодорожным и водным транспортом. Наибольшее распространение получил автомобильный транспорт. Молоко перевозят во флягах и автомобильных, железнодорожных или установленных на катерах цистернах.

Допускается доставка молочных продуктов в транспортной таре на бортовых машинах при тщательном укрытии их чистым брезентом.

Молоко, транспортируемое на перерабатывающее предприятия, должны иметь кислотность не выше 19 ◦Т, а температуру не более 80 ◦С

На рисунке приведен общий вид автоцистерны предназначенной для транспортировки молока.

Рис. 3. Автоцистерна для транспортировки молока: 1 - автомобиль, 2 - цистерна, 3 - люк с крышкой, 4 - площадка обслуживания, 5 - система мойки (перемешивания), 6 - лестница, 7 - полуприцеп цистерны, 8 - опорное устройство, 9 - электрооборудование.

Фляга для перевозки молока имеет следующий вид.

Рис. 4. Фляга: 1 - опорный обруч; 2 - корпус; 3 - верхняя часть с горловиной; 4 - замок; 5 - крышка; 6 - уплотнительное кольцо; 7 - ручка;8 - днище.

Хранение.

Пастеризованное молоко хранится при температуре 0 - 6 °С не более 36 часов с момента окончания технологического процесса, в том числе на предприятие - изготовителе не более 18 часов. Помещения для хранения молока должны проветриваться. Хранить другие продукты с молоком запрещается!

Техническая характеристика автоцистерны

Вместимость, л 19500 - 195

Число секций  2

Диаметр спускных молокопроводов, мм 50

Габаритные размеры, мм 1000 × 2500 × 3200

Масса, кг 25125

Автомобильный транспорт должен прибывать на перерабатывающее предприятие по установленному графику, который составляют на заводе в соответствии с работой приемного отделения и согласую с транспортной организацией. При составлении маршрутов и графика учитывают отдаленность низовых заводов; состояние дорог; количество молока, подлежащего перевозке с каждого низового завода; продолжительность нахождения транспорта в пути и другие условия. /21/

Электронасос центробежный типа 36 - 1Ц2, 8 - 20 Марки Г2 - ОПБ

Центробежные насосы широко используются в молочной промышленности для транспортирования маловязких жидких молочных продуктов температурой не выше 90 °С. Их применяют в технологических схемах, линиях для подачи и проталкивания жидких молочных продуктов через теплообменные аппараты, фильтры, сепараторы для питания линий розлива молока, автоматов для фасовки, в линиях и установках для циркуляционной безразборной мойки трубопроводов, резервуаров, пластинчатых установок и т.д. Насосы с подачей 10 и 25 м/ч используют для опорожнения автомобильных цистерн и подачи молока в цеха технологической обработки. Центробежные насосы просты по своему устройству, легко разбираются для промывки, обеспечивают равномерную подачу молока и создают напор до 30 м.

Подача центробежных насосов легко регулируется изменением сопротивления на нагнетательном трубопроводе с помощью крана или вентиля. В центробежных насосах для молока рабочие органы непосредственно соединяются с валами быстроходных электродвигателей, что обуславливает их компактность, небольшую массу.

Центробежные несамовсасывающие насосы работают под заливом, для чего их устанавливаю ниже емкости, из которой перекачивают жидкость.

Электронасос центробежный типа 36 - 1Ц2, 8 - 20 Марки Г2 - ОПБ одноступенчатый, консольно-моноблочный, с закрытыми лопастями рабочего колеса. Устанавливается без фундамента (см. рисунок).

Техническая характеристика насоса

Подача, м3/ч  10

Напор, м. вод. ст. 20

КПД, %  55

Диаметр входного и выходного патрубков, мм   36

Электродвигатель:

Тип 4АМ80А243

Мощность, кВт 1,5

Частота вращения, с 50

Габаритные размеры, мм  480*250*390

Масса, кг 30

Принцип действия насоса основан на использовании центробежной силы, которая развивается при быстром вращении рабочего колеса, установленного в корпусе, закрытом крышкой.

Рис. 5. Общий вид электронасоса центробежного типа 36 - 1Ц2, 8 - 20 марки Г2 - ОПБ: 1 - кожух, 2- электродвигатель, 3 - наконечник, 4 - кольцо зажима, 5 - крышка, 6 - гайка накидная, 7 - штуцер, 8 - гайка, 9 - рабочие колесо, 10 - кольцо уплотнителя, 11 -кронштейн.

Продукт под действием центробежной силы отбрасывается к периферии камеры насоса, а из нее поступает в нагнетательный патрубок. В результате этого в центральном пространстве камеры образуется зона пониженного давления (разрежения). Новая порция продукта под действием атмосферного давления заполняет из всасывающего трубопровода центральное пространство камеры, и цикл повторяется. /22/

Насос для творога марки ШН7К

Шестеренные насосы серии ШНК применяются для перекачивания жидких продуктов с температурой от 20 до 90°С, вязкостью до 505 см2/с и плотностью до 1450 кг/м3.

Проточная часть этих насосов может быть выполнена как из чугуна, так и из латуни. Возможно также исполнение с рубашкой подогрева перекачиваемого продукта в крышке насоса (варианты с индексом "Р").

Рис. 6. Внутренний разрез насоса ШН7К

Техническая характеристика насоса

Подача, м3/ч 6

Давление нагнетания, МПа, не менее 85

КПД, %  55

Диаметр входного и выходного патрубков, мм 60/50

Электродвигатель:

Напряжение, В 380

Мощность, кВт 4раб. органов, об/мин 28 - 90

Габаритные размеры, мм 1150*400*460

Масса, кг 200

Оборудование для учета молока

Количественный учет молока при приемке молочных продуктов, вспомогательных материалов осуществляется с помощью устройств для измерения массы (весы), определения объема (расходомеры- счетчики).

Циферблатные весы СМИ - 250 стационарные с подвесной ванной предназначены для определения массы молока на предприятиях молочной промышленности.

Весы СМИ - 250 (рис. 7.) состоят из двух опорных колонн, грузоприемной и указательной частей, рычажного управления выпускными клапанами и сита-цедилки.

Грузоприемная часть представляет собой двухсекционную ванну 1, изготовленную из нержавеющей стали, днище каждой секции имеет уклон в сторону выпускного клапана 2, управление которым осуществляется через рычажную систему 3.

Рис. 7. Циферблатные весы СМИ - 250: 1 - ванна двухсекционная; 2 - клапан для выпуска молока; 3 - тяга клапана; 4 - рычаг малый; 5 - демпфер; 6 - тарифованный рычаг; 7 - циферблатный указатель;8 - кожух; 9 - рычаг большой; 10 - ситоцедилка; 11 - опорная стойка.

Во время наполнения секции приемной ванны молоком она опускается и в действие приводится весовой механизм, который через тяги 3 и рычаги 4,6 и 9 передает нагрузку на механизм циферблатной головки. При этом чистая масса (вес) молока автоматически определяется и фиксируется стрелкой циферблата 7. После достижения необходимого веса вручную через рукоятку системы рычагов открывают клапан ванны 2 и сливают взвешенное молоко. Благодаря наклоненному днищу опорожнение секции производится полностью. /21/

Пластинчатая охладительная установка

В молочной промышленности получили распространение охладители погружные, плоские оросительные, трубчатые и пластинчатые. Наибольшее распространение имеют тонкослойные пластинчатые охладительные установки.

Автоматизированная пластинчатая охладительная установка ООУ - М, предназначена для быстрого тонкослойного охлаждения молока в закрытом потоке. Она состоит из пластинчатого - охладителя, щита управления с контрольно-измерительными приборами и регуляторами, трубопроводов с регулятором подачи рассола.

Рис. 8. Пластинчатая охладительная установка ООУ - М: 1 - станина; 2 - пластина; 3 - верхняя штанга; 4 - съемная накладка; 5 и 9 - вертикальные стойки; 6 - нажимная плита; 7 - гайка; 8 - нижняя штанга; 11 - исполнительный механизм; 12 - манометр; 13 - регулирующий клапан; 14 - обводная линия; 15 - щит управлении.

Перед пуском установку стерилизуют, пропуская через аппарат горячую воду температурой 85 °С. Затем открывают рассольные вентили на регуляторе подачи рассола, подают воду в секцию водяного охлаждения, включают пульт управления и пускают молоко в охладитель.

Вначале молоко поступает в секцию водяного охлаждения, где охлаждается до температуры 13 - 16 °С, а затем переходит в секцию рассольного (ледяной воды) охлаждения. Конечная температура охлажденного молока 2 - 6 °С.

Для остановки аппарата прекращают подачу в него молока и направляют туда воду. Когда вода вытеснит из аппарата оставшееся молоко, подачу воды прекращают, выключают щит управления, закрывают вентиль на регуляторе подачи рассола и вентиль подачи воды. Отсоединяют патрубок для входа рассола и через него промывают секцию рассольного охлаждения с той стороны пластин, где проходит рассол. Чтобы вода не попала в общую рассольную систему, отсоединяют также и патрубок для выхода его. /21/

Техническая характеристика охладительной установки ООУ - М

Производительность, л/ч 5000

Площадь поверхности теплообмена пластины, м2 0,15

Общее число пластин 82

Потребляемая мощность, кВт 1,5

Габариты, мм

длина 1550

ширина 700

высота 1400

Масса аппарата, кг 510

В данном дипломном проекте мы производим замену охладительной установки ООУ - М производительностью 5000 л/ч на пластинчатый охладитель ООУ - 10 производительностью 10000 л/ч, таким образом, мы производим замену одного аппарата, обслуживающего два танка для хранения молока, на другой более рациональный и эффективный.

В результате нововведения данная установка позволяет обслуживать два оборудования за меньшее время, при том же потреблении энергоресурсов.

Техническая характеристика охладительной установки ООУ - 10

Производительность, л/ч 10000

Общее число пластин 91

Площадь поверхности теплообмена пластины, м2 0,15

Температура воды, ºС

артезианской  8

холодной 0

Температура рассола, ºС -5

Расход воды, м3

артезианской 20

холодной 20

Расход рассола, м3/ч 20

Потребляемая мощность, кВт 1,5

Габариты, мм

длина 1600

ширина 700

высота 1400

Масса аппарата, кг 640

Емкость для сбора и хранения молока горизонтальная типа 11.02Н (с теплоизолирующей рубашкой)

Резервуары - охладители предназначены для сбора, охлаждения от +35 °С до +4 °С и хранения молока при температуре 4…6 °С до переработки. Применяются в составе молокоприемных пунктов, а также для сбора, охлаждения и хранения других пищевых жидкостей плотностью не более 1100 кг/м2.

Емкость - двустенный резервуар, пространство между внутреннем корпусом и наружным кожухом заполнено теплоизолирующим материалом. Для предотвращения отстоя молочного жира при хранении молока в емкости, его перемешивают при помощи молочного насоса и эжектора.

Для контроля наполнения емкости и количественно определения находящегося в ней молока, емкость оборудована выносным указателем уровня с мерной шкалой.

Температура продукта в емкости контролируется при помощи датчика.

Для удобства установки емкость имеет регулируемые по высоте опоры. В верхней части резервуара расположены моющие головки. В торцовой стенке емкости расположен люк, который предназначен для обслуживания емкости при производстве профилактических осмотров и ремонтных работ. Для этих же целей емкость может быть укомплектована переносной лестницей. Емкость комплектуется пультом управления.

Емкость может быть использована для охлаждения молока, она укомплектована охладителем пластинчатого типа.

Материал всех элементов емкости - сталь марки X18Н10Т, разрешенной для контакта с пищевыми продуктами. Внутренний корпус емкости изготовлен из полированной нержавеющей стали. /23/

Рис. 9. Емкость для сбора и хранения молока горизонтальная типа 11.02Н

Техническая характеристика емкости

Рабочий объем, м3 6,0

Напряжение, В 380

Потребляемая мощность насоса, кВт 0,75

Длина, мм -  3020

Наружный диаметр, мм 1905

Высота, мм 2130

Масса, кг  800

Оборудование для пастеризации

Пластинчатая пастеризационно - охладительная установка имеет главную переднюю стойку и вспомогательную заднюю стойку, в которые закреплены концы верхней и нижней горизонтальных шпал. Верхняя предназначена для теплообменных пластин. По периферии каждой пластины в специальной канавке уложена большая резиновая прокладка, герметично уплотняющая канал.

Пластины имеют отверстия с небольшими кольцевыми резиновыми прокладками. После сборки пластин в аппарате образуются две изолированные системы каналов, по которым перемещаются молоко и охлажденная жидкость.

Пластинчатый аппарат снабжен теплообменными пластинами из нержавеющей стали, разбитыми на пять секций: первая и вторая ступени регенерации, пастеризации, охлаждения артезианской водой и охлаждения ледяной водой. Секции отделены друг от друга специальными промежуточными плитами, имеющими по углам штуцера для подвода и отвода жидкостей. На пластине выбиты порядковые номера, те же номера указаны на схеме компоновки пластин.

Пластины прижаты к стойке с помощью плиты и прижимных устройств. Степень сжатия тепловых секций определяют по таблице со шкалой, установленной на верхней и нижней распорках.

Установка пастеризационно - охладительная пластинчатая А1 - ОПК - 5 предназначена для тепловой обработки молока при производстве кисломолочных продуктов. Пластинчатый аппарат смонтирован на станине, установленной на ножке 8, и имеет четыре секции: регенерации З и 4, пастеризации 2 и нагрева 5. Секции собраны из теплообменных рифленых пластин 10 из листовой нержавеющей стали. Каждая секция отделена от другой разделительной плитой 9. Герметичность в аппарате создается за счет поджатая пластин зажимным устройством 7, установленным на нажимной плите 6. На станине, нажимных и разделительных плитах имеются штуцера для входа и выхода продукта и рабочей жидкости. Контроль, регулирование и регистрирование параметров технологического процесса осуществляется приборами автоматики.

Сырое холодное молоко из резервуара для хранения насосом подается в секцию регенерации 4, в которой нагревается пастеризованным горячим молоком до 35...45 °С и поступает в сепаратор- сливкоотделитель, из которого обезжиренное молоко возвращается в секцию пастеризации 2, где нагревается горячей водой до 78...80 ºС. Молоко, нагретое до температуры пастеризации, подается на охлаждение в секции регенерации З и 4 и далее в секцию нагрева 5, где температура молока приводится в соответствие с оптимальной температурой для сквашивания в пределах 26...32 °С. /24//27/

Рис. 10. Пластинчатый аппарат А1 - ОПК - 5

Техническая характеристика установки А1-ОПК-5

Производительность, л/ч  5000

Температура молока, °С

поступающего в аппарат 5…10

пастеризации  78…80

охлаждения 26…32

Время выдержки при температуре пастеризации, с 15…20

Коэффициент регенерации, %  87

Вид теплоносителя:

первичный Пар

вторичный Горячая вода

Давление пара в магистрали, МПа 0,3

Расход пара, кг/ч 186…112

Температура горячей воды, °С 93…98

Рабочее давление в аппарате, МПа 0,3

Поверхность теплообмена пластины, м2 0,2

Число пластин в секциях, шт.

регенерации 1 46

регенерации II 18

пастеризации 38

нагрева 9

Общее число пластин в аппарате, шт. 111

Потребление за час работы:

пара, кг 86

электроэнергии, кВт 12,0

Мощность установленных электродвигателей, кВт 13,0

Площадь, занимаемая установкой, м2 18

Габаритные размеры, мм 2100×700×1450

Масса, кг  950

Аппарат для отделения сливок

Сепаратор - сливкоотделитель ОСН - С состоит из поплавка и воронки 1, манометра 2: пробного краника 3, регулирующих дросселей 4 и 24, патрубка для вывода обезжиренного молока 5: накидной гайки 6, малого затяжного кольца барабана 7, напорных дисков 8 и 9, питающей трубки 10: крышки барабана 11, затяжного кольца барабана 12, оси отверстий в тарелках 13, основания барабана 14, тарелкодержателя 15, тарелок 16, уплотнительного кольца 17, верхней тарелки 18, разделительной тарелки 19: крышки сепаратора 20, горизонтальной перегородки 21, крышки 22, устройства для вывода сливок 23, ротаметра 25, тахометра 26, червячного колеса привода 27, вертикального вала (веретено) 28, подпятника с подшипником 29, горлового подшипника 30, статорного винта 31.

Молоко из воронки 1 через центральную питающую трубку 2 поступает в пространство между корпусом барабана 5 и тарелкодержателем 6, поднимается в пакет тарелок по отверстиям 7 и растекается в межтарелочных пространствах, где и разделяется на две фракции.

Тяжелая фракция - обезжиренное молоко - центробежной силой отбрасывается к периферии, поднимаясь в полости, ограниченной разделительной тарелкой и крышкой барабана, попадает в напорную камеру обезжиренного молока и далее в напорный диск его. Из напорной камеры обезжиренное молоко выходит под давлением и по трубе выводится из сепаратора. Разделительная тарелка 8 разделяет и предохраняет от смешивания обезжиренное молоко и сливки.

Легкая фракция - сливки - оттесняется к центру барабана и вдоль тарелкодержателя 6 поднимается вверх в напорную камеру сливок, ограниченную верхней частью разделительной тарелки и верхней тарелкой. Затем через напорный диск сливки поднимаются и попадают под давлением в камеру, оттуда выводятся и направляются в емкость или в какой- либо аппарат.

Жировая фаза молока представляет собой жировые шарики диаметром от 1 до 10 мкм, равномерно распределенные в молоке. Во время сепарирования в межтарелочном пространстве жировые шарики, направляясь к центру барабана, скользят вверх вдоль верхней поверхности тарелки. Обезжиренное молоко, как более тяжелая фракция, направляется к периферии по внутренней поверхности тарелок. Таким образом, в межтарелочном пространстве встречаются два потока: обезжиренное молоко, направляющееся к периферии, и сливки, направляющиеся к центру барабана.

Механические примеси, загрязняющие молоко, а также «молочная слизь» движутся вместе с обезжиренным молоком и оседают в шламовом пространстве кожуха барабана. Этот осадок, сильно уплотняясь, постепенно заполняет шламовое пространство, что приводит к нарушению установившегося процесса тонкослойной сепарации. Поэтому периодически сепаратор необходимо останавливать, разбирать барабан и вручную удалять осадок с последующей мойкой всех деталей барабана. /25/

Рис. 11. Сепаратор ОСН - С

Техническая характеристика сепаратора ОСН - С

Производительность, л/ч 10000

Давление продукта на выходе, МПа 0,25

Частота вращений барабана, с-1 500

Температура сепарирования, К 35...40

Максимальный диаметр барабана, мм 616

Число тарелок в барабане, шт. 110

Межтарелочный зазор, мм  0,5

Электродвигатель:

Мощность, кВт 15

Частота вращения, с-1 157

Габаритные размеры, мм:

Длина 1390

Ширина 1000

Высота 1785

Масса, кг

Барабана  240

Сепаратора 1512

Выработка творога

Ёмкость специального назначения Я1 - ОСВ. Емкость состоит из внутреннего корпуса 4 цилиндрической формы, теплообменной рубашки 3, теплоизоляции 2 и наружного корпуса 5. для заполнения и опорожнения емкости служит патрубок 8. Если днище имеет коническую форму, то патрубок наполнения опорожнения располагается внизу, по центру днища. Внутри емкости находится мешалка 1 обычно рамного типа. Привод мешалки 11 может быть как верхним, так и нижним. В нижней части емкости имеется патрубок для удаления из теплообменной рубашки тепло- или хладоносителя. Люк 10 для осмотра и ремонта рабочей поверхности емкости расположен в ее цилиндрической части.

Моющее устройство, находящееся в верхней части емкости, представляет собой реактивную вертушку.

Молоко или сливки, предварительно нагретые до температуры сквашивания, а также закваска поступают в емкость через нижний патрубок.

Перемешивание молока (а в последствии продукта) осуществляется мешалкой по мере необходимости.

Готовый продукт охлаждается ледяной водой. Вода орошает внешнюю поверхность внутреннего корпуса, вытекая из перфорированной трубы, расположенной по периметру теплообменной рубашки в ее верхней части. Охлаждение продукта осуществляется при его непрерывном перемешивании. Готовый продукт удаляется из емкости через нижний патрубок и насосом подается на расфасовку. Резервуар оснащен средствами контроля, автоматического и дистанционного управления технологическими процессами, что позволяет обеспечить минимальную трудоемкость эксплуатации и высокое качество вырабатываемых продуктов./21/

Рис. 12. Емкость специального назначения Я1 - ОСВ 1 - мешалка; 2 - теплоизоляция; З - рубашка; 4 - внутренний корпус; 5 - наружный корпус; 6 - пульт управления; 7 ножки; 8 - патрубок заполнения- опорожнения; 9 - пробоотборный кран; 10 - люк; 11 - привод мешалки.

Техническая характеристика емкости Я1 - ОСВ

Рабочая вместимость, м3 6,3

Внутренний диаметр, мм 2000

Условный проход патрубка наполнения-опорожнения, мм 50

Установленная мощность электродвигателя, кВт  0,75

Занимаемая площадь, м2 5,35

Вместимость рабочая на единицу

занимаемой площади, м32 не менее 1,17

Высота без привода, мм 3230

Масса, кг, не более 1500

Коэффициент автоматизации 0,8

Удельное потребление электроэнергии, кВтч/м3  0,02

Удельная материалоемкость, кг/м3 238

Удельная металлоемкость, кг/ м3 209

Оборудование для отделения сыворотки от сгустка

Сепаратор-разделитель для творожного сгустка марки Я9 - ОДТ.

Сепаратор имеет следующие составные части:

а) приводной механизм: электродвигатель, тормоз, горизонтальный вал, вертикальный вал, тахометр.

б) барабан.

в) приемно-выводное устройство.

г) крышка.

д) фильтрующая установка.

е) расходомер.

К сепаратору прилагаются запасные части, инструмент и приспособления, согласно комплектовочной ведомости паспорта.

Приводной механизм предназначен для передачи вращения барабану от индивидуального электродвигателя, упругой муфты, горизонтального и вертикального валов, которые смонтированы на станине.

Контроль числа оборотов осуществляется циферблатным тахометром и пульсатором. Рабочее число оборотов горизонтального вала соответствует показанию 1400 на циферблате. Один толчок соответствует 109,4 оборотам барабана в минуту. Тормоз, смонтированный на станине, предназначен для сокращения времени остановки барабана. Барабан является рабочим органом сепаратора. Внутри его основания установлен тарелкодержатель с насаженным на него пакетом тарелок. Тарелкодержатель и тарелки в нижней части имеют отверстия. Сверху тарелки закрываются крышкой, которая, в свою очередь, крепится затяжным кольцом.

Корпус барабана имеет внутри поверхность в виде двух усеченных конусов, составленных основаниями. По линии сопряжения конусных поверхностей, т. е. на наиболее удаленном от оси вращения барабана расстоянии, устанавливают в гнездах барабана корпуса для сопел (как правило, 12). Они равномерно расположены по окружности. В корпус ввинчены держатели с соплами. Оси сопел направлены под углом 20 ° к касательной окружности барабана в сторону, противоположную его вращению. Такое расположение снижает вероятность их забивания, а использование реакций струй, выходящих из сопел, позволяет уменьшить мощность привода сепаратора. Обычно вместе с сепаратором поставляют сменный комплект сопел отверстиями диаметром 0,5; 0,6 и 0,7 мм, а также заглушки без отверстий. Выгрузка творожного сгустка осуществляется непрерывно через сопловые отверстия и приемную чашу.

Приемно-выводное устройство служит для подачи сквашенного молока в барабан и вывода образовавшейся сыворотки под давлением через напорный диск в трубопровод.

Устройство для рециркуляции сыворотки служит для регулирования влажности получаемого творожного сгустка. В состав устройства входит гидравлический отсекатель, вентиль, манометр, трубопровод для перепуска части проходящей через напорный диск сыворотки в входной патрубок сепаратора. Регулирование влажности производится оператором вручную в соответствии с показаниями манометра.

Творожный сгусток выходит из сопел барабана в приемник творога, а затем поступает в патрубок соединенный с трубопроводом, ведущим к следующему этапу технологической обработки. Сверху барабан закрывается крышкой, на которой монтируется приемно-выводное устройство.

Для определения производительности в линии сквашенного молока устанавливается расходомер для удаления крупных сгустков сквашенного молока, в линии подачи устанавливаются на стойке два параллельных взаимозаменяемых сетчатых фильтра. При помощи трехходовых кранов производится переключение фильтра для его очистки, О степени загрязненности можно судить по показаниям установленного перед ним манометра.

Работа сепаратора. Как только барабан наберет частоту вращения (показания тахометра 1400) в барабан через питающую трубку приемно - выводного устройства подается вода температурой 50 °С, а затем температурой 30 °С для проверки герметичности, промывки и охлаждения барабана и приемно-выводного устройства, затем включают подачу сквашенного молока.

Сквашенное молока подается насосом через фильтр и патрубок с коллектором по питающей трубе в тарелкодержетель барабана, через отверстия которого поступает в вертикальные каналы пакета тарелок, затем разделяется в межтарелочных зазорах, где сквашенное молоко под действием центробежной силы разделяется на творог и сыворотку. Творог, как более тяжелая фракция, отбрасывается к периферии барабана и через сопла непрерывно выводится в приемник творога (чашу).

Более легкая фракция-сыворотка оттесняется к оси вращения барабана и поднимается вверх по наружным каналам тарелкодержателя выводится в камеры, где захватывается напорным диском и выводится через патрубок в трубопровод.

Для обеспечения производительности 5 - 6 м3/ч при нормальных условиях работы (кислотность сгустка 75 °Т) рекомендуется устанавливать четыре сопла 00,6 мм, два сопла 00,7 мм. С повышением кислотности сгустка влажность творога повышается, для обеспечения влажности творога в пределах нормы необходимо устанавливать сопла меньшего диаметра (шесть сопел 00,6) или регулировать производительность. Чем выше производительность, тем меньше влажность творога.

В конце смены или в случае ухудшения качества осветления сыворотки необходимо произвести промывку сепаратора. Не останавливая сепаратора, производится промывка барабана и приемно-выводного устройства. Прекращается подача продукта в барабан. Пропускается холодная вода в течение 10 минут, затем горячая вода в течение 10 минут, после снова холодная вода (10 минут). Отключается электродвигатель. По истечении 5 минут включается тормоз. После полной остановки приступают к разборке и ручной мойке сепаратора. /24/

Рис. 13. Сепаратор-разделитель для творожного сгустка марки Я9 - ОДТ: 1- центральная трубка; 2- фланец; 3- смотровое окно; 4- ротаметр; 5-тарелкодержатель; 6 - основание барабана; 7 - приемник творога; 8- шкив большой; 9- приводной ремень; 10 - шарикоподшипник; 11 - опорное кольцо; 12- патрубок для отвода творога; 13 - горловой подшипник; 14 - вертикальный вал; 15- станина: 16 - пробка отверстия для спуска масла; 17- указатель уровня масла; 18- горизонтальный вал; 19- пробка отверстия для залива масла; 20 - тахометр; 21 - чаша станины; 22 - прижимы; 23 - колпак; 24 - скребок; 25 - сопло; 26 - затяжная гайка; 27- крышка барабана

Техническая характеристика сепаратора-разделителя Я9 - ОДТ

Производительность по исходному продукту

(творожному сгустку), л/ч при 6-ти соплах 5000 - 6000

Частота вращения барабана, с-1 (об/мин) 100±2 (6000±120)

Количество комплектных тарелок в барабане, шт   68

Время набора барабаном рабочего числа оборотов, мин.  3 - 5

Двигатель

тип АИР 160S 4У.3

мощность, кВт 15

исполнение IМ 3081

напряжение, В 220/380

частота вращения, с-1 (об/мин) 25 (1500)

Габаритные размеры, мм, не более

длина 1275

ширина 1040

высота 1470

Масса сепаратора в комплекте поставки общая, кг не более 1250

в том числе масса сепаратора, кг не более  1140

Температура исходного продукта, °С    25 - 30

Кислотность сквашенного сгустка, °Т (рН)   75

Содержание СВ в осветленной сыворотке, %   5,7 - 6,4

Содержание влаги в творожном сгустке, %   76,7 - 82,4

Давление на выходе сыворотки, МПа (кгс/см2) не более  0,3 (3,0)

Подготовка жира

При выработке творога с массовой долей жира 5 % используется жировая смесь «СОЮЗ 71», которая подается в смеситель в растопленном состоянии. Поэтому вводим в технологическую линию жирорастопитель.

Жирорастопитель состоит из бака 5 с коническим днищем и рубашкой 6, через которую подается горячая вода. Внутри бака установлен вертикальный вал 4 с конусным пропеллером 8. Вал приводится во вращение от электродвигателя 15 через ременную передачу 1, зубчатую цилиндрическую пару 2 и конический фрикцион 3.

Жир для растапливания помещается в бак на металлическую решетку 7, после чего включается электродвигатель, а через рубашку пропускается горячая вода. Растопленный жир выпускается из бака через пробковый кран 14 в бачок постоянного уровня 9, который снабжен водяной рубашкой 10. Постоянный уровень в этом бачке обеспечивается шаровым краном 13. Во избежание расслаивания жира мешалку не выключают до полного выпуска растопленного жир из бака. Жир из бачка постоянного уровня подается к смесителю - реактору через трехходовой кран 12 и кран 1.Отстой выпускается из бачка через кран 12. /26/

Рис. 14. Жирорастопитель АРЖ

Таблица 20 Техническая характеристика жиротопки (цилиндрической) - АРЖ

Наименование

АРЖ- 0,1

АРЖ - 0,3

АРЖ - 0,4

АРЖ - 0,6

АРЖ - 1,0

Объем, л

100

300

400

600

1000

Мощность, кВт

12

20

25,1

33,5

46,5


В данном случае масса расплавляемого жира по рецептуре составляет 50,2 кг, то выбираем жирорастопитель АРЖ - 0,1.

Оборудование для смешивания творога с пальмовым маслом

Реактор МЗС-316 предназначен для перемешивания вязких и жидких пищевых продуктов из нескольких компонентов. Перемешивание продукта осуществляется мешалкой 4, состоящей из вертикального вала с укрепленными на нем лопастями. В нижней части корпуса 5 имеются два патрубка для спуска конденсата и выгрузки готового продукта. Над реактором смонтирован привод, включающий электродвигатель 1 и редуктор 2. Для санитарной обработки верхней части имеется крышка 3./23/

Рис. 15. Реактор МЗС - 316

Техническая характеристика реактора МЗС - 316

Рабочая емкость, л  500

Поверхность нагрева, м2   2,2

Рабочее давление, МПа:

в паровой камере  0,3

Частота вращения мешалки, мин-1 70

Установленная мощность, кВт 1,7

Габаритные размеры, мм 1300×1240×1960

Масса, кг 740

Оборудование для охлаждения творога

Охладитель творога двухцилиндровый 209 - ОТД - 1 представляет собой станину 6, на которой смонтирован привод 7 общего бункера 2. К станине и бункеру с одной стороны крепятся два цилиндра З, представляющие собой двухстенный корпус, в межстенном пространстве которого протекает хладагент, с другой - смонтированы приводы барабанов 1, состоящие из полых валов, вращающихся в корпусах на роликовых конических подшипниках. Сзади приводов на станине смонтированы узлы подвода и отвода воды из барабанов, имеющие специальные сальниковые устройства, исключающие попадание воды в продукт.

Внутри цилиндров расположены вытеснительные барабаны 4 со шнековой поверхностью. Барабаны представляют собой двухстенный корпус, в межстенном пространстве которого протекает хладагент. Хвостовики барабанов проходят через полые валы приводов и крепятся к узлам подвода и отвода воды специальными гайками. Вторые концы вытеснительных барабанов своими пальцами входят в подшипники крышек цилиндров 5.

Подвод воды в цилиндры осуществляется через вентиль, отвод воды - через патрубок.

Подвод воды в вытеснительные барабаны осуществляется через вентиль, отвод - через отверстие тройника.

Творог в транспортной тележке поднимается подъемником-загрузчиком и опрокидывается в бункер охладителя 2. От электродвигателя через ременную передачу, редуктор, цепную передачу вращение передается полым валам приводов барабанов. Валы через шпонку передают вращение вытеснительным барабанам 4.

Конусная часть шнековых барабанов забирает из бункера творог и перемещает его в цилиндрическую часть, где он охлаждается поверхностями цилиндра и барабана, в межстенном пространстве которых протекает вода в направлении, противоположном движению творога. /17/

Рис. 16. Охладитель творога двухцилиндровый 209 - ОТД - 1

Техническая характеристика охладителя творога двухцилиндрового 209 - ОТД - 1

Производительность, кг./ч.  780

Поверхность охлаждения, м2 3,7

Частота вращения вытеснительных барабанов, с-1  0,49

Температура творога, ºС:

на выходе в охладитель 28…30

на выходе из охладителя 8…10

Хладагент  вода

Температура хладагента на входе в охладитель, ºС  1

Расход хладагента, м3/ч. 9

Потребляемая электроэнергия, кВт*ч.   4

Габаритные размеры, мм 2060×970×1700

Масса, кг.  750

Оборудование для фасовки и упаковки

Автомат для фасовки творога в коробочки М6 - ОРВ предназначен для изготовления полимерных коробочек вместимостью 250 или 500 г, фасовки в них творога и герметической их упаковки фольгой посредством термосварки.

Автомат состоит из исполнительных механизмов протягивания упаковочной пленки 1, нагревателя 14, механизма формования коробки 13, дозатора 8, механизма запечатывания 5, штампа вырубки 3, пульта управления 2. Все механизмы крепятся на станине 19.

Механизмы запечатывания 5 и протягивания закреплены неподвижно. Механизм формования и штамп вырубки могут перемещаться вдоль рамы, чем достигается регулирование расстояния, между отдельными группами, исходя из шага протягивания пленки.

Упаковочная лента разматывается с рулона 1 и, проходя через поддерживающие ролики, образует петлю 2, создающую запас пленки, необходимый для протяжки на один шаг (для одного блока). Пленка, проходя через нагреватель 3, приобретает необходимую эластичность. Нагретый участок пленки попадает между пуансоном и матрицей штампа 4.

 

Рис. 17. Автомат М6 - ОРВ: 1 - механизм протягивания; 2 - пульт управления; 3 - штамп вырубки; 4 -бобина запечатывающей пленки; 5 - механизм запечатывания, 5 - оптическая головка механизма центрирования этикетки запечатывающей пленки; 7 - ролики направляющие, 8 - дозатор; 9 - кронштейн; 10 - бункер для продукта; 11 - направляющие; 12 - пневмоцилиндр пуансонов; 13 - штамп (механизм) формования коробки; 14 - нагреватели пленки; 15 - механизм разматывания пленки; 15 - лента упаковочная; 17 - бабинодержатель; 18 - планка; 19 - станина; 20 - рулонодержатель; 21 - пленка после вырубки.

По договоренности с заказчиком завод - изготовитель поставляет один из двух комплектов пуансона с матрицей на формирование блока из двух коробок вместимостью 500 г или четырех - вместимостью по 250 г. Пуансон, вдавливая в матрицу размягченную пленку, формует из нее блок соответственно из 2 или 4 коробок. Затем блок коробок охлаждается специальным устройством и подается под дозирующую головку, где одновременно заполняется творогом каждая коробка. Из рулона 7 разматывается запечатывающая фольга и попадает под штамп запечатывания 8. Закрывая наполненные коробки, фольга сваривается с блоком и последний попадает под штамп 9, где блок разрезается на отдельные коробки, наполненные творогом и укупоренные фольгой./25/

Техническая характеристика автомата М6 - ОРВ

Производительность, упаковок в минуту 72

Потребляемая мощность, кВт 8,5

Габариты, мм:

без дозатора:

длина 2040

ширина 1035

высота 1330

с дозатором

длина  3750

ширина 1800

высота 2745

Масса, кг 2637

Расчет оборудования

При производстве творога 5 % - ной жирности из обезжиренного творога и жировой смеси «СОЮЗ» в обязательном порядке используется сепаратор - сливкоотделитель. Сепаратор - сливкоотделитель предназначен для разделения молока на две фракции: обезжиренное молоко и сливки.

Техническая характеристика сепаратора расписана выше.

Расчет сепаратора - сливкоотделителя

. Угловая скорость барабана вычисляется по формуле:

ω = 6,28*nс , (6)

где nс - число оборотов барабана, с-1;

ω = 6,28*500 = 3140 (рад/сек).

. Определим секундную производительность:

Vд = 10000 л/ч = 10000/(1000*3600) = 0,0028 (м3/с).

. Отношение разности плотностей к вязкости среды:

 (ρc - ρч)/ μс = 2900*t ,(7)

где ρc - плотность дисперсионной среды (плазмы), кг/м3;

ρч - плотность частицы дисперсной фазы, кг/м3;

μс - вязкость дисперсионной среды, н сек/м2;

t-температура молока в °С.

c - ρч)/ μс = 2900*35 = 101000 (сек/м2).

. Предельно-минимальный размер выделяемых сепаратором жировых частиц:

dmin = z* α* (Rmax - Rmin) β,  (8)

где z - число тарелок в барабане (110);

α - угол подъема образующей конуса тарелки, град (50 º);

Rmax - максимальный расчетный радиус тарелки, м (0,155);

Rmin - минимальный расчетный радиус тарелки, м (0,049);

β - технологический к.п.д. сепаратора (0,5÷0,7).

5. Скорость осаждения частиц дисперсной фазы определяется по формуле Стокса:

V = (1*g*d2min*(ρc - ρч)/ μс) / 18 , (9)

где g - ускорение силы тяжести, м/сек2;

V = (1*9,8*(0,4*10-6)2*101000) / 18 = 8*10-9 (м/с).

. Максимальное время пребывания молока между тарелками при движении от Rmax до Rmin определяется:

τс = (π*z*σ*( Rmax2 - Rmin2 )/ Vд* cos α , (10)

где σ - межтарелочный зазор по нормали к образующей, м;

τс = (3,14*110*0,0005*( 0,1552 - 0,0492 )/ 0,0028* 0,64 = 20,2 (сек).

. Для тарельчатого сепаратора разделяющий фактор определяется по формуле:

F = (2* π* ω2*z*( Rmax3 - Rmin3)*tg α)/ 3* Vд ,  (11)

F=(2*3,14*31402*110*(0,1553 - 0,0493)*1,19)/ 3* 0,0028 = 3,5*109 (1/с).

. Сопротивляемость молока выделению жира 0,4 мкм определяют по формуле:

Е = 18 / ((ρc - ρч)* dmin / μс) , (12)

Е = 18 / (101000*(0,4*10-6)2 ) = 1,11*109 (1/с).

. Таким образом, разделяющий фактор сепаратора ОСН - С больше сопротивляемости молока в:

F / E = 3.5*109 / 1.11*109 = 3,15 (раза).

2.12 Теплоэнергетические расчеты

В основе теплового расчёта аппарата лежит уравнение теплового баланса, расчёт которого проводится с целью определения необходимого расхода греющего агента с последующим определением необходимой поверхности теплопередачи.

Уравнение теплового баланса имеет вид:

Qт=Qв ,                                                (13)

Где QT - количество теплоты, выделяемое (поглощаемое) теплоносителем;

Qв - количество теплоты поглощаемое (выделяемое) веществом.

. Уравнение теплового баланса для секции пастеризации пастеризационно - охладительной установки имеет вид:

Gт * Cт* (t нт - t кт) = Gв * Cв * ( tвк - tвн),                            (14)

где: Gт - массовый расход теплоносителя (горячей воды);

Ст - теплоемкость теплоносителя, Ст=4,19 кДж/кг*К;

tнт и tkт - начальная и конечная температуры теплоносителя, tнт=98 °C , t кт = 80 °С соответственно;

Gв - массовый расход вещества (молока), Gв=1,4 кг/с;

Св - теплоемкость вещества (молока), Св=4,323 кДж/кг*К;

tвн, tвк - начальная и конечная температуры вещества (молока) соответственно, tвн = 30 °С, tвк =78 °С.

Искомой величиной является расход теплоносителя из уравнения (14):

Gт = Gв * Cв * ( tвк - tвн) / Ст (tнт - tкт),                                (15)

Gт = 1,4* 4,323 * (98 - 80) / 4,19 * (78 - 30) = 0,54 (кг/c).

Находим среднюю разность температур (tср):

Горячая вода охлаждается с 98 ºС - до 80 ºС;

Молоко нагревается с 30 ºС - до 78 ºС;

tб = 20 ºС  tм = 50 ºС,

 tср = (20 + 50) / 2 = 35 ºС.

Определяем площадь поверхности теплообмена из уравнения :

F = Q / K* tср , (16)

где: Q = Gв * Cв * ( tвк - tвн) = 1,4 * 4,323 * (98 - 80) = 108,9 (кДж);

К = 200 Вт/м2К;

F= 108,9 / 200 * 35 = 15,5 м2.

. Запишем тепловой баланс стадии охлаждения(секция охлаждения) при использовании в качестве хладагента холодную воду:

Gх.в * Cхв* (t нхв - t кхв) = Gв * Cв * ( tвк - tвн),

где: Gхв - массовый расход теплоносителя (холодной воды);

Схв - теплоемкость теплоносителя, Схв=4,19 кДж/кг*К;

tнхв и tkхв - начальная и конечная температуры теплоносителя, tнхв= 5 °C, t кхв = 25 °С соответственно;

Gв= 1,4 кг/с;

Св= 4,323 кДж/кг*К;

tвк = 32 °C, tвн = 50 °C.

Gх.в = Gв * Cв * ( tвн - tвк) / Cхв* (t кхв - t нхв) , (17)

Gх.в = 1,4 * 4,323 * (50 - 32) / 4,19 * (25 - 5) = 1,3 (кг/с).

Находим среднюю разность температур tср:

Молоко охлаждается от 50 °C - до 32 °C,

Холодная вода нагревается от 5 °C - до 25 °C,

tб = 25 ºС  tм = 27 ºС,

 tср = (25 + 27) / 2 = 26 ºС,

Определяем площадь поверхности теплообмена из уравнения :

F1 = Q1 / K* tср ,    (18)

где: Q1 = Gв * Cв * ( tвн - tвк) = 1,4 * 4,323 * (50 - 32) = 108,9 (кДж);

К = 200 Вт/м2К.

F= 108,9 / 200 * 26 = 20,9 м2.

3. Автоматизация производственных процессов

Автоматизация пластинчатой пастеризационно-охладительной установки А1 - ОПК - 5.

В дипломном проекте предусматривается автоматизация всех производственных процессов на базе современных микропроцессорных контроллёров. В частности в данном разделе разработана САУ - система автоматического управления пластинчатой пастеризационно - охладительной установкой с применением РС - совместимого многофункционального контроллёра «Теконик», производства ЗАО «Текон» города Москвы.

«Теконик» - это новый универсальный контроллер, система интеллектуальных клеммных модулей. Он предназначен для построения распределенных автоматических и автоматизированных систем измерения, контроля, регулирования, диагностики и управления производственными процессами, технологическими линиями и агрегатами. Состоит из свободно программируемого процессорного модуля, до 64 модулей ввода - вывода, панели оператора и дополнительного оборудования, поставляемого изготовителем в соответствии с заказанной конфигурацией. Пользователь может самостоятельно наращивать или изменять конфигурацию системы. Модули ввода - вывода работают под управлением РС - совместимого процессорного модуля. Процессорный модуль имеет следующие характеристики: процессор DX4 - 100, Flash - 8 Мб, динамическое ОЗУ - 8 Мб, энергонезависимое ОЗУ - 128/512 Кб, WatchDog, питание - 24 В, потребление - 25 В. Таким образом, «Теконик» удобен для построения распределенных систем промышленной автоматизации с числом каналов от 8 до 1000.

Вся информация о технологическом процессе выводится на пульт управления инженера - технолога. Все технологические параметры фиксируются на видеотерминале, наиболее важная информация выводится на печатающее устройство. Инженер - технолог может вмешаться в процесс управления: менять программу управления, изменять задания по отдельным контурам регулирования, управлять исполнительными механизмами и т.д.

Система автоматического управления разработана на основе задания на проектирование. Выбранные приборы и средства автоматизации, сгруппированные по параметрам, представлены в спецификации. В качестве датчиков применим отечественные датчики, имеющие унифицированные токовые выходные сигналы (0...5 мА, 4…20 мА) и удовлетворяющие современным требованиям по точности, надёжности и качеству исполнения. В качестве исполнительных механизмов и регулирующих органов применим механизмы электрические однооборотные к клапану регулирующему./28/

Задание на проектирование системы автоматизации

Таблица 21

Наименование параметра, место отбора измерительного импульса

Заданное значение параметра, допустимые отклонения

Отображение информации

Регулирование

Наименование регулирующего воздействия.

 




Показание

Регистрация

Суммирование

Сигнализация



 

1

Температура поступающего молока

5…10 ºС

+

+

+

 

2

Температура пастеризации молока

78…80 ºС

+

+

+

+

Изменение подачи пара

 

3

Температура продукта на выходе

26…32 ºС

+

+

+

+

Изменение подачи холодной воды, либо горячей воды

 

4

Время выдержки при температуре

15…20 сек

+

+

 


пастеризации








5

Расход пара

186 кг/ч

+

+

6

Температура горячей воды

93…98 ºС

+

+

+

7

Давление пара в магистрали

0,3 МПа

+

+

8

Рабочее давление в аппарате

0,3 МПа

+

+

9

Расход продукта

5000 л/ч

+

+

+

+

Изменение подачи продукта (молока)

10

Давление на линии подачи холодной воды

0,15…0,20 МПа

+

+

11

Давление на линии подачи горячей воды

0,15…0,20 МПа

+

+


Автоматическая система управления технологическим процессом представлена на плакате и включает в себя 3 контура регулирования и 7 контуров контроля.

Рассмотрим работу контура регулирования температуры пастеризации молока подробнее.

Температура измеряется термометром сопротивления платиновым (поз. 2а). Сигнал от датчика температуры поступает на аналоговый вход «Теконика», где с помощью алгоритма управления вырабатывается управляющее воздействие. Управляющее воздействие в виде унифицированного токового сигнала снимается с аналогового выхода «Теконика». Затем сигнал поступает на пускатель бесконтактный реверсивный, расположенный по месту (поз. 2б). Управляющее воздействие в форме изменяющего давления сжатого воздуха поступает на мембрану электрического механизма с регулирующим клапаном (поз.2в). Клапан, установленный на трубопроводе подачи теплоносителя в аппарат, регулирует расход теплоносителя, тем самым, поддерживая температуру на заданном уровне. Кроме того, сигнал с «Теконика» о текущей температуре поступает на пульт инженера - технолога, где выводится на видеотерминал и печатающее устройство.

Типы выбранных приборов и средств автоматизации представлены в спецификации.

Таблица 22 Спецификация на приборы и средства автоматизации

№ по схеме

Наименование и краткая характеристика прибора

Тип прибора

Кол-во

Многофункциональный контролер «Теконик», работающий в комплекте с ПЭВМ.

1а, 2а, 3а, 4а

Термометр сопротивления платиновый (0…150 ºС)

ТСП Метран 205

4

5а, 6а, 8а, 9а

Датчик избыточного давления. Верхний предел 0,3 МПа

Метран - 100 - ДИ

4

7а, 10а

Расходомер переменного перепада давлений

Метран - 350-Р

2

2б, 3б, 3г, 7б

Пускатель бесконтактный реверсивный

ПБР - 2М

4

2в, 3в, 3д, 7в

Механизм электрический однооборотный к клапану регулирующему

МЭО - 6,3/ 12,5 - 0,25 - 99

4


4. Охрана труда и окружающей среды

В целях охраны окружающей среды и здоровья населения для предприятий молокоперерабатывающей промышленности обязательно выполнение требований к санитарной защите окружающей среды в соответствии со следующими основными нормативными документами: СанПиН «Гигиенические требования к охране атмосферного воздуха населенных мест»; СанПиН «Санитарные правила и нормы охраны прибрежных вод морей от загрязнения в местах водопользования населения», Санитарные правила «Порядок накопления, транспортировки, обезвреживания и захоронения токсичных промышленных отходов» и др.

На предприятиях должны быть предусмотрены мероприятия, предотвращающие загрязнение окружающей среды за счет попадания в сточные воды смывочных и промывочных вод, содержащих белковые отходы, отработанные химические реагенты, дезинфицирующие и моющие средства и др.

Для сбора и удаления производственных и бытовых сточных вод предприятия должны быть канализованы; канализация может присоединяться к канализационным сетям населенных пунктов или иметь собственную систему очистных сооружений. При сбросе на очистные сооружения населенных пунктов условия отведения сточных вод определяются «Правилами приема производственных сточных вод в систему канализации населенных пунктов».

При наличии собственных очистных сооружений условия сброса очищенных сточных вод определяются «Санитарными Правилами и Нормами охраны поверхностных вод от загрязнения» и «Санитарными Правилами и Нормами охраны прибрежных вод морей от загрязнения в местах водопользования населения».

Условия сброса сточных вод в обязательном порядке следует согласовывать с органами и учреждениями Госсанэпиднадзора в каждом конкретном случае.

Сточные воды предприятий перед сбросом в систему канализации населенного пункта должны быть подвергнуты локальной очистке. Методы и способы очистки сточных вод должны определяться с учетом местных условий в зависимости от состава сточных вод.

В случае если сточные воды предприятий являются потенциально опасными в эпидемиологическом отношении, они могут сбрасываться в водные объекты только после соответствующей очистки и обеззараживания до Коли-индекса не более 1000 и индекса-фага не более 1000 БОЕ дм 3 - в соответствии с «Санитарными правилами и нормами охраны поверхностных вод от загрязнений». Выбор методов обеззараживания должен быть согласован с органами и учреждениями Госсанэпиднадзора.

При необходимости следует предусматривать локальную очистку загрязненных сточных вод.

Сточные воды предприятий перед выпуском в водоемы должны подвергаться механической, химической (при необходимости) и полной биологической очистке на очистных сооружениях населенного пункта или на собственных очистных сооружениях.

Категорически запрещается сброс в открытые водоемы производственных и бытовых сточных вод без соответствующей очистки, а также устройство поглощающих колодцев.

Сточные воды при производстве творога образуются в результате мойки оборудования и полов и содержат главным образом жировые вещества.

На многих предприятиях масложировой промышленности очистка сточных вод включает 2 этапа:

1.   Очистка с помощью жироловушки;

2.   Очистка ультрафильтрацией.

Жироловушка предназначена для удаления крупных загрязнений и грубодисперсных примесей. Эффективность очистки составляет 30 %.

После очистки в жироловушке сточные воды поступают на ультрафильтрацию - процесс молекулярного разделения раствора и коллоидных систем на составные части при прохождении их под давлением через полупроницаемые мембраны. Эффективность очистки ультрафильтрацией - 99 %.

Отходы производства, представляющие опасность для человека и окружающей среды, должны удаляться с рабочих мест по мере их накопления и обезвреживаться способами, предусмотренными проектной документацией, утвержденной в установленном порядке.

Сбор твердых отходов следует проводить в металлические бачки или контейнеры с крышками и вывозить в отведенные места на организованную свалку.

Предприятия, эксплуатирующие тот или иной природный объект, должны осуществлять систематический ведомственный контроль за состоянием окружающей среды и технический контроль за эффективностью работы сооружений по очистке сточных вод и фильтров вентиляционных установок.

Мероприятия по охране окружающей среды должны разрабатываться администрацией предприятий совместно с территориальными центрами Госсанэпиднадзора на основе инвентаризации производственных процессов и оборудования, являющихся источниками выделения вредных веществ.

Ответственность за выполнение разработанных на предприятии мероприятий по охране окружающей среды возлагается на администрацию предприятия.

Государственный контроль за выполнением гигиенических и противоэпидемических мероприятий и планов предприятий осуществляют органы Госсанэпиднадзора, государственного контроля за выполнением природоохранных мероприятий и планов - учреждения Минприроды - в соответствии с «Положением о взаимодействии и разграничении функций Госкомсанэпиднадзора и Минприроды, их органов и учреждений на местах».

Оборудование, аппаратура, инвентарь должны подвергаться тщательной мойке и дезинфекции в соответствии с «Инструкцией по санитарной обработке оборудования». Допускается использование сертифицированных импортных моющих и дезинфицирующих средств.

Для строгого выполнения установленной периодичности санитарной обработки оборудования и аппаратуры в каждом цехе должен быть ежемесячный график мойки и дезинфекции.

Оборудование, не используемое после мойки и дезинфекции более 6 ч, вторично дезинфицируется перед началом работы. Микробиологический контроль качества мойки и дезинфекции осуществляется лабораториями предприятия и территориальных центров Госсанэпиднадзора непосредственно перед началом работы.

Для мойки оборудования должно быть предусмотрено централизованное приготовление моющих и дезинфицирующих растворов.

Приготовление рабочих растворов хлорной извести для дезинфекции рук, уборочного инвентаря, оборудования, санузлов и т.д. должно производиться из централизованно приготовленного 10 % - ного раствора хлорной извести и ежедневно контролироваться на содержание активного хлора специально выделенным работником.

Снижение концентрации, температуры и времени циркуляции, моющих и дезинфицирующих растворов, а также нарушение периодичности мойки, предусмотренных действующей инструкцией не допускается.

При отсутствии устройства для автоматического контроля и концентрации моющих растворов, она должна контролироваться лабораторией не менее 2-3 раз в смену и, по мере необходимости, доводится до установленной нормы.

Для мойки и дезинфекции инвентаря, тары, транспортных средств и т.п. оборудуют помещения с водонепроницаемым полом, подводкой острого пара, горячей и холодной воды, сливом для отвода сточных вод, вентиляцией.

Для ручной мойки разборных деталей оборудования (трубопроводов, кранов, дозирующих устройств и т.д.) должны быть предусмотрены специальные трехсекционные передвижные ванны со штуцерами для слива растворов. Расположение штуцеров должно обеспечивать полный слив растворов. Ванны должны быть оборудованы полками для сушки деталей.

Результаты бактериологических исследований смывов, свидетельствующие о неудовлетворительной мойке и дезинфекции оборудования, должны вывешиваться работниками лаборатории на доске показателей с указанием лица, ответственного за санитарное состояние данного участка.

Предприятия должны быть обеспечены достаточным количеством воды питьевого качества; расчет потребности в воде следует производить в соответствии с СНиП «Внутренний водопровод и канализация зданий».

Вода, используемая для бытовых и технологических нужд, связанных с производством продукции должна соответствовать требованиям действующего ГОСТа «Вода питьевая. Гигиенические требования и контроль за качеством».

.1 Анализ степени опасности технологического процесса

В данном разделе дипломной работы будет дан анализ степени опасности технологического процесса производства творога классического 5 %-ной жирности из обезжиренного творога и жировой системы «СОЮЗ 71» раздельным методом кислотно-сычужным способом. Наиболее опасные и вредные факторы, опасные операции, участки производства, оборудование процесса производства представлены в таблице 23.

Таблица 23 Оценка степени опасности технологического процесса

Наименование цеха, участка

Наименование оборудования, тип, марка

Кол-во оборудования, шт

Производительность, ед.пр./ ед.врем.

Технологические параметры (t,Р и др.)

Перечень токсичных, взрывопожароопасных веществ

Количество людей, обслуживающих оборудование

Вредные и опасные факторы

Цех производства творога

Емкость для сбора и хранения молока горизонтальная

4

Емкость 6,0 м3.

Т = 4÷6 ºС, напряжение 380 В, ρ = 400 кг/м2

Токсичных веществ нет. Закваска - БАВ, токсичные свойства не выявлены. CaCL2 - 3 класс опасности. Сычужный фермент - БАВ, токсические свойства не выявлены

1

Шум, вибрации, электричество, горячая и холодная вода, вращающиеся части оборудования, повышенная влажность воздуха.


Пастеризационно-охладительная установка

2

5000 л/ч.

Тмолока= 5÷10 ºС, Тпастер= 78÷80 ºС,  Рп= 0,3 МПа.


1



Сепаратор- сливкоотделитель

2

10000 л/ч.

Р= 0,25 МПа,  ν = 500 с-1.


1



Емкость для сквашивания

2

Объем 6,3 м3.



1

2

5000 ÷ 6000 л/ч.

Р= 0,3 МПа,  ν = 102 с-1


1



Смеситель

4

Емкость 500 л.

Рп.к.= 0,3 МПа,  Ркор= 0,07


1






МПа, Ризб= 0,1 МПа.


1


 


Жирорастопитель

2

100 кг.

Т= 40 ºС.


1


 


Охладитель

2

780 кг/ч.

Ттв.вх= 30 ºС,  Ттв.вых. = 8 ºС,  Тхл.аг = 1 ºС ν = 500 с-1.


1


 


Фасовочная машина

2

72 упак./мин.

N = 8,5 кВт.


1


 


Вспомогательное оборудование:







 


1. насос центробежный

12

Подача 10 м3/ч.

КПД = 55 %, напор 20 м. вод. ст.


1


 


2. насос для творога

10

Подача 6,0 м3/ч.

Р= 55 МПа, КПД = 55 %.


-


 



.2 Обеспечение санитарно-гигиенических и экологических требований к качеству окружающей среды

Качество воздушной среды - это совокупность и диапазон физических (температура, влажность, давление, подвижность воздуха) и химических (состав воздуха и примеси загрязняющих веществ) параметров, обеспечивающих необходимые условия для нормальной жизнедеятельности живой материи, включая человека. Качество воздуха может нарушаться за счет изменения как физических, так и химических параметров, как в рабочей зоне, так и в населенных пунктах, местах отдыха и тд.

В данном разделе представлена оценка степени воздействия технологического процесса производства творога классического 5 %-ной жирности на качество воздушной среды и мероприятия по снижению степени этого воздействия.

Микроклиматические условия

Метеорологические условия - это совокупность это совокупность физических параметров воздуха, таких как температура, влажность, скорость движения и давление.

Разрабатываемый технологический процесс при его реализации может оказывать негативное действие на качество воздуха за счет поступления водяных паров и теплоизбытков. Характеристику процессов и оборудования - источников избыточного тепла и влаги - можно представить в виде таблицы 24.

Qп = α * F *(tстен - tокр.ср), (19)

Где Qп - потери теплоты, кДЖ/ч;

Таблица 24 Характеристика процессов и оборудования, влияющих на микроклиматические параметры

Наименование цеха, участка

Наименование оборудования

Кол-во оборудования, шт.

Теплоизбытки, кДЖ/ч

Характеристика помещения по теплоизбыткам, кДж/м3*ч

Избытки влаги, кг/ч

Цех производства творога

Пастеризационно-охладительная установка

1

Qп = 23807,07

5,7

 -


α - коэффициент теплоотдачи.

α = 9,74 + 0,07*Δt, (20)

где: Δt - средняя разность температур, ºС, Δt = 35 ºС;

α = 9,74 + 0,07*35 = 12,19,

F - поверхность теплообмена, м2, F = 15,5;

tстен - температура стенки аппарата, ºС, tстен = 60;

tокр.ср - температура окружающей среды, ºС, tокр.ср.= 25.

Qп = 12,19*15,5*(60 - 25)= 6,6131 (кДж/с) или 23807,07 кДж/ч.

Vcв = 0,8* (L*T*H), (21)

Где Vcв - свободный объем цеха, м3;

L, Т, Н - соответственно длина, ширина и высота цеха, м;

Vcв = 0,8*48*18*6 = 4147 (м2).

Qп/ Vcв = 230807,07/4147= 5,7 (кДж/м3ч) ‹ 84 - цех является помещением с незначительными теплоизбытками.

Твороженный цех является помещением с незначительными теплоизбытками, следовательно необходимо предусмотреть отопление в холодный период года, вентиляцию, тамбуры у входных дверей и т.п.

В соответствии с ГОСТ 12.1.005-88 и СаНПиН 2.2.4.5.4.8-96 для создания здоровых и безопасных условий труда необходимо, чтобы в проекте были предусмотрены мероприятия, обеспечивающие санитарно - гигиенические требования, предъявляемые к микроклиматическим условиям. Эти условия зависят от категории тяжести выполняемых работ и времени года, выбираем по литературе [29] Требования представлены в таблице 25.

Таблица 25 Санитарно-гигиенические нормативы параметров микроклимата

Наименов. уч-ка, помещения

Категория тяжести работ

Период года



Холодный

Теплый



Микроклиматические параметры



оптимальные

допустимые

оптимальные

допустимые



t, ºC

φ, %

ω, м/с

t, ºC

φ, %

ω, м/с

t, ºC

φ, %

ω, м/с

t, ºC

φ, %

ω, м/с

Цех производства творога

II а

19 ÷ 21

40 ÷ 60

0,2

17 ÷ 23

40 ÷ 60

0,1 ÷ 0,3

20 ÷ 22

40 ÷60

0,2

18 ÷ 27

15 ÷ 75

0,2 ÷ 0,4


Цех производства творога относиться к категории работ средней тяжести II а - работы, связанные с ходьбой, перемещением тяжести до одного килограмма и требующие определенного физического воздействия.

Оценка уровня загрязнения воздушной среды вредными веществами

Технологический процесс получения творога связан с использованием хлористого кальция (пыль), который может поступать в воздух рабочей зоны. Степень опасности воздействия вредных веществ на организм человека зависит от природы вещества, его агрегатного состояния, полученной дозы, внешних факторов окружающей среды и индивидуальных особенностей организма. Для снижения нежелательных последствий необходимо провести оценку степени опасности веществ, используемых в технологическом процессе. Данные по ГОСТ 12.1.005. - 88 ССБТ. Санитарно - гигиенические требования к воздуху рабочей зоны.

Таблица 26 Показатели, характеризующие степень опасности веществ и материалов

Наименование участка, оборудования

Выделяемые вещества, причины их выделения

Агрегатное состояние

Характеристика токсического действия на организм человека

Класс опасности

Предельно допустимые концентрации, мг/м3






ПДКрз

ПДКмр

ПДКсс

1. Емкость для сквашивания

закваска

Жидкое

Токсичные свойства не выявлены.

-

-

-

-

1. Емкость для сквашивания

Хлористый кальций

Твердое

Сильные ожоги кожи, дыхательных путей

III

2

-

-

1. Емкость для сквашивания

пепсин

Твердое

Токсичные свойства не выявлены.

-

-

-

-

2.Жирорасто-питель

Жировая система

Жидкое

Токсического действия не оказывает

III

5

-

-


Так как в проекте должна быть обеспечена максимальная безопасность при работе с вредными веществами, то необходимо предусмотреть комплекс мероприятий по снижению степени воздействия этих веществ на человека. К наиболее эффективным относятся: механизация и автоматизация технологического процесса, герметизация и укрытие оборудования, использование эффективной системы вентиляции, применение средств индивидуальной защиты. Предусмотренные мероприятия приведены в таблице 27.

Таблица 27 Мероприятия по обеспечению безопасности при работе с вредными веществами

Наименование участка, оборудования

Выделяемые вещества

Средства коллективной защиты

Методы контроля

Периодичность контроля

СИЗ

Емкость для сквашивания

Хлористый кальций

Вентиляция, автоматизация, герметизация.

Эммисионный спектральный анализ, озоление пробы серной и азотной кислотами, прибор ИСП - 3а, λ = 300,6 нм.

Один раз в квартал

Халат, шапочка, марлевая повязка


Выбор и расчёт системы вентиляции

Одним из приоритетных мероприятий по обеспечению санитарных требований, предъявляемых к качеству воздуха в рабочей зоне, является правильно спроектированная система вентиляции. Сведения о выбранной системе вентиляции и оборудования в результате расчётов воздухообменов представлены в виде таблицы 28.

Таблица 28 Характеристика вытяжной вентиляционной системы

Наименование участка, помещения

Предлагаемая система вентиляции

Требуемый объем воздуха, тыс. м3/ч

Характеристика вентилятора

Дополнительное оборудование

Место размещения

Площадь, м2

 




марка

Тип исполнения

Производительность, тыс.м3/ч

Кол-во




 

Цех производства творога

Обще обменная

20736

ВЦ 14 - 46, габариты 1143×1250×1140

Обычного исполнения

21 - 25 25 - 28,5

1 (1)

Осушка, электродвигатель 4А180 Мб

Вентиляционная камера

36


Таблица 29 Характеристика приточной вентиляционной системы

Наименование участка, помещения

Предлагаемая система вентиляции

Баланс воздуха

Характеристика вентилятора

Дополнительное оборудование

Место размещения

Площадь, м2

 




марка

Производительность, тыс. м3/ч

Кол-во




 

Цех производства творога

Обще обменная

Уравновешенный

ВЦ 14 - 46, Габариты 1143 ×1250 ×1140

21 - 25 25 - 28,5

1 (1)

Фильтр, электродвигатель 4А180 Мб

Вентиляционная камера

36


Для того чтобы установить вентилятор, необходимый для цеха творога производительностью 40 т/сут, нужно узнать объём воздуха, который следует удалить из помещения. Для этого делаем расчёт:

Lудал = Lприт , (22)

где: L - требуемый объем воздуха;

Lприт = К*Vсв , (23)

К - кратность воздухообмена, ч-1, К = 5;

V - объем помещения;

Vсв = 0,8*Vгеом , (24)

Vгеом = 48 * 18 * 6 = 5184 (м3);

Vсв = 0,8* 5184 = 4147,2 (м3);

Lприт =Lудал = 5 * 4147,2 = 20736 (м3/ч).

Оценка степени воздействия выбросов вредных веществ на окружающую среду

Так как производство творога классического 5 %-ной жирности не сопровождается выделением в окружающую среду вредных веществ, то оценка степени воздействия выбросов вредных веществ на окружающую среду не требуется.

Оценка степени воздействия проектных решений на водные объекты

В любом технологическом процессе в качестве сырья используется вода.

В данном технологическом процессе она идёт на:

промывку оборудования;

охлаждение и нагрев оборудования;

хозяйственно - бытовые нужды.

В результате использования воды на предприятии образуются сточные воды, содержащие загрязняющие вещества, которые требуют обезвреживания. Стоки молокозавода богатая среда для развития микроорганизмов. Промывные сточные воды от основного производства проходят очистку на жироловушке и сбрасываются в городской коллектор. Сыворотка собирается в емкости для промежуточного хранения и затем вывозится на перерабатывающее предприятие. Информация по этому разделу представлена в виде таблицы 30.

Таблица 30 Водопотребление и водоотведение в проектных решениях

Наименование операции, оборудования

Назначение используемой воды

Расход воды (Q)

Характеристика сточной воды

Нормативы качества (ПДК, ПДС)

Метод очистки



м3/ч

м3/год

Состав

Объем (q)








м3/ч

м3/год



Цех производства творога

Промывка оборудования. Охлаждение и нагрев. Хоз. бытовые нужды

115

42000

1. Жир. 2. остатки моющих средств: а) кальцинированная сода, б) каустическая сода, дезинфектанты

110,4

40320

рН 6,5 ÷9

Сита, жироловушки.


Отходы производства

В проекте необходимо предусмотреть утилизацию образующихся отходов. В данном производстве образуются вспомогательные отходы:

брак упаковки - отходы тары и упаковки из алюминия, незагрязненные потерявшие потребительские свойства, собирается в контейнер, и хранятся, К.О. - 5;

отходы бумаги и картона, незагрязненные, хранятся навалом на площадке в помещении цеха и вывозятся по договору транспортом предприятия.

В результате возврата некачественной продукции также образуются:

отходы бумаги и картона (отходы пищевой упаковочной бумаги и картона загрязненные молочными продуктами) - хранятся и вывозятся, К.О. - 4;

отходы затвердевшего полиэтилена (отходы пищевой упаковочной пластиковой тары загрязненной молочными продуктами) - хранятся на бетонированной площадке, на улице на поддонах и транспортом предприятия вывозятся по договору приемщикам отходов, К.О. - 4;

полиэтиленовая тара поврежденная - собирается в помещении в контейнеры и вывозится по договору транспортом предприятия, К.О. - 5.

Кроме этих отходов образуются отходы на вспомогательных участках:

·        масла индустриальные отработанные - сливаются в металлические бочки, установленные на улице на металлическом поддоне под навесом и вывозятся по договору спецтранспортом приемщика отхода, К.О. - 3;

·        обтирочный материал, загрязненный маслами (содержание масел менее 15%) хранится в закрытом металлическом контейнере на улице на твердом покрытии под навесом, и вывозятся по договору, К.О. - 5;

·        лом черных металлов несортированный - хранится на асфальтированной площадке для металлолома на улице и вывозится транспортом предприятия по приемо-сдаточным актам, К.О. - 5.;

В результате жизнедеятельности работников предприятия образуется мусор от бытовых помещений организаций несортированный (исключая крупногабаритный)- который хранится в металлических контейнерах на улице на бетонированной площадке и вывозится в соответствии с санитарными нормами по договору транспортом предприятия.

Для освещения административно- бытового и производственных корпусов, а также территории предприятия используются люминесцентные и ртутные лампы. После выхода их из строя ртутные лампы, люминесцентные ртутьсодержащие трубки отработанные собираются в заводские коробки и хранятся на стеллаже в специально отведенном закрытом помещении и по мере накопления сдаются приемщикам отхода по разовым приемо-сдаточным актам, К.О. - 1.

Все вышеперечисленные отходы собираются в специально отведенные для них емкости и увозятся транспортом предприятия, по договору, в соответствующие приемные организации.

.3 Оценка взрывопожарной и пожарной опасности

Использование в технологическом процессе горючих веществ создаёт опасность взрывов и пожаров. Степень опасности зависит от природы горючих веществ, их количества, агрегатного состояния, особенностей проведения технологического процесса и т.д. Показатели, характеризующие взрывопожароопасные свойства веществ и материалов приведены в табл. 31.

Таблица 31 Показатели взрывопожароопасности веществ и материалов

Наименование участка, установки, операции

Название горючего вещества и его формула

Агрегатное состояние, степень горючести

Технологические параметры переработки ГВ (t,Р и т.п.)

Температура самовоспламенения, ºC

Цех производства творога

Жировая система «СОЮЗ 71»

Твердое. Горючая жидкость.

tпл = 33 - 35 ºС, tзастыв = 24 - 26 ºС

≈ 420


Картон

Твердый. Горючий материал.

tтлен = 360 ºС, tсамонагр = 100 ºС

230


Бумага

Твердый. Горючий, легковоспламеняющийся материал

tтлен = 360 ºС, tсамонагр = 100 ºС

230


Полиэтиленовая тара

Твердый.

 -

380


Для выбора эффективных методов по предупреждению пожара, а в случае его возникновения - на локализацию и быстрое его тушение, необходима информация о специфике проведения технологического процесса, показателях взрывопожароопасности установок, зон, зданий и помещений. Категорию помещения по взрывопожарной и пожарной опасности выбираем по НПБ 105 - 95. эти данные представлены в таблице 32

Таблица 32 Оценка степени взрывопожарной опасности проектных решений

Наименование участка, установки, аппарата

ГВ и причины их поступления в помещение

Зоны взрыво- и пожароопасности по ПУЭ

Маркировка электрооборудования

Избыточное давление взрыва, ∆Р, кПа

Категория участков по взрывопожароопасности по СниП

Категория здания в целом по взрывопо-жароопасности

Категория здания по молниезащите

Степень огнестойкости здания

Средства пожаротушения

Цех производства творога

Жировая система «СО-ЮЗ 71»

П - IIа

УР54

-

В4

В4

111

III Несущие элементы здания R 15, несущие стены RЕ 15, перекрытия междужтажные чердачные и над подвалом REJ 15, перекрытия бесчердачные RE 15, внутренние площадки и стены REJ 45, марши лестниц R 30

Вода, огнетушитель ОХП - 10


Расчёт пожарной нагрузки для творожного цеха:

Q = Y* Qнр , (25)

где: Qнр - низшая теплота сгорания горючего материала, МДж/кг;

Y - количество горючего материала, кг;

Qнр = 240*13.4 = 3216 (МДж/кг).

Удельная пожарная нагрузка q (МДж/м2) определяется соотношением:

q = Q/ S,    (26)

где: S - площадь размещения пожарной нагрузки, м2;

q = 3216/ 864 = 3,72 (МДж/м2).

Для определения пожарной категории В1 - В4 сравним максимальное значение удельной пожарной нагрузки в творожном цехе и максимальное значение удельной пожарной нагрузки на любом из участков. Данное значение входит в предел менее 181. Это говорит о том, что цех относится к категории В4.

К категории В4 относятся горючие и трудногорючие жидкости, твердые горючие и трудногорючие вещества и материалы (в том числе пыли и волокна), вещества и материалы способные при взаимодействии с водой, кислородом воздуха и друг с другом только гореть, при условии, что помещения, в которых они имеются в наличии или обращаются, не относятся к категориям А или Б.

.4 Санитарно гигиенические требования к выбору систем освещения

В соответствии с санитарно - гигиеническими требованиями все постоянные рабочие места должны иметь искусственное и естественное освещение.

Нормируемое значение коэффициента естественной освещенности (КЕО, %) определяется разрядом зрительной работы, который определяем по СНиП 20 - 05 - 95. Для искусственного освещения уровень освещенности (Е, лк) выбираем по СНиП 23 - 05 - 95.

Выбор типа источника освещения (лампы) зависит от особенностей зрительной работы. Для зрительной работы VIII разряда берем люминесцентные лампы типа ЛД.

Выбор типа светильника определяется требованиями, предъявляемыми к распределению светового потока, равномерности освещения, зависит от условий воздушной среды и т.д. Выбираем 5 группу - светильники для люминесцентных ламп общего назначения.

Показатели проектируемой системы естественного и искусственного освещения могут быть представлены в виде таблицы 33.

Таблица 33 Характеристика системы освещения производственных помещений

Наименование участка, рабочего места

Характеристика зрительной работы

Естественное и совмещенное освещение

Искусственное освещение


Описание зрительной работы

Положение условной рабочей поверхности

Разряд и подразряд зрительной работы

Нормируемый КЕО, %

Площадь световых проемов, м2

Система освещения

Нормируемая освещенность, Е, лк

Тип источника света

Тип светильника

Количество светильников

 





Естественное

Совмещенное

Общее наблюдение за ходом процесса

Горизонтальное и вертикальное

8 б

0,3

1

Проектируемая 38, расчетная 34

Совмещенное

75

ЛД

ЛД, 65 Вт

28

 


Для совмещённого освещения проводим следующие расчёты:

Рассчитаем площадь оконных проёмов(S0, м2):

S0 = Sn* en* Kз * η0 * Kзд / 100*r1* τ0 , (27)

где: S0, Sn - площадь окон и пола соответственно, м2;

en - нормированное значение коэффициента естественной освещённости, %, выбираем по СНиП 23 - 05 - 95 «Естественное и искусственное освещение», en = 0,3 %;

η0 - световая характеристика окон, выбирается по СНиП 23 - 05 - 95, η0 = 10;

Кз - коэффициент запаса, зависит от уровня запыленности воздуха в помещении, изменяется в пределах от 1,4 - для чистых помещений, до 2 - для запыленных, принимаем Кз = 1,4;

τ0 - общий коэффициент светопропускания окон, зависит от вида светопропускающего материала, вида переплета и вида несущих конструкций и покрытий, лежит в интервале от 0,24 до 0,73, принимаем τ0 = 0,6;

r1 - коэффициент, учитывающий повышение естественного освещения, за счёт света внутренних поверхностей помещения, изменяется в диапазоне от 1,1 до 2, принимаем r1 = 1,8;

Kзд - коэффициент, учитывающий затенение окон, противостоящими зданиями, зависит от отношения расстояния между противостоящими зданиями - Р к высоте противостоящего здания - Нзд, Kзд = 1.

S0 = 864* 0,3* 1,4* 10* 1 / 100* 0,6* 1,8 = 33,6 ≈ 34 (м2) .

Проектируемая площадь оконных проемов, которая составляет 38 м2, близка к расчетной.

Рассчитаем общее количество светильников для системы общего освещения:

N = E* Sn* Z* Кз/ F* η* n,    (28)

где: Sn - площадь пола, м2, Sn = 864 м2;

E - нормированное значение освещенности, лк, выбираем по СНиП 23 - 05 - 95 «Естественное и искусственное освещение» в зависимости от разряда зрительной работы, фона и контраста объекта с фоном, Е = 75 лк;

Z - коэффициент, учитывающий равномерность освещения, изменяется от 1,1 до 1,5, принимаем Z = 1,3;

Кз - коэффициент запаса, Кз = 1,4;

F - световой поток источника света, лм, зависит от мощности лампы, для лампы ЛД 65 Вт составляет 3570 лм;

n - количество ламп в светильнике, принимаем n = 2шт;

η - коэффициент использования светового потока. Зависит от типа светильников, индекса помещения- i, окраски потолка пола и стен.

Индекс помещения находим по формуле:

i = (Lп * B)/ h1* (Lп + B), (29)

где Lп - длина помещения, м, Lп = 48 м;

В - ширина помещения, м, В = 18 м;

h1 - высота от уровня рабочей поверхности до верха окон: h1 = Н - 1,

где Н - высота помещения, h1 = 6-1=5 м;

i = (48* 18)/ 5* (48+18) = 2,6 .

Значение η выбираем по таблице [25] в зависимости от средних условий отражения света от потолка и стен, берем 5 - группу светильников для люминесцентных ламп общего назначения, η = 0,62.

N = 75* 864* 1,3* 1,4 / 3570* 0,62* 2= 27,6 ≈ 28 (шт).

.5 Санитарно-гигиенические требования к проектированию производственных зданий, сооружений и административно - бытовых помещений

Санитарно - гигиенические требования направлены на то, чтобы проектируемое здание было просторно, удобно, хорошо проветривалось, а постоянные рабочие места имели естественное освещение. В соответствии с этими требованиями производственное здание проектируем одноэтажным, однопролетным, с наличием общеобменной приточно- вытяжной вентиляции. Данные по бытовым помещениям представлены в виде таблицы 34./30/

Таблица 34 Состав и оборудование бытовых помещений

Группа производственных процессов

Санитарная характеристика производственных процессов

Расчетное кол-во человек

Тип гардеробных, число отделений шкафа на 1 чел/



На 1 душевую сетку

На один кран


1

Процессы, вызывающие загрязнение веществами 3 и 4 -го классов опасности

15

10

Общие два отделения

1 а

Тела и спецодежды





.6 Условия и охрана труда ПОТ РО 016-2003

ОБЩИЕ ТРЕБОВАНИЯ

Настоящие Правила устанавливают основные государственные нормативные требования в области охраны труда, направленные на предупреждение производственного травматизма, профессиональных и производственно обусловленных заболеваний работников молочной промышленности.

Требования охраны труда, содержащиеся в настоящих Правилах, распространяются на организации, занимающиеся переработкой молока, независимо от их организационно-правовых форм и форм собственности и обязательны для исполнения при осуществлении любых видов деятельности в молочной промышленности на территории Российской Федерации.

При применении труда женщин работодатель должен руководствоваться Перечнем тяжелых работ и работ с вредными или опасными условиями труда, при выполнении которых запрещается применение труда женщин, утвержденным Постановлением Правительства Российской Федерации от 25 февраля 2000 г. № 162.

При применении труда несовершеннолетних работодатель должен руководствоваться Перечнем тяжелых работ и работ с вредными или опасными условиями труда, при выполнении которых запрещается применение труда лиц моложе восемнадцати лет, утвержденным Постановлением Правительства Российской Федерации от 25 февраля 2000 г. № 163.

Условия труда на рабочих местах должны соответствовать требованиям действующих нормативных актов, утвержденных в установленном порядке.

Работодатель обязан выполнять государственные нормативные требования охраны труда.

Работники должны проходить обязательные предварительные (при поступлении на работу) и периодические (в течение трудовой деятельности) медицинские осмотры в соответствии с Приказом Министерства здравоохранения Российской Федерации от 10 декабря 1996 г. № 405 "О проведении предварительных и периодических медицинских осмотров работников" (зарегистрирован Министерством юстиции Российской Федерации 31 декабря 1996 г., № 1224).

При осуществлении технологических процессов и эксплуатации машин и оборудования должны быть предусмотрены меры, исключающие воздействие на работников, следующих опасных и вредных производственных факторов:

а) машин и механизмов, находящихся в движении;

б) не огражденных подвижных элементов производственного оборудования;

г) повышенной запыленности и загазованности воздуха рабочей зоны;

д) повышенной или пониженной температуры, влажности, скорости движения воздуха рабочей зоны;

е) повышенной температуры молока, пара и воды;

ж) повышенного уровня шума;

з) повышенного уровня вибрации;

и) недостаточного естественного и искусственного освещения рабочих мест и рабочих зон;

к) повышенного значения напряжения в электрической цепи, замыкание которой может произойти через тело человека;

л) повышенного уровня статического электричества;

м) повышенного уровня ультрафиолетовой радиации;

н) повышенного уровня инфракрасной радиации;

о) расположения рабочего места на значительной высоте относительно поверхности земли (пола);

п) токсических и раздражающих химических веществ, патогенных микроорганизмов и продуктов их жизнедеятельности, а также паразитов-возбудителей инфекционных и инвазионных болезней, общих для животных и человека;

р) физических, нервно-психических перегрузок;

с) биологической опасности.

При технико-экономическом обосновании проекта, проектировании, размещении, строительстве, реконструкции, вводе в эксплуатацию молокоперерабатывающих предприятий, деятельность которых может оказывать прямое либо косвенное влияние на состояние окружающей среды, должны выполняться требования экологической безопасности и охраны здоровья населения в соответствии с Федеральным законом "Об охране окружающей среды" № 7-ФЗ от 10 января 2002 г.

Организации по переработке молока должны иметь необходимые санитарно-защитные зоны и очистные сооружения, исключающие загрязнение почв, поверхностных и подземных вод, поверхности водосборов водоемов и атмосферного воздуха.

При выполнении работ, не предусмотренных настоящими Правилами, следует руководствоваться межотраслевыми правилами по охране труда, правилами по охране труда других федеральных органов исполнительной власти, правилами безопасности, санитарными правилами и нормами, стандартами и другими нормативными актами, утвержденными в установленном порядке.

Все работники, занятые при производстве молочной продукции, включая руководителей и специалистов производств, обязаны проходить обучение, инструктажи, проверку знаний по охране труда в соответствии с порядком обучения по охране труда и проверки знаний требований охраны труда работников организаций, утвержденным Постановлением Министерства труда и социального развития Российской Федерации и Министерства образования Российской Федерации от 13 января 2003 г. № 1/29 (зарегистрировано Министерством юстиции Российской Федерации, регистрационный № 4209 от 12 февраля 2003 г.).

.7 Требования к производственному помещению

Производственные помещения должны удовлетворять обычным нормам и требованиям, предъявляемым к пищевым производствам, и должны быть обеспечены:

• электроэнергией - 220/380 В;

• водой - горячей и холодной.

Производственные цехи следует размещать преимущественно в отдельных от бытовых помещений зданиях. Проектно-конструктивные решения могут предусматривать много- или одноэтажные производственные здания. Расположение производственных цехов должно обеспечивать поточность технологических процессов; технологические коммуникации - наиболее короткие и прямые потоки сырья и готовой продукции.

Стены основных производственных цехов и лабораторий должны быть облицованы глазурованной плиткой (или другими материалами, разрешенными органами госсанэпидслужбы) на полную высоту, но не ниже 2,4 м, а выше, до низа несущих конструкций, - покрашены водоэмульсионными и другими красками, разрешенными для этой цели Госкомсанэпиднадзором; стены в камерах хранения готовой продукции, а также в кабинетах начальников цехов, мастеров и др. допускается окрашивать эмульсионными и другими красками; в складах хранения сырья и материалов следует предусматривать известковую побелку стен.

Потолки основных и вспомогательных цехов должны быть покрашены водоэмульсионными красками или побелены.

Полы должны быть оборудованы сливными трапами, стены облицованы керамической плиткой или другим моющимся материалом.

Высота потолков должна обеспечивать нормальную работу размещенного оборудования.

Полы в производственных помещениях должны иметь покрытие из нескользких, кислото- и щелочеустойчивых, водонепроницаемых материалов (разрешенных к применению органами и учреждениями Госсанэпиднадзора России), ровную поверхность без выбоин с уклоном в сторону крытых лотков и трапов.

Освещение производственных помещений должно соответствовать требованиям СНиП «Естественное и искусственное освещение».

В производственных помещениях наиболее приемлемо естественное освещение: световой коэффициент (СК) должен быть в пределах 1 : 6 - 1 : 8. В бытовых помещениях СК должен быть не меньше быть не менее 1 : 10. Коэффициент естественного освещения (КЕО) должен быть предусмотрен с учетом характера труда и зрительного напряжения.

При недостаточном естественном освещении следует применять искусственное освещение - преимущественно люминесцентные лампы.

Искусственное освещение должно быть представлено общим во всех цехах и помещениях, а в производственных при необходимости - местным или комбинированным.

Предприятия должны быть обеспечены кроме основного освещения аварийным.

На предприятиях в производственных и бытовых помещениях, моечных, лабораториях и некоторых других помещениях следует предусматривать приточно - вытяжную общеобменную механическую вентиляцию (или кондиционирование) в сочетании, при необходимости, с местной вытяжной вентиляцией.

Система отопления должна отвечать требованиями СНиП «Отопление вентиляция и кондиционирование воздуха», «Производственные здания», «Административные и бытовые здания».

Для системы отопления производственных и вспомогательных зданий предпочтительнее использовать в качестве теплоносителя перегретую воду; допускается также использование водяного насыщенного пара.

В не отапливаемых складах отопление следует устраивать лишь в подсобных помещениях для длительного пребывания обслуживающего персонала (в течение рабочего дня). Отопление складов следует предусматривать при необходимости поддержания в них определенной температуры (около 4 ºС), необходимой для режима хранения продуктов или материалов. /31/

творог сычужный пищевой биохимический

5. Строительная часть

Цех по производству творога «классический 5 %-ной жирности» размещён в одноэтажном здании каркасного типа. Длина цеха 72 м, ширина 18 м, высота 6 м. принимаем сетку несущих колонн 6 × 6 м на одном уровне, размер колонн 400 × 400 мм. Покрытие здания бесчердачное. В качестве несущих конструкций покрытий используются сборные железобетонные фермы размером 17960 × 240 × 2700 мм. Наружные стены здания - кирпичные, толщина стен 400 мм, внутренние из шлакобетона, толщиной 200 мм. Оборудование размещаем по ходу технологического процесса, избегая перекрещивания технологических потоков. Между оборудованием предусматриваем санитарно-гигиенические разрывы в 1,5 м, позволяющие подойти к оборудованию со всех сторон при его ремонте. Освещение помещения проектируем через деревянные оконные проёмы, общая площадь которых 56 м2, пол предусматриваем из керамической плитки различной конфигурации./32/

В здании цеха предусмотрены также вспомогательные помещения:

·        вентиляционные камеры;

·        комнату мастера;

·        склад;

·        комната гигиены;

·        лаборатория;

·        душевая;

·        комната приема пищи.

6. Экономическая оценка проектных решений

В данном разделе дипломного проекта основной целью является усовершенствование производства творога 5 %-ной жирности за счет введения в рецептуру заменителя молочного жира «СОЮЗ 71», который позволяет снизить себестоимость единицы продукции и увеличить прибыль предприятия. За счет введения заменителя из технологии исключаются сливки, а следовательно затраты на них и упрощается технологический процесс. Так же будет проведена модернизация производства, а именно введение жирорастопителя для осуществления процесса и произведена замена двух старых охладителей на новые, что приведет к снижению энергозатрат, так как новые аппараты потребляют меньше энергии, чем старые.

.1 Технико-экономические показатели оценки проектных решений

Амортизационные отчисления на полное восстановление оборудования определяются по формуле:

Аоб= Ноб* Фоб/ 100 , (30)

где: Аоб- годовые амортизационные отчисления на восстановление оборудования, тыс.руб.;

Ноб - норма амортизационных отчислений на восстановление оборудования, %;

Фоб - первоначальная стоимость оборудования, тыс.руб.

Расчетные данные сведены в таблицу 35.

В ходе проведения модернизации производства творога 5%-ной жирности: замены старых охладителей на новые в цехе приемки молока и исключения из процесса оборудования для пастеризации, охлаждения и хранения сливок, возможно решение вопроса о продаже старого оборудования. Таким образом, предприятие за счет разовых издержек получит дополнительный доход для частичного покрытия инвестиционных издержек. Данные сведены в таблицу 36.

Таблица 35 Предлагаемая стоимость вновь устанавливаемого оборудования

Наименование оборудования

Кол-во

Стоимость, тыс. руб.

Амортизационные отчисления



единицы оборудования

общая

норма %

сумма, тыс.руб.

Вновь установленное оборудование:




10


1. Жирорастопитель АРЖ - 0,1;

2

120

240


24

2. Охладитель ООУ - 10

2

78,7

157,4


15,74

  ИТОГО



397,4


39,74

Сохраняемое оборудование:




10


1. Весы

2

75

150


15

2. Насос

22

8

176


17,6

3. Танк

4

301

1204


120,4

4. Пастеризатор молока

2

650

1300


130

5. Резервуар для сквашивания

2

180

360


36

6. Сепаратор - сливкоотделитель

2

195

390


39

7. Сепаратор отделитель сыворотки

2

170

340


34

8. Смеситель

4

130

520


52

9. Охладитель творога

2

61

122


12,2

10. Фасовочная машина

2

400

800


80

  ИТОГО



5362


536,2

Выведенное оборудование:




10


1. Охладитель молока ООУ-М

2

51,35

102,7


10,27

2. Пастеризатор сливок

2

310

620


62

3. Резервуар для сливок

2

130

260


26

4. Охладитель сливок

2

43

86


8,6

  ИТОГО



1068,7


106,87

 Амортизационные отчисления до внедрения

643,07

 после внедрения

575,94


Таблица 36 Инвестиционные издержки

Наименование

Сумма, тыс.руб.

1. Стоимость оборудования

397,4

2. . Затраты на постановку оборудования (20% от п. 1)

79,48

3. Монтаж оборудования (15% от п.1)

59,61

4. Демонтаж оборудования (10-15% от п.1)

39,74

5. Пусконаладочные работы (10% от п.1)

39,74

  ВСЕГО

615,97


Таблица 37 Расчет разовых издержек (вырученные средства предприятия продажи оборудования)

Наименование

Сумма, тыс. руб.

1. Остаточная стоимость оборудования (пастеризаторов, охладителей, резервуаров сливок и охладителей молока)

179,5

2. Налог на оборудование (2%)

3,59

ИТОГО

175,91


Исходя из таблицы 36, инвестиционные издержки после внедрения нового оборудования составят 615,97 тыс. руб., но с учетом того, что предприятие за счет разовых издержек от продажи старого оборудования получит дополнительный доход в размере 175,91 тыс. руб. для частичного покрытия инвестиционных издержек, то их сумма составит 440,06 тыс. руб.

.2 Расчет текущих производственных издержек

Расчет текущих производственных издержек основам на определении стоимости продукции, производство и реализация которой предполагается программой осуществления инвестиционного проекта. Себестоимость продукции представляет собой стоимостную оценку используемых в процессе ее производства и реализации материальных и трудовых ресурсов.

Затраты на материалы и энергоносители рассчитываются по формуле:

Зi = Рi* Цi , (31)

где: Зi - затраты на годовой объем производства i-го вида материала или энергоносителя, ден.ед.;

Рi - годовая потребность (расход) i -го вида материала или энергоносителя, нат.ед.;

Цi - цена (стоимость) единицы i-го вида материала или энергоносителя, ден.ед.

Результаты расчетов сводятся в таблицы 38 и 39.

Таблица 38 Расчет затрат на сырье и материалы до внедрения

Наименование материала

Ед. изм.

Годовая потребность в сырье и материалах

Цена за ед. изм., руб.

Затраты на годовой объем производства, тыс. руб.

1. Творог обезжиренный

кг

13271400

75

995355

2. Сливки

кг

1328600

140

186004

ИТОГО

1181359


Таблица 39 Расчет затрат на сырье и материалы после внедрения

Наименование материала

Ед. изм.

Годовая потребность в сырье и материалах

Цена за ед. изм., руб.

Затраты на годовой объем производства, тыс. руб.

1. Творог обезжиренный

кг

13855400

75

1039155

2. «СОЮЗ 71»

кг

744600

51,5

38346,9

ИТОГО

1077501,9


По итогам таблицы 39 видно, что после замены сливок на жировую систему «СОЮЗ 71» уменьшатся годовые затраты на сырье и материалы на 103857,1 тыс. руб. или на 10 %.

Таблица 40 Расчет затрат на энергию

Наименование энергии

Ед. изм.

Годовой расход энергоносителя

Стоимость ед. изм., руб.

Затраты на годовой объем производства, тыс. руб.



до внедрения

после внедрения


до внедрения

после внедрения

1. Пар

Гкал

10380

8110

211

2190,18

1711,21

 

2. Вода

м3

51800

45700

7,1

367,78

324,47

 

3. Электроэнергия

кВт

958300

873700

1,2

1149,96

1048,44

 

ИТОГО

3707,92

3084,12


По итогам таблицы 40 видно, что после модернизации производства, то есть замены старых охладителей на новые и исключения оборудования для сливок, годовые затраты на энергоносители сократятся на 623,8 тыс. руб., что составляет 17 %.

Итоговые результаты расчетов текущих производственных издержек сводятся в таблицу 41.

Таблица 41 Эксплуатационные затраты

Наименование

Стоимость до внедрения

Стоимость после внедрения

1. Материальные затраты

1185066,92

1080586,02

2. Заработная плата

4114,8036

3. Единый социальный налог (26 %)

1069,85

1069,85

4. Амортизация

643,07

575,94

5. Прочие (10 - 20 %)

119089,4644

108634,66

ИТОГО

1309984,108

1194981,27


Годовой фонд заработной платы работников рассчитывается по формуле:

ФОТгод=∑ЗПсрмесri12 , (32)

где: ФОТгод - годовой фонд оплаты труда, ден. ед.;

ЗПсрмес - среднемесячная заработная плата одного среднесписочного работника, ден.ед.;

ri - списочная численность работников, чел.

ФОТгод= 11061,3*31*12 = 4114,8036 (тыс.руб.).

Единый социальный налог составляет 26 % от фонда оплаты труда:

4114,8036* 0,26 = 1069,85 (тыс.руб.).

По итогам таблицы 41 видно, что эксплуатационные затраты после внедрения сокращаются на 115002,838 тыс.руб.

.3 Формирование финансового плана

Финансирование проекта осуществляется за счет собственных средств. Вывод об эффективности инвестиций в предполагаемый проект завершает финансовый план. Его основная часть - единая таблица доходов и расходов предприятия на весь период освоения инвестиций, вплоть до полного погашения кредита и получения дополнительной чистой прибыли.

Для этого проводится расчет себестоимости единицы продукции (табл. 42).

Таблица 42 Расчет себестоимости единицы продукции

Наименование

Усл. обозн.

До внедрения, тыс. руб.

После внедрения, тыс. руб.

1. Материальные затраты


1185066,92

1080586,02

2.Заработная плата


4114,8036

4114,8036

3. Единый социальный налог (26 %)


1069,85

1069,85

4. Амортизация


643,07

575,94

5. Прочие (10 - 20 %)


119089,4644

108634,66

6. ИТОГО себестоимость единицы продукции


1309984,108

1194981,27

7.Рентабельность производства, 10 %


130998,4108

179247,19

8. Налог на добавленную стоимость, 18 %


259376,8534

247361,12

9. Отпускная цена


1700359,372

1621589,58

10. Торговая наценка, 20 %


340071,8744

324317,92

11. Розничная цена выпускаемой продукции


2040431,246

1945907,5

12. Розничная цена единицы продукции

руб.

139,76

133,28


Основная цель составления таблицы доходов и расходов - добиться синхронности поступления средств при реализация проекта и их расходования. Это является условием поддержания ликвидности проекта, то есть обеспечения возможности предприятию вовремя рассчитаться по своим обязательствам при реализации проекта Таблица доходов и расходов называется также балансом денежных потоков.

Таблица 43 План доходов и расходов

Показатели

Ед. изм.

До внедрения

После внедрения

1. Цена товара

руб.

139,76

133,28

2. Объем реализованной продукции

тонн

14600

14600

3. Выручка от продажи данного товара

тыс.руб.

2040496

1945907,5

4. Издержки, связанные с производством и реализацией товара

тыс.руб.

1309984,108

1194981,27

5. Налоги (НДС)

тыс.руб.

259376,8534

247361,12

6. Прибыль, подлежащая налогообложению

тыс.руб.

471135,04

503465,11

7. Сумма налога на прибыль, 20%

тыс.руб.

94227,008

100713,02

8. Чистая прибыль

тыс.руб.

376908,032

402852,09


.4 Экономическая эффективность технологических новшеств

Экономический эффект - это разность в доходности (прибыли) действующего производства и предлагаемого новшества в расчете на единицу продукции.

Расчет условно-годовой экономии и годового экономического эффекта.

Эг.эк. = (С2 - С1)*Qр , (33)

где: С2 и С1 - себестоимость продукции соответственно до и после проведения мероприятия;

Qр - объем выпускаемой продукции.

Эг.эк. = (89,72 - 81,85)*14600 = 114902 (тыс. руб.)

Ээкон = Эг.эк. - 0,15* Кдоп , (34)

где Эг.эк. - условно-годовая экономия;

Кдоп - дополнительные капитальные вложения в мероприятие (инвестиционные издержки).

Ээкон = 114902 - 0,15*440,06 = 114835,99 (тыс. руб.).

Расчеты сведены в таблицу 44.

Таблица 44 Сравнительная таблица технико-экономических показателей предприятия

Показатели

Усл. обозн.

Ед. изм.

До реконструкции

После реконструкции

1. Годовой выпуск продукции

Q

тонн

14600

14600

2. Себестоимость единицы продукции

C

руб.

89,72

81,85

3. Среднесписочная численность промышленно-производственного персонала

Ч

чел

31

31

4. Дополнительные капиталовложения

Кдоп

тыс. руб.

-

440,06

5. Валовая годовая экономия

Эг.эк.

тыс. руб.

-

114902

6. Ожидаемый годовой экономический эффект

Ээкон

тыс. руб.

-

114835,99


В результате полученного предприятием экономического эффекта за счет проведения мероприятий, направленных на улучшение организации производства, возможно использование его на дальнейшее расширение основных фондов и поддержание кооперативного сотрудничества с межотраслевыми предприятиями.

.5 Оценка коммерческой эффективности инвестиционного проекта

Эффективность проекта характеризуется системой показателей, отражающих соотношение затрат и результатов, применительно к интересам его участников. Показатели коммерческой эффективности учитывают финансовые последствия реализации проекта. Дисконтированный доход показывает выгодность проекта по сравнению с существующей ситуацией на предприятии, с учетом инфляции за весь расчетный период.

Чистый дисконтированный доход (ЧДД) - это сумма показателей текущих эффектов по годам расчетного периода, приведенная к начальному году, то есть это превышение суммарных результатов над суммарными затратами, приведенное к начальному году с помощью коэффициента дисконтирования:

ЧДД = ∑(Рt - Зt)/(1 + Е)t , (35)

где: Рt - результаты, получаемые от реализации проекта в году t;

Зt - затраты, связанные с реализацией проекта в году t;

Т - срок реализации проекта;

t - Зt) - эффект от реализации проекта, достигаемый в году t;

Е - норма дисконтирования.

Расчет дисконтированного дохода приведен в таблице 45.

Таблица 45 Расчет дисконтированного дохода

Наименование показателей

Шаг расчета


0

1

2

Производственная программа, %

0 %

100 %

100 %

А. Доход

-

1945907,5

1945907,5

 ИТОГО А

-

1945907,5

1945907,5

Б. Расход




1. инвестиционные издержки

440,06

-

-

2. дополнительные эксплуатационные издержки

-

1194981,27

1194981,27

ИТОГО Б

440,06

1194981,27

1194981,27

ДОХОД (А-Б)

-440,06

750926,23

750926,23

Дисконтированный доход: при Е = 12 %

-440,06

670469,85

598633,8

при Е = 24 %

-440,06

605585,7

488375,5

Сумма ЧДД: при Е= 12 %

-440,06

670029,8

1268663,6

при Е = 24 %

-440,06

605145,64

1093521,14


ЧДД инвестиционного проекта при шаге расчета больше 1 положителен, т.о. проект эффективен при данной норме дисконта.

Для оценки коммерческой эффективности проекта строим графики зависимости дисконтированного дохода от шага расчета (шаг расчета - два года). Графики приведены на рисунке 18.

Рис. 18. Зависимость дисконтированного дохода от шага расчета: а) при Е= 12 %; б) при Е = 24 %.

.6 Расчет показателей безубыточности производства при оценке экономической эффективности предпринимательского проекта

Для проведения такого расчета в составе затрат на производство выделяют постоянные (условно-постоянные) и переменные затраты. Постоянные (условно-постоянные) затраты это затраты, размер которых практически не зависит от объема выпуска продукции (например, амортизации, затраты на аренду помещения, заработная плата управленческого персонала и др.). Переменные затраты - это затраты, которые изменяются с изменением объема выпускаемой продукции (затраты на сырье и материалы, заработная плата производственных рабочих и др.).

Наиболее важным показателем безубыточности производства является критический объем продукции. Это такой объем производства и реализации продукции, при котором выручка от реализации продукции равна сумме постоянных (условно-постоянных) и переменных затрат на производство продукции, прибыль от реализации продукции равна нулю. Такой объем производства и реализации продукции называется точкой безубыточности. Критический объем производства рассчитаем по формуле:

Qкрп/(Ц-Спер), (36)

где: Сп - условно-постоянные расходы на годовой объем производства;

Ц - цена единицы продукции;

Спер - условно-переменные расходы на единицу продукции.

Условно постоянные расходы составляют:

Сп=575,94+550+3084,12+108634,66+143= 112987,72 (тыс.руб.)

Условно переменные расходы составляют:

Спер.= 1077501,9+3564,8036+926,85= 1081993,554 (тыс.руб.), а в пересчете на единицу продукции:

Спер.=1081993,554 /14600=74,11 (руб.).

Qкр=112987,72/(133,28-74,11)=1909 (тыс.тонн).

График безубыточности показывает, начиная с какого объема продаж предприятие будет получать прибыль.

Рис. 19. Зависимость дохода и издержек от объема выпуска (продаж) продукции

Из графика видно, что критический объем производства найденный по графику (Qкр.=1909) совпадает с расчетным, следовательно расчет произведен верно./33/

Вывод: В данном разделе дипломного проекта был проведен расчет производственных издержек, себестоимости единицы продукции и показателей безубыточности.

Решено, что финансирование инвестиционного проекта будет осуществляться за счет собственных средств. Инвестиционные издержки на модернизацию цеха производства творога составляют 615,97 тыс.руб. В результате продажи старого оборудования издержки сократятся на 175,91 тыс.руб. и составят 440,06 тыс.руб. Годовые материальные затраты после модернизации производства уменьшатся на 104480,9 тыс.руб. и составят 1080586,02 тыс.руб. В результате введения в рецептуру заменителя молочного жира «СОЮЗ 71» сократится себестоимость годового объема единицы продукции на 115002,8 тыс.руб. и увеличится рентабельность производства на 5%. Прибыль предприятия возрастет на 25944,058 тыс.руб. и составит 402852,09 тыс.руб. Точка безубыточности производственно- коммерческой деятельности предприятия составляет 1909 тыс.тонн, следовательно с такого объема продаж предприятие будет получать прибыль. Срок окупаемости проекта два года.

Заключение

В данном дипломном проекте модернизирована линия по производству творога классического с массовой долей жира 5 % раздельным кислотно - сычужным способом, действующая на ООО «Ивмолокопродукт». В отличие от аналога в технологическую линию внесено изменение:

Производство творога классического с массовой долей жира 5 % осуществляется из обезжиренного творога и заменителя молочного жира «СОЮЗ 71». Жировая система добавляется в количестве, необходимом для получения требуемой жирности, улучшаются и качественные показатели творога.

Такое нововведение позволяет нам:

1.  сэкономить сливки, которые мы полностью исключаем из технологии получения творога, и направить их на другие цели;

2.       получать значительный экономический эффект;

.         снизить себестоимость продукции за счет полной или частичной замены молочного жира на жиры «СОЮЗ 71»;

.         увеличить выход готовой продукции из 1 тонны молочного сырья;

.         сгладить сезонность производства творога;

.         исключить простои производственных мощностей при дефиците сырьевых ресурсов;

.         сгладить некоторые пороки вкуса молочного сырья (кормовой, силосный, затхлый привкусы);

.         получить продукт практически не содержащий транс- изомеров и холестерина.

Для расплавления жировой системы «СОЮЗ 71» вводим в технологическую линию жирорастопитель АРЖ - 0,1. Он необходим для осуществления самого процесса производства творога по новой технологии. При этом облегчается ручной труд, однако увеличиваются затраты на электроэнергию и воду, которые компенсируются за счет исключения из линии оборудования для промежуточного хранения сливок, оборудования для пастеризации и охлаждения, которые вместе требуют электричества и воды больше, чем один жирорастопитель. Кроме того, сокращается время, которое тратится на данные операции, сокращается площадь, занимаемая оборудованием, требуется меньше воды и моющих средств для промывки аппаратов.

В цехе приемки молока производим замену двух старых охладителей марки ООУ - 5М производительностью 5000 л/ч, на два новых марки ООУ - 10 производительностью 10000 л/ч. Таким образом, данная установка позволяет наполнить, в одной линии, два танка для хранения молока за 1 час 20 минут, в то время как старый охладитель наполняет за 2,5 часа. Это приводит к сокращению времени заполнения емкостей и уменьшению затрат на электроэнергию.

Список используемых источников

1.    Шалыгина Е.А. Общая технология молока и молочных продуктов / Е.А. Шалыгина. - М.:КолосС, 2001. - 218 с.: ил.

2.       Суворова Е. А. Российский рынок молочной продукции / Е. А. Суворова. - М.: Пищевая промышленность. - 2006. - №5. - с. 4.

.         Дмитриченко М.И. Товароведение и экспертиза пищевых жиров, молока и молочных продуктов: учебное пособие / М.И. Дмитриченко, Т.В. Пилипенко. - СПб.: Питер, 2004. - 352 с.: ил.

4.    Шидловская В.П. Органолептические свойства молока и молочных продуктов / В.П. Шидловская. - М.: КолосС, 2004. - 360 с.: ил.

5.       Косой, В. Д. Совершенствование технологии творога / В.Д. Косой, Н.В. Шалапугина. - М.: Молочная промышленность, 2000. - № 3. - с. 49-50.

.         Богомолов А.В. Переработка продуктов растительного и животного происхождения / А.В. Богомолов; под ред. А.В. Богомолова, Ф.В. Перцева. - СПб.: ГИОРД, 2001. - 336 с.: ил.

.         Справочник по товароведению продовольственных товаров / Т.Г. Родина [и др.]; под общ.ред. Т.Г. Родиной. - М.: КолосС, 2003. - 608 с.: ил.

.         ТУ 9222 - 180 - 00419785 - 04. Творог. Технологические условия.

.         ТИ 9222 - 180 - 00419785 - 04. Технологическая инструкция к ТУ.

.         Горбатова К.К. Биохимия молока и молочных продуктов: учебное пособие для вузов / К.К. Горбатова. - М.: Легкая и пищевая промышленность, 1984. - 344 с.: ил.

.         Аппаратурно-процессовое оснащение производства молочных продуктов: учебное пособие / В.И. Трухачев, В.А. Самойлов, П.Г. Нестеренко, М.А. Ткаченко, О.Ю. Толмачев. - Ставрополь: Изд-во СтГАУ «АРГУС», 2005. - 465 с.: ил.

.         Глазачев В.В. Технология кисломолочных продуктов / В.В. Глазачев. - М.: Пищевая промышленность, 1974. - 118 с.: ил.

.         Интернет про СОЮЗ

.         Степанова Л.И. Творожные продукты с растительными жирами / Л.И. Степанова// Пищевая промышленность. - 2003. - №2. - С. 37 - 38.

.         Томбаев Н.И. Справочник по оборудованию предприятий молочной промышленности / Н.И. Томбаев. - М.: Пищевая промышленность, 1967. - 512 с.: ил.

.         Бредихин С.А. Технология и техника переработки молока / С.А. Бредихин, Ю.В. Космодемьянский, В.Н. Юрин. - М.: Колос, 2001. - 400 с.: ил.

.         Антипов С.Т. Машины и аппараты пищевых производств. В 2 кн. Кн. 1: учеб. для вузов / С.Т. Антипов, И.Т. Кретов, А.Н. Остриков и др.; под ред. акад. РАСХН В.А. Панфилова. - М.: Высшая школа, 2001. - 703 с.: ил.

.         Антипов С.Т. Машины и аппараты пищевых производств. В 2 кн. Кн.2: учеб. для вузов/ С.Т. Антипов, И.Т. Кретов, А.Н. Остриков и др.; под ред. акад. РАСХН В.А. Панфилова. - М.: Высшая школа, 2001. - 680с.: ил.

.         Золотин Ю.П. Оборудование предприятий молочной промышленности: учебник для техникумов молочной промышленности / Ю.П. Золотин, М.Б. Френклах, Н.Г. Лашутина. - М.: Агропромиздат, 1985. - 270 с.: ил.

.         Хромеенков Д.И. Оборудование хлебопекарного производства: учебник для начального проф. образования: учеб. пособие для сред. проф. образования / Д.И. Хромеенков. - М.: ИРПО; ПрофОбрИздат, 2002. - 320 с.: ил.

.         Исаев В.Н. Пластинчатые теплообменники пищевой промышленности: учеб. пособие / В.Н. Исаев, Е.В. Гусев; Под ред. В.Я. Лебедева; Иван. гос.хим. - технол. университет. - Иваново, 1997. - 96 с. - ISBN 5 - 230 - 05670 - 3.

.         Ерофеева Е.В. Автоматизация химико - технологических процессов: методические указания к выполнению раздела «Автоматизация производственных процессов» дипломного проекта студентами технологических специальностей / Е.В. Ерофеева; Иван. гос.хим. - технол. университет. - Иваново, 2006. - 36 с.

23.  Макаров Г.В. Охрана труда в химической промышленности / Г.В. Макаров, А.Я. Василин, Л.К. Маринина и др. - М.: Химия, 1989. - 496 с.: ил.

24.  Шведова Л.В. Методические указания к выполнению раздела «Охрана труда и окружающей среды» в дипломных проектах студентов технологических специальностей / Л.В. Шведова, А.П. Куприяновская, Т.А. Чеснокова; Иван. гос.хим. - технол. университет. - Иваново, 2002. - 36 с.

25.  Душин И.Ф. Санитарно - технические устройства предприятий мясной и молочной промышленности: учебник для техникумов мясной и молочной промышленности / И.Ф. Душин. - М.: Легкая и пищевая промышленность, 2002. - 216 с.: ил.

26.  Горшков В.К. Основы строительного проектирования: учеб. пособие / В.К. Горшков, П.Б. Разговоров; Иван. гос.хим. - технол. университет. - Иваново, 2001. - 92 с.- ISBN 5 - 230 - 01459 - 8.

27.     Ильченко А.Н. Предпринимательский проект развития действующего производства в условиях рыночной экономики: методические указания по экономическому разделу дипломного проектирования для студентов технологических специальностей всех форм обучения / А.Н. Ильченко, И.Д. Кузнецова, В.В. Михайлов, Н.А. Разумов; Иван. гос.хим. - технол. университет. - Иваново, 2002. - 48 с.

Похожие работы на - Использование жировой системы Союз 52

 

Не нашли материал для своей работы?
Поможем написать уникальную работу
Без плагиата!
Без нейросетей!