Автоматизация процесса копчения рыбы

  • Вид работы:
    Контрольная работа
  • Предмет:
    Другое
  • Язык:
    Русский
    ,
    Формат файла:
    MS Word
    344,53 Кб
  • Опубликовано:
    2014-10-11
Вы можете узнать стоимость помощи в написании студенческой работы.
Помощь в написании работы, которую точно примут!

Автоматизация процесса копчения рыбы

1.      Цель работы

Цель состоит в изучении способов автоматизации технологических процессов.

2.      Описание технологического процесса копчения рыбы

Для повышения способности к длительному хранению мясных и рыбных продуктов их подвергают копчению. Копчение данных продуктов придаёт им особый аромат, улучшает их вкусовые качества и вид. Под копчением подразумевают обработку поверхности мясных и рыбных продуктов веществами, содержащихся в коптильном дыме, который получается в результате неполного сгорания древесины.

Технологический процесс копчения рыбы состоит из:

·        подготовки рыбы для копчения

·        провяливания рыбы

·        процесса копчения рыбы

Копчение рыбы может проходить при различных тепловых режимах, соответствующих технологии горячего, полугорячего или холодного копчения. Копчение проводится с помощью специальных дымогенераторов. Для получения дыма используется древесина, не содержащая смолу. Древесина используется в виде опилок или стружки. Древесина должна быть сухой, не пораженной грибком плесени. Влажная древесина содержит нежелательные или вредные дубильные вещества, придающие горький вкус продукту. Выбор породы дерева влияет на окраску копченой рыбы. Дым от мягких пород древесины окрашивает мясо рыбы быстрее, а полученный цвет более приятен.

В современных дымогенераторах с внешним или внутренним источником получения тепла, свободным или регулируемым доступом воздуха происходит сжигание топлива в толстом или тонком слое, с непрерывным перемешиванием или без него. Коэффициент полезного действия в коптильных печах при открытом сжигании древесного материала низкий, при высокой температуре сгорают коптильные компоненты, а часть их улетучивается. Также сгорает стекающий рыбий жир.

Для нормальной работы дымогенератора необходимо поддерживать определенную температуру горения топлива с целью предотвращения вспышки топлива. Технологические требования к процессу дымообразования сводятся к очистке дыма, получению дыма определенной температуры, влажности, концентрации (густоты, плотности). При копчении устанавливается определенная скорость движения дыма.

При копчении рыбу помещают на металлических решетах в верхней или средней части коптильной камеры. Крупную рыбу помещают внизу. Не следует укладывать рыбу слишком плотно, чтобы она не спекалась. Обвязку из шпагата при копчении не снимают.

Первая стадия процесса копчения заключается в подсушке продукта копчения. При горячем копчении температура дыма в процессе подсушки устанавливается около 700 С. Процесс собственно копчения проходит при температуре 1000 С и выше. Готовность рыбы определяют по влажности мяса рыбы, по внешнему виду поверхности шкурки, которая должна быть сухой, а цвет - золотистый.

Полугорячее копчение проводится при температуре 50-600С продолжительностью до двух часов. Холодное копчение проводится при температуре до 400 С.

КАЧЕСТВЕННЫЕ ПОКАЗАТЕЛИ копченой рыбы зависят от вида, сорта рыбы и параметров технологического процесса на всех его стадиях. Наиболее главные из них:

·        содержание белка;

·        содержание жира;

·        содержание (соотношение) набора аминокислот, образующихся под воздействием протеолитических ферментов;

·        содержание ароматических веществ;

·        цвет поверхности изделия

·        и её состояние.

Таким образом, для получения качественного продукта необходим контроль большого числа промежуточных и конечных параметров процесса копчения.

3.      Выбор контролируемых параметров процесса копчения

Перечислим параметры, контроль состояния которых может обеспечивать получение качественного готового продукта:

Стадия подготовки рыбы для копчения

·        крупность рыбы;

·        тщательность промывки рыбы после разделки, сортировки;

·        количество соли при засолке, её технологические показатели;

·        конечная соленость рыбы;

·        время засолки;

·        изменение цветности (пожелтение) жировой прослойки

Стадия провяливания

·        обезвоживание (влажность мяса рыбы);

·        уменьшение солености температура воздуха в вешалах;

·        влажность воздуха в вешалах;

·        интенсивность воздухообмена в вешалах;

·        время провяливания.

Стадия дымообразования

·        состав пород древесного материала и его качество;

·        крупность измельченного древесного материала;

·        влажность древесного материала;

·        толщина слоя топлива в дымогенераторе;

·        температура горения топлива;

·        температура дыма;

·        концентрация дыма;

·        влажность дыма;

·        степень очистки дыма.

Начальная стадия копчения

·        температура дыма;

·        скорость движения дыма;

·        время подсушки.

Основная стадия копчения

·        температура дыма;

·        скорость движения дыма;

·        температура мяса рыбы;

·        состояние поверхности изделия по окраске;

·        состояние поверхности шкурки рыбы по влажности;

·        время копчения;

·        влажность мяса рыбы.

Стадия остывания

·        температура остывания;

·        время остывания.

4.      Автоматизация процессов контроля технологических параметров

Контроль отдельных технологических параметров проблематичен, так как не существует некоторых технических средств автоматического контроля или они малодоступны. Однако основная масса выбранных технологических параметров может автоматически контролироваться с помощью серийных контрольно-измерительных приборов, что в целом может существенно облегчить ведение технологического процесса.

Так, например, измерение концентрации дыма может осуществляться с помощью фотоэлектрических датчиков. Эти же датчики пригодны для контроля степени промывки рыбы методом измерения прозрачности сточных вод после промывки. Контроль солености и влажности мяса рыбы реализуется с применением кондуктометрических и диэлектрических датчиков. Влажность дыма можно измерить психрометрическим влагомером или влагомером другого типа, пригодного для измерения влажности газовых сред. Для измерения температуры существует большое количество датчиков, позволяющих автоматически контролировать этот параметр с достаточной точностью. Цветность изделия после копчения также может контролироваться фотометрическим датчиком и так далее.

Таким образом, принципиальных трудностей в организации автоматического контроля копчения рыбы не существует. Выбор конкретных технических средств контроля должен определяться характеристиками среды в точках контроля, диапазоном измеряемых величин, требуемой точностью контроля и экономической целесообразностью. Для этого необходимо использовать существующие каталоги контрольно-измерительных приборов и средств автоматики и справочную техническую литературу.

Рассмотрим пример выбора технических средств контроля по справочнику; "Приборы и средства автоматики для пищевой промышленности. Петров И.К., Солошенко М.М., Царьков В.А.-М: Легкая и пищевая промышленность,1981.-416с."

Таблица 1.

Параметр контроля

Средства контроля

Влажность мяса рыбы

Влагомер инфракрасный ВИКПП-2

Измерение абсолютной влажности мясомолочных продуктов

Влажность дыма

влагомер психрометрический АПВ-201

Относительная влажность газа в камерах

Концентрация дыма

газоанализатор ТП221М

Измерение концентрации углекислого газа

Расход дыма

Счетчик газов РГ


Высота слоя топлива

датчик уровня ЭИУ-2

Среды с диэлектрической постоянной более 5

Температура

термометр ТПП-М 9

Измерение температуры в мясе рыбы


В качестве средств контроля температуры, указанных в справочнике, можно также использовать термоэлектрические преобразователи ТХК-0033, измеряющие температуру пищевых продуктов в камерах обжарки, манометрические термометры газовые ТГС и ТГП для измерения температуры газов, термометры и термоконтакторы ТЗК для автоматического регулирования температуры, реле температурное дилатометрическое ТР-200 для контроля температуры в схемах автоматики и сигнализации и т.п. Функциональная схема автоматического контроля технологического процесса копчения рыбы приведена ниже.

Функциональная схема автоматического контроля выполняется в соответствии с требованиями ГОСТ 21.404-85 Автоматизация технологических процессов. Обозначения условные приборов и средств автоматизации в схемах. Приведём пример краткого описания автоматической схемы контроля. В описание работы схемы возможно введение примеров работы и принципов действия тех или иных средств автоматического контроля. При автоматическом контроле конечной стадии промывки рыбы установлен датчик контроля прозрачности сточных вод (поз.1), т. к. этот показатель характеризует тщательность промывки разделанной рыбы. В вешалах установлены датчики контроля расхода, температуры и влажности воздуха (поз. 2, 3, 4), а также контролируется время провяливания (поз. 7). Провяленная рыба контролируется по степени солености и влажности мяса рыбы (поз. 5 и 6).



Работа дымогенератора контролируется датчиками расхода воздуха (поз. 8), температуры горения топлива (поз. 9), расхода, температуры дыма и его плотности (поз. 10, 11, 12). На стадии копчения осуществляется контроль температуры и влажности мяса рыбы (поз. 13, 14), времени копчения (поз. 15). Готовая продукция проверяется по качественным показателям (поз. 16) в зависимости от имеющегося набора контрольно- измерительных приборов, пригодных для автоматического контроля.

Следует отметить, что приведенная схема контроля может существенно меняться в зависимости от конкретных технологических требований, уровня автоматизации операций контроля и других причин.

5.      Коптильные установки

На данный момент существует большое количество различных модификаций коптильных установок, предназначенных для копчения продуктов животноводства и рыболовства. Представим некоторые из них.

Комплекс термической обработки мясных изделий КТОМИ-300 предназначен для варки и копчения колбас, производства мясных изделий и рыбных продуктов. Термическая обработка продуктов в камере осуществляется постоянно циркулирующим воздухом, который прогоняется вентилятором через полость с установленными в ней ТЭНами вверху шкафа. Напуск дыма в камеру осуществляется из дымогенератора, где происходит горение (тление) опилок на трубчатых ТЭНах, опилки подаются на ТЭНы автоматически под собственным весом. Напуск пара производится из паровой камеры с установленными в ней ТЭНами. Управление режимами осуществляется с помощью блока управления.

Основные технические характеристики КТОМИ-100/300 приведены в табл. 2., а других установок в табл. 3.

Таблица 2. Технические характеристики КТОМИ-100/300.

Показатели

КТОМИ-100

КТОМИ-300

Рабочий объём камеры, м. Куб.

1

2,6

Потребляемая мощность, кВт

15

35

Диапазон рабочих температур внутри камеры, С

100

100

Пределы регулирования влажности, %

100

100

Давление воды в системе очистки и охлаждения дыма, кг/см. кв.

2

2

Время достижения температуры 100С, мин.

10

7

Появление пара после включения парогенератора, мин.

10

4

Время достижения влажности, мин.

30

26

Время автомат. Работы дымогенератора, час

1,3

3

Масса, кг

200

1500

Габаритный размер

800*850*2100

1450*1760*2700


Таблица 3. Технические характеристики коптилен

Показатели

Термокамеры


Atmos типа TURBO-JET

ЕЛРО-4

Производительность, кг/ч




По колбасе

400

600

-

По сосискам

-

500

175

По сарделькам

-

-

218

Температура среды в зоне, С

Подсушки

69-75

46-85

80-100

Обжарки

75-80

85-90

80-100

Варки

80

82

80-85

Температура внутри батона к окончанию процесса в зоне, С

Подсушки

23

24

-

Обжарки

52

56

-

Варки

70-74

71-76

-

Относительная влажность в зоне, %

Подсушки

-

14,4

12-30

Обжарки

9,6

13

12-30

Варки

75-80

93

80-90

Давление греющего пара, кПа

196-294

294-392

392-588


Управление работой установки производится с пульта управления. Технологический процесс термообработки управляется с помощью микропроцессора на основе выбранной программы, в том числе с возможностью составления потребителем собственных программ. В случае необходимости потребитель может в любой момент остановить программу и изменить рабочий режим.

Одним из важнейших факторов в данном процессе является поддержание нужной температуры и влажности. В пульте управления установлены измерители-регуляторы температуры с цифровой индикацией. Температура среды, при которой происходит подсушка и обжарка, задаётся путём установки стрелки- задатчика «сухого» термометра и соответствующее положение шкалы. Регулирование температуры среды двухпозиционное.

Влажность регулируется при помощи психометрических датчиков. В стену одного из отделений камеры вмонтированы два датчика температуры, которые работают совместно с логометрическими приборами. На один из датчиков надевается матерчатая повязка, конец которой опущен в бочок с водой. Таким образом, один из логометрических приборов, соединенных со смачиваемым датчиком, показывает температуру «влажного» термометра, а другой - температуру «сухого» термометра. Для создания относительной влажности среды в камере стрелка-задатчик «влажного» термометра устанавливается в такое положение, чтобы разность температур по «сухому» и «влажному» термометрам соответствовала требуемой относительной влажности, определяемой по психометрической таблице. При необходимости влажность воздуха увеличивается автоматически набрызгиванием воды на отопительный элемент (ТЭН). Увлажнение среды достигается в результате подачи в камеру острого пара.

На пульте управления камерой расположены также кнопки и выключатели для управления электродвигателями, циркуляционными вентиляторами, вытяжным вентилятором, соленоидным вентилем, пневмоприводами заслонок для подачи дыма и свежего воздуха, работой дымогенератора, а также для управления электродвигателями, перемещающими стрелки-задатчики на обоих логометрических приборах. С помощью программного устройства перечисленные операции осуществляются автоматически, в требуемой последовательности и в определённое время. Носителем программы является пластмассовая карта, которая на обратной стороне имеет 12 профильных дорожек. Нанесение на карту программы термообработки продукции осуществляется путем вырезания соответствующих дорожек, (каждая дорожка выполняет определённую функцию) необходимой длины. При продвижении карты в приборе дорожки взаимодействуют с контактной системой.

БЫТОВАЯ КОПТИЛЬНАЯ УСТАНОВКА

Лабораторный учебно- исследовательский стенд содержит бытовую коптильную установку, которая представляет собой настольную металлическую камеру с помещённым в ней продуктом, подлежащим копчению. Камера установлена на электрической плитке. Коптильня предназначена для горячего копчения. На дно камеры вносятся опилки, которые при нагревании от плитки образуют дым. Согласно технологическим требованиям продукт должен быть разогрет до определённой температуры и выдержан определённое время. Величины температур и времени зависят от вида продукта. Установка в процессе исследования оснащается необходимой автоматикой.

Всю конструкцию коптильни с точки зрения тепловых функций условно разделяем (рис.1) на четыре части: 1- плитка с прилегающей частью корпуса (дно и 5 см. нижней части стенки корпуса), 2- корпус и крышка, 3- продукт, 4- воздух (коптильный газ). Логическая схема движения сигналов в САР такова: сигнал рассогласования (например, величина недогрева) поступает на регулятор. Далее сигнал подаётся на плитку, которая подогревает воздух в коптильне, разогревает продукт. Сигнал обратной связи поступает на вход САР, а именно на сравнивающее устройство.

копчение рыба регулирование температура

Рис. 3. Логическая схема движения сигналов в коптильне

Рис.4. Схема системы автоматического регулирования температуры коптильного газа с регулированием по температуре продукта

Рис.1 Физическая модель бытовой коптильной установки

6.      Режимы процесса копчения

Е1>0,

θпл=θпл.уст (1-е-t/Tпл);

θв=θв.уст (1-е-t/Tв);

θпр=θпр.уст (1-е-t/Tпр).

). Режим разогрева продукта: плитка, воздух уже прогреты, а продукт остаётся ещё холодным.

θпл=θпл.зад;

θв=θв.ном;

θпр=θпр.уст (1-е-t/Tпр).

). Режим номинальный: плитка, воздух и продукт прогреты до номинальной температуры.

θпл=θпл.зад;

θв=θв.ном;

θпр=θпр.зад.

). Режим охлаждения: происходит остывание плитки, воздуха и продута.

θпл=θ0(е-t/Tпл);

θв=θ0(е-t/Tв);

θпр=θ0(е-t/Tпр).

Составленная модель содержит регулятор температуры, блок «плитка», блок «воздух», блок «стенка корпуса», блок «продукт» и устройство отрицательной обратной связи по каналу температуры продукта. Модель составлена таким образом, что на вход подается сигнал рассогласования, равный разности между заданным значением (80) и текущим значением температуры продукта. Далее сигнал в виде теплового потока поступает последовательно через воздух камеры и продукт. Воздух камеры отдает тепло не только продукту, но и стенкам корпуса, благодаря чему температура воздуха не может повышаться бесконечно высоко. С ее ростом пропорционально растут и тепловые потери через стенку корпуса. Это придает процессу свойство самовыравнивания. Температура может установиться на определенном значении и без регулятора. Другое дело, что ее величина может не удовлетворять технологическим требованиям, поэтому необходима автоматика или подбор мощности плитки.

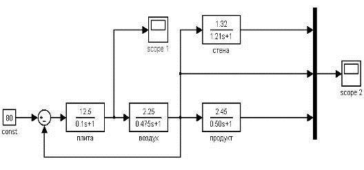
7.      Модель системы автоматического регулирования температуры воздуха (коптильного газа)

Рис. 3 MATLAB - модель системы автоматического регулирования температуры воздуха в коптильной установке при управлении по температуре продукта.

График изменения температуры звеньев показан на рис. 4.

Рис. 4. Графики переходных процессов при управлении нагревателем по температуре продукта с заданием стабилизировать температуру продукта на 80 0С. Режим прогрева после включения.

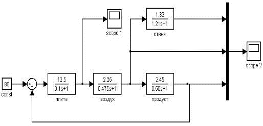
Рис. 5 MATLAB - модель системы автоматического регулирования температуры воздуха в коптильной установке при управлении по температуре плитки

Рис. 6. Графики переходных процессов при управлении нагревателем по температуре продукта с заданием стабилизировать температуру продукта на 80 0С. Режим прогрева после включения.


Рис. 7 MATLAB - модель системы автоматического регулирования температуры воздуха в коптильной установке при управлении по температуре воздуха

Рис. 8. Графики переходных процессов при управлении нагревателем по температуре продукта с заданием стабилизировать температуру продукта на 80 0С. Режим прогрева после включения.

На графике виден существенный всплеск также температуры воздуха и стенок. Это объясняется потерей времени на прогрев датчика температуры, расположенного в продукте. Пока идет прогрев продукта и датчика, тем временем плитка и воздух продолжают нагреваться. Это и является причиной колебательности процесса. Температура продукта не получила существенного подъёма в этот опасный начальный период разогрева (всего на 100С выше установившегося значения). Но она даже в максимуме не достигла заданных 800С. А установившееся значение температуры равно 650С, что ниже заданной на 150С. Этот недогрев называется статической ошибкой. Он неизбежен, т.к. если бы его не было и температура продукта достигла бы заданных 800С, то устройство сравнения из заданных 800С вычло бы 800С продукта и выдало бы управляющий сигнал, равный нулю. Плитка была бы отключена. На самом деле в установившемся режиме плитка должна постоянно отдавать мощность, равную потерям.

Статическая ошибка в данной статической системе неизбежна, но её можно уменьшить. Это достигается увеличением коэффициента усиления какого либо звена в прямой цепи прохождения сигнала. В модели следует увеличить числитель передаточной функции соответствующего звена. Проще всего это сделать у плитки, увеличив её мощность. Статическая ошибка будет уменьшена, но возрастут амплитуды колебаний. С этим тоже можно бороться, т.е. одновременно можно получить и малую статическую ошибку и иметь малые колебания.

На рис. 9 показан пример схемы с управлением по температуре плитки.



Список литературы

1.  Дьяконов В., Круглов В. MATLAB. Специальный справочник. Санкт-Петербург, Москва, Харьков, Минск. 2002.

.    Приборы и средства автоматики для пищевой промышленности. Петров И.К., Солошенко М.М., Царьков В.А.-М: Легкая и пищевая промышленность, 1981.-416с.

3.      Хлыстов В.П. Автоматический контроль технологических процессов копчения рыбы: Метод. пособие/Краснояр. гос. аграр. ун-т. - Красноярск, 2002.-11 с.

.        Половко А.М., Бутусов П.Н. MATLAB для студента. - СПб.: БХВ-Петербург, 2005.

Похожие работы на - Автоматизация процесса копчения рыбы

 

Не нашли материал для своей работы?
Поможем написать уникальную работу
Без плагиата!
Без нейросетей!