Распределительные устройства РУ-110 кВ концевой и ответвительной подстанции
Курсовая
работа
По
дисциплине: Электрические подстанции
Тема:
Распределительные устройства РУ- 110 кВ концевой и ответвительной подстанции
От подстанции питаются потребители со следующими
данными:
Руст1= 8500 К с1= 0,21
Руст2=3300 К с2= 0,29
Содержание
Введение
.
Основное электрическое оборудование электрических подстанций.
.1
Вакуумные выключатели.
.1.1
Сведения о выключателях высокого напряжения.
.1.2
Вакуумная дугогасительная камера КВД -10- 1600- 20.
.1.3
Выключатель вакуумный ВВ-TEL-10-1000.
.1.4
Выбор автоматических выключателей.
.
Расчет мощности электрических подстанций.
.1
Выбор трансформаторов, расчет мощностей и максимальных рабочих токов
подстанции.
.
Трансформаторные подстанции. Схема электрических соединений подстанции.
.1
Распределительные устройства РУ-110 кВ концевой и ответвительной подстанции.
.1.1
Выбор схем электрических подстанций.
.1.2
Схема РУ-110(220) кВ концевой и ответвительной подстанции.
.1.3
Расчет релейной защиты цеховых трансформаторов.
.
Короткое замыкание в электроэнергетических системах переменного тока.
.1
Термическое действие токов короткого замыкания.
.1.1
Виды замыканий в электрических сетях.
.1.2
Переходные процессы при коротких замыканиях.
.1.3
Режим нагрева элементов электрических установок токами- термическое действие
токов короткого замыкания.
.
Качество электрической энергии в системах электроснабжения.
.1
Показатели и нормы качества электрической энергии: несинусоидальность
напряжения.
.1.1
Несинусоидальность напряжения.
.1.2
Влияние несинусоидальности напряжения.
Заключение.
Литература
Введение
Выполнение данной курсовой работы по дисциплине
«Электрические подстанции» проводиться с целью:
· систематизации и закрепления полученных
теоритических знаний и практических умений по дисциплине «Электрические
подстанции»;
· углубления теоретических знаний по
теме курсовой работы;
· формирования умений планировать свою
работу;
· формирования умений применять теоретические
знания при решении поставленных вопросов, использовать теоретическую,
справочную и нормативную информацию;
· развития творческой инициативы,
самостоятельности, организованности и ответственности;
Целью курсовой работы является закрепление
теоретических знаний по темам, которые были пройдены за весь курс обучения по
данной дисциплине, а также приобретения практических навыков проведения
технических расчетов мощности электрической подстанции и составления схем
электрических соединений подстанции.
Тема курсовой работы «Распределительное
устройство РУ-110(220)кВ, проходной подстанции».
Распределительное устройство называют
электроустановку, служащую для приёма и распределения электрической энергии
одного класса напряжения.
Проходная подстанция включается в рассечку одной или двух линий с двусторонним или
односторонним питанием.
Задачей данной курсовой работы
является самостоятельное решение всех вопросов задания комплексно, в их
взаимосвязи со всеми видами информации.
1.
Основное электрическое оборудование электрических подстанций
.1
Вакуумные выключатели
.1.1
Сведения о выключателях высокого напряжения
Выключатель - это коммутационный
аппарат, предназначенный для включения и отключения тока.
Выключатель является основным
аппаратом в электрических установках, он служит для отключения и включения в
цепи в любых режимах: длительная нагрузка, перегрузка, короткое замыкание,
холостой ход, несинхронная работа. Наиболее тяжелой и ответственной операцией
является отключение токов КЗ и включение на существующее короткое замыкание.
К выключателям высокого напряжения
предъявляют следующие требования:
· надежное отключение
любых токов (от десятков ампер до номинального тока отключения);
· быстрота действия,
т. е. наименьшее время отключения;
· пригодность для
быстродействующего автоматического повторного включения, т.е. быстрое включение
выключателя сразу же после отключения;
· возможность
пофазного (пополюсного) управления для выключателей 110 кВ и выше;
· легкость ревизии и
осмотра контактов;
· взрыво- и пожаробезопасность;
· удобство
транспортировки и эксплуатации.
Выключатели высокого напряжения
должны длительно выдерживать номинальный ток Iном и номинальное напряжение UH0M.
Автоматические выключатели (автоматы)
предназначены для оперативных включений и отключений низковольтных
электрических цепей и защиты их от токов КЗ и перегрузок, а также от
исчезновения или снижения напряжения сети.
Роль защитных элементов, реагирующих на
отклонение той или иной контролируемой величины от своего нормального значения,
выполняют расцепители. В автоматах могут быть установлены следующие
расцепители:
· максимального тока, срабатывающие мгновенно при
токе КЗ в цепи;
· минимального напряжения,
срабатывающие в случае понижения или исчезновенг1я напряжения;
· обратного тока, которые срабатывают
при изменении направления тока в цепи постоянного тока;
· независимые (ни от каких параметров
электрической цепи), которые служат для дистанционного отключения автоматов;
· тепловые, применяемые
для защиты от перегрузок (по типу тепловых реле пускателей);
· комбинированные,
включающие электромагнитные и тепловые расцепители одновременно.
Автоматические выключатели
снабжаются механизмом свободного расцепления (МСР), который позволяет
обеспечить отключение автомата в процессе включения или после него.
На рис. 1.1. схематично представлена
конструкция автоматического выключателя, имеющего дугогасительные 1 и
главные 2 контакты. Главные контакты, выполняемые из меди, имеют малое
переходное сопротивление и могут длительного пропускать большой ток.
Дугогасительные контакты, выполняемые из металлокерамики, включаются
параллельно главным.
Включение автомата осуществляется
вручную при повороте рукоятки 7 по часовой стрелке вокруг оси Оэ или
дистанционно электромагнитным приводом 8. При этом рычаги 5
механизма свободного расцепления перемещают вправо контактный рычаг 3,
преодолевая усилие отключающей пружины 4. При повороте рычага 3
вокруг оси О, замыкаются дугогасительные контакты 1, сжимая свою
амортизационную пружину, затем главные 2. Включенный автомат
становится на защелку пр
перемещении шарнирного сс единения 02
вниз.
Отключение автомата осуществляется вручную путем п
ворота рукоятки против час: вой стрелки или автоматически и дистанционно при
протек нии тока по обмотке отключавщего электромагнита расцепителя 6.
Его сердечник переметет шарнир 02 вверх и жесткая система
рычагов 5 "ломается" по шарниру. Отключающая пружина 4
отключает выключатель. Возникающая между контактами 1 дуга гасится в
дугогасительной камере путем деления на ряд дуг металлическими пластинами 9.
Рис. 1.1. Принципиальная конструкция
автоматического выключателя.
Высоковольтные выключатели служат
для включения и отключения высоковольтных цепей по всех режимах работы
электроустановок (нормальном, ненормальном, аварийном).
К выключателям предъявляются
следующие требования;
· надежность в работе
и безопасность в обслуживании;
· минимальное
время отключения;
· малые
габариты и масса;
· удобство
и простота монтажа и эксплуатации;
· возможность
после отключения автоматического повторного включения (АПВ);
— сравнительно
невысокая стоимость.
Требование надежности является одним
из важнейших, так как от надежной работы выключателем зависит надежность работы
электроустановки и даже всей системы.
Минимальное время отключения, т.е.
быстродействие выключателя весьма желательно по следующим соображениям:
· снижается термическое
воздействие тока КЗ на элементы электроустановки, по которой он протекает;
· снижается опасность
распространения аварии на другие электроустановки;
· повышается
устойчивость параллельной работы трансформаторов и линий электропередачи;
· уменьшается опасность
поражения током от прикосновения к заземленным частям при однофазном КЗ.
По принципу гашения дуги и роду
дугогасящей среды выключатели подразделяются на масляные, воздушные,
электромагнитные, элегазовые и вакуумные. ток
электрический подстанция трансформатор
В настоящее время наиболее
распространенными являются масляные включатели, в которых гашение дуги
происходит в трансформатором масле. В малообъемных выключателях масло служит
только для гашения дуги, а в многообъемных оно является еще и изолирующей
средой.
В воздушных выключателях гашение
дуги осуществляется струей воздуха под высоким давлением. Эти выключатели не
получили распространения в железнодорожных электроустановках.
В электромагнитных выключателях
гашение дуги осуществляется за счет перемещения ее в пространстве магнитным
полем, то есть гашение происходит в воздушной среде.
В элегазовых выключателях гашение
дуги происходит в среде шестифтористой серы SF6 (электрическом газе -сокращенно элека- зе), которая активно
захватывает электроны в столбе дуги.
Вакуумные выключатели осуществляют
гашение дуги в вакуумной камере, где газ практически отсутствует. Эти
выключатели по своим качествам наиболее близки к идеальным и поэтому в
настоящее время получают все более широкое распространение.
Выключатели классифицируются:
— по
числу фаз (одно- и трехфазные);
— по месту установки (внутренней и наружной);
— по времени отключения (до 0,08 с - быстродействующие, до 0,12 с -
ускоренного действия, до 0,25 с - небыстродействующие)
Технические данные выключателей
приводятся в паспорте, а основные - на его щитке. Ниже приводятся важнейшие
параметры выключателей.
Номинальное напряжение (Uном, кВ) определяет размеры
изолирующих частей, следовательно, габаритные размеры и массу выключателя.
Наибольшее рабочее
напряжение (Uра6.макс, кВ) - максимальное напряжение, при котором изготовители
гарантируют работу выключателей. Для выключателей до 10 кВ
Uраб.макс.= 1,2 Uном.,
на 35 кВ и выше - U раб макс=
1,15 U ном.
Номинальный ток (Iном, А)- наибольшее
действующее значение тока, которое выключатель способен пропускать при
номинальном напряжении длительное время без перегрева контактов и токоведущих
частей. Это ток определяет их размеры, но не влияет на габариты выключателя.
Номинальный ток
отключения (Iном. откл, кА) - наибольшее действующее значение периодической составляющей
тока КЗ, которое способен отключить выключатель при наибольшем рабочем
напряжении без повреждений.
Предельный сквозной ток :
· начальное действующее
значение периодической составляющей (iпрс, кА);
· амплитудное
значение (I с, кА).
· Предельный сквозной ток
характеризует электродинамическую стойкость выключателя и равняется наибольшему
значению ток КЗ, которое выдерживает во включенном положении без повреждений.
Предельный ток
термической стойкости (, кА) для промежутка
времени /т - наибольшее среднеквадратичное значение тока К за
промежуток времени tT, которое выдерживает
выключатель без перегрева токоведущих частей, препятствующих его дальнейшей
работе.
Собственное время
отключения выключателя с приводе
( tсв. с) - промежуток времени от момента подачи команды на отключение
до момента расхождения дугогасительных контактов
Полное время отключения
выключателя с приводом (tотклв) промежуток времени от момента подачи команды на отключение до
момента погасания дуги во всех полюса
1.1.2
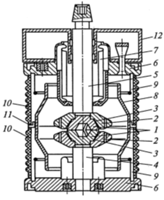
Вакуумная дугогасительная камера КДВ- 10- 1600-20
Электрическая прочность вакуумного
промежутка во много раз больше, чем воздушного при атмосферном давлении. Это
свойство используется в вакуумных дугогасительных камерах КДВ (рис.1.2.).
Рабочие контакты 1 имеют вид полных усеченных конусов с радиальными
прорезями. Такая форма контактов при размыкании создает радиальное
электродинамическое усилие, заставляющее перемещаться дугу через зазоры 3
на дугогасительные контакты 2. Материал контактов подобран так, чтобы
уменьшить количество испаряющегося металла. Вследствие глубокого вакуума (10-4-10“6)
происходит быстрая диффузия заряженных частиц в окружающее пространство, и при
первом переходе тока через нуль дуга гаснет.
Подвод тока к контактам
осуществляется с помощью медных стержней 4 и 5. Подвижный контакт
крепится к верхнему фланцу 6 с помощью сильфона 7 из нержавеющей стали.
Металлические экраны 8тл 9 служат для выравнивания электрического поля и
для защиты керамического корпуса 10 от напыления паров металла,
образующихся при горении дуги. Экран 8 крепится к корпусу камеры с
помощью кольца 11. Поступательное движение верхнему контакту
обеспечивается корпусом 12. Ход подвижного контакта составляет 12 мм.
Рис. 1.2. Вакуумная дугогасительная камера КВД-
10- 1600- 20.
- рабочие контакты; 2- дугогасительные контакты;
3- зазоры; 4, 5- токоведущие стержни; 6- верхний фланец; 7- сильфон; 8, 9-
экраны; 10- керамические корпусы; 11- крепежное кольцо; 12- корпус.
На основе рассмотренной выше
вакуумной дугогасительной камеры выпускаются выключатели напряжением 6 -110 кВ
с номинальным током до 3200 А и током отключения до 40 кА.
Вакуумные выключатели 6-10 кВ широко
применяются для замены маломасляных и электромагнитных выключателей в
комплектных распределительных устройствах, для чего они комплектуются на
выкатных тележках 1 (рис. 1.3).
Дугогасительная камера 7 укреплена
на токовыводах в изоляционном каркасе б и системой рычагов связана с приводом.
При включении сначала происходит заводка пружинно-моторного привода до
положения «Готов». После этого подается сигнал на включение на ИДУУ
(индукционно-динамическое устройство управления), которое, разряжаясь, сбивает
удерживающую защелку на приводе, пружины поворачивают кулачковый вал 9, который
воздействует на рычаг вала выключателя. Вал, поворачиваясь, через систему
рычагов тельные контакты и изоляционные ТЯГИ 3 возде-токоведущие на
ПОДВИЖНЫЙ контакт КДВ, выключатель включается.
Рис. 1.3. Выключатель вакуумный
ВБП-С-10-31,5/1600 УЗ:
1 - выкатная тележка; 2 - рама; 3 - изоляционные
тяги; 4 - узел поджатия; 5- токовыводы; 6 - изоляционный каркас;
7 - вакуумная дугогасительная камера (КДВ); 8 - пружинно-моторный
привод; 9 - кулачковый вал привода; 10 - кнопка отключения; 11
- блок защелок; 12 - блок сигнализации; 13 - отключающая пружина;
14 - буфер; 15 - вал выключателя; 16 -
индукционно-динамическое устройство управления (ИДУУ)
Отключение производится кнопкой
отключения 10, которая выбивает удерживающую защелку, а отключающая
пружина 13 через систему рычагов возвращает подвижный контакт камеры в
отключенное состояние. Управление выключателем может осуществляться вручную или
дистанционно. Рассмотренный выключатель может отключать и включать ток КЗ 31,5
кА, полное время отключения 0,04 с, время включения 0,03 с. Коммутационный
ресурс: число циклов В - tn- О номинального тока
равно 30000, число циклов В и О тока отключения - 50. Срок службы до среднего
ремонта составляет 15 лет.
Выключатель ВВП - быстродействующий,
устанавливается в ячейках КРУ секционных и на вводах в совокупности с
быстродействующим АВР и служит для замены маломасляных выключателей,
отслуживших свой срок в ячейках КРУ: К-XII, K-XIII, K-XXVI, К-37, КВЭ, КВС и КСО
всех типов.
1.1.3
Выключатель вакуумный ВВ-TEL-10-1000
Для этих же целей освоен выпуск
выключателей вакуумных ВВ-TEL производственным объединением «Таврида-электрик». На рис. 4.46
показан разрез по одному полюсу и общий вид вакуумного выключателя BB-TEL-10/1000. Выключатель
состоит из трех полюсов на одном основании (см. рис. 4.46, а). Якори 8
приводных электромагнитов соединены между собой валом 11.
В разомкнутом положении контакты
выключателя удерживаются отключающей пружиной 9 через тяговый
изолятор 5. При подаче сигнала «Вкл» подается питание в катушку электромагнита 10;
якорь 8, сжимая отключающую пружину, перемещается вверх вместе
стяговым изолятором и подвижным контактом 3, который замыкается.
В это время кольцевой магнит 7 запасает магнитную энергию, необходимую для
удержания выключателя во включенном положении, а катушка 10
постепенно обесточивается, после чего привод оказывается подготовленным к
операции отключения.
Во включенном положении выключатель
удерживается силой магнитного притяжения якоря 8 к кольцевому
магниту 7 так называемой «магнитной защелкой», при этом энергии из внешней цепи
не потребляется.
При подаче сигнала «Откл» блок управления подает
импульс противоположного направления в катушку 10, размагничивая
магнит и снимая привод с магнитной защелки. Под действием пру-
Выключатели данной серии применяются
для замены выключателей в ячейках КРУ, а также для вновь разрабатываемых камер
КСО и КРН.
Вакуумные выключатели напряжением
110 кВ в каждом полюсе имеют четыре последовательно соединенные дугогасительные
камеры КДВ, установленные на опорных изоляторах. Для равномерного распределения
напряжения по разрывам применяются емкостные делители напряжения.
Электромагнитный привод обеспечивает дистанционное управление выключателем.
Вакуумные выключатели
устанавливаются для управления трансформаторами сталеплавильных печей, тяговых
подстанций, насосных, на мощных экскаваторах. Отключение мощных синхронных
двигателей вызывает срез тока при быстром разрыве цепи, отключение малых
индуктивных токов может привести к перенапряжению, поэтому вакуумные
выключатели снабжаются встроенными ограничителями перенапряжений или
предусматривается установка ОПН (ограничитель перенапряжения).
Для замены выключателей,
выработавших коммутационный ресурс, фирма АББ поставляет вакуумный выключатель VM2GT, который может
устанавливаться на выкатных тележках КРУ (К-104, КМВ, КРУ2-10, K-XIII).
Достоинства вакуумных
выключателей: простота конструкции,
высокая степень надежности, высокая коммутационная износостойкость, малые
размеры, пожаро- и взрывобезопасность, отсутствие загрязнения окружающей среды,
малые эксплуатационные расходы.
Недостатки вакуумных
выключателей: сравнительно небольшие
номинальные токи и токи отключения, возможность коммутационных перенапряжений.
1.1.4
Выбор автоматических выключателей
Выбор высоковольтных выключателей
производится по конструктивному выполнению и месту установки (наружная или
внутренняя), по номинальным напряжению и току согласно условиям
Выбранный выключатель проверяется по
току КЗ на динамическую стойкость:
по предельному периодическому току
КЗ
Где I пр.с - эффективное значение
периодической составляющей предельного сквозного тока КЗ по каталогу, кА;
I к - ток трехфазного КЗ
По ударному току
Где i пр.с - амплитудное значение предельного сквозного тока КЗ по каталогу,
кА;
i у - ударный ток КЗ, кА; на
термическую стойкость
Где I т - предельный ток
термической стойкости по каталогу, кА;
tT - время протекания тока термической стойкости по каталогу, с (tT = 3;
4; 5; 8 с);
Вк -тепловой импульс тока
КЗ, кА2 ∙ с.
Выбранный выключатель проверяется
также по отключающей способности:
Где I ном. откл - номинальный ток
отключения выключателя по каталогу, кА;
I к - ток трехфазного КЗ, кА;
по полному току отключения
Где βном - номинальное относительное значение апериодической
составляющей в отключаемом токе (определяется по кривой рис.1.4.)
iat - апериодическая
составляющая тока КЗ в момент расхождения контактов выключателя, кА.
Рис. 1.5. Зависимость относительной
апериодической составляющей тока КЗ от времени.
Выбор разъединителей, выключателей
нагрузки, отделителей производится по конструктивному выполнению, количеству
заземляющих ножей и месту установки (наружная или внутренняя), по номинальному
напряжению и току согласно условию (1.5).
Короткозамыкатели не имеют
номинального тока, так как нормально они отключены, и выбираются по тем же
условиям, что и другие коммутационные аппараты, исключая выбор относительной
номинальному току. Выберем и проверим коммутационные аппараты РУ-1 Ю кВ при
максимальном рабочем токе 800 А. Время отключения КЗ принимается 0,7 с.
Выбор и проверка аппаратуры сведены
в табл.1.1.
Таблица 1.1. Выбор и проверка
аппаратов РУ-110 кВ
Расчет
для:
МКП- 110М
РНДЗ- 2- 110/1000
ОД-110/1000
КЗ- 110
2. Расчет мощности электрической подстанции
.1 Выбор трансформаторов, расчёт мощности и максимальных рабочих
токов подстанции
От подстанции питаются потребители
со следующими данными:
уст1 = 8500 кВт;
с1 = 0,21;
1 = 0,93;
уст2 =3300 кВт;
с2 = 0,29;
2 = 0,92.
Данное задание выполняем согласно
схемы представленной на рис. 2.1.
Рис.2.1. Схема двухтрансформаторной
подстанции с первичным напряжением 35 кВ.
Порядок расчёта:
. Расчет максимальных активных
мощностей потребителей:
Pмакс
= Pуст
×
Kс ,
(2.1)
где Pуст - установленная мощность потребителя, кВт; Kс - коэффициент спроса, учитывающий режим работы потребителя,
загрузку и КПД оборудования, одновременность его включения.
макс1 = 8500 × 0,22 = 1870 кВт;
макс2 = 3300 × 0,27 = 891 кВт;
макс = 1870 + 891 = 2761 кВт.
2. Расчет максимальных реактивных мощностей
потребителей:
макс =
макс ×
, (2.2)
где
определяется по заданному
макс1 = 1870 × 0,394 = 736 квар;
макс2 = 891 × 0,424 = 377 квар;
макс = 736 + 377 =1113 квар.
3. Максимальная полная мощность всех
потребителей:
макс
= Kр.м(1+
)
,
(2.3)
где Kр.м - коэффициент разновременности максимумов нагрузок проектируемой
подстанции;
Pпост - постоянные потери,
принимаемые 1...2%; Pпер - переменные потери,
принимаемые 5... 8%.
макс
= 0,92(1+
)
= 2833 кВ.
4. Расчет мощности трансформатора:
Sном.т
≥
,
(2.4)
где 1,4 - коэффициент допустимой
перегрузки трансформатора; n - количество устанавливаемых трансформаторов.
Sном.т ≥
= 2024 кВ
По результатам расчёта выбирается
трансформатор типа ТМН - 2500/35.
5. Мощность тупиковой подстанции, питающейся
транзитом от шин проектируемой:
Sтп =
n ×
Sном.т,
(2.5)
где n - число трансформаторов; Sном.т - номинальная мощность выбранных трансформаторов.
Sтп = 2 × 2500 = 5000 кВ·А.
6. Мощность проектируемой подстанции с учетом
транзита:
Sтп =
(n ×
Sном.т +
транз)K”р,
(2.6)
где
транз - суммарная мощность
подстанций, питающихся транзитом через РУ проектируемой; К”р -
коэффициент разновременности максимумов нагрузок проектируемой и смежных подстанций,
питающихся транзитом через РУ проектируемой, принимаемый 0,6...0,8.
Sтп = (2 × 2500 + 6000)
× 0,8 = 8800 кВ·А.
7. Максимальные рабочие токи сборных шин и
присоединений подстанции.
Вводы подстанций:
Iраб.макс =
, (2.7)
где Kпр - коэффициент перспективы развития подстанций и потребителей,
равный 1,3;
Sтп - максимальная полная
мощность трансформаторной подстанции, кВ·А; Uном - номинальное напряжение на вводах, сборных шинах подстанций и
потребителей, кВ.
Iраб.макс =
= 188 А.
Сборные шины РУ-35кВ:
Iраб.макс =
, (2.8)
где Kр.н - коэффициент распределения нагрузки на шинах распре-делительного
устройства, равный 0,5 ... 0,7.
Iраб.макс =
= 113 А.
Первичная обмотка трансформатора:
Iраб.макс =
, (2.9)
где Kпер - коэффициент допустимой перегрузки трансформаторов, равный 1,5; Sном.т - номинальная мощность трансформатора, кВ·А; Uном1 - номинальное первичное напряжение трансформатора, кВ.
Iраб.макс =
= 62 А.
Вторичная обмотка трансформатора:
Iраб.макс =
, (2.10)
где Uном2 - номинальное вторичное напряжение трансформатора, кВ.
Iраб.макс =
= 216 А.
Сборные шины РУ-10 кВ:
Iраб.макс =
, (2.11)
Iраб.макс =
= 173 А.
Линии потребителей:
Iраб.макс =
, (2.12)
где Pмакс - максимальная активная мощность потребителя, кВт;
- коэффициент мощности потребителей.
= 133
А
= 77 А
3.
Трансформаторные подстанции. Схема электрических соединений подстанции
.1
Распределительные устройства РУ-110 кВ концевой и ответвительной подстанции
.1.1
Выбор схем электрических подстанций
Схемы подстанций выбирают с учетом общей схемы
электроснабжения, т.е. вид схемы сетей ( радиальной или магистральной)
значительно влияет на вид схем подстанций , входящих в общую систему
электроснабжения.
Схемы подстанций все напряжений разрабатываются
исходя из следующих основных положений:
применение простейших схем с минимальным числом
выключателей;
преимущественного применения одной системы
сборных шин на ГПП и РП с разделением ее на секции;
применение, как правило, раздельной работы,
линии и раздельной работы трансформаторов;
применение блочных схем и бесшинных подстанций
глубоких вводов напряжением 110…220 кВ.
На вводах напряжение 6…10 кВ распределительных
подстанций и на вводах вторичного напряжения ГПП и ПГВ, как правило, следует
устанавливать выключатели для автоматического выключения резерва.
При секционировании разъединителями шин на
напряжении 6…10 кВ рекомендуется устанавливать два разъединителя
последовательно для безопасной работы персонала на отключенной секции, а то
также на самом секционном разъединителе при работающей другой секции.
для уменьшения токов КЗ в сетях напряжением 6…10
кВ следует применять трансформаторы с расщепленными вторичными обмотками. При
реактировании наиболее целесообразны схемы с групповыми реакторами в цепях
вторичного напряжения трансформаторов или на вводах питающих линий.
Трансформаторы тока и реакторы следует устанавливать после выключателя.
3.1.2
Схема РУ-110(220) кВ концевой и ответвительной подстанции
В современных условиях для
обеспечения надежности и экономичности электроснабжения потребителей необходима
совместная работа большого числа электростанций, подстанций и связывающих их
электрических сетей разных напряжений. Однако при этом электрические схемы
станций и подстанций должны обеспечивать соединение их отдельных элементов
достаточно просто, надежно и удобно. В условиях эксплуатации подстанций
возникает необходимость изменения схемы при выводе оборудования в ремонт,
ликвидации аварий. Чтобы можно было производить эти изменения электрических
схем, их элементы - трансформаторы, шины распределительных устройств (РУ),
воздушные и кабельные линии - соединяют друг с другом посредством
коммутационных аппаратов.
Главной схемой электрических
соединений или схемой первичной коммутации называется схема электрических
соединений основного электрооборудования, к которому относятся трансформаторы
силовые и измерительные, реакторы, коммутационные аппараты и соединяющие их
проводники. Для главных схем подстанций определяющими факторами являются
местоположение подстанции в энергосистеме и ее назначение, мощность,
перерабатываемая на подстанции и проходящая через нее транзитом, количество и
мощность трансформаторов и отходящих линий, уровни их напряжений, категории
потребителей, которые питаются по этим линиям.
По способу начертания главные схемы
подстанций подразделяются на многолинейные, на которых показываются все фазы
электроустановки и нулевой провод, и однолинейные, на которых изображается
только одна фаза, остальные ввиду их аналогичности не показываются. Графическое
изображение однолинейных схем значительно проще, повышается наглядность и
запоминаемость таких схем. Однолинейные схемы составляют для всей
электроустановки, те участки, схемы, где по фазам есть отличия, имеют многолинейное
изображение.
Выбранная схема при выполнении
электроустановки должна обеспечивать ряд условий:
· обеспечивать
надежность электроснабжения потребителей;
· осуществлять
эксплуатацию с минимальными затратами средств и расходом материалов;
· обеспечивать
безопасность и удобство обслуживания;
· исключать
возможность ошибочных операций персоналом в процессе срочных переключений.
Выполнение последнего условия
затрудняется при очень сложной схеме электроустановки, однако значительное
упрощение схемы может вызвать трудности для выполнения первого условия в
отношении надежности электроснабжения. Железнодорожные потребители в основном
относятся к первой и второй категориям, и для их питания используют чаще
трансформаторные подстанции с двумя трансформаторами, один из которых может
быть резервным. Для электроснабжения потребителей третьей категории применяют
схемы однотрансформаторных подстанций.
Однолинейная схема РУ-110 (220) кВ
концевой и ответвительной подстанций представлена на рис. 3.1. Питание на
трансформаторы Тх и Тг поступает от линии
электропередачи по вводам Wt и Wv на которых установлены разъединители QSt и QS1 типа РНДЗ-2-110 с дистанционными приводами типа ПДН-1. Между
вводами выполняется перемычка с двумя разъединителями QS3 и QSa, QS3 имеет привод ПДН-1, QS4 с ручным приводом ПР-90. На первичной стороне трансформаторов Т1
и Тг установлены разъединители QSs и QS6 такие же как на вводах, быстродействующие отделители QR1 и QR2, дополненные короткозамыкателями QN1 и QN2 Встроенные
трансформаторы тока TA1 и ТА2
необходимы для подключения амперметра и релейных защит. Наличие перемычки с
разъединителем, имеющим дистанционное управление, позволяет обеспечить питание
любого трансформатора по любому вводу или двух трансформаторов по одному вводу.
Второй разъединитель перемычки QS4 с ручным приводом
используется при ремонте QS3 для создания видимого
разрыва цепи, трансформатор Т2 остается в работе, получая
электроэнергию по вводу W2. Разрядники К, и FV2 типа РВС-110 защищают изоляцию РУ-110 кВ от перенапряжений.
Рис. 3.1. Схема РУ- 110 кВ концевой и
ответвительной подстанций
3.1.4 Расчет релейной защиты цеховых трансформаторов
Выбираем типы защит и определяем токи
срабатывания защиты и реле цехового трансформатора типа ТМ. Основные данные
трансформатора: номинальная мощность Sт.ном
= 630 кВ
А;
отношение номинальных первичного и вторичного напряжений U1т.ном
/ U2т.ном
= 6,3 / 0,4; относительное напряжение короткого замыкания трансформатора uк
= 5,5%; схема соединения обмоток «треугольник» - «звезда» с нулевым выводом;
номинальный первичный ток I1т.ном
= 55,5 А; номинальный вторичный ток I2т.ном
= 910 А.
Рассмотрим защиту цехового трансформатора при
междуфазных коротких замыканий в обмотках и на выводах высшего напряжения, а
также при перегрузке.
Для защиты трансформатора при междуфазных
коротких замыканий в обмотках и на выводах высшего напряжения принимаем токовую
отсечку без выдержки времени с использованием реле типа РТ-40. Схема соединения
трансформатора тока - не полная «звезда».
Ток срабатывания защиты (отсечки) определяем по
формуле
Iс.з
= kотс
Iк max,
где kотс
- коэффициент отстройки (принимаем kотс
= 1,4); Iк max
- ток, проходящий через трансформатор тока защиты при трехфазном коротком
замыканий на стороне низшего напряжения.
Находим Iк
max
по формуле
Iк max
= I(3)
=
(3.1)
Iк max
= I(3)
=
=
1009 А,
где I(3)
- ток трехфазного короткого замыкания.
Отсюда Iс.з
= 1,4 ×
1009 = 1412,6 А.
Ток срабатывания реле:
Iс.з
=
,
(3.2)
Iс.з
=
=
47 А.
На основании полученных значений выбираем реле
тока РТ - 40/100 и промежуточное реле РТ - 26.
Для защиты цехового трансформатора при
перегрузке принимаем максимальную токовую защиту, устанавливаемую со стороны
высшего напряжения трансформатора, выполняемую с помощью одного токового реле,
включенного на фазный ток, и действующую на сигнал с выдержкой времени.
Максимальную токовую защиту отстраиваем от номинального тока трансформатора.
Ток срабатывания защиты:
Iс.з
=
I1т.ном,
(3.3)
Iс.з
=
55,5
= 72,8 А.
Ток срабатывания реле:
Iс.з
=
Iс.з, (3.4)
Iс.з
=
=
2,42.
Выдержку времени максимальной токовой защиты
выбираем больше времени защиты трансформатора от коротких замыканий.
4.
Короткое замыкание в электроэнергетических системах переменного тока
.1
Термическое действие токов короткого замыкания
.1.1
Виды замыканий в электрических сетях
Электрические сети характеризуются
нормальным, ненормальным и аварийным режимами работы. При нормальном режиме
по всем элементам сети протекают рабочие токи, не превышающие допустимых,
электроэнергия передается от источников питания к потребителям с нормальными
расчетными потерями напряжения и электроэнергии на всех элементах сети. При
ненормальном режиме (например, перегрузке) допускается работа электроустановки
в течение определенного времени, после чего должно следовать отключение.
Аварийный режим работы характеризуется резким изменением ряда параметров
(повышение тока, снижение напряжения) и требует немедленного отключения
электроустановки.
Большая часть аварий в электрических
сетях вызывается короткими замыканиями (КЗ), основной причиной которых является
нарушение изоляции токоведущих частей. Механические повреждения изоляции
возникают, например, при повреждении изоляции силовых кабелей во время земляных
работ, при падении опор воздушных линий или обрыва проводов. Повреждения
изоляции могут иметь место при перенапряжениях, например, при прямых ударах
молнии в провода воздушных линий или открытых электроустановок. Короткие
замыкания возможны также вследствие перекрытия токоведущих частей птицами и
животными или ошибочных действий персонала.
При возникновении КЗ общее
электрическое сопротивление электрической системы уменьшается, токи и углы
между токами и напряжениями увеличиваются, напряжения в отдельных частях
системы снижаются. Токи КЗ могут в десятки, сотни раз превышать рабочие токи
элементов электроустановок и достигать десятков тысяч ампер. Наступление
аварийного режима КЗ приводит к значительным электродинамическим (механическим)
и термическим (тепловым) воздействиям на токоведущие части и
электрооборудование.
В трехфазных сетях переменного тока
различают пять основных видов коротких замыканий (рис. 4.1): однофазное
двухфазное
двухфазное
на землю
трехфазное
и
трехфазное на землю
. Если все виды КЗ принять за 100%,то относительная частота
появления замыканий в сети составляет: однофазных - 65%; двухфазных - 10%;
двухфазных на землю - 20%; трехфазных и трехфазных на землю - 5%.
Рис. 4.1. Виды КЗ в
трехфазной системе с заземленной нейтралью
Однофазные замыкания в
системе с заземленной нейтралью возникают
при пробое изоляции фазы системы на землю и являются короткими. Под действием
напряжения поврежденной фазы (на рис. 4.1 -
) протекает ток, который достигает большого значения, так как
сопротивление цепи невелико
Где
- напряжение фазы С источника питания, В;
-
сопротивление цепи однофазного КЗ, Ом.
Величина однофазного тока при КЗ на
шинах генератора в 1,5 раза превышает ток двухфазного КЗ и в 2,5 раза -
трехфазного КЗ. Однако его можно существенно снизить за счет включения в
заземление нейтрале N большого активного или индуктивного сопротивления. В результате
этого наибольший возможный ток однофазного КЗ не превышает тока трехфазного КЗ.
Однофазные замыкания в системе с изолированной нейтралью не являются
короткими, а значит и аварийными. На рис. 4.2, а показана схема системы
с изолированной нейтралью. Каждая фаза системы обладает относительно земли
некоторой емкостью, равномерно распределенной по длине линии. Для упрощения на
схеме заменяем распределенную емкость фазы, емкостью, сосредоточенной посредине
линии. При повреждении изоляции одной из фаз, например Сс, и
замыкании ее на землю, через место соединения с землей будет проходить ток ,
который вернется в сеть через емкости СВ и СА.
Емкостные сопротивления между фазами и землей достаточно велики, поэтому ток /,
как правило, не превышает нескольких десятков ампер и носит емкостный характер
(
). Величина
зависит
от напряжения и протяженности сети, конструктивного выполнения линий (кабельное
или воздушное).
Рис. 4.2: а - схема системы с
изолированной нейтралью; б - векторная диаграмма напряжений системы при
однофазном замыкании на землю
Приближенно ток Iс можно определить по формулам: для сетей с воздушными линиями
,А
для сетей с кабельными линиями
Где U - линейное напряжение
сети, кВ;
l- длина электрически связанных линий сети данного напряжения, км.
Из векторной диаграммы (рис. 4.2, б)
видно, что при замыкании на землю одной фазы напряжение нейтрали повышается
относительно земли на величину фазного напряжения, а напряжения двух других фаз
относительно земли становятся равными линейным U'А = UAC, U'B = UBC , то есть
возрастают в
раз (U'A =
U'A ;
)-
Изоляция фаз сети относительно земли должна быть выполнена на линейное
напряжение.
Длительная работа сети с замкнутой
на землю фазой недопустима, так как в случае повреждения изоляции какой-либо
другой фазы относительно земли возникает двухфазное КЗ через землю,
сопровождающееся протеканием большого тока, который может вызвать значительное
разрушение электрооборудования. Поэтому в сетях с изолированной нейтралью
обязательно предусматривают защиту, извещающую персонал о возникновении такого
ненормального режима работы. В сетях генераторного напряжения, а также в сетях,
к которым подключены электродвигатели напряжением выше 1000 В, при появлении однофазного
замыкания в обмотке статора машина должна автоматически отключаться от сети,
если ток замыкания на землю превышает 5 А. При токе замыкания, не превышающем 5
А, допускается работа не более 2 ч, по истечении которых машина должна быть
отключена. Если установлено, что место замыкания на землю находится не в
обмотке статора, по усмотрению ответственного.за электрохозяйство, допускается
работа вращающейся машины с замыканием в сети на землю продолжительностью 6 ч.
В электрических сетях 6-35 кВ с изолированной нейтралью работа воздушных и
кабельных линий электропередачи с замкнутой на землю фазой допускается, но
персонал должен приступить к отысканию места повреждения и немедленно устранить
повреждение в кратчайший срок.
Более опасно однофазное замыкание на
землю через электрическую дугу, так как последняя может повредить
электрооборудование. При определенных условиях в месте замыкания на землю может
возникнуть так называемая перемежающаяся дуга, которая периодически
гаснет и зажигается вновь. Так как сеть обладает индуктивностью, то в моменты
гашения и зажигания дуги в индуктивных элементах наводится Э.Д.С., величина
которой пропорциональна скорости изменения тока
Скорость изменения тока
в момент возникновения и гашения перемежающейся дуги велика, и
возникающая э.д.с. может превышать напряжение сети в несколько раз
. Эти перенапряжения распространяются на всю электрически
связанную сеть, в результате чего возможны пробои изоляции и образование
коротких замыканий в частях электроустановки с ослабленной изоляцией.
В электросетях напряжением 6-10 кВ
перенапряжения, вызванные перемежающейся электрической дугой, неопасны для
изоляции электрооборудования. В противоположность этому в электросетях
напряжением 35 кВ и выше перенапряжения, возникающие при образовании
перемежающейся дуги, опасны для изоляции. В таких сетях ток замыкания на землю
не должен превышать 10 А (
10 А),
так как при большем токе в месте замыкания на землю, как правило, возникает
перемежающаяся электрическая дуга. Сети напряжением 110 кВ с незаземленными
нейтралями, как правило, не работают, так как при их значительной протяженности
и высоком напряжении, ток
в этих
сетях всегда превышает 10 А.
Заземление нейтрали приводит к
увеличению числа аварийных ситуаций, т. к. замыкания на землю, составляющие 65%
от всех видов замыканий, становятся короткими и требуют немедленного отключения
поврежденного элемента сети, что является существенным недостатком такой сети.
Практика эксплуатации электроустановок напряжением выше 1000 В показывает, что
большая часть однофазных замыканий в воздушных электросетях носит
кратковременный характер, изоляция в месте замыкания на землю быстро
восстанавливается после отключения поврежденного участка, и линия
электропередачи может быть немедленно включена в работу с помощью устройств
автоматического повторного включения (АПВ). Если замыкание на землю носило
временный характер (схлестывание проводов ЛЭП при сильном ветре, перекрытие
изоляции птицами и т. д.), то линия включается и питание потребителей
восстанавливается в течение нескольких секунд. В противном случае линия
отключается вторично.
Достоинством сетей с заземленными
нейтралями является то, что при однофазных замыканиях на землю напряжение
неповрежденных фаз по отношению к земле не повышается, остается равным фазному.
Благодаря этому, за счет облегчения изоляции фаз по
отношению к земле существенно
уменьшаются расходы на сооружение таких сетей. Достигаемая экономия тем больше,
чем выше напряжение сети.
Сети напряжением выше 1000 В с
заземленными нейтралями и токами замыкания на землю более 500 А относятся к
сетям с большими токами замыкания на землю. Сети с незаземленными нейтралями
или с нейтралями, заземленными через токоограничивающие устройства с большими
сопротивлениями, напряжением до 35 кВ и токами замыкания на землю до 500 А
относятся к сетям с малыми токами замыкания на землю.
4.1.2
Переходные процессы при коротких замыканиях
Величина и характер изменения тока
КЗ в электрической сети зависит от целого ряда факторов: параметров сети
(мощности активного и реактивного сопротивлений до точки КЗ, напряжения в точке
КЗ); вида КЗ (однофазное, двухфазное, трехфазное); фазы напряжения; времени с
момента возникновения КЗ; режима работы сети до КЗ (холостой ход, нагрузка).
Рассмотрим наиболее простой и часто
встречающийся случай КЗ в системе неограниченной мощности, за которую
условно принимают очень мощную систему, напряжение на шинах которой (
) и частоту можно считать неизменными при любых изменениях тока
(даже при КЗ) в присоединенной к ней маломощной цепи. Мощность такой системы
считается бесконечно большой (
,а
сопротивления равны нулю (
), при
этом падение напряжения в системе также равно нулю.
Рис. 4.3. Расчетная схема для определения тока
трехфазного КЗ.
На рис. 4.3 представлена расчетная
схема для определения тока трехфазного КЗ на линии. Действующее значение
трехфазного тока КЗ можно определить по формуле
Где
действующее значение трехфазного тока КЗ, кА;
-
среднее напряжение фазы на шинах питающей системы, кВ;
R и X - суммарное активное и индуктивное сопротивления цепи
КЗ, Ом.
Учитывая, что в электросетях
напряжением выше 1000 В обычно
, и,
упростив обозначение тока трехфазного КЗ
(
действующее значение трехфазного тока КЗ можио определить по
формуле
Рассмотрим процесс перехода от
нормального режима работы сети к установившемуся4>ежиму КЗ. На рис. 2.4
изображена векторная диаграмма напряжений и тока фазы В в момент
возникновения КЗ (t - 0). Напряжение фазы В
в этот момент равно 0, а ток /в отстает от напряжения на угол ср.
При КЗ 'ток должен резко возрасти до 1ш и отстать от
напряжения UB на угол фк = 90°, так как
Рис. 4.4. Векторная и
временная диаграммы изменения тока трехфазного КЗ
цепь КЗ практически чисто
индуктивная. Во всех индуктивных элементах цепи КЗ наводится э.д.с., которая
создает в цепи ток
-
амплитудное значение периодической составляющей тока КЗ;
- ток
нормального режима работы в момент времени t = 0.
Апериодическая составляющая тока КЗ
в начальный момент (отрезок ОВ) препятствует броску тока в цепи до
амплитудного значения (отрезок АБ), и он остается равным
. Переход от
к
(векторная диаграмма) продолжается в течение 10
12 периодов вращения векторной диаграммы с угловой скоростью ω.
Ток
, возникший в результате перехода части энергии магнитного поля в
электрическую, с течением времени уменьшается, так как электрическая энергия
переходит в тепловую на активных сопротивлениях цепи RΣ
Затухание тока происходит по
экспоненциальному закону
Где
- апериодический ток в момент времени t;
-
апериодический ток в момент времени 0;
е = 2,72 - основание натурального
логарифма;
t - время, прошедшее с момента возникновения КЗ до момента, где
определяется
;
Та - постоянная времени затухания апериодического тока.
Постоянная времени цепи КЗ Та
определяется по формуле
Где
- суммарная индуктивность короткозамкнутой цепи;
-
угловая частота.
При f = 50 Гц со = 314 об/с.
Таким образом, в цепи КЗ действуют
две составляющие тока: периодический, протекающий под действием синусоидального
напряжения сети, и апериодический (непериодический), затухающий по экспоненте.
На самом деле в цепи протекает один ток iKi, равный алгебраической сумме двух его составляющих токов в момент
времени t
Рассматривая кривую тока ikt, видим, что через полпериода (0,01 с) ток достигает максимального
значения, которое называется ударным током короткого замыкания
Согласно выражению
имеет наибольшее значение при максимально возможной
величине iao. По выражению это будет
иметь место при iно = 0, то есть до
короткого замыкания ток в цепи отсутствовал. Таким образом, расчетными являются
условия, при которых мгновенные значения напряжения и тока рассматриваемой фазы
равнялись нулю непосредственно перед возникновением КЗ. При этих условиях можно
записать
В цепях напряжения выше 1000 В с
относительно малым активным сопротивлением
0,05 с. Подставив в формулу вместо
его выражение через действующее значение тока
, получим формулу ударного тока
Ударный коэффициент ТС тока
короткого замыкания учитывает долю участия апериодической составляющей тока КЗ
в образовании ударного тока:
Учитывая, что в установившемся
режиме КЗ действует только периодическая составляющая тока КЗ, то можно
обозначить
определяется
по формуле.
Окончательно получаем
Определим возможные пределы
изменения ударного коэффициента. В цепях, обладающих только индуктивным
сопротивлением (
= 0),
В цепях, обладающих только активным
сопротивлением (Х∑ = 0),
Таким образом, 2 >
>1.
При
= 0,05 с
= 1,8, при этом получим
Наибольшее действующее значение
ударного тока в течение первого периода КЗ определяется уравнением
Где
- действующее значение апериодической составляющей тока КЗ в
момент времени 0,01 с, которое можно принять равным
,
Из выражения можно определить
мгновенное значение апериодической составляющей ударного тока
После затухания апериодической
составляющей тока КЗ заканчивается переходный процесс и наступает
установившийся режим КЗ, в котором ток изменяется синусоидально и его
действующее значение до отключения не меняется.
4.1.3
Режим нагрева элементов электрических установок токами- термическое действие
токов короткого замыкания
Различают два основных режима
нагрева элементов электроустановок токами: длительный нормальный режим работы и
кратковременный режим короткого замыкания.
Температура нагрева проводника в
нормальном режиме зависит от величины протекающего по нему рабочего тока /раб
и определяется по формуле
Где
- начальная температура проводника в момент возникновения режима
КЗ (рис. 4.5);
-
температура окружающей среды;
-
допустимая температура нагрева проводника максимальным рабочим током
;
-
рабочий ток, протекающий по проводнику перед возникновением КЗ;
-
максимальный допустимый ток рабочего режима.
Рис 4.5. Диаграмма изменения температуры
проводника при нагреве его током КЗ.
Таблица 4.1.
Допустимые температуры нагрева шин и кабелей длительными рабочими и
кратковременными токами КЗ
|
Вид
проводника
|
|
|
С,
|
|
Шины:
медные алюминиевые стальные Кабели с бумажной пропитанной изоляцией на
напряжение, кВ 3 6 10 20 и 25 Кабели и изоляционные провода с изоляцией:
поливинилхлоридной (ПВХ) и резиновой полиэтиленовой
|
+
70 + 70 + 70 + 80 + 65 + 60 + 50 + 55 + 55
|
300
200 300 200 200 200 125 150 120
|
0,171
0,088 0,06 0,141/0,085 0,141/0,085 0,141/0,085 0,141/0,085 0,114/0,075
0,094/0,065
|
|
Примечание:
коэффициент С в числителе - для кабелей с медными жилами, в знаменателе - с
алюминиевыми.
|
Надежная работа проводников
электроустановки в нормальном режиме может быть обеспечена только при условии,
что
, т.е.
При коротком замыкании время
протекания тока до отключения обычно не превышает нескольких секунд или даже
долей секунды, поэтому можно не учитывать отдачу тепла в окружающую среду и
считать, что все тепло, выделяемое в проводнике за время КЗ, идет на повышение
его температуры (адиабатический процесс нагрева). Так как токи КЗ во много раз
превышают рабочие, температура проводников, несмотря на кратковременность,
может достигать очень больших значений максимально допустимый нагрев
токоведущих частей током КЗ определяется тепловыми свойствами их изоляции и
условиями сохранения механической прочности металла проводника. При недопустимо
высоких температурах нагрева происходит быстрое старение изоляции проводников и
их отжиг.
Рис.4.6. Диаграмма для определения
температуры нагрева проводника при КЗ.
Проверим на термическую стойкость
шины распределительного устройства типа А-30
4 с длительно допустимым током
= 365 А, по которым в рабочем режиме протекает ток
= 200 А. Ток короткого замыкания
= 10 кА отключается после возникновения режима КЗ через время
= 1,4 с.
Так как шины расположены на воздухе,
то принимаем температуру окружающей среды
= +25°С, допустимую температуру берем из табл. 4.1.
= +70°С.
Начальная температура шин в режиме
КЗ по формуле
Тепловой импульс Вк
по формуле
По кривым рис. 4.6. определяем
, соответствующее
= 38,5°С Для алюминиевых шин
=
По формуле определяем
:
Если расчет показывает, что при
принятом по нормальному режиму работы сечении токоведущих частей температура
нагрева при КЗ получится недопустимо большой (
), то целесообразно в целях ускорения расчетов определить
минимально допустимое сечение токоведущей части по условиям нагрева ее током
КЗ. Минимальное сечение определяется по наиболее сложным исходным условиям,
когда нагрев проводника перед началом режима КЗ достигает максимально допустимого
значения (
), а в
результате протекания тока КЗ температура нагрева к моменту отключения
достигнет максимального значения (
). На основе сказанного выражение () можно записать
Правая часть этого выражения в
каждом конкретном случае может быть определена по кривым рис. 4.6, а
и
для
этого расчета могут быть взяты из табл. 4.1.
Из выражения () можно определить
минимальное допустимое сечение
Обозначим
, тогда
Коэффициент С принимается по
табл.4.1.
По
подбирают ближайшее большое стандартное сечение проводника по
соответствующим справочным таблицам.
Если сечение проводника
предварительно выбрано по рабочему режиму, то он будет термически стоек, если
выполняется условие
Где q - выбранное сечение
проводника, мм2.
5.
Качество электрической энергии в системах электроснабжения
.1
Показатели и нормы качества электрической энергии: несинусоидальность
напряжения
.1.1
Несинусоидальность напряжения
Несинусоидальность напряжения
появляется потому, что в кривой напряжения, помимо гармоники основной частоты
имеют место гармоники
других высших частот, кратных основной частоте
. Гармоники
обычно
определяются разложением кривой фактического напряжения в ряд Фурье.
Причиной возникновения
несинусоидальности напряжения является наличие потребителей электроэнергии с
нелинейной вольт-амперной характеристикой. Основной вклад в несинусоидальность
напряжения вносят тиристорные преобразователи электрической энергии, получившие
широкое распространение в промышленности.
Несинусоидальность напряжения
характеризуется следующими показателями: коэффициентом искажения
синусоидальности кривой напряжения; коэффициентом п-й гармонической
составляющей напряжения.
Коэффициент искажения синусоидальности
кривой напряжения
%,
является отношением суммарного действующего значения всех высших гармоник к
действующему значению напряжения основной гармоники, причем п > 2:
Таблица 5.1 Значение коэффициента искажения
синусоидальности кривой напряжения, %.
|
Нормально
допустимое значение при
|
Предельно
допустимое значение при
|
|
0,38
|
6…20
|
35
|
110..330
|
0,38
|
6…20
|
35
|
110…330
|
|
8,0
|
5,0
|
4,0
|
2,0
|
12,0
|
8,0
|
6,0
|
3,0
|
При определении коэффициента
искажения синусоидальности кривой напряжения допускается не учитывать
гармонические составляющие порядка п > 40 или действующее значение
которых менее 0,3 от
Коэффициент n-й гармонической
составляющей
%,
является отношением действующего значения напряжения n-и гармоники
к действующему значению напряжения первой гармоники:
Предельно допустимое значение
коэффициента n-й гармонической составляющей напряжения вычисляют по формуле
5.1.2
Влияние несинусоидальности напряжения
Для оценки влияния напряжения высших
гармоник на напряжение в сети рассмотрим, как меняется мгновенное (или
действующее) значение напряжения на зажимах электроприемника в этом случае
(рис. 5.1).
Допустим, что в сети появляется
напряжение высшей гармоники с порядковым номером 2 (вторая гармоника),
очевидно, что возрастает амплитудное значение напряжения, а также его
действующее значение.
Воздействие тока второй гармоники ( f = 100 Гц) аналогично
воздействию обратной последовательности, тока третьей гармоники ( f = 150 Гц) - появлению
нулевой последовательности. При появлении тока гармоники с большим порядковым
номером проявляется поверхностный эффект (вытеснение тока к поверхности
проводника), что приводит к дополнительным потерям тепла, нагреву изоляции
электрооборудования и снижению срока его службы.
Рис. 5.1.Влияние напряжения высшей гармоники на
результирующее напряжение сети.
В целом несинусоидальные режимы
обладают теми же недостатками, что и несимметричные. Однако несинусоидальные
токи приводят к большему дополнительному нагреву вращающихся машин, а также к
большему дополнительному нагреву и увеличению диэлектриче- сих потерь в конденсаторах,
кабелях.
Проникновение высших гармоник в сеть
приводит к нарушениям работы устройств телемеханики, автоматики, релейной
защиты. В сети возможно возникновение резонансных режимов на высших гармониках,
при этом резко возрастают токи и напряжения на отдельных участках сети.
Заключение
В своей курсовой работе, я раскрыл тему:
«Распределительное устройство РУ-220 кВ, проходной подстанции». Согласно
условию моего задания, передо мной были поставлены следующие задания, а именно:
· выбрать и охарактеризовать основное
электрооборудование подстанции;
· произвести расчет мощности
электрической подстанции;
· составить схему распределительного
устройства РУ-220 кВ, проходной подстанции;
· рассмотреть несимметричные короткие
замыкания;
· проанализировать влияния качества
электроэнергии на работу электрических приемников.
В курсовой работе я составил и охарактеризовал
схему подстанции, которая связывается с назначением, способом присоединения
подстанции к питающей сети и должна:
· обеспечивать надежность электроснабжения
потребителей подстанции и перетоков мощности по межсистемным или магистральным
связям в нормальном и в послеаварийном режимах;
· учитывать перспективу развития;
· допускать возможность постепенного
расширения РУ всех напряжений;
· учитывать требования
противоаварийной автоматики;
· обеспечивать возможность проведения
ремонтных и эксплуатационных работ на отдельных элементах схемы без отключения
соседних присоединений.
Я показал несимметричные короткие замыкания.
В результате выполнения курсовой работы , я
рассмотрел влияния качества электрической энергии на работу электроприемников.
Охарактеризовал свойства электрической энергии, дал характеристику показателям
качества электроэнергии и представил вероятных виновников ее ухудшения.
Курсовая работа мною выполнена и представлена в
полном объеме.
Литература
1. Князевский Б.А., Липкин Б.Ю
Электроснабжение промышленных предприятий. - Мн. : Выш. Школа, 2009.
2. Липкин Б.Ю. Электроснабжение
промышленных предприятий и установок. - М. : Высш. Школа, 2012.
. Федоров А.А., Старкова Л.Е.
Учебное пособие для курсового и дипломного проектирования. - М. :
Энергоатомиэдат, 2007.
. Справочник по
проектированию электроснабжения / Под ред. Ю.Г. Барыбина и др. - М. :
Энергоатомиэдат, 2010.
. Правила устройства
электроустановок. - М. : Энергоатомиэдат, 1985.
. Инструкция по
проектированию электроснабжения промышленных предприятий. - М. : Стройиздат,
2012