Разработка автономного источника питания на основе радиоизотопных материалов и кремниевой P-I-N структуры
Министерство
образования и науки Российской Федерации
Федеральное
государственное бюджетное образовательное
учреждение
высшего профессионального образования
«Смоленский
государственный университет»
ДИПЛОМНАЯ
РАБОТА
Разработка
автономного источника питания на основе радиоизотопных материалов и кремниевой
P-I-N структуры
студента 5 курса
физико-математического
факультета
Бессарабова Ильнура
Магомедовича
Смоленск
2013
Содержание
Определения,
обозначения и сокращения
Введение
. Аналитический обзор современной
научно-технической литературы в области разработки радиоизотопных источников
питания
.1
Аннотация
.2
Классификация преобразователей ионизирующего излучения
.3
Исследование двух ступенчатых преобразователей
.3.1
Термические преобразователи
.3.2
Исследование конструкций преобразователей с косвенным преобразованием
.4
Исследование прямого преобразования ионизирующего излучения
.4.1
Преобразование энергии бета распада в электрическую энергию с использованием
твердотельных полупроводников
.4.2
Преобразование энергии бета распада в электрическую энергию с использованием
жидких полупроводников
.4.3
Преобразование энергии бета распада в электрическую энергию с использованием
механических устройств
.5
Описание различных полупроводниковых материалов для бетавольтаических
преобразователей
.5.1
Кремний
.5.2
Карбид кремния
1.5.3
Нитрид галлия
.5.4
Алмаз
.6
Определение областей применения радиоизотопных источников питания
.7
Выводы по главе
. Проведение патентных исследований в
соответствии с ГОСТ 15.011-96
. Обоснование выбора направления
исследований по созданию радиоизотопного источника питания
. Проведение компьютерного
моделирования различных вариантов конструкций элементарных ячеек автономного
источника питания. Выбор оптимальной конструкции элементарной ячейки
.1
Моделирование работы радиационно-стимулированных источников питания
.2
Программная среда для моделирования характеристик кремниевых
бета-стимулированных источников
.2.1
Исходные данные для расчета
.3
Расчет основных параметров кремниевых бета-стимулированных источников питания
.3.1
Анализ энергии потерь электронов в полупроводниковой структуре
.3.2
Оценка влияния времени жизни электронов р-области
.3.3
Оценка влияния времени жизни дырок в i- и n- областя
.3.3
Оценка влияния уровня легирования слаболегированной n-области
.3.4
Оценка эффективности структуры
.4
Выбор оптимальной конструкции элементарной ячейк
.5
Выводы к главе
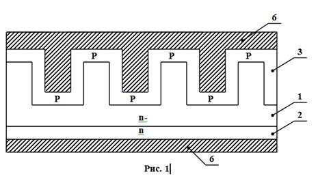
. Разработка эскизной конструкторской
документации элементарной ячейки автономного источника питания на основе радиоизотопных
материалов и кремниевой p-i-n структуры
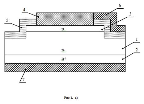
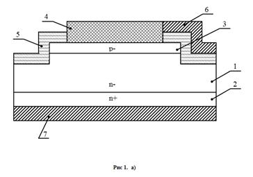
5.1Эскизная конструкторская
документация элементарной ячейки автономного источника питания на основе
радиоизотопных материалов и кремниевой p-i-n структуры представлена в отдельном
документе
. Расчет основных параметров
радиоизотопного материала. Выбор оптимального по радиоактивности и геометрии
радиоизотопа
.1
Анализ радиоизотопных материалов
.1.1
Альфа источники
.1.2
Бета источники
.2
Расчет оптимальной геометрии радиоизотопа
.3
Выводы по главе
. Разработка эскизной конструкторской
документации на измерительный стенд для проверки параметров экспериментальных
образцов автономного источника питания на основе радиоизотопных материалов и
кремниевой p-i-n структуры
Выводы
по главе
. Составление рекомендаций по
улучшению параметров автономного источника питания
.1
Структуры автономных источников питания
.2
Рекомендации по улучшению параметров автономных источников питания
.3
Выводы по главе
Заключение
Список
использованных источников
Приложения
Определения, обозначения и сокращения
радиоизотопный распад
полупроводник радиоактивность
ПНИ
- прикладная научная работа
ТЗ
- техническое задание
ПГ
- план график
МЭМС
- микроэлектромеханические системы
РИТЭГ
- радиоизотопный термоэлектрический генератор
КПД
- коеффициент полезного действия
ЭДП
- электронно-дырочные пары- металлически-органическое химическое осаждение из
паровой фазы- реактивное ионно-плазменное травление
ВОИС
- всемирная организация интеллектуальной собственности
ВАХ
- вольтамперная характеристика
ОПЗ
- область пространственного заряда
Введение
Разработка автономных источников питания со
скором службы более 10 лет в настоящее время является острой проблемой в
развитии устройств находящихся на удалении от стационарных источников питания,
или в труднодоступных местах. Примером таких устройств является: морской и
космической техники, приборов для освоения дальнего севера.
Для решения данной проблемы можно использовать
радиоизотопные источники энергии. Срок их службы определяется периодом полураспада
и может составлять десятки и сотни лет. Наиболее перспективное направление
преобразования ионизирующего излучения радиоизотопных источников это создание
полупроводниковых бетавольтаических батарей. В мире имеются бетавольтаические
батареи, основанные на p-n переходах и барьерах Шоттки в кристаллах кремния,
карбида кремния, нитриде галлия, однако, несмотря на обилие исследований, к
настоящему моменту в мире отсутствуют технологии создания компактных
радиоизотопных источников электроэнергии, мощность которых была бы достаточна
для основного питания.
Из приведенного в первой главе дипломной работы
анализа специальной зарубежной литературы и патентных исследований следует, что
в последнее время большое развитие получили маломощные
радиационно-стимулированные источники питания на основе бета изотопов.
Автором предложены
новые конструкции бетавольтаических батареек, созданных по технологии травления
глубоких вертикальных канавок и химико-динамического травления.
Очевидно, что для достижения поставленной цели −
создания нового автономного источника питания на основе радиоизотопных
материалов с радикально лучшими характеристиками необходимо решение следующих
задач:
− разработка математической модели
элементарной ячейки автономного источника питания;
− выбор оптимального радиоизотопа;
− разработка конструкций элементарной
ячейки автономного источника питания;
− разработка технологии изготовления
автономного источника питания;
− изготовление экспериментальных образцов
автономного источника питания, с напряжением холостого хода 0,3 В и током
короткого
замыкания 40 нА;
− разработка методики исследований
экспериментальных образцов автономного источника питания;
− проведение исследований
экспериментальных образцов автономного источника питания;
− разработка ЕСКД и ТЗ на ОКР.
1.
Аналитический обзор современной научно-технической литературы в области
разработки радиоизотопных источников питания
.1 Аннотация
Радиоизотопные источники энергии - устройства
различного конструктивного исполнения, использующие энергию, выделяющуюся при
радиоактивном распаде, для нагрева теплоносителя или преобразующие её в
электрическую энергию. Радиоизотопный источник энергии принципиально отличается
от атомного реактора тем, что в нём используется не управляемая цепная реакция,
а энергия естественного распада радиоактивных изотопов. Устройство,
генерирующее электрический ток вследствие облучения заряженными частицами,
испускаемыми радиоактивным изотопом называется радиоизотопная батарея.
Впервые устройство для преобразования
радиоактивного распада продемонстрировал Генри Мозелей в 1913 г. Такие батареи
могут генерировать электричество более 10 лет [1].
Радиоизотопные источники электрической энергии
могут произвести прорыв в микроэлектронике, используя их в
микроэлектромеханических системах (МЭМС) и нанотехнологиях. Отпадет
необходимость в использовании проводов и трансформаторов для нового поколения
микроприборов. Радиоизотопные источники энергии, обладают более высокой
выходной плотностью мощности, чем химические батареи.
Радиоизотопные генераторы не зависят от условий
окружающей среды и могут работать в большом диапазоне температур, давления, и
под водой. Такие генераторы автономны и не нуждаются в перезарядке.
1.2 Классификация преобразователей ионизирующего
излучения
Преобразователи ионизирующего излучения можно
разделить на две группы - термические и нетермические (рисунок 1).
|
Тип
преобразователя
|
|
|
Термические
|
|
Нетермические
|
|
|
|
Косвенное
преобразование
|
|
Прямое
преобразование
|
|
|
Термоэлектрические
|
|
Термоионические
|
|
Фотогальванические
батареи
|
|
Бетавольтаические
батареи
|
|
|
Электрическая
энергия
|
|
|
|
|
|
|
|
|
|
Рисунок 1 - Преобразователи ионизирующего
излучения
В термических преобразователях электричество
генерируется за счет разницы температур. Такие преобразователи включают в себя
термоэлектрические генераторы и термоионные генераторы. Другие преобразователи
не используют разницу температур для генерации электричества, а используют
энергию падающего излучения. Так же существует два способа преобразования.
Прямое преобразование, когда электронно-дырочные пары генерируются при пролете
частицы через бетавольтаическую батарею.
Косвенное преобразование состоит из превращения
энергии распада радиолюминесцентными материалами в фотоны, которые будут
преобразованы в электрическую энергию фотогальваническими батареями. Это -
двухступенчатое превращение: радиоактивное излучение свет электрическая
энергия. Далее рассмотрим более подробно основные типы преобразователей.
1.3 Исследование двух ступенчатых
преобразователей
.3.1 Термические преобразователи
Энергия ионизирующего излучения может быть
преобразована в электрическую за счет превращения кинетической энергии частиц,
образованных в процессе радиоактивного распада. Система, которая
преобразовывает тепловую энергию в электрическую энергию называется термоэлектрической
системой. Эти системы основаны на эффекте Зеебека, который вызванный
результатом градиента температуры между двумя ветвями электрической цепи,
составленной из различных проводников или полупроводников. В качестве
термоэлектрических элементов в основном используются материалы, такие как
теллурид висмута, кремний, германий.
В качестве источника тепла используются
радиоизотопы, испускаемые им частицы, преобразовываются в тепловую энергию.
Источник тепла связан с термоэлектрическими элементами тепловой изоляцией,
температура горячего спая в преобразователях может достигать 270 0С.
Эффективность преобразования таких источников энергии составляет
5 %, однако при снижении объема преобразователя эффективность снижается до 0.3
- 0.5% [2]. Принципиальная схема радиоизотопного термоэлектрического генератора
(РИТЭГ) показана на рисунке 2, рисунок взят из работы [3].
Рисунок 2 − Принципиальная схема РИТЭГ
Первые радиоизотопные термоэлектрические
генераторы нашли свое применения для освоения космического пространства. По
массовой и объёмной энергоёмкости распад используемых изотопов в 4-50 раз
уступает делению ядер урана и плутония, и превосходит химические источники в
десятки и сотни тысяч раз.
В 50-е годы в США разрабатывался автономный
источник энергии, который можно использовать в удаленных местах в течение
долгого промежутка времени без обслуживания. Результатом выполнения этой
программы явилось появление таких источников на космических спутниках
(«Вояджер», «Галилео», «Кассини») [4,5]. В настоящее время в США радиоизотопная
энергетика стала самостоятельной областью энергетики, что подтверждается
организацией отдела систем радиоизотопной энергии при министерстве энергетики
США.
На космических аппаратах «Космос», собранных в СССР,
использовались радиоизотопные генераторы на основе полония [6]. С падением
мощности производимой радиоизотопом время между сеансами увеличивали с
нескольких часов в начале работы до нескольких суток в конце срока службы.
Для повышения выходной мощности и эффективность
преобразования при сокращении объема был разработан РИТЭГ, работающий на основе
PuO2-238. Получаемая плотность выходной мощности первых образцов РИТЭГ
составила 104 мкВт/см3 с эффективностью преобразования 0,3%. Конструкция РИТЭГ
показана на рисунке 3 [7].
Рисунок 3 - РИТЭГ на основе радиоизотопа
PuO2-238
Существующих в настоящее время РИТЭГ имеют массу
недостатков. Во первых, это большой вес, который может достигать 57,8 кг [8].
Помимо веса радиоактивного материала недостатком, является необходимость
использования систем защиты от излучения и систем охлаждения для отвода тепла,
образующегося при радиоактивном распаде. Так же РИТЭГ требуют большого
количества радиоактивных нуклидов, малое количество изотопов не производит
достаточно энергии. У миниатюризованных термоэлектрических приборов низкая
надежность, связанно это с большим количеством термоэлементов, тепловым
напряжением и сопротивлением контактов.
Использование чистых бета-изотопов с энергией меньше
чем 200 - 300 кэВ является относительно безопасным. Радиоизотопы трития и Ni63
не требуют тяжелых защитных экранов. Испускаемая ими мощность при бета-распаде,
недостаточна для использования их в РИТЭГ, зато они хорошо подходят для
использования в бетавольтаических батареях для генерации энергетической
энергии. Задача электрического питания большинства схем уже решена, не решенной
остается задача питания микроэлектромеханических систем и миниатюрных датчиков.
В связи с этим наиболее актуальной задачей является создание миниатюрного
элемента питания для применения его в микроэлектромеханических системах.
.3.2 Исследование конструкций преобразователей с
косвенным преобразованием
Другой способ преобразования энергии
радиоактивного распада в электричество является превращение в два этапа. В этом
случае энергия радиоактивного распада (альфа - или бета - частицы) сначала
преобразуется в видимый или легкий ультрафиолетовый спектр излучения с
использованием люминесцентных материалов. Затем свет, исходящий от люминофора
преобразовывается в электричество фотогальваническими преобразователями.
Этот метод может казаться менее эффективным чем
прямое превращение, однако, у этого метода есть свои преимущества. Рассмотрим
основные преимущества косвенного преобразования с использованием радиоизотопных
источников. Во-первых, могут использоваться альфа изотопы с высокой энергией
альфа-частиц. Альфа частицы обеспечивают более высокую удельную мощность (на
единицу поверхности) по сравнению с бета-частицей. Во-вторых, радиолюминесценция
не наносит повреждений материалу преобразователя.
Энергетическая эффективность для любой батареи с
косвенным превращением зависит от того, как хорошо подобранны максимумы
спектральной характеристики полупроводникового преобразователя к эмиссионным
максимумам люминесцентного материала. Свет от люминофора может быть получен:
порошковой смесью содержащей радиоизотоп и
люминесцентный материал;
частичками люминофора, внедренными в решетку
радиоизотопа;
смесью газообразных радиоизотопов (H3 или Kr85)
с инертными газами;
герметичной стеклянной капсулой, внутренняя
поверхность которой покрыта люминофором, а полость заполнена газообразным
тритием;
аэрогелем насыщенным тритием с частичками
люминофора.
В работе [9] исследовалось косвенное
преобразование альфа частиц. Слой люминофора оптически связан с
фотоэлектрическим устройством, как показано на рисунке 4.
Рисунок 4 - Схема косвенного преобразователя
альфа частиц
Слои с разными поверхностными плотностями были
изготовлены из фосфора. Оптимальная толщина слоя должна быть приблизительно
равна глубине проникновения частиц в люминофоре, так как толстые слои обладают
самопоглощением и рассеиванием света. Для получения максимального КПД для
альфа-источников необходимы менее плотные слои люминофора, чем для
бета-источников.
Для повышения фотонного потока от люминофора
использовалась алюминиевая фольга толщиной около 1мм, при этом выходная
мощность увеличилась на 60%. При последовательном соединении ячеек был
достигнут ток короткого замыкания 14 мкА и напряжение 2,3 В, мощность такой
батареи питания составила 21 мкВт.
Другим способом не прямого преобразования
энергии альфа-частицы в электрическую энергию служит разработка авторов работы
[10]. Цинковый сульфид и Pm147 использовался как материалы люминофора и
радиоизотопа. Начальная эффективность преобразования очень быстро снижалась с
уменьшением потока фотонов, полная эффективность прибора составляла
приблизительно 0.05%. Главный недостаток этой системы - это быстрое накопление
дефектов люминесцентного материала под действием ионизирующего излучения.
Относительно недавно были предложены новые
конструкции, основанные на волноводе (рисунок 5). Волноводы покрыты тонкими
металлическими отражающими покрытиями, осуществляются в виде волокон или
пластин. Идея использовать волноводы пришла из солнечной
энергетики [11].
Изотоп или раствор его содержащий испускает
бета-частицы, бета-частицы проникают в люминофор, генерирую фотоны, которые
отражаясь от поверхности волновода, направляются в сторону выходного окна.
Радиационно-стойкое окно из боросиликатного стекла предотвращает диффузию
радиоизотопа.
Рисунок 5 - Схема косвенного преобразователя с
использованием волновода
Эффективность преобразования ионизирующего
излучения в системах, основанных на волноводах, увеличивается за счет
увеличения интенсивности падающего светового потока на фотогальванический
элемент.
Основные преимущества волноводов:
полупроводник не подвергается ионизирующему
излучению
увеличенная эффективность преобразования за счет
увеличенного светового потока;
волноводы могут быть спроектированы для
оптимального преобразования бета или альфа частиц и иметь подходящую форму для
фотопреобразователя;
фотогальванические элементы могут быть подобраны
под излучающие спектры люминесцентных материалов;
есть возможность соединения радиоизотопа и
люминофоров;
Для миниатюризации батарей вместо газа трития
выгодно использовать тритид титана. Такая технология требует порошкового или
тонкопленочного люминофора, осажденного на прозрачной подложке, затем может
быть нанесен аморфный кремниевый слой. Тонкопленочные люминофоры с толщиной,
равной пробегу бета-частиц, имеют преимущество по уменьшенному рассеиванию; они
используются в тонкопленочных электролюминесцентных приборах. Такая батарея
изображена на рисунке 6.
Рисунок 6 - Схематическое изображение
тонкопленочного преобразователя
Преимущества тонкопленочных люминофоров
заключаются в следующем. Во-первых, тонкопленочная технология выгодна для
миниатюризации преобразователей косвенного превращения. Во-вторых,
люминесцентные пленки могут быть нанесены непосредственно на фотогальванический
элемент. В-третьих, отсутствует самопоглощение и рассеивание света.
Как уже отмечалось, излучение не взаимодействует
с фотопреобразователем, однако выходные характеристики снижаются с течением
времени. Причиной этого случит деградация люминофорного материала при
облучении. В работе [12] проводились эксперименты скорости спада интенсивности
излучения различных люминофоров со временем при облучении частицами трития, по
сравнению с распадом самого трития. Эксперимент показал, что спад яркости как
минимум в два раза быстрее, чем спад активности трития. Альфа-изотопы с более
высокой энергией оказывают еще более быстрый спад интенсивности люминофора.
.4 Исследование прямого преобразования
ионизирующего излучения
Наиболее простой способ для преобразования
ядерной энергии - это установить радиоактивный изотоп в непосредственной
близости от твердотельного полупроводника.
Бетавольтаический эффект был открыт в 1951 году
прошлого столетия [13], но в последнее время интерес к нему существенно вырос
по причине перспективы внедрения в технологию МЭМС.
По принципу действия ядерные батареи сходны с
солнечными батареями, которые преобразуют энергию фотонов в электричество с той
лишь разницей, что они работают на эффекте генерации электричества в p-n
переходе при пролёте бета-частицы. Электроны образуются за счет кинетической
энергии бета-частиц, взаимодействующих в полупроводнике. Принцип работы показан
на рисунке 7.
Рисунок 7 - Принцип действия бетавольтаической
батареи
Бета-частица проникает в p-n переход и,
сталкиваясь с атомами, создает электронно-дырочные пары (ЭДП). Часть
кинетической энергии теряется на решетке. Частица с энергией 5 кэВ может
создать более 1000 ЭДП. Созданные электронно-дырочные пары внутри обедненной
области растягиваются полем к n-типу и к p-типу соответственно.
.4.1 Преобразование энергии бета распада в
электрическую энергию с использованием твердотельных полупроводников
Раппапорт описал бетавольтаический эффект в 1953
году [14]. Он исследовал работу сплавного полупроводникового p-n перехода,
совмещенного с источником бета-излучения Sr90/Y90, активностью в 50 мКи. Каждая
такая ячейка давала 0,8 мкВт мощности при средней эффективности порядка 0,2 %.
Эффективность преобразования определяется
энергией генерации электронно-дырочной пары и шириной запрещенной зоны. Энергия
формирования электронно-дырочной пары определяет ток короткого замыкания, а
ширина запрещенной зоны определяет напряжение разомкнутой цепи. Эффективность
преобразования определяется выражением:
(1)
где Iкз - ток короткого замыкания;
Uxx - напряжение холостого хода;
FF - форм фактор; Pβ
- излучаемая
мощность радиоизотопом.
Общая эффективность системы зависит
как от эффективности источника, так и от эффективности преобразования приемника
излучения. На рисунке 8 показана теоретически рассчитанная зависимость
эффективности преобразования ионизирующего излучения от ширины запрещенной зоны
полупроводника. Эффективность преобразования растет с шириной запрещенной зоны
и может достигать значений порядка 30 % для таких широкозонных материалов, как
GaN и AlN. Эффективность источника зависит от энергии испускаемых частиц и
толщины радиоизотопного слоя [15].
Рисунок 8 - Теоретическая
зависимость эффективности преобразования от ширины запрещенной зоны
полупроводника
В 1974 году L. Olsen создал
бетавольтаическую батарейку для кардиостимуляторов на основе прометия-147 [16].
Батарейка состояла из поочередных слоев кремния и прометия-147 в составе оксида
Pm2O3. Эффективность данной батарейки достигала 4 %, с выходной мощностью до
400 мкВт. Большая часть объема батарейки отводилась для экранирования осколков
гамма-излучения изотопа прометия-146, которым был загрязнен Pm147.
Рисунок 9 - Внутреннее устройство
бетарейки
С тех пор, исследования данного
вопроса были направлены на проверку новых радиоизотопов и полупроводниковых
материалов. Данная работа не вылилась ни во что конкретное: полученные
структуры имели ограниченные возможности выходной мощности и эффективности.
Улучшение эффективности - ключевая проблема при создании бетавольтаических
батарей в условиях высокой стоимости материалов, сложностей технологического
процесса и законов, регламентирующих использование радиоактивных веществ.
В последнее время с развитием уровня
технологии стали появляется новые сообщения о создании новых бетавольтаических
батареях с новыми конструкциями. Так китайские ученые предлагают использовать
конструкцию инвертируемых пирамид, которая хорошо зарекомендовала себя в
солнечной энергетике [17]. Изотопный источник Ni63 был нанесен гальваническим
способом на алюминиевую подложку и служил в качестве источника бета частиц.
Активность источника составляла 10 мКи.
Рисунок 10 - Структура с
инвертированной пирамидой
Данная структура изображена на
рисунке 10, она позволила получить
на 5 % больший ток и более высокую выходную мощность по сравнению с планарной
конструкцией.
Одной из основных причин низкой
выходной мощности бетавольтаических батареек является всесторонние излучение
изотопа, поэтому следующим шагом для увеличения эффективности сбора и
преобразования энергии бета распада стало использование структур с развитой
поверхностью.
В работе [18 19] был проведен расчет
эффективности бета преобразователей на основе микроканального кремния.
Показано, что оптимальное значение ширины микроканала лежит в районе 3 мкм, а
расстояние между каналами, 10-12 мкм, при таких значения ток генерации
достигает значений 1600 нА/см2.
Конструкции на канальном кремнии
были реализованы в работах [20-24]. В работе [20] был создан трехмерный диод на
пористом кремнии, который состоит из сети пор, сформированных электрохимическим
анодированием. Поры были трех типов микропористые (<2 нм), мезопористые
(2-50 нм), и макропористые (> 50 нм), такая морфология создает очень большую
поверхностную площадь. Тритий был выбран как источник энергии. Газообразный
тритий - самый благоприятный из известных радиоактивных материалов и имеет
низкую токсичность. Геометрия образца позволила увеличить КПД в десять раз по
сравнению с плоской конструкцией.
В работе [22-24] так же
использовался микроканальный кремний, только в качестве источника электронов
использовался Ni63 с активностью 0,5 мКи. Структура показана на рисунке 11.
Рисунок 11 - Структура на основе
микроканального кремния с изотопом Ni63
В Белоруссии ученые создали бета
батарею на основе макропористого кремния [25]. Фотография макропор показана на
рисунке 12.
Рисунок 12 - Фотография
макропористого кремния
В полученные структуры производили
электрохимическое осаждение никеля из радиоактивной соли. На электроннолучевой
имитации бета батарей были получены удельные мощности 0.46 нВт/см2 и 1.5
нВт/см2 для планарных и трехмерных p-n переходов соответственно.
В работе [21] предложили размещать
радиоизотоп внутри полупроводниковой структуры. В качестве изотопа
использовалась сера -35. Сера смешивалась с полупроводниковым селеном и
встраивалась в объем полупроводниковых устройств, образовывая диод Шоттки.
Встраивание радиоизотопов в объем минимизирует потери связанные с
распространением бета-частиц. Схема бетавольтаической батареи
продемонстрирована на
рисунке 13.
Рисунок 13 - Схема бетавольтаической
батареи со встроенным в объем радиоизотопом
Смесь радиоактивной серы и селена
помещают в резервуар глубиной 20мкм. Полученная батарея имела следующие
параметры: ток короткого замыкания 752 нА; напряжение холостого хода 864 мВ.
Максимальная выходная мощность составила 76.53 нВт, а эффективность
преобразования 2,42%.
1.4.2 Преобразование энергии бета
распада в электрическую энергию с использованием жидких полупроводников
Традиционно в бетавольтаических
батареях используется твердый полупроводниковый материал. Высокоэнергетические
частицы, образующиеся при радиоактивном распаде, со временем разрушают его
решетку, снижая качество работы батареи. Жидкий полупроводник позволяет решить
эту проблему - у него кристаллической решетки, которая могла бы разрушаться.
По словам исследователей, подобные
миниатюрные источники энергии могут пригодиться при создании энергоемких микро-
и даже наноустройств. В новом устройстве радиоактивный элемент размещен в
жидком полупроводнике. На рисунке 14 показана фотография образца. Частицы,
возникающие в результате радиоактивного распада в этом материале, приводят к
появлению в полупроводнике электрического тока.
Рисунок 14 - Фотография
бетавольтаической батарейки на основе жидкого полупроводника
В работе [26] описаны подробности
технологии изготовления бетавольтаической батареи с использованием жидкого
полупроводника. Жидкий диод Шоттки основан на смеси селена и радиоактивного
изотопа S35 в форме элементарной серы. Этот изотоп является чистым бета
источником со средней энергией частиц 49 кэВ и периодом полураспада 87 дней.
Устройство способно вырабатывать
электрический ток силой 107,4 нА. Мощность микробатареи составила 16,2 нВт, а
напряжение - 899 мВ. Удельная плотность энергии устройства на 5 порядков выше,
чем у обычных химических батарей и топливных ячеек [27], что делает его
перспективным для использования в качестве источника питания для МЭМС.
.4.3 Преобразование энергии бета
распада в электрическую энергию с использованием механических устройств
В Корнельском университете
разработали элемент питания, который может работать в течение десятков лет
[28]. Основная идея состоит в том, что бета-частицы, испускаемые тонкой плёнкой
радиоактивного материала, поглощаются консолью, которая приобретает
отрицательный заряд. Никелевая пластина приобретает положительный заряд. Таким
образом, между консолью и пленкой радиоизотопа возникает электростатическая
сила. Консоль притягивается к радиоактивной плёнке, на расстояние, при котором
может возникнуть электрический ток, уравновешивающий заряд. Поскольку заряд
снимается, то консоль возвращается в исходное положение и процесс повторяется.
Механическая энергия может быть использована для получения электричества.
Над тонким слоем радиоактивного
изотопа Ni63 1 мКи располагается микроскопическая консоль, изготовленная из
меди шириной 4 мм, длиной 5 см и толщиной 60 мкм. Схема устройства показана на
рисунке 15. Мощность такой батареи мала - всего несколько нВт, однако срок
службы элемента составляет 100 лет. Ученые полагают, что как минимум в течение
половины указанного срока батарея сможет вырабатывать электричество.
Рисунок 15 - Схема
микромеханического устройства
В новых конструкциях консоль
изготавливалась из кремниевого пьезоэлектрического стержня толщиной 40 мкм и
длиной от 4 мм до 8 мм.
Помимо энергоснабжения, крошечные
консоли могут использоваться как отдельные изолированные сенсоры. Обычно
подобные приборы работают в вакууме. Однако можно разработать такие сенсорные
датчики, которые были бы способны обнаруживать наличие какого-то конкретного
газа, поскольку попадание газа в это устройство изменяет поток электронов между
консолью и базой, что, в свою очередь, приводит к изменениям в амплитуде
колебаний. Можно также обнаружить перепады в температуре или давлении. Сейчас
учёные создают и тестируют всевозможные варианты сенсоров и приборов для
энергоснабжения, основанные именно на этой концепции.
.5 Описание различных
полупроводниковых материалов для бетавольтаических преобразователей
.5.1 Кремний
Промышленностью выпускается большое
количество различных марок монокристаллического кремния, который используется
для изготовления полупроводниковых диодов, транзисторов и интегральных
микросхем. Монокристаллический кремний занимает в настоящее время ведущее место
среди других полупроводниковых материалов, так как он обладает рядом
преимуществ. Кремниевые приборы имеют малые обратные токи, работают при повышенных
температурах, допускают более высокие удельные нагрузки, а также могут работать
в области пробоя р-n перехода.
Элементарный кремний в
монокристаллической форме является непрямозонным полупроводником и имеет
решетку типа алмаз. Ширина запрещённой зоны при комнатной температуре
составляет 1,12 эВ.
На электрофизические свойства
кристаллического кремния большое влияние оказывают содержащиеся в нём примеси.
Для получения кристаллов кремния с дырочной проводимостью в кремний вводят
атомы элементов III-й группы, таких, как бор, алюминий, галлий, индий. Для
получения кристаллов кремния с электронной проводимостью в кремний вводят атомы
элементов V-й группы, таких, как фосфор, мышьяк, сурьма.
Современный уровень технологий
позволяет производить кремневые пластины диаметром 200 мм высокого качества и с
высоким временем жизни носителей заряда порядка мс, а также создавать на
поверхности кремния развитую поверхность. Отработанные технологические процессы
позволяют достигать глубины залегания р-n переходов порядка 0,1-0,3 мкм и
области пространственного заряда 4-6 мкм, что должно обеспечивать высокую
эффективность преобразования энергии.
.5.2 Карбид кремния
Карбид кремния, является твердым
веществом, состоящим из атомов кремния и углерода в равной пропорции. Данный материал
обладает одновременно керамическими и полупроводниковыми свойствами. Карбид
кремния является твердым, химически инертным, устойчивым к высокой температуре
(> 1000 °C), окислению и воздействию окружающей среды веществом. Обладает
высокой теплопроводностью, близкой к металлической.
В основном, карбид кремния
используется в качестве полупроводникового материала в электронике.
Действительно, электронные устройства, изготовленные на основе карбида кремния,
способны работать при более высоких температурах, мощности, частоте и в
условиях более агрессивной окружающей среды, нежели изготовленные на основе
других полупроводниковых материалов (кремний, германий). Широкое использование
электронных приборов на основе карбида кремния в транспорте должно внести существенный
вклад в сохранение окружающей среды, поскольку основным преимуществом
карбидокремниевой электроники перед кремниевой является уменьшение
энергетических потерь в электронных приборах при переключении. Ширина
запрещенной зоны 4H-SiC составляет 3.2 эВ, что должно обеспечить низкие токи
утечки и высокую эффективность преобразования.
В карбид-кремниевых приборах
значительно снижено влияние температуры. В диапазоне 25 - 150°С изменение
сопротивления составляет всего лишь 20% это очень малое изменение по сравнению
с аналогичным показателем равным 200% и даже 300% у кремниевых приборов.
Однако для достижения требуемых
электронных свойств и высокого время жизни в SiC, необходимо добиться высокой
степени структурного совершенства получаемых кристаллов, время жизни носителей
заряда сейчас составляет нс.
В работе [29] разработана батарейка
на основе диода Шоттки
(рисунок 16). В качестве полупроводникового материала использовался 4H-SiC,
образец облучался пластинкой Ni63 с активностью 0,12 мКи. Напряжение холостого
хода равное 0,27 В и плотность тока короткого замыкания 25,57 нA
cм-2. Максимальная плотность
мощности на выходе составила 4,08 нВт
см-2, а эффективность преобразования
составила 1,01 %.
Рисунок 16 - Структура 4H-SiC Диодов
шоттки
.5.3 Нитрид галлия
Нитрид галлия - бинарное
<#"806784.files/image018.gif">
Рисунок 17 − Структура батареи
на основе GaN
Использовалась тонкая пластинка
никель - 63 площадью 4 х 4 мм2 с активностью 2 мКи. Исследователи установили,
что их батарейка имеет достаточно большое напряжение холостого хода и достигает
значения более 1,62 В, а плотность тока короткого замыкания равна 16 нА
см-2, с эффективностью
преобразования 1,13 %.
.5.4 Алмаз
Характерной особенностью большинства
алмазов является их люминесценция при облучении ультрафиолетовыми,
рентгеновскими, катодными и гамма-лучами. Алмаз обладает высокой
теплопроводностью и обычно низкой электропроводностью, принадлежит к числу
гидрофобных минералов, является одним из самых прочных материалов.
Алмаз химически стоек, не
растворяется в кислотах и растворах солей; подвергается окислительному
растворению в расплавах селитры, соды при доступе воздуха, паров воды,
углекислого газа, оксида углерода и других окисляющих реагентов при температуре
свыше (600-700) °С; на воздухе при температуре (850-1000) °С сгорает с
образованием СО2; при (1885 ± 5) °С без доступа воздуха происходит быстрая
графитизация алмаза по всему
объему [31].
Наличие полупроводниковых свойств позволило
использовать алмаз в электронных измерительных приборах. Использование алмаза в
качестве материала для бетавольтаических батарей позволяет решить проблемы
использования высокоэнергичных радиоизотопных источников.
Главным достоинством алмаза является
его повышенная радиационная стойкость, поэтому созданные преобразователи
высокоэнергетических электронов не должны деградировать с течением времени.
Наибольший интерес представляет пороговая энергия электронов, достаточная для
возникновения дефектов в алмазе, - она составляет 165-220 кэВ [32]. Ширина
запрещенной зоны алмаза в 5 раз больше, чем у кремния, иногда его даже относят
к диэлектрикам. Это означает, что алмаз более пригоден для преобразования
энергии высокоэнергетических частиц.
Главной отрицательной стороной
алмаза является невозможность создания n типа проводимости легированием при
нормальных условиях. Проводимость n типа проявляется только при высоких
температурах, так как энергия активации примеси высока, а при комнатной
температуре алмаз характеризуется собственной проводимостью. Поэтому создание
бетавольтаических батарей ограничивается барьерами Шоттки, которые в свою
очередь обладают большими токами утечки и маленькой областью пространственного
заряда, вследствие чего высокоэнергичные электроны будут пролетать эту область,
не успевая сгенерировать электронно-дырочные пары.
.6 Определение областей применения
радиоизотопных источников питания
Плотность энергии радиоизотопных
батарей сопоставима с литиевыми аккумуляторами, однако они обладают значительно
большей продолжительностью работы. Радиоизотопные батареи могут использоваться
в трех основных направлениях:
в автономном режиме для слаботочных
приборов;
в паре с аккумулятором или
конденсаторов для приборов, работающих в импульсном режиме;
в паре с химической батареей для
больших токов, выступая в качестве дополнительного зарядного устройства,
повышая тем самым надежность и срок использования.
Длительный срок службы и
характеристики делают их особенно подходящими для следующих приложений:
устройства, где невозможна замена
батареи;
устройства, в которых размер
является главным фактором;
производительность в экстремальных
средах (космос).
Главным преимуществом является
наличие постоянного потенциала. Еще одно преимущество заключается в том, что технология
изготовления бетавольтаичеких батарей является масштабируемой, и источники
могут быть использованы для питания МЭМС устройств и датчиков с низким
энергопотреблением. Эти датчики могут осуществлять мониторинг и защиту
конфиденциальных данных, хранящихся в электронном оборудовании. Промышленные
процессы часто требуют автоматического управления датчиками, которые способны
работать в суровых условиях, например в нефтяном производстве.
Эффективность преобразования энергии
бетавольтаичеких батарей сопровождается низким тепловыделением, поэтому
бетавольтаичеких батареи имеют массу преимуществ по сравнению РИТЭГ, высокой
эффективностью, минимальными потерями тепла, малой массой, отсутствием
экранирования и нулевой энергетический шум, который важен при астрофизических
исследованиях.
Еще одно направление использования
бетавольтаических батарей это медицина. Батареи могут быть внедрены в
медицинские имплантаты для физиологического наблюдения за состоянием здоровья
человека и кардиостимуляторы. Литиевые батареи необходимо менять каждые 3 - 6
лет. Долговечный источник питания, может удвоить время переустановки, что
предоставит очевидные плюсы для здоровья и денежных средств. В будущем, будут
другие направления в медицине, например, для стимулирования искусственной
нейронной системы.
В работе [33] была промоделирована
работа импульсного радиационно-стимулированного источника электрического
питания. Такой источник легко сможет осуществить питание микросхемы в
импульсном режиме. У части логических микросхем, потребление энергии менее 500
мкВт. Из этого следует, что многие схемы могли быть разработаны, используя в
качестве источника питания бетавольтаическую батарею.
.7 Выводы по главе
В первой части приведена
классификация преобразователей и рассмотрены: термоэлектрические генераторы,
альфа- и бета фотовольтаические батареи, бетавольтаические батареи и их
основные конструкции. В настоящее время активно разрабатываются новые
конструкции бетавольтаических батареи на различных полупроводниковых
материалах. Показана история развития и принцип работы. Отмечены основные
достижения в технологии изготовления бетавольтаических батарей и обозначены
пути дальнейшего развития.
Во второй части были рассмотрены
различные материалы для создания бетавольтаических батарей. Следует отметить,
что выбор того или материала определяется целым комплексом требований. Это
ограничения по стоимости, характеристикам материала, доступности,
технологичности и т.п. С этой точки зрения разработка новых конструкций
бетавольтаических батарей на кремнии представляет несомненный интерес. В первую
очередь они могут использоваться в качестве альтернативной замены аналогичных
приборов, обеспечивая увеличение срока эксплуатации.
Так же были рассмотрены
перспективные области применения бетавольтаических батарей на кремнии.
Отметим, что, несмотря на множество
исследований, к настоящему моменту в мире отсутствуют технологии создания
миниатюрных радиоизотопных источников электроэнергии, выходная мощность которых
была бы достаточна для основного питания. В этой связи перспективным
представляется создание новых конструкций бетавольтаических батарей на кремнии.
В пользу такого выбора говорит хорошо отлаженная кремниевая технология и
отработанные ICP процесс и химико-динамические способы травления.
2. Проведение
патентных исследований в соответствии с ГОСТ 15.011-96
В рамках первого этапа ПНИ были
проведены патентные исследования, целью которых являлось определение
технического уровня (уровня техники) предмета исследования. В качестве методики
проведения патентного поиска использовалась методика адаптивного патентного
поиска, включающая:
отбор информации о характерных
признаках темы исследования - ключевые слова и подклассы патентной
классификации;
выбор источников информации -
государственные и зарубежные патентные фонды, информационно-поисковые ресурсы
баз данных патентных документов, мировые реферативные библиографические
издания, национальные патентные бюллетени и патентные ведомства, отраслевые
патентные фонды;
поиск патентной информации;
оценку и отбор найденных патентных
документов.
Глубину патентного поиска составляют
все опубликованные патентные документы, а также международные заявки, поданные
во Всемирную организацию интеллектуальной собственности (ВОИС), и европейские
патенты и заявки, опубликованные на дату начала поиска (10 сентября 2014 года).
В ходе патентного поиска были
выявлены и отобраны патентные документы, касающиеся исследуемых объектов, а
также международные заявки, поданные во Всемирную организацию интеллектуальной
собственности (ВОИС), и европейские патенты и заявки, опубликованные на дату
начала поиска (10 сентября 2014 года).
В процессе проведения исследования
по предмету «Разработка автономного источника питания на основе радиоизотопных
материалов и кремниевой p-i-n структуры» был сформирован массив патентной
информации, состоящий из 150 патентных документов.
3. Обоснование
выбора направления исследований по созданию радиоизотопного источника питания
Сегодня для питания устройств, в
которых не используются стационарные источники, применяют литий ионные батареи
и аккумуляторы. Срок службы таких источников энергии ограничен и составляет не
более 5 лет, поэтому для создания новых источников питания с длительным сроком
службы необходимо использовать радиоизотопные источники энергии. Несмотря на
обилие проделанных работ по созданию конструкций и технологий
бетагальванических батарей на сегодняшний день в мире отсутствуют такие
батареи, которые могли бы осуществить основное электропитание электронных
устройств. Одной из главных задач при проектировании
радиационно-стимулированных источников питания является выбор радиоизотопа, и
способ преобразования испускаемой им энергии.
Основным направлением ПНИ стало
создание новых конструкций и топологий бетавольтаических батарей, исследование
глубоких микропор с высоким аспектным соотношением в кремнии и технология
заполнения микропор радиоизотопом.
Направление исследований:
аналитический обзор литературы по
данной тематике, включая патентный поиск;
математическое моделирование
бетавольтаических батарей;
разработка конструкции и технологии
изготовления бетавольтаических батарей на основе пористых кремниевых структур;
разработка методики измерения
бетавольтаических батарей на основе пористых кремниевых структур;
измерение ВАХ бетавольтаических
батарей на основе пористых кремниевых структур;
Способы решения поставленных задач:
использование современных сред
моделирования;
проектирование топологии в САПР
измерение экспериментальных данных
на современном аттестованном оборудовании;
применение проверенных и надежных
методов и средств измерений;
анализ полученных экспериментальных
данных с мировыми исследованиями по данной тематике;
Литературный обзор показал, что на
кремнии в основном использовались планарные конструкции. Однако, в отличие от
планарной p-i-n структуры, структура с микро каналами обладает сильно развитой
поверхностью, при заполнении каналов радиоизотопом увеличится эффективность
преобразования, так как 90 % излучения будет попадать в объем полупроводниковой
структуры.
4. Проведение
компьютерного моделирования различных вариантов конструкций элементарных ячеек
автономного источника питания. Выбор оптимальной конструкции элементарной
ячейки
.1 Моделирование работы
радиационно-стимулированных источников питания
Моделирование чувствительности
кремниевых радиационно-стимулированных источников питания проводили с помощью
решения базовой системы уравнений [34].
Рассмотрим в простейшем случае метод
решения уравнения непрерывности. При численном решении уравнения непрерывности
в базе диффузионного транзистора исходное дифференциальное уравнение в частных
производных представляется в разностной форме, то есть бесконечно малые
дифференциалы заменяются конечными разностями. При этом вся область
моделирования разбивается на достаточно малые элементы, чтобы можно было
принять линейное изменение функции в рамках одного элемента.
, (1)
Вследствие того, что на первом этапе
решали стационарную задачу, уравнение (9) представляется в виде
. (2)
Тогда слагаемые правой части
уравнения непрерывности можно представить в виде:
,
,
.
Принимая граничные условия на краях
области, и задаваясь начальным распределением подвижных носителей заряда,
получаем систему нелинейных уравнений. Таким образом, вместо дифференциального
уравнения в частных производных, необходимо решать систему нелинейных
алгебраических уравнений.
Аналогично, уравнение Пуассона также
может быть представлено в разностной форме. Однако для этого необходимо
установить связь между концентрацией подвижных носителей заряда и потенциалом.
Уровень Ферми был введен при
рассмотрении статистики ансамбля электронов при тепловом равновесии [35].
Однако тепловое равновесие нарушается под влиянием падающего излучения или
напряжения, приложенного к p-n переходам. Для анализа этих неравновесных случаев
вводится два связанных параметра квазиуровня Ферми. Квазиуровни Ферми
определяются таким образом, чтобы сохранить соотношение между концентрациями
собственных носителей и концентрациями электронов и дырок в таком же виде как
для теплового равновесия. При неравновесных условиях аналогичные уравнения
можно написать, только если определены два квазиуровня Ферми: один для
электронов и один для дырок.
; (3)
; (4)
, (5)
где Ei - собственный уровень Ферми.
Расстояние между квазиуровнями Ферми
представляет собой меру отклонения свободных носителей заряда от теплового
равновесия. При тепловом равновесии это расстояние равно нулю. Квазиуровням
Ферми соответствуют квазипотенциалы:
; (6)
, (7)
где j - потенциал, соответствующий середине
запрещенной зоны
j = - (Ei/q).
Отсюда концентрации электронов и
дырок можно представить в виде:
; (8)
; (9)
, (10)
где nie - эффективная концентрация
собственных носителей заряд в полупроводнике, учитывающая эффект сужения
запрещенной зоны при сильном легировании.
Если принять, что
- потенциал,
соответствующий положению равновесного уровня Ферми (
= -
(EF/q)), то концентрация электронов и дырок, представляется в виде:
; (11)
, (12)
где p0 и n0 - равновесные
концентрации дырок и электронов.
Исходя из выше изложенного,
уравнение Пуассона представляется в виде:
. (13)
За нуль электрического потенциала
принимается положение уровня Ферми в собственном кремнии. Тогда концентрации n,
p (в предположении справедливости статистики Больцмана) связаны с их
квазипотенциалами Ферми jn, jp и потенциалом j следующим образом:
; (14)
; (15)
, (16)
где nie - эффективная концентрация
электронов.
Прежде чем, приступить к
представлению уравнений в разностной форме, необходимо их упростить. Для того,
чтобы избавиться от постоянных коэффициентов и перевести коэффициенты в
диапазон чисел, удобный для представления в ЭВМ, все переменные и параметры
нормируются на коэффициенты. Имеются разные способы представления нормированных
коэффициентов. Пример одного из таких способов представлен в таблице 1 [36]:
Таблица 1 − Нормировочные
коэффициенты для базовой системы уравнений
|
Величины
|
Коэффициенты
|
|
Длина
|
|
|
Время
|
|
|
Электростатический
потенциал
|
|
|
Приложенное
напряжение
|
|
|
Диффузионный
потенциал
|
|
|
Электрическое
поле
|
|
|
Плотность
носителей заряда n, p
|
|
|
Концентрация
примеси
|
|
|
Общий.
Электронный и дырочный ток
|
|
|
Скорость
генерации - рекомбинации
|
|
|
Коэффициент
диффузии носителей заряда
|
|
|
Подвижность
носителей
|
|
|
Проводимость
|
|
|
Ёмкость/един.
площади
|
|
После проведения нормировки, базовой системы
уравнений этим способом базовая система уравнений в общем виде принимает
следующий вид:
; (17)
; (18)
; (19)
; (20)
; (21)
Для представления систем уравнений,
описывающих работу полупроводниковых приборов, существует несколько базисов
переменных. Представленная выше базовая система уравнений записана в базисе (j, n, p). В базисе (j, jn, jp) система уравнений (17-21)
представляется в виде
; (22)
; (23)
; (25)
; (26)
. (27)
Очевидным достоинством этого метода
является его универсальность, то есть возможность использовать для широкого
круга задач при моделировании полупроводниковых приборов.
Недостатком метода является
требование большого объёма памяти и значительные затраты машинного времени.
Поэтому при решении ряда конкретных задач вводятся определенные упрощения.
При необходимости в решения линейных
алгебраических систем, матрицы которых, являясь слабо заполненными, т.е.
содержащими немного ненулевых элементов, успешно используется метод прогонки.
Среди таких систем выделим системы ленточной (или трехдиагональной) структуры.
К таким системам сводится решение краевых задач для дифференциальных уравнений
методами конечных разностей, конечных элементов и др. Для решения систем с
ленточными матрицами метод Гаусса можно трансформировать в более эффективные
методы [37, 38].
Будем искать решение такой системы,
каждое уравнение которой связывает три «соседних» неизвестных:
, (28)
где i = 1,2,…n; b1=0; dn = 0. Такие
уравнения называются трехточечными уравнениями второго порядка. Система имеет
трехдиагональную структуру, что хорошо видно из следующего эквивалентного,
векторно-матричного представления:
(29)
Решение находят по формуле:
, (30)
где
- коэффициенты.
Преобразуя получем получаем:
. (31)
Из условия b1 = 0 получаем
. (32)
При i = n в силу dn = 0 получим dn = 0, получим
. (33)
Таким образом, решение уравнения
(28) методом прогонки сводится к вычислению так называемых прогоночных
коэффициентов
по формулам
(31) (прямая прогонка) и затем получение неизвестных xi по формуле (30)
(обратная прогонка). Решение будет устойчивым при
. (34)
Для использования уравнения при
решении краевых дифференциальных уравнений необходимо дополнительно находить
коэффициенты уравнения (28). То есть для решения системы алгебраических
уравнений необходимо определить прогоночные коэффициенты, на основе которых
проводится решение.
Рассмотрим решение методом прогонки
уравнения Пуассона. В общем виде, когда коэффициент диффузии не является
постоянной величиной, уравнение диффузии может быть представлено:
, (35)
где С - концентрация диффундирующих
частиц.
Представим уравнение Пуассона в виде
системы нелинейных разностных уравнений. Разобьем всю область моделирования на
малые интервалы Dх (рисунок
18). Если функция потенциала меняется неравномерно (как часто бывает в
полупроводниковых приборах) сетка разбиения может быть и неравномерной. Для
создания такой сетки необходим дополнительный алгоритм ее генерации.
Рисунок 18 − Представление
функции в дискретном виде
Производную
на
интервале
аппроксимируют
выражением
, аналогично
на интервале
-
. Такая
аппроксимация возможна, если шаги разбиения достаточно малы, и функцию на
интервале можно представить в виде линейного приближения. Чтобы написать
уравнение Пуассона в разностной форме для аппроксимации второй производной,
левую часть уравнения диффузии можно представить в виде:
. (36)
Правую часть уравнения Пуассона для
точки i представим в виде.
. (37)
Уравнение Пуассона в разностной
форме для i-й точки может быть записано
. (38)
При разбиении интервала
моделирования на n дискретных точек таких уравнений может быть составлено n -
2. Ещё два уравнения составляются исходя из граничных условий на левой и правой
границах интервала моделирования.
. (39)
где i = 2, 3, 4….т-1.
Однако при этом перестает
соблюдаться требование
. Но эта
проблема легко решается, если воспользоваться методом, аналогичным методом
переменных направлений, используемому для решения двумерных дифференциальных
уравнений. Часть переменных левой части перенесем в правую с определенным
коэффициентом a. Тогда
прогоночные коэффициенты будут выглядеть следующим образом и условие
устойчивости решения в методе прогонки будет соблюдаться.
, (40)
Выбор коэффициентов для 1 и т точек
определяется граничными условиями, т.е. потенциалами на границах. Для правой
границы φm=φn:
. (41)
На левой границе φ1=φр
. (42)
Решение уравнения происходит в
несколько итераций до тех пор, пока разница между двумя последовательными
приближениями не станет меньше наперед заданной погрешностью. Аналогичным
образом находим прогоночные коэффициенты для решения уравнения непрерывности.
Представим уравнение непрерывности в разностной форме, с учетом, что решать
уравнение непрерывности будем для неравновесных носителей заряда.
(43)
.(44)
Перестроим полученное выражение
следующим образом
(45)
. (46)
Таким образом, прогоночные
коэффициенты записываются следующим образом
(47)
Аналогичным образом находим
прогоночные коэффициенты для решения уравнения непрерывности для генерированных
электронов
(48)
В качестве граничных условий
используются
. (49)
(50)
где S - скорость поверхностной
рекомбинации.
Уравнения Пуассона и непрерывности
решаются совместно последовательными итерациями, до тех пор, пока разность
между двумя последовательными приближениями разница станем меньше требуемой
точности.
.2 Программная среда для
моделирования характеристик кремниевых бета-стимулированных источников
Создание преобразователей
ионизирующего излучения требует учета целого ряда параметров, влияющих на
процесс формирование тока. Одновременный учет поглощения энергии электронов,
переноса генерированных носителей заряда, их рекомбинацию, включая рекомбинацию
на границах слоев и поверхностную, требует компьютерного моделирования.
С целью оптимизации конструкции
кремниевых структур разработана программа моделирования спектральных
характеристик, включающая в себя решения следующих задач:
формирование структуры, включая
последовательность и размеры слоев, их электрические характеристики, с
возможностью изменения параметров в процессе моделирования;
моделирование распределения
электрического потенциала и электрического поля в структуре;
моделирование распределения
генерированных носителей заряда в кремниевой структуре в соответствии с
распределением скорости генерации подвижных носителей заряда и напряженности
электрического поля в структуре;
расчет переноса носителей заряда при
формировании радиационно-стимулированных токов;
Программа позволяет послойно
создавать структуру, задавая материал, количество слоев, тип проводимости,
уровень легирования и толщину каждого слоя. Далее, для каждого слоя задаются
его полупроводниковые характеристики.
Положение уровня ферми и
концентрации электронов и дырок в полупроводнике при заданном уровне
легирования получаются из численного решения уравнения электронейтральности:
. (51)
где Nd и Na - концентрации доноров и
акцепторов;
n и p - концентрации электронов и
дырок.
Концентрации n и p определяются с
помощью выражений
, (52)
. (53)
где
- интеграл Ферми.
Эти уравнения позволяют рассчитывать
параметры полупроводников, а так же вырожденных, в общем виде.
Для разработанной структуры числено
решается уравнение Пуассона методом конечных разностей, с целью получения
распределения электрического потенциала и напряженности электрического поля
внутри структуры. Полученные распределения электрического потенциала и
напряженности электрического поля позволяют провести моделирование зонной
диаграммы структуры.
Затем, определяется распределения
сгенерированных носителей заряда под воздействием бета частиц. Разработаны
программы расчета пробегов электронов в т. ч. методом Монте-Карло [34]. В работах
[39-41], проводились моделирования распределения энерговыделения.
Для моделирования генерации
электронно-дырочных пар в полупроводниковой структуре принята аналитическая
модель, предложенная в работе [42]. Электронный пучок был описан выражением
, (54)
где G0 общая скорость генерации,
которая задается выражением
, (55)
где E - энергия электронов; Ib - ток
электронного пучка; q - заряд электрона; Ei - энергия, необходимая для образования
электронно-дырочной пары; k - доля электронов, теряемая на обратное рассеяние.
С учетом известных параметров и
значения k = 0,08 для кремния выражение (54) можно переписать
. (56)
Функция
учитывает
боковое распределение скорости генерации электронно-дырочных пар и для кремния
описывается выражением
, (57)
, (58)
где d - диаметр электронного пучка и
R полная глубина пробега электронов.
Глубина проникновения зависит от
энергии и может быть описана выражением Каная-Окаяма.
, (59)
где RK-O дается в микрометрах, A -
средний атомный вес образца, E0 - энергия электронов в КэВ, Z - средний атомный
номер образца, ρ-
плотность
в г/см3.
Функция
−
описывает глубину распределения скорости генерации электронно-дырочных пар и
аппроксимируется выражением
, (60)
где
- глубина, нормализованная к полной
глубине проникновения электрона
= z/R в области 0<
<R. На
рисунке 19 показан вид функции
.
Рисунок 19 − Нормализованная
глубина распределения электронно-дырочных пар, генерированных в кремнии [42]
Распределение электронно-дырочных
пар рассчитывали исходя из условия нормировки к полному количеству
генерированных пар G0. В результате получалось распределение скорости генерации
электронно-дырочных пар в структуре.
Рисунок 20 − Пример
распределения скорости генерации электронно-дырочных одной частицей [18]
Начальное распределение
генерированных электронов и дырок задается выражениями
; (61)
. (62)
Затем решалось уравнение
непрерывности для распределения избыточных электронов и дырок решали.
Далее определялось количество
электронов и дырок, которые давали вклад в радиационно-стимулированные токи из
области пространственного заряда, рассчитывая уравнения переноса, на границе
области пространственного заряда [43]:
, (63)
. (64)
Дрейфовый ток ОПЗ рассчитывали с
помощью выражения
. (65)
Диапазон энергий задавался в
пределах от 0,001 до 66,7 кэВ (спектр испускания электронов из 63Ni) для
определения зависимостей чувствительности к излучению, и в каждой точке
спектрального диапазона определяли генерируемый ток. Для анализа протекающих
физических процессов и последующей оптимизации конструкции было принято
отдельно определять вклад различных областей в радиационно-стимулированные
токи. Задавался поток излучения 0,1 мкВт/см2, соответствующий диапазону
мощности излучения из 63Ni [43]. В результате получали спектральные
распределения чувствительности в единицах А/Вт.
.2.1 Исходные данные для расчета
Для расчетов использованы оптические
и электрофизические характеристики полупроводниковых слоев базы данных ФТИ им.
А.Ф. Иоффе [44]. Так как предполагается работа при комнатной температуре, для
расчетов использованы характеристики при 300 К (таблица 2).
Таблица 2 - Базовые характеристики
кремния, использованные для моделирования работы
|
Характеристика
|
Значение
|
|
Ширина
запрещенной зоны, Eg
|
1.17
- 4.73·10-4·T2/(T+636) 1,12 эВ
|
|
Собственная
концентрация подвижных носителей заряда, ni
|
(Nc×Nν
)1/2exp(-Eg/(2kbT)) 1·1010
см-3
|
|
Плотность
состояний в зоне проводимости, Nc
|
6.2·1015·T3/2
3,2×1019 см-3
|
|
Плотность
состояний в зоне проводимости, Nv
|
3.5·1015·T3/2
1,82×1019 см-3
|
|
Диэлектрическая
константа
|
11,7
|
|
Сродство
к электрону
|
4,05
эВ
|
|
Подвижность
электронов
|
≤1400
см2 В-1с-1
|
|
Подвижность
дырок
|
≤450
см2 В-1с-1
|
|
Время
жизни дырок в n-Si (n0»1012
см-3), при низком уровне инжекции
|
τp
~8·10-4 с
|
|
Время
жизни электронов в чистом p-Si при низком уровне инжекции
|
τn
~ 1·10-3 с
|
|
Скорость
поверхностной рекомбинации
|
102
÷(6-8)·104 см/с
|
Подвижности электронов и дырок зависят от уровня
легирования полупроводника, поэтому при моделировании учитывались зависимости
приведенные в [44].
.3 Расчет основных параметров кремниевых
бета-стимулированных источников питания
Общая толщина полупроводниковой структуры
составляла 40 мкм. При моделировании считали, что испускание электронов из Ni63
происходит равномерно по энергиям. Понятно, что на самом деле это не так, но
если мы анализируем эффективность работы структуры в единицах А/Вт, это
значения не имеет, т.к. рассматривается относительная величина. В качестве
исходной структуры для моделирования приняли:
Для выделения эффективности участия нижнего и
верхнего контактов Ni63 в формировании сигнала проводили моделирование
характеристик p-i-n структур при работе только с верхним контактом Ni63 и с
контактами с обеих сторон (рисунок 21). При этом возникает вопрос об
эффективности работы источника питания. Выяснилось, что эффективность нижнего
контакта гораздо ниже, чем верхнего. Это объясняется тем, что большая часть
электронов верхнего контакта поглощается непосредственно в области
пространственного заряда или вблизи нее, тогда как низкоэнергетические
электроны нижнего контакта поглощаются далеко от области пространственного
заряда и вносят гораздо меньший вклад в сигнал (рисунок 22). Области
пространственного заряда достигают только высокоэнергетические электроны. Тем
не менее, формирование нижнего контакта оправдано, так как позволяет добиваться
более равномерного распределения чувствительности по энергиям. Однако,
суммарная чувствительность структуры в А/Вт снижается, так как мы при расчете
эффективности делим общий ток на удвоенную мощность источника излучения.
Поэтому при анализе влияния различных факторов на эффективность отдельной
структуры целесообразно использовать результаты в значениях А/Вт, а при
сравнении работы структур с одним и двумя контактами необходимо рассматривать
радиационно-стимулированные токи.
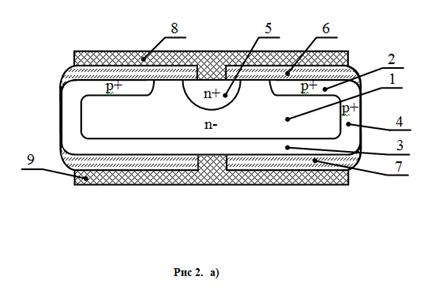
Рисунок 21 − Исходная кремниевая p-i-n
структура
Рисунок 22 − Энергетическая зависимость
радиационно-стимулированных токов в p-i-n структуре при различном расположении
контактов Ni63 (xj = 1мкм)
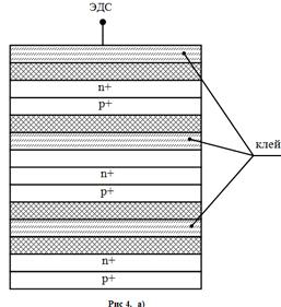
4.3.1 Анализ энергии потерь электронов в
полупроводниковой структуре
Моделирование проводилось в среде CASINO2 [45],
при облучении пучком электронов со значениями энергии 20, 30 и 40 кэВ. Данная
программа позволяет строить распределение средней потери энергии электронов
внутри различных материалов.
Так как пучок падает перпендикулярно поверхности
образца и образец - однородный, то распределения потерь энергии будет обладать
осевой симметрией. Особый интерес представляют частные случаи распределения
потери энергии, а именно, распределение по глубине и по радиусу:
(66)
(67)
Вид кривых
при
различных энергиях пучка приведен на рисунке 23.
Рисунок 23 - Распределения потерь
энергии электронов по радиусу при энергии пучка 20, 30 и 40 кэВ
Распределения энергии по радиусу
резко убывает и с увеличением энергии пучка радиус потерь увеличивается. Таким
образом, больше всего электроны теряют энергию на расстоянии не более 100 нм в
плоскости перпендикулярной падению пучка электронов.
Зависимость потерь энергии по
глубине при различных энергиях пучка приведена на рисунке 24.
Рисунок 24 - Распределения потерь
энергии электронов по глубине при энергии первичного пучка 20, 30 и 40 кэВ
Можно предположить, что
электронно-дырочные пары генерируются в локальной области пространства прямо
пропорционально потери энергии электронов в данной области. Таким образом,
моделируя взаимодействие электронного пучка с образцом и рассчитывая
распределение потери энергии электронов, можно представить пространственное
распределение электронно-дырочных пар.
Частицы с энергией от 10 КэВ имеют
максимум энерговыделения на уровне 400 нм, поэтому для эффективного
преобразования энергии ионизирующего излучения необходимо делать резкий p-n
переход с глубиной залегания не более 500 нм. Область пространственного заряда
должна распространяться на расстояние 5-10 мкм. Электронно-дырочные пары,
сгенерированные частицами с энергией меньше 10 КэВ, практически не будут
вносить вклад в ток структуры, поскольку они будут образовываться в p+ области
и практически сразу рекомбинировать. Далее проведем более детальную оценку
различных параметров.
.3.2 Оценка влияния времени жизни
электронов р-области
Влияние подвижности подвижных
носителей заряда и времени жизни одинаково, и влияет на вклад квазинейтральных
областей в чувствительность. Чем меньше подвижность и время жизни, тем меньшее
число носителей заряда достигают области пространственного заряда, следовательно,
вклад квазинейтральных областей снижается. Подвижность и время жизни подвижных
носителей заряда снижаются при увеличении уровня легирования, однако, при этом
изменяется и контактная разность потенциалов, и, значит, будет меняться ширина
области пространственного заряда. Поэтому, чтобы выделить только изменение
времени жизни будем менять время жизни, не меняя уровня легирования.
На рисунках 25, 26 показаны
изменение чувствительности структуры при изменении времени жизни электронов в
р-области для глубины залегания p-n перехода 1 и 5 мкм. Видно, что чем меньше
глубина залегания p-n перехода, тем меньшее влияние на спектральную
чувствительность изменения времени жизни. Понятно, что при меньшей толщине
p-слоя электронам необходимо пройти меньшее расстояние, поэтому влияние на
спектральную характеристику времени жизни снижается (рисунки 27, 28). При этом
все изменения спектральных характеристик происходят только за счет верхнего
р-слоя. Вклад области пространственного заряда и n-области не меняется.
Рисунок 25 − Зависимость
радиационно-стимулированного источника питания от времени жизни электронов в
р-области (tn =1×10-5¸ 1×10-9 c, d =
1 мкм, S = 104 см/с)
Рисунок 26 − Зависимость
радиационно-стимулированного источника питания от времени жизни электронов в
р-области (tn =1×10-5¸ 1×10-9 c, d =
5 мкм, S = 104 см/с)
Рисунок 27 − Зависимость
вклада р-слоя в чувствительность радиационно-стимулированного источника питания
от времени жизни электронов в р-области (tn
=1×10-5¸ 1×10-9 c, d =
1 мкм, S = 104 см/с)
Рисунок 28 − Зависимость
вклада р-слоя в чувствительность радиационно-стимулированного источника питания
от времени жизни электронов в
р-области (tn =1×10-5¸ 1×10-9 c, d =
5 мкм, S = 104 см/с)
.3.3 Оценка влияния времени жизни
дырок в i- и n- областях
Влияние времени жизни дырок в
n-области более заметно, т.к. n-область существенно больше p-области. На
рисунке 29 показано влияние изменение времени жизни дырок в n-области. При этом
изменения происходят исключительно за счет изменения вклада n-области (рисунок
30).
Рисунок 29 − Зависимость
чувствительности радиационно-стимулированного источника питания от времени
жизни дырок в n-области
(tp =1×10-6¸ 1×10-9 c, d =
1 мкм)
Рисунок 30 − Зависимость
вклада n-области в чувствительность радиационно-стимулированного источника
питания от времени жизни дырок в n-области (tp
=1×10-6¸ 1×10-9 c, d =
1 мкм)
Значительное увеличение глубины
залегания p-n перехода приводит к снижению влияния времени жизни рисунки 31,
32. Во-первых, потому что уменьшаются размеры области. Во-вторых, потому что
уменьшается расстояние, которое необходимо пройти дыркам, чтобы принять участие
в формировании радиационно-стимулированного тока.
Аналогичные зависимости получены для
структур с контактами, расположенными с обеих сторон. На рисунках 33-36
представлено влияние времени жизни в n-области для структур с контактами Ni63 с
обеих сторон. Все изменения происходят за счет изменения вклада дырок в i- и
n-областях.
Рисунок 31 − Зависимость
чувствительности от времени жизни дырок в n-области (tp =1×10-6¸ 1×10-9 c, d =
5 мкм)
Рисунок 32− Зависимость вклада
n-области в чувствительность источника питания от времени жизни дырок в
n-области (tp =1×10-6¸ 1×10-9 c, d =
5 мкм)
Рисунок 33 − Зависимость
чувствительности радиационно-стимулированного источника питания от времени
жизни дырок в n-области с контактами Ni63, расположенными с обеих сторон(tp =1×10-5¸ 1×10-9 c, d =
1 мкм)
Рисунок 34 − Зависимость
вклада n-области в чувствительность радиационно-стимулированного источника
питания от времени жизни дырок в n-области с контактами Ni63, расположенными с
обеих сторон(tp =1×10-5¸ 1×10-9 c, d =
1 мкм)
Рисунок 35− Зависимость
чувствительности радиационно-стимулированного источника питания от времени
жизни дырок в n-области с контактами Ni63, расположенными с обеих сторон(tp =1×10-5¸ 1×10-9 c, d =
5 мкм)
Рисунок 36 − Зависимость
вклада n-области в чувствительность радиационно-стимулированного источника
питания от времени жизни дырок в n-области с контактами Ni63, расположенными с
обеих сторон(tp =1×10-5 ¸ 1×10-9 c, d =5
мкм)
Влияние времени жизни определяется
также концентрацией легирующей примеси в i-области. Связано это с тем, что при
изменении концентрации примеси изменяется ширина области пространственного
заряда, и, следовательно, увеличиваются размеры квазинейтральных областей. На
рисунках 37, 38 представлены зависимости спектральных характеристик при
изменении времени жизни подвижных носителей заряда во всех областях структуры
для концентраций примеси в слаболегированной n-области 1014 см-3 и 1016 см-3.
Видно, что увеличение концентрации примеси в слаболегированной области
увеличивает влияние времени жизни на спектральные характеристики.
Рисунок 37 − Зависимость
чувствительности радиационно-стимулированного источника питания от времени
жизни электронов и дырок (Nd = 1014см-3, tp
=1×10-5¸ 1×10-9 c, d =
1 мкм)
Рисунок 38 − Зависимость
чувствительности радиационно-стимулированного источника питания от времени
жизни электронов и дырок (Nd = 1016см-3, tp
=1×10-5¸ 1×10-9 c, d =
1 мкм)
4.3.3 Оценка влияния уровня
легирования слаболегированной n-области
С целью оптимизации параметров
структуры интересно рассмотреть влияние уровня легирования различных областей.
Здесь мы рассмотрим влияние уровня легирования на спектральную характеристику
чувствительности без учета изменения последовательного сопротивления и
сопротивления растекания. Уровень легирования областей влияет с двух точек
зрения - изменение ширины области пространственного заряда структуры и
изменение таких характеристик полупроводникового материал как время жизни и
подвижность при увеличении уровня легирования.
Поскольку влияние времени жизни
рассмотрено ранее, сначала рассмотрим влияние изменения уровня легирования без
изменения времени жизни и подвижности. Уменьшение уровня легирования приводит к
расширению области пространственного заряда в сторону слаболегированной
области. На рисунках 39, 40 представлены изменения распределения потенциала, и
напряженности электрического поля при изменении концентрации примеси в
слаболегированной области.
Рисунок 39 − Распределение
потенциала в p-i-n структуре при изменении уровня легирования слаболегированной
области. Концентрация в верхнем р-слое 1018см-3
Рисунок 40 − Распределение напряженности
электрического поля в рабочей области p-i-n структуры при изменении уровня
легирования слаболегированной области. Концентрация в верхнем р-слое 1018см-3
На рисунке 41 показано изменение
чувствительности структуры при изменении уровня легирования слаболегированной
области (tn = 10-5с).
Рисунок 41− Влияние уровня
легирования слаболегированной области
(tn = 10-5с)
на спектральную чувствительность pin структуры
При таком достаточно высоком времени
жизни изменение спектральной чувствительности незначительное. При этом при
уменьшении уровня легирования возрастает вклад области пространственного заряда
(рисунок 42), связанный с расширением этой области. Вклад слаболегированной
n-области наоборот снижается (рисунок 43), при таком высоком времени жизни это
вызвано просто уменьшением размеров n области. Вклад p-области не изменяется.
Таким образом, происходит просто перераспределение вклада областей в
распределении чувствительности по энергиям.
Рисунок 42 − Изменение вклада
области пространственного заряда на спектральную чувствительность p-i-n
структуры при изменении уровня легирования слаболегированной области (tр = 10-5с)
При значительном снижении времени
жизни до 10-9 с вклад n-области резко снижается и в чувствительности принимает
участие практически только область пространственного заряда (рисунок 44).
Изменение вклада n-области на
спектральную чувствительность p-i-n структуры при изменении уровня легирования
слаболегированной области показано на рисунке 45.
Рисунок 43 − Изменение вклада
n-области на спектральную чувствительность p-i-n структуры при изменении уровня
легирования слаболегированной области (tр
= 10-5с)
Рисунок 44 − Влияние уровня
легирования слаболегированной области
(tр = 10-9с)
на спектральную чувствительность p-i-n структуры
Рисунок 45 − Изменение вклада
n-области на спектральную чувствительность p-i-n структуры при изменении уровня
легирования слаболегированной области (tр
= 10-9с)
Из аналогичных расчетов для
структуры с контактами Ni63, расположенными с обеих сторон видно, что
значительно возрастает чувствительность со стороны области высоких энергий
электронов, то происходит за счет более высокого перекрытия области поглощения
от высокоэнергетических электронов за счет обратной металлизации. Но при этом и
изменения спектра чувствительности при изменении уровня легирования более
заметны даже при времени жизни tр
= 10-5с (рисунки 46, 47).
Рисунок 46 − Влияние уровня
легирования слаболегированной области
(tn = 10-5с)
на спектральную чувствительность p-i-n структуры с металлизацией Ni63 с обеих
сторон
Рисунок 47 − Изменение вклада
n-области на спектральную чувствительность p-i-n структуры при изменении уровня
легирования слаболегированной области (tр
= 10-5с) с металлизацией Ni63 с обеих сторон
При низком времени жизни (tр = 10-9с) изменения
аналогичны изменениям в структуре только с лицевой металлизацией (рисунок 48).
Это объясняется тем, что электронно-дырочные пары, образуемые вблизи обратного
контакта металлизацией из-за малого времени жизни не принимают участие в
сигнале (рисунок 49) и работают только электроны лицевого контакта.
Рисунок 48 − Влияние уровня
легирования слаболегированной области
(tn = 10-9с)
на спектральную чувствительность p-i-n структуры с металлизацией Ni63 с обеих
сторон
На рисунке 50 приведены зависимости
изменения спектров чувствительности p-i-n структур при условии учета изменений
подвижности и времени жизни в соответствии с [44]. При этом основные изменения
происходят за счет изменения вклада слаболегированной n-области
(рисунок 52).
Рисунок 49 − Изменение вклада
n-области на спектральную чувствительность p-i-n структуры при изменении уровня
легирования слаболегированной области (tр
= 10-5с) с металлизацией Ni63 с обеих сторон
Рисунок 50 − Влияние уровня
легирования слаболегированной области на спектральную чувствительность p-i-n
структуры
Рисунок 51 − Изменение вклада
слаболегированной n-области в спектральную чувствительность p-i-n структуры
Аналогичные результаты получены из
расчетов для структуры с металлизацией Ni63, представлены на рисунках 56, 57.
Рисунок 52 − Влияние уровня
легирования слаболегированной области на спектральную чувствительность p-i-n
структуры (металлизация Ni63 с обеих сторон)
Рисунок 53 − Изменение вклада
слаболегированной n-области в спектральную чувствительность p-i-n структуры
(металлизация Ni63с обеих сторон)
4.3.4 Оценка эффективности структуры
Расчет коэффициента полезного
действия радиационно-стимулированного источника питания проводили по методике расчета,
принятой для преобразователей солнечной энергии [43]. На рисунках 54, 55
представлены зависимость коэффициента полезного действия
радиационно-стимулированного источника питания.
Рисунок 54 − Зависимость КПД
от энергии электронов. Толщина р-слоя 1 мкм. Металлизация Ni63 расположена
только с лицевой стороны
Рисунок 55 − Зависимость КПД
от энергии электронов. Толщина р-слоя 1мкм. Металлизация Ni63 расположена с
обеих сторон
Коэффициент полезного действия для
структур с металлизацией, расположенной с обеих сторон поучается меньше, так
как эффективность металлизации, расположенной с обратной стороны значительно
меньше, а общая мощность источника электронов в два раза больше.
4.4 Выбор оптимальной конструкции
элементарной ячейки
Из обзора, проведенного в первой и
второй главах, а так же моделировании можно определить основные параметры
конструкции бетавольтаической батареи.
. Металлизация в 3D конструкции
должна быть только со стороны p-n перехода, так как в 2D конструкции вклад
нижнего слоя никеля давал сравнительно маленький вклад. Использование
металлизации с обеих сторон в 3D конструкции значительно снижает эффективность
использования никеля-63. Помимо этого резко возрастает стоимость
бетавольтаической батареи из-за высокой стоимости никеля-63.
. Толщина p-слоя должна быть не
более 1 мкм, это обусловлено формированием тока подвижными носителями
образованными внутри этой области. Т.е. эффективность вклада верхнего р-слоя
обусловлена тем, какая доля электронов, образованных излучением, достигнет
области пространственного заряда. Значение толщины верхнего слоя определяется,
подвижностью и временем жизни электронов и скоростью поверхностной
рекомбинации.
. Для увеличения области пространственного
заряда концентрация легирующей примеси в i-области должна быть не более 1015
см-3. Моделирование показало, что увеличение концентрации примеси в
слаболегированной области увеличивает влияние времени жизни на спектральные
характеристики.
. Расстояние между порами в кремнии
определяется максимальным энерговыделением электронов в кремнии и лежит в
диапазоне 10-15 мкм. Толщина структуры будет зависеть от технологических
процессов травления канавок, и будет находиться в диапазоне 100-200 мкм.
4.5 Выводы к главе
Разработаны алгоритмы решения
уравнения Пуассона, уравнения непрерывности, распределения генерации
электронно-дырочных пар при облучении электронами, расчетов токов и
спектральной характеристики структуры.
Был проведен анализ потерь энергии
электронами в полупроводниковой p-i-n структуре.
Проведено моделирования влияния
жизни подвижных носителей заряда в радиационно-стимулированных источниках
питания на зависимости их чувствительности от энергии электронов.
Показано, что при низком уровне легирования
i-области поле обеспечивает максимальное собирание подвижных носителей
генерированных электронами.
Проведено сравнение зависимостей
чувствительности p-i-n структур от энергии быстрых электронов для структур с
металлизацией Ni63, расположенной с лицевой стороны (со стороны p-области) и с
обеих сторон.
Показано, что при снижении уровня
легирования слаболегированной n-области чувствительность структур меньше
зависит от времени жизни.
Дополнительная металлизация Ni63
приводит более равномерной зависимости радиационно-стимулированных токов от
энергии электронов. В тоже время, вклад обратной металлизации значительно
меньше вклада металлизации с лицевой стороны.
Была проведена оценка КПД
радиационно-стимулированного источника питания для структур с металлизацией
Ni63, расположенной с лицевой стороны (со стороны p-области) и с обеих сторон.
.
5. Разработка
эскизной конструкторской документации элементарной ячейки автономного источника
питания на основе радиоизотопных материалов и кремниевой p-i-n структуры
В процессе проведения ПНИ была
сформирована эскизная конструкторская документация, состоящая из чертежа общего
вида элементарной ячейки, включающая разрез и спецификацию, и топологической
схемы элементарной ячейки.
Разработанная элементарная ячейка
состоит из полупроводниковой структуры и радиоизотопа Ni63. Ячейки могут быть
объединены в сборку и монтироваться в металлопластиковый или
металлокерамический корпус. Корпус также служит экранировкой от ионизирующего
излучения.
Контакты эмиттера к корпусу осуществляется
с помощью разварки алюминиевой проволоки. Коллектор припаивается или
приклеивается непосредственно к корпусу на золото оловянную прокладку или
токопроводящий клей.
Эскизная конструкторская
документация элементарной ячейки автономного источника питания на основе
радиоизотопных материалов и кремниевой p-i-n структуры представлена в отдельном
документе.
6. Расчет
основных параметров радиоизотопного материала. Выбор оптимального по
радиоактивности и геометрии радиоизотопа
.1 Анализ радиоизотопных материалов
Радиоактивные материалы при
радиоактивном распаде могут испускать различные виды излучения. Для обеспечения
безопасности обращения, хранения, транспортировку, и для их обнаружения в
объектах наиболее существенны четыре вида излучений:
− альфа излучение;
− бета излучение;
− гамма излучение;
− нейтронное излучение.
При всем разнообразии радиоактивных
веществ, выбор оптимального радиоизотопа для использования в автономных
источниках питания, не является простой задачей, так как абсолютное большинство
изотопов испускает несколько видов излучений, включая вредное для здоровья
человека, гамма излучение. Поэтому к радиоактивному веществу предъявляется
большой комплекс требований:
− в процессе распада не должно
образовываться гамма и нейтронное излучения;
− радиоактивный материал
должен быть α-
или
β-
источником;
− период полураспада не менее
10 лет;
− максимальная энергия
ионизирующих частиц не должна превышать энергию дефектообразования в кремнии,
чтобы не наносить радиационные повреждения, которые приводят к снижению времени
жизни носителей заряда.
Следовательно, максимальный ток и
срок службы будут в обратной зависимости от периода полураспада и энергии
частиц.
6.1.1 Альфа источники
Альфа частицы обладают большой
массой и при столкновениях с электронами атомных оболочек испытывают очень
небольшие отклонения от своего первоначального направления и движутся почти
прямолинейно. Альфа излучение характеризуется малой проникающей способностью и
сильным ионизирующим действием, пробеги альфа частиц в веществе очень малы, у
частицы с энергией 4 МэВ длина пробега в воздухе примерно 2,5 см.
Вследствие этого альфа излучение не
представляет никакой опасности при внешнем облучении, так как не может
проникнуть даже через поверхностный слой кожи. Альфа источники имеют два
основных преимущества:
− обладают большой удельной
мощностью;
− практически не требуют
специальных мер защиты.
Один из наиболее изученных
источников является полоний, он является чистым альфа излучателем. Энергия
альфа частиц полония превращается в тепловую энергию, которую можно
использовать, для обогрева и для преобразования в электричество. У полония
самая высокая удельная мощность, 1210 Вт/см3. Ограничением полония является
относительно малый период полураспада всего 138 дней, что сказывается на сроке
службы радиоизотопных источников с полонием.
Энергию альфа источников используют
в космосе. Изотоп полония применяют в энергетических установках некоторых
искусственных спутников. В частности, его применяли в качестве источника
альтернативного топлива в космическом аппарате Cassini [46].
В таблице 3 представлены основные
характеристики наиболее распространенных альфа источников [47].
Таблица 3 - Альфа источники
|
Радиоизотоп
|
Период
полураспада, лет
|
Средняя
энергия частиц, МэВ
|
|
Гадолиний-148
|
93
|
3,16
|
|
Полоний-209
|
102
|
4,88
|
|
Уран-232
|
68,9
|
38,3
|
|
Плутоний-238
|
87,74
|
5,48
|
|
Америций-241
|
432
|
5,49
|
|
Самарий-146
|
1е8
|
2,53
|
|
Протактиний-231
|
32760
|
5,14
|
Как видно из таблицы 3, альфа источники, которые
имеют подходящий период полураспада, не подходят для прямого преобразования по
требования максимальной энергии частиц. При таких энергиях преобразователь
будет быстро деградировать и поэтому альфа источники не могут использоваться в
преобразователях ионизирующего излучения на основе кремниевых структур.
.1.2 Бета источники
При прохождении через вещество β
частицы
легко рассеиваются в веществе, в связи, с чем траектория в 1,5 − 4 раза
превышает пройденную толщину слоя вещества. По сравнению с α
излучением,
ионизирующее действие β частиц на
единицу длины пройденного пути в веществе меньше, а их проникающая способность,
больше. Однако она не очень велика, от потока β частиц,
максимальная энергия которых 2 МэВ, полностью защищает слой алюминия толщиной
3,5 мм. Вследствие слабой проникающей способности внешнее бета-излучение может поражать,
как правило, только кожные покровы и глаза человека.
Наиболее исследованным и используемым в мире
радиоизотопом для радиоизотопных генераторов является стронций-90 [48, 49].
Изотоп Sr90 используется для создания атомных батарей, и для генераторов с
тепловым циклом [50]. Изотоп Sr90 имеет период полураспада 28,1 года, является
чистым бета-излучателем, со средней энергией бета частиц 196 КэВ. Образуется
при делении урана в ядерно-энергетических установках и при взрывах.
Перспективным радиоматериалом является тритий,
так как является наиболее безопасным из всех бета источников. Это бесцветный
газ, ядро которого состоит из одного протона и двух нейтронов. Максимальная
энергия частиц 18 КэВ, период полураспада 12,33 года, удельная активность 96,20
Ки/г. Тритий образуется в верхних слоях атмосферы в результате взаимодействия
нейтронов вторичного космического излучения с ядрами атомов азота; термоядерных
реакций, осуществляемых на энергетических комплексах и при ядерных испытаниях.
Элементарный тритий, изотоп водорода - газ,
который крайне опасен в своем естественном состоянии. Поэтому исследователям
начали искать способы сохранения трития в твердом веществе. Самый
многообещающий подход - использовать тритиды (аналог гидридов) титана или
скандия. Данные материалы в прошлом широко использовались в нейтронных
генераторах и детекторах электронов. Титан и скандий известны своими свойствами
абсорбировать и удерживать молекулы трития в нужном состоянии. Поток
бета-частиц из такого источника ограничивается собственным поглощением:
бета-частицы трития полностью поглощаются в титане или скандии толщиной меньше
1 мкм. Однако, использую определенную геометрию слоев тритидов и
полупроводника, можно добиться достаточно больших значений плотности энергии,
не беспокоясь о проблемах, которые может вызвать газообразный тритий, особенно
при высоком давлении.
Никель встречается в природе в форме пяти
стабильных изотопов. Самой распространенной формой является никель-58 −
данный изотоп составляет практически 2/3 от общего количества никеля на
планете. Четыре другие формы - это никель-60 (26 % от общего количества),
никель-61 (1,1 %), никель-62 (3,6 %) и никель-64 (0,9 %).
Из шести основных радиоактивных изотопов только
два − никель-59 и никель-63 − имеют достаточно большой период
полураспада, который для остальных радиоизотопов не превышает и шести дней.
Никель-59 распадается за счет поглощения электронов и имеет период полураспада
порядка 75 тясяч лет. Оба никелевых радиоизотопа можно обнаружить в остатках
отработанного радиоактивного топлива. Большие нуклиды урана-235 распадаются на
два больших несимметричных фрагмента с атомной массой порядка 90 и 140 и 2-3
нейтрона. Эти нейтроны могут вызвать цепную реакцию (основная их задача) или же
облучить материалы реактора. Некоторые части реактора содержат хром, марганец,
никель, железо, кобальт. Все эти металлы могут поглотить образовавшиеся в
результате ядерного деления нейтроны, что приведет к образованию обширного
числа различных изотопов, в том числе и никеля-63.
Никель-63, несмотря на высокую стоимость,
по-прежнему востребован для применения в маломощных схемах. Благодаря большому
периоду полураспада никелевые батарейки могут обеспечивать такие схемы энергией
в течение продолжительного времени.
Так же в природе существуют стабильные изотопы
углерода. Наибольшее значение с точки зрения радиационной опасности
представляет долгоживущий (более 5000 лет) изотоп 14С, однако при огромном
периоде полураспада он количество испускаемых частиц чрезвычайно мало.
Для определения наиболее эффективного источника
сравним основные характеристики наиболее распространенных бета изотопов [47].
Таблица 4 -Радиоизотопы β
- излучатели
|
Радиоизотоп
|
Период
полураспада
|
Максимальная
энергия частиц, КэВ
|
|
Никель-63
|
100,1
года
|
66,7
|
|
Стронций-90
|
28,8
лет
|
546
|
|
Тритий-3
|
12,3
года
|
18,6
|
|
Криптон-85
|
10,7
лет
|
687,1
|
|
Сера-35
|
87
дней
|
167,1
|
|
Фосфор-32
|
14,2
дней
|
1710,6
|
|
Углерод-14
|
5730
лет
|
156,
4
|
|
Кальций-45
|
162
дня
|
256,8
|
|
Прометий-147
|
2,62
года
|
|
Радий-228
|
5,75
лет
|
45,9
|
В результате анализа для применения в радиационно-стимулированных
источниках питания на основе кремния наиболее интересным с технической стороны
является Ni63. Он обладает следующими преимуществами:
− максимальная энергия бета частиц ниже
порога дефектообразования;
− период полураспада более 10 лет;
− чистый бета излучатель;
− распадаясь, он превращается в стабильный
изотоп меди.
.2 Расчет оптимальной геометрии радиоизотопа
Радиоизотоп никеля имеет достаточно высокую
плотность 8,9 г/см3, поэтому он обладает высоким самопоглощением энергии,
вследствие чего необходимо определить оптимальную толщину металлизации никеля
для экономии расхода радиоизотопа, при которой электроны будут иметь
достаточную энергию для генерации электронно-дырочных пар в кремнии.
Предположив, что бета распад происходит в центре слоя никеля, тогда кратчайшим
путем образовавшегося электрона будет перпендикуляр к поверхности кремния,
воспользовавшись формулой (59) легко определить что, толщина радиоизотопа не
должна превышать 1 - 2 мкм.
Данное значение так же было подтверждено моделированием
пробега электронов в среде CASINO2. Электроны с энергией 17,4 КэВ бомбардируют
никель и проникают на расстояние до 700 нм, пробеги электронов показаны на
рисунке 56.
Рисунок 56 - Пробег электронов с энергией 17.4
КэВ в Ni
Так же моделирование показало, что основное
самопоглощение происходит на расстоянии 100 - 300 нм от точки образования
электрона. Это видно из распределения энергопоглощения показанного на рисунке
57.
Рисунок 57 - Распределение поглощения энергии в
никеле для электронов с энергией 17,4 КэВ
Поэтому для оптимального преобразования энергии
ионизирующего излучения никелевую металлизацию необходимо наносить толщиной не
более 1 мкм и непосредственно на кремний или тонкий окисел.
.3 Выводы по главе
В данной главе были представлены основные
требования к радиоизотопному материалу.
В первой части были рассмотрены различные α
источники.
Было выявлено что, ни один α источник
не удовлетворяет предъявленным требованиям. Также проведен обзор по β
источникам,
показано, что изотоп никель 63 является наиболее подходящим радиоизотопом для
создания автономного источника питания на основе кремния, так как максимальная
энергия бета частиц не превышает порога дефектообразования. Никель хорошо
интегрируется с кремниевой технологией и используется для создания различных
полупроводниковых приборов.
Так же был проведен расчет оптимальной толщины
металлизации
никеля-63, и показано, что на расстоянии 100-300 нм происходит максимальное
самопоглощение энергии никелем, оптимальная толщина металлизации никеля не
должна превышать 1 мкм.
7.
Разработка эскизной конструкторской документации на измерительный стенд для
проверки параметров экспериментальных образцов автономного источника питания на
основе радиоизотопных материалов и кремниевой p-i-n структуры
Основную часть данных об эффективности
преобразования энергии электронов в электроэнергию планируется получить в
экспериментах на стенде. Источником электронов в данном стенде будет служить
никелевая пластина, на рабочую поверхность которой нанесен слой радиоактивного
никеля толщиной 1 мкм. Для измерения параметров источник никеля-63 прижимается
к контакту экспериментального образца. Затем исследуемый образец вместе с
источником помещается во фторопластовую конструкцию с прижимными контактами.
Контакты подключаются к прибору Keithley 2401, который позволяет измерять ток с
точностью до 10 пА и задавать напряжение смещения с точностью 1 мкВ. Для проведения
исследований были использованы уникальные научные установки и научное
оборудование центра коллективного пользования "Материаловедение и
металлургия".
Модель Keithley 2401 может использоваться для
измерения приборов с тремя и более выводами, такими как HBLEDs и
фотогальванические элементы. Также обеспечивает достаточный диапазон для
измерений приборов с низкими значениями напряжений, включая наноструктуры и
МЭМС. Электрическая схема пикоамперметра представлена на рисунке 58.
Рисунок 58 - Схема измерения тока и напряжения
Основные технические характеристики
пикоамперметра Keithley 2401 представлены в таблице 5.
Таблица 5 - Основные характеристики
пикоамперметра Keithley 2401.
|
Диапазон
|
Точность
|
|
Точность
измерения тока
|
|
до
1 мкА
|
0,029
% + 300 пА
|
|
до
10 мкА
|
0,027
% + 700 пА
|
|
до
100 мкА
|
0,025
% + 6 нА
|
|
до
1 мА
|
0,027
% + 60 нА
|
|
до
10 мА
|
0,035
% +600 нА
|
|
до
100 мА
|
0,055
% + 6 мкА
|
|
до
1 А
|
0,22
% + 570 мкА
|
|
Точность
измерения напряжения
|
|
200
мВ
|
0,012
% + 300 мкВ
|
|
2
В
|
0,012
% + 300 мкВ
|
|
20
В
|
0,015
% + 1,5 мВ
|
Затем будет проводиться измерения
бетавольтаических характеристик экспериментальных образцов. Для измерений
образцов с нанесенной никелевой металлизацией все действия повторяются, за
исключением прижимания источника никеля-63. Схема эксперимента показана на
рисунках 59, 60.
Рисунок 59 - Схема эксперимента по исследованию
эффективности преобразования энергии электронов в электроэнергию
экспериментальным образцом
Рисунок 60 - Электрическая схема проведения
измерений бетавольтаических характеристик
В случае необходимости проведения измерений на
некорпусированных образцах, например, непосредственно на структурах,
находящихся на полупроводниковых пластинах, будет использоваться зондовая
установка.
При работе с зондовой установкой образец будет
помещаться на предметный стол. С помощью ручек производится точная установка
нужной части образца над зондами. Затем на нужные части образца кладется
никелевая пластина, которая будет прижата зондами. Работы будут выполняться с
использованием микроскопа.
Зондовая установка будет помещена в
светонепроницаемую камеру, снабжённую дверцей. Дверцу закрывают при
необходимости проведения темновых измерений.
Коаксиальные кабели от зондов будут выведены
через стенку камеры и подведены к блоку коммутации, который служит для
подключения к анализатору полупроводниковых приборов к зондовой установке.
Таким образом, экспериментальная база, на
которой будут проводиться исследования экспериментальных образов автономного
источника питания, обеспечивает:
диапазон измеряемых токов от 10 пА до 1 А;
диапазон измеряемых напряжений от 1 мкВ до 21 В;
обеспечивается измерение на пластине.
Эскизная конструкторская документация на
измерительный стенд для проверки параметров экспериментальных образцов
автономного источника питания на основе радиоизотопных материалов и кремниевой
p-i-n структуры в составе чертеж общего вида, функциональная схема, схема
электрическая, подключений, соединений и инструкции по эксплуатации
представлена в отдельном документе.
8.
Проведение исследований основных параметров и характеристик существующих
образцов автономных источников питания
Основным параметров для всех устройств, которые
используют радиоактивный материал, является требование безопасности.
Радиоактивный материал, используемый в сегодняшних бетавольтаических
батарейках, имеет низкоэнергетический спектр, испускаемые частицы
останавливаются слоем кожи, поэтому стандартная упаковка полупроводниковых
приборов хорошо подходит для снижения потока частиц.
Следующий параметр бетавольтаических батарей это
срок службы. Источники питания на основе радиоизотопов обладают высокой
энергоемкостью с низкой выходной мощностью, что позволяет таким устройствам
иметь срок службы, превышающий срок службы конденсаторов и химических батареи
мощности. Бета батарейки часто сравнивают с аккумуляторами и конденсаторами, но
они работают в разных режимах. Аккумуляторы и конденсаторы используют различные
электрохимические реакций для хранения энергии, а бета батарейки непрерывно
производить энергию, которая может быть предоставлена непосредственно к
устройству или может быть накоплена с помощью аккумулятора или конденсатора.
Такие батарейки могут работать более 50 лет и использоваться в космосе,
медицине и в автономных датчиках.
Так же к основным параметрам относится критерий
качества бета батарейки. Этот показатель учитывает коэффициент использования
объема радиоизотопа и полупроводникового материала и коэффициент преобразования
ионизирующего излучения. Все существующие разработки не позволяют пока
создавать миниатюрные источники энергии, которые могли бы осуществлять основное
электропитание.
Фирма City Labs Inc. с 2005 года разрабатывает и
производит автономные источники питания с длительным сроком службы (более 20
лет) под маркой NanoTritium™. В 2010 году фирма получила контракт почти в один
миллион долларов США от фирмы Air Force Research Laboratory на разработку новых
батарей, которые могут использоваться в области обороны [51].
В настоящее время компания спонсируется NASA.
City Labs производит батареи на основе трития, который является наиболее
безопасным среди радиоактивных материалов, пригодных для использования в
автономных источниках питания. Источники питания используются там, где
труднодоступна замена батарей и требуется маломощный источник непрерывного
питания с длительным сроком службы.
В настоящее время фирма City Labs предлагает
модели батареек NanoTritium™, образец показан на рисунке 61, с напряжением 0.8,
1.6 и 2.4 В и максимальным током 350 нА. Размер этой батарейки составляет 16 х
35 мм.
Рисунок 61 - Образец NanoTritium™
Американская компания BetaBatt, Inc. получила
грант на коммерциализацию технологии создания автономных источников питания от
Национального научного фонда (National Science Foundation), финансировавшего
также первоначальные исследования. Компания имеет патенты на 3D конструкции
преобразователей энергии на основе нанопористого кремния. Ключевым новшеством
патентов является распределение бета-излучения по всему объему ячейки.
Ожидается что, первое и второе поколение батареек BetaBatteriesТМ будет
работать на основе трития. Выходная мощность должна составлять 50 и 175
мкВт/см3, с будущим потенциалом до 2000 мкВт/см3. По состоянию на 2010 год [52]
производство компанией BetaBatt, Inc. так и не было начато по неизвестной
причине.
В 2003 году была основана компания Widetronix
Inc., которая была награждена грантом в 1,2 млн долларов (TSEC) и 1 млн
долларов от министерства обороны США. Widetronix производит бетавольтаические
батарей, с относительно низким энергопотреблением и долгим сроком эксплуатации.
В качестве полупроводникового материала для создания бетабатарей используется
карбид кремния. Дополнительный 1 млн долларов от министерства обороны был выдан
для поддержки программы анти-саботажа, которая направлена на защиту
американских ракетных технологий от компрометации. Так же фирма Widetronix
планирует открыть центр изготовления прототипов [53].
Последние разработки фирмы Widetronix лежат в
области создания миниатюрного источника питания для физиомониторинга и
терапевтических применений. Ожидается, что выходная мощность будет достигать 10
мкВт/см2 [54]. Работа должна была завершиться в 2013 году, на данный момент нет
никакой информации о результатах работы.
В настоящее время Widetronix предлагает
бетабатарейки Firefli™. Существует две модели этого устройства, которые
монтируются в металлический корпус.T: Батарея имеет на выходе мощность от 10 до
1000 нВт, в качестве изотопа используется тритий, срок службы составляет 12
лет, напряжение разомкнутой цепи составляет от 2 до 6 В.Н: Отличие этой
батарейки состоит в используемом радиоизотопе, в этой модели используется
никель-63. Этот изотоп позволяет увеличить срок службы до 100 лет. Начальная
выходная мощность может быть от 5 до 500 нВт, с напряжением разомкнутой цепи от
2 до 6 В. Образец бетабатарейки Firefli™ показан на рисунке 62.
Рисунок 62 - Образец бетабатарейки Firefli™
С 2013 года фирма осуществляет выпуск surface
mount package. Объем корпуса батарейки составляет 10 x 8.5 х 2 мм. Кроме того,
корпус позволяет увеличить выходную мощность за счет последовательного
соединения при минимальном объеме.
Приборы Widetronix успешно интегрированы в
электронные устройства. Примеры этих устройств показаны на рисунке 63.
Рисунок 63 - Пример использования
бевольтаической батареи
Например, в электронные часы или
микроконтроллер. Бетавольтаическая батарейка обеспечивает питание для
выполнения определенных функций. Микроконтроллер может быть в сочетании с
датчиками сбора, хранения или передачи информации. Кроме того, использование
такого источника питания обеспечивает уверенность в том, что устройства будут
работать более 10 лет.
.1 Выводы по главе
Проанализированы существующие на сегодняшний
день коммерчески доступные варианты бетавольтаических батарей. Показано, что на
сегодняшний день в мире только две фирмы выпускают бетавольтаические батареи.
Выпускаемые бетавольтаические батареи на сегодняшний день не подходят для
основного питания электрических устройств.
9.
Составление рекомендаций по улучшению параметров автономного источника питания
.1 Структуры автономных источников питания
Для составления рекомендаций кремниевых структур
представлены три варианта структур, соответствующие полупроводниковой
технологии (рисунок 64). Структуры должны быть радиационно-стойкие для
диапазона энергий бета-источника никель-63. Для уменьшения сопротивления базы и
возбуждения носителей заряда с двух сторон целесообразно утонить пластину до
толщины 10-40 мкм (рисунок 64 А). C другой стороны, сбор сгенерированных
носителей заряда будет наиболее эффективным на структурах, в которых наиболее
эффективно используется радиоактивный источник. Учитывая, что бета-частицы
никеля-63 испытывают самопоглощение, а максимальная глубина выхода частиц не
превышает 40 мкм, целесообразно использовать микроканальный кремний или
формировать щели толщиной до 10-40 мкм (рисунок 64 B). Здесь встает
технологическая задача заполнения радиоактивным источником щелей без пустот,
что требует дополнительного подслоя перед нанесением никеля [55]. Наконец,
третий вариант структур предполагает создание кроме p-n перехода еще переход
металл-оксид-полупроводник (рисунок 64 С).
С точки зрения технологии наиболее простым
вариантов является структура с утонённой базой (рисунок 64 А). Здесь на
кремниевой пластине n- создается слой n+, затем производится шлифовка пластины
до толщины порядка 10-15 мкм с сохранением ободка, который позволяет
механически держать всю структуру. Затем проводится либо диффузионное
легирование либо ионная имплантация атомов бора для создания тонкого подслоя
p+. В заключении проводится осаждение и вжигание 63Ni на обе стороны пластины.
Таким образом, достигается эффект генерации носителей заряда в ОПЗ от двух
бета-источников - сверху и снизу структуры, что должно повысить ее
эффективность в два раза.
Также для улучшения параметров автономного источника
питания необходимо использовать современное технологическое оборудование,
например, установку для нанесения фоторезиста аэрозольным методом.
Рисунок 64 − Варианты кремниевых структур
бетавольтаических элементов: - структура с утонённой базой, B - структура с
щелями, C - двухсторонняя структура с оксидом. Штриховкой показан радиоактивный
источник никель-63
К достоинствам описанной структуры можно отнести
не только простую технологию изготовления, но также и возможность создать
микросборку из пластин для повышения напряжения источника питания. Недостатками
такой структуры является низкий выход годных изделий, поскольку при утонении
пластины становятся хрупкими, также после шлифовки возникают большие токи утечки
в структуре, что снижает ее эффективность.
Структура, представленная на рисунок 64 В,
формируется на пластине n-, в которой при помощи фотолитографии создаются щели
глубиной более 100 мкм и шириной порядка 10 мкм с последующим диффузионным
легированием. В результате формируется p-n переход на стенках каналов [56],
после чего проводится металлизация, осаждение и вжигание 63Ni. При создании
структур необходимо предусмотреть, чтобы ОПЗ p-n перехода на стенках щелей
занимала все пространство между щелями для наиболее эффективного сбора
носителей заряда. Достоинствами указанной структуры являются большая удельная
площадь, которая в десятки раз увеличивает ток генерации. Можно также отметить,
что другим преимуществом структуры является свобода выбора ширины щелей и
расстояния между ними. К сожалению, у такого варианта имеется ряд недостатков.
Во-первых, метод легирования глубоких щелей не распространен в кремниевой
технологии и, поэтому требует более детального подхода, в частности, непонятно
как контролировать равномерность легирования стенок щелей. Во-вторых, возникает
сложность металлизации щелей радиоактивным никелем, поскольку для щелей с
диаметром микронных размеров из-за плохой адгезии к тонкому диоксиду кремния
никель будет осаждаться только на поверхность образца без глубокого
проникновения в щели. В результате может возникнуть ситуация формирования
пустот в щелях и резкое снижение эффективности структур.
Наконец, вариант, представленный на рисунке 64
С, является технологически сложным и включает несколько процессов: эпитаксию на
пластине n- слоя р-, фотолитографию и ионное легирование бором с последующей
разгонкой, вторую фотолитографию и ионное легирование фосфором для создания n+
контактного слоя, шлифовку пластины до толщины 10-30 мкм и заключительное ионное
легирование бором для создания p+ контактного слоя. В заключении проводится
выращивание тонкого окисла и нанесение металлизации радиоактивным никелем-63
для создания дополнительной структуры металл-оксид-полупроводник с целью сбора
носителей заряда в p+ области. При достаточно сложной технологии у этого
варианта бетавольтаического элемента имеется главное достоинство - сбор
сгенерированных носителей заряда осуществляется практически во всей области
кремниевой пластины, поскольку в области n- находится ОПЗ p-n перехода, а в
области p+ существует встроенное поле МОП- структуры никель-оксид-p-Si. Из
схемы видно, что оба перехода подключены параллельно и имеют два контакта -
верхний и нижний, оба контакта реализованы на никеле-63. Такая структура
эффективна и удобная для дальнейшей микросборки, например, для
последовательного соединения структур с целью увеличения напряжения питания,
достаточно просто структуры прижать друг к другу и отжечь, что обеспечит как
надежный контакт, так и исключит потери на сопротивлении между элементами. В
результате эффективность на единицу объема должна быть наиболее высокой.
.2 Рекомендации по улучшению параметров
автономных источников питания
Для составления рекомендаций по улучшению
параметров автономных источников питания была проведена численная оценка токов
генерации, КПД и коэффициента сбора сгенерированных носителей заряда для
структур, представленных на рисунке 64, а также были определены оптимальные
значения геометрических размеров p и n областей каждой структуры. На основе
численных данных была определена эффективность сбора носителей заряда для
представленных структур при разных сочетаниях глубины залегания p-n перехода d
и ширины ОПЗ w. Варьируя только эти два параметра для каждой структуры, можно
рассчитать значения d и w, при которых разработанные структуры будут наиболее
эффективны.
Необходимо рассчитывать эффективность сборки из
структур, получая значения, нормированные на единицу объема, обозначим эту
величину как ηV. Для определенности
будем считать, что площадь всех структур равна 1 см2, а толщина структуры
определяется задаваемыми параметрами глубины залегания p-n перехода и ширины
ОПЗ, все расчеты проведем для активности бета-источника 10 мКи/см2. Выбор
значений d и w, проводился для каждой структуры таким образом, чтобы с одной
стороны эффективность была максимальной, а значение толщины структуры -
минимальное.
Перед оптимизацией параметров учтем результаты
работы [56], где показано, что из-за самопоглощения бета-частиц толщина изотопа
никель-63 должна быть более 4 мкм, что определяет минимальную ширину каналов на
структуре В (рисунок 64). В результате для всех структур примем толщину слоя
металлизации никель-63 равной 4 мкм, в том числе металлизации по бокам стенок
щелей на структуре В. Рекомендации по улучшению параметров автономных
источников питания представлены в отдельным документе.
.3 Выводы по главе
Проведена численная оценка токов генерации, КПД
и коэффициента сбора сгенерированных носителей заряда для различных структур.
Составлены рекомендации для планарной, щелевой и МОП структуры. Показано, что
наиболее эффективной является МОП структура.
Заключение
В ходе выполнения первого этапа ПНИ проведен
аналитический обзор современной научно-технической, нормативной, методической
литературы в области разработки радиоизотопных источников питания, исследованы
возможные области применения источников питания на основе бета-изотопов.
В ходе патентного исследования найдены, изучены
и проанализированы российские и иностранные патенты и заявки на патенты по темам,
пересекающимся с данной работой. В ходе исследования не было выявлено нарушений
патентного права, что говорит о патентной чистоте проводимой работы.
Обоснован выбор оптимального варианта
направления исследований. При этом определено, что перспективным направлением
является создание конструкции на основе пористого или микроканального кремния.
Для достижения необходимых параметров автономного источника питания необходимо
последовательно и параллельно соединять элементарные ячейки.
Разработаны алгоритмы решения уравнения
Пуассона, уравнения непрерывности, распределения генерации электронно-дырочных
пар при облучении электронами, расчетов токов и спектральной характеристики
структуры.
Был проведен анализ потерь энергии электронами в
полупроводниковой p-i-n структуре.
Проведено моделирования влияния жизни подвижных
носителей заряда в радиационно-стимулированных источниках питания на
зависимости их чувствительности от энергии электронов.
Показано, что при низком уровне легирования
i-области поле обеспечивает максимальное собирание подвижных носителей
генерированных электронами.
Проведено сравнение зависимостей
чувствительности p-i-n структур от энергии быстрых электронов для структур с
металлизацией Ni63, расположенной с лицевой стороны (со стороны p-области) и с
обеих сторон.
Показано, что при снижении уровня легирования
слаболегированной n-области чувствительность структур меньше зависит от времени
жизни.
Дополнительная металлизация Ni63 приводит более
равномерной зависимости радиационно-стимулированных токов от энергии
электронов. В тоже время, вклад обратной металлизации значительно меньше вклада
металлизации с лицевой стороны.
Была проведена оценка КПД
радиационно-стимулированного источника питания для структур с металлизацией
Ni63, расположенной с лицевой стороны (со стороны p-области) и с обеих сторон.
Разработана эскизная конструкторская
документация элементарной ячейки автономного источника питания.
Произведен анализ различных альфа и бета
источников и обоснован выбор никеля-63 в качестве источника радиоизотопа.
Показано что, для оптимального преобразования ионизирующего излучения толщина
никелевой металлизации не должна превышать 1 мкм.
Разработана эскизная конструкторская
документация на измерительный стенд для проверки параметров экспериментальных
образцов автономного источника питания.
Проанализированы существующие на сегодняшний
день коммерчески доступные варианты бетавольтаических батарей. Показано, что на
сегодняшний день в мире не существует бетавольтаических батарей подходящих для
основного электропитания.
Составлены рекомендации по улучшению параметров
радиационно-стимулированного источника питания.
Список использованных
источников
1
H. G. J. Moseley, and J. Harling, “The Attainment of High Potentials by the Use
of Radium, Proc. R. Soc. (London) A, 88, 471 1913.
H.
J. Gerwin, Selected Thermoelectric Thermionic, and Electron-Voltaic Energy
Conversion Device Characteristics, SC-ARPIC-1011, Sandia Laboratories (May
1969).
Kenneth
E. Bower, Yuri A. Barbanel, Yuri G. Shreter, George W. Bohnert. POLYMERS,
PHOSPHORS, AND VOLTAICS FOR RADIOISOTOPE MICROBATTERIES. 2002. 472 p.
Robert
D. Abelson. Expanding Frontiers with Standard Radioisotope Power Systems. 2005
Cassini
Program Environmental Impact Statement Supporting Study. Vol. 2 Cassini
Document No. 699-070-2. 1994.
Карасев
П.А. Ядерные энергетические установки в космосе//Атомная стратегия. -2007-№ 30.
7
Scott, A. Improving power density and efficiency of miniature radioisotopic
thermoelectric generators / A. Scott [et all] // Journal of Power Sources 180,
2008, P. 657-663.
8
Егоров О. Изотопные источники энергии // Квант. -2001. - № 1.
- С. 31-34.
9
Olsen, L.C. Review of betavoltaic energy conversion / L.C. Olsen // Proceedings
of the XII Space Photovoltaic Research and Technology Conference, 1992. - P.
256.
A.
Scharman, "A Photoelectric Radionuclide-Battery and Its Limits,"
Proc. Intl. Sympos. Industrial Applications of Isotopic Power Generators, AERE,
Harwell, September 1966.
Reisfeld,
R. and Jorgensen, C.K., Luminescent solar concentrators for energy conversion,
in Structure and Bonding, Springer-Verlag, Berlin, Heidelberg, 1982, 2-36.
Yakubova,
G. N. Dissertation // Nuclear batteries with tritium and promethium-147
radioactive sources // Urbana, Illinois / 2010.
W.Ehrenberg,
et al. The Electron Voltaic Effect.- Proc. Roy. Soc. 64, 424(1951).
P.Rappaport,
The Electron-Voltaic Effect in p-n Junctions Induced by Beta Particle
Bombardment, Phys. Rev. 93, 246 (1953).
L.
C. Olsen, “Review of Betavoltaic Energy Conversion” Processing of the 12th
Space Photovoltaic Research and Technology Conference, 256 (1993).
L.C.
Olsen, P. Cabauy, B.J. Elkind. Betavoltaic power sources / Physics Today. - pp
35 - 38. - 2012.
Jinkui
Chu Xianggao Piao. Research of radioisotope microbattery based on β-radio-voltaic
effect // Micro/Nanolith. MEMS MOEMS. - 2009. - № 8.
Нагорнов
Ю.С., Современные аспекты применения бетавольтаического эффекта. // Ульяновск.
- 2012.
Ю.
С. Нагорнов, Е. С. Пчелинцева, Б. М. Костишко. / Моделирование
радиационно-стимулированного источника тока на p-i-n структурах. // Известия
высших учебных заведений. Поволжский регион
№ 3 (11), 2009. с.
113-125
Wei
Sun, Nazir P. Kherani, Karl D. Hirschman, Larry L. / A three-dimensional porous
silicon p-n diode for betavoltaics and photovoltaics // Advanced materials.
-2005 p. 1230-1233.
T.
Wacharasindhu, J.W. Kwon, A. Y. Garnov, and J. D. Robertson / Encapsulated
radioisotope for efficiency improvement of nuclear microbattery // PowerMEMS. -
2009 p. 193-196.
P.
D. Desai, B. Ulmen, J. R. Lee, S. Moghaddam, R. I. Masel, G. H. Miley / Ni-63
Schottky Barrier Nuclear Battery // 2011.
N.
Luo, B. Ulmen and G. H. Miley \\ Nanopore/Multilayer Isotope Batteries Using
Radioisotopes from Nuclear Wastes \\ ASEE Joint Propulsion Conference &
Exhibit \\ Nashville 2010
George
H. Miley, Nie Lou \\ A Nanopore Multilayer Isotope Battery Using Radioisotopes
from Nuclear Wastes \\ Annual International Energy Conversion Engineering
Conference \\ San Diego 2011
A.Dolgyi,
S.Redko, H.Bandarenka, A.Shapel and V.Bondarenko // Beta-battery based on
63Ni/macroporous silicon // The Electrochemical Society 2012
Wacharasindhu
T., Kwon J.W., et al., Radioisotope Microbattery Based on Liquid Semiconductor
// Journal of Applied Physics Letters. - 2009. - 95,014103
Meier
D., Garnov A., Kwon J.W., et al. Production of S35 for a Liquid Semiconductor
Betavoltaic // Journal of Radio analytical and Nuclear Chemistry. - 2009. - №
9. - С.
193-196.
Li
H., Lal A., Blanchard J., et al., Self-reciprocating radioisotope - powered
cantilever // J. Appl. Phys., - 2002. - № 92. P. 271 - 274
Xiao-Ying
Li, et al., / Ni63 schottky barrier nuclear battery of 4H-SiC // Radioanal Nucl
Chem. - 2011. - № 287. - С.
173 - 176.
Pen-Tung
Sah. Demonstration of a High Open-Circuit Voltage GaN Betavoltaic Microbattery
// Chin. Phys. Lett. - Vol.28, № 7. - 2011.
Методические
рекомендации по применению классификации запасов месторождений и прогнозных
ресурсов твердых полезных ископаемых / Государственная комиссия по запасам
полезных ископаемых - М., 2007.
32
B. Campbell, W. Choudhury, A. Mainwood, M. Newton, G. Davies. Lattice damage
caused by the irradiation of diamond. Nuclear Instruments and Methods in
Physics Research A 476 (2002) 680-685.
33
Е.С. Пчелинцева, С.Г. Новиков, А.В. Беринцев, Б.М. Костишко / Импульсный
радиационно-стимулированный источник электрического питания. // Известия
Самарского научного центра Российской академии наук,
т. 14, №4(4), 2012. - с. 1126-1128.
МОП
СБИС. Моделирование элементов и технологических процессорв.- М.: Радио и связь,
1988.- 496с.
Р.
Маллер, Т. Кейминс Элементы интегральных схем.- М.:
Мир,
1989.- 630 с.
A.
De Mari, “An accurate numerical steady-state one-dimensional solution of the
p-n junction”, Solid-St. Electronics, vol. 11, p. 33-58,
1968.
Марчук
Г.И. Методы вычислительной математики.- М.: Наука, 1989.- 608с.
Самарский
А.А. Введение в численные методы.- М.: Наука, 1982.- 272 с.
Исследование
профиля энерговыделения в NaCl при облучении / Ганн В.В. [и др.] // Вопросы
атомной науки и техники. Серия: Физика радиационных повреждений и радиационное
материаловедение. - 2005, - Вып. 88. - С. 32-35.
Нагорнов,
Ю.С. Моделирование процесса генерации электронно-дырочных пар в солнечном
элементе при электронном облучении/ Ю.С. Нагорнов [и др.] // 1-ая Всероссийская
конференция по многомасштабному моделированию процессов и структур в
нанотехнологиях (ММПСН 2008) 2008 г., с.254-256/
Нагорнов,
Ю.С. Моделирование процесса генерации энергии в радиационно-стимулированном
источнике питания для МЭМС/ Ю.С. Нагорнов [и др.] // Тезисы конференции
«Многомасштабное моделирование процессов и структур в нанотехнологиях» 2009. с.
284-285.
42
PohChin Phua, Vincent K. S. Ong Determining the Location of Localized Defect in
the Perpendicular Junction Configuration With the Use of Electron Beam Induced
Current//IEEE of Transaction on Electron Devices.- V.49.¬No.
11, P.2036-2046.
Зи
С. Физика полупроводниковых приборов: В 2-х книгах. Пер. с англ.- М.: Мир,
1984.- 456 с.
44
<#"806784.files/image164.jpg">
Приложение 2
ПЛАНАРНЫЙ ПРЕОБРАЗОВАТЕЛЬ ИОНИЗИРУЮЩИХ ИЗЛУЧЕНИЙ
Настоящее изобретение относится к области
преобразователей энергии ионизирующих излучений в электрическую энергию (Э.Д.С.).
Известны конструкции планарных - 2D
преобразователей ионизирующих радиационных излучений в электрическую энергию
(бета гальваническая батарейка), которые впервые предложил Раппопорт в 1954
году [1,2], после обнаружения им того, что при распаде изотопов, например,
никеля-63 или трития могут образовываться в полупроводниковых материалах
электронно-дырочные пары, это явление получило название бетавольтаического
эффекта. Позднее в 1957 году Elgin-Kidde впервые применили бетавольтаический
эффект для выработки электрической энергии с помощью планарных р-п переходов,
полученных на кремниевых пластинах [3].
С 1989 года для создания преобразователя -
бетавольтаической батареи стали исследоваться и применяться другие -
широкозонные материалы GaN, GaP, AlGaAs, SiC вследствие их более высокой
температурной стойкости [4,5].
Однако при создании трехмерных (3D) конструкций
технологии, использующие широкозонные материалы, уступают в производительности
и эффективности кремниевой технологии. В частности, глубина микроканалов в
кремнии в разы больше, чем в карбиде кремния и других материалах. Степень
дефектообразования при формировании микроканалов также минимальная в кремниевой
технологии. Более того именно в кремниевой технологии наиболее просто и
экономично совместить в одной конструкции набор двумерных элементов. Таким
образом, технология, использующая кремниевые пластины является наиболее
эффективной с точки зрения минимизации объема и веса преобразователя,
приходящегося на единицу вырабатываемой электроэнергии в трехмерных
конструкциях.
Поэтому с 2004 года появилось множество работ
посвященных созданию 3-ех мерных "объемных "конструкций 3D
преобразователей, в основном на монокремнии, нацеленных на оптимизацию
соотношения веса преобразователя к вырабатываемой энергии [6-10]. Такие
конструкции позволяют получить развитую поверхность щелей или каналов
кремниевых пластин с оптимальными размерами квазинейтральных областей и
областей пространственного заряда р- i-п диодов, в которых генерируются бета
излучением носители заряда. Однако создание бета батареек с такой конструкцией
представляет сложную и не решенную технологическую проблему, прежде всего из-за
низкого качества р-п переходов в каналах или щелях кремниевых пластин, что
приводит к недопустимо большим токам утечки через них.
В последнее время появились технологии утонения
кремниевых пластин до разменов 40-100 микрон, что соизмеримо с глубиной
проникновения в кремний (20 мкм) бета излучения радиоактивных изотопов таких,
так никель-63 и тритий, что принципиально позволяет создавать планарные
"тонкие" конструкции кремниевых р- i-п диодов с близкими к
оптимальным размерами квазинейтральных областей и областей пространственного
заряда (10-29 мкм) [11].
Однако и "тонкие " планарные
конструкции преобразователей на основе р-i-п диодов [4,5,12] не обладают
максимально возможной эффективностью, поскольку в них сбор носителей заряда от
излучения имеет односторонний характер (только сверху) со стороны расположения
поверхностного р-п перехода.
Известна планарная 2D конструкция полупроводниковых
вольтаических преобразователей радиационных бета излучений в электрическую
энергию [12] (см.рис.1), взятая за прототип и содержащая слаболегированную
полупроводниковую пластину п (р) типа проводимости, в которой расположена
сильнолегированная п+ (р+) область, на поверхности которой расположен
электропроводящий электрод катода (анода), на верхней поверхности пластины
расположена сильнолегированная р+ (п+) область образующая с полупроводниковой
пластиной р-п переход, на поверхности р+ (п+) области расположен слой
изолирующего диэлектрика и электропроводящий электрод анода (катода),
являющийся радиоактивным изотопом.
Способ ее изготовления, планарной конструкции,
состоящий в формировании эпитаксиальным наращиванием на поверхности
полупроводниковой подложки п(р) типа проводимости слоев п-(-р) типа и + р(+п)
типа проводимости, осаждении на поверхность слоя +р(+п) типа проводимости
радиоактивного изотопа никеля, формировании электрода катода (анода)
образующего омический контакт к подложке п-(-р) типа проводимости и
формировании электрода анода (катода) образующего омический контакт к слою +р
(+ п) типа проводимости, изоляции планарной поверхности слоев оксидом кремния.
Общим недостатком аналогов и прототипа является
невозможность достичь наилучших соотношений размеров (веса) преобразователя к
выделяемой мощности ЭДС.
Целью изобретения является создание конструкции
планарного преобразователя - бета батарейки с значительно большей (в два раза)
генерируемой электрической энергией приходящейся на единицу его объема (веса).
Цель достигается − путем создания новой
конструкции планарного преобразователя, состоящей из слаболегированной
полупроводниковой пластины п(-р) типа проводимости, в которой расположены
сильно легированные соответственно верхняя и нижняя горизонтальные р+ (п+)
области, образующие с пластиной р- п переходы р- i- п диода, при этом они
соединены между собой вертикальной р+ (п+) кольцевой (замкнутой) областью, на
верхней поверхности пластины также расположена п+(р+) контактная область к
пластине -п (-р) типа проводимости, на верхней и нижней поверхностях
горизонтальных р+ (п+) областях расположены соответственно слои верхнего и
нижнего диэлектрика содержащие контактные окна, соответственно, к п+(р+)
контактной области и нижней горизонтальной р+(п+) области, на поверхности
верхнего и нижнего диэлектриков расположены соответственно верхний и нижний
слои радиоактивного изотопа металла образующие омические контакты
соответственно с п+(р+) контактной областью и нижней горизонтальной р+(п+)
областью, являющиеся электродами катода(анода) и анода (катода) соответственно
р- i- п диода.
Способом изготовления, состоящим в создании
вертикальной кольцевой р+ (п+) области путем проведения первой фотолитографии,
тралении в пластине глубокой кольцевой щели и диффузии в ее поверхность примеси
р+ (п+) типа, создании верхней горизонтальной р+ (п+) области путем проведении
второй фотолитографии по верхней поверхности пластины и имплантации акцепторной
(донорной) примеси в ее верхнюю и нижнюю поверхность и последующего температурного
отжига радиационных дефектов, формировании п+(р+) контактной области путем
проведения третьей фотолитографии по верхней поверхности пластины и имплантации
в нее донорной (акцепторной) примеси и последующего температурного отжига
радиационных дефектов, нанесении на верхнюю и нижнюю поверхность пластины слоев
нижнего и верхнего слоев диэлектрика, проведения четвертой и пятой
фотолитографий, вскрытия контактных окон соответственно к верхней п+(р+)
контактной области и нижней р+ (п+)области, осаждения нижнего и верхнего слоев
радиоактивного изотопа металла на верхнюю и нижнюю поверхность пластины, а
также резка пластины на чипы.
Недостатком конструкции является то, что
диэлектрик, расположенный под слоями радиоактивного изотопа частично поглощает бета
излучение, несколько снижая КПД преобразователя.
Поэтому целью дальнейшего повышения
эффективности предлагаемой планарной конструкции, в которой, на верхней и
нижней поверхностях слаболегированной полупроводниковой пластины -п (-р) типа
проводимости расположены сильно легированные соответственно верхняя и нижняя
горизонтальные р+ (п+) области, образующие с пластиной р-п переходы р-i-п
диода, при этом они соединены между собой вертикальной р+ (п+) кольцевой
(замкнутой) областью, на верхней поверхности пластины также расположена п+ (р+)
контактная область к пластине -п (-р) типа проводимости на верхней и нижней
поверхностях горизонтальных р+ ( п+) областей располагаются верхний и нижний
слои радиоактивного изотопа металла, образующие омический контакт соответственно
с верхними и нижними горизонтальными р+ (п+) областями, при этом нижний слой
изотопа образует электрод анода (катода) на поверхности верхнего слоя изотопа и
части верхней поверхности пластины расположен диэлектрик, на котором расположен
металлический электрод катода (анода) образующий омический контакт с контактной
п+ ( р+ ) областью.
Способом изготовления, состоящим создании
вертикальной кольцевой р+ (п+) области путем проведении первой фотолитографии,
тралении в пластине глубокой кольцевой щели и диффузии в ее поверхность примеси
р+ ( п+) типа, создании верхней горизонтальной р+ (п+) области путем проведении
второй фотолитографии по верхней поверхности пластины и имплантации акцепторной
(донорной) примеси в ее верхнюю и нижнюю поверхность и последующего
температурного отжига радиационных дефектов, формировании п+ (р+) контактной
области путем проведения третьей фотолитографии по верхней поверхности пластины
и имплантации в нее донорной (акцепторной) примеси и последующего
температурного отжига радиационных дефектов, осаждении на верхнюю и нижнюю
поверхность пластины слоев радиоактивного изотопа, проведения четвертой
фотолитографии удаления части верхнего слоя изотопа расположенного на
поверхности подложки п-(р-) типа и контактной п+ (р+) области, осаждении
диэлектрика на верхний слой изотопа и часть верхней поверхности пластины,
проведение пятой фотолитографии - вскрытия контактного окна к п+ (р+)
контактной области, осаждении на верхнюю поверхность пластины металла, резки
пластины на чипы.
Конструкция прототипа показана на рис. 1, где а
- структура, б- топология.
здесь 1- слаболегированная полупроводниковая
пластина п- типа проводимости, 2- п+ сильно легированная область, 3- р- область
р-п перехода,4- материал радиоактивного изотопа, 5-диэлектрик - оксид кремния,
6- электрод анода, 7-электрод катода.
Конструкция преобразователя по изобретению
показана рис. 2, где а - структура, б- топология, в- эквивалентная
электрическая схема.
В конструкции имеется полупроводниковая пластина
п (р) типа проводимости - 1, на верхней и нижней поверхности которой
расположены сильно легированные соответственно верхняя - 2 и нижняя - 3
горизонтальные р+ (п+) области, к ним примыкает вертикальная р+ (п+) кольцевая
область - 4, на верхней поверхности пластины также расположена п+(р+)
контактная область - 5, на поверхности верхней горизонтальных р+ (п+) и -п (-р)
областей - 1 и 2 расположен слой верхнего диэлектрика - 6, под ним расположен
верхний слои радиоактивного изотопа - металла - 8, соответственно под нижним
горизонтальным р+ (п+) слоем - 3 расположен нижний слой радиоактивного изотопа
- металла - 9, верхний контакт -7 подводится к п+(р+) контактной области - 5.
(Пример конкретной реализации)
Технология изготовления преобразователя по
изобретению
показана на рис. 3 и состоит из следующей
последовательности технологических операций:
а) - термическое окисление кремниевых пластин
КЭФ 5 кΩ∙см с ориентацией (100);
проводят 1-ую фотолитографию и травление пластин
по границам чипов;
проводят формирование вертикального р+ слоя
путем "глубокой" диффузии бора вплоть до смыкания верхнего и нижнего
фронтов;
б) - проводят 2-ую фотолитографию и формируют
ионным легированием бора дозой D=500 мкКул энергией Е=40 кэВ р+ верхнюю
горизонтальную область и р+ нижнюю горизонтальную область;
в) - проводят 3-ую фотолитографию и формируют п+
контактный слой ионным легированием фосфора дозой D= 300 мкКул с энергией E= 40
кэВ;
проводят термический отжиг радиационных дефектов
при температуре Т= 900 ºС в течение
t= 40 минут;
г) - проводят 4-ую фотолитографию формирования
верхних окон;
осаждают радиоактивный изотоп - никель-63 на
верхнюю часть пластины;
осаждают радиоактивный изотоп - никель-63 на всю
нижнюю часть пластины;
д) - проводят 5-ую фотолитографию формирования
верхних окон к контактным п+ площадкам;
проводят плазмохимическое осаждение окисла на
верхнюю поверхность пластины;
д) - проводят осаждение металла на верхнюю часть
пластины для создания контакта с п+ областью;
режут пластины на чипы (кристаллы).
Принцип действия преобразователя основан на
ионизации полупроводникового материала, например, кремния бета излучением
изотопов (никеля, стронция, кобальта и т.д.). Образующиеся при этом электронно-
дырочные пары разделяются полем р-п перехода в области пространственного заряда
(ОПЗ) и создают разность потенциалов на р+ и п+ областях
преобразователя.(бетагальваническую Э.Д.С). При этом часть электронно-дырочных
пар может быть собрана полем р-п перехода также в квазинейтральной области
(КНО) на расстоянии равном диффузионной длине носителя заряда.
Пример практической реализации конструкции.
Предлагаемый преобразователь может быть
реализован на пластинах кремния КЭФ 5 кΩ∙см с ориентацией (100) по
технологии, представленной на рис. 3. При этом в качестве изотопного источника
может быть выбран 63Ni, имеющий большой период времени полураспада (100,1 лет)
и испускающий электронное излучение со средней энергией 17 кэВ и максимальной
энергией 64 кэВ, практически безопасный для здоровья человека. Такая энергия
электронов меньше энергии дефектообразования в кремнии (160 кэВ). При этом
глубина поглощения в кремнии электронов со средней энергией 17 кэВ составляет
примерно 3.0 мкм, а для 90 % поглощения - 12 мкм. Данные размеры должны
соответствовать глубинам залегания р-п переходов и величине ОПЗ, что достигается
на типовых кремниевых структурах. Следует, отметить, что в качестве
радиоактивного изотопа могут быть использованы иные материалы, например,
твердотельный источник трития и т.д.
Технические преимущества изобретения:
конструкция бета батарейки позволяет получить
практически в два раза большую мощность, по сравнению с обычным р- i-п диодом
(размеры п+ контактной области много меньше размеров р+ горизонтальных областей
и ее вкладом можно пренебречь);
при производстве бета батарейки преобразователя
ионизирующих излучений используется микроэлектронная технология;
конструкция "высоковольтной" батареи
собирается из элементарных батареек путем их склеивания электропроводящим клеем
(см рис 4);
современные технологии изготовления пластин
позволяют провести утонение пластин кремния до оптимальных размеров Н=40 мкм
соответствующих глубине поглощения бета излучения в кремнии, что позволяет
получать максимальную мощность излучения и, соответственно, ЭДС на единицу
объема (веса) преобразователя;
такой источник ЭДС обеспечит прямую зарядку
аккумулятора при отсутствии солнечных батарей при минимальном ее весе и
размерах, что важно, например, для применения в беспилотных летательных
аппаратах, взрывоопасных помещениях - шахтах, ночных индикаторах, расположенных
в труднодоступных местах, электростимуляторах сердца и т.д.;
− важным обстоятельством является также
то, что срок службы такого преобразователя определяется периодом полураспада
радиоактивного материала, который для 63Ni составляет 100,1 лет, что более чем
достаточно в большинстве применений.
Список литературы
- Rappaport P. The Electron-Voltaic
Effect in p-n Junctions Induced by Beta-Particle Bombardment / P. Rappaport //
Phys. Rev. 1954. V. 93. P. 246.
- Rappaport P. Radioactive battery
employing intrinsic semiconductor / P. Rappaport // US Patent 5,973. 1956.
- "Miniature Atomic Powered
Battery", Radio and TV News, V.57. May. 1957. P.160.4- Chandrashekhar
M.V.S., Thomas Ch.I.; Li H., Spencer M.G.; Lal A. Demonstration of a 4H SiC
Betavoltaic Cell // Applied Physics Letters. V. 88. N3. 2006. P. 033506. 1-3.
- Cheng Z., Zhao Z., San H.; Chen X.
Demonstration of a GaN betavoltaic microbattery // Nano/Micro Engineered and
Molecular Systems (NEMS). 2011. IEEE International
Conference. P. 1036-1039.
- Долгий А. Л. Бета-преобразователи энергии на
основе макропористого кремния // 4-ая Международная научная конференция
«Материалы и структуры современной электроники», 23-24 сентября 2010 г., Минск,
Беларусь. С.57-60.
- Sun W., Hirschman K. D., Gadeken
L. L. and Fauchet P. M. Betavoltaic and photovoltaic energy conversion in
three-dimensional macroporous silicon diodes // Physica status solidi (a).
2007. V. 204. N 5. P. 1536-1540.
8- Sun W., Kherani N. P.,
Hirschman K. D., Gadeken L. L. and Fauchet P. M. A
Three-Dimensional Porous Silicon p-n Diode for Betavoltaics and Photovoltaics
// Advanced Materials. 2005. V. 17. N 10. P. 1230-1233.
- Gadeken L.L., Engel P.S.,
Laverdure K.S. Apparatus for generating electrical current from radioactive
material and method of making same. USA Patent. US20080199736A1. Pub. date:
21.08.2008.
- Chandrashekhar M.V.S, Thomas
Ch.I., Spencer M.G. Betavoltaic cell. USA Patent. US7939986B2. Pub. date:
10.05.2011.
- Park S. M., Ahn J. H., Kim S. I.
and Lee N.-E. NO-Induced Fast Chemical Dry Thinning of Si Wafer in NF3 Remote
Plasmas // Journal of the Korean Physical Society. V. 54. N 3. March 2009. P.
1127-1130.
- Guo H., Zhang K., Zhang Yu., Zhang
Yu., Han Ch., Shi Ya. I-layer vanadium-doped pin type nuclear battery and the
preparation process thereof. USA Patent US 20140225472A1.
Pub. date: 14.08.2014г.
Формула изобретения
Планарный преобразователь ионизирующих излучений
П1 конструкция содержащая слаболегированную
полупроводниковую пластину п (р) типа проводимости, в которой расположена
сильнолегированная п+ (р+) область на поверхности которой расположен
электропроводящий электрод катода (анода), на верхней поверхности пластины
расположена сильнолегированная р+ (п+) область, образующая с полупроводниковой
пластиной р-п переход, на поверхности р+ (п+) области расположен слой
изолирующего диэлектрика и электропроводящий электрод анода (катода),
являющийся радиоактивным изотопом, отличающаяся тем, что на верхней и нижней поверхностях
слаболегированной полупроводниковой пластины - п (-р) типа проводимости
расположены сильно легированные соответственно верхняя и нижняя горизонтальные
р+ (п+) области, образующие с пластиной р- п переходы р- i- п диода, при этом
они соединены между собой вертикальной р+ (п+) кольцевой (замкнутой) областью,
на верхней поверхности пластины также расположена п+(р+) контактная область к
пластине - п (-р) типа проводимости, на верхней поверхности горизонтальной р+
(п+) области расположен слой верхнего диэлектрика, содержащий контактное окно к
п+ (р+) контактной области, на поверхности верхнего р+(п+) слоя под
диэлектриком расположен верхний слой радиоактивного изотопа - металла,
соответственно, нижний слой радиоактивного изотопа - металла расположен на поверхности
нижнего р+(п+) слоя, на верхнем слое диэлектрика расположен контактный слой
металла с п+(р+) контактной областью, контактом к нижней горизонтальной р+(п+)
области является нижний слой радиоактивного изотопа - металла, указанные
контакты являются электродами катода(анода) и анода (катода) соответственно р-
i- п диода.
П2 Способ изготовления по П1, состоящий в
формировании на поверхности полупроводниковой подложки п (р) типа проводимости
слоев п+(+р) типа и р+ (п+) типа проводимости, осаждении на поверхность слоя п+
(р+) типа проводимости радиоактивного изотопа никеля и формировании электрода
катода (анода), образующего с этой областью омический контакт, осаждении на
поверхность слоя р+ (п+) типа проводимости радиоактивного изотопа никеля и
формировании электрода анода (катода), образующего с этой областью омический
контакт, отличающийся тем, что формируют, вертикальную кольцевую р+ (п+)
область путем проведении первой фотолитографии, в последующем тралении в
пластине глубокой кольцевой щели и диффузии в ее поверхность примеси р+ (п+)
типа, создании верхней горизонтальной р+ (п+) области путем проведении второй
фотолитографии по верхней поверхности пластины и имплантации акцепторной
(донорной) примеси в ее верхнюю и нижнюю поверхность и последующего температурного
отжига радиационных дефектов, формировании п+ (р+) контактной области путем
проведения третьей фотолитографии по верхней поверхности пластины и имплантации
в нее донорной (акцепторной) примеси и последующего температурного отжига
радиационных дефектов, осаждении радиоактивного изотопа - никель-63 на верхнюю
часть пластины путем проведения 4-ой фотолитографии, а также осаждении
радиоактивного изотопа - никель-63 на всю нижнюю часть пластины, проведении
низкотемпературного плазмохимического осаждения окисла на верхнюю поверхность
пластины путем проведения 5-ой фотолитографии, осаждении металла на верхнюю
часть пластины для создания контакта, резки пластины на чипы.
Реферат
Настоящее изобретение относится к области
преобразователей энергии оптических и радиационных излучений в электрическую
энергию. Целью изобретения является создание планарного преобразователя - бета
батарейки с повышенной энергоемкостью на единицу объема по сравнению с
традиционной конструкцией р- i- п диода.
Цель достигается путем создания оригинальной
«планарной» конструкции преобразователя, реализуемой по стандартной
микроэлектронной технологии. Особенностями такой конструкции является
размещение собирающих излучение р-п переходов на обеих сторонах кремниевой
пластины и симметричном расположении электродов анода и катода диода.
Такой преобразователь может быть использован в
взрывоопасных помещениях − шахтах, в беспилотных летательных аппаратах,
ночных индикаторах и сенсорах, расположенных в труднодоступных местах и т.д.
Приложение 3
ПРЕОБРАЗОВАТЕЛЬ ОПТИЧЕСКИХ И РАДИАЦИОННЫХ
ИЗЛУЧЕНИЙ
Настоящее изобретение относится к области
преобразователей энергии оптических и радиационных излучений в электрическую
энергию (э.д.с.).
Известны конструкции 3-ех мерных - (3D)
преобразователей оптических и радиационных излучений в электрическую энергию
[1-4].
Такие преобразователи не обладают максимально
возможной эффективностью, поскольку преобразуют энергию либо оптического [1,2]
либо только радиационного бета- или альфа-излучений [3-7].
Известна "щелевая" конструкция
полупроводниковых вольтаических преобразователей радиационных бета-излучений в
электрическую энергию [6], (см. рис. 1) взятая за прототип и содержащая в
полупроводниковой пластине п(р) типа проводимости вертикальные щели или каналы
на поверхности, в которых расположены вертикальные р-п переходы, и которые
заполнены материалом радиоактивного изотопа.
Способ ее изготовления, включающий формирование
в объеме пластины п(р) типа проводимости щелей или каналов, диффузионное
легирование поверхности каналов примесью р(п) типа, осаждение на поверхность
пластины и полость щелей или каналов материала радиоактивного изотопа.
Общими недостатками аналогов и прототипа
является ограничение его области применения из-за использования только
радиоактивного бета- излучения.
Целями изобретения является расширение области
применения преобразователя на оптический диапазон излучений, повышение его
эффективности и упрощение технологии изготовления.
Цель достигается изменением конструкции
преобразователя за счет устранения материала изотопа за пределами щелей на
поверхности горизонтальных р-п переходов пластины, и размещения на их
поверхности диэлектрического слоя прозрачного для излучения оптического
диапазона.
Способ ее изготовления включает формирование на
поверхности пластин п(р) типа проводимости диффузией примеси р(п) типа
горизонтальных р-п переходов и осаждения диэлектрического слоя, прозрачного для
излучения оптического диапазона, формирование в объеме пластины травлением
полупроводника селективно к диэлектрику щелей или каналов, диффузионное
легирование поверхности каналов примесью р(п) типа, осаждение на поверхность
пластины и в каналы материала радиоактивного изотопа, удаление материала
изотопа с поверхности диэлектрического слоя.
Конструкция прототипа показана на рис. 1.
здесь 1 - полупроводниковая пластина п(р) типа
проводимости, 2 - п+ (р+) сильнолегированный контактный слой, 3 - р(п) область
вертикальных р-п переходов, 6 - материал радиоактивного изотопа.
Конструкция преобразователя по изобретению
показана на рис. 2
здесь 1 - полупроводниковая пластина п(р) типа
проводимости, 2- п+(р+) сильнолегированный контактный слой, 3 - р(п) область
вертикальных р-п переходов, 4 - р(п) область горизонтальных р-п переходов, 5 -
диэлектрический слой прозрачный для излучения оптического диапазона, 6 -
материал радиоактивного изотопа.
Технология изготовления преобразователя по
изобретению показана на рис.3, которая состоит из следующей последовательности
технологических операций:
а) - в обратную сторону пластины п--типа КЭФ 5 кΩ·см
ориентацией (100) проводят ионное легирование фосфора дозой 300 мкКл с энергией
50 кэВ с последующей разгонкой примеси в течении 30 минут при температуре 950 ○С;
затем формируют р- область горизонтальных
переходов ионным легированием в лицевую сторону пластины ионов бора дозой 10
мкКл с энергией 30 кэВ с последующим отжигом радиационных дефектов в течение 40
минут при температуре 950 ○С;
выращивают оксид кремния на лицевой поверхности
пластины толщиной 0,3 мкм при температуре 1050 ○С в течение 20 минут.
б) - затем проводят фотолитографию и травят
глубокие щели в оксиде, а затем в кремнии;
проводят диффузию бора (или плазменное ионное
легирование бора) при температуре 900 ○С в течение 20 минут и удаляют
боросиликатное стекло.
в) осаждают электролизом радиоактивный 63Ni
толщиной 2,5- 3,2 мкм;
г) проводят фотолитографию и удаляют никель 63Ni
с поверхности диэлектрика.
д) режут пластины на отдельные кристаллы.
Принцип действия преобразователя (см. рис 4)
основан на ионизации оптическим (световым) и бета- (электронным) излучением
материала полупроводника, например, кремния. Образующиеся при этом
электронно-дырочные пары разделяются полем р-п перехода в области
пространственного заряда (ОПЗ) и создают разность потенциалов на р+ и п+
областях преобразователя (фотогальваническую Э.Д.С). При этом часть электронно
дырочных пар может быть собрана полем р-п перехода также в квази-нейтральной
области (КНО) на расстоянии равном диффузионной длине пробега.
Пример практической реализации конструкции
Предлагаемый преобразователь может быть
реализован на пластинах кремния КЭФ 5 кΩ·см
с ориентацией (100) по технологии представленной на рис.3. При этом в качестве
изотопного источника может быть выбран 63Ni, имеющий большой период времени
полураспада (100 лет) и испускающий электронное излучение со средней энергией
17 кэВ и с максимальной энергией 64 кэВ, а также практически безопасный для
здоровья человека. Такая энергия электронов меньше энергии дефектообразования в
кремнии (160 кэВ). При этом глубина поглощения в кремнии электронов со средней
энергией 17 кэВ составляет примерно 3.0 мкм, а для 90 % поглощения бета-частиц
от изотопного источника 63Ni - 12 мкм. Данные размеры должны соответствовать
глубинам залегания р-п переходов и величине ОПЗ, что достигается на типовых
кремниевых структурах. Следует, отметить, что в качестве радиоактивного изотопа
может быть использованы иные материалы, например, тритий и т д.
Техническими преимуществами изобретения
являются:
простая, дешевая и стандартная
"микроэлектронная" технология его изготовления, не требующая резки и
шлифовки чипов;
высокий коэффициент отношения площади принимающих
излучение р-п переходов к объему кремниевого материала, в котором они
расположены, что позволяет получать максимальную мощность излучения и
соответственно ЭДС на единицу объема преобразователя.
Следует отметить, что совмещение в единой
функционально- интегрированной «гибридной» конструкции преобразователя
солнечного и радиационного излучения дает в ряде применений таким источникам
э.д.с. важные преимущества, а именно:
возможность обеспечить зарядку аккумулятора при
отсутствии солнечного света при минимальном ее весе, что важно, например, для
применения в солнечных батареях беспилотных летательных аппаратах,
взрывоопасных помещениях - шахтах, ночных индикаторах, расположенных в
труднодоступных местах и т.д.
возможность дополнительного существенного
повышения КПД на несколько процентов преобразователя энергии по сравнению с
эквивалентной по площади обычной кремниевой солнечной батареей;
теоретически, срок службы такого преобразователя
определяется периодом полураспада радиационного материала, который для 63Ni
составляет 100 лет, что более чем достаточно в большинстве применений.
Литература
. Мурашев В.Н и др. «Полупроводниковый
фотопреобразователь и способ его изготовления», Патент РФ № 2377695 от
27.12.2009.
. Мурашев В.Н., Леготин С.А. и др. «Кремниевый
фотоэлектрический преобразователь с гребенчатой конструкцией и способ его
изготовления», заявка на изобретение № 2012130896 от 20.07.12, решение о выдаче
патента от 2013.08.07.
. Долгий А. Л. Бета-преобразователи энергии на
основе макропористого кремния // 4-ая Международная научная конференция
«Материалы и структуры современной электроники», 23-24 сентября 2010 г., Минск,
Беларусь. С.57-60.
. Clarkson J.P., Sun W., Hirschman
K.D., Gadeken L.L. and Fauchet P.M. Betavoltaic and photovoltaic energy
conversion in three-dimensional macroporous silicon diodes // Physica status
solidi (a). 2007. V. 204. N 5. P. 1536-1540.
. Sun W., Kherani N. P., Hirschman
K. D., Gadeken L. L. and Fauchet P. M. A Three-Dimensional
Porous Silicon p-n Diode for Betavoltaics and Photovoltaics // Advanced
Materials. 2005. V. 17. N 10. P. 1230-1233.
. Chandrashekhar M.V.S, Thomas
Ch.I., Spencer M.G. Betavoltaic cell. 2011. USA Patent. US7939986B2.
. Gadeken L.L., Engel P.S.,
Laverdure K.S. Apparatus for generating electrical current from radioactive
material and method of making same. 2008. USA Patent.
US20080199736A1.
Формула изобретения
Преобразователь оптических и радиационных
излучений
П1 Конструкция содержащая в полупроводниковой
пластине п(р) типа проводимости вертикальные щели или каналы на поверхности,
которых расположены вертикальные р-п переходы, и которые заполнены материалом
радиоактивного изотопа, отличающаяся тем, что за счет устранения материала
изотопа с поверхности горизонтальных р-п переходов пластины происходит
размещение на их поверхности диэлектрического слоя прозрачного для излучения
оптического диапазона.
П2 Способ изготовления по П1, включающий формирование
в объеме пластины п(р) типа проводимости щелей или каналов, диффузионное
легирование поверхности каналов примесью р(п) типа, осаждение на поверхность
пластины и в каналы материала радиоактивного изотопа, отличающийся тем, что
сначала проводится формирование на поверхности пластин п(р)-типа р(п)-типа
горизонтальных р-п переходов, затем проводится осаждение диэлектрического слоя
прозрачного для излучения оптического диапазона, затем формирование в объеме
пластины глубоких щелей путем селективного травления полупроводникового
материала к диэлектрику, затем проводится диффузионное легирование поверхности
каналов примесью р(п) типа, осаждение на поверхность пластины и в каналы
материала радиоактивного изотопа и, наконец, удаление материала изотопа с поверхности
диэлектрического слоя.
Реферат
Настоящее изобретение относится к области
преобразователей энергии оптических и радиационных излучений в электрическую
энергию.
Целями изобретения является расширение области
применения преобразователя на оптический диапазон излучений, повышение его
эффективности и упрощение технологии изготовления.
Поставленные цели достигаются путем создания
оригинальной «щелевой» конструкции преобразователя реализуемой по близкой к
стандартной микроэлектронной технологии. Важной особенностью данной конструкции
является максимально высокое соотношение площади р-п переходов, преобразующих
излучение в ЭДС, ко всему полупроводниковому объему материала преобразователя.
Такое техническое решение позволяет получить
максимальную электрическую мощность на единицу объема и веса преобразователя.
Предлагаемый преобразователь может быть
использован во взрывоопасных помещениях - шахтах, в беспилотных летательных
аппаратах, ночных индикаторах, сенсорах, расположенных в труднодоступных местах
и т.д.
Приложение 4
ПЛАНАРНЫЙ ПРЕОБРАЗОВАТЕЛЬ ИОНИЗИРУЮЩИХ ИЗЛУЧЕНИЙ
Настоящее изобретение относится к области
преобразователей энергии ионизирующих излучений в электрическую энергию
(Э.Д.С.).
Известны конструкции планарных - 2D
преобразователей ионизирующих радиационных излучений в электрическую энергию
(бета гальваническая батарейка), которые впервые предложил Раппопорт в 1954
году [1,2], после обнаружения им того, что при распаде изотопов, например,
никеля-63 или трития могут образовываться в полупроводниковых материалах
электронно-дырочные пары, это явление получило название бетавольтаического
эффекта. Позднее в 1957 году Elgin-Kidde впервые применили бетавольтаический
эффект для выработки электрической энергии с помощью планарных р-п переходов,
полученных на кремниевых пластинах [3].
С 1989 года для создания преобразователя -
бетавольтаической батареи стали исследоваться и применяться другие -
широкозонные материалы GaN, GaP, AlGaAs, SiC вследствие их более высокой
температурной стойкости [4,5].
Однако при создании трехмерных (3D) конструкций
технологии, использующие широкозонные материалы, уступают в производительности
и эффективности кремниевой технологии. В частности, глубина микроканалов в
кремнии в разы больше, чем в карбиде кремния и других материалах. Степень
дефектообразования при формировании микроканалов также минимальная в кремниевой
технологии. Более того именно в кремниевой технологии наиболее просто и
экономично совместить в одной конструкции набор двумерных элементов. Таким
образом, технология, использующая кремниевые пластины является наиболее
эффективной с точки зрения минимизации объема и веса преобразователя,
приходящегося на единицу вырабатываемой электроэнергии в трехмерных
конструкциях.
Поэтому с 2004 года появилось множество работ
посвященных созданию 3-ех мерных "объемных "конструкций 3D
преобразователей, в основном на монокремнии, нацеленных на оптимизацию
соотношения веса преобразователя к вырабатываемой энергии [6-10]. Такие
конструкции позволяют получить развитую поверхность щелей или каналов
кремниевых пластин с оптимальными размерами квазинейтральных областей и
областей пространственного заряда р- i-п диодов, в которых генерируются бета
излучением носители заряда. Однако создание бета батареек с такой конструкцией
представляет сложную и не решенную технологическую проблему, прежде всего из-за
низкого качества р-п переходов в каналах или щелях кремниевых пластин, что
приводит к недопустимо большим токам утечки через них.
В последнее время появились технологии утонения
кремниевых пластин до разменов 40-100 микрон, что соизмеримо с глубиной
проникновения в кремний (20 мкм) бета излучения радиоактивных изотопов таких,
так никель-63 и тритий, что принципиально позволяет создавать планарные
"тонкие" конструкции кремниевых р- i-п диодов с близкими к
оптимальным размерами квазинейтральных областей и областей пространственного
заряда (10-29 мкм) [11].
Однако и "тонкие " планарные
конструкции преобразователей на основе р-i-п диодов [4,5,12] не обладают
максимально возможной эффективностью, поскольку в них сбор носителей заряда от
излучения имеет односторонний характер (только сверху) со стороны расположения
поверхностного р-п перехода.
Известна планарная 2D конструкция
полупроводниковых вольтаических преобразователей радиационных бета излучений в
электрическую энергию [12] (см.рис.1), взятая за прототип и содержащая
слаболегированную полупроводниковую пластину п (р) типа проводимости, в которой
расположена сильнолегированная п+ (р+) область, на поверхности которой
расположен электропроводящий электрод катода (анода), на верхней поверхности
пластины расположена сильнолегированная р+ (п+) область образующая с
полупроводниковой пластиной р-п переход, на поверхности р+ (п+) области
расположен слой изолирующего диэлектрика и электропроводящий электрод анода
(катода), являющийся радиоактивным изотопом.
Способ ее изготовления, планарной конструкции,
состоящий в формировании эпитаксиальным наращиванием на поверхности
полупроводниковой подложки п(р) типа проводимости слоев п-(-р) типа и + р(+п)
типа проводимости, осаждении на поверхность слоя +р(+п) типа проводимости
радиоактивного изотопа никеля, формировании электрода катода (анода)
образующего омический контакт к подложке п-(-р) типа проводимости и
формировании электрода анода (катода) образующего омический контакт к слою +р
(+ п) типа проводимости, изоляции планарной поверхности слоев оксидом кремния.
Общим недостатком аналогов и прототипа является
невозможность достичь наилучших соотношений размеров (веса) преобразователя к
выделяемой мощности ЭДС.
Целью изобретения является создание конструкции
планарного преобразователя - бета батарейки с значительно большей (в два раза)
генерируемой электрической энергией ( мощности ) приходящейся на единицу его
объема (веса) и более высокой энергоемкостью.
Цель достигается − путем создания новой
конструкции планарного преобразователя, состоящей из слаболегированной
полупроводниковой пластины п(-р) типа проводимости, в которой расположены
сильно легированные соответственно верхняя и нижняя горизонтальные р+ (п+) области,
образующие с пластиной р- п переходы р- i- п диода, при этом они соединены
между собой вертикальной р+ (п+) кольцевой (замкнутой) областью, на верхней
поверхности пластины также расположена п+(р+) контактная область к пластине -п
(-р) типа проводимости, на верхней и нижней поверхностях горизонтальных р+ (п+)
областях расположены соответственно слои верхнего и нижнего диэлектрика
содержащие контактные окна, соответственно, к п+(р+) контактной области и
нижней горизонтальной р+(п+) области, на поверхности верхнего и нижнего
диэлектриков расположены соответственно верхний и нижний слои радиоактивного
изотопа металла образующие омические контакты соответственно с п+(р+)
контактной областью и нижней горизонтальной р+(п+) областью, являющиеся
электродами катода(анода) и анода (катода) соответственно р- i- п диода. при
этом верхняя горизонтальная р+ (п+) область образует со слоем изолирующего
диэлектрика и электропроводящим электродом катода (анода), МОП структуру
накопительного конденсатора
Способом изготовления, состоящим в создании
вертикальной кольцевой р+ (п+) области путем проведения первой фотолитографии,
тралении в пластине глубокой кольцевой щели и диффузии в ее поверхность примеси
р+ (п+) типа, создании верхней горизонтальной р+ (п+) области путем проведении
второй фотолитографии по верхней поверхности пластины и имплантации акцепторной
(донорной) примеси в ее верхнюю и нижнюю поверхность и последующего
температурного отжига радиационных дефектов, формировании п+(р+) контактной
области путем проведения третьей фотолитографии по верхней поверхности пластины
и имплантации в нее донорной (акцепторной) примеси и последующего
температурного отжига радиационных дефектов, нанесении на верхнюю и нижнюю
поверхность пластины слоев нижнего и верхнего слоев диэлектрика, проведения
четвертой и пятой фотолитографий, вскрытия контактных окон соответственно к
верхней п+(р+) контактной области и нижней р+ (п+)области, осаждения нижнего и
верхнего слоев радиоактивного изотопа металла на верхнюю и нижнюю поверхность пластины,
а также резка пластины на чипы.
Конструкция прототипа показана на рис. 1, где а
- структура, б- топология.
здесь 1- слаболегированная полупроводниковая
пластина п- типа проводимости, 2- п+ сильно легированная область, 3- р- область
р-п перехода,4- материал радиоактивного изотопа, 5-диэлектрик - оксид кремния,
6- электрод анода, 7-электрод катода.
Конструкция преобразователя по изобретению
показана рис. 2, где а - структура, б- топология, в- эквивалентная
электрическая схема.
В конструкции имеется полупроводниковая пластина
п (р) типа проводимости - 1, на верхней и нижней поверхности которой
расположены сильно легированные соответственно верхняя - 2 и нижняя - 3
горизонтальные р+ (п+) области, к ним примыкает вертикальная р+ (п+) кольцевая
область - 4, на верхней поверхности пластины также расположена п+(р+)
контактная область - 5, на поверхности горизонтальных р+ (п+) областей - 2 и 3
расположены соответственно слои верхнего - 6 и нижнего - 7 диэлектрика, на их
поверхности расположены соответственно верхний - 8 и нижний - 9 слои
радиоактивного изотопа - металла. При этом область катода -8 , верхняя
горизонтальная область р+(п+) -2 и область диэлектрика - 6 образуют
накопительный МОП конденсатор.
(Пример конкретной реализации)
Технология изготовления преобразователя по
изобретению
показана на рис. 3 и состоит из следующей
последовательности технологических операций:
а) - термическое окисление кремниевых пластин
КЭФ 5 кΩ∙см с ориентацией (100);
проводят 1-ую фотолитографию и травление пластин
по границам чипов;
проводят формирование вертикального р+ слоя
путем "глубокой" диффузии бора вплоть до смыкания верхнего и нижнего
фронтов;
б) - проводят 2-ую фотолитографию и формируют
ионным легированием бора дозой D=500 мкКул энергией Е=40 кэВ р+ верхнюю горизонтальную
область и р+ нижнюю горизонтальную область;
в) - проводят 3-ую фотолитографию и формируют п+
контактный слой ионным легированием фосфора дозой D= 300 мкКул с энергией E= 40
кэВ;
проводят термический отжиг радиационных дефектов
при температуре Т= 900 ºС в течение
t= 40 минут;
г) - проводят термическое окисление поверхности
пластин при температуре Т= 860 ºС
в течение 20 минут на толщину оксида SiO2 = 35 нм;
проводят 4-ую и 5 -ую фотолитографии контактных
окон к верхней п+ контактной области и нижней горизонтальной р+ области;
д) - осаждают радиоактивный изотоп - никель-63;
е)- режут пластины на чипы (кристаллы).
Принцип действия преобразователя основан на
ионизации полупроводникового материала, например, кремния бета излучением
изотопов (никеля, стронция, кобальта и т.д.). Образующиеся при этом электронно-
дырочные пары разделяются полем р-п перехода в области пространственного заряда
(ОПЗ) и создают разность потенциалов на р+ и п+ областях
преобразователя.(бетагальваническую Э.Д.С). При этом часть электронно-дырочных
пар может быть собрана полем р-п перехода также в квазинейтральной области
(КНО) на расстоянии равном диффузионной длине носителя заряда. Генерируемый р-п
переходами ионизационный заряд собирается накопительным МОП конденсатором.
Пример практической реализации конструкции.
Предлагаемый преобразователь может быть
реализован на пластинах кремния КЭФ 5 кΩ∙см с ориентацией (100) по
технологии, представленной на рис. 3. При этом в качестве изотопного источника
может быть выбран 63Ni, имеющий большой период времени полураспада (100,1 лет)
и испускающий электронное излучение со средней энергией 17 кэВ и максимальной
энергией 64 кэВ, практически безопасный для здоровья человека. Такая энергия
электронов меньше энергии дефектообразования в кремнии (160 кэВ). При этом
глубина поглощения в кремнии электронов со средней энергией 17 кэВ составляет
примерно 3.0 мкм, а для 90 % поглощения - 12 мкм. Данные размеры должны
соответствовать глубинам залегания р-п переходов и величине ОПЗ, что
достигается на типовых кремниевых структурах. Следует, отметить, что в качестве
радиоактивного изотопа могут быть использованы иные материалы, например,
твердотельный источник трития и т.д.
конструкция бета батарейки позволяет получить практически
в два раза большую мощность, по сравнению с обычным р- i-п диодом (размеры п+
контактной области много меньше размеров р+ горизонтальных областей и ее
вкладом можно пренебречь);
при этом генерируемая энергия накапливается
внутри бета батарейки, что во многих случаях исключает необходимость применения
внешних аккумуляторов и конденсаторов;
при производстве бета батарейки преобразователя
ионизирующих излучений используется микроэлектронная технология;
конструкция "высоковольтной" батареи
собирается из элементарных батареек путем их склеивания электропроводящим клеем
(см рис 4);
современные технологии изготовления пластин
позволяют провести утонение пластин кремния до оптимальных размеров Н=40 мкм
соответствующих глубине поглощения бета излучения в кремнии, что позволяет
получать максимальную мощность излучения и, соответственно, ЭДС на единицу
объема (веса) преобразователя;
такой источник ЭДС обеспечит прямую зарядку (
конденсатора ) аккумулятора при отсутствии солнечных батарей при минимальном ее
весе и размерах, что важно, например, для применения в беспилотных летательных
аппаратах, взрывоопасных помещениях - шахтах, ночных индикаторах, расположенных
в труднодоступных местах, электростимуляторах сердца и т.д.;
− важным обстоятельством является также
то, что срок службы такого преобразователя определяется периодом полураспада
радиоактивного материала, который для 63Ni составляет 100,1 лет, что более чем
достаточно в большинстве применений.
Список литературы
- Rappaport P. The Electron-Voltaic
Effect in p-n Junctions Induced by Beta-Particle Bombardment / P. Rappaport //
Phys. Rev. 1954. V. 93. P. 246.
- Rappaport P. Radioactive battery
employing intrinsic semiconductor / P. Rappaport // US Patent 5,973. 1956.
- "Miniature Atomic Powered
Battery", Radio and TV News, V.57. May. 1957. P.160.4- Chandrashekhar
M.V.S., Thomas Ch.I.; Li H., Spencer M.G.; Lal A. Demonstration of a 4H SiC
Betavoltaic Cell // Applied Physics Letters. V. 88. N3. 2006. P. 033506. 1-3.
- Cheng Z., Zhao Z., San H.; Chen X.
Demonstration of a GaN betavoltaic microbattery // Nano/Micro Engineered and
Molecular Systems (NEMS). 2011. IEEE International
Conference. P. 1036-1039.
- Долгий А. Л. Бета-преобразователи энергии на
основе макропористого кремния // 4-ая Международная научная конференция
«Материалы и структуры современной электроники», 23-24 сентября 2010 г., Минск,
Беларусь. С.57-60.
- Sun W., Hirschman K. D., Gadeken
L. L. and Fauchet P. M. Betavoltaic and photovoltaic energy conversion in
three-dimensional macroporous silicon diodes // Physica status solidi (a).
2007. V. 204. N 5. P. 1536-1540.
8- Sun W., Kherani N. P.,
Hirschman K. D., Gadeken L. L. and Fauchet P. M. A
Three-Dimensional Porous Silicon p-n Diode for Betavoltaics and Photovoltaics
// Advanced Materials. 2005. V. 17. N 10. P. 1230-1233.
- Gadeken L.L., Engel P.S.,
Laverdure K.S. Apparatus for generating electrical current from radioactive
material and method of making same. USA Patent. US20080199736A1. Pub. date:
21.08.2008.
- Chandrashekhar M.V.S, Thomas Ch.I.,
Spencer M.G. Betavoltaic cell. USA Patent. US7939986B2. Pub. date: 10.05.2011.
- Park S. M., Ahn J. H., Kim S. I.
and Lee N.-E. NO-Induced Fast Chemical Dry Thinning of Si Wafer in NF3 Remote
Plasmas // Journal of the Korean Physical Society. V. 54. N 3. March 2009. P.
1127-1130.
- Guo H., Zhang K., Zhang Yu., Zhang
Yu., Han Ch., Shi Ya. I-layer vanadium-doped pin type nuclear battery and the
preparation process thereof. USA Patent US 20140225472A1.
Pub. date: 14.08.2014г.
Формула изобретения
Планарный преобразователь ионизирующих излучений
П1 конструкция содержащая слаболегированную
полупроводниковую пластину п (р) типа проводимости, в которой расположена
сильнолегированная п+ (р+) область на поверхности которой расположен
электропроводящий электрод катода (анода), на верхней поверхности пластины
расположена сильнолегированная р+ (п+) область, образующая с полупроводниковой
пластиной р-п переход, на поверхности р+ (п+) области расположен слой
изолирующего диэлектрика и электропроводящий электрод анода (катода),
являющийся радиоактивным изотопом, отличающаяся тем, что на верхней и нижней
поверхностях слаболегированной полупроводниковой пластины - п (-р) типа
проводимости расположены сильно легированные соответственно верхняя и нижняя
горизонтальные р+ (п+) области, образующие с пластиной р- п переходы р- i- п
диода, при этом они соединены между собой вертикальной р+ (п+) кольцевой
областью, при этом верхняя горизонтальная р+ (п+) область образует со слоем
изолирующего диэлектрика и электропроводящим электродом катода (анода), МОП
структуру накопительного конденсатора, на верхней поверхности пластины также
расположена п+(р+) контактная область к пластине - п (-р) типа проводимости, на
верхней и нижней поверхности горизонтальных р+ (п+) областей расположены, соответственно,
слои верхнего и нижнего диэлектрика, содержащие контактные окна,
соответственно, к п+(р+) контактной области и нижней горизонтальной р+(п+)
области, на поверхности верхнего и нижнего диэлектриков расположены,
соответственно, верхний и нижний слои радиоактивного изотопа - металла,
образующие омические контакты, соответственно, с п+(р+) контактной областью и
нижней горизонтальной р+(п+) областью, являющиеся электродами катода(анода) и
анода (катода) соответственно р- i- п диода.
П2 Способ изготовления по П1, состоящий в
формировании на поверхности полупроводниковой подложки п (р) типа проводимости
слоев п+(+р) типа и р+ (п+) типа проводимости, осаждении на поверхность слоя п+
(р+) типа проводимости радиоактивного изотопа никеля и формировании электрода
катода (анода), образующего с этой областью омический контакт, осаждении на
поверхность слоя р+ (п+) типа проводимости радиоактивного изотопа никеля и
формировании электрода анода (катода), образующего с этой областью омический
контакт, отличающийся тем, что формируют, вертикальную кольцевую р+ (п+)
область путем проведении первой фотолитографии, в последующем тралении в
пластине глубокой кольцевой щели и диффузии в ее поверхность примеси р+ (п+)
типа, создании верхней горизонтальной р+ (п+) области путем проведении второй
фотолитографии по верхней поверхности пластины и имплантации акцепторной
(донорной) примеси в ее верхнюю и нижнюю поверхность и последующего
температурного отжига радиационных дефектов, формировании п+ (р+) контактной
области путем проведения третьей фотолитографии по верхней поверхности пластины
и имплантации в нее донорной (акцепторной) примеси и последующего
температурного отжига радиационных дефектов, нанесении на верхнюю и нижнюю
поверхность пластины нижнего и верхнего слоев диэлектрика, проведения четвертой
и пятой фотолитографий и вскрытия контактных окон, соответственно, к верхней п+
(р+) контактной области и нижней р+ (п+) области, осаждении нижнего и верхнего
слоев радиоактивного изотопа - металла на верхнюю и нижнюю поверхность
пластины, резки пластины на чипы.
Реферат
Настоящее изобретение относится к области
преобразователей энергии оптических и радиационных излучений в электрическую
энергию. Целью изобретения является создание планарного преобразователя - бета
батарейки с повышенной мощностью и энергоемкостью на единицу объема по
сравнению с традиционной конструкцией р- i- п диода.
Цель достигается путем создания оригинальной
«планарной» конструкции преобразователя, содержащей двойной р-i-п диод и
реализуемой по стандартной микроэлектронной технологии. Особенностями такой
конструкции является размещение собирающих излучение р-п переходов на обеих
сторонах кремниевой пластины и симметричном расположении электродов анода и
катода диода, а также размещение внутри конструкции накопительного МОП
конденсатора.
Такой преобразователь может быть использован в
взрывоопасных помещениях − шахтах, в беспилотных летательных аппаратах,
ночных индикаторах и сенсорах, расположенных в труднодоступных местах и т.д.