Устройство компрессоров КТ-6Эл

  • Вид работы:
    Дипломная (ВКР)
  • Предмет:
    Транспорт, грузоперевозки
  • Язык:
    Русский
    ,
    Формат файла:
    MS Word
    1,2 Мб
  • Опубликовано:
    2014-07-11
Вы можете узнать стоимость помощи в написании студенческой работы.
Помощь в написании работы, которую точно примут!

Устройство компрессоров КТ-6Эл

Введение

Электровоз - локомотив, приводимый в движение находящимися на нем тяговыми электродвигателями, которые получают электроэнергию от стационарного источника - энергосистемы через тяговые подстанции и тяговую сеть от контактного провода либо от собственных тяговых аккумуляторных батарей. Выпускаются также комбинированные контактно-аккумуляторные электровозы, которые могут работать как от контактной сети, так и от аккумуляторной батареи. Подавляющее большинство находящихся в эксплуатации электровозов магистральных ж. д. являются неавтономными, т. е. не могут работать без контактной сети. На путях промышленных предприятий часто используются автономные электровозы, не зависящие от контактной сети. Для обеспечения маневровых работ наиболее подходящими являются контактно-аккумуляторные электровозы, которые используются также широко для обслуживания горных выработок, где прокладка контактного провода затруднена или невозможна. Таким образом, эксплуатируемые электровозы могут быть классифицированы по назначению, степени автономности, роду тока в тяговой сети; в зависимости от области использования и конструкции имеют ряд различных направлений.

Первые электровозы появились на ж.-д. транспорте в конце 19 в. как локомотивы, альтернативные паровозам. Развитие электротехники позволило создать мощные электродвигатели постоянного тока и двигатели переменного трехфазного тока. Были решены также проблемы генерирования электроэнергии и ее передачи по контактной сети. Идея реализации электрического локомотива с автономным или неавтономным питанием была высказана в первой половине 19 в., но первые практические результаты были получены в 1880 г. В России инженер Ф. А. Пироцкий установил электрический двигатель на пассажирском вагоне и провел первые опыты; в 1880 г. в Санкт-Петербурге был проложен для электровагона рельсовый путь. В том же году Э. В. Сименс в Германии и Т. А. Эдисон в США предложили свои конструкции. Новые локомотивы смогли заменить паровую тягу в специфических условиях эксплуатации ж. д.- в длинных тоннелях и на горных (перевальных) участках с большими уклонами. При этом проявились главные преимущества электровоза - отсутствие выбросов отработанных газов, возможность увеличения силы тяги путем форсировки тяговых электродвигателей на руководящем уклоне, реализация идеи рекуперативного торможения с возвратом энергии в тяговую сеть. Впоследствии область рационального применения электровозов существенно расширилась: их стали использовать и на равнинных участках с интенсивным движением поездов, где решающее значение имел высокий кпд самого электровоза (до 88-91%) и всей системы электрической тяги (до 30% при питании преимущественно от тепловых электростанций и до 50-60% при питании от гидроэлектростанций ).

Первые электровозы на российских ж. д. появились в 1929-1930 гг. в связи с электрификацией Сурамского перевала на Закавказской железной дороге (линия Баку-Батуми). На линии эксплуатировались закупленные в Италии, США, и Германии 6-осные электровозы постоянного тока 3 кВ, получившие обозначение С (с индексом, соответствующим стране-изготовителю). В России было налажено производство электровозов на Коломенском заводе совместно с московским заводом «Динамо», который начал выпускать тяговые электродвигатели и электрооборудование. В 1932 г. был выпущен первый отечественный грузовой электровоз сети Сс, впоследствии - ВЛ19 (цифра 19 указывает осевую нагрузку в т на рельсы). Этот принцип сохранялся в обозначениях электровозов ВЛ22 и ВЛ23, позже перешли к указанию числа осей (постоянного тока ВЛ8), а затем добавили букву «О», которая обозначала род тока (электровозы, работающие на однофазном токе), соответственно 6-осные и 8-осные локомотивы ВЛ60, ВЛ80 (позднее буква трансформировалась в ноль).

Электровозы, имеющие обозначение ВЛ, были предназначены для грузового движения, хотя довольно часто используются и для тяги пассажирских поездов. Конструктивная скорость электровозов ВЛ обычно не превышает 110 км/ч. В 70-е гг. был реализован переход на более мощные 12-осные электровозы на базе двух 6-осных секций, в каждой из которых кузов опирался на три 2-осные тележки (постоянного тока ВЛ15 и переменного тока ВЛ85, ВЛ86). Однако одновременно получила распространение и концепция более гибкого типажного решения, когда выпускались 4-осные секции, из которых можно было формировать тяговые единицы из 2-4 секций (постоянного тока ВЛ11М, переменного тока ВЛ80С). По мере расширения электрификации ж. д. наряду с грузовыми электровозами начался выпуск скоростных электровозов, параметры которых были приспособлены для тяги пассажирских поездов. Первый пассажирский электровоз, получивший наименование ПБ (Политбюро), был выпущен Коломенским заводом в 1934 г. Электровоз имел 6 осей, групповой привод колесных пар. Небольшие партии грузовых электровозов ВЛ19, ВЛ22, ВЛ60 выпускались с измененным передаточным отношением от тяговых двигателей на колесные пары, что позволяло использовать их в пассажирских сообщениях (с дополнительной буквой П, например ВЛ60П).

В начале 90-х гг. произошло значительное снижение перевозочной работы, вследствие чего потребность в сверхмощных электровозах сократилась, имевшийся парк электровозов стал вполне достаточным для выполнения перевозок; выпуск новых электровозов сократился. Электровоз ВЛ85, имевший наиболее отработанную конструкцию, начали выпускать в односекционном исполнении (ВЛ65). Для возможности использования электровоза в пассажирском сообщении было применено опорно-рамное подвешивание тяговых двигателей, в результате чего конструктивная скорость повысилась до 140 км/ч. Было предусмотрено электрическое отопление пассажирского поезда от электровоза. Такой электровоз фактически относится к классу универсальных - грузопассажирских.

Основу эксплуатируемого парка пассажирских локомотивов составляют 6-осные электровозы ЧС2 и ЧС2Т постоянного тока, электровозы ЧС4 и ЧС4Т переменного тока, а также 8-осные электровозы ЧС6, ЧС7 и ЧС200 постоянного тока и с такой же ходовой частью электровозы ЧС8 переменного тока. С середины 90-х гг. на магистральных ж. д. эксплуатируются скоростные пассажирские электровозы (1994 г.), 8-осные односекционные электровозы ЭП200, конструктивную скорость которых предполагалось довести до 250 км/ч, и упрощенная модификация такого электровоза на конструктивную скорость 160 км/ч. В 2001 г. в связи с развитием скоростного движения выпуск электровозов на максимальные скорости 200-250 км/ч увеличился. Основные пассажиропотоки в высокоскоростном пассажирском сообщении реализованы моторвагонными электропоездами. В сер. 90-х гг. были изменены обозначения новых электровозов: в обозначение грузовых электровозов ввели букву Э (например, Э1, Э2, ЭЗ и т.д.), а для пассажирских и универсальных - буквы ЭП, в частности электровоз ВЛ65 получил обозначение ЭП1, электровоз, выполненный на базе его механической части, с возможностью питания от сети как постоянного, так и переменного тока, ЭП10.

Цель и задачи курсовой работы: В работе необходимо изучить сущность устройства и ремонта автотормозного оборудования подвижного состава железных дорог. Задачи, решенные для достижения поставленной цели: изучение конструкции данного автотормозного оборудования электровоза; изучение основных неисправностей автотормозного оборудования; изучение организации ремонта автотормозного оборудования электровоза; изучение технологического процесса ремонта.

1. Краткая характеристика компрессоров

.1 Общие положения и основные показатели работы

Компрессоры предназначены для обеспечения сжатым воздухом тормозной сети поезда и пневматической сети вспомогательных аппаратов: электропневматических контакторов, реверсоров, песочниц и др.

Применяемые на подвижном составе компрессоры классифицируются по числу цилиндров (одно-, двухцилиндровые и т.д.); по расположению цилиндров (горизонтальные, вертикальные, V-и W-образные); по числу ступеней сжатия (одно- и двухступенчатые); по типу привода (с приводом от электродвигателя или от двигателя внутреннего сгорания).

Вспомогательные компрессоры служат для наполнения сжатым воздухом пневматических магистралей, например, главного воздушного выключателя, блокирования щитов высоковольтной камеры и токоприемника при отсутствии сжатого воздуха в главных резервуарах и резервуаре токоприемника после длительной стоянки электроподвижного состава в нерабочем состоянии.

Компрессоры должны полностью обеспечивать потребность в сжатом воздухе при максимальных расходах и утечках его в поезде. Во избежание недопустимого нагрева режим работы компрессора устанавливается повторно-кратковременным. При этом продолжительность включения (ПВ) компрессора под нагрузкой допускается не более 50 %, а продолжительность цикла до 10 мин.

Основные компрессоры, применяемые на подвижном составе, как правило, являются двухступенчатыми. Сжатие воздуха в них происходит последовательно в двух цилиндрах с промежуточным охлаждением между ступенями. Работа такого компрессора поясняется рис. 1.

При первом ходе вниз поршня 1 (рис. 1, а) открывается всасывающий клапан 3, и в цилиндр 2 первой ступени поступает воздух из атмосферы Ат при постоянном давлении. Линия всасывания АС (рис. 1, б) располагается ниже штриховой линии атмосферного барометрического давления на значение потерь на преодоление сопротивления всасывающего клапана. При ходе поршня 1 вверх всасывающий клапан 3 закрывается, объем рабочего пространства цилиндра 2 уменьшается и воздух сжимается по линии CD до давления в холодильнике 4, после чего открывается нагнетательный клапан 5 и происходит выталкивание сжатого воздуха в холодильник по линии нагнетания DF с постоянным противодавлением.

Рисунок 1 - Схема двухступенчатого компрессора (а) и теоретическая индикаторная диаграмма его работы (б): 1 - поршень; 2 - цилиндр первой ступени; 3 - всасывающий клапан; 4 - холодильник; 5- нагнетательный клапан

электродвигатель двухступенчатый компрессор

В процессе последующего хода поршня 1 вниз происходит расширение оставшегося во вредном пространстве (объем пространства над поршнем в его верхнем положении) сжатого воздуха по линии FB до тех пор, пока давление в рабочей полости не понизится до определенного значения и всасывающий клапан 3 откроется атмосферным давлением. Далее процесс повторяется. На первой ступени воздух сжимается до давления 2,0...4,0 кгс/см2.

Аналогично работает вторая ступень компрессора со всасыванием воздуха из холодильника 4 по линии FE, сжатием по линии EG, нагнетанием в главные резервуары по линии GH, расширением во вредном пространстве цилиндра второй ступени по линии HF'. Заштрихованная площадь индикаторной диаграммы характеризует уменьшение работы сжатия вследствие охлаждения воздуха между ступенями.

Сжатие воздуха сопровождается выделением теплоты. В зависимости от интенсивности охлаждения и количества теплоты, отбираемой от сжимаемого воздуха, линия сжатия может быть изотермой, когда отводится вся выделяющаяся теплота и температура остается постоянной, адиабатой, когда процесс сжатия идет без отвода теплоты, или политропой при частичном отводе выделяющейся теплоты.

Адиабатический и изотермический процессы сжатия являются теоретической идеализацией. Действительный процесс сжатия является политропным.

Основными показателями работы компрессора являются производительность (подача), объемный, изотермический и механический КПД.

Производительностью компрессора называется объем воздуха, нагнетаемый компрессором в резервуар в единицу времени, замеренный на выходе из компрессора, но пересчитанный на условия всасывания. Производительность компрессора локомотива определяют по времени повышения давления в главных резервуарах с 7,0 до 8,0 кгс/см2.

Объемный КПД характеризует уменьшение производительности компрессора под влиянием вредного пространства; он зависит от объема вредного пространства и давления. Двухступенчатое сжатие позволяет понизить температуру воздуха в конце сжатия, улучшить условия смазывания компрессора и уменьшить потребляемую компрессором мощность за счет работы, сэкономленной благодаря охлаждению воздуха в промежуточном холодильнике, а также повысить объемный КПД за счет уменьшения соотношения давлений нагнетания и всасывания.

Изотермический КПД позволяет оценить совершенство компрессора

Механический КПД компрессора учитывает потери на трение в самом компрессоре и потери на привод вспомогательных механизмов - вентилятора и масляного насоса.

1.2 Устройство компрессоров КТ-6Эл

Компрессоры КТ-6Эл широко применяются на тепловозах и электровозах. Компрессоры КТ-6 приводятся в действие либо от коленчатого вала дизеля, либо от электродвигателя, как, например, на тепловозах 2ТЭ116. Компрессоры КТ-6Эл приводятся в действие от электродвигателя.

Компрессор КТ-6 - двухступенчатый, трехцилиндровый, поршневой с W-образным расположением цилиндров. Компрессор КТ-6 (рис.2) состоит из корпуса (картера) 18, двух цилиндров 12 низкого давления (ЦНД), имеющих угол развала 120°, одного цилиндра 6 высокого давления (ЦВД), холодильника 7 радиаторного типа с предохранительным клапаном 14, узла шатунов 11 и поршней 1, 5 соответственно ЦНД и ЦВД.

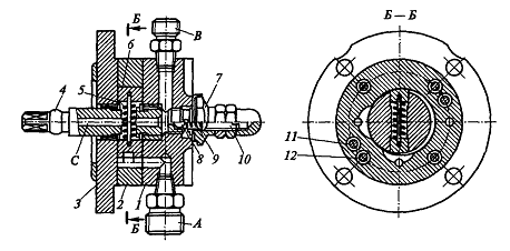
Рисунок 2 - Компрессор КТ-6: 1 - поршень ЦНД; 2 - клапанная коробка цилиндра низкого давления ЦНД (первой ступени); 3 - сапун; 4 - клапанная коробка ЦВД (второй ступени); 5- поршень ЦВД; 6 - ЦВД; 7 - холодильник; 8 - маслоуказатель (щуп); 9 - пробка для залива масла; 10 - пробка для слива масла; 11 - узел шатунов; 12 - ЦНД; 13 - поршневой палец; 14 - предохранительный клапан; 15 - манометр давления масла; 16 - тройник для присоединения трубопровода от регулятора давления; 17 - бачок для гашения пульсаций стрелки манометра; 18 - корпус (картер); 19 - коленчатый вал; 20 - масляный насос; 21 - редукционный клапан; 22 - дополнительный балансир; 23 - винт крепления дополнительного балансира; 24 - шплинт; 25 - масляный фильтр; 26 - вентилятор; 27 - всасывающий воздушный фильтр; 28 - болт регулировки натяжения ремня вентилятора; 29 - кронштейн вентилятора; 30 - рым-болт

Корпус 18 имеет три привалочных фланца для установки цилиндров и два люка для доступа к деталям, находящимся внутри. Сбоку к корпусу прикреплен масляный насос 20 с редукционным клапаном 21, а в нижней части корпуса помещен сетчатый масляный фильтр 25. Передняя часть корпуса (со стороны привода) закрыта съемной крышкой, в которой расположен один из двух шарикоподшипников коленчатого вала 19. Второй шарикоподшипник расположен в корпусе со стороны масляного насоса.

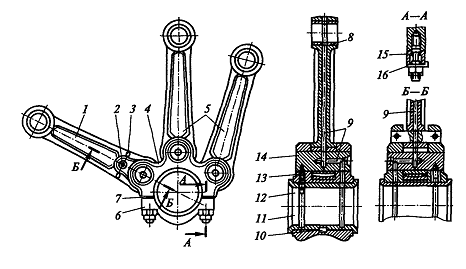
Все три цилиндра имеют ребра: ЦВД выполнен с горизонтальным оребрением для лучшей теплоотдачи, а ЦНД имеют вертикальные ребра для придания цилиндрам большей жесткости. В верхней части цилиндров расположены клапанные коробки 2 и 4. Коленчатый вал 19 компрессора - стальной, штампованный с двумя противовесами, имеет две коренные шейки и одну шатунную. Для уменьшения амплитуды собственных колебаний к противовесам винтами 23 прикреплены дополнительные балансиры 22. Для подвода масла к шатунным подшипникам коленчатый вал снабжен системой каналов, показанных на рис. 3.2 пунктирными линиями. Узел шатунов (рис. 3) состоит из главного 1 и двух прицепных 5 шатунов, соединенных пальцами 14, застопоренными винтами 13.

Рисунок 3 - Узел шатунов:  1- главный шатун; 2, 14 - пальцы; 3, 10 - штифты; 4 - головка; 5 - прицепные шатуны; 6 - съемная крышка; 7 - прокладка; 8 - бронзовая втулка; 9 - каналы для подачи смазки; 11, 12 - вкладыши; 13 - стопорный винт; 15 - шпилька; 16 - замковая шайба

Главный шатун выполнен из двух частей - собственно шатуна 1 и разъемной головки 4, жестко соединенных друг с другом пальцем 2 со штифтом 3 и пальцем 14. В верхние головки шатунов запрессованы бронзовые втулки 8. Съемная крышка 6 прикреплена к головке 4 четырьмя шпильками 15, гайки которых стопорятся замковыми шайбами 16. В расточке головки 4 главного шатуна установлены два стальных вкладыша 11 и 12, залитые баббитом. Вкладыши удерживаются в головке за счет натяга и стопорения штифтом 10. Зазор между шейкой вала и подшипником шатуна регулируется прокладками 7. Каналы 9 служат для подачи масла к верхним головкам шатунов и поршневым пальцам.

Основным преимуществом данной системы шатунов является значительное уменьшение износа вкладышей и шатунной шейки коленчатого вала, которое обеспечивается передачей усилий от поршней через головку сразу на всю поверхность шейки.

Поршни l и 5 (см. рис. 2) - литые чугунные. Они присоединяются к верхним головкам шатунов поршневыми пальцами 13 плавающего типа. Для предотвращения осевого перемещения пальцев поршни снабжены стопорными кольцами. Поршневые пальцы ЦНД - стальные, пустотелые; поршневые пальцы ЦВД - сплошные. На каждом поршне установлено по четыре поршневых кольца: два верхних - компрессионные (уплотнительные), два нижних - маслосъемные. Кольца имеют радиальные пазы для прохода масла, снятого с зеркала цилиндра.

Клапанные коробки внутренней перегородкой разделены на две полости: всасывающую В (рис. 4) и нагнетательную Н. В клапанной коробке ЦНД со стороны всасывающей полости прикреплен всасывающий воздушный фильтр 27 (см. рис.2), а со стороны нагнетательной полости - холодильник 7. Корпус клапанной коробки снаружи имеет оребрение и закрыт крышками З и 15. В нагнетательной полости помещен нагнетательный клапан 4, который прижат к гнезду в корпусе с помощью упора 5 и винта 2 с контргайкой 1. Во всасывающей полости расположены всасывающий клапан 8 и разгрузочное устройство, необходимое для переключения компрессора в режим холостого хода при вращающемся коленчатом вале. Разгрузочное устройство включает в себя упор 9 с тремя пальцами, стержень 11, поршень 13 с резиновой диафрагмой 14 и две пружины 10 и 12.

Рисунок 4 - Клапанная коробка компрессора КТ-6: 1- контргайка; 2 - винт; 3, 15 - крышки; 4 - нагнетательный клапан; 5, 9 - упоры; 6 - корпус; 7, 18 - прокладки; 8 - всасывающий клапан; 10, 12 - пружины; 11 - стержень; 13 - поршень; 14 - резиновая диафрагма; 16 - стакан; 17-асбестовый шнур; В - всасывающая полость; Н- нагнетательная полость

Крышка 3 и седла клапанов уплотнены прокладками 7 и 18, а фланец стакана 16 - асбестовым шнуром 17.

Всасывающий и нагнетательный клапаны (рис. 5) состоят из седла 1, обоймы (упора) 5, большой клапанной пластины 2, малой клапанной пластины 3, конических ленточных пружин 4, шпильки 7 и корончатой гайки 6. Седла 1 по окружности имеют по два ряда окон для прохода воздуха. Нормальный ход клапанных пластин 2,5...2,7 мм.

Разгрузочные устройства компрессора КТ-6 работают следующим образом: как только давление в главном резервуаре достигает 8,5 кгс/см2, регулятор давления открывает доступ воздуха из резервуара в полость над диафрагмой 14 (см. рис. 4) разгрузочных устройств клапанных коробок ЦНД и ЦВД. При этом поршень 13 переместится вниз. Вместе с ним после сжатия пружины 10 опустится вниз и упор 9, который своими пальцами отожмет малую и большую клапанные пластины от седла всасывающего клапана. Компрессор перейдет в режим холостого хода, при котором ЦВД будет всасывать и сжимать воздух, находящийся в холодильнике, а ЦНД будут засасывать воздух из атмосферы и выталкивать его обратно через воздушный фильтр. Это будет продолжаться до тех пор, пока в главном резервуаре не установится давление 7,5 кгс/см2, на которое отрегулирован регулятор. При этом регулятор давления сообщит полость над диафрагмой 14 с атмосферой, пружина 10 поднимет упор 9 вверх и клапанные пластины прижмутся к седлу своими коническими пружинами. Компрессор перейдет в рабочий режим.

Рисунок 5 - Всасывающий (а) и нагнетательный (б) клапаны компрессора КТ-6: 1-седла; 2-большие клапанные пластины; 3-малые клапанные пластины; 4- конические ленточные пружины; 5-обойма (упор); 6-корончатые гайки; 7-шпилька

Компрессор КТ-6Эл при достижении в главном резервуаре определенного давления в режим холостого хода не переводится, а отключается регулятором давления.

В процессе работы компрессора воздух между ступенями сжатия охлаждается в холодильнике радиаторного типа. Холодильник состоит из верхнего и двух нижних коллекторов и двух радиаторных секций. Верхний коллектор перегородками разделен на три отсека. Секции радиаторов крепятся к верхнему коллектору на прокладках. Каждая секция состоит из 22 медных трубок, развальцованных вместе с латунными втулками в двух фланцах. На трубках навиты и припаяны латунные ленты, образующие ребра для увеличения поверхности теплоотдачи.

Для ограничения давления в холодильнике на верхнем коллекторе установлен предохранительный клапан, отрегулированный на давление 4,5 кгс/см2. Фланцами патрубков холодильник прикреплен к клапанным коробкам первой ступени сжатия, а фланцем 12- к клапанной коробке второй ступени. Нижние коллекторы снабжены спускными краниками для продувки радиаторных секций и нижних коллекторов и удаления скапливающихся в них масла и влаги.

Воздух, нагретый при сжатии в ЦНД, поступает через нагнетательные клапаны в патрубки холодильника, а оттуда - в крайние отсеки верхнего коллектора. Воздух из крайних отсеков по 12 трубкам каждой радиаторной секции поступает в нижние коллекторы, откуда по 10 трубкам каждой секции перетекает в средний отсек верхнего коллектора, из которого через всасывающий клапан проходит в ЦВД. Проходя по трубкам, воздух охлаждается, отдавая свое тепло через стенки трубок наружному воздуху.

В то время как в одном ЦНД происходит всасывание воздуха из атмосферы, во втором ЦНД идет предварительное сжатие воздуха и нагнетание его в холодильник. В это же время в ЦВД заканчивается процесс нагнетания воздуха в главный резервуар.

Холодильник и цилиндры обдуваются вентилятором 26 (рис. 2), который установлен на кронштейне 29 и приводится во вращение клиновым ремнем от шкива, установленного на муфте привода компрессора. Натяжка ремня осуществляется болтом 28.

Сообщение внутренней полости корпуса компрессора с атмосферой осуществляется через сапун 3, который предназначен для ликвидации избыточного давления воздуха в картере во время работы компрессора.

Сапун (рис. 6) состоит из корпуса 1 и двух решеток 2, между которыми установлена распорная пружина 3 и помещена набивка из конского волоса или капроновых нитей. Над верхней решеткой установлена фетровая прокладка 5 с шайбами 4, 6 и втулкой 7. На шпильке 10 шплинтом 11 закреплена упорная шайба 8 пружины 9.

При повышении давления в картере компрессора, например из-за пропуска воздуха компрессионными кольцами, воздух проходит через слой набивки сапуна и перемещает вверх фетровую прокладку 5 с шайбами 4 и 6 и втулкой 7. Пружина 9 при этом оказывается сжатой. Сжатый воздух из картера компрессора выходит в атмосферу. При появлении в картере разрежения пружина 9 обеспечивает перемещение вниз прокладки 5, не допуская попадания в картер воздуха из атмосферы.

Детали компрессора смазываются комбинированным способом. Под давлением, создаваемым масляным насосом 20 (см. рис. 2), масло подается на шатунную шейку коленчатого вала, пальцы прицепных шатунов и поршневые пальцы.

Рисунок 6 - Сапун: 1-корпус; 2-решетка; 3-распорная пружина; 4, 6-шайбы; 5-прокладка; 7-втулка; 8-упорная шайба; 9-пружина; 10-шпилька; 11-шплинт

Остальные детали смазываются разбрызгиванием масла противовесами и дополнительными балансирами коленчатого вала. Резервуаром для масла служит картер компрессора. Масло заливают в картер через пробку 9, а его уровень измеряют маслоуказателем (щупом) 8. Уровень масла должен быть между рисками маслоуказателя. Для очистки масла, поступающего к масляному насосу, в картере предусмотрен масляный фильтр 25.

Масляный насос ( рис. 7) приводится в действие от коленчатого вала, в торце которого выштамповано квадратное отверстие для запрессовки втулки и установки в нее хвостовика валика 4. Масляный насос состоит из крышки 1, корпуса 2 и фланца 3, соединенных четырьмя шпильками 12. Крышка 1, корпус 2 и фланец 3 центрируются двумя штифтами 11. Валик 4 имеет диск с двумя пазами, в которые вставлены две лопасти 6 с пружиной 5. Благодаря небольшому эксцентриситету, между корпусом насоса и диском валика образуется серповидная полость.

При вращении коленчатого вала лопасти прижимаются к стенкам корпуса пружиной 5 за счет центробежной силы. Масло всасывается из картера через штуцер А и поступает в корпус насоса, где подхватывается лопастями. Сжатие масла происходит вследствие уменьшения серповидной полости в процессе вращения лопастей. Сжатое масло по каналу С нагнетается к подшипникам компрессора.

Рисунок 7 - Масляный насос: 1-крышка; 2-корпус насоса; 3-фланец; 4-валик; 5, 9-пружины; 6-лопасть; 7- корпус редукционного клапана; 8-клапан шарового типа; 10-регулировочный винт; И -штифт; 12-шпилька; А, В-штуцеры; С-канал

К штуцеру В присоединена трубка от манометра. Для сглаживания колебаний стрелки манометра 15 (см. рис.2) из-за пульсирующей подачи масла в трубопроводе между насосом и манометром помещен штуцер с отверстием диаметром 0,5 мм, установлены бачок 77 объемом 0,25 л и разобщительный кран для отключения манометра.

Редукционный клапан, ввернутый в крышку 1 (см. рис.7), служит для регулировки подачи масла к шатунному механизму компрессора в зависимости от частоты вращения коленчатого вала, а также для слива избытка масла в картер. В корпусе 1 редукционного клапана размещены собственно клапан 8 шарового типа, пружина 9 и регулировочный винт 10 с контргайкой и предохранительным колпачком.

По мере повышения частоты вращения коленчатого вала растет усилие, с которым клапан прижимается к седлу под действием центробежных сил, и, следовательно, для открытия клапана 8 требуется большее давление масла.

При частоте вращения коленчатого вала 400 об/мин давление масла должно быть не менее 1,5 кгс/см2.

Компрессор КТ-7 получает левое вращение коленчатого вала (если смотреть со стороны привода) вместо правого на компрессоре КТ-6. Это обстоятельство вызвало изменение конструкции вентилятора для сохранения прежнего направления потока охлаждающего воздуха, а также масляного насоса.

2. Ремонт и испытание компрессоров

.1 Организация ремонта тормозного оборудования

Техническое обслуживание тормозного оборудования при ТО-1 электровозов, тепловозов и моторвагонного подвижного состава выполняется локомотивными бригадами.

Техническое обслуживание тормозного оборудования при ТО-2 поездных электровозов и тепловозов выполняется слесарями в специально обустроенных пунктах, как правило, в крытых помещениях, оснащенных необходимым оборудованием, приспособлениями, инструментом и неснижаемым технологическим запасом материалов и запасных частей.

Техническое обслуживание тормозного оборудования при ТО-3 электровозов, тепловозов и моторвагонного подвижного состава выполняется в основных локомотивных и моторвагонных депо высоко-квалифицированными слесарями.

Ремонт тормозного оборудования производится в автоматном отделении (участке) локомотивных и моторвагонных депо и на локомотиворемонтных заводах, за исключением воздухораспределителей, которые следует ремонтировать на контрольных пунктах автотормозов вагонных депо. Руководство ремонтом тормозного оборудования в локомотивных и моторвагонных депо возлагается на мастера вышеуказанных депо.

Автоматные отделения (участки) локомотивных и моторвагонных депо и заводов должны быть оснащены механизмами, специальными приспособлениями и стендами для проверки тормозного оборудования. При капитальном ремонте электровозов, тепловозов и моторвагонного подвижного состава тормозное оборудование подлежит обязательному снятию для ремонта в цехе или замены новым. При текущих ремонтах электровозов, тепловозов и моторвагонного подвижного состава снятию подлежат приборы тормозного оборудования по перечню, утвержденному МПС России, в соответствии с инструкцией ЦТ-533. Снятое тормозное оборудование необходимо ремонтировать и испытывать в объеме, установленном разделами 5 - 12 данной инструкции.

2.2 Ремонт компрессоров при ТР без снятия их с локомотивов

На электровозах и электропоездах отбирается проба масла для анализа в лаборатории; проверяется уровень масла, при хорошем состоянии масла следует долить его в картер до нормы. Нормальный уровень масла в картере должен быть между рисками маслоуказателя.

Проверяется состояние воздушных фильтров, сапуна, обратного клапана, маслопровода масляного насоса и его крепления, холодильника компрессора, креплений компрессора. Проверяется состояние и натяжение ремня привода вентилятора. Осматривается и испытываются предохранительные клапан. Предохранительные клапаны регулируются (за исключением предохранительных клапанов электропоездов) при отключенном регуляторе давления на рабочем месте в пневмосистеме тягового подвижного состава при работающем компрессоре на давление срабатывания на 1,0 кгс/кв.см выше установленного для данной серии тягового подвижного состава максимального рабочего давления в главных резервуарах. Регулировка предохранительных клапанов электропоездов по условиям техники безопасности производится только со снятием их с электропоезда на стенде, с одновременной постановкой пломб.

Предохранительные клапаны на холодильнике компрессора должны быть отрегулированы на давление 4,5+-0,1 кгс/кв.см. Обнаруженные неисправности устраняются, неисправные детали заменяются.

В клапанных коробках компрессоров на каждом текущем ремонте локомотивов (моторвагонного подвижного состава при ТР-1 через один) проверяется состояние всасывающих и нагнетательных клапанов. В случае выявления неисправностей клапаны разбираются, детали очищаются от нагара. Проверяется состояние деталей. Изломанные или имеющие трещины пластины и пружины, имеющие высоту менее 10 мм, заменяются. Клапанные пластины и другие детали заменяются, если нарушена герметичность клапана. Обращается внимание на правильность установки клапанов в клапанные коробки и надежность их затяжки.

На собранной клапанной коробке компрессоров тепловозов проверяется легкость перемещения подвижных деталей разгрузочного устройства; при нижнем положении подвижных деталей пластины всасывающих клапанов должны быть плотно прижаты к упору клапана.

Для смазки компрессоров применяются масла, установленные Инструкцией по применению смазочных материалов на локомотивах и моторвагоном подвижном составе.

2.3 Ремонт компрессоров со снятием с локомотивов

После снятия компрессора с локомотива или моторвагонного подвижного состава, его очистки, разборки, промывки деталей керосином, обмера и осмотра неисправные детали заменяются, а вышедшие за пределы допусков ремонтируются.

Корпус: картер следует обмыть керосином, обтереть, обмелить, обстучать молотком и тщательно осмотреть. При капитальном ремонте корпус заменить при наличии сквозных и несквозных трещин длиной более 50 мм в количестве более 3 шт, в том числе ранее заваренных трещин в теле корпуса в посадочном месте подшипника глубиной более 5 мм, а также при наличии размеров изнашиваемых поверхностей корпуса, выходящих за пределы допустимых. Несквозные трещины длиной менее 50 мм разрешается восстанавливать холодной сваркой чугуна. Сварка производится в соответствии с требованиями Инструктивных указаний по сварочным работам при ремонте тепловозов, электровозов и моторвагонного подвижного состава. Разрешается восстанавливать отколотые лапы (без повреждения стенки корпуса) методом наплавки (литья) в горячем состоянии с предварительной формовкой отколотой части.

При текущих ремонтах корпус, имеющий отломанные части или сквозные трещины между отверстиями для цилиндров и подшипникового фланца, а также смотровых люков, разрешается восстанавливать электроили газовой сваркой, при этом концы трещины перед заваркой должны быть засверлены.

При ослаблении наружной обоймы шарикоподшипников в корпусе и крышке корпуса разрешается растачивать посадочные места для постановки втулки толщиной не менее 5 мм.

Шпильки с сорванной или забитой резьбой заменяются. Сорванную резьбу под шпильки и разработанные резьбовые отверстия разрешается восстанавливать под следующий размер по соответствующему стандарту с постановкой соответствующих шпилек;

Переднюю крышку корпуса при капитальном ремонте при наличии трещин заменяют. Забоины и риски посадочных плоскостей под цилиндры глубиной более 0,3 мм и забоины привалочного фланца крышки глубиной 0,3 мм и площадью более 10 кв.мм устраняют. При этом толщина фланца должна быть не менее 15 мм. Наклеп и другое выступление металла под плоскостью фланца не допускается;

Износ цилиндрической поверхности в крышке под сальник не более 0,08 мм на сторону разрешается восстанавливать омеднением. При большем износе допускается восстанавливать размер до альбомного наплавкой с применением бронзовых или латунных прутков.

Внутреннюю поверхность картера в случае повреждения покрытия окрасить автонитроэмалью N 624а, допускается грунтом ГФ020 или ПФ-046.

Цилиндры:. цилиндры компрессора заменяются при наличии трещин, изломанных охлаждающих ребер более 15% их общего количества и достижения предельного износа внутреннего диаметра;

Цилиндры с конусностью и овальностью более допустимых размеров расшлифовываются с последующим хонингованием под ремонтные размеры, с допусками и чистотой обработки по требованиям чертежа;

При текущих ремонтах цилиндров разрешается:

а) зачищать на рабочих поверхностях риски, следы задиров и забоин;

б) оставлять на рабочей поверхности цилиндра низкого давления (ЦНД) без исправления задиры, риски и забоины глубиной не более 0,2 мм и длиной не более 100 мм если общая площадь указанных дефектов составляет не более 15 кв.см или не более двух отдельных рисок глубиной не более 0,3 мм и длиной не более 70 мм;

в) оставлять на рабочей поверхности цилиндра высокого давления (ЦВД) без исправления задиры, риски и забоины глубиной не более 0,2 мм и длиной до 70 мм, если общая площадь их составляет не более 10 кв.см, или не более двух отдельных рисок глубиной до 0,5 мм и длиной не более 50 мм;

г) восстанавливать толщину фланцев наплавкой с последующей механической обработкой;

Задиры и забоины на торцевых поверхностях цилиндра глубиной более 0,3 мм площадью более 10 кв.мм устраняются.

Коленчатый вал: коленчатый вал при его демонтаже проверяется дефектоскопом и при выявлении трещин независимо от их количества и расположения заменяется;

Внутренние каналы подвода смазки тщательно промываются и продуваются сжатым воздухом;

Шатунную шейку при уменьшении диаметра, наличии на ней рисок и кольцевых выработок, а также с овальностью и конусностью более 0,06 мм следует обточить и отшлифовать под следующий ремонтный размер (разрешается восстанавливать методом газотермического или лазерного напыления с последующей механической обработкой).

Разрешается оставлять на шатунной шейке после шлифовки вмятины в количестве не более двух глубиной 0,2 мм и общей площадью 20 кв.мм. Оставлять на шатунной шейке поперечные риски запрещается. Перекос шатунной шейки относительно коренных шеек в любой плоскости на всей рабочей длине допускается не более 0,02 мм;

При наличии на коренных шейках выработки под посадку колец шарикоподшипников разрешается восстанавливать диаметр вала хромированием или вибродуговой наплавки под слоем флюса с последующей обработкой до чертежного размера.

Резиновая манжета и втулка при износе заменяются;

Коническая поверхность вала проверяется калибром по краске, прилегание должно быть не менее 75% поверхности. Допускается утопание конусного калибра до 2 мм от торца конуса;

Шарикоподшипники заменяются при обнаружении выкрашивания металла на поверхности шариков, трещин в обоймах, излома сепаратора или износа беговых дорожек. Новые шарикоподшипники устанавливаются на шейки вала в горячем состоянии, для чего подшипники следует нагреть в масле до температуры 120 град.С.

При текущих ремонтах, в случае отсутствия ослабления внутренних колец разрешается шарикоподшипники не снимать;

При ремонте компрессора запрещается производить сварочные работы на коленчатом валу, кроме заварки трещин в сварочных швах противовесов. Сварку необходимо проводить в соответствии с Инструктивными указаниями по сварочным работам при ремонте тепловозов, электровозов и мотор-вагонного подвижного состава.

Узел шатунов: шатун, головка шатуна и крышка головки шатуна заменяются при наличии трещин, забоин на черновых поверхностях глубиной более 1 мм, конусности и овальности при разработке отверстий и торцовых поверхностей головки шатуна более допускаемых размеров. Запрещается производить на указанных деталях какие-либо сварочные работы. Допускается на черновых поверхностях деталей зачищать с плавным переходом забоины глубиной не более 1 мм.

При овальности или конусности отверстия диаметром 25 мм в головке шатуна более 0,023 мм разрешается развернуть его в сборе с жестким шатуном до диаметра 25,3 мм с постановкой пальца соответствующего диаметра.

Овальность или конусность отверстия диаметром 45 мм более 0,027 мм, а также наличие рисок и забоин глубиной более 0,2 мм устраняются расточкой до диаметра 45,3 (в степени + 0,065) мм. Наружный диаметр пальца шатунов разрешается увеличить до диаметра 45,3 (в степени + 0,08) мм хромированием.

При текущих ремонтах шатуны с изгибом до 3 мм разрешается править в холодном состоянии, не допуская появления трещин;

Втулки шатунов заменяются при наличии предельного зазора в сочленении или их ослабления в посадке. Втулки необходимо запрессовать с натягом 0,047-0,003 мм. Перепрессовка втулок относительно торцов головки шатуна допускается не более 0,5 мм. Недопрессовка не допускается. После запрессовки проверяется совпадение масляного канала во втулке и шатуне.

Разрешается постановка штифтов увеличенного диаметра в отверстие головки шатуна. Штифты не должны доходить до внутренних поверхностей втулок на 0,6 + -0,3 мм. После запрессовки штифтов выступающую часть их следует спилить заподлицо и закернить;

Поршневые пальцы и пальцы шатунов подвергаются дефектоскопированию. При наличии на полированной поверхности трещин, волосовин, забоин и рисок, уменьшения наружного диаметра, овальности и конусности более 0,01 мм детали заменяются. При большей овальности и конусности, а также при наличии износа более допускаемого разрешается восстанавливать пальцы хромированием с последующей шлифовкой. Толщина хромового покрытия должна быть не более 0,15 мм.

При текущих ремонтах допускается оставлять волосовины на поверхности пальцев; увеличение диаметра поршневого пальца против чертежного размера разрешается на 0,25 мм.

Палец жесткого шатуна диаметром 23 мм заменяется при наличии трещин, рисок и забоин на рабочей поверхности глубиной более 0,1 мм, увеличения отверстия в головке шатуна и шатуне, увеличения отверстия под штифт более 6,5 мм.

При капитальном ремонте шпильки шатуна заменяются новыми независимо от их состояния, при текущих ремонтах проводится дефектоскопирование и при обнаружении трещины шпильки заменяются;

Вкладыши при наличии отколов, трещин и других дефектов, влияющих на нормальную его работу, заменяются. Новые вкладыши следует изготавливать по градационным размерам с соблюдением требований рабочих чертежей, при этом:

а) по внутреннему диаметру вкладыши следует изготавливать в соответствии с градационным размером диаметра шатунной шейки коленчатого вала;

б) толщину вкладыша по всем градациям увеличивать за счет толщины вкладыша, а толщину баббитовой заливки оставляют в пределах, указанных на рабочем чертеже;

в) прилегание вкладыша в ложе головки шатунов и крышке в сборе проверяют по краске. Отпечаток краски должен покрывать не менее 85% поверхности каждого вкладыша и располагаться по всей его поверхности. При этом на площади 1 кв.см поверхности должно быть не менее двух пятен краски;

г) вкладыши устанавливаются в головку шатунов и крышку с натягом на обе половинки в пределах 0,08-0,12 мм.

Если у подшипника обнаружено отставание баббита от корпуса подшипника, местное выкрашивание баббита более 20% или толщина слоя баббита менее допустимой, то баббит у подшипника необходимо выплавить и подшипник заплавить вновь. Наплавленный слой баббита должен быть в пределах 0,8 - 2 мм.

Если общая площадь поврежденных мест на рабочей части заливки не превышает 1,5 кв.см и у стыков 2 кв.см, то такие места в условиях депо разрешается оставлять без заплавки. При ремонте на заводе у такого подшипника баббит необходимо выплавить и заплавить вновь.

Поршни и поршневые кольца: поршни заменяются при наличии трещин, задиров, наволакивания металла, рисок, замятин, сколов глубиной более 0,3 мм при среднем и капитальном ремонтах и более 1 мм при текущих ремонтах; овальности поршня, увеличения диаметра отверстия под поршневой палец и износе ручьев более допускаемых размеров;

При капитальных ремонтах поршневые кольца заменить новыми. При текущих ремонтах поршневые кольца заменить при наличии трещин, отколов, зазора в замках более установленного. Следует обращать внимание на чистоту рабочих поверхностей ручьев в поршнях;

Новые поршни и поршневые кольца изготавливаются по ремонтным градациям в соответствии с таблицей 14 и с допусками, как и на альбомный размер. Разница веса поршней низкого давления в одном компрессоре допускается не более 200 г;

После ремонта поршней и шатунов необходимо проверить:

а) отсутствие перекоса поршня в цилиндре, зазор между поршнем и цилиндром;

б) перед постановкой поршня в цилиндр - чистоту маслопроводящих отверстий;

в) свободу перемещения колец в ручьях поршня при их плотном прилегании к стенкам ручья;

г) прилегание новых колец перед их постановкой на поршень по рабочей поверхности цилиндров;

д) правильность установки колец: замки колец на поршне должны быть смещены друг от друга на 1200; при неполной замене колец старые годные кольца устанавливаются в их же ручьи;

е) дефектоскопом шатунные болты перед их постановкой;

При текущих ремонтах поршней и шатунов компрессора разрешается:

а) выведение шабровкой или шлифовкой овальности и конусности в отверстиях бобышек под поршневой палец;

в) шлифовка поршня для установления нормального зазора между поршнем и цилиндром.

Клапанная коробка: детали клапанных коробок после разборки следует очистить, осмотреть и подвергнуть ремонту с соблюдением следующих требований:

а) корпус клапанных коробок при среднем и капитальном ремонтах локомотивов подвергается гидравлическому испытанию давлением 15 кгс/кв.см в течение 5 мин. Течь и потение поверхности корпуса не допускаются, корпус заменяется при наличии трещин или отбитых охлаждающих ребер более 15%;

б) крышку всасывающего и нагнетательных клапанов необходимо заменить: при капитальном ремонте при наличии сквозных и несквозных трещин (в том числе и ранее заваренных) при увеличении диаметра на 50 мм в крышке всасывающих клапанов более чем на 2 мм. При текущих ремонтах несквозные трещины длиной менее 25 мм разрешается заваривать методом холодной сварки чугуна. При наличии забоин на торцовой поверхности крышки более 0,3 мм допускается ее торцовка с обязательным сохранением литейного размера 99+-0,3 мм для крышки цилиндра низкого давления и 57+-0,3 мм для крышки цилиндра высокого давления. Разрешается уменьшение толщины привалочного фланца до 18 мм за счет обработки притирочной поверхности;

в) головка стержня заменяется при наличии трещин в стержне, увеличения отверстия в крышке всасывающего клапана под головку более 50,2 мм;

г) при ослаблении шпилек в упоре всасывающего клапана следует заменить их на новые, обеспечив посадку по чертежу. Завершение или занижение торцов шпилек относительно торцовых поверхностей упора не допускается;

д) пружины высотой менее 10 мм, а также при наличии трещин, поломки витков или поверхности более 0,2 мм заменяются. Пружину, потерявшую упругость, разрешается восстанавливать термообработкой с соблюдением технических условий чертежа. Пружины должны иметь жесткость от 0,55 до 0,75 кгс при сжатии до 8 мм;

е) покорбленные и изношенные более чем на 0,2 мм пластины при текущих ремонтах заменяются, при текущем и капитальном ремонтах заменяются независимо от состояния. Новые клапанные пластины притираются. Допускается высота притираемых поясков не менее 1,4 мм;

ж) седло клапана заменяется при наличии трещин. Риски и забоины не допускаются. Допускается уменьшение толщины привалочного фланца до 6 мм;

з) упор заменяется при наличии трещин. Риски и забоины на притираемых поверхностях не допускаются. Уменьшение высоты упора нагнетательного клапана допускается до 67 мм;

Собранный клапан испытывается на плотность. Допускается падение давления с 8,0 до 7,5 кгс/кв.см в резервуаре объемом 50 л не быстрее, чем за 2 мин. Величина подъема клапана должна быть в пределах 2,5-2,7 мм.

При ремонте клапанных коробок запрещается:

а) постановка всасывающего клапана вместо нагнетательного;

б) постановка клапанов с не отрегулированным подъемом клапанных пластин;

в) постановка стаканов с уменьшенным поперечным сечением проходных отверстий;

Масляный насос: изношенные бронзовые втулки, лопасти и другие детали насоса заменяются. Зазор между бронзовыми втулками и валиком, а также износ лопастей допускается не более 0,12 мм.

Корпус масляного насоса компрессора КТ6 заменяется при наличии трещин, увеличения диаметра средней полости более 53 мм, уменьшения высоты корпуса до величины менее 19,8 мм. При увеличении диаметра средней полости до 53 мм ставятся новые удлиненные лопасти высотой 13 мм. При этом биение торцовых поверхностей относительно поверхности средней полости допускается не более 0,02 мм.

Валик насоса заменяется при наличии трещин или выхода за допускаемые пределы размеров. Овальность и конусность валика диаметром 21 мм допускается не более 0,02 мм. При большей овальности или конусности разрешается восстанавливать валик до чертежного размера хромированием. Толщина хромового покрытия должна быть не более 0,15 мм.

Допускается оставлять без исправления износ цилиндрической поверхности валика до диаметра 47,8 мм. При дальнейшем уменьшении диаметра до 47,6 мм валик разрешается восстанавливать хромированием.

В случае уменьшения высоты корпуса масляного насоса для обеспечения зазора 0,035-0,076 мм между торцом валика и крышкой разрешается прошлифовать торцовую поверхность валика до размера 19,8 мм и довести шлифованием размер лопасти по длине также до 19,8 мм.

При ремонте редукционного клапана соблюдаются следующие условия:

а) корпус клапана заменяется при наличии рисок и забоин на поверхности под шариковый клапан глубиной более 0,1 мм, забитой или стянутой резьбе. При забоинах и рисках глубиной менее 0,1 мм посадочное место проверяется на станке;

б) пружина клапана заменяется при наличии трещин, потере упругости и потертости витков более 0,2 мм;

в) клапан регулируется на открытие при давлении 2,4-2,8 кгс/кв.см и проверяется плотность по месту посадки шарика.

В собранном масляном насосе валик должен проворачиваться без заклиниваний и заеданий; зазор между валиком и втулкой должен быть в пределах 0,02-0,06 мм, а между фланцем и лопастью - 0,035-0,076 мм и между валиком и поверхностью корпуса (в наименьшей точке приближения) - 0,02-0,05 мм;

После ремонта масляный насос испытывается на герметичность и производительность:

а) течь в местах соединения корпуса с фланцем и крышкой у масляного насоса компрессоров не допускается;

б) производительность масляного насоса при 850 об/мин валика и температуре масла 60-700С должна быть у компрессора КТ6, КТ7 в пределах 4,5-5,5 л/мин при давлении масла 3-3,5 кгс/кв.см.

Холодильник:. радиаторы и крышки холодильника требуется выварить в ванне с 10%-ным раствором каустической соды с последующей продувкой каждой трубки острым паром.

Охлаждающие ребра (пластины) выправляются. Концы трубок, неплотно прилегающие во фланцах, развальцовываются. Трубки, имеющие трещины или обрывы, заменяются.

При текущих ремонтах допускается заглушать трубки, имеющие трещины и обрывы, но не более трех в каждом радиаторе.

При текущих ремонтах разрешается заваривать трещины в патрубках и крышках, при среднем и капитальном ремонтах такие детали заменить.

После ремонта секцию радиатора необходимо опрессовать сжатым воздухом давлением 6,0 кгс/кв.см в водяной бане. Появление пузырей при опрессовке не допускается.

Вентилятор: ось вентилятора заменяется при наличии трещин, сорванных ниток резьбы, уменьшении диаметра до величины менее 14,8 мм. Износ цилиндрической оси по диаметру 15-0,012 не более 0,2 мм следует восстанавливать хромированием, при большем износе осталиванием с последующей обработкой до чертежного размера.

Корпус вентилятора заменяется при наличии трещин, поломок лап крепления, наличии выработки посадочной поверхности под подшипник по диаметру более 35,2 мм.

Забоины и риски боковых поверхностей глубиной более 0,3мм устраняются, при этом уменьшение длины корпуса допускается не менее 63 мм. Колесо подвергается статической балансировке. Допускается дисбаланс не более 25 гсм. Дисбаланс более 25 гсм устраняется сверлением отверстий диаметром 12 мм на диске шкива или проверкой резцом по контуру детали.

Трещины на лопастях при текущих ремонтах разрешается заваривать, если они не доходят на 20 мм до края лопасти. При среднем и капитальном ремонтах колесо и лопасти при наличии трещин, надрывов заменяются новыми. Перед заваркой концы трещин должны быть засверлены сверлом диаметром 2 мм. Общая длина трещин на лопастях не должна превышать 10 см.

После заварки колесо вентилятора следует подвергать балансировке. Дисбаланс допускается не более 25 гсм. Для восстановления баланса разрешается приваривать в любом месте колеса 2 балансировочных груза общим весом не более 30 г. После балансировки колеса испытываются на разнос при 2100 об/мин.

Проверка натяжения ремня вентилятора осуществляется путем приложения усилия равного 0,5 кгс в точке равноудаленной от осей шкивов, при этом величина прогиба для нового ремня должна быть 6 - 8 мм, для ремня бывшего в работе 10 - 12 мм.

Поврежденная сетка ограждения вентилятора заменяется. При текущих ремонтах разрешается оставлять сетку с повреждением не более 5% общей площади.

Сапун, фильтры и пылеловки: фильтры, пылеловки и сапун после снятия промываются в керосине и продуваются сжатым воздухом. Сетки фильтров ремонтируются или заменяются. Набивка воздушных фильтров и сапуна при среднем и капитальном ремонтах заменяется.

2.4 Испытание компрессоров

После ремонта и сборки компрессор подвергнуть:

а) обкатке без клапанных коробок, холодильника и вентилятора;

б) испытанию на нагрев;

в) испытанию при противодавлении 10 кгс/кв.см;

г) проверке на производительность;

д) проверке плотности;

Обкатку компрессора необходимо производить при следующих режимах.

Таблица 1- Режимы обкатки компрессоров

Частота вращения коленчатого вала, об/мин

Продолжительность обкатки, мин

Примечание

270-300

30

На реж. компрессор должен работать безостановочно

400-440

30


750-850

30



Для испытания на нагрев следует собрать компрессор с клапанными коробками, холодильником, вентилятором и воздушными фильтрами. Испытание на нагрев компрессоров проводится при 270 - 320 об/мин и 750 - 850 об/мин коленчатого вала.

При 270-320 об/мин компрессор испытывается на нагрев в течение 2 ч при следующих режимах:

без противодавления 20 мин;

с включенным редуктором давления 40 мин;

с противодавлением 9,0 кгс/кв.см 60 мин.

В конце этого испытания замеряется температура масла в картере и нагнетаемого компрессором воздуха. Температура масла должна быть не более 65 град.С (при этом давление масла не менее 1,5 кгс/кв.см), а нагнетаемого воздуха на расстоянии не более 500 мм от клапанной коробки в пределах 150-180 град.С.

После этого увеличивается частота вращения коленчатого вала компрессоров до 750-850 об/мин и на этом режиме проводится испытание в течение 1 ч. В конце испытаний замеряют температуру масла и нагнетаемого воздуха. Температура масла должна быть не более 85 град.С (при этом давление масла не менее 3,0 кгс/кв.см), а нагнетаемого воздуха на расстоянии не более 500 мм от клапанной коробки не более 180 град.С.

Испытания на нагрев компрессора КТ6Эл проводится при 270 об/мин и 420 об/мин при противодавлении 9 кгс/кв.см в течение 2 ч. Температура масла в картере должна быть не более 85 град.С, а нагнетаемого воздуха на расстоянии не более 500 мм от клапанной коробки не более 1800С (при этом давление масла не менее 1,8 кгс/кв.см).

Температуры при испытании на нагрев приведены для температуры окружающего воздуха +30 град.С.

Для проверки кратковременной работоспособности при перегрузке компрессор испытывается при противодавлении 10 кгс/кв.см в течение 5 мин при 270 об/мин и 5 мин при 740-850 об/мин. Испытание производится на нагретом компрессоре.

При положительных результатах предыдущих испытаний проверяется производительность компрессоров, которая должна быть не менее: 2,75 куб.м/мин при частоте вращения коленчатого вала 440 об/мин; 4,6 куб.м/мин при 750 об/мин; 5,3 куб.м/мин при 850 об/мин.

Необходимо проверить плотность клапанов и колец в компрессоре. Скорость падения давления в резервуаре объемом 335 л с 8,0 кгс/кв.см не должна превышать 1,0 кгс/кв.см за 10 мин.

3. Требования техники безопасности при ремонте автотормозного оборудования

Работники производственных участков обязаны:

Выполнять только ту работу, которая поручена мастером и при условии, что безопасные приемы ее выполнения хорошо известны. В сомнительном случае обратиться к мастеру.

Быть внимательным, не отвлекаться на посторонние дела и разговоры, не отвлекать других работающих.

Работать только исправным инструментом. Инструмент хранить в переносном инструментальном ящике или сумке.

При групповой работе каждый работающий должен принимать положение, безопасное для себя и не угрожающее безопасности другого.

При транспортировке узлов и деталей пользоваться только специальными грузозахватными приспособлениями. Запрещается пользоваться поврежденными или немаркированными грузозахватными приспособлениями и тарой. Во всех случаях перед подъемом груза убедиться в том, что груз надежно закреплен. Для этого поднять груз на 200-300 мм от поверхности, проверить правильность крепления и натяжения строп. При обнаружении неправильной и ненадежной зацепки груза опустить его и произвести строповку вновь. Помнить, что удерживать стропы, соскальзывающие с груза при его подъемке или транспортировке, а также направлять их ударами молотка или лома запрещается.

При перемещении груза в горизонтальном направлении, он должен быть поднят не менее чём на 0,5м выше встречающихся препятствий. Необходимо следить за тем, чтобы в зоне транспортировки не было людей, сопровождать груз сзади, находясь в безопасной зоне.

С воздушными, сварочными и водопроводными шлангами, с электрическими проводами обращаться аккуратно, не допускать их перегибов, запутывания, пересечения с тросами, другими шлангами.

Похожие работы на - Устройство компрессоров КТ-6Эл

 

Не нашли материал для своей работы?
Поможем написать уникальную работу
Без плагиата!
Без нейросетей!