Проектирование КТПН 10/0,4-250 комплексной трансформаторной подстанции наружного исполнения (на базе Дальневосточной распределительной сетевой компании)

  • Вид работы:
    Дипломная (ВКР)
  • Предмет:
    Физика
  • Язык:
    Русский
    ,
    Формат файла:
    MS Word
    1,72 Мб
  • Опубликовано:
    2015-03-21
Вы можете узнать стоимость помощи в написании студенческой работы.
Помощь в написании работы, которую точно примут!

Проектирование КТПН 10/0,4-250 комплексной трансформаторной подстанции наружного исполнения (на базе Дальневосточной распределительной сетевой компании)

МИНОБРНАУКИ РОССИИ

БЛАГОВЕЩЕНСКИЙ ТЕХНОЛОГИЧЕСКИЙ ТЕХНИКУМ

(ФИЛИАЛ) ФЕДЕРАЛЬНОГО ГОСУДАРСТВЕННОГО БЮДЖЕТНОГО ОБРАЗОВАТЕЛЬНОГО УЧРЕЖДЕНИЯ ВЫСШЕГО ПРОФЕССИОНАЛЬНОГО ОБРАЗОВАНИЯ «ВЛАДИВОСТОКСКИЙ ГОСУДАРСТВЕННЫЙ УНИВЕРСИТЕТ ЭКОНОМИКИ И СЕРВИСА»

(БТТ филиал ФГБОУ ВПО «ВГУЭС»)






ДИПЛОМНЫЙ ПРОЕКТ

по специальности 140613.51 «Техническая эксплуатация и обслуживание электрического и электромеханического оборудования»

Проектирование КТПН 10/0,4-250 комплексной трансформаторной подстанции наружного исполнения (на базе Дальневосточной распределительной сетевой компании)

Выполнил студент гр. 43Э

Д.В. Коршунов

Руководитель:

И.А. Абрамов

Благовещенск 2014

РЕФЕРАТ

52 страниц, 3 таблиц, 14 рисунков, 9 приложений, 22 источника

Комплектно трансформаторная подстанция наружного исполнения (КТПН), комплектация, сборка, схема сборки, проходная КТПН, тупиковая КТПН, трансформатор, выключатель, разъединитель, трансформатор тока, амперметр щитовой, вольтметр щитовой, счетчик

Комплектные устройства по сравнению с обычными конструкциями электротехнических установок обладают множеством преимуществ. Значительно уменьшаются объемы строительно-монтажных работ и сокращаются сроки их выполнения. Достигается большая экономия трудозатрат. Улучшается качество электроустановок, увеличивается надежность и безопасность их обслуживания и сокращаются эксплуатационные расходы.

Обеспечивается удобство и быстрота при расширении и реконструкции.

Упрощается комплектация и снабжение при производстве строительно-монтажных работ.

Сокращаются объемы и сроки проектирования.

Применение комплектных устройств является основой индустриализации строительно-монтажных работ при сооружении электрических станций, трансформаторных подстанций и электроустановок промышленных предприятий.

СОДЕРЖАНИЕ

ВВЕДЕНИЕ

. Техническое описание объекта

.1 Название, назначение конструкция

.2 Техническая характеристика

.3 Электрическая схема и ее принцип действия

. Обоснование и выбор проектирования КТПН 10/0,4 кВ

.1 Выбор КТПН 10/0,4кВ

.2 Проектирование КТПН 10/0,4 кВ

.3 Технология сборки и монтажа КТПН 10/0,4кВ

.4 Монтаж комплектных распределительных устройств

.5 Оборудование, используемое в комплектации и сборки КТПН 10/0,4 кВ37

. Определение экономического эффекта сборки и комплектации КТПН 10/0,4 кВ

ЗАКЛЮЧЕНИЕ

СПИСОК ИСПОЛЬЗОВАННЫХ ИСТОЧНИКОВ

ПРИЛОЖЕНИЕ 1 Сборочный чертеж КТПН 10/0,4кВ

ПРИЛОЖЕНИЕ 2 Схема Сборки КТПН 10/0,4кВ

ПРИЛОЖЕНИЕ 3 Электрическая схема КТПН 10/0,4кВ

ПРИЛОЖЕНИЕ 4 Структурная схема КСА НКУ

ПРИЛОЖЕНИЕ 5 Смета материалов

ПРИЛОЖЕНИЕ 6 Технические характеристики тупиковой КТПН 10/0,4

ПРИЛОЖЕНИЕ 7 Технические характеристики проходной КТПН 10/0,4

ПРИЛОЖЕНИЕ 8 Основные характеристики КСА

ПРИЛОЖЕНИЕ 9 Схема сборки КТПН 10/0,4 кВ

трансформатор подстанция монтаж распределительное устройство

ВВЕДЕНИЕ

В настоящее время Дальневосточная распределительная сетевая компания (ДРСК) прилагает много усилий по совершенствованию и отработки механизма сборки и комплектации КТПН, которые являются неотъемлемой частью энергосистемы Дальнего Востока.

Применение комплектных устройств является основой индустриализации строительно-монтажных работ при сооружении электрических станций, трансформаторных подстанций и электроустановок промышленных предприятий.

Комплектные устройства по сравнению с обычными конструкциями электротехнических установок обладают множеством преимуществ: значительно уменьшаются объемы строительно-монтажных работ и сокращаются сроки их выполнения; достигается большая экономия трудозатрат; улучшается качество электроустановок, увеличивается надежность и безопасность их обслуживания и сокращаются эксплуатационные расходы; обеспечивается удобство и быстрота при расширении и реконструкции; упрощается комплектация и снабжение при производстве строительно-монтажных работ. Сокращаются объемы и сроки проектирования.

Сложности в теории и практике реконструкции энергосистемы сопровождаются объективно существующими противоречием между увеличением спроса на сборку и комплектацию КТПН и отсутствием инженерно прикладных наработок.

Актуальность исследования и указанное противоречие обусловило проблему исследования, которая заключается в проектировании КТПНН 10/0,4.

Объект: проектирование комплектно трансформаторной подстанции (КТПН) 10/0,4 кВ

Предмет: разработка проекта КТПН.

Цель исследования: Разработать предложения по совершенствованию проектирования КТПН 10/0.4 кВ.

Задачи:

1. Проанализировать теоретический материал по данной проблеме.

2.      Рассмотреть различные схемы комплектации КТПН

3.      Сравнить и проанализировать обоснованность выбора различных способов проектирования КТПН

4.      Разработать предложение по внедрению ресурсосберегающих технологий.

Методы исследования: анализ специальных источников литературы и теоретического материала, сравнительный анализ выбора схем сборки и монтажа, моделирование процессов сборки и комплектации КТПН, наблюдение, анализ.

1. Техническое описание объекта

1.1 Название, назначение и конструкция КТПН 10/0,4кВ


Подстанцией называют электроустановку, служащую для преобразования и распределения электроэнергии и состоящую из трансформаторов или других преобразователей энергии, распределительного устройства, устройства управления и вспомогательных сооружений. В зависимости от преобразования той или иной функции они называются трансформаторными (ТП) или преобразовательными (ПП) (См. Рис. 1.1).

Рисунок 1.1 - КТПН 10/0,4кВ тупиковая

Трансформаторную подстанцию называют комплектной КТПН - при поставке трансформаторов (преобразователей), щита низкого напряжения и других элементов в собранном виде или в виде, полностью подготовленном для сборки. Подстанции могут быть комплектными: стационарные или колосковые.

Комплектные трансформаторные подстанции (КТПН) применяют для приема, распределения и преобразования электрической энергии трехфазного тока частотой 50 Гц. По числу трансформаторов КТПН могут быть однотрансформаторными, двухтрансформаторными и трехтрансформатор-ными.

Подстанция КТПН состоит из нескольких основных элементов:

РУ-10кВ:

.КСО-395-04

.КСО-395-03

.КСО-395-03

.КСО-395-04

РУ-0.4кВ:

.ЩО-70-2-23(1000А)

.ЩО-70-2-03

.ЩО-70-2-03

.ЩО-70-1-71

.ЩО-70-2-03

.ЩО-70-2-03

.ЩО-70-2-23(1000А)

Т1: ТМГ-630/10 У1;10/0.4

Т2: ТМГ-630/10 У1;10/0.4

В полу проектируемой КТПН предусмотреть технологические люки для ввода кабеля.

1.2 Технические характеристики

Номинальное вторичное напряжение силового трансформатора должно соответствовать номинальному напряжению нагрузки. Мощность силового трансформатора ST должна быть не менее суммарной мощности нагрузки, т.е. ST >SКТПН. Основные технические характеристики представлены в приложении 9.

Для обеспечения более надежной схемы питания потребителей применяют двухтрансформаторную КТПН, т.е. две подстанции, соединенные по стороне 0,4 кВ кабелем и с организованным АВР между секциями шин. Возможно исполнение АВР с различными алгоритмами работы.

На комплектную трансформаторную подстанцию поступает напряжение в 10 кВ, питающая линия заземлена и снабжена разъединителями. В процессе трансформации напряжение уменьшилось до 0,4 кв, далее с распределительных шин происходит распределение на три линии, одна из которых линия освещения, остальные потребители. КТПН снабжена измерительными и контрольными устройствами, а так же на каждой линии установлены пакетные выключатели, для защиты линии от перегрузок.

Оборудование и материалы используемые при проведении электромонтажных работ должны соответствовать требованиям ГОСТ на каждый вид продукции и Правил устройства электроустановок (ПУЭ).

Силовой кабель со следующими техническими характеристиками: бронированный с алюминиевыми токопроводящими жилами, фазной бумажной изоляци <#"806479.files/image002.gif">

Рисунок 1.2. -Электрическая схема КТПН

QW - выключатель нагрузки, FU1…FU3 - предохранитель,T - трансформатор силовой, QS - разединитель на стороне НН, QF - выключатель автоматический, TA1…TA3 - трансформатор тока (учет), TA4…TA6 - трансформатор тока (измерение), PI - счетчик, A - амперметр, V - вольтметр, QF1…QFn - выключатель автоматический, FV4…FV6 - ограничитель перенапряжений,

Предохранители - это электрические аппараты, предназначенные для защиты электрических цепей от токов короткого замыкания и токов перегрузки. Преимущественно предохранители используются для защиты от токов короткого замыкания.[5]

Основной элемент предохранителя - плавкая вставка постоянного или переменного сечения, которая при токах срабатывания сгорает (плавится с последующим возникновением и гашением электрической дуги), отключая электрическую цепь.

TV1 - силовой трансформатор

Силовые трансформаторы являются основным электрическим оборудованием электроэнергетических систем, обеспечивающим передачу и распределение электроэнергии на переменном трехфазном токе от электрических станций к потребителям.

В справочных данных на трансформаторы приводятся: тип, номинальная мощность, номинальные напряжения обмоток, потери мощности холостого хода и короткого замыкания, напряжение короткого замыкания, ток холостого хода.

На подстанциях применяют трехфазные или группы однофазных трансформаторов с двумя или тремя раздельными обмотками. Трансформаторы номинальной мощностью больше 25 МВ∙А выполняются с расщепленной обмоткой вторичного напряжения 6...10 кВ. Обмотки высшего, среднего и низшего напряжений принято сокращенно обозначать соответственно ВН, СН, НН.

QF1, QF2, QF3 - автоматические выключатели

Автоматические выключатели (автоматы) низкого напряжения (до 1000 В) предназначены для автоматической защиты электрических сетей и оборудования от аварийных режимов (коротких замыканий, перегрузок, снижения и исчезновения напряжения, изменения направления тока, гашения магнитного поля мощных генераторов в аварийных условиях и др.), а также для оперативной коммутации номинальных токов. Для обеспечения селективной (избирательной) защиты в автоматах предусматривается возможность регулирования уставок по току и по времени. Быстродействующие автоматы снижают время срабатывания и ограничивают отключаемый ток сопротивлением возникающей электрической дуги в автомате. Нередко эти факторы определяют принцип устройства и особенности конструкции автоматов.[7]

ТА1, ТА2, ТАЗ - измерительные трансформаторы тока

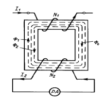
Трансформатор тока (ТА) служит для измерения, преобразования и передачи информации о режиме работы сильноточной цепи высокого напряжения в цепь низкого напряжения с целью ее последующей обработки. При этом одновременно ТА служит для изоляции первичной цепи высокого напряжения от вторичной цепи низкого напряжения, имеющей потенциал земли. Информация на вторичной стороне используется как для целей измерения мощности при помощи амперметра, ваттметра, качества энергии, так и для системы релейной защиты. Поэтому ТА, как правило, имеют две вторичные обмотки: одну для измерения, другую для защиты. Вторичный ток ТА имеет нормированные значения: 5 или 1 А. Первичная цепь трансформатора тока постоянно включена в цепь высокого напряжения и является первым элементом (датчиком контроля тока) системы релейной защиты. От точности передачи информации зависит четкость и быстрота ликвидации аварии. Смотри рисунок 1.3.

Рисунок 1.4 - измерительные трансформаторы тока

В общем случае ТА можно представить в виде двух обмоток первичной N1 и вторичной N2, размещенных на одном магнитопроводе из трансформаторной стали рисунок 4. Принцип действия ТА основан на явлении электромагнитной индукции.

РА1...РАЗ амперметры

Амперметры для измерения электрического тока устанавливают на всех трансформаторах и линиях, питающих приемники электроэнергии или их группы. Амперметры устанавливают в одной фазе. Три амперметра предусматривают только в тех цепях, где возможна несимметрия нагрузки фаз приемников (освещение, сварочные посты, конденсаторные батареи). Амперметры включают в сеть или через трансформаторы тока.

SA1 переключатель (рубильник). Переключатель (рубильник) - предназначен для ручного включения и отключения цепей с постоянным или переменным напряжением. В данном случае применяется трехполюсный переключатель с центральным рычажным приводом и дугогасительной камерой. Включение и отключение линии уличного освещения осуществляется вручную выключателем SA1.[13]

2. Обоснование и выбор проектирования КТПН 10/0,4 кВ

2.1 Выбор КТПН 10/0,4кВ

При разборке технологического процесса сборки и комплектации КТПН из всех вариантов следует выбрать наиболее рациональный, обеспечивающий необходимые эксплуатационные свойства детали при наименьшей стоимости ее восстановления. Выбор такого способа зависит от конструктивно-технологических особенностей и условий работы деталей, величины и характера их износа, эксплуатационных свойств самих способов сборки и комплектации КТПН.

Рисунок 2.1 - Ячейка высокого напряжения

Технологический критерий позволяет определить принципиальную возможность применения различных способов сборки и комплектации КТПН. Технологический критерий позволяет классифицировать различные способы комплектации и выявить перечень способов, которые возможны тем или иным способом. Критерий долговечности позволяет оценить различные способы сборки и комплектации с точки зрения обеспечиваемой ими работоспособности. Долговечность сборочной КТПН зависит от способов её процесса сборки.

Экономический критерий определяется стоимостью сборки КТПН. Стоимость сборки и комплектации КТПН зависит от годовой программы. Как правило сборку выгодно проводить в цехах с большой производственной программой, то есть чем больше партия КТПН, тем меньше будет стоимость одной КТПН.

Исходя из всех выше перечисленных критериев, для сборки и комплектации КТПН, более целесообразно использовать первый вариант т. к. по сравнению со вторым, он более экономичный, прост в сборке.

2.2 Выбор трансформатора и расчет контура заземления

Выбор трансформатора делается по сумме потребляемой мощности всех электроприемников, т.е.

∑Рсм= 250кВт, то берем трансформатор мощностью 250 кВА. Марка трансформатора ТМГ-250 10У1; 10/0,4

Рассчитываем заземление КТПН 10/0,4. Сеть 10 кВ с изолированной нейтралью. На стороне 0,4-0,23 кВ нейтраль глухозаземлена. Для КТПН применяется зануление. Грунт - суглинок, климатический район - Амурская область.

Контур заземления отстоит от КТПН на один метр контур заземления имеет размеры 18х24 м.

Периметр контура заземления -42м, сопротивление заземления - 4 Ом.

Заземляющее устройство выполняется в виде контура из полосы 40х4 мм, проложенной на глубине 0,7 м на расстоянии 1 м от стен. Для заземлений применяют стержни длинной 5 м и диаметром 16 мм2 на расстоянии 5 м друг от друга.

Определяем действительное число стержней:

Сопротивление грунта берём из таблицы (ρ = 140 Ом).

Определяем расчетное сопротивление грунта для Амурской области:

Определяем сопротивление одного стержня:


Определяем необходимое число заземлителей:


Сопротивление заземляющей полосы:


Определяем сопротивление полосы в контуре:


Необходимое сопротивление вертикальных заземлителей:


Определяем уточнённое число стержней:


Получилось 6 заземлителей. Расчет заземления проверен проверен спомощью программы «Электрик», что показано на рисунке 2.2.

Рисунок 2.2 - Расчет заземления в программе «Электрик»

2.3 Требования к используемому оборудованию для врезки КЛ-10 кВ

Оборудование и материалы используемые при проведении электромонтажных работ должны соответствовать требованиям ГОСТ на каждый вид продукции и Правил устройства электроустановок (ПУЭ).

Силовой кабель со следующими техническими характеристиками: бронированный с алюминиевыми токопроводящими жилами, фазной бумажной изоляци <#"806479.files/image013.gif">

Рисунок 2.2 - Концевая термоусаживаемая кабельная муфта внутренней установки, КВТп-10 с наконечником для силовых кабелей 1.1. Термоусаживающаяся оболочка категории НГ-НF-LS, 1.2. Силиконовый тиксотропный герметик, 1.3. Наконечники на каждую жилу, 1.4. Трубки с клеем для изоляции каждого наконечника

Соединительная термоусаживаемая кабельная муфта 3Стп 10 используется для соединения 3-х жильных кабелей с пластмассовой или бумажной маслопропитанной изоляцией, с броней или без, с общей алюминиевой или свинцовой оболочкой на напряжение до 10 кВ переменного тока.

 <#"806479.files/image015.gif">

Рисунок 2.4 - Термоусаживаемые концевые муфты наружной установки

2.5 Перечень документации сдаваемой подрядной организацией перед сдачей объекта

Перечень документации должен соответствовать техническим регламентам, проекту, исполнительной документации, техническому заданию, требованиям нормативно-правовых актов Российской федерации и Амурской области, на полноту проведения наладочных работ и испытаний электроустановки и правильность оформления протоколов, на наличие сертификатов соответствия национальным стандартам (согласно утвержденному перечню продукции, подлежащей обязательной сертификации), требованиям Правил технической эксплуатации электроустановок потребителей (ПТЭ), Правил устройства электроустановок (ПУЭ), Порядку организации работ по выдаче разрешений на допуск в эксплуатацию электроустановок утвержденному Приказом № 212 от 07.04.2008 года Федеральной службы по экологическому, технологическому и атомному надзору.

Перечень документации сдаваемой заказчику подрядной организацией:

·  техническое задание, утвержденное заказчиком;

·        проект, согласованный в установленном прядке при строительстве электрических сетей и производстве земляных работ на территории МО г. Благовещенск;

·        перечень изменений и отступлений от проекта согласованных с проектной организацией и филиалом ОАО АКС «Амурэлектросетьсервис». Договор и счет-фактура проектной организации, подтверждающая стоимость работ по подготовке проектной документации и проведения проектно-изыскательских работ;

·        смета выполненная, в соответствии с территориальными единичными расценками действующими на территории Амурской области. Цены на материалы должны соответствовать ценам на материалы и оборудование единого номенклатурного справочника (ЕБЦ ЕНС) утвержденного ОАО «РКС» для Амурской области. Счет-фактура или накладная подписанная и заверенная печатью поставщика, подтверждающая стоимость материалов и оборудования;

·        согласование с собственниками земельных участков и электросетевых объектов при размещении объектов строительства на частной территории;

·        копия ордера на проведение земляных работ (АТК при УЖКХ Администрации Амурской области), с приложением документации в соответствии с Постановлением Администрации города Благовещенска № 1363 от 31.03.2012 года «Об утверждении положения по производству земляных работ на территории МО г. Благовещенка;

·        принципиальная однолинейная схема электроустановки;

·        материалы по согласованию трасс кабельных линий и воздушных линий;

·        акты приемки траншей, каналов, тоннелей, блоков и т.д. под монтаж кабелей, согласованные группой надзора за трассами кабельных линий филиала ОАО АКС «Амурэлектросетьсервис»;

·        акты осмотра кабельной канализации в траншеях и каналах перед закрытием, согласованные группой надзора за трассами кабельных линий филиала ОАО АКС «Амурэлектросетьсервис»;

·        приемо-сдаточную документацию (протоколы, акты испытаний, наладки в соответствии с требованиями нормативно-правовых актов, технических регламентов, паспортов изготовителей);

·        протоколы измерения заземления и исполнительная схема заземления;

·        свидетельство о регистрации лаборатории;

·        сертификаты соответствия на электрооборудование (согласно утвержденному перечню продукции, подлежащей обязательной сертификации);

·        ведомость и план расстановки смонтированного оборудования (Трансформаторная подстанция);

·        исполнительная документация (в соответствии с требованиями нормативно-правовых актов);

·        заводские паспорта, инструкции, на оборудование (заводов изготовителей);

·        технические паспорта на оборудование и электрические сети.

Рисунок 2.5 - Примерный план размещения электрооборудования и фундамента проектируемой КТПН

2.6 Технология сборки и монтажа КТПН 10/0,4кВ


Приступая к монтажу КТПН внутренней установки проверяют оси подстанции, выверяют отметки основания под опорные швеллеры РУ и салазки трансформаторов, а также необходимые размеры строительной части.

Блоки РУ поднимают инвентарными стропами, которые крепят за скобы, установленные в отверстиях на концах опорных швеллеров. Если краны отсутствуют, то блоки РУ устанавливают на фундаменты с помощью катков, выполненных из отрезков металлических труб.

Если блоки РУ не имеют опорных швеллеров, для их перемещения увеличивают количество катков (не менее четырех на блок).

Не допускается крепить тяговый трос от лебедки к поперечным связям основания шкафов. Его закрепляют на шкафах в обхват, стремясь не повредить их окраску. Для этого между металлической поверхностью шкафа и тросом прокладывают доски, брусья, толь или рубероид. Многоблочное РУ монтируют поэтапно. Блоки устанавливают поочередно, предварительно сняв специальные заглушки, закрывающие выступающие концы шин, и подъемные скобы с опорных швеллеров. Установочные швеллеры отдельных шкафов соединяют сваркой с помощью перемычек из полосовой стали сечением 40 х 4 мм2. Борозды в фундаментах после установки блоков РУ и приварки шины заземления к опорным швеллерам заливают цементом и устанавливают по проекту трансформатор.

Распределительное устройство соединяют с трансформатором гибкой перемычкой, закрываемой коробом из листовой стали, который поставляется в комплекте с КТПН. При выполнении присоединения к выводам трансформатора необходимо помнить, что чрезмерные изгибающие усилия на вводы при затяжке болтов могут вызвать течь масла. Короб к трансформатору и вводному шкафу РУ крепят болтами. Соединения шин выполняют с помощью шинных сжимов или болтов.

По окончании монтажа блоков КТПН проверяют исправность проводки и приборов, надежность крепления болтовых соединений, особенно контактных и заземляющих, работу механических блокировок, состояние изоляторов (не должно быть трещин, сколов, нарушения армировки). После этого подсоединяют кабели высокого и низкого напряжений. На отходящих кабельных линиях напряжением 0,4 кВ выполняют эпоксидные (с помощью комплекта резиновых перчаток) или сухие (лентой ПХВ) разделки. Для заземления КТПН швеллеры приваривают к контуру заземления в двух местах (каждый шов - 70 мм). [10]

Комплектные TUH монтируют с помощью крана на автомобильном шасси. На месте монтажа выполняют основание в виде гравийной подушки, при этом объем гравия должен быть не менее объема масла в трансформаторе.

На основные операции по сборки разработаны смотри приложение 2.

Рисунок 2.4 - Объемная трансформаторная подстанция а - левый блок; 5 - правый блок

Рисунок 2.5 - Фундамент объемной трансформаторной подстанции 1 - решетка; 2 - плита; 3 - щебеночная подготовка

Трансформаторные подстанции из объемных элементов готовят на заводах рисунок 2.5. Монтаж объемных трансформаторных подстанций выполняют в такой последовательности: электрооборудование концентрируют в блок-коробки или отдельные блоки. Эти объемные элементы вместе с электрооборудованием транспортируют на стройплощадку. Здесь собирают блоки, формируя трансформаторную подстанцию. До начала сборки подстанции на строительной площадке завершают сооружение подъездных путей к месту ее установки. Разбивку и привязку подстанции выполняют на местности. Растительный грунт снимают и вынимают для фундамента в соответствии с принятым конструктивным вариантом подстанции (из бетонных блоков марки СБ или кирпича). Фундаменты закладывают на твердый материковый грунт и засыпают их снаружи землей до уровня красных вертикальных отметок. Затем устанавливают вентиляционные жалюзи с сетчатыми решетками, а также закладывают асбестоцементные трубы диаметром 100 мм и длиной, выходящей за пределы отмостки на 0,5 м рисунок 2.6.

После проверки и приемки фундаментов приступают к установке блоков подстанции. Особое внимание обращают на тщательную нивелировку опорной плоскости фундаментов под блоки.

Блоки устанавливают подъемным краном грузоподъемностью 20 т в такой последовательности: на фундаменты ставят блоки БТП-1 и БТП-2, затем их основания соединяют с фундаментами цементным раствором. Технология сборки строительной части подстанции включает выполнение следующих электромонтажных работ: установку проходных изоляторов; соединение шинами секционных разъединителей с проходными изоляторами в РУ 6-10 кВ; установку соединительных шин между контакторными станциями разных блоков, установку и подключение силовых трансформаторов; прокладку кабельной перемычки между щитами № 1 и 2 блоков БТГЫ и БТП-2; ввод в здание подстанции кабельных концов (высокого и низкого напряжения) и выполнение заземляющего устройства.

Внедрение блочных трансформаторных подстанций позволяет сократить сроки их строительства примерно в пять раз и продолжительность электромонтажных работ в монтажной зоне вдвое.

В связи с сокращением объема строительных работ, применением экономичных материалов и прогрессивной технологии заготовки и сборки подстанции себестоимость работ уменьшается на 18 %.

Использование объемных трансформаторных подстанций дает возможность передать значительный объем работ на заводы-изготовители. [19]

Схема сборки представлена в приложение 9.

2.7 Монтаж комплектных распределительных устройств

При приемке от заказчика в монтаж КТПН должна быть проверена комплектность технической документации предприятия-изготовителя (паспорт, техническое описание и инструкция по эксплуатации, электрические схемы главных и вспомогательных цепей, эксплуатационная документация на комплектующую аппаратуру, ведомость ЗИП).

К месту установки КТПН и доставляют укрупненными блоками по три - пять камер, собранных вместе. Если перемещение и подъем комплектных камер производят в упаковке, то строповку при подъеме краном производят способом, указанным предприятием-изготовителем. Перемещение и подъем комплектных камер и КТПН всегда производят в вертикальном положении согласно надписям «Верх» и «Низ».

На рабочее место КТПН, устанавливают на заранее подготовленные при выполнении работ первой стадии основания, закладные части, опорные рамы", выверенные по уровню на проектной отметке. Установку камер на место производят в соответствии со схемой заполнения, даваемой в проекте, на которой указывают взаимное расположение камер и схему соединений всего РУ. Камеры к месту установки подают в такой последовательности, чтобы установленные на место они не мешали перемещению и установке последующих комплектных камер.

Работы по монтажу КРУ, КСО и КТПН выполняют в соответствии с проектом производства ЭМР (ППР). Монтажные работы ведутся в две стадии. В первой стадии электромонтажники контролируют правильность установки строителями закладных элементов, предусмотренных строительными чертежами, и устанавливают в соответствии с проектом электроустановок конструкции для осветительных пунктов, отдельно стоящих панелей защиты и электрических аппаратов; выполняют монтаж внутренней сети заземления и присоединяют вводы от заземлителей к закладным конструкциям для установки камер; монтируют сеть общего освещения помещения РУ. При этом заготовку для крепления открытой электропроводки и установку деталей крепления осветительной арматуры выполняют до побелки помещения. При скрытой электропроводке до побелки помещения производят не только прокладку труб, но и затяжку проводов и их соединения. Если в проекте предусмотрена установка в каналах кабельных конструкций, то эту работу выполняют также в первой стадии монтажа.

При приемке от строителей по акту помещения РУ под монтаж проверяют выполнение следующих работ: в стенах, потолках и полах должны быть оставлены необходимые проемы, тщательно заделаны все швы, отверстия и борозды, стены и потолки должны быть побелены и окрашены; кабельные каналы должны быть отделаны и перекрыты съемными плитами из несгораемых материалов в уровень с чистым полом. Масса отдельной плиты перекрытия не должна быть более 50 кг ; под ряды камер должны быть заложены в полу конструкции. Поверхность всех конструкций для установки камер должна быть в одной горизонтальной плоскости, при этом отклонение допускается не более 1 мм на 1 м длины и не более 5 мм на всю длину конструкции. Стыки конструкций должны быть тщательно сварены с помощью накладок из полосовой стали для обеспечения непрерывности цепи заземления. Накладки должны быть приварены с боковых сторон конструкций или снизу так, чтобы они не выступали над поверхностью, на которой устанавливают камеры. Закладные конструкции должны быть установлены в соответствии с проектом.

В РУ для установки камеры КТПН черный пол камеры под камерами должен быть на 10-20 мм ниже отметки чистого пола. По всей длине закладных конструкций должны быть оставлены борозды для установки опорных швеллеров камер КТПН. Эти борозды заделывают после установки камер КТПН на место. Если камеры устанавливают на междуэтажном перекрытии, то в нем должны быть оставлены необходимые проемы и заложены отрезки стальных труб для ввода силовых и контрольных кабелей. При установке на полу первого этажа должны быть выполнены соответствующие каналы и приямки и заложены стальные трубы для подвода кабелей. Концы труб должны выступать не менее чем на 30 мм. При приемке помещения отверстия всех отрезков труб для прохода кабелей из одного помещения в другое как в стенах, так и в перекрытиях должны быть закрыты временными заглушками для предотвращения возможности распространения пожара в случаях загорания кабелей в период производства монтажных работ. [6]

В помещении для установки КТПН чистый пол делают во всем помещении, кроме участков под шкафами камер КТПН. Эти участки чистого пола выполняют после установки КТПН и заделки их опорных швеллеров в борозды. При этом уровень чистого пола с фасада камер КТПН делается вровень с горизонтальной полкой направляющих для выкатной тележки.

В соответствии с проектом оставляют постоянные или временные монтажные проемы для прохода камер. К моменту приемки помещения под монтаж в постоянных проемах должны быть навешены двери, а во временных - установлены временные щиты. Все двери из помещения РУ должны открываться наружу, в них должны быть установлены самозапирающиеся замки, открываемые из помещения РУ без ключа. Окна в помещении РУ застекляют, и на первом этаже на них устанавливают снаружи металлические сетки с размером ячейки не более 25х25 мм. Сетки окрашивают светлой краской. Территория, прилегающая к помещению РУ, должна быть спланирована.

Помещение РУ должно быть очищено от строительного мусора, высушено и приведено в состояние, при котором исключается возможность увлажнения монтируемого электрооборудования.

После приемки под монтаж строительной части помещения РУ приступают к монтажным работам второй стадии. При установке камер РУ в помещении машинного зала или в цеху перемещение их к месту установки и установку на закладные конструкции производят с помощью мостового крана или других подъемно-транспортных механизмов, перемещение и установку камер производят с помощью тележек и такелажных приспособлений.

При перевозке камер на тележках и при перемещении по направляющим без тележек соблюдают предосторожность, чтобы не повредить чистый пол. При перемещении камер КТПН соблюдают особую предосторожность во избежание повреждения нижней рамы и направляющих для выкаткой тележки. Если установку камер на направляющие производят по одной, а не блоком, то начинают установку с крайней камеры в ряду.

По окончании монтажных работ у камер КТПН приваривают к закладным конструкциям не менее чем в двух местах каждый из трех опорных швеллеров вместе с подкладками. Перед приваркой швеллеров камер КТПН проверяют совпадение разъединяющих контактов первичных и вторичных цепей и заземляющих контактов путем медленного выкатывания тележек в рабочее положение с помощью механизма выкатывания.

После выполнения этих работ заливают цементным раствором борозды, оставленные под опорные швеллеры камер КТПН. После окончания крепления камер КТПН производят окончательную отделку чистого пола в помещении РУ.

Монтажные работы в части первичных цепей завершают проверкой уровня масла в бачках выключателей и при необходимости доливкой чистого, сухого прошедшего испытания трансформаторного масла до уровня отметки на масло указателе и проверкой работы выключателей, разъединителей, вспомогательных контактов и блокировочных устройств.

С целью всемерного сокращения сроков монтажных работ второй стадии стремятся максимально возможное количество этих работ выполнить вне зоны монтажа на стенде в МЭЗ в период строительства помещения РУ и ТП и в период выполнения монтажных работ первой стадии, при этом производят укрупнительную сборку камер в блоки с учетом местных возможностей транспортировки и установки их на место.

Проверку правильности работы выключателей, разъединителей, вспомогательных контактов и блокировочных устройств производят в соответствии с требованиями инструкции предприятия-изготовителя.

Одновременно с работами по первичным цепям на второй стадии монтажных работ выполняют монтаж вторичных цепей. В релейных шкафах камер КРУ и на фасаде камер устанавливают приборы и аппараты защиты, управления, сигнализации, измерения и учета электроэнергии, демонтированные на время транспортировки.

В соответствии с проектом прокладывают, разделывают и подключают контрольные кабели, кабели питания оперативным током и кабели освещения. Разделку концов контрольных кабелей и подсоединение их к зажимам производят, как правило, после окончания всех монтажных работ в камерах. Все проходы кабелей из каналов через отрезки труб уплотняют бандажами из шпагата и изоляционной ленты. Для обеспечения испытательных и наладочных работ предусматривают на вводе питания переменным током освещения РУ ящик с рубильником и предохранителями для присоединения испытательных аппаратов (кенотрона, нагрузочных трансформаторов).

Силовые кабели прокладывают в каналах в помещениях РУ или ТП после установки камер на место. В каналах кабели раскладывают в соответствии с кабельным журналом. Если концы их вводят в камеры через обрезки труб, то места выхода кабелей из труб тщательно уплотняют для отделения кабельного сооружения от помещения РУ на случай загорания кабелей. После монтажа концевых заделок на кабели у каждой заделки вешают маркировочную бирку с надписью в соответствии с кабельным журналом. Жилы кабелей. По которым может быть подано напряжение, подключают к КРУ только после окончания всех монтажных работ и приемку в эксплуатацию.

Перед сдачей в эксплуатацию восстанавливают поврежденную отделку камер, окрашивают дополнительно установленные монтажные изделия и конструкции и места сварок. На фасадах камер, а при наличии прохода позади камер - и с задней стороны, выполняют четкие надписи в соответствии с проектом, где указывают наименование присоединений. Камеры КСО поставляют с надписями, выполненными на верхнем коробе (карнизе) для магистрали освещения и установки светильников. У всех приводов выключателей и разъединителей делают надписи с указанием «Включено» и «Отключено». В камерах КСО рядом с приводами разъединителей предприятие-изготовитель выполняет надписи, поясняющие, к какому разъединителю относится данный привод. На фазах каждой секции сборных шин РУ предусматривают места для наложения переносного заземления. На дверях, выходящих из помещения РУ или ТП наружу или в другое помещение, с внешней стороны делают надписи с наименованием РУ или ТП и закрепляют стандартные металлические предупредительные плакаты «Высокое напряжение - опасно для жизни»

Сборка КТПН включает: соединение выводов трансформатора с РУ; установку автоматического выключателя, транспортируемого в отдельной упаковке; выполнение заземления; подсоединение отходящих линий; подсоединение кабеля к трансформатору или шкафу вывода. Распределительное устройство, состоящее из нескольких блоков, собирают поочередно, предварительно сняв заглушки, закрывающие выступающие концы шин, а также сняв подъемные скобы. [4]

3. Определение экономического эффекта сборки и комплектации КТПН 10/0,4 кВ

Трудоемкость комплектации по типовой технологии составляет 360 часов, предполагаемая технология позволит снизить трудоемкость ремонта с 360 до 320 часов.

1) В таком случае процент снижения трудоемкости составит:

(3.1)

2) Процент роста выработки будет равен:

(3.2)

3) Определим затраты, которые включаются в производственную себестоимость:

Затраты на материалы (МЗ) определяются по факту приобретения, исходя из необходимого количества и оптовых цен.

Затраты на материалы отражены в Приложение № 5

Прямой фонд оплаты труда (ЗПпрям):

 (3.3)

(3.4)

Основная заработная плата:

(3.5)

Таблица №3.2 Баланс рабочего времени одного среднесписочного работника

№ п/п

Показатели

В днях

В часах

В %%

1

2

3

4

5

1

Календарный фонд времени.

366



2

Количество нерабочих дней,

117




в т.ч. а) праздничные дни

12




б) выходные дни

105



3

Количество календарных рабочих дней (Fном)

249


100

4

Неявки на работу (дней) всего:

34


13,3


в т.ч. а) отпуска очередные и дополнительные

31


12,5


б) отпуска по учебе

-


-


в) по болезни

3


0,8


г) выполнение государственных обязанностей и др.

-


-

5

Число рабочих дней в году (Fяв)

215


86,7

6

Номинальная продолжительность рабочего дня (в часах)


8


7

Потери времени в связи с сокращением рабочего дня (всего):


-


8

Плановая продолжительность рабочего дня (стр.6 - стр.7)


8


9

Полезный фонд рабочего времени (Fэф) в часах (стр. 5´ стр. 8)


1720



(3.6)

 (3.7)

 

Отчисления в страховые фонды составляют 30 % от общего фонда оплаты труда:

(3.8)

 

Накладные расходы рассчитаем в размере 50 % от основной заработной платы рабочих:

 (3.9)

Производственная себестоимость 1-й комплектации по типовой технологии будет равна:

 (3.10)

Если, % роста заработной платы принять равным 5 %, то:

 (3.11)

 (3.12)

(3.13)

3) Определим процент снижения себестоимости:

 (3.14)

4) Экономия от снижения себестоимости составит:

 (3.15)

5) После этого необходимо рассчитать себестоимость одного ремонта по предлагаемой технологии с учетом экономии:

 (3.16)

Таблица 2 Технико-экономические показатели

Показатели

Ед. изм.

Велич.

1. % снижения трудоемкости (а)

%

11,11

2. % роста производительности труда (в)

%

12,49

3. Производственная себестоимость 1-й комплектации согласно типовой технологии (С/спроизв.)

руб.

135799,2

4. Снижение себестоимости за счет роста производительности труда (D С/с)

%

3,06

5. Экономия от снижения себестоимости

руб.

4156,5

6. Себестоимость 1-й комплектации по предлагаемой технологии (С/с¢произв.)

руб.

131162,7



ЗАКЛЮЧЕНИЕ

Исходя из поставленной цели мы теоретически обосновали проект КТПН 10/0,4. Проанализировали теоретический материал по данной проблеме. Рассмотрели различные схемы сборки и комплектации КТПН. Сравнили и проанализировали обоснованность выбора различных схем и способов сборки и комплектации КТПН.

В первой главе рассмотрели теоритически комплектность КТПН основные узлы и проблемы возникающие в ходе проектирования. Используя теоритический материал первой главы начали разработку проекта КТПН.

Во второй главе представили проект КТПН рассмотрели технологию сборки и монтажа спроектированной КТПН.

Применение проекта КТПН позволит за счет снижения трудоемкости с 45 до 40 часов увеличить производительность труда на 12,49 % и снизить себестоимость ремонта на 3,06 % или на 4156 рублей 50 копеек. Это, в свою очередь приведет к увеличению числа заказов, росту прибыли и рентабельности.

СПИСОК ИСПОЛЬЗОВАННЫХ ИСТОЧНИКОВ

1.Алексеев, В.С. Реле защиты. [Текст] / В.С. Алексеев, - М.: Энергия, 2006. - 464 с.

.Безопасность жизнедеятельности [Текст] / Под редакцией. О.Н. Русака. - СПб.: ЛТА ,2006. - 231 с.

.Белов, С.В. Безопасность жизнедеятельности. [Текст] / С.В. Белов, -М.: Высш. шк., 2009. - 448 с.

.Блок, Г.К. Пособие к курсовому и дипломному проектированию [Текст] / Г.К. Блок, - М.: Высш. шк., 2005. - 383 с.

.Груба, В.И. Монтаж и эксплуатация электроустановок. [Текст] / В.И. Груба, -М.: Недра,2011. - 325 с.

.Гук, Ю.Б. Проектирование электрической части станций и подстанции [Текст] / Ю.Б. Гук, - М.: Энергоатомиздат, 2008. - 312 с.

.ЕНиР. Единые нормы и расценки на строительные, монтажные и ремонтно-строительные работы. Сб. 23. Электромонтажные работы. - М.: Стройиздат,2008. - 152 с.

.Неклепаев, Б.Н. Электрическая часть станций и подстанций. [Текст] / Б.Н. Неклепаев, - М.: Энергоатомиздат, 2009. - 608 с.

.Охрана труда в электроустановках/Под редакцией Б. А. Князевского.: Учебник для вузов. / 3-е изд., М.: Энергоатомиздат, 2005.- 336 с.

.Правила устройства электроустановок. - 6-е издание, перераб. и доп. М., Энергоатомиздат, 2008. - 650 с.

.Правила устройства электроустановок: 7-е изд., перераб. и дополн. - М.: Энергоатомиздат, 2003. - 776 c.

.Прейскуранты оптовых цен. - М.: Стройиздат, 2010. - 185 с.

.Рожкова, Л.Д. Электрооборудование станций и подстанций. [Текст] / Л.Д. Рожкова, - М.: Энергоатомиздат, 2007. - 648 с.

.Соколов, Б.А. Монтаж электрических установок. [Текст] / Б.А Соколов, -М.: Энергоатомиздат, 2007. - 360 с.

.Справочная книга по светотехнике/ Под ред. Б.Айзенберга.-М.: Энергоатомиздат, 2009.-472 с.

.Старкова, Л.Е. Электрическое освещение/ Л.Е.Старкова. Учебное пособие.-2-е изд. испр. и доп.-Вологда: ВоГТУ, 2009.-111 с.

.Строительные нормы и правила РФ. Естественное искусственное освещение: СН И П 23-05-95: Введ.01.01.96-изд.офицю-М.: Госстрой России, 2009.-35 с.

.Строительные нормы и правила. Приложение. Сборники расценок на монтаж оборудования. Сб. № 8. Электротехнические установки М.: Стройиздат, 2009. - 191 с.

.Фёдоров, А. А. Учебное пособие для курсового и дипломного проектирования по электроснабжению промышленных предприятий [Текст] / А. А. Фёдоров, - М.: Энергоатомиздат, 2007. - 368 с.

.Электротехнические устройства СНиП 3.05.06-85. М., ЦИТБ, 2009. - 60 с.

.Электротехнический справочник/ Под редакцией. И.Н. Орлова т М.: Энергоатомиздат, 2007. - 882 с.

ПРИЛОЖЕНИЕ 4


ПРИЛОЖЕНИЕ 5

Наименование материалов

Единица измерения

Количество

Цена за единицу

Стоимость

1

2

3

4

5

1.Листовой метал 2

шт

12

450

5400

2. Листовой метал 1,5

шт

4

426

1704

3.Швейлер

м

40

26,8

1072

4.Уголок

м

5

180

900

5.Трансформатор

шт

1

29000

29000

6.Розетка штепсельная

шт

1

77,6

77,6

7.Волтметр щитовой

шт

1

648

648

8.Амперметр щитовой

шт

3

672

2016

9.Трансформатор тока

шт

3

950

2850

10. Рубильник

шт

1

780

780

11. Выключатель автоматический ВА57-39 зф, 400А

шт

1

347

347

12. Выключатель автоматический ВА88-35 зф, 400А

шт

1

326

326

13. Выключатель автоматический ВА88-35 зф, 250А

шт

1

314

314

14. Выключатель автоматический ВА88-32 зф, 160А

шт

4

300

1200

15. Выключатель автоматический ВА92-29 зф, 100А

шт

1

400

400

Выключатель автоматический ВА92-29 зф, 16А

шт

1

4200

4200

16.Счетчик электронный полного учета Меркурий 230-ART 03

шт

1

1500

1500

17. Ограничитель ОПН-0,4

шт

3

850

2550

18. Выключатель о/п, 1п

шт

1

250

250

19. Патрон

Шт

1

250

250

20. Переключатель ПКУ 3-12 П02076

Шт

1

600

600

ИТОГО:

Х

Х

Х

56384,6



ПРИЛОЖЕНИЕ 6

№ позиц.

Наименование

Количество

FV1-FV3

ОПНп-6/6,5-10/200(I) УХЛ1

3

QS1

Разъединитель РВЗ-1-10/400

1

FU1-FU3

Предохранитель ПКТ101-6-31,5-20 У3

3

T

Трансформатор ТМГ 250/10/0,4 У1

1

XT

Розетка штепсельная, о/п, 1п

1

PV

Вольтметр щитовой ЭВ 4204 400В

1

PA1-РА3

Амперметр щитовой ЭА 0700 400А

3

TA1-TA3

Трансформатор тока ТТН-0,66, 400/5

3

QF1

Рубильник ВР 32-37, 400А

1

QF2

Выключатель автоматический ВА57-39, 3ф, 400А

1

QF3

Выключатель автоматический ВА88-35, 3ф, 250А

1

QF4

Выключатель автоматический ВА88-35, 3ф, 160А

1

QF5-QF8

Выключатель автоматический ВА88-32, 3ф, 100А

4

SF

Выключатель автом-кий 1-полюсн. ВА92-29, 16А

1

PW

Счетчик электронный, полного учета Меркурий 230-ART 0

1

К

Блок испытательный КИ У3

1

FV4-FV6

Ограничитель ОПН -0,4/0,38-10(I) УХЛ1

3

Выключатель о/п, 1п

1

HL

Патрон настенный под наклоном

1

SA

Переключатель ПКУ 3-12 П 02076

1



ПРИЛОЖЕНИЕ 7

№ позиц.

Наименование

Количество

FV1-FV3

ОПНп-6/6,5-10/200(I) УХЛ1

3

QS1

Разъединитель РВЗ-1-10/400

1

FU1-FU3

Предохранитель ПКТ101-6-31,5-20 У3

3

T

Трансформатор ТМГ 250/10/0,4 У1

1

XT

Розетка штепсельная, о/п, 1п

1

PV

Вольтметр щитовой ЭВ 4204 400В

1

PA1-РА3

Амперметр щитовой ЭА 0700 400А

3

TA1-TA3

Трансформатор тока ТТН-0,66, 400/5

3

QF1

Рубильник ВР 32-37, 400А

1

QF2

Выключатель автоматический ВА57-39, 3ф, 400А

1

QF3

Выключатель автоматический ВА88-35, 3ф, 250А

1

QF4

Выключатель автоматический ВА88-35, 3ф, 160А

1

QF5-QF8

Выключатель автоматический ВА88-32, 3ф, 100А

4

SF

Выключатель автом-кий 1-полюсн. ВА92-29, 16А

1

PW

Счетчик электронный, полного учета Меркурий 230-ART 03

1

К

Блок испытательный КИ У3

1

FV4-FV6

Ограничитель ОПН -0,4/0,38-10(I) УХЛ1

3

Выключатель о/п, 1п

1

HL

Патрон настенный под наклоном

1

SA

Переключатель ПКУ 3-12 П 02076

1



ПРИЛОЖЕНИЕ 8




ПРИЛОЖЕНИЕ 9

Наименование , характеристики

комплектация

ед. изм.

Кол-во

примечание

Комплектная трансформаторная подстанция

Двухтрансформаторная

шт.

1

ТМГ-10/0.4 630Ухл1 Y/Yн-о

Номинальное напряжение сети на стороне ВН ,кВ

10




Исполнение вводов выводов ВН,НН ;воздух-воздух(ВВ),воздух-кабель(ВК),кабель-кабель(КК),кабель-воздух(КВ) 10 кВ 0,4 кВ

КК КК




Распределительное устройство высшего напряжения(РУВН) 1. КСО-395-04 с ВНР-10/630 с з.н. 2. КСО-395-03 с ВНР-10/630 c з.н.


шт. шт.

2 2

На высокой стороне камеры КСО комплектуются аппаратами ВНР-10 со встроенным пружинным приводом в виде 2-х плечевого подвижного рычага, 2-х пружин и тяг в качестве энергоносителя для передачи движения к подвижным контактам работающим по принципу перекидывающихся через нулевое положение пружин.

Номинальный ток (тип) плавких вставок предохранителей ВН

Предохранитель трубчатый

компл.

2

ПТ-10/40

Распределительное устройство низкого напряжения (РУНН) 1.Панель ЩО-70-2-23 2.Панель ЩО-70-2-03 (с предохранителями) 3.Панель ЩО-70-1-71

ВА 55-41 РЕ 19-41 РПС-250-2 шт. РПС-400-2 шт.

панель панель  панель


Номинальный ток 1000А Номинальный ток 1000А Рубильники типа РПС-2,РПС-4 должны иметь жесткое штампованное основанием иметь достаточное сечение контактов, ножей и шин рассчитанных на номинальные токи без понижающего коэффициента Номинальный ток 1000А

Трансформаторы тока на вводном коммутационном аппарате, к-т (3шт)

Т-0,66 1000/5

компл.

2


Учет электроэнергии

РИМ 489.03.

шт

2


Наименование, характеристики

комплектация

ед. изм.

количество

примечание

Приборы контроля вольтметр амперметр

да да

шт. шт.

2 6.

В комплекте с ЩО-70-2-23 В комплекте с ЩО-70-2-03,ЩО -70-2-23

Тамбуры для обслуживания (да,нет) РУВВ, РУНН

да да




Освещение КТПН

да




Ошиновка РУВН шина алюминиевая РУНН шина алюминиевая

4х40 6х80



Уточнить проектом


Похожие работы на - Проектирование КТПН 10/0,4-250 комплексной трансформаторной подстанции наружного исполнения (на базе Дальневосточной распределительной сетевой компании)

 

Не нашли материал для своей работы?
Поможем написать уникальную работу
Без плагиата!
Без нейросетей!