Технология ремонта электроподвижного состава

  • Вид работы:
    Дипломная (ВКР)
  • Предмет:
    Транспорт, грузоперевозки
  • Язык:
    Русский
    ,
    Формат файла:
    MS Word
    1,45 Мб
  • Опубликовано:
    2015-06-19
Вы можете узнать стоимость помощи в написании студенческой работы.
Помощь в написании работы, которую точно примут!

Технология ремонта электроподвижного состава

Введение

двигатель подшипниковый электровоз

Электрификация железных дорог в СССР началась в 1926 г. Тогда был электрифицирован пригородный участок Баку - Сабунчи - Сураханы Азербайджанской дороги на постоянном токе при напряжении в контактном проводе 1200 В. Следующий участок, также пригородный, Москва-Мытищи Московской дороги был электрифицирован в 1929 г. на постоянном токе при напряжении в контактном проводе 1500 В.

Электрификация первого магистрального участка, главным образом для грузового движения, Хашури-Зестафони Закавказской дороги на постоянном токе при напряжении 3 кВ была осуществлена в 1932 г. Электрификация железных дорог на напряжении 3 кВ постоянного тока, прогрессивном для того времени, продолжалась включительно до конца 1959 г. На начало 1982 г. на электрическую тягу переведено около 44 тыс. км, из которых свыше 18 тыс. км на переменном токе напряжения 25 кВ и частоты 50 Гц.

Производство электропоездов для пригородных участков электрифицированных железных дорог было организовано на московском заводе «Динамо» и Мытищинском вагоностроительном заводе, а производство электровозов ВЛ19 и ВЛ22 для магистральных участков, начиная с 1932 г., - на московском заводе «Динамо» и Коломенском машиностроительном заводе.

Однако создание электровозов переменного тока в те годы было исключительно трудным делом. Для этого требовались прежде всего приемлемые в условиях железных дорог выпрямители - ионные или

электронные вентили большой мощности. Отсутствие таких вентилей было основным препятствием для применения переменного тока при электрификации железных дорог. Работы завода «Динамо» им. Кирова по созданию первого электровоза переменного тока промышленной частоты 50 Гц при напряжении 20 кВ в контактном проводе были закончены в 1938 г. выпуском опытного образца мощностью 2000 кВт. На этом электровозе типа ОР (однофазный ртутный) был установлен металлический многоанодный ртутный выпрямитель с откачной системой для поддержания вакуума и сеточным регулированием.

Наибольшее применение электрическая тяга на переменном токе получила после окончания Великой Отечественной войны. В 1947-1954 гг. Заводы Новочеркасский электровозостроительный (НЭВЗ) и «Динамо» им. Кирова проводили работы по созданию электровозов переменного тока промышленной частоты высокого напряжения, используя в качестве выпрямителей тока игнитроны (одноанодные запаянные ртутные вентили) большой мощности. В 1954-1956 гг. была изготовлена партия шестиосных электровозов ВЛ61 для опытного участка Ожерелье - Павелец, электрифицированного на переменном токе 50 Гц.

Открытие первого магистрального участка на переменном токе промышленной частоты напряжением 25 кВ Чернореченская - Клюквенная Восточно-Сибирской дороги состоялось в г. Красноярске 31 декабря 1959 г. Для этого участка НЭВЗ изготовил большую партию шестиосных электровозов ВЛ-60 с игнитронными выпрямителями.

В 1961 г. Новочеркасским заводом были изготовлены опытные образцы восьмиосных электровозов переменного тока ВЛ-80.

В 1964 г. была оборудована на базе электровозов ВЛ61 опытная партия шестиосных электровозов ВЛ61д двойного питания для работы на линиях как постоянного тока напряжением 3 кВ, так и переменного 25 кВ; в обоих режимах работы использовалась полная мощность электровоза. В 1966 г. выпущены опытные образцы восьмиосных электровозов двойного питания ВЛ82.

Начиная с 1958 г. проводились работы по созданию электровозов переменного тока (при игнитронных выпрямителях) с рекуперативным торможением. Эти работы были успешно закончены в 1964 г. выпуском большой партии электровозов ВЛ60 р.

В 1961-1962 гг. Всесоюзный научно-исследовательский институт железнодорожного транспорта (ВНИИЖТ) впервые с успехом применил силовые кремниевые полупроводниковые вентили в качестве выпрямителей тока на электропоездах переменного тока. В 1962 г. полупроводниковые установки применили на электровозе ВЛ60к. С 1965 г. прекратили установку игнитронных выпрямителей на электровозах переменного тока, и с этого времени перешли исключительно на полупроводниковые.

Применение полупроводниковых выпрямительных установок значительно повысило эксплуатационную надежность электровозов, их коэффициент полезного действия и коэффициент мощности. Начиная с 1966 г. при производстве заводского ремонта на электровозах ВЛ60 выпрямительные игнитронные установки заменили кремниевыми полупроводниковыми. В последнее время эти установки комплектовались полупроводниковыми лавинными вентилями.

Опытные образцы электровозов ВЛ80 р (р - с рекуперативным торможением были выпущены в 1969 г., в следующем году - электровоз ВЛ80в - 661 с бесколлекторными вентильными тяговыми двигателями и в 1971 г. - электровоз ВЛ80а - 751 с короткозамкнутыми асинхронными двигателями. В 1976 г. был изготовлен восьмиосный электровоз переменного тока ВЛ83 с одномоторными двухосными тележками и вентильными тяговыми двигателями. В 1977 г. был создан первый опытный грузовой электровоз переменного тока ВЛ81 с опорно-рамным подвешиванием тяговых двигателей.

Начиная с 1968 г. все электровозы переменного и постоянного тока, изготовляемые в СССР для отечественных железных дорог, выполняются восьмиосными на четырех двухосных тележках. Отечественное электровозостроение непрерывно развивается и совершенствуется на основе новейших достижений науки и техники.

Всем электровозам отечественного производства присвоено обозначение ВЛ в честь Владимира Ильича Ленина. Номер в наименовании соответствует определенным типам электровозов: от 1 до 18 - восьмиосные постоянного тока (например, ВЛ8, ВЛ10), от 19 до 39 - шестиосные постоянного тока (ВЛ19, ВЛ23); от 40 до 59 четырехосные переменного тока (ВЛ40, ВЛ41); от 60 до 79 шестиосные переменного тока (ВЛ60к); от 80 - восьмиосные переменного тока и двойного питания (ВЛ80к, ВЛ82М).

На электровозах, помимо механического, может быть применено электрическое торможение. Различают электрическое торможение рекуперативное и реостатное. К обозначению серии электровозов с

рекуперативным торможением добавляют букву «р», а с реостатным - букву «т»: например, ВЛ80 р, ВЛ80т.

Электровозы, имеющие обозначение ВЛ, были предназначены для грузового движения, хотя довольно часто используются и для тяги пассажирских поездов. Конструктивная скорость электровозов ВЛ обычно не превышает 110 км/ч. В 70-е гг. был реализован переход на более мощные 12-осные электровозы на базе двух 6-осных секций, в каждой из которых кузов опирался на три 2-осные тележки (постоянного тока ВЛ15 и переменного тока ВЛ85, ВЛ86). Однако одновременно получила распространение и концепция более гибкого типажного решения, когда выпускались 4-осные секции, из которых можно было формировать тяговые единицы из 2-4 секций (постоянного тока ВЛ11М, переменного тока ВЛ80С. В начале 90-х гг. произошло значительное снижение перевозочной работы, вследствие чего потребность в сверхмощных электровозах сократилась, имевшийся парк электровозов стал вполне достаточным для выполнения перевозок; выпуск новых электровозов сократился. Электровоз ВЛ85, имевший наиболее отработанную конструкцию, начали выпускать в односекционном исполнении (ВЛ65). Для возможности использования электровоза в пассажирском сообщении было применено опорно-рамное подвешивание тяговых двигателей, в результате чего конструктивная скорость повысилась до 140 км/ч. Было предусмотрено электрическое отопление пассажирского поезда от электровоза. Такой электровоз фактически относится к классу универсальных - грузопассажирских.

В сер. 90-х гг. были изменены обозначения новых электровозов: в обозначение грузовых электровозов ввели букву Э (например, Э1, Э2, ЭЗ и т.д.), а для пассажирских и универсальных - буквы ЭП, в частности электровоз ВЛ65 получил обозначение ЭП1, электровоз, выполненный на базе его механической части, с возможностью питания от сети как постоянного, так и переменного тока, ЭП10.

Цель работы

Заданием на письменную экзаменационную работу было предложено описать назначение и конструкцию тягового электродвигателя НБ-418К6, технологию его ремонта в объеме ТР-3, изучить безопасные приёмы труда, применяемое оборудование, инструмент и приспособления.

1. Назначение и устройство тягового двигателя пульсирующего тока НБ-418К6

1.1    Назначение

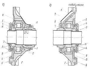
Тяговый электродвигатель пульсирующего тока НБ-418К6 предназначен для преобразования электрической энергии, получаемой из контактной сети, в механическую, передаваемую с вала двигателя на колесную пару электровоза (рис. 1). Индивидуальный привод каждой колесной пары электровоза имеет жесткую двустороннюю косозубую передачу. Малые шестерни смонтированы на концах вала двигателя, а большие зубчатые колеса - на оси колесной пары. Передаточное отношение равно 88: 21, торцовый модуль - 11.

Рисунок 1 - Общий вид тягового двигателя НБ-418К6

-вал якоря; 2-вкладыши моторно-осевых подшипников; 3-букса моторно-осевых подшипников; 4-крышка верхнего смотрового люка; 5-крышка коробки выводов; 6-трубка для добавления смазки в якорный подшипник

1.2 Технические данные

Мощность ……………………………………………………. 790/740 кВт

Напряжение на коллекторе……………………………………. 950/950 В

Ток якоря………………………………………………………. 880/820 А

Частота вращения якоря………………………………… 890/915 об/мин

Количество вентилирующего воздуха………… не менее 105/105 м3/мин

К. п. д …………………………………………………………. 94,5/94,8%

Система вентиляции……………………………………… независимая

Класс изоляции:

катушек главного полюса……………………………………………… Н

катушек добавочного полюса…………………………………………… Н

якоря……………………………………………………………………… Р

компенсационной обмотки……………………………………………. Р

Сопротивление при t=20°C:

обмотки всех катушек главных полюсов (без шунта)…………0,0079 Ом

обмотки всех катушек добавочных полюсов и компенсационной обмотки…………………………………………………. 0,0119 Ом

обмотки якоря……………………………………………………. 0,011 Ом

Постоянная шунтировка главных полюсов …………………. 0,96

Масса:

двигателя без зубчатой передачи…………………………………. 4350 кг

остова в сборе…………………………………………………………………… 2350 кг

якоря………………………………………………………………… 1350 кг

буксы моторно-осевого подшипника в сборе (без вкладыша)………………………… 76 кг

траверсы в сборе……………………………………………………. 77 кг

щита подшипникового со стороны коллектора …………….…107 кг

щита подшипникового со стороны против коллектора…………. 195 кг

Примечание. В числителе приведены значения, соответствующие часовому режиму, в знаменателе - длительному.

1.3 Конструкция

Двигатель выполнен для опорно-осевого подвешивания и представляет собой шестиполюсную компенсированную электрическую машину с последовательным возбуждением и независимой принудительной системой вентиляции. Охлаждающий воздух поступает в тяговый двигатель со стороны коллектора через вентиляционный люк и выходит из двигателя со стороны, противоположной коллектору, вверх под кузов электровоза через специальный кожух. Спроектирован двигатель для работы на пульсирующем токе от выпрямительной установки с включением последовательно в цепь каждого тягового двигателя индуктивного сглаживающего реактора.

Тяговый двигатель (рис. 2 и 3) состоит из остова, траверсы, якоря, подшипниковых щитов, моторно-осевых подшипников. На тяговом двигателе укреплены кожуха зубчатой передачи.

Остов (рис. 3) имеет цилиндрическую форму, отлит из стали 25ЛП, является одновременно магнитопроводом и корпусом, к которому крепятся все основные детали и узлы тягового двигателя. Часть остова, которая является магнитопроводом, выполнена утолщенной. В нижней части остов имеет два сливных отверстия а (см. рис. 2) диаметром 20 мм. Со стороны коллекторной камеры в остове имеется вентиляционный люк, через который входит охлаждающий, воздух, а со стороны против коллектора - люк и привалочные поверхности для крепления специального кожуха, образующего выходной патрубок для вентилирующего воздуха. В остове предусмотрены два смотровых люка: один в верхней, другой в нижней части против коллектора.

Рисунок 2 - Продольный разрез тягового двигателя НБ-418К6:

, 5 - щиты подшипниковые; 2 - траверса: 5 - остов; 4 - якорь

Через эти люки производят осмотр коллектора и щеточного аппарата, осуществляют уход за ними в эксплуатации. Люки плотно закрываются крышками. Крышка верхнего люка имеет пружинный замок, с помощью которого она плотно прижимается к остову. Крышка нижнего люка крепится к остову одним болтом М20 и специальным болтом с цилиндрической пружиной. Для лучшего уплотнения на крышках люков предусмотрены войлочные прокладки. С торцов остов имеет горловины с привалочными поверхностями для установки подшипниковых щитов с роликовыми подшипниками, в которых вращается якорь тягового двигателя.

Рисунок 3 - Поперечный разрез тягового двигателя НБ-418К6:

-5 - см. рис. 2; 6 - сердечник главного полюса; 7 - катушка добавочного полюса; 8 - катушка главного полюса; 9 - подшипник моторно-осевой; 10 - остов; 11 - сердечник добавочного полюса, - 12 - катушка компенсационной обмотки

Для повышения жесткости отливки торцовая стенка остова со стороны коллектора укреплена с внутренней стороны семью ребрами жесткости.

С наружной стороны остов имеет два прилива для крепления букс моторно-осевых подшипников, прилив для крепления кронштейна подвески двигателя, предохранительные приливы, прилив для коробки выводов, приливы с отверстиями для транспортировки и кантования остова и двигателя при монтаже и демонтаже, кронштейны для крепления кожухов зубчатой передачи. Внутреннюю поверхность утолщенной части остова растачивают по диаметру 910 мм под установку полюсов и катушек.

Главные полюса крепятся к остову тремя болтами М30, которые изготовлены из стали 35ХГСА. Добавочные полюса прикреплены тремя болтами М20 из стали 35ХГСА. Для предохранения от самоотвинчивания под головки болтов установлены пружинные шайбы. На торцовой стенке остова со стороны коллектора укреплены устройства стопорения, фиксации и проворота траверсы (рис. 4).

Рисунок 4 - Расположение на остове устройств стопорения, фиксации и проворота траверсы

1-      болты стопорного устройства; 2 - болт фиксатора; 3 - валик шестерни поворотного механизма

Катушки компенсационной обмотки уложены в пазы сердечников главных полюсов и закреплены в них клиньями из текстолита марки Б толщиной 5 мм. Электрический монтаж полюсных катушек, схема которого приведена на рис. 5, выполнен гибкими шунтами из провода ПШ, кроме соединения катушек добавочных полюсов между собой. Эти соединения выполнены шинами, которые крепятся к жесткому выводу катушки добавочного полюса двумя болтами М10 с пружинными шайбами и специальными накладками. Гибкие шунты соединены между собой посредством пайки их наконечников припоем ПСР25Ф. К остову межкатушечные соединения закреплены скобами.

Рисунок 5 - Схема соединения полюсных катушек тягового двигателя

Для плотного закрепления катушек главных полюсов на сердечнике полюса между лобовыми частями катушки и полюсом установлены специальные клинья (рис. 6) из прессмассы АГ-4В.

Рисунок 6 - Уплотнение катушек на сердечниках главных полюсов

-катушка главного полюса; 2 - клин уплотняющий; 3 - сердечник главного полюса; 4 - фланец предохранительный

Через резиновые втулки, установленные в специально выполненные в остове отверстия, концы катушек К-КК и Я-ЯЯ выведены в коробку выводов, расположенную на остове. Электрический монтаж коробки выводов выполнен двойными проводами марки ППСТ сечением 95 мм2 с одним наконечником на два провода. Подсоединительные зажимы закреплены на опорных изоляторах (пальцах) из прессмассы АГ-4В. В изолятор с одного конца запрессована шпилька с резьбой М24 X 1,5, с помощью которой он крепится к остову. Для предохранения от самоотвинчивания под изолятор установлена пружинная шайба. Условное обозначение выводов нанесено на остове у каждого изолятора. После монтажа силовых кабелей коробку выводов закрывают стеклопластовой крышкой и уплотняющими резиновыми клицами. Для лучшего уплотнения от проникновения пыли и влаги в коробку выводов на крышке установлены прокладки из губчатой резины.

Главные полюса (см. рис. 3) состоят из сердечника, катушки и деталей, предназначенных для крепления катушки. Сердечник главного полюса выполнен шихтованным. Он собран из штампованных листов электротехнической стали марки 2212 (ГОСТ 21427.2-75) толщиной 0,5 мм и сварных боковин толщиной 9 мм, набранных из листовой стали Ст2кп толщиной 1,5 мм. Длина сердечника равна 400, ширина 210, высота в средней части 119,5 мм. В каждом сердечнике имеется по шесть пазов открытой формы шириной 13,5х 0,3 и глубиной 44,5 мм, расположенных параллельно продольным осям добавочных полюсов. В эти пазы укладывают катушки компенсационной обмотки. Сердечник собирают на пяти заклепках диаметром 16 и двух заклепках диаметром 10 мм, которые после сборки развальцовывают по торцам под прессом. Листы перед сборкой покрывают изоляционным лаком КФ965 толщиной 0,012-0,014 мм на сторону. Для крепления полюсов к остову в сердечник запрессован стальной стержень размером 45x45 мм с тремя резьбовыми отверстиями под болты М30.

Катушки главных полюсов имеют по 11 витков, намотанных на узкое ребро из мягкой шинной меди размером 4 X 65 мм. Для лучшего прилегания катушек к внутренней поверхности остова их формуют в специальных приспособлениях для придания им формы внутренней поверхности остова. Корпусная изоляция катушек состоит из пяти слоев микаленты марки ЛМК-ТТ толщиной 0,13 мм, наложенных с перекрытием в половину ширины ленты. Покровная изоляция - один слой стеклоленты ЛЭС толщиной 0,2 мм на пазовой части и один слой термоусаживающейся ленты толщиной 0,2 мм на лобовых частях, наложенных с перекрытием в половину ширины ленты.

На пазовой части поверхности катушки, прилегающей к остову, приклеены предохранительные прокладки из электронита толщиной 1 или 0,5 мм. В окне катушки на лобовых частях приклеены прокладки из электронита толщиной 1 или 2 мм, которые предохраняют корпусную изоляцию катушки от повреждения при уплотнении катушки на сердечнике. Межвитковая изоляция - бумага асбестовая толщиной 0,3 мм в два слоя. К крайним виткам катушки припаяны меднофосфористым припоем выводные шунты из провода марки ПЩ.

При сборке катушек главных полюсов с сердечниками между катушкой и сердечником устанавливают пружинные рамки из стали 60С2А толщиной 3 мм, а в окно катушки - предохранительный фланец из стали Ст2кп толщиной 1 мм. Между остовом и полюсом устанавливают по одной прокладке из стали толщиной 0,5 мм. В лобовых частях катушек между катушкой и сердечником устанавливают уплотняющие клинья из прессмассы АГ-4В (см. рис. 28).

Добавочные полюса (см. рис. 3) состоят из сердечника, катушки и пружинного предохранительного фланца из стали 60С2А толщиной 1,5 мм, прижимающего катушку к остову. Сердечник полюса шихтованный, собран из штампованных листов электротехнической стали марки 2212 (ГОСТ 21427.2-75) толщиной 0,5 мм, покрытых с обеих сторон изоляционным лаком КФ965 толщиной 0,012-0,014 мм на сторону, и боковин из стали 25Л1 толщиной 24 мм. Длина сердечника 380, ширина 50, высота 105 мм. Сердечник собирают на двух заклепках диаметром 8 мм и стержне размером 30 x 30 мм. В стержне предусмотрены три резьбовых отверстия под болты М20 для крепления сердечника к остову. На сердечник полюса со стороны остова установлены немагнитная (гетинаксовая) прокладка толщиной 7 мм и стальная прокладка толщиной 2,2 мм, которая предохраняет гетинаксовую прокладку от сминания в остове при затяжке полюсных болтов. Обе прокладки закреплены к сердечнику полюса двумя винтами М5 X 16. Со стороны якоря к сердечнику с двух сторон приклепаны угольники из латуни ЛС59-1ЛД, на которые опирается катушка.

Катушки добавочного полюса имеют по 8 витков, намотанных из мягкой медной проволоки размером 12,5x12,5 мм. Корпусная изоляция катушек состоит из пяти слоев микаленты ЛМК-ТТ толщиной 0,13 мм, наложенных с перекрытием в половину ширины ленты. Покровная изоляция - один слой стеклоленты толщиной 0,1 мм, наложенной с перекрытием в половину ширины ленты. По верху и низу пазовой части катушки приклеены прокладки из электронита толщиной 0,5 или 1 мм. Межвитковая изоляция - бумага асбестовая толщиной 0,3 мм в два слоя. Вывод катушек добавочных полюсов для соединения между собой - жесткий из мягкой меди толщиной 8 мм, а для соединения с катушками компенсационной обмотки - гибкий шунт из провода ПШ. Припаяны выводы к крайним виткам катушки меднофосфористым припоем. При сборке катушек с сердечниками между катушкой и сердечником устанавливают предохранительные пружинные фланцы.

Для повышения монолитности изоляции катушки главных и добавочных полюсов после изолирования выпекают в специальных приспособлениях, а для повышения влагостойкости покрывают эмалью ЭП-91.

Компенсационная обмотка состоит из шести отдельных катушек по шесть витков каждая (рис. 7). Располагается она в пазах главных полюсов. Намотаны компенсационные катушки из мягкой медной проволоки размером 4,4X35 мм таким образом, что в каждом пазу главного полюса располагаются по два стержня.

Рисунок 7 - Катушка компенсационная

Корпусная изоляция состоит из четырех слоев слюдинитовой ленты ЛСЭК-5-СПл толщиной 0,1 мм, наложенных с перекрытием в половину ширины ленты, и одного слоя фторопластовой ленты толщиной 0,025 мм, наложенной с перекрытием в 1/3 ширины ленты. Покровная изоляция - один слой стеклоленты толщиной 0,1 мм, наложенной с перекрытием в половину ширины ленты; витковая изоляция - один слой слюдинитовой ленты ЛСЭК-5-СПл толщиной 0,1 мм, наложенной с перекрытием в половину ширины ленты. Выводы катушек - гибкие шунты из провода ПШ. Припаяны шунты к катушкам меднофосфористым припоем. Изолированные катушки до укладки их в пазы полюсов сушке не подвергаются. Сушка изоляции проводится в остове после монтажа катушек в течение 2 ч при токе 900 А и 5 ч при токе 800 А.

Траверса тягового двигателя (рис. 8) стальная. Выполнена в виде разрезного кольца швеллерного сечения. По наружному ободу имеет зубья, входящие в зацепление с зубьями шестерни поворотного механизма. На траверсе закреплены шесть кронштейнов с пальцами и шесть щеткодержателей. В остове она закрепляется фиксатором, установленным против верхнего коллекторного люка, прижата к подшипниковому щиту двумя стопорными устройствами и специальным разжимным устройством.

Рисунок 8 - Траверса

Разжимное устройство, расположенное на траверсе против нижнего коллекторного люка, позволяет обеспечивать размер щели в месте разреза кольца не менее 4 мм в рабочем положении и не более 2 мм, когда требуется осуществлять проворот траверсы для осмотра щеткодержателей и смены щеток.

Разжимное устройство состоит из двух шарниров, закрепленных гайками с шайбами на траверсе, шпильки и пружинного стопора. Один шарнир имеет отверстие с правой резьбой, другой - с левой. В шарниры вкручена шпилька, имеющая шестигранник для вращения ее ключом, и зубчатое колесо для стопорения. При вращении шпильки происходит разжатие или сжатие траверсы. С помощью разжимного устройства траверса крепится в проточке подшипникового щита.

Поворотный механизм траверсы состоит из валика, закрепленного в отверстии на остове, и шестерни, закрепленной на валике. Валик имеет квадратную головку с размером 24x24 мм. Шестерня входит в зацепление с траверсой. При вращении валика специальным ключом-трещоткой шестерня поворачивает траверсу. Проворачивать траверсу допускается только до места, где она имеет разрез.

Для установки траверсы на нейтраль (рис. 9) на траверсе закреплена двумя болтами М12 накладка с пазом для входа фиксатора.

Рисунок 9 - Установка траверсы тягового двигателя на нейтраль

-фиксатор; 2 - накладка; 3-подкладка

При необходимости регулировки положения траверсы на нейтрали накладку можно перемещать по траверсе вдоль двух пазов, имеющихся на накладке.

Кронштейн щеткодержателя разъемный, состоит из корпуса и накладки, которые при помощи болта М16 закреплены на двух изоляционных пальцах, установленных на траверсе. Пальцы представляют собой стальные шпильки, отпрессованные прессмассой АГ-4В. Крепление щеткодержателя к кронштейну осуществляется шпилькой М16 и гайкой с пружинной шайбой. Фиксацию щеткодержателя в осевом направлении относительно петушков коллектора производят запорной шайбой, помещенной на шпильке крепления корпуса щеткодержателя к кронштейну. На сопрягаемых поверхностях кронштейна и щеткодержателя для более надежного их крепления сделана гребенка, которая позволяет выбрать и зафиксировать определенное положение щеткодержателя по высоте относительно рабочей поверхности коллектора при его износе.

Щеткодержатель (рис. 10) состоит из корпуса, имеющего три окна для щеток размером, и трех нажимных пальцев с резиновыми амортизаторами

Рисунок 10 - Щеткодержатель

- корпус щеткодержателя; 2 - щетка; 3 - палец нажимной; 4 - винт регулировочный; 5,7 - оси; 6 - пружина цилиндрическая

Корпус и пальцы отлиты из латуни ЛС59-1ЛД. Усилие нажатия нажимных пальцев на щетки создают три цилиндрические пружины растяжения, закрепленные одним концом к оси, вставленной в отверстие корпуса щеткодержателя, другим-к оси на нажимном пальце с помощью винта, который одновременно служит для регулирования нажатия пружины. Кинематика нажимного механизма выбрана так, что обеспечивает практически постоянное нажатие на щетку по мере ее износа. В окна щеткодержателя вставляются три разрезные щетки марки ЭГ-61 размером (2 х 12,5) х 32 х 57 мм.

Со схемой тягового двигателя траверса соединена двумя верхними кронштейнами при помощи кабелей, изготовленных из двойного провода ППСТ сечением 95 мм2 с одним наконечником на два провода. Соединение кронштейнов между собой выполнено изолированными медными шинами, которые закреплены на траверсе стальными скобами.

Якорь тягового двигателя (см. рис. 2) состоит из сердечника, коллектора и обмотки, уложенной в пазы сердечника.

Сердечник набран на втулку якоря из штампованных листов электротехнической стали марки 2212 (ГОСТ 21427.2-75) толщиной 0,5 мм, которые посажены по прессовой посадке с натягом 0,035-0,135 мм и удерживаются за счет натяга. Наружный диаметр листов равен 660, а внутренний - 315 мм. Каждый лист покрыт с обеих сторон пленкой лака КФ-965 толщиной 0,012-0,014 мм на одну сторону.

Для устранения распушения зубцов крайние листы выполнены из стали Ст2кп толщиной 1 мм и попарно сварены точечной контактной сваркой. При сборке сердечников штампованные листы ориентируют по направляющей шпонке, размеры которой предусматривают лишь обеспечение правильности фиксации отдельных листов с тем, чтобы точно совпадали их пазы и зубцы. Сердечник якоря после запрессовки имеет длину 385 мм и закреплен с одной стороны задней нажимной шайбой, а с другой - корпусом коллектора. В сердечнике имеется 87 пазов открытой формы для размещения обмотки, которые калибруются до размеров по ширине 9,8 мм и глубине 42,1 мм, и 44 аксиальных отверстия диаметром 30 мм для прохода вентилирующего воздуха, которые расположены в два ряда.

Задняя нажимная шайба отлита из стали 25Л1, представляет собой два кольца, соединенные ребрами. Внутреннее кольцо является втулкой для посадки на вал, а наружное - упором для сердечника и обмоткодержателем. Для предохранения головок обмотки якоря с торца от механических повреждений на шайбе имеется защитный фланец. Насаживается нажимная шайба на втулку якоря по прессовой посадке с натягом 0,135-0,22 мм. Перед установкой шайба нагревается индукционным нагревателем до температуры 150-200°С.

Втулка якоря коробчатой конструкции, отлита из стали 25ЛII. По наружному диаметру обработана под посадку задней нажимной шайбы, сердечника якоря и коллектора, по внутреннему - под посадку на вал. На выступающем конце втулки имеется резьба М175хЗ для гайки крепления коллектора.

Передняя нажимная шайба объединена с втулкой коллектора.

Вал якоря выполнен из стали 20ХНЗА и термически обработан. Он имеет плавные переходы от одного диаметра к другому. Концы вала заканчиваются конусами для посадки шестерен, а в торцах имеется внутренняя резьба М60ХЗ для гаек крепления шестерен. На конусных поверхностях вала предусмотрены специальные канавки, предназначенные для съема шестерен гидравлическим способом, и шпоночные канавки для установки муфт при испытаниях двигателей на стенде. На вал напрессовывается без шпонки усилием 686-981 кН (70-100 тс) втулка якоря с натягом 0,13-0,19 мм. Такая конструкция якоря обеспечивает возможность замены вала без полной разборки якоря.

Коллектор (рис. 11) по способу крепления коллекторных пластин выполнен арочного типа. Он состоит из следующих основных деталей:

комплекта коллекторных и изоляционных пластин, комплекта изоляционных деталей для изоляции пластин от корпуса якоря, комплекта крепящих болтов с уплотнительными шайбами, втулки коллектора, на которой производится его сборка, и нажимного конуса, служащего совместно со втулкой коллектора для закрепления коллекторных пластин.


Рисунок 11 - Коллектор:

- конус нажимной; 2 - болт коллекторный; 3 - шайба уплотнительная;

- пластины коллекторные; 5, 8 - манжеты; 6 - цилиндр; 7 - втулка коллектора

Весь коллектор укрепляется на втулке, которая служит для установки коллектора на втулке якоря. На втулку якоря коллектор напрессован усилием 186 - 421 кН (19-43 тс) с натягом 0,055-0,125 мм и последующей допрессовкой коллектора и пакета железа усилием 1108-1215 кН (113-124 тс). Гайку коллектора устанавливают, не снимая усилие допрессовки коллектора и якорных листов. Набран коллектор из 348 медных пластин. Пластины имеют форму ласточкиного хвоста и изолированы друг от друга миканитовыми прокладками. От втулки коллектора и нажимного конуса коллекторные пластины изолированы миканитовыми манжетами и цилиндром.

Кольцо, собранное из медных и миканитовых пластин, насаживают на втулку коллектора и зажимают между конусом и втулкой усилием 1079 кН (110 тс), после этого стягивают 16 болтами с резьбой М20. Момент затяжки коллекторных болтов под прессом 88-98 Н-м (9-10 кгс-м). Для того чтобы равномерно распределить нагрузку на все болты, расположенные по окружности коллектора, их затяжка производится устройством, обеспечивающим приложение одинакового тарированного момента. Под головки болтов проложены специальные уплотнительные шайбы из мягкой отожженной меди толщиной 2 мм. Коллекторные болты изготовлены из стали 35ХГСА. Длина болтов 165 мм.

Коллекторные пластины выполнены из меди с присадкой серебра марки ПКМС размером 3,65x2,17x82 мм и имеют приварные петушки из меди ПКМ размером 4,69x74 мм, которые припаяны к коллекторным пластинам меднофосфористым припоем. В петушках профрезерованы шлицы шириной 1,9 мм для впайки концов катушек якоря. Для уменьшения массы коллекторных пластин в средней части каждой из них выштамповано отверстие диаметром 30 мм.

Межламельные изоляционные прокладки изготовлены из коллекторного миканита КФШ-1 толщиной 1,4 мм. Изоляционные манжеты изготовлены из 30% миканита ФФПА и 70% миканита ФМПА, а цилиндр - из формовочного миканита ФФГА. Толщина манжет 2,4, цилиндра - 1 мм.

Втулка коллектора и нажимной конус отлиты из стали 20ГТЛ-П и термообработаны.

Для обеспечения герметичности коллекторной камеры 6 (см. рис. 11) на коллекторе имеются два уплотнительных замка в и г, которые плотно заполняются уплотнительной замазкой ТГ-18. Окончательно обработанный коллектор имеет диаметр рабочей поверхности 520 мм и длину коллектора до петушков 131 мм. Рабочая длина коллектора равна 121 мм.

При разборке якоря коллектор может быть целиком спрессован с вала.

Обмотка якоря простая петлевая с уравнителями первого рода, расположенными на стороне коллектора под катушками якоря. Состоит из 87 якорных катушек и 58 катушек уравнителей, концы которых впаяны в петушки коллектора припоем ПСР2,5. Подсоединение уравнителей к коллектору выполнено по шагу 1-117 при двух уравнителях на паз. Шаг якорных катушек по пазам 1-15, по коллектору 1-2. Схема соединения катушек якоря и уравнителей с коллекторными пластинами показана на рис. 12.

Рисунок 12 - Схема соединения катушек якоря и уравнителей с коллекторными пластинами тягового двигателя (вид со стороны коллектора)

- катушка якоря; 2 - уравнитель; 3 - коллекторные пластины

Уравнительная обмотка укреплена на якоре стеклобандажом из 50 витков. Обмотка якоря в пазах сердечника закреплена клиньями из текстолита марки Б толщиной 5 мм, а лобовые части обмотки закреплены стеклобандажами. На передней лобовой части обмотки размещено 355, а на задней - 400 витков стеклобандажа из ленты стеклянной бандажной ЛСБ-F толщиной 0,15-0,20 мм.

Каждая катушка якоря имеет четыре элементарные секции, расположенные в пазу плашмя и состоящие из одного медного проводника марки ПЭТВСД размером 3,53x6,9 мм. При входе в петушки коллектора проводники повернуты на 90° и расплющены по толщине до размера 1,8 мм. Корпусная изоляция якорных катушек выполнена из четырех слоев слюдинитовой ленты ЛСЭК-5-СПл толщиной 0,1 мм, наложенных с перекрытием в половину ширины ленты, и одного слоя фторопластовой ленты толщиной 0,025 мм, наложенной с перекрытием в 1/4 ширины ленты. Покровная изоляция - один слой стеклоленты толщиной 0,1 мм, наложенной встык.

Уравнители изготовлены из провода марки ПЭТВСД размером 1,7х Х5,0 мм. Каждая катушка уравнителей имеет три уравнительных соединения и изолируется одним слоем стеклоленты толщиной 0,1 мм, наложенной с перекрытием в половину ширины ленты.

Для повышения влагостойкости изоляции обмотка якоря трижды пропитывается в лаке ФЛ-98, в том числе один раз - вакуум-нагнетательным способом. Наружная поверхность сердечника до петушков покрыта зеленой электроизоляционной эмалью ЭП-91.

Подшипниковые щиты отлиты из стали 25Л1 и предназначены для крепления якорных подшипников.

Рисунок 13 - Подшипниковые узлы тягового двигателя со стороны коллектора (а) и против коллектора (б)

Оба якорных подшипника тягового двигателя являются подшипниками средней серии типа 80-42330Л1М с радиальными цилиндрическими роликами. Подшипниковые камеры заполняют смазкой (не более чем на 2/3 их объема). Добавляют смазку через трубки, ввернутые в отверстия, сообщающиеся с подшипниковыми камерами. Внутренние кольца подшипников посажены на вал двигателя горячей посадкой с натягом 0,035-0,065 мм и удерживаются за счет натяга. Нагрев колец перед посадкой производится в масляной ванне. В осевом направлении внутренние кольца подшипников точно зафиксированы на валу втулками 1, 7 и кольцом 5 (рис. 13). Наружные кольца запрессовываются в гнезда в подшипниковых щитах и закреплены в аксиальном направлении крышкой 4 подшипника. Крышка подшипника отлита из стали 25Л1 и крепится к щитам шестью болтами с резьбой М16. Под головки болтов установлены специальные плоские шайбы, предохраняющие болты от самоотвинчивания. Крышка подшипника наряду с закреплением наружного кольца подшипника служит для того, чтобы закрыть его гнездо от проникновения в камеры подшипников жидкой смазки из кожухов зубчатой передачи.

В конструкцию подшипниковых щитов входят уплотняющие устройства роликоподшипников (см. рис. 13), защищающие их от внешней среды и утечек смазки из подшипниковых камер.

С внутренней стороны двигателя подшипники имеют комбинированные лабиринтно-канавочные уплотнения, которые через дренажные отверстия К сообщаются с атмосферой, что способствует выравниванию давления в подшипниковых камерах до уровня атмосферного и тем самым исключает выдавливание смазки разностью давлений, возникающей в работающей машине при продувке через нее вентилирующего воздуха. Многоходовой извилистый зазор образуется со стороны коллектора подшипниковым щитом 2 и втулкой 1, а со стороны против коллектора - крышкой 8, втулкой 7 и подшипниковым щитом 9. С наружной стороны подшипники имеют также комбинированные лабиринтно-канавочные уплотнения, образуемые кольцами 3, 5 и крышкой 4.

При работе двигателя отработанная смазка попадает в камеру В и выбрасывается через отверстие Б в крышке 4 в специальную камеру Г с крышкой 6, которую необходимо периодически во время добавления смазки в подшипники снимать и очищать камеру и крышку от скопившейся в них отработанной смазки. Смазка, проникшая в подшипниковые узлы из кожуха зубчатой передачи, удаляется обратно в кожух зубчатой передачи через специальные отверстия А в крышке 4, а та ее часть, которая попала в камеру В, выбрасывается через отверстие Б в камеру Г.

Моторно-осевые подшипники (рис. 14) состоят из вкладышей 5, 6 и букс 3 с постоянным уровнем смазки, контролируемым по указателю 2.


Рисунок 14 - Моторно-осевой подшипник с постоянным уровнем смазки

Каждая букса соединена с остовом специальным замком и закреплена четырьмя болтами с резьбой М36 из стали 45. Для облегчения завинчивания болты имеют четырехгранные гайки, упирающиеся в специальные упоры на остове. Растачивание горловин под моторно-осевые подшипники производят одновременно с растачиванием горловин под подшипниковые щиты. Поэтому буксы моторно-осевых подшипников не являются взаимозаменяемыми деталями. Букса отлита из стали 25Л1 и имеет довольно сложную конфигурацию, вызванную необходимостью размещения в ней смазочных устройств. В буксах размещаются вкладыши моторно-осевых подшипников. Каждый вкладыш состоит из двух половин, в одной из которых, обращенной к буксе, сделано окно для подачи смазки. Вкладыши имеют бурты, фиксирующие их положение в осевом направлении. От проворачивания вкладыши предохраняют шпонки 4. Для предохранения моторно-осевых подшипников от попадания в них пыли и влаги ось между буксами закрыта специальной крышкой. Вкладыши отлиты из латуни ЛКС80-3-3. Внутренняя их поверхность залита баббитом Б16 толщиной 3 мм и расточена в двигателе по диаметру 205,45+0,09 мм. После расточки вкладыши подгоняют по шейкам оси колесной пары. Для обеспечения возможности регулировки натяга посадки вкладышей в моторно-осевых подшипниках между буксами и остовом установлены на болты крепления букс стальные прокладки 10 толщиной 0,35 мм, которые по мере износа наружного диаметра вкладышей снимаются.

Устройство, применяемое для смазки моторно-осевых подшипников, поддерживает в них постоянный уровень смазки. В буксе 3 имеются две сообщающиеся камеры 1 и 7. В масло камеры 1 погружена пряжа. Камера 7, заполненная маслом, нормально не имеет сообщения с атмосферой.

По мере расходования смазки уровень ее в камере 1 понижается. Когда он станет ниже отверстия трубки 8, воздух поступает через эту трубку в верхнюю часть камеры 7, перегоняя из нее масло через отверстие д в камеру 1. В результате уровень масла в камере 1 повысится, закроет нижний конец трубки 8. После этого камера 7 опять будет разобщена с атмосферой и перетекание масла из нее в камеру 1 прекратится. Таким образом, пока в запасной камере 7 есть масло, уровень его в камере 1 не будет понижаться. Для надежной работы этого устройства необходимо обеспечить герметичность камеры 7. Буксу оправляют маслом по трубке 9 под давлением при помощи специально шланга с наконечником.

Кожух зубчатой передачи предназначен для защиты зубчатой передачи от внешней среды и создания масляной ванны для смазки зубчатой передачи.

Кожуха зубчатой передачи могут быть выполнены стальными или стеклопластовыми (рис. 15). Стеклопластовые кожуха изготавливают стеклоткани, пропитанной полиэфирной смолой. Стальные кожуха сделаны из листовой стали.

Рисунок 15 - Кожух зубчатой передачи стеклопластовый (а) и металлический (б): 1 - верхняя половина- 2 - нижняя половина; 3 - масленка; 4, 8 - бобышки; 5 - указатель уровня масла; 6 - кронштейн; 7 - колпачок (сапун)

Состоят кожуха из двух половин: верхней 1 и нижней 2, которые обрабатываются совместно и раскомплектованию не подлежат. По горловинам и по разъемам кожухов установлены уплотнительные прокладки. К остову тягового двигателя стальные кожуха крепятся тремя болтами М30 из стали 45, а стеклопластовые - тремя болтами М30 из стали 10.

Половины стеклопластовых кожухов стянуты между собой шестью болтами М12 и шестью болтами М16, стальных-двумя болтами М30 по торцам и тремя болтами Ml6 по сторонам больших горловин. На верхних половинах кожухов имеется сапун, служащий для выравнивания давления внутри кожуха с атмосферным. На нижних половинах кожухов установлены масленки для заливки масла в кожух. Контроль масла в стеклопластовых кожухах производится специальным указателем через масленку. Указатель уровня масла хранится в ЗИП электровоза.

Уровень масла в стальных кожухах контролируется через специальную масломерную трубку. Трубка закрывается гайкой, в которую вмонтирован указатель уровня масла. На указателе имеются риски наибольшего и наименьшего уровней масла. При измерении уровня масла гайку указателя 5 уровня масла заворачивать до упора.

2. Технология ремонта тяговых двигателей

.1 Система технического обслуживания и ремонта электровозов

двигатель подшипниковый электровоз

Для поддержания электровозов в работоспособном состоянии и обеспечения надежной и безопасной их эксплуатации существует система технического обслуживания и ремонта электроподвижного состава. Она введена приказом МПС России от 30 декабря 1999 г. N ЦТ-725 и положением №3 р от 17.01.2005 г.

Предусматривается проведение следующих видов технического обслуживания и текущего ремонта электровозов постоянного тока серий ВЛ:

технические обслуживания ТО-1, ТО-2, ТО-3 для предупреждения появления неисправностей, поддержания электровозов в работоспособном и надлежащем санитарно-гигиеническом состоянии, обеспечения бесперебойной, безаварийной работы и пожарной безопасности. Техническое обслуживание ТО-3 может быть упразднено начальником железной дороги по согласованию с Департаментом локомотивного хозяйства МПС России;

техническое обслуживание ТО-4 для обточки бандажей колесных пар без выкатки их из-под электровоза при достижении оптимальных для данного участка эксплуатации или предельных величин проката и толщины гребней бандажей;

техническое обслуживание ТО-5, выполняемое:

в процессе подготовки электровоза для постановки в запас МПС России и длительного содержания в резерве железной дороги - ТО-5а;

в процессе подготовки электровоза к отправке в недействующем состоянии в капитальный ремонт на заводы или в другие депо, в текущий ремонт в другие депо, передачи на баланс другим депо или передислокации-ТО-5б;

в процессе подготовки электровоза к эксплуатации после постройки, ремонта на заводах или в других депо, после передислокации-ТО-5в;

в процессе подготовки электровоза к эксплуатации перед выдачей из запаса МПС России или РУД-ТО-5г;

текущие ремонты ТР-1, ТР-2 и ТР-3 для поддержания работоспособности электровозов, восстановления основных эксплуатационных характеристик и обеспечения их стабильности в межремонтный период путем ревизии, ремонта, регулировки, испытаний и замены деталей, узлов, агрегатов.

капитальные ремонты (КР-1 и КР-2) являются главным средством «оздоровления» электровозов и предусматривают восстановление несущих конструкций кузова, сложный ремонт рам тележек, колесных пар и редукторов, тяговых двигателей и вспомогательных машин, электрических аппаратов, кабелей и проводов, восстановление чертежных размеров деталей и т.д. Капитальные ремонты электровозов осуществляют на ремонтных заводах.

Ремонтный цикл включает последовательно повторяемые виды технического обслуживания и ремонта. Порядок их чередования определяется структурой ремонтного цикла.

Периодичность ремонта магистральных электровозов, т.е. пробеги между техническими обслуживаниями и ремонтами, а также нормы простоя электровозов при этом устанавливаются начальниками дорог с учетом конкретных эксплуатационных условий на основе нормативов приказа МПС (рис. 16)

Рисунок 16 - Нормативы межремонтных пробегов в км

Нормы продолжительности технических обслуживаний ТО-4, ТО-5, текущих ремонтов ТР-1, ТР-2 и ТР-3 устанавливаются начальником железной дороги, исходя из технической оснащенности депо, рационального использования ремонтной базы, равномерной загрузки участков по ремонту, обеспечения высокого качества ремонта, проведения испытания и приемки электровозов после ремонта, а также с учетом выполнения установленной нормы деповского процента неисправных электровозов.

2.2 Условия работы тяговых двигателей

Условия, в которых работают тяговые двигатели весьма тяжелые. В отличие от стационарно устанавливаемых машин они подвержены воздействиям окружающей среды, динамическим ударам со стороны рельсового пути и работают в условиях широко, а иногда и резко изменяющихся значений тока, напряжения.

Несмотря на принимаемые меры, из окружающей среды в машины попадают влага и пыль. Влага проникает в поры изоляции обмоток машин, что приводит к снижению ее электрической прочности, создает условия для возникновения электрического или теплового ее пробоя, приводит к ускоренному ее старению. В сочетании с низкими температурами влага способствует появлению инея и обледенению коллектора и щеточного аппарата, что приводит к повышенному искрению под щетками. Повышенное искрение возникает и от загрязнения коллектора и щеточного аппарата пылью, попадающей в машину через неплотности люков и с охлаждающим воздухом.

Температура окружающей среды может доходить до -40°С зимой и до + 50°С летом. Высокая температура ухудшает охлаждение электрических машин, способствует их чрезмерному нагреву, а низкая вызывает загустевание смазки в подшипниках, отпотевание машин при установке э. п. с. в депо.

При прохождении неровностей пути колесные пары э. п. с. воспринимают значительные динамические силы (особенно при высоких скоростях движения). Эти удары, частично сглаженные системой рессорной подвески, передаются тяговым двигателям. Наиболее чувствительны они для тяговых двигателей с опорно-осевым подвешиванием, почти половина массы которых не подрессорена.

От действия динамических сил в элементах машин могут возникать трещины, изломы, повышенная выработка трущихся поверхностей, усиливаться искрение на коллекторе, слабнуть узлы соединений.

Напряжение в контактном проводе, а следовательно, напряжение, подводимое к тяговым двигателям (и другим электрическим машинам), могут отличаться от номинального значения на 10-12%. В отдельных случаях (например, при рекуперативном торможении) напряжением на зажимах тяговых двигателей может доходить до 1,25 Uном. Заметно повышается напряжение на тяговых двигателях, связанных с боксующими колесными парами. При отрыве токоприемника от контактного провода происходит резкое снижение напряжения на тяговых двигателях, а при грозовых разрядах - его резкое повышение.

Всякое отклонение напряжения от номинального значения ухудшает работу тягового двигателя и снижает его тяговые свойства. Но особенно опасно повышенное напряжение, которое может вызвать потенциальное искрение на коллекторе и образование кругового огня, пробой изоляции обмоток, проводов, изоляции кронштейнов щеткодержателей, выводных кабелей.

При трогании или движении по затяжному подъему тяжеловесных составов или при движении с неполным числом работающих на локомотиве тяговых двигателей токи в них могут значительно превысить их допускаемые значения. Такие даже кратковременные перегрузки могут вызвать повышенное искрение под щетками, нарушить коммутацию, а при определенных условиях привести к образованию кругового огня на коллекторе.

Круговой огонь может возникнуть также и в результате быстрого нарастания тока при переходных процессах, протекающих в тяговых двигателях. Наиболее опасны переходные режимы, возникающие в результате образования кругового огня на соседнем параллельно включенном двигателе или при пробое плеча выпрямительной установки.

При боксовании колесной пары частота вращения якоря тягового двигателя резко возрастает. При этом возникают большие центробежные силы, которые могут вызвать повреждение валов якорей тяговых двигателей, ослабление или повреждение якорных бандажей. Кроме того, при повышенной частоте вращения якоря заметно усиливается искрение под щетками, ухудшается коммутация машины и создаются условия для возможного возникновения кругового огня на коллекторе. В момент восстановления сцепления боксующей колесной пары частота ее вращения (а, следовательно, и связанного с ней якоря двигателя) мгновенно уменьшается. При этом запас кинетической энергии вращающегося якоря превращается в удар, передающийся на зубчатую передачу, вал якоря, подшипники и другие элементы двигателя, вызывая их повышенный износ, а иногда и поломку.

2.3 Снятие двигателей, очистка и дефектировка

Перед снятием колесно-моторного блока с тележки электровоза слейте масло из букс моторно-осевых подшипников и кожухов зубчатой передачи. Снимите колесно-моторный блок и разберите его. На привалочных поверхностях букс поставьте клеймо-номер, относящийся к соответствующему двигателю. При демонтаже кожухов зубчатой передачи предварительно снимите крышки камер для сбора отработанной смазки. Снимите шестерни с концов вала двигателя.

Рисунок 17 - Схема подвода масла при съеме шестерни с вала тягового двигателя

Чтобы снять шестерню 4 (рис. 17) на валу 5, снимите стопорящую гайку и установите вместо нее специальную гайку 2 и прокладку 3; подсоедините трубку 1 гидронасоса и создайте давление. После того как шестерня сдвинется с места, снимите ее, открутив предварительно специальную гайку 2. Съем шестерни без специальной гайки запрещен.

Затем снимают шапки моторно-осевых подшипников, вынимают вкладыши подшипников и подбивку, удаляют смоченной в бензине ветошью остатки масла с внутренних поверхностей горловины и шапок и устанавливают шапки на их прежние места, (но без вкладышей и подбивки).

Снятые с э. п. с. тяговые двигатели обычно сильно загрязнены (при очистке из двигателя удаляют до 15-20 кг различных отходов, в том числе около 10-12 кг консистентной смазки и масла из моторно-якорных и моторно-осевых подшипников). Такое загрязнение затрудняет выявление дефектов при осмотре и приводит к снижению качества последующего ремонта.

Очистку тягового двигателя выполняют перед установкой его на первую позицию поточной линии разборки.

Предварительно двигатель очищают снаружи вручную с помощью скребков и ветоши. Для окончательной очистки двигатель обмывают в специальных моечных (одно- или двухкамерных) машинах.

Рисунок 18 - Двухкамерная моечная машина для наружной обмывки и сушки тяговых двигателей перед разборкой

Двухкамерная моечная машина (рис. 18) состоит из двух герметически закрывающихся камер. В камере I двигатель обмывают горячей (80 - 90°С) водой 9, которую насосом 1 подают во вращающееся от привода 5 душевое устройство 2. Чтобы внутрь двигателя не попала влага, все вентиляционные и другие отверстия в остове тщательно закрывают специальными заглушками и крышками, а на место крышки верхнего коллекторного люка прикрепляют специальный патрубок 3, через который в двигатель подают от вентилятора 4 воздух, создавая внутри него избыточное давление. После обмывки поднимают промежуточную дверь 8 и перемещают двигатель на самоходной тележке в камеру II, где при закрытой двери 7 в течение 15-20 мин сушат его потоком нагретого от калорифера 6 воздуха.

Частота вращения душевого и сушильного устройств 2 об/мин. Обе камеры могут работать одновременно.

Очищенную машину тщательно осматривают. Осмотр по выявлению внешних дефектов осуществляют визуально. Одновременно сверяют номера остова, подшипниковых щитов и шапок моторно-осевых подшипников.

Затем измеряют электрические параметры машины, определяют осевой разбег якоря, биение и износ коллектора, радиальные зазоры якорных подшипников и биение наружных колец.

Сопротивление изоляции тяговых двигателей измеряют мегаомметром на 2,5 кВ. При измерении сопротивления изоляции соединяют начало (или конец) цепи главных полюсов с началом (или концом) другой цепи - добавочных полюсов и якорной обмотки. К этим выводам подсоединяют зажим «Л» мегаомметра. Второй его зажим «3» соединяют с корпусом машины. В процессе измерения необходимо следить, чтобы выводные концы контролируемых обмоток не касались пола или корпуса двигателя, в противном случае показания прибора будут неправильными. У исправных тяговых двигателей сопротивление изоляции должно быть не менее 5 МОм. Если оно окажется меньше, следует измерить сопротивление отдельных цепей (главных и добавочных полюсов, обмоток якоря) и выявить поврежденное место, имея в виду, что снижение сопротивления могло быть вызвано увлажнением или неисправностью кронштейнов, межкатушечных соединений.

Сопротивление изоляции измеряют до обмывки двигателя.

Активное сопротивление обмоток электрических машин измеряют обычно мостом МД6 (или УМ13) и сравнивают с установленным для машины данного типа значением. Увеличение активного сопротивления может быть вызвано дефектами в полюсных катушках, выплавлением кабелей в патронах или наконечниках, обрывом жил выводных кабелей или межкатушечных соединений и нарушением контакта в этих соединениях.

Для выявления причины увеличения сопротивления подозреваемую обмотку машины подключают к статическому преобразователю и устанавливают в ней ток, равный удвоенному значению ее тока часового режима. Дефектное место выявляют на ощупь по повышенному нагреву.

Затем при вращении двигателя под напряжением 220-400 В без нагрузки проверяют работу якорных подшипников, вибрацию двигателя, биение коллектора и работу щеточного аппарата.

Якорные подшипники проверяют по их нагреву и на слух при вращении якоря двигателя с частотой около 700-750 об/мин в течение 5-10 мин в каждую сторону. Исправный подшипник должен работать без треска, щелчков, заеданий и в режиме холостого хода машины не перегреваться относительно температуры окружающей среды более чем на 10°С.

Вибрацию двигателя проверяют также при его работе на холостом ходу при частоте вращения 700 об/мин. Измеряют вибрацию ручным вибрографом ВР-1. Место приложения вибрографа к корпусу двигателя может быть любым. Если вибрация двигателя окажется более 0,15 мм, якорь необходимо балансировать.

Биение коллектора измеряют индикатором 1 (рис. 19), который подводят к коллектору 4 через коллекторный люк и закрепляют струбциной 2 на кромке остова 3. Биение замеряют по средней части рабочей длины коллектора и на расстоянии 10-20 мм от его наружного среза. Если оно превысит предельно допустимое значение, то коллектор подлежит обточке.

Рисунок 19 - Измерение биения коллектора индикатором

Выработку (износ) рабочей части коллектора можно измерить шаблоном или щупом и линейкой.

Коммутацию машины оценивают по степени искрения под щетками. Если при визуальной оценке искрение под щетками окажется более 1 1/2 балла, а у щеточно-коллекторного узла дефектов выявлено не будет, то необходима тщательная проверка магнитной системы машины, ее отдельных узлов и настройка коммутации.

Радиальные зазоры якорных подшипников проверяют пластинчатыми щупами на неподвижной машине. Для этого снимают наружные крышки и лабиринтные кольца подшипников щитов и проверяют щупом зазор между роликом и внутренним кольцом подшипника в его нижней части. Для тяговых двигателей он должен находиться в пределах 0,09-0,22 мм.

Осевой разбег якоря измеряют индикатором. Для этого якорь сдвигают до упора в одну сторону, а с противоположной стороны закрепляют на специальной стойке индикатор и прижимают его к торцу вала якоря так, чтобы стрелка головки стояла на нуле. Затем якорь перемещают до упора в другое крайнее положение. Отклонение стрелки индикатора укажет осевой разбег. У тяговых двигателей с косозубой передачами он должен быть не более 5,9-8,4 мм.

Воздушные зазоры между сердечниками полюсов и якорем машины проверяют щупами.

Результаты осмотра электрических машин и проведенных измерений вносят в специальный журнал для использования в дальнейшем при определении необходимого объема их ремонта.

2.4 Разборка тягового двигателя

До разборки тягового двигателя проверяют соответствие номеров подшипниковых щитов с номером остова, помещенным на торцах расточки под вкладыши. Номер подшипникового щита указан на привалочной поверхности бобышки крепления кожуха зубчатой передачи к щиту.

С двигателя снимают крышки коллекторных люков, вентиляционные сетки, отсоединяют от кронштейнов щеткодержателей подводящие кабели, снимают уплотнительные лабиринтные, кольца, крышки подшипниковых щитов и вынимают щетки из щеткодержателей. Лабиринтные кольца снимают в горячем состоянии электромагнитным съемником. После снятия лабиринтных колец крышки подшипниковых щитов устанавливают на свои места. Вывертывают ключом-трещоткой болт фиксатора траверсы щеткодержателей, развертывают фиксатор на 180°, ослабляют на три-четыре оборота затяжку болтов стопорного устройства и через нижний смотровой люк сжимают траверсу, оставляя в месте разреза щель не более 2 мм.

Пневматическим гайковертом отворачивают болты крепления подшипникового щита со стороны, противоположной коллектору, выпрессовывают с помощью гидравлического пресса подшипниковый щит и транспортируют его к прессу для выпрессовки якорных подшипников или устанавливают в специальную транспортировочную кассету. При выпрессовке щитов нельзя допускать их перекос в горловине остова, так как это может привести к повреждению посадочных поверхностей.

На вал якоря навертывают рым (или ввертывают, если вал имеет под рым внутреннюю резьбу), цепляют за него крюком крана, плавно и строго вертикально, чтобы не повредить коллектор и подшипник, вынимают якорь из остова и транспортируют на накопитель поточной линии ремонта якорей.

Лабиринтные и упорные втулки, а также внутренние кольца якорных подшипников оставляют на валу якоря и спрессовывают с него только при необходимости их ремонта или замены.

Затем остов двигателя кантуют на 180°, выпрессовывают второй подшипниковый щит, снимают щеткодержатели и кронштейны или с помощью специального захвата и крана извлекают из остова траверсу вместе с щеткодержателями.

2.5 Ремонт остова

Очистите остов и продуйте его сухим сжатым воздухом. Произведите его осмотр на наличие трещин. Обнаруженные дефекты устраните. Зачистите от забоин и заусенцев привалочные поверхности остова. Вентиляционные сетки, крышки коллекторных люков при наличии неисправностей и повреждений отремонтируйте или замените. Крышки коллекторных люков должны плотно прилегать к остову, легко сниматься и устанавливаться. Прокладки уплотнения надёжно закрепите на крышках. Запоры проверьте на плотное закрытие крышек и при необходимости исправьте. Осмотрите устройства для фиксации, прижима и проворота траверсы. Обнаруженные дефекты устраните. Смажьте отверстия под болты фиксатора, прижимов, и валик шестерни проворота траверсы смазкой ВНИИНП-232. Снимите стеклопластовую крышку коробки выводов, выньте резиновые клицы, осмотрите коробку выводов, очистите ее от пыли и грязи. В случае перебросов по пальцам тщательно зачистите поврежденный участок мелкозернистой шлифовальной бумагой и покройте красной электроизоляционной эмалью ГФ-92-ХС не менее двух раз. При необходимости демонтажа изоляционных пальцев пользуйтесь специальным ключом. Проверьте состояние резиновых втулок и надежность их посадки на кабелях и в отверстиях крышки остова. Поврежденные и слабо сидящие замените. Проверьте состояние и крепление кабелей в коробке выводов и устраните обнаруженные дефекты.

Осмотрите главные и добавочные полюсы, компенсационную обмотку. Убедитесь в надежности крепления, отсутствии повреждений изоляции, соответствии омического сопротивления обмоток нормам, прочности посадки катушек главных и добавочных полюсов на сердечниках, надежности установки уплотняющих клиньев между сердечником полюса и лобовой частью катушек главных полюсов. Простукиванием проверьте плотность посадки клиньев катушек компенсационной обмотки в пазах полюсов. Проверьте полюсную систему на отсутствие межвитковых замыканий в катушках. Катушки с поврежденной изоляцией, а также имеющие признаки ослабления посадки на сердечниках и в пазах полюсов отремонтируйте со снятием с остова. Прочность посадки катушек главных и добавочных полюсов на сердечниках при затянутых болтах проверьте по видимым следам смещения (натертость, зашлифованность на пружинных рамках, фланцах, полюсных наконечниках, поверхности катушек и т.д.). Пружинные рамки и фланцы с трещинами замените исправными. Установка сердечников с поврежденной резьбой не допускается. Проверьте затяжку полюсных болтов ключом и простукиванием молотком. Полюсные болты с дефектами (сорванная резьба, с изношенными или забитыми гранями головок, с трещинами и т.д.) замените, ослабшие выверните и проверьте. Пружинные шайбы при смене болтов проверьте и негодные замените. Подтяжку полюсных болтов производите при подогретых до температуры 180-190°С катушках. Головки полюсных болтов, где это предусмотрено чертежом, залейте компаундной массой. Проверьте расстановку полюсов в остове по окружности; замерьте расстояние между полюсами по диаметру. Указанные размеры должны соответствовать нормам. Проверьте состояние выводов катушек главных и добавочных полюсов, а также компенсационной обмотки (изоляцию, отсутствие трещин и других дефектов). Поврежденную изоляцию выводных кабелей и межкатушечных соединений восстановите. Изолированная часть должна быть плотной и не иметь признаков сползания. Межкатушечные соединения и выводные кабели внутри остова прочно закрепите скобами с установкой под скобы изоляционных прокладок. Контактные соединения в цепи полюсов должны иметь прочное соединение и надежный контакт.

Сушку изоляции катушек полюсов производите в остове без их снятия. После сушки нагретые катушки (не ниже 60°С) и межкатушечные соединения окрасьте эмалью ГФ-92-ХС. Замерьте сопротивление изоляции катушек. Допустимое значение сопротивления изоляции указано в документации.

Для демонтажа катушек компенсационной обмотки, выполненных в остове, разъедините (распаяйте) их межкатушечные соединения. С помощью струбцин и кабеля подсоедините их к источнику постоянного тока. Включите источник тока и установите ток 600-700 А. При указанном значении тока грейте катушки в течение 20-30 мин. Отключите источник тока и простучите молотком все клинья, крепящие катушки. Уложите на лобовые части катушек со стороны коллектора листы картона толщиной не менее 0,5 мм и выбейте клинья из всех пазов с помощью специального зубила с бородкой. Удалите прокладки, уплотнявшие клинья в пазах. Надрежьте покровную изоляцию (стеклоленту) катушки по всей длине паза и по периметру витка у выхода из паза с обеих сторон. Выньте катушки из пазов полюса с помощью приспособления или рычагов, установив между катушкой и рычагом резиновые прокладки. При извлечении катушек из пазов примите меры, исключающие повреждение корпусной изоляции катушек. Очистите пазы полюсов от покровной и пазовой изоляции, наплывов компаунда и продуйте сухим сжатым воздухом. Демонтированные катушки испытайте переменным напряжением в соответствии с правилами ремонта. На катушках, выдержавших испытательное напряжение, восстановите покровную изоляцию. Поврежденные катушки замените новыми.

При пробое корпусной изоляции катушки, произведите ее срез от места пробоя на 50-60 мм в обе стороны, на месте пробоя снимите изоляцию до меди на участке длиной 20 мм. Срез изоляции выполняйте с уклоном в сторону места пробоя. Место среза изоляции промажьте компаундом и наложите необходимое число слоев корпусной изоляции согласно чертежу с промазкой каждого слоя компаундом. На прямолинейной части катушек наложите один слой фторопластовой пленки, а затем слой стеклоленты.

Если необходимо снять катушки главных полюсов, то предварительно выньте из пазов все катушки компенсационной обмотки. Далее разборку полюсов и катушек ведите обычным способом.

Смену катушек добавочных полюсов производите без демонтажа катушек компенсационной обмотки. Для этого отсоедините (распаяйте) выводы катушек добавочного полюса и выньте сердечник полюса вместе с катушкой в окно компенсационной катушки.

Монтаж остова проводите в следующем порядке. Уложите катушки главных и добавочных полюсов на специальный стеллаж и с помощью струбцин и кабеля подсоедините катушки к источнику постоянного тока. Включите источник тока и установите ток 900 А. При указанном токе грейте катушки в течение 15-20 мин. Отключите источник тока и установите главные и добавочные полюсы с катушками в остов. Выставьте полюсы в остове по размерам согласно чертежу. Клинья, уплотняющие катушки главных полюсов на сердечниках, установите плотно между сердечниками полюсов и лобовыми частями катушек. Испытайте изоляцию катушек относительно корпуса и между витками. Перед укладкой катушек компенсационной обмотки проверьте пазы полюсов на отсутствие заусенцев, наплывов компаунда и при наличии устраните их. Пазы полюсов продуйте сжатым воздухом. Промажьте компаундом К-ПО или ЭК-5 пазы и пазовую часть компенсационных катушек. Установите угловую и пазовую изоляцию, выставьте катушки по всем пазам с симметричным расположением лобовых частей относительно сердечников главных полюсов и уложите их в пазы равномерно по всей длине витков легким постукиванием обрезиненной рукояткой молотка. Стержни катушек осадите с помощью текстолитовой подбойки и молотка. Под клинья проложите прокладки в количестве, необходимом для плотной посадки клиньев в пазах полюсов. Промажьте прокладки компаундом и расклиньте пазы. После монтажа изоляцию компенсационных катушек испытайте согласно правилам ремонта. Подсоедините катушки к источнику постоянного тока и просушите. Катушки после ремонта сушите в остове при токе 600-700 А в течение 5 ч или не менее 3 ч при температуре 150°С в сушильной печи. Смонтируйте межкатушечные соединения полюсной системы в соответствии с требованиями чертежей и правил ремонта. Полностью собранный остов испытайте в соответствии с требованиями технической документации.

2.6 Ремонт подшипниковых щитов

Снимите крышки и кольца. Выпрессуйте подшипники. При необходимости выпрессуйте крышку из подшипникового щита со стороны против коллектора. Выпрессовка подшипника из подшипникового шита может производиться различными способами и на различных приспособлениях, приемлемых для депо, но в любом случае распрессовочное усилие должно быть сосредоточено на торцовую поверхность наружного кольца, а не на сепаратор или ролики. При выпрессовке подшипника вниз падение выпрессованного подшипника должно осуществляться на прокладку или настил из мягкого неметаллического материала для исключения возможности забоин на наружной обойме подшипника.

Промойте подшипники в бензине и тщательно осмотрите их. Обратите особое внимание на качество клепки и износ сепаратора. Если радиальная игра подшипника находится в допустимых пределах, а состояние беговых дорожек, роликов и качество клепки сепаратора хорошее, соберите и смажьте подшипниковые узлы после полной просушки подшипников. Подшипниковые кольца снимайте лишь при повреждениях подшипников или вала. Номера внутренних и наружных колец подшипников при сборке должны совпадать.

Если обнаружены трещины деталей, на беговых дорожках или роликах появились раковины, задиры или шелушение, радиальные зазоры подшипника превышают установленные нормы, замените подшипник. Новые подшипники вплоть до момента их установки не рекомендуется вынимать из ящика. Антикоррозийное покрытие, нанесенное на поверхность новых подшипников, перед сборкой удалите; подшипник тщательно промойте бензином, протрите чистой салфеткой и просушите, ролики и сепаратор перед сборкой покройте смазкой. Подшипниковые щиты и особенно маслопроводящие трубки и дренажные отверстия тщательно промойте и продуйте сжатым воздухом. Посадочную поверхность подшипниковых щитов осмотрите на отсутствие трещин. Проверьте все резьбовые отверстия подшипниковых щитов. При необходимости резьбу восстановите. Перед сборкой маслопроводящие трубки заполните смазкой. В процессе сборки следите, чтобы ни в смазке, ни в подшипниковых камерах не оказалось металлической пыли.

Сборку подшипниковых щитов выполняйте в следующем порядке. В подшипниковый щит со стороны против коллектора запрессуйте крышку, если она была выпрессована. Запрессуйте наружные кольца подшипников с комплектом роликов. Установите кольца и крышки. Заполните подшипниковые камеры смазкой, указанной в чертеже, на 2/3 свободного объема. Уплотняющие поверхности на деталях промажьте смазкой.

2.7 Ремонт щеточного аппарата

Снятую траверсу продуйте сжатым воздухом, протрите салфеткой и установите на специальное приспособление. Снимите щеткодержатели, кронштейны, шинный монтаж, корпус траверсы промойте керосином, просушите и восстановите антикоррозийное покрытие красной эмалью ГФ-92-ХС.

Щеткодержатели разберите, очистите их от пыли и копоти. Проверьте состояние нажимных пальцев, резиновых амортизаторов, пружин, корпуса, окон щеткодержателя, резьбовых отверстий и отверстий под оси. Устраните обнаруженные дефекты. Соберите щеткодержатели. Смажьте все трущиеся поверхности смазкой ВНИИНП-232. Проверьте усилие нажатия на каждый элемент щетки и перемещение пальцев при нормально натянутых пружинах. Допустимое нажатие пальцев на щетки указано в документации. Пружины, потерявшие жесткость, замените.

Осмотрите кронштейны щеткодержателей, изоляционные пальцы, шинный монтаж, разжимное устройство и устраните обнаруженные дефекты.

Соберите траверсу. Для обеспечения равномерного расположения щеткодержателей по окружности коллектора сборку траверсы с кронштейнами и щеткодержателями необходимо вести на специальном приспособлении. Установите щетки в гнезда щеткодержателей. Щетки должны быть без трещин и сколов, входить в окна щеткодержателей свободно, без заеданий. Зазоры между щетками и стенками гнезд должны быть в пределах норм. Установите траверсу на специальное приспособление и произведите притирку щеток. Отремонтированную траверсу испытайте на пробой изоляции относительно корпуса.

2.8 Ремонт якоря

Ремонт якоря производите в следующем порядке. Установите якорь концами вала на специальные подставки, затем, вращая его, очистите вентиляционные каналы проволочным ершиком. После этого тщательно продуйте каналы сжатым воздухом. Медленно вращая якорь, очистите его от пыли, грязи и смазки. Осмотрите бандажи, испытайте на межвитковые замыкания, замерьте сопротивление изоляции обмоток якоря относительно корпуса. Простукиванием проверьте плотность посадки пазовых клиньев. Если клинья в пазу ослабли на длине, большей 1/3 длины паза, замените их.

Проверьте простукиванием затяжку коллекторных болтов. Подтяните ослабшие болты специальным ключом-трещоткой, предварительно нагрев якорь до температуры 160-170°С. Для подтяжки коллекторных болтов якорь поставьте на специальную подставку коллектором вверх. Болты подтягивайте постепенно, с поочередным подвертыванием не более чем на пол-оборота диаметрально противоположных болтов.

Визуальным осмотром проверьте качество пайки обмоток якоря к петушкам коллектора. Обнаруженные дефекты устраните. Просушите якорь. Проведите обточку коллектора в собственных подшипниках, снимите фаски с продольных ребер коллекторных пластин, а концы пластин разделайте специальным ножом. При необходимости произведите продорожку коллектора. Удалите остатки миканита у боков коллекторных пластин и вручную продорожником прочистите межламельное пространство. Прошлифуйте коллектор, обдуйте сжатым воздухом, испытайте якорь на межвитковое замыкание, а также замерьте сопротивление изоляции относительно корпуса. Восстановите покрытие якоря. Если сборка двигателя задерживается, то оберните рабочую поверхность коллектора плотной бумагой или закройте брезентовым чехлом. После этого якорь положите на деревянную подставку.

2.9 Сборка тягового двигателя

Запрессуйте в остов щит со стороны против коллектора. Установите в остов якорь и траверсу. Запрессуйте щит со стороны коллектора. Установите двигатель в горизонтальное положение. Снимите крышки и кольца, замерьте торцовое биение подшипников, которое должно быть не более 0,12 - 0,18 мм. Замерьте радиальный зазор между роликами и кольцом подшипника в холодном состоянии после посадки, установите кольца, насадите на вал с нагревом кольца, подшипники закройте крышками.

На траверсе щеткодержатели монтируют через любой наиболее удобный для этого люк. После установки на нее всех щеткодержателей траверсу поворачивают в положение, указанное контрольной риской, и закрепляют. Проверяют правильность установки щеткодержателей, для чего шаблонами контролируют расстояние от корпуса щеткодержателя до рабочей поверхности коллектора (для большинства двигателей 2-4 мм), и зазор между петушками коллектора и корпусом щеткодержателя, который должен быть не менее 6,5 мм - для двигателей НБ-418К6. Этот зазор следует проверять при якоре, смещенном в крайнее положение в сторону щеткодержателя. Проверяют также параллельность щеткодержателя поверхности коллекторных пластин. Перекос по высоте более 1 мм не допускается.

Важным фактором, влияющим на коммутацию двигателей, является правильность установки щеток по окружности коллектора. Они должны находиться по физической нейтрали машины. Для правильной установки щеткодержателей в них монтируют контрольные щетки, подключают к двум соседним щеткодержателям (или к выводным кабелям Я, ЯЯ) вольтметр, подводят питание к обмотке возбуждения и устанавливают в ней ток 100-150 А. Затем питание отключают и фиксируют отклонение стрелки вольтметра по направлению и значению. Далее смещают траверсу на небольшой угол и опыт повторяют. Если показание вольтметра увеличилось, траверсу поворачивают в противоположном направлении и так до тех пор, пока не будет найдено положение, при котором показание вольтметра будет равным нулю или близким к нему. В этом положении траверсу закрепляют и регулируют нажатие щеток, контролируя его значение ручным динамометром или с помощью специальной установки.

Через смотровой люк остова индикатором проверяют биение коллектора. Оно не должно превышать установленного для двигателя данного типа предельного значения (для большинства двигателей 0,07-0,08). Для того чтобы окончательно убедиться в правильности сборки и исправности двигателя, проводят его предварительные испытания.

Предварительные испытания двигателя проводят при питании его от деповской сети постоянного тока напряжением 200-400 В. Проверяют работу двигателя на холостом ходу (по 30 мин в каждом направлении). При этом на слух желательно с применением слуховых аппаратов или по степени нагрева определяют качество сборки подшипников. Установившаяся температура их в течение 1 ч работы машины не должна превышать температуру окружающей среды более чем на 55°С. В ходе испытания проверяют вибрацию. Она не должна превышать 0,15 мм.

Закончив предварительные испытания, двигатель еще раз осматривают, проверяют и при необходимости подтягивают болты и гайки, продувают сжатым воздухом, устанавливают крышки смотровых люков, убеждаются в плотности их прилегания к остову и подают двигатель на испытательную станцию.

2.10 Пропитка, сушка, окраска

Сушка обмоток. Назначение сушки - удалить влагу из обмоток машины, чтобы восстановить качество изоляции и, следовательно, обеспечить возможность надежной работы машины не менее чем до очередного планового ремонта. Удаление влаги происходит вследствие термической диффузии, вызывающей перемещение влаги в направлении потока тепла, т.е. от более нагретой части к более холодной. Перемещение влаги происходит вследствие перепада влажности в разных слоях изоляции; из слоев с большой влажностью влага перемещается в слои с меньшей влажностью. Чем больше температурный перепад, тем интенсивнее происходит сушка. Поэтому, нагревая внутренние части обмотки (например, током), можно создать дополнительный перепад температуры между внешними и внутренними слоями изоляции и тем ускорить процесс сушки.

При ТР-3, когда электрические машины с э, п. с. снимают и разбирают, появляется возможность сушки их в автоклавах или в специальных сушильных печах. Режимы сушки различных узлов машин зависят от типа примененной в них изоляции и конструктивных особенностей этих узлов. Поэтому в сушильную печь одновременно можно загружать только однотипные элементы машин. Нельзя, например, сушить одновременно якоря и остовы, так как для них требуются различные режимы сушки.

Подлежащие сушке якоря, остовы или статоры подают в печь на специальной тележке, на которой их устанавливают в вертикальном положении. Снятые с остова полюсные катушки загружают в печь в специальных решетчатых металлических корзинах. Остовы с катушками или снятые с них катушки и статоры сушат при температуре 110-130°С в течение 10-12 ч с момента, когда температура в печи после ее загрузки достигнет 100°С, а якоря - в течение 8-10 ч при температуре 130-140°С. В автоклавах обмотки сушат при температуре 100-110°С и вакууме около 280 кПа.

После выгрузки из печи, пока просушенные элементы не остыли и имеют температуру 120-130°С, измеряют сопротивление изоляции. Для машин с номинальными напряжениями 3000, 1500 и менее 100 В оно должно быть соответственно не ниже 3; 1,5 и 0,5 МОм, а для асинхронных машин - не менее 1 МОм. Если сопротивление окажется менее указанных норм, сушку повторяют. Сопротивление изоляции всех машин измеряют мегаомметром на 2,5 кВ, а машин с номинальным напряжением ниже 100 В-мегаомметром на 500 В.

Пропитка изоляции. Назначение пропитки - обеспечить возможно дольше сохранение диэлектрических свойств изоляции, восстановленных предварительно проведенной сушкой. Сущность пропитки состоит в заполнении всех пор и неплотностей в изоляции различными лаками или компаундами для придания изоляции монолитности и предотвращения проникания внутрь нее влаги, т.е. для восстановления электрической и механической прочности изоляции. В зависимости от применяемых пропиточных материалов и технологии прочность изоляции можно восстановить методами покрытия, пропитки или компаундирования.

Покрытие изоляции лаками применяют в том случае, когда есть полная уверенность в достаточной электрической прочности изоляции по всей ее толщине. Обычно в таком состоянии оказывается изоляция, которая при изготовлении или ремонте была выполнена на кремнийорганических материалах и пропитана термореактивными лаками или компаундами.

Обмотки якоря или катушки полюсов, изготовленные с такой изоляцией, при деповском ремонте достаточно просушить и покрыть изоляционной эмалью ГФ-92, ПКЗ-22 или ЭП-91. Сушку осуществляют в течение 5 ч в сушильной печи при температуре 130-140°С.

Пропитку производят для заполнения пропиточным лаком пор и неплотностей изоляции на всю ее глубину. Лак после высыхания делает изоляцию монолитной, более теплопроводной, механически и электрически прочной. Для пропитки применяют специальные пропиточные лаки, способные проникать в поры изоляции, имеющие хорошую адгезию к ней и обеспечивающие после высыхания влагонепроницаемость изоляции. Такие лаки обычно представляют собой растворы пленкообразующих веществ в летучих органических соединениях с добавлением сиккатива, обеспечивающего более быстрое высыхание раствора. В процессе высыхания в ходе сушки из лака растворитель улетучивается, а лак затвердевает, образуя прочную основу.

Катушки якорей тяговых двигателей и вспомогательных машин подвергают пропитке в том случае, если они ранее были пропитаны лаком №447. Пропитывают их или тем же лаком, или (что предпочтительнее) лаком ФЛ-98. Пропитку осуществляют в специальных пропиточных баках методом погружения.

Для этого якорь, еще не остывший после сушки (с температурой около 80°С), устанавливают в пропиточный бак вертикально коллектором вверх, после чего в бак снизу нагнетают пропиточный лак, подогретый до температуры 30-50°С. Уровень лака должен не доходить до петушков коллектора на 15-20 мм. Для полной пропитки изоляции якоря лаком достаточно обычно 20-30 мин. Практически пропитку заканчивают, когда прекратится выделение пузырьков газа на поверхности лака.

Закончив пропитку, сразу вынимать якорь из бака не следует. Вначале надо выпустить из бака лак и дать возможность лишнему лаку стечь с поверхности якоря. Затем якорь устанавливают на специальное приспособление наклонно под углом 45° и через каждые 10-15 мин поворачивают на четверть оборота, обеспечивая тем самым равномерность удаления остатков лака с поверхности якоря. Для окончательного удаления лишнего лака якорь протирают салфетками, смоченными в техническом спирте или бензине.

Пропитывая якоря лаком №447, следует помнить, что пленка этого лака обладает недостаточной стойкостью к воздействию масла. Поэтому обмотку после пропитки и сушки (при ее температуре около 60-70°С) покрывают эмалью ГФ-92-ГС, предварительно подогретой до температуры 30-50°С.

Окраска остовов при ТР-3. Остовы электрических машин при их ремонте в депо окрашивают полностью (и снаружи, и изнутри) или только снаружи. Это зависит от вида ремонта, который проходит данная машина. Если для ремонта машину разбирают, то представляется возможность окрасить ее не только снаружи, но и изнутри.

Внутренние поверхности остовов машин окрашивают непосредственно после окончания их ремонта лаками или эмалями холодной сушки. Целью такой окраски является защита внутренней поверхности остова от коррозии. Кроме того, на окрашенной поверхности меньше скапливаются пыль и влага. Снаружи остов окрашивают после сборки, испытания и слесарной отделки. Цель такой окраски - предохранение остова от коррозии и придание машине хорошего внешнего вида.

Электрические машины, устанавливаемые под кузовом, снаружи окрашивают черным лаком БТ-99 воздушной сушки, а вспомогательные машины электровозов, устанавливаемые в кузове, - серой эмалью ГФ-92-ХС. Чтобы краска ложилась ровнее, прочнее держалась и под ней не происходил коррозионный процесс, поверхность под окраску должна быть тщательно подготовлена. Для этого ее очищают стальными щетками от старой краски, ржавчины и возможной грязи, обдувают сжатым воздухом и протирают ветошью, смоченной в бензине. При декоративной окраске остовов вспомогательных машин электровозов их предварительно грунтуют и шпатлюют, что необходимо для получения хорошего качества окрашиваемых поверхностей. Окраску выполняют с помощью пульверизатора. После полного высыхания остов окрашивают повторно.

Все операции по окраске и сушке следует проводить в специальных камерах в помещении с хорошей приточно-вытяжной вентиляцией и постоянной (около 20°С) температурой.

2.11 Контрольные испытания двигателей

Каждая прошедшая ремонт электрическая машина должна пройти контрольные испытания. Порядок проведения таких испытаний должен соответствовать требованиям государственных стандартов и Правил ремонта тяговых и вспомогательных электрических машин электроподвижного состава.

Отремонтированные машины осматривают и проверяют выполнение установленных норм, свободу вращения, измеряют сопротивление изоляции и активное сопротивление обмоток, опробуют машину на холостом ходу, испытывают ее на нагревание и на повышенную частоту вращения, проверяют частоту вращения, реверсирование, коммутацию машины и электрическую прочность ее изоляции. Контрольные испытания проводят на испытательных станциях депо. Результаты испытаний заносят в специальный журнал, а также в паспорт машины, прошедшей испытания.

Осмотр и проверку машины проводят для выявления соответствия допусков и износов установленным нормам. Для этого измеряют биение коллектора, вала, проверяют осевой разбег якоря, воздушные зазоры под полюсами, правильность установки щеткодержателей относительно коллектора, чистоту обработки рабочей поверхности коллектора, а также правильность установки щеток в щеткодержателях и их нажатие на коллектор. Техника проведения перечисленных измерений и проверок, а также соответствующие нормы были рассмотрены ранее.

Проверку вращения якоря проворачиванием его от руки выполняют для того, чтобы перед включением машины под напряжение быть уверенным в правильности ее сборки, на что укажет отсутствие толчков и заеданий при вращении якоря. Убедившись в их отсутствии, машину подключают к питающей сети и проверяют ее работу на холостом ходу. Вначале к машине подводят напряжение, составляющее около 10% Uном, и при пониженной частоте вращения еще раз убеждаются в отсутствии стука в подшипниках, задеваний вращающегося якоря о неподвижные части и стука щеток. При удовлетворительных результатах проверки частоту вращения повышают до номинальной и дают машине работать в течение 30 мин. Вибрографом ВР-1 измеряют вибрацию. Вибрация более 0,15 мм не допускается, так как в эксплуатации она вызовет неудовлетворительную работу основных узлов машины (причиной повышенной вибрации является неудовлетворительная балансировка якоря). Нереверсивные машины проверяют при вращении якоря только в рабочем положении, а реверсивные - в обоих направлениях.

Затем машину отключают и, пока ее якорь еще вращается, на слух, применяя слуховые аппараты, или по степени нагрева окончательно проверяют работу подшипников. Температура исправных подшипников не должна превышать 95°С. После остановки машины осматривают щетки и проверяют качество их притирки. Притертая поверхность должна составлять не менее 75% площади контактной поверхности щетки. В противном случае щетки следует притереть стеклянной бумагой.

Индукционным методом проверяют правильность установки щеток относительно коллектора. После установки щеток в нейтральное положение щеткодержатели или траверсу надежно закрепляют. Порядок притирки щеток и проверки правильности их установки тот же, что и при выполнении этих операций в ходе ремонта.

Измерение активного сопротивления обмоток на холодной машине преследует две цели: проверить его соответствие установленной норме и получить данные для последующего определения превышения температуры обмоток двигателя. Правильность определения превышения температуры в большей мере зависит от точности измерения активного сопротивления обмоток. Для обеспечения требующейся точности измерения прежде всего следует обеспечить «холодное» состояние машины, т.е. такое, при котором ее температура не отличается от температуры окружающей среды более чем на 3°С. Для проверки температуры шарик термометра обертывают станиолью, прикладывают к коллектору, накрывают ватой или асбестом и выдерживают в таком положении 5-7 мин. Другим важным условием обеспечения точности измерения является правильный выбор метода измерения и класса измерительных приборов.

Наиболее распространенным, практически удобным является метод вольтметра-амперметра, который при использовании приборов класса точности 0,2-0,5 обеспечивает необходимую высокую точность измерения. Вольтметры к выводам катушек главных и добавочных полюсов присоединяют стационарными зажимами, а вольтметр к обмотке якоря - с помощью двух щупов. Щупы устанавливают на коллекторных пластинах, находящихся под серединами щеток различной полярности, расположенных на расстоянии одного полюсного деления. При измерениях щетки всех щеткодержателей должны быть подняты, а якорь должен быть неподвижен, поэтому его предварительно затормаживают.

Сопротивление обмоток, измеренное при температуре 20°С, не должно отклоняться от установленного нормами значения более чем на ±10%.

Для проведения дальнейших испытаний машину устанавливают на испытательный стенд. Тяговые двигатели, как правило, испытывают по методу взаимной нагрузки, при котором на стенд помещают сразу две машины и соединяют их как механически, так и электрически. В ходе испытания одна из них (проверяемая) работает в двигательном, а вторая - в генераторном режимах (рис. 20).

Рисунок 20 - Принципиальная электрическая схема испытания электрических машин методом взаимной нагрузки

Так как обе машины однотипны, то при включении по такой схеме э. д. с. машины Г, работающей в режиме генератора, будет меньше, чем э. д. с. машины Ml, работающей в режиме двигателя, и якоря машин останутся неподвижными. Их работа будет возможна лишь в том случае, если э. д. с. генератора будет больше э. д. с. двигателя. Для такого увеличения э. д. с. в цепь якоря генератора последовательно включают вольтодобавочную машину ВДМ. Ее якорь приводится во вращение асинхронным двигателем МЗ, а обмотку независимого возбуждения питают от внешнего источника через потенциометр или переменный резистор R1.

Если при неподвижных якорях машин замкнуть цепь ВДМ и поднимать подводимое к ее обмоткам возбуждение, то в цепи испытуемых машин появится и будет нарастать ток. Однако и в этом случае вследствие встречного направления и равенства моментов на валах машин якоря останутся неподвижными. Чтобы якоря начали вращаться, необходимо сообщить двигателю избыточный момент, который должен компенсировать тормозной момент, возникающий в обеих испытуемых машинах от механических, магнитных и добавочных потерь. Такой момент создают в испытуемой машине за счет электрической энергии, подводимой к двигателю от линейного генератора ЛГ.

Его приводят во вращение асинхронным двигателем М2. Чаще всего этот двигатель используют одновременно как для вращения якоря генератора ЛГ, так и вольтодобавочной машины ВДМ. Напряжение на зажимах ЛГ регулируют изменением тока в его обмотке независимого возбуждения резистором R2 или потенциометром. При такой схеме легко можно устанавливать на зажимах испытуемой машины любое напряжение, что бывает необходимо для изучения поведения машины при напряжениях, отличных от номинального.

Испытание на нагревание при контрольных испытаниях проводят для определения превышения температуры обмоток машин, значение которого в эксплуатации строго ограничено. Для определения температуры обмоток наибольшее распространение получил метод сопротивления как наиболее простой и достаточно точный.

Испытания проводят на стенде по методу взаимной нагрузки. Двигатели с опорно-осевым подвешиванием ставят моторно-осевыми горловинами на вал-модель, а опорными выступами - на опоры стенда. На конусы валов машин со стороны, противоположной коллектору, устанавливают полумуфты, добиваются совмещения осей машин, после чего соединяют полумуфты, ограждают их специальным кожухом и закрепляют двигатели на опорах.

Проверку двигателей на нагревание следует проводить в условиях, соответствующих реальным условиям работы этих машин в эксплуатации, влияющим на их тепловой режим. Поэтому к вентиляционным люкам двигателей с независимой вентиляцией на стенде присоединяют брезентовые рукава от вентиляционной установки. Такая установка должна обеспечивать подачу не менее 110 м3/мин.

Расход воздуха, необходимый для машин данного типа, обеспечивают регулировкой положения заслонок, установленных в воздухопроводе.

Количество продуваемого через машину воздуха контролируют по статическому напору в ее коллекторной камере, измеряемое U-образным микроманометром. При последующих испытаниях необходимо следить, чтобы крышки коллекторных люков все время были плотно закрыты.

В ходе проведения тепловых испытаний необходимо контролировать температуру окружающей среды. Поэтому до начала испытаний на стенде устанавливают два-три термометра. Чтобы они не омывались струей охлаждающего воздуха, их располагают на уровне вала якоря на расстоянии 1-2 м от машины.

Выполнив перечисленные подготовительные операции, приступают к испытаниям. Включают двигатель М2 и, регулируя резистором R2 напряжение на зажимах линейного генератора, поднимают его до номинального для испытуемого двигателя значения. Затем резистором R1 постепенно увеличивают возбуждение вольтодобавочной машины ВДМ. При этом начнет возрастать э.д.с, действующая в замкнутом контуре ВДМ-Г-Ml, а с ней и ток в этой цепи, а следовательно, и в якоре генератора Г. При увеличении тока генератора Г возрастает его электромагнитный момент, который для испытуемой машины Ml будет тормозным. Регулируя таким способом нагрузку на испытуемой машине, устанавливают в ней ток, равный ее часовому току.

В течение всего периода испытания нагрузки машины подведенное к ней напряжение (номинальное), частота вращения и количество продуваемого через нее воздуха должны оставаться неизменными. Через 1 ч работы машины в таком режиме ее останавливают. Во время работы машины через каждые 10-15 мин фиксируют ток и напряжение на обмотках главных и добавочных полюсов, температуру окружающей среды в момент снятия отсчетов с приборов, а также по секундомеру интервалы между замерами. Последний замер выполняют строго в момент снятия с двигателя напряжения. Результаты замеров записывают в специальный журнал.

Выполнить аналогичные измерения на коллекторе можно только при неподвижном якоре. Для получения возможно более точных результатов эти замеры следует осуществлять через возможно меньшее время после снятия с машин напряжения, в противном случае конечная температура якоря успеет заметно измениться. Для этого следует остановить якорь и прекратить подачу охлаждающего воздуха. С этой целью снижают до нуля напряжение линейного генератора, прекращают подачу охлаждающего воздуха и быстро останавливают двигатель, создавая тормозной момент усилением возбуждения вольтодобавочной машины ВДМ. Сопротивление обмотки якоря измеряют на тех же пластинах коллектора, на которых измеряли сопротивление обмотки в холодном состоянии. На момент выполнения этих замеров щетки должны быть изолированы от коллектора, для чего под них устанавливают изоляционные прокладки.

Как показала практика, первый замер сопротивления якоря тягового двигателя удается осуществить только через 30-45 с после его остановки. За это время температура (и значение измеряемого сопротивления успевает измениться. Чтобы определить температуру, которую имела обмотка якоря в момент отключения (в конце часового режима), на остановленной машине через определенные промежутки времени осуществляют еще несколько замеров.

Одновременно с измерением сопротивления обмоток измеряют температуру коллектора и подшипников. Повторная проверка подшипников вызвана тем, что при предварительных испытаниях из-за более легкого и менее продолжительного режима работы машины их температура при определенных дефектах в подшипниковом узле могла не превысить допустимого значения и наличие этого дефекта осталось бы незамеченным. Измеряют температуру ртутным или спиртовым техническим термометром так же, как ранее проверялось «холодное» состояние машины.

Закончив испытания тягового двигателя на нагревание, не давая ему остыть, включают стенд, устанавливают на зажимах двигателя номинальное напряжение и в обмотке якоря ток, равный часовому. В этом режиме проверяют частоту вращения машины и ее работу при изменении направления вращения.

Проверку частоты вращения выполняют для определения отклонения частоты вращения выпускаемой из ремонта машины от номинального значения. Это необходимо для правильного последующего подбора тяговых двигателей, устанавливаемых на один локомотив, - расхождение в скоростных характеристиках таких двигателей допускается не более 4%. Кроме того, эти данные необходимы и для правильного подбора к тяговым двигателям колесных пар по диаметрам их бандажей при комплектовании колесно-моторных блоков.

Такое испытание тяговых двигателей осуществляют при номинальных (часовых) значениях тока и напряжения на нагретой машине. Частоту вращения измеряют электротахометром или тахометром СК. Отклонение частоты вращения от номинальной для тяговых двигателей, спроектированных до 1 июля 1966 г., не должно превышать ±4%, а для спроектированных после указанной даты, ±3%.

Испытание на реверсирование проводят для измерения и сравнения, частоты вращения якоря в прямом и обратном направлениях. Разность значений частоты вращения якоря, измеренных при разных направлениях вращения якоря, не должна превышать 4% для машин с волновой обмоткой без траверс, 3% для машин с петлевой обмоткой без траверс и 2% для машин с траверсами. Закончив проверку машины на реверсирование, испытывают машину на механическую прочность при повышенной частоте вращения.

Испытание на повышенную частоту вращения выполняют при частоте вращения, превышающей наибольшую, гарантированную заводом-изготовителем, не менее чем на 25% для тяговых двигателей электровозов и не менее 20% для тяговых двигателей электропоездов и вспомогательных машин э. п. с.

Для создания требующегося режима уменьшают возбуждение вольтодобавочной машины ВДМ, снимают нагрузку и переводят двигатель в режим холостого хода. Увеличивая возбуждение линейного генератора, поднимают напряжение на двигателе, а с ним и частоту вращения якоря до указанного выше значения. В этом режиме в течение 2 мин проверяют механическую прочность узлов машин. У исправной и правильной работающей машины не должно быть поломок и выходящих за допустимые пределы остаточных деформаций.

Проверка коммутации является наиболее ответственным испытанием всех электрических машин и в первую очередь тяговых двигателей. Наиболее тяжелыми режимами для тяговых двигателей являются трогание с места (большие токи) и большая частота вращения (глубокое ослабление возбуждения). Поэтому Правилами ремонта предусмотрено два режима для проверки коммутации: при номинальных значениях напряжения и тока возбуждения и двойном часовом токе якоря; при наибольшем напряжении

на коллекторе и наибольшей частоте вращения на последней ступени ослабления возбуждения.

Устанавливая на стенде необходимые для двигателя значения напряжения и тока, проверяют коммутацию при вращении якоря по 30 мин в обе стороны вначале в первом, а затем во втором режимах. Проверку коммутации ведут, наблюдая визуально за интенсивностью искрения под щетками. Для этого у испытуемого двигателя заменяют крышку коллекторного люка специальной с врезанным в нее стеклом.

Государственным стандартом предусмотрено пять степеней искрения: 1; 1 1/4; 1 1/2; 2 и 3. Для электрических машин локомотивов предельно допустимой является степень 1 ½. При такой коммутации под сбегающей кромкой щетки наблюдается слабое искрение, а на самих щетках и коллекторе может появляться поверхностный нагар, легко устраняемый протиранием. Машины с таким искрением можно выдавать в эксплуатацию.

Оценка коммутации по искрению визуально требует большого опыта и не исключает возможных ошибок как по техническим, так и по субъективным причинам. Объективно оценить искрение можно индикатором искрения ИИ-1. Фотоэлемент этого индикатора воспринимает световую энергию, выделяющуюся при искрении, и преобразует ее в электрический сигнал. Сигнал усиливается в двухкаскадном усилителе прибора и подается на электронно-лучевую трубку катодного осциллографа и на микроамперметр. Эти показания устойчивы, точны, их можно отсчитывать визуально или записывать на пленку.

Если искрение под щетками проверяемой машины окажется более 11/2 балла, выявляют причины неудовлетворительной коммутации машины. Ими могут оказаться неправильная установка щеткодержателей, плохая притирка щеток или неправильный их подбор, перекос или заедание щеток в гнездах щеткодержателей, неудовлетворительное состояние рабочей поверхности коллектора, его биение или вибрация, неправильно отрегулированное нажатие пальцев на щетку. Выявленные недостатки устраняют и повторно проверяют коммутацию машины при тех же двух испытательных режимах.t

Тяговые двигатели электровозов переменного тока испытывают на пульсирующем напряжении с коэффициентом пульсации около 30%.

Испытание изоляции состоит в проверке сопротивления изоляции обмоток машины относительно корпуса и проверке ее электрической прочности.

Сопротивление изоляции проверяют мегаомметрами с соответствующими номинальными напряжениями. У двигателей, получающих питание непосредственно от контактной сети, сопротивление изоляции при рабочей температуре должно быть не менее 3 МОм, а у машин напряжением менее 1000 В-не ниже 0,5 МОм.

Электрическую прочность изоляции измеряют на нагретой машине после проверки ее сопротивления. Испытание проводят повышенным напряжением переменного тока промышленной частоты, получаемого от специальных однофазных пробивных трансформаторов. Первичную обмотку их включают в сеть напряжением 220 В. Выводы вторичной обмотки подключают один к остову, другой - к соединенным вместе выводам проверяемой обмотки. Испытательное напряжение поднимают плавно, регулируя напряжение на первичной обмотке.

Изоляцию тяговых двигателей в зависимости от их типа испытывают при различных значениях напряжения. Так, машины с изоляцией на 3000 В испытывают напряжением 6000 В.

При испытании изоляцию выдерживают под полным испытательным напряжением в течение 1 мин, после чего его плавно снижают и отключают пробивную установку. Результат испытания проверяют вольтметром. В случае пробоя стрелка вольтметра установится на нуль. Если пробоя изоляции обмотки не обнаружено, испытания на этом заканчивают. Машину укомплектовывают деталями внешнего крепления, продувают снаружи и изнутри.

Заключение

В процессе выполнения настоящей работы я подробно изучил назначение и конструкцию тяговых электродвигателей НБ-418К6, их работу, порядок разборки, ремонта, сборки, контрольных испытаний. Я научился безопасным приемам труда, соблюдал меры безопасности при работе со слесарным инструментом и электрическим оборудованием, нахождении на железнодорожных путях, правила личной гигиены.

Считаю, что работа над дипломом и производственная практика помогли мне закрепить теоретические знания, полученные в училище, и подготовиться к самостоятельной работе.

Литература

1.   ВЛ80с: Руководство по эксплуатации /Н.М. Васько, А.С. Девятков, А.Ф. Кучеров и др. - М.: Транспорт, 1990

2.      Николаев А.Ю., Сесявин Н.В. Устройство и работа электровоза ВЛ80с - М.: Маршрут, 2006

.        Грузовые электровозы переменного тока: Справочник/ З.М. Дубровский, В.И. Попов, Б.А. Тушканов - М.: Транспорт, 1998

.        Находкин В.М., Яковлев Д.В., Черепашенец Р.Г. Ремонт электроподвижного состава - М.: Транспорт, 1989

.        Правила текущего ремонта и технического обслуживания электровозов переменного тока.

.        Жуков В.И. Охрана труда на железнодорожном транспорте. Учебное пособие для средних профессионально-технических училищ. - М.: Транспорт, 1988.

Похожие работы на - Технология ремонта электроподвижного состава

 

Не нашли материал для своей работы?
Поможем написать уникальную работу
Без плагиата!
Без нейросетей!