Технология ремонта испарителя Д-5У

  • Вид работы:
    Контрольная работа
  • Предмет:
    Транспорт, грузоперевозки
  • Язык:
    Русский
    ,
    Формат файла:
    MS Word
    707,59 Кб
  • Опубликовано:
    2014-07-02
Вы можете узнать стоимость помощи в написании студенческой работы.
Помощь в написании работы, которую точно примут!

Технология ремонта испарителя Д-5У

МИНИСТЕРСТВО ОБРАЗОВАНИЯ И НАУКИ РОССИЙСКОЙ ФЕДЕРАЦИИ

Федеральное государственное автономное образовательное учреждение

высшего профессионального образования

«Дальневосточный федеральный университет»

Филиал ДВФУ в г. Большой Камень







КОНТРОЛЬНАЯ РАБОТА

по дисциплине «Монтаж, техническое обслуживание и ремонт судовых энергетических установок»

Специальность код «Монтаж эксплуатация судовых энергетических установок и средств автоматики 180409»

на тему «Технология ремонта испарителя Д-5У»






г. Большой Камень

г.

Содержание

Введение

. Маркировка и освидетельствование

. Отчистка и дефектовка труб

. Изготовление элементов трубопроводов

3.1 Изготовление шаблонов для гибки труб

3.2 Гибка труб по шаблонам. Холодная гибка труб

.4 Гибка труб по технологическим эскизам и картам замеров

. Испытания на прочность

. Монтаж опреснительной установки

5.1 Условия эксплуатации

5.2 Монтаж

5.3 Выбор оборудования, приспособлений, инструмента для монтажа установки

5.4 Охрана труда при монтаже

6. Испытания и окраска

.1 Гидравлическое испытание

.2 Оценка результатов

6.3 Пневматическое испытание

Список использованных источников

Введение

Опреснение воды - удаление из воды растворённых в ней солей с целью сделать её пригодной для питья или для выполнения определённых технических задач.

Для питьевого водоснабжения пригодна вода с содержанием растворимых солей не более 1 г/л. Поэтому практической задачей при опреснении воды (главным образом, морской) является уменьшение её избыточной солёности. Для опреснения воды используют опреснительные установки

Утилизационные опреснительные установки серии Д являются агрегатированными опреснителями кипящего типа, основные параметры которых в соответствии с отраслевой нормалью ОН9-472-64 приведены в табл. 7

качестве источника тепла для этих опреснителей может использоваться пресная вода температурой 60- 80° С из системы охлаждения дизелей или нагретая любым другим способом. Получаемый в установках дистиллят имеет солесодержание не более 8 мг/л и может использоваться для питания паровых котлов, а также как исходная вода для приготовления питьевой и мытьевой воды. Температура дистиллята на выходе из установки не превышает 55° С. Соленость рассола в корпусе испарителя поддерживается на уровне 5000° Б (отношение количества подаваемой в испаритель питательной забортной воды к продуваемому рассолу составляет 3:2). Вакуум в испарителе при минимальной и максимальной производительности составляет от 705 до 600 мм рт. ст

Потребляемая электрическая мощность (системой электроавтоматики и дистиллятным насосом) не превышает 0,8 кет. Установки допускают кратковременную работу на греющем паре при давлении его в нагревательной батарее не выше 0,7 кГ/см Гарантируемая продолжительность работы установок между чистками 1500 ч.

Опреснители серии Д выполняются в виде агрегата, включающего:

испаритель с конденсатором блочной конструкции;

воздушно-рассольный эжектор;

насосы дистиллятной и забортной воды;

элементы автоматики и контрольно-измерительные приборы;

щит управления; арматуру и трубопроводы.

При наличии на судне системы забортной воды, которая может обеспечить подачу ее в необходимом для испарительной установки количестве с давлением не ниже 2 кГ/см2, опреснители могут поставляться заводом-изготовителем без насоса забортной воды.

Рисунок 1- типовая схема опреснительной установки типа Д

Типовая схема опреснителей серии Д показана на рисунке 1

Забортная вода прокачивается насосом 1 через конденсатор 2, откуда она поступает к рассольно-воздушному эжектору 3, при этом часть воды направляется на питание испарителя. Питательная вода поступает в испаритель через невозвратно запорный клапан 4 и ротаметр 5, который служит для измерения расхода воды. Греющая вода из системы охлаждения дизеля циркулирует в межтрубном пространстве батареи 6 и отдает свое тепло питательной воде, испаряющейся внутри труб. Рассол и паровоздушная смесь удаляются рассольно-воздушным эжектором за борт. Образовавшийся в результате испарения питательной воды вторичный пар конденсируется в конденсаторе, превращаясь в дистиллят, который самотеком поступает в сборник дистиллята 7. Из сборника дистиллят дистиллятным насосом 8 подается через поплавковый регулятор уровня (предохраняющий насос от срыва) и датчик солемера 9 к электромагнитному переключающему клапану 10, направляющему дистиллят в зависимости от его солесодержания в цистерну пресной воды или обратно в испаритель. Для измерения расхода дистиллята служит ротаметр 11

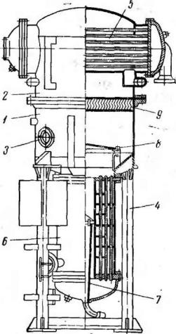
Корпус испарителя 1 (рисунок-2) выполнен из меди, а сухопарник 2 - из нержавеющей стали. В верхней части корпуса испарителя расположены смотровые стекла 3 для наблюдения за процессом испарения. Опорами для испарителя служат четыре вертикальные трубы 4, заканчивающиеся внизу фланцами, с помощью которых агрегат крепится к судовому фундаменту. Конденсатор 5 встроен в верхнюю часть сухопарника. Трубки конденсатора- мельхиоровые. Нагревательная батарея 6 представляет собой пучок прямых вертикальных мельхиоровых трубок, приваренных к латунным трубным доскам. В средней части батареи имеется канал для слива избытка рассола, выбрасываемого из трубок. Внутри батарея снабжена перегородками-диафрагмами, которые создают многоходовое поперечное движение греющей воды. На крышке батареи закреплена труба для слива рассола 7, верхний срез которой находится на уровне '/г высоты трубок.

В корпусе испарителя над батареей установлен отбойный щит - отражатель 8, препятствующий уносу в паровое пространство крупных капель рассола.

Тонкая очистка вторичного пара происходит в жалюзийном сепараторе 9. Все внутренние поверхности корпуса испарителя лудятся оловом.

Рисунок 2-конструкция испарителя-конденсатора установок серии Д

. Маркировка и освидетельствование

Маркировка - нанесение условных знаков, букв, цифр, графических знаков или надписей на объект, с целью его дальнейшей идентификации (узнавания), указания его свойств и характеристик.

Техническое освидетельствование - экспертиза различных технических объектов специалистами, обычно комиссией, представляющими государственные надзорные органы или имеющими государственную лицензию на право проведения или участия в таких экспертизах.

. Отчистка и дефектовка труб

труба гибка опреснительный установка

Метод гидрохимической промывки широко используется для удаления отложений в тех случаях, когда невозможно или затруднительно применение гидродинамической промывки.

Гидрохимическая промывка является эффективным способом очистки. Технологию гидрохимической очистки (состав и концентрацию раствора, температурный режим, время отмывки) определяют в каждом конкретном случае индивидуально, исходя из качественного и количественного анализа образующихся отложений. После вытеснения кислотного раствора, его нейтрализации и водной промывки предусмотрена обязательная пассивация отмытого металла специальными растворами с целью создания на его поверхности трудно растворимых химосорбционных слоев, эффективно защищающих металл от коррозии.

Вырезка контрольных отрезков показала, что при промывки за указанные сроки удаляется до 95-98% отложений.

Отложения, как правило, состоят из окислов железа и карбонатов, которые создают большое термическое сопротивление тепловому потоку, что ведет к снижению температуры теплоносителя и уменьшению теплопроводности системы.

Хорошо известны негативные последствия образования отложений, они многообразны:

уменьшается срок службы системы;

увеличивается расход топлива (при отложениях в 1 мм на 2,5%);

снижается температура в помещениях;

снижается температура горячей воды;

увеличивается расход сетевой воды;

возрастает число внеплановых ремонтов.

Химическая очистка достаточно сложна, однако она незаменима в случаях, когда конфигурация труб неудобна для механической, гидродинамической и электроимпульсной очистки или доступ к объекту очистки затруднен по разным причинам (объект на высоте, отсутствует доступ во все помещения здания, объект находится в условиях, где невозможно присутствие человека и т.п.). При работе используются более десяти видов реагентов, в том числе составы, сертифицированные для применения на питьевом водоснабжении. При необходимости производится разогрев моющего состава в мобильных компактных котлах, входящих в стандартное оснащение бригады. После очистки проводится пассивация для нейтрализации активного вещества.

Достоинства метода химической очистки:

химическая обработка может производиться на трубных системах с конфигурацией любой сложности, что особенно ценно при очистке котлов и теплообменников;

химическая обработка может производиться на трубах практически любой длины и диаметра;

с помощью правильно подобранных реагентов могут быть полностью удалены отложения любой твердости и состава.

Недостатки метода химической очистки:

потенциальная экологическая опасность (необходимо внимательно следить за возможными утечками, а также тщательно нейтрализовать и утилизировать отработанные реагенты);

химическая очистка требует длительной и квалифицированной подготовки, начиная с химического анализа отложений и подбора реагента, до врезки в систему дозаторов;

узкая специализация реагентов не позволяет очистить трубу от разнородных отложений за один проход;

невозможно прочистить полностью забитые трубы и трубы с большим количеством загрязнений;

стоимость такой очистки обычно гораздо выше любой другой.

Деффектовка: Месторасположение и характер дефектов на трубах являются определяющими как для места локализации, так и времени отказов. Очень часто скорость трубного разрушения зависит не от размера дефектов, а от величины их растягивающих напряжений.

Деффектовка труб (определение качества) ограничивается их размерами и недостатком методик оценивания внутренних напряжений и деформаций (напряженно-деформированное состояние) трубопроводов и труб.

В тех местах трубы, где порог стойкости к воздействию коррозии превышен, темп разрушения трубопроводных стенок значительно увеличивается (в десятки и сотни раз).

. Изготовление элементов трубопроводов

С металлургических заводов поступают на судостроительные заводы прямые трубы с размерами, обусловленными действующими сортаментами. Окончательную обработку труб выполняют требомедняцкие цехи или участки судостроительных заводов. Технологические службы заводов выпускают матертиальные ведомости на трубы. Согласно этим ведомостям цуех получает необходимое количество труб со склада завода и выполняет нужные работы по их изготовлении для монтажа по приянтой на заводе технологии.

Основные работы по изготовлению труб при монтаже:

трассировка тубопровода и изотовление шаблонов для гибки труб;

гибка труб;

сборка и изоляция тру;

испытания.

.1 Изготовление шаблонов для гибки труб

Шаблоном называют простейшее приспособление, по которому определяют форму и длину труб при их гибке. Шаблон представляет собой как бы ось будущей трубы и используется для гибки и контроля согнутой трубы. Шаблоны изготовляют из тонких труб диаметром до 20мм (жесткие шаблоны). Из мягкой проволки изготовляют шаблоны для головных судов и используют их только один раз, жесткие шаблоны применяюься для серийных судов.

При снятии шаблонов необходимо учитывать требования, предъявленные при монтаже трубопроводов. Снимать их нужно по образующей цилиндрической поверхности трубы, а не по её осевой линии. Радиусы изгибов должны соответствовать унифицированным радиусам изгиба труб; количество прямых участков в трассе должно быть максимальным; погибы нужно размещать в минимальном количестве плоскостей; соединения труб нужно располагать в местах, доступных для ремонта и разборки.

Способы изготовления шаблонов:

по месту на судне;

по плазовой разметке;

фотопроекционным методом;

по эталонным трубам.

При изготовлении шаблонов по месту предварительно определяюттрассу трубопровода и расстановку арматуры. После этого рабочий снимает шаблоны отдельных участков труб с учётом расположения оборудования и арматуры, изгибая шаблон из мягкой проволоки, которая образует ось будущей трубы. Гибку проволоки выполняют вручную или с пременением специальных приспособлений. Шаблоны, снятые с места, передают в цех, где по них изготовляют трубы. Этот метод применяют для головных судов серии.

По плазовой разметке изготовляют шаблоны при наличии рабочих чертежей на трубы. На плазовом щите по рабочим чертежам вычерчивают контурную линию, изображающую в натуральную величину шаблон трубы, все плоскости погибов, которой совмещены в плоскости плазового щита. Последовательность выполнения погибов и точек перехода трубы из одной плоскости в другую отмечают условными обозначениями. Затем по плазовой разметке производят гибку проволочного шаблона.

Снятие шаблонов с плазов рационально только для труб, подвергаемых горячей гибке. При гибке труб на станках составляют по рабочим чертежам труб карты замеров, позволяющие выполнять станочную гибку без применения шаблонов.

Рисунок 3-схема изготовления шаблонов магистральным методом

Отсутствие совершенных методов трассировки трубопроводов для головных судов потребовало улучшения технологии изготовления трубопроводов. Усовершенствование существующего способа индивидуального изготовления шаблонов с последующей пригонкой из на судне явился магистральный метод изготовления шаблонов. Магистральный метод позволяет изготовлять шаблоны одновременно для нескольких трубопроводов в данном районе судна. Сущность метода состоит в том, что шаблоны (4) изготовляют на весь трубопровод данного отсека, соединяют их на центрующих втулках (3), а затем на особых шарнирных установочных (2) и центрующих (1) кронштейнах закрепляют по намеченной трассе.

Стойки крепят по трассе механическими зажимами или прихватывают электросваркой к элементам набора корпуска в зависимости от того, где должен пройти трубопровод. По выполненному таким образом шаблону в процессе гибки трубы заполняют технологический экскиз или карту записей, необходимые для изготовления труб.

Дальнейшим усовершенствованием магистрального способа явилась разработка координатометра (рисунок 4), состоящего из прямых отрезков труб малого диаметра, соединённых между собой шарнирно-поворотными звеьями. При расстановке координатометра по трассе воспроизводиться осевая линия трубопровода и записываются числовые величины прямолинейных участков труб, углов погибов и углов между плоскостями погибов, а так же фиксируются места соединения труб. По данным записей составляют технологические эскизы и карты, необходимые для гибки труб на станках.

Рисунок 4- координатометр

В процессе проектирования трубопроводов и систем должны соблюдаться такие стадии проработки и выпуска технической документации:

масштабное проектирование трубопроводов с использованием макета;

разработка монтажных чертежей трубопроводов с использованием макета;

проектирование трубопроводов малонасыщенных помещений;

корректировка чертежей трубопроводов в процессе постройки судна.

.2 Гибка труб по шаблонам. Холодная гибка труб

Гибку труб по шаблонам производят вхолодном состоянии и с нагревом. Холодная гибка труб позволяет значительно повысить производительность труда, исключает операции набивки труб песком и их нагрева, улучшает качество погиба, что обеспечивает существенное снижение себестоимости изготовления труб. В настоящее время холодной гибкой изготовляют 85-95% всего количества труб. Для гибки труб применяют станки СТГ-1М, СТГ-2, СТГ-3, ТГМ-38-159, ИО-13.

Рисунок 5- схема гибки труб на станке

Сущность гибки на станке состоит в следующем. Трубу (1) надевают на дорн (неподвижную калибрующую пробку (4)) и зажимают скобой с винтом (7) между прижимом (6) и гибочным диском (5), который получает вращение от планшайбы станка. Гибочный диск при вращении тянет трубу, наворачивая её на себя и стаскивая с дорна. При это несогнуая часть трубы получает поступательное движение и силой трения продвигает в том же направлении ползун (3) в направляющих (2), обеспечивая правильное положение трубы по отношению к гибочному диску.

.4 Гибка труб по технологическим эскизам и картам замеров

При использовании магистрального метода или изготовлении труб по совмещенным чертежам гибку туб производят без шаблонов. Для этого трубогибочные станки должны быть оснащены планшайбами с лимбами (плоское металлическое кольцо, разделённое штрихами на равные доли окружности), имеющими шкалу с ценой деления от 0,5 до 1 градуса и с четкой маркировкой (рисунок 6)

Рисунок 6- установка дополнительной оснастки к трубогибочному станку

-фиксатор начального положения планшайбы; 2- градусный лимб планшайбы станка; 3-труба; 4-отвесный угломер

. Испытания на прочность

После окончания капитального ремонта трубопроводов проводятся проверка качества работ, промывка или продувка, а затем испытание на прочность и плотность. Технологическая аппаратура перед испытанием отключается, концы трубопровода закрываются заглушками. Заглушаются все врезки для контрольно-измерительных приборов. В наиболее низких точках ввариваются штуцеры с арматурой для спуска воды при гидравлическом испытании, а в наиболее высоких - воздушки для выпуска воздуха. В начальных и концевых точках трубопровода устанавливаются манометры с классом точности измерения не ниже 1,5.

Гидравлическое испытание на прочность и плотность обычно проводится до покрытия тепловой и антикоррозионной изоляцией. Величина испытательного давления должна быть равна 1,25 максимального рабочего давления, но не менее 0,2 МПа для стальных, чугунных, винипластовых и полиэтиленовых трубопроводов. Давление при испытании выдерживается 5 мин. После этого оно снижается до рабочего значения. Трубопровод тщательно осматривается. Сварные швы обстукиваются легким молотком. После проведения испытания открываются воздушки и трубопровод полностью освобождается от воды.

Пневматическое испытание осуществляется воздухом или инертным газом. При этом выдерживается давление, равное 1,25 максимального рабочего давления, но не менее 0,2 МПа для трубопроводов из стали.

Испытание на прочность чугунных и пластмассовых надземных трубопроводов не проводится. Пневматическое испытание трубопроводов на прочность не проводится также в действующих цехах, на эстакадах, в каналах, т.е. там, где находятся действующие трубопроводы. Газопроводы, работающие при давлении до 0,1 МПа, испытывают давлением, которое устанавливается проектом.

. Монтаж опреснительной установки

Для монтажа установки выбираем 4 столбчатых фундамента из листовой стали высотой h=100мм и размерами опорного листа 160х160мм в плане.

Крепление рамы установки на фундаменты производится болтами по ГОСТ 7798-70 2М10-6gх35 класса прочности 5.8 исполнения 2. Опорные листы рамы установки имеют отверстия диаметром 11мм.

Отверстия в фундаментах выполняются по разметке с шаблона присоединительных отверстий установки при помощи магнитной сверлильной машинки. После затяжки корончатых гаек ГОСТ 2528-73 они стопорятся шплинтами. Установка опреснительная поставляется собранной на раме, с установленными на нее амортизаторами. Это значительно снижает трудоемкость монтажных работ на судне.

.1 Условия эксплуатации

Запрещается эксплуатация установки в районах портов, пристаней, ремонтных баз, затонов, на мелководье и местах выхода ливневых, промышленных и бытовых канализационных стоков. Не допускается присутствие в воде, подаваемой на установку, различимых не вооруженным глазом организмов, взвешенных частиц и поверхностной пленки. Высокая мутность входной воды, присутствие нефтепродуктов и коллоидных загрязнений приводит к уменьшению производительности и селективности мембранного ДТ модуля, требует увеличения частоты проведения химических промывок, уменьшает срок службы и влечет за собой необходимость преждевременной замены модуля.

Работа опреснительной установки рассчитана на условия открытого моря с относительно чистой водой. Стандартные параметры воды - температура +25ºС и концентрация соли 36 г/л. Другие параметры воды требуют корректировки программы управления.

.2 Монтаж

Монтаж опреснительной установки начинают с обработки опорных поверхностей фундаментов. Допускаемая отклонение от общей плоскости этих поверхностей 0,2 мм.

Изготовление шаблона присоединительных отверстий рамы опреснительной установки, необходимой для их разметки на фундаменте.

Наносят на фундаменты оси крайних рядов отверстий от ДП к борту и вдоль ДП согласно монтажному чертежу опреснительной установки.

Через монтажный проем мостовым краном установить опреснительную установку на фундамент с выравнивающими прокладками.

Затянуть гайки на болтовых соединениях моментным ключом. Момент затяжки 50 Нм.


.3 Выбор оборудования, приспособлений, инструмента для монтажа установки

Машинка сверлильная магнитная МС 2

Машинка шлифовальная Makita 9911

Оптическая струна ДП- 477

Линейка - уровень MATRIX 1500

Ключ гаечный И-153 17 х 19 2 шт.

Пассатижи

Щуп пакетный

Ключ моментный КМ-ЗМП- 6,3-100

Опреснительный установка фундамент монтаж

Машинка сверлильная МС 2 используется для выполнения отверстий в крупногабаритных изделиях, фиксируется на поверхности сверления с помощью электромагнита.

Машинка шлифовальная Makita 9911 - ручной электрический инструмент с двумя барабанами и бесконечной лентой из наждачной бумаги. Используется для очистки и обработки плоских поверхностей.

Оптическая струна ДП-477 - устройство с лазерным лучом, позволяющее размечать осевые линии для отверстий на значительных расстояниях, контролировать плоскостность поверхностей.

Линейка - уровень MATRIX 1500 - инструмент высокой прямолинейности, снабженный мерительной шкалой и тремя жидкостными указателями уровня, установленными под углами 0º, 45º и 90º.

Щуп пакетный - складной набор 20 щупов разной толщины. Используется для проверки зазоров.

Ключ моментный - гаечный ключ со сменными головками и ручкой из пружинной стали. Радиальная шкала позволяет отслеживать момент затяжки гайки. Используется для ответственных соединений с контролируемой затяжкой.

5.4 Охрана труда при монтаже

До начала монтажа следует: установить и смонтировать все средства механизации работ - грузоподъемные машины и механизмы, предусмотренные проектом производства работ, подготовить необходимые инструменты, приспособления и материалы.

Грузоподъемные приспособления (траверсы, стропы и т.п.) должны быть рассчитаны, изготовлены и испытаны в соответствии с нормами и Правилами Госгортехнадзора РФ.

Монтажные проемы, оставленные в переборках и перекрытиях для транспортирования оборудования внутрь помещений, должны в нерабочее время быть закрыты.

6. Испытания и окраска

.1 Гидравлическое испытание

Гидравлическое испытание - необходимая процедура, свидетельствующая о надёжности оборудования и трубопроводов, работающих под давлением, в течение всего срока их службы, что крайне важно, учитывая серьёзную опасность для жизни и здоровья людей в случае их неисправностей и аварий.

В испытуемом оборудовании, трубопроводе или системе (контуре) создаётся пробное давление (во избежание гидроударов и внезапных аварийных ситуаций это производится медленно и плавно), превышающее рабочее на определяемую по специальным формулам величину, чаще всего на 25 %. При этом тщательно контролируют рост давления по двум независимым поверенным манометрам или каналам измерений, на этом этапе допускается колебание давления вследствие изменения температуры жидкости. В процессе набора давления в обязательном порядке должны быть приняты меры для исключения скопления газовых пузырей в полостях, заполненных жидкостью. Затем, в течение так называемого времени выдержки, оборудование находится под повышенным давлением, которое не должно падать вследствие неплотности испытуемого оборудования, что также внимательно отслеживается. После чего давление снижается до рабочего. На протяжении этих этапов персонал должен находиться в безопасном месте, нахождение рядом с испытуемым оборудованием строжайше запрещено. После снижения давления персонал проводит визуальный осмотр оборудования и трубопроводов в доступных местах в течение времени, необходимого для осмотра. В комбинированных сосудах с двумя и более рабочими полостями, рассчитанными на разные давления (например, в теплообменниках), гидравлическому испытанию должна подвергаться каждая полость.

.2 Оценка результатов

Оборудование и трубопроводы считаются выдержавшими гидравлические испытания, если в процессе испытаний и при осмотре не обнаружено течей жидкости и разрывов металла, в процессе выдержки падение давления не выходило за пределы, объясняемые колебаниями давления вследствие изменения температуры жидкости, а после испытаний не выявлено видимых остаточных деформаций.

.3 Пневматическое испытание

В случаях, специально оговоренных в проектной документации на испытуемое изделие или государственными правилами и стандартами, допускается замена гидравлических испытаний пневматическими. Чаще всего это разрешается при условии дополнительного обследования предприятием-изготовителем изделия другими методами неразрушающего контроля, например, сплошным ультразвуковым и радиографическим контролем основного металла и сварных соединений. В некоторых случаях пневматические испытания являются своеобразным подготовительным этапом перед гидравлическими. Они проводятся аналогично гидравлическим, иногда, при небольших давлениях и применительно к оборудованию со специфической конструкцией (например, теплообменникам), места, где могут быть неплотности, обрабатываются мыльным раствором. После повышения давления на местах, имеющих дефекты, вздуваются мыльные пузыри, что позволяет легко их обнаружить. Таким способом определяется плотность, но не прочность оборудования.

Список использованных источников

1.      Денисов Б.Н.; Иванов С.З.; Колодяжный В.В. Технология монтажа и ремонт судовых энергетических установок, Л., «Судостроение», 1973.

.        Башуров Б.П. Судовые водоопреснительные установки: учебное пособие. -М; В/О «Мортехногии» 1988.

.        УДК 639.2.061 Опреснительные установки промыслового флота, Лукин Г.Я.; Колесник Н.Н.; 1970 г.

Электронные ресурсы

.        Поисковая система [https://google.com]

.        Поисковая система [https://yandex.ru]

.        Поисковая система [https://mail.ru]

.        Интернет база рефератов [http://prodcp.ru]

5.      Электронная библиотека студента. Библиофонд [<http://www.bibliofond.ru/>]

.        Словари и энциклопедии [http://dic.academic.ru/]

.        Научная библиотека Севастопольского национального технического университета [<http://sevntu.com.ua/>]

Похожие работы на - Технология ремонта испарителя Д-5У

 

Не нашли материал для своей работы?
Поможем написать уникальную работу
Без плагиата!
Без нейросетей!