Проект водонагревательной установки непрерывного действия
Министерство
образования и науки Российской Федерации
ИРКУТСКИЙ
ГОСУДАРСТВЕННЫЙ ТЕХНИЧЕСКИЙ УНИВЕРСИТЕТ
Кафедра
теплоэнергетики
Допускаю
к защите
Руководитель__________
В.М. Картавская
Проект
водонагревательной установки непрерывного действия
ПОЯСНИТЕЛЬНАЯ
ЗАПИСКА
к курсовому
проекту по дисциплине
Тепломассообменное
оборудование предприятий
.007.00.00.ПЗ
Выполнил
студент группы ТЭ-10-1 _______ А.Ю. Голубев
Нормоконтроль
_______ В.М.Картавская
Иркутск
2013г.
Министерство
образования и науки Российской Федерации
ИРКУТСКИЙ
ГОСУДАРСТВЕННЫЙ ТЕХНИЧЕСКИЙ УНИВЕРСИТЕТ
ЗАДАНИЕ
НА КУРСОВОЕ
ПРОЕКТИРОВАНИЕ
По курсу
Тепломассообменное оборудование предприятий
Студенту гр. ТЭ-10-1 Голубеву А.Ю.
Тема проекта Проект водонагревательной установки
непрерывного действия. Вариант 7.
Исходные данные: Греющий теплоноситель - сухой
насыщенный пар: давление P1=0,7 МПа; температура конденсата t1к=tн=164,95
оС. Нагреваемый теплоноситель - вода: расход G2=40
кг/с; температура начальная t2н=40
оС; температура конечная t2к=150
оС. Вода - в трубах, пар - в межтрубном пространстве. Расположение труб -
вертикальное.
Рекомендуемая литература:
. Основные процессы и аппараты химической
технологии: пособие по проектированию/ под ред. Ю.И. Дытнерского. - М.: Альянс,
2008. - 493 с.
. Александров А.А., Григорьев Б.А. Таблицы
теплофизических свойств воды и водяного пара: справочник. - М.: Издательский
дом МЭИ. 2006. - 168 с.
. Лебедев П.Д. Теплообменные, сушильные и
холодильные установки: учебник. - М.: Энергия. 1972. - 317 с.
. Лебедев П.Д., Щукин А.А. Теплоиспользующие
установки промышленных предприятий (курсовое проектирование): учеб. пособие. -
М.: Энергия. 1970. - 407 с.
. СНиП 2.04.14-88*. Тепловая изоляция
оборудования и трубопроводов. - М: ГУП ЦПП, 2004. - 28 с.
. Тепломассообменное оборудование для
промышленных установок и систем теплоснабжения. Промышленный каталог
[Электронный ресурс]. - М.:ФГУП ВНИИАМ, 2004.
Графическая часть на 3 листах формата А 4 в ПЗ.
Дата выдачи задания " 22 " февраля
2013г.
Дата представления проекта руководителю "
15 " апреля 2013г.
Руководитель курсового проектирования
СОДЕРЖАНИЕ
ВВЕДЕНИЕ
. Расчет тепловой нагрузки аппарата
. Расчет теплового баланса аппарата
. Определение среднего
температурного напора
. Приближенная оценка коэффициентов
теплоотдачи, теплопередачи и поверхности нагрева
. Выбор кожухотрубчатого
теплообменника из стандартного ряда
. Выбор пластинчатого теплообменника
из стандартного ряда
. Гидравлический расчет
кожухотрубчатого теплообменника и выбор насосов
. Расчет тепловой изоляции
теплообменника
ЗАКЛЮЧЕНИЕ
СПИСОК ИСПОЛЬЗОВАННЫХ ИСТОЧНИКОВ
ВВЕДЕНИЕ
В данном проекте рассматриваются два вида
теплообменников.
Кожухотрубчатые теплообменники представляют
собой аппараты, выполненные из пучков труб, собранных при помощи трубных
решеток, и ограниченные кожухами и крышками со штуцерами. Трубное и межтрубное
пространства в аппарате разобщены, а каждое из этих пространств может быть
разделено при помощи перегородок на несколько ходов. Перегородки
устанавливаются с целью увеличения скорости, а следовательно, и интенсивности
теплообмена теплоносителей. Теплообменники этого типа предназначаются для
теплообмена между жидкостями и газами. В большинстве случаев пар (греющий
теплоноситель) вводится в межтрубное пространство, а нагреваемая жидкость
протекает по трубкам. Конденсат из межтрубного пространства выходит к
конденсатоотводчику через штуцер, расположенный в нижней части кожуха.
Другой вид - пластинчатые теплообменные
аппараты. В пластинчатых теплообменниках поверхность теплообмена образована
набором тонких штампованных гофрированных пластин. Эти аппараты могут быть
разборными, полу-разборными и неразборными (сварными).
В пластинах разборных теплообменников имеются
угловые отверстия для прохода теплоносителей и пазы, в которых закрепляются
уплотнительные и компонующие прокладки из специальных термостойких резин.
Пластины сжимаются между неподвижной и подвижной плитами таким образом, что
благодаря прокладкам между ними образуются каналы для поочередного прохода
горячего и холодного теплоносителей. Плиты снабжены штуцерами для присоединения
трубопроводов.
Неподвижная плита крепится к полу, пластины и
подвижная плита закрепляются в специальной раме. Группа пластин, образующих
систему параллельных каналов, в которых данный теплоноситель движется только в
одном направлении, составляет пакет. Пакет по существу аналогичен одному ходу
по трубам в многоходовых кожухтрубчатых теплообменниках.
Цель курсового проекта - выработка основных
умений и навыков расчета тепловых балансов теплообменных аппаратов, выполнения
теплового, поверочного и гидравлического расчетов оборудования и выбора
стандартного оборудования из каталогов, а также определение тепловых потерь и
эффективности оборудования.
В курсовом проекте необходимо:
рассчитать тепловую нагрузку теплообменников;
выполнить приближенную оценку коэффициентов
теплоотдачи, теплопередачи и поверхности нагрева;
выбрать теплообменники из стандартного ряда;
выполнить поверочный расчет теплообменников;
выбрать и рассчитать тепловую изоляцию;
выполнить гидравлический расчет и выбрать насосы
для подачи воды и возврата конденсата;
составить схему водонагревательной установки.
1.
Расчет тепловой нагрузки аппарата
Тепловая нагрузка, воспринимаемая нагреваемым
теплоносителем
,
где
− теплота, воспринимаемая
нагреваемым теплоносителем, кВт;
− расход нагреваемого
теплоносителя, кг/с;
−
теплоемкость при средней температуре нагреваемого теплоносителя, кДж/(кг∙К);
−
температуры воды соответственно на входе и выходе из теплообменника,
.
Средняя температура воды
,
где t2н=40 оС -
начальная температура нагреваемого теплоносителя; t2к=150 оС -
конечная температура нагреваемого теплоносителя.
Теплофизические свойства воды при
средней температуре
=95 °С по
[1-3]:
плотность ρ2=961,85
кг/м³;
теплоемкость С2=4,214 кДж/(кг·К);
теплопроводность λ2=0,6815
Вт/(м·К);
число Прандтля Pr2=1,85;
кинематический коэффициент вязкости ν2=0,3105·10-6
м2/с.
Тепловая нагрузка, воспринимаемая
нагреваемым теплоносителем
.
Тепловая нагрузка, отдаваемая
греющим теплоносителем
,
где η=0,95 - КПД
теплообменника, учитывающий потери теплоты в окружающую среду.
2. Расчет теплового
баланса аппарата
Уравнение теплового баланса
Расход греющего теплоносителя
тепловой баланс
пластинчатый кожухотрубчатый
где r=2065,6
кДж/(кг·К) при температуре насыщения tн=164,95 ºС и при
заданном давлении P=0,7 МПа из [3].
Теплофизические свойства конденсата
при tн=164,95 ºС из [1-3]:
плотность ρ1=902,35
кг/м³;
теплопроводность λ1=0,681
Вт/(м·К);
динамический коэффициент вязкости μ1=168,2·10-6
Па·с;
число Прандтля Pr1=1,075.
. Определение среднего
температурного напора
Греющий теплоноситель имеет постоянную
температуру на всем протяжении теплообменника, следовательно,
среднелогарифмические напоры при противотоке и прямотоке будут равны. Выбираю в
качестве схемы движения теплоносителей противоток.
Рисунок 1 - Изменение температур теплоносителей
вдоль поверхности теплообменника при противотоке
Определяем
-
соответственно большая и меньшая разности температур теплоносителей на концах
теплообменника:
Так как отношение Δtб/Δtм>4,5,
средний температурный напор при противотоке определяем по формуле
4. Приближенная оценка
коэффициента теплоотдачи, теплопередачи и поверхности нагрева
Принимаю ориентировочное значение коэффициента
теплопередачи Kор=1500 Вт/(м2·К)
из табл. 2.1 по [4].
Основное уравнение теплопередачи
откуда ориентировочная площадь
поверхности теплообмена
5. Выбор
кожухотрубчатого теплообменника из стандартного ряда
Из табл. 2.3 по [4] выбираю стандартный
кожухотрубчатый теплообменник со следующими параметрами (рис.2):
диаметр кожуха Dв=1000 мм;
диаметр труб и толщина стенки d×δ=20×2
мм;
число ходов z=2;
общее число труб n=1138;
высота труб H=4 м;
площадь поверхности теплообмена F=286 м2.
Расчет коэффициента теплоотдачи от стенки к воде
Скорость течения воды в трубах
Число Рейнольдса
где
- внутренний диаметр трубы.
Режим течения воды в трубках
турбулентный, так как Re2≥104, поэтому можно воспользоваться формулой для
определения числа Нуссельта по [4]
где εl=1 -
поправка, учитывающая отношение l/d так как l/d=200>50.
Коэффициент теплоотдачи от стенки к
воде
Расчет коэффициента теплоотдачи от
пара к стенке
Так как в теплообменнике происходит
конденсация пара на наружной поверхности вертикально расположенных труб,
использую следующую формулу коэффициента теплоотдачи от пара к стенке по [4]
Коэффициента теплопередачи
где
=0,002 м - толщина стенки,
Вт/(м·К) -
теплопроводность стали из табл. 1 из [1].
Требуемая площадь поверхности
теплообмена
Сопоставляю стандартную поверхность
теплообмена с требуемой
.
Подходит теплообменник с номинальной
поверхностью 286 м2 и запасом 22%. На рисунке 2 представлена схема этого
теплообменного аппарата. Условное обозначение 1000ТВК-7-М1-О/20-4-2 гр. А:
мм - диаметр кожуха; Т -
теплообменник; В - вертикальный; К - конденсатор; 7 ата (0,7 МПа) - давление в
трубном пространстве; М1 - материал группы 1; О - обыкновенного исполнения по
температурному ограничению; 20 мм - наружный диаметр труб; 4 м - высота труб; 2
- двухходовой по трубному пространству; гр. А - для нагрева и охлаждения не
взрывоопасных пожаробезопасных сред и сред, не обладающих токсичностью.
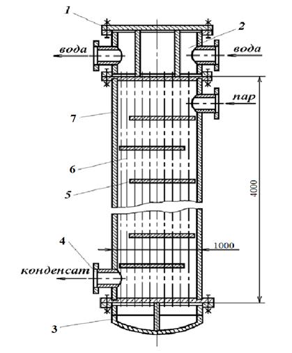
Рисунок 2 - Вертикальный
кожухотрубчатый двухходовой (по трубному пространству) теплообменник: 1 -
крышка распределительной камеры; 2 - распределительная камера; 3 - крышка; 4 -
штуцер; 5 - перегородка с сегментным вырезом; 6 - кожух; 7 - теплообменные
трубы
6. Выбор пластинчатого
теплообменника из стандартного ряда
Из табл. 2.13 и 2.14 по [4] выбираю стандартный
пластинчатый теплообменник с параметрами (рис.3):
площадь поверхности теплообмена F=200
м2;
площадь пластины f=0,6
м2;
эквивалентный диаметр канала dэ=8,3
мм;
приведенная длина канала L=1,01
м;
поперечное сечение канала S=0,00245
м2.
Скорость жидкости в каналах
где G2=40 кг/с -
расход нагреваемого теплоносителя; ρ2=961,85 кг/м3 - плотность
воды; N=340 шт. -
количество пластин аппарата; S=0,00245 м2 - поперечное сечение
канала.
Число Рейнольдса из [4]
где d=8,3 мм -
эквивалентный диаметр канала; μ2=300,5·10-6 Па·с - динамический
коэффициент вязкости воды.
Число Нуссельта
.
Коэффициент теплоотдачи к жидкости
из [4]
Для определения коэффициента
теплоотдачи от пара примем, что
>
. Тогда в каналах с приведенной
длиной
получим
формулу из [4]
где
кг/с - расход пара;
Па·с -
динамический коэффициент вязкости конденсата;
м2 - площадь поверхности теплообмена.
Коэффициент теплоотдачи от пара из
[4]
Вт/(м2·К).
Коэффициента теплопередачи
Требуемая поверхность теплообменника
Сопоставляю стандартную поверхность
теплообмена с принятой
Подходит теплообменник с номинальной
поверхностью 200 м2 и запасом 6,5%. На рисунке 3 представлена схема этого
теплообменного аппарата. Условное обозначение ТППР 0,6Е-200-1-2-10:
Т - теплообменник; П - пластинчатый;
ПР - полу-разборный; 0,6 м2 - площадь одной пластины; Е - тип пластин; 200 м2 -
площадь поверхности теплообмена; 1 - на консольной раме; 2 - марка материала;
10 - марка материала прокладки (стойкая резина СУ-359).
Рисунок 3 - Принципиальная
конструкция пластинчатого пакетного разборного теплообменника: I -
нагреваемый теплоноситель - вода; II - греющий
теплоноситель - пар
Сравнительный анализ теплообменных аппаратов
По результатам расчетов можно
выполнить сравнительный анализ теплообменных аппаратов (табл. 1). Пластинчатый
теплообменник является более выгодным в использовании, так как его коэффициент
теплопередачи
больше, чем
у кожухотрубчатого
.
Также пластинчатый теплообменник
более удобен в эксплуатации и транспортировки, из-за небольших габаритов. Длина
канала пластинчатого теплообменника L=1,01 м и площадь поверхности теплообмена F=200 м2
меньше, чем у кожухотрубчатого H=4 м и F=286 м2.
Таблица 1 - Сравнительный анализ
теплообменников
|
Вид
теплообменника
|
Площадь
поверхности теплообмена Коэффициент
теплопередачи Высота
трубок (длина канала)
|
|
|
|
кожухотрубный
|
286
|
1689,8
|
4,0
|
|
пластинчатый
|
200
|
2014,98
|
(1,01)
|
7. Гидравлический
расчет кожухотрубчатого теплообменника и выбор насосов
Расчет гидравлического сопротивления необходим
для определения затрат энергии на перемещение жидкостей и газов и подбора
насосов, используемых для перемещения. Гидравлическое сопротивление обусловлено
сопротивлением трения и местными сопротивленьями, возникающими при изменениях
скорости потока по величине или направлению. Потери давления и напора на
преодоление сопротивлений трения и местных сопротивлений определяются по
формулам из [4]:
Схема подключения теплообменника
изображена на рис. 4.
Рисунок 4 - Схема подключения
теплообменника: 1 - теплообменник; 2 - заборный бак; 3 - конденсатоотводчик; 4
- обратный клапан; 5 - насос
Гидравлический расчет
кожухотрубчатого теплообменника
Гидравлическое сопротивление в
трубном пространстве из [4]
где
- скорость жидкости в трубах из
п.5; L и dэк - длина и
эквивалентный диаметр трубопровода;
- сумма коэффициентов местных
сопротивлений в трубном пространстве.
Коэффициент трения при
(критерий
Рейнольдса
) можно
определить по формуле из [4]
где е=Δ/d -
относительная шероховатость труб; Δ=0,2 мм - высота
выступов шероховатостей.
Диаметр условного прохода штуцеров в
распределительной камере
табл. 2.6
из [4]. Скорость в штуцерах
В трубном пространстве учитываются
следующие коэффициенты местных сопротивлений потоку, движущемуся в трубном
пространстве:
- входная и выходная камеры;
- поворот между ходами;
- вход в трубы и выход из них.
Окончательная формула определения
гидравлического сопротивления в трубном пространстве из [4]
Гидравлическое сопротивление в
межтрубном пространстве из [4]
где m - число
рядов труб, омываемых теплоносителем в межтрубном пространстве; x=10 - число
сегментных перегородок (табл. 2.7 из [4]);
- скорость жидкости в межтрубном
пространстве.
Площадь в наиболее узком сечении
межтрубного пространства равна
. Скорость жидкости в межтрубном
пространстве
.
Диаметр условного прохода штуцеров
для межтрубного пространства
табл. 2.6 из [4]. Скорость в
штуцерах
Число Рейнольдса для межтрубного
пространства
В межтрубном пространстве
учитываются следующие коэффициенты местных сопротивлений потоку, движущемуся в
трубном пространстве:
- вход и выход жидкости;
- поворот через сегментную
перегородку;
- сопротивление пучка труб.
Окончательная формула определения
потерь давления в межтрубном пространстве
Гидравлический расчет трубопровода
нагреваемого теплоносителя
Общие потери напора определяются
формулой из [4]
где
- потери напора во всасывающей
линии;
- потери
напора в нагнетательной линии;
- гидравлическое сопротивление в
межтрубном пространстве.
Потери напора во всасывающей линии
по [4]
где
- коэффициент трения;
- длина
трубопровода;
-
эквивалентный диаметр трубопровода;
- сумма коэффициентов местных
сопротивлений.
Относительная шероховатость
Определение потерь на трения и
местные сопротивления. Критерий Ренольдса
т.е. режим течения турбулентный. В
турбулентном потоке различают три зоны: 


<
в нашем случае зона смешанного
трения. Коэффициент трения определяется по формуле из [4]
.
Значения коэффициентов местных
сопротивлений теплообменника:
- для входа в трубу с острыми
краями;
- для выхода из трубы.
Суммарный коэффициент местных
сопротивлений
.
Окончательная формула определения
потери напора во всасывающей линии
Потери напора в нагнетательной линии
из [4]
где
- коэффициент трения;
- длина
трубопровода;
-
эквивалентный диаметр трубопровода;
- сумма коэффициентов местных
сопротивлений.
На практике при перекачивании
насосами скорость воды в трубах рекомендуется принимать
. Диаметр
трубопровода круглого сечения рассчитывают по формуле из [4]
где V2 =Q2= G2/ρ2=40/962=0,042 м3/с.
Относительная шероховатость
Определение потерь на трения и
местные сопротивления. Критерий Ренольдса
т.е. режим течения турбулентный. В
турбулентном потоке различают три зоны:
в нашем случае зона автомодельная
по отношению к Re. Коэффициента трения определяется
по формуле из [4]
Значения коэффициентов местных
сопротивлений трубопровода
- обратный клапан;
- вход в трубу;
- выход из трубы.
Суммарный коэффициент местных
сопротивлений
Окончательная формула определения
потери напора в нагнетательной линии
Общие потери напора
Находим потребный напор насоса из
[4]
,
где p1 и р2 -
давление в аппарате, из которого перекачивается нагреваемая вода и давление в
аппарате, в который подается нагреваемая вода (принимаем p1=0,1МПа
(атмосферное); p2=0,4761 МПа при t2к=150 оС);
Нг=zH+hк=2∙4+0,4
= =8,4 м - геометрическая высота подъема жидкости, зависящая от высоты
аппарата, где hк - высота
соединения трубопровода конденсата.
Такой напор при заданной
производительности обеспечивается одноступенчатыми центробежными насосами,
выбираем для последующего рассмотрения именно эти насосы.
Полезную мощность насоса определим
по формуле [4]
.
Принимаем
и
(для
центробежного насоса средней производительности), найдем мощность на валу
двигателя из [4]
.
По табл. 1 приложения 1.1 из [4]
устанавливаем, что заданную подачу и напор будет обеспечивать центробежный
насос марки Х280/72, для которого при оптимальных условиях работы
, Н=62 м
вод.ст., ηн=0,7. Насос
обеспечен электродвигателем АО-102-4 номинальной мощностью Nн=160 кВт.
Частота вращения вала n=24,15 с-1.
Запас напора на кавитацию
.
Устанавливая насос в технологической
схеме, следует учитывать, что высота всасывания не должна превышать следующее
значение
где рt=7,384·103Па
- давление насыщенного пара перекачиваемой нагреваемой воды при температуре t2н=40 оС;
м/с -
скорость нагреваемой воды во всасывающем патрубке насоса;
- потеря
напора во всасывающей линии;
- запас напора на кавитацию.
Таким образом, расположение насоса
возможно на высоте
над уровнем
воды в емкости.
Гидравлический расчет трубопровода
конденсата
Потери напора в трубопроводе из [4]
где
- коэффициент трения;
- длина
трубопровода;
-
эквивалентный диаметр трубопровода;
- сумма коэффициентов местных сопротивлений.
На практике при перекачивании
насосами скорость конденсата в трубах рекомендуется принимать
. Диаметр
трубопровода круглого сечения рассчитывают по формуле
где Q1=V1= G1/ρ1=9,449/902,35=0,01 м3/с.
Относительная шероховатость
трубопровода
.
Определение потерь на трения и
местные сопротивления. Критерий Ренольдса
т.е. режим течения турбулентный. В турбулентном
потоке различают три зоны: 


в нашем случае зона автомодельная по
отношению к Re.
Коэффициент трения определяется по формуле из [4]
Значения коэффициентов местных
сопротивлений трубопровода:
- в прямоточных вентилях;
- для входа в трубу;
- для выхода из трубы.
Суммарный коэффициент местных
сопротивлений
Окончательная формула определения
потери напора в трубопроводе
Общие потери напора
Находим потребный напор насоса из
[4]
,
где p1 и р2 -
давление в аппарате, из которого перекачивается конденсат и давление в
аппарате, в который подается конденсат (принимаем p1=0,7 МПа; p2=0,7МПа);
Нг = zH+hк=2·4 + 0,4
= 8,4 м вод.ст. - геометрическая высота подъема жидкости, зависящая от высоты
аппарата, где hк - высота
соединения трубопровода конденсата.
Такой напор при заданной
производительности обеспечивается одноступенчатыми центробежными насосами,
выбираем для последующего рассмотрения именно эти насосы.
Полезную мощность насоса определим
по формуле из [4]
.
Принимаем
и
(для
центробежного насоса средней производительности), найдем мощность на валу
двигателя
.
По табл. 1 приложения 1.1 из [4]
устанавливаем, что заданную подачу и напор будет обеспечивать центробежный
насос марки Х45/54, для которого при оптимальных условиях работы Q=1,25·10-2
м3/с,
,
. Насос
обеспечен электродвигателем ВАО-31-2 номинальной мощностью
,
. Частота
вращения вала n=48,3 с-1.
Запас напора на кавитацию
Устанавливая насос в технологической
схеме над емкостью, следует учитывать, что высота всасывания не должна
превышать следующее значение
где рt=0,7·106 Па
- давление насыщенного пара перекачиваемого конденсата при температуре t2н=164,95
оС;
м/с -
скорость жидкости во всасывающем патрубке насоса;
- потеря
напора во всасывающей линии;
- запас напора на кавитацию.
Таким образом, расположение насоса
возможно на уровне конденсата в емкости.
Выбор конденсатоотводчика
Конденсатоотводчики предназначаются для
автоматического отвода конденсата из теплообменных аппаратов. Они должны
обеспечивать полную конденсацию пара в теплообменнике, а в некоторых случаях и
частичное переохлаждение конденсата.
В данном случае выбираем поплавковый
конденсатоотводчик со сферическим поплавком FLT 16. 1 1/2" - 2"; DN
40-50 с производительностью Q
= 0,085 м3/с и давлением пара 0,7 МПа. Это конденсатоотводчик второй группы
[6]. В схеме (рис. 4) конденсатоотводчик ставится после теплообменника.
8. Расчет тепловой
изоляции теплообменника
Расчет тепловой изоляции кожухотрубчатого
теплообменника необходим для определения толщины изоляционного слоя,
обеспечивающего предотвращение потерь теплоты в окружающую среду.
Диаметр кожуха составляет D
= 1000 мм, температура греющей среды в теплообменнике tн=164,95
оС. Принимаем толщину стенки аппарата 40 мм; теплопроводность материала стенки
(нержавеющая сталь) составляет λст=17,5
Вт/(м·К).
В качестве материала для изоляции принимаются
маты и вата из супертонкого стеклянного волокна без связующего (ТУ 21 РСФСР
224-87). Плотность конструкции ρ=60-80
кг/м3, теплопроводность λ=0,033+0,00014tm.
Применяется при температуре от -180 до +400оС, негорючая по [5].
Нормированная линейная плотность теплового
потока с 1 м длины цилиндрической теплоизоляционной конструкции составит qe=168,3
Вт/м; теплопроводность материала составит λk=0,033+0,00014tm=0,033+0,00014·102,475=
=0,04735 Вт/(м·К); К1=1,09 - коэффициент учитывающий изменение стоимости
теплоты и теплоизоляционной конструкции в зависимости от района строительства
по [5]; коэффициент теплоотдачи от наружной поверхности изоляции αе=12
Вт/(м2·оС).
Толщина теплоизоляционного слоя для
цилиндрических объектов с положительными температурами диаметром менее 2м
определяется по формуле из [5]
δ=d/2(В-1),
где В=di/d - отношение
наружного диаметра изоляционного слоя к наружному диаметру изолируемого
объекта; λk -
теплопроводность теплоизоляционного слоя, Вт/(м·оС), определяемая по [5]; αе -
коэффициент теплоотдачи от наружной поверхности изоляции, Вт/(м2·оС),
принимаемый по [5]; rtot - сопротивление теплопередачи на 1
м длины теплоизоляционной конструкции цилиндрических объектов диаметром менее
2м, (м·оС)/Вт; rm - термическое сопротивление стенки
трубопровода, (м·оС)/Вт; d - наружный диаметр изолируемого
объекта, м.
Сопротивление теплопередачи
где qe=168,3 Вт/м
- нормированная линейная плотность теплового потока с 1 м длины цилиндрической
теплоизоляционной конструкции, принимаемая по [5]; tw=164,95 oC -
температура вещества, tе=20 оС - температура окружающей
среды, принимаем согласно [5]; К1=1,09 - коэффициент, принимаемый по [5].
Термическое сопротивление
где dint =0,92 м -
внутренний диаметр изолируемого объекта; d=1000 мм=1 м
- наружный диаметр изолируемого объекта; λст=17,5 Вт/(м·оС) -
теплопроводность материала стенки.
=1,256.
Толщина теплоизоляционного слоя
δ=d/2(В-1) =
1000/2(1,256-1) = 128 мм.
Тогда диаметр изоляции составит di= Bd =
1,256·1000 =1256 мм, толщина изоляции δ = 128 мм.
Критический диаметр
=2·0,04735 /12=0,0079 м,
условие выполняется dкр<dтр.н -
изоляция пригодна.
Тепловые потери с поверхности
составляют
где
- площадь наружной поверхности
изоляционного слоя теплообменника, м2; tвн=164,95 оС
- температура на внутренней поверхности изоляции; tн=40 оС -
температура наружной поверхности изоляции.
Тепловые потери от величины
теплового потока составляют
пот/Q1=(148,6/19517500)·100%=0,0008%.
ЗАКЛЮЧЕНИЕ
В курсовом проекте был произведен тепловой
конструктивный расчет теплообменников для нагрева воды за счет теплоты
конденсации водяного пара. Была выбрана противоточная схема движения
теплоносителей.
В результате был выбран стандартный кожухотрубчатый
теплообменник 1000ТВК-7-М1-О/20-4-2 гр. А с конструктивными характеристиками
(рис. 2):
диаметр кожуха Dв=1000 мм;
число ходов z=2;
общее число труб n=1138;
высота труб H=4 м;
площадь поверхности теплообмена F=286 м2.
Запас площади поверхности теплообмена составил
22%.
Так же был выбран стандартный пластинчатый
теплообменник ТППР 0,6Е-200-1-2-10 с конструктивными характеристиками (рис.3):
площадь поверхности теплообмена F=200
м2;
количество пластин N=340
шт.;
площадь пластины f=0,6
м2;
эквивалентный диаметр канала dэ=8,3
мм;
приведенная длина канала L=1,01
м;
поперечное сечение канала S=0,00245
м2.
Запас площади поверхности теплообмена составил
6,5%.
Выполнен гидравлический расчет теплообменника с
учетом местных сопротивлений, а также потерь давления в трубопроводах, длина
которых принята самостоятельно.
Выбраны насосы для теплоносителей с учетом их
расхода и напора. Для нагреваемого теплоносители выбран насос Х280/72, для
конденсата Х45/54. Также выбраны для питания насосов электродвигатели АО-102-4
и ВАО-31-2 соответственно. Составлена схема водонагревательной установки (рис.
4).
Выбран поплавковый конденсатоотводчик со
сферическим поплавком FLT 16. 1 1/2" - 2"; DN
40-50 с производительностью Q
= 0,085 м3/с и давлением пара 0,7 МПа.
Выполнен расчет тепловой изоляции для
теплообменных аппаратов. В качестве материала для изоляции принимаются маты и
вата из супертонкого стеклянного волокна без связующего (ТУ 21 РСФСР 224-87).
Плотность конструкции ρ=60-80 кг/м3,
теплопроводность λ=0,033+0,00014tm.
Применяется при температуре от -180 до +400оС, негорючая. Толщина изоляции
составила 128 мм. Потери в окружающую среду составляют Qпот=0,0008%.
СПИСОК ИСПОЛЬЗОВАННЫХ ИСТОЧНИКОВ
1.
Авчухов В.В., Паюсте Б.Я. Задачник по процессам теплообмена: учеб. пособие для
вузов. - М.: Энергоатомиздат,1986. - 144с.
.
Картавская В.М. Теплообменное оборудование предприятий: лабораторный практикум.
- Иркутск: Изд-во ИрГТУ,2008. - 68 с.
.
Александров А.А., Григорьев Б.А. Таблицы теплофизических свойств воды и
водяного пара: справочник. - М.: Издательский дом МЭИ. 2006. - 168 с.
.
Основные процессы и аппараты химической технологии: пособие по проектированию/
под ред. Ю. И. Дытнерского. М.: Альянс, 2008. - 493 с.
.
СНиП 41-03-2003. СНиП 2.04.14-88* Тепловая изоляция оборудования и
трубопроводов. - М.:Госстрой России, 2003, М: ГУП ЦПП, 2004. - 28 с.
.
Трубопроводная арматура, контрольно-измерительные приборы. Конденсотоотводчики.
Промышленный каталог [Электронный ресурс]. - Донецк: ЗАО «Wise»,
2010. - Режим доступа: http://www.wise.dn.ua/adca/voz_condensat.html
(21 апреля 2013).