Техническое обслуживание и ремонт кранов машиниста №394 и №395

  • Вид работы:
    Курсовая работа (т)
  • Предмет:
    Транспорт, грузоперевозки
  • Язык:
    Русский
    ,
    Формат файла:
    MS Word
    228,52 Кб
  • Опубликовано:
    2014-10-19
Вы можете узнать стоимость помощи в написании студенческой работы.
Помощь в написании работы, которую точно примут!

Техническое обслуживание и ремонт кранов машиниста №394 и №395















ТЕХНИЧЕСКОЕ ОБСЛУЖИВАНИЕ И РЕМОНТ КРАНОВ МАШИНИСТА № 394 И 395

СОДЕРЖАНИЕ

Введение

. Краткая характеристика крана машиниста

1.1 Назначение

.2 Конструкция поездного крана машиниста усл. № 394 (395)

.3 Работа крана

.4 Технические данные краны машиниста

2. Ремонт и испытание кранов машиниста

2.1 Организация ремонта тормозного оборудования

.2 Основные приемы ремонта тормозных приборов

.3 Ремонт и испытания кранов машиниста усл. № 394 и 395

3. Требования техники безопасности при ремонте тормозных приборов

Заключение

Литература

ВВЕДЕНИЕ

Электровоз - локомотив, приводимый в движение находящимися на нем тяговыми электродвигателями, которые получают электроэнергию от стационарного источника - энергосистемы через тяговые подстанции и тяговую сеть от контактного провода либо от собственных тяговых аккумуляторных батарей. Выпускаются также комбинированные контактно-аккумуляторные электровозы, которые могут работать как от контактной сети, так и от аккумуляторной батареи. Подавляющее большинство находящихся в эксплуатации электровозов магистральных ж. д. являются неавтономными, т. е. не могут работать без контактной сети. На путях промышленных предприятий часто используются автономные электровозы, не зависящие от контактной сети. Для обеспечения маневровых работ наиболее подходящими являются контактно-аккумуляторные электровозы, которые используются также широко для обслуживания горных выработок, где прокладка контактного провода затруднена или невозможна. Таким образом, эксплуатируемые электровозы могут быть классифицированы по назначению, степени автономности, роду тока в тяговой сети; в зависимости от области использования и конструкции имеют ряд различных направлений.

Первые электровозы появились на ж.-д. транспорте в конце 19 в. как локомотивы, альтернативные паровозам. Развитие электротехники позволило создать мощные электродвигатели постоянного тока и двигатели переменного трехфазного тока. Были решены также проблемы генерирования электроэнергии и ее передачи по контактной сети. Идея реализации электрического локомотива с автономным или неавтономным питанием была высказана в первой половине 19 в., но первые практические результаты были получены в 1880 г. В России инженер Ф. А. Пироцкий установил электрический двигатель на пассажирском вагоне и провел первые опыты; в 1880 г. в Санкт-Петербурге был проложен для электровагона рельсовый путь. В том же году Э. В. Сименс в Германии и Т. А. Эдисон в США предложили свои конструкции. Новые локомотивы смогли заменить паровую тягу в специфических условиях эксплуатации ж. д.- в длинных тоннелях и на горных (перевальных) участках с большими уклонами. При этом проявились главные преимущества электровоза - отсутствие выбросов отработанных газов, возможность увеличения силы тяги путем форсировки тяговых электродвигателей на руководящем уклоне, реализация идеи рекуперативного торможения с возвратом энергии в тяговую сеть. Впоследствии область рационального применения электровозов существенно расширилась: их стали использовать и на равнинных участках с интенсивным движением поездов, где решающее значение имел высокий кпд самого электровоза (до 88-91%) и всей системы электрической тяги (до 30% при питании преимущественно от тепловых электростанций и до 50-60% при питании от гидроэлектростанций ).

Первые электровозы на российских ж. д. появились в 1929-1930 гг. в связи с электрификацией Сурамского перевала на Закавказской железной дороге (линия Баку-Батуми). На линии эксплуатировались закупленные в Италии, США, и Германии 6-осные электровозы постоянного тока 3 кВ, получившие обозначение С (с индексом, соответствующим стране-изготовителю). В России было налажено производство электровозов на Коломенском заводе совместно с московским заводом «Динамо», который начал выпускать тяговые электродвигатели и электрооборудование. В 1932 г. был выпущен первый отечественный грузовой электровоз сети Сс, впоследствии - ВЛ19 (цифра 19 указывает осевую нагрузку в т на рельсы). Этот принцип сохранялся в обозначениях электровозов ВЛ22 и ВЛ23, позже перешли к указанию числа осей (постоянного тока ВЛ8), а затем добавили букву «О», которая обозначала род тока (электровозы, работающие на однофазном токе), соответственно 6-осные и 8-осные локомотивы ВЛ60, ВЛ80 (позднее буква трансформировалась в ноль).

Электровозы, имеющие обозначение ВЛ, были предназначены для грузового движения, хотя довольно часто используются и для тяги пассажирских поездов. Конструктивная скорость электровозов ВЛ обычно не превышает 110 км/ч. В 70-е гг. был реализован переход на более мощные 12-осные электровозы на базе двух 6-осных секций, в каждой из которых кузов опирался на три 2-осные тележки (постоянного тока ВЛ15 и переменного тока ВЛ85, ВЛ86). Однако одновременно получила распространение и концепция более гибкого типажного решения, когда выпускались 4-осные секции, из которых можно было формировать тяговые единицы из 2-4 секций (постоянного тока ВЛ11М, переменного тока ВЛ80С). По мере расширения электрификации ж. д. наряду с грузовыми электровозами начался выпуск скоростных электровозов, параметры которых были приспособлены для тяги пассажирских поездов. Первый пассажирский электровоз, получивший наименование ПБ (Политбюро), был выпущен Коломенским заводом в 1934 г. Электровоз имел 6 осей, групповой привод колесных пар. Небольшие партии грузовых электровозов ВЛ19, ВЛ22, ВЛ60 выпускались с измененным передаточным отношением от тяговых двигателей на колесные пары, что позволяло использовать их в пассажирских сообщениях (с дополнительной буквой П, например ВЛ60П).

В начале 90-х гг. произошло значительное снижение перевозочной работы, вследствие чего потребность в сверхмощных электровозах сократилась, имевшийся парк электровозов стал вполне достаточным для выполнения перевозок; выпуск новых электровозов сократился. Электровоз ВЛ85, имевший наиболее отработанную конструкцию, начали выпускать в односекционном исполнении (ВЛ65). Для возможности использования электровоза в пассажирском сообщении было применено опорно-рамное подвешивание тяговых двигателей, в результате чего конструктивная скорость повысилась до 140 км/ч. Было предусмотрено электрическое отопление пассажирского поезда от электровоза. Такой электровоз фактически относится к классу универсальных - грузопассажирских.

Основу эксплуатируемого парка пассажирских локомотивов составляют 6-осные электровозы ЧС2 и ЧС2Т постоянного тока, электровозы ЧС4 и ЧС4Т переменного тока, а также 8-осные электровозы ЧС6, ЧС7 и ЧС200 постоянного тока и с такой же ходовой частью электровозы ЧС8 переменного тока. С середины 90-х гг. на магистральных ж. д. эксплуатируются скоростные пассажирские электровозы (1994 г.), 8-осные односекционные электровозы ЭП200, конструктивную скорость которых предполагалось довести до 250 км/ч, и упрощенная модификация такого электровоза на конструктивную скорость 160 км/ч. В 2001 г. в связи с развитием скоростного движения выпуск электровозов на максимальные скорости 200-250 км/ч увеличился. Основные пассажиропотоки в высокоскоростном пассажирском сообщении реализованы моторвагонными электропоездами. В сер. 90-х гг. были изменены обозначения новых электровозов: в обозначение грузовых электровозов ввели букву Э (например, Э1, Э2, ЭЗ и т.д.), а для пассажирских и универсальных - буквы ЭП, в частности электровоз ВЛ65 получил обозначение ЭП1, электровоз, выполненный на базе его механической части, с возможностью питания от сети как постоянного, так и переменного тока, ЭП10.

Заданием на письменную экзаменационную работу мне было предложено детально изучить назначение, конструкцию и работу поездного крана машиниста, а также, с учетом практических навыков, приобретенных во время прохождения производственной практики, описать технологический процесс его ремонта, правила техники безопасности и экономические вопросы.

1. КРАТКАЯ ХАРАКТЕРИСТИКА КРАНА МАШИНИСТА

.1 Назначение

Краны машиниста предназначены для управления прямодействующими и непрямодействующими тормозами подвижного состава.

К конструкции крана машиниста предъявляются следующие технические требования:

- для ускорения процесса зарядки и отпуска тормозов должно использоваться давление главных резервуаров;

- кран должен автоматически переходить с любого сверхзарядного давления в тормозной магистрали на зарядный уровень регулируемым темпом;

- при поездном положении ручки кран должен поддерживать требуемое заданное давление в тормозной магистрали;

- у крана должно быть положение перекрыши; желательно, два положения: с питанием и без питания утечек из тормозной магистрали;

- служебное торможение кран должен обеспечивать определенным темпом с любого уровня зарядного давления, как полное, гак и ступенчатое;

отпуск тормозов должен быть полным и ступенчатым;

- при отпуске в поездном положении ручки крана должна быть автоматическая зависимость между значением начального скачка давления в тормозной магистрали и предшествовавшей ступенью торможения;

- при экстренном торможении кран должен обеспечивать прямое сообщение тормозной магистрали с атмосферой.

1.2 Конструкция поездного крана машиниста усл. № 394 (395)

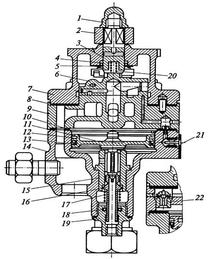
Поездной кран состоит из пяти пневматических частей: корпуса нижней части 1 (рис.1), редуктора зарядного давления 2, средней части 3, крышки 4, стабилизатора темпа ликвидации сверхзарядного давления 8 и электрического контроллера 6.

Конструкция пневматических частей поясняется на примере крана машиниста усл. № 395-000-2. В верхней части крана (рис.2) имеется золотник 6, соединенный стержнем 3 с ручкой 2 крана. Ручка крана закреплена контргайкой 1 и имеет на крышке 7 верхней части семь фиксированных положений. Стержень уплотнен в верхней части крышки манжетой 4.

Рис.1. Кран машиниста усл. № 395

Средняя часть 9 представляет собой чугунную отливку, верхняя часть которой является зеркалом золотника. В корпусе средней части запрессована бронзовая втулка, являющаяся седлом алюминиевого обратного клапана 22.

В нижней части корпуса 14 находятся пустотелый впускной клапан 16 и уравнительный поршень 11, хвостовик которого образует выпускной клапан. Уравнительный поршень уплотнен резиновой манжетой 13 и латунным кольцом 12. Впускной клапан прижимается к седлу 75 пружиной 17. Хвостовик впускного клапана уплотнен резиновой манжетой 18, установленной в цоколе 19.

Рис. 2 Верхняя, средняя и нижняя части крана машиниста

В нижнюю часть корпуса ввернуты четыре шпильки, которые скрепляют все три части крана через резиновые прокладки 8 и 10, а также сетчатый фильтр 21. Редуктор зарядного давления и стабилизатор темпа ликвидации сверхзарядного давления крепятся к корпусу нижней части крана.

Рис. 3 Редуктор

Редуктор (рис.3) предназначен для автоматического поддержания определенного зарядного давления в уравнительном объеме крана при поездном положении ручки. Редуктор состоит из двух частей: верхней - крышки 26 и нижней - корпуса 30, между которыми зажата металлическая диафрагма 28. В верхней части корпуса расположено седло 27 питательного клапана 25, пружина 24 и заглушка 23. В нижнюю часть ввернут регулировочный стакан 32, с помощью которого изменяется усилие регулировочной пружины 31 на опорную шайбу 29.

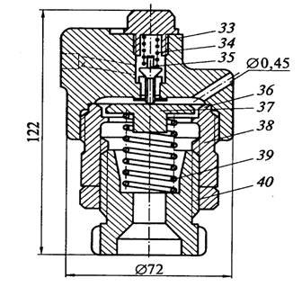
Стабилизатор (рис.4) предназначен для автоматической ликвидации сверхзарядного давления из уравнительного объема крана постоянным темпом при поездном положении ручки. Стабилизатор состоит из крышки 33 с калиброванным отверстием диаметром 0,45 мм, возбудительного клапана 35 с пружиной 34, металлической диафрагмы 36, пластмассовой упорной шайбы 37, корпуса 38, регулировочной пружины 39 и регулировочного стакана 40 с контргайкой.

Рис. 4 Стабилизатор

Особенностью кранов машиниста усл. № 395 всех модификаций является наличие контроллера (рис. 5), который в кранах № 395-000, 395-000-4 и 395-000-5 служит для одновременного управления пневматическими и электропневматическими тормозами. В кране усл. № 395-000-4 контроллер помимо управления электропневматическими тормозами служит для выключения тяговых двигателей и включения -пневматической песочницы при экстренном торможении, а в кране № 395-000-3 - только для выключения тяговых двигателей и включения песочницы при экстренном торможении.

Конструкции контроллеров кранов машиниста усл. № 395 отличаются числом микропереключателей, их расположением, числом проводов и типом штепсельного разъема. На кранах № 395-000-3 наружный диаметр контроллера меньше, чем на кранах других модификаций.

Краны машиниста № 395-000 с двумя микропереключателями и № 395-000-4 с тремя применяются на пассажирских локомотивах. Кран машиниста № 395-000-5 с двумя микропереключателями, включенными по схеме, отличной от схемы крана № 395-000, применяется на электро- и дизель-поездах, а кран машиниста № 395-000-3 с одним микропереключателем - на грузовых локомотивах. У кранов машиниста № 395-000, 395-000-4 и 395-000-5 положения V3 и VA совмещены. В положении ручки VA кроме управления электропневматическими тормозами происходит разрядка уравнительного резервуара темпом 0,5 кгс/см2 за 15...20 с.

Золотник крана машиниста усл. № 395-000 не имеет отверстия диаметром 0,75 мм, поэтому в положении V3 разрядки уравнительного резервуара и тормозной магистрали не происходит.

Рис. 5 Контроллер крана машиниста

.3 Работа крана

поездной кран машинист ремонт

Положения ручки крана и соответствующие им управляющие действия представлены в таблице № 1

Таблица № 1. Положения ручки крана машиниста

Положение ручки крана

Управляющее действие при пневматическом торможении

I - отпускное

Прямое сообщение питательной магистрали с тормозной

II - поездное

Автоматическое поддержание в тормозной магистрали заданного давления. Автоматическая ликвидация сверхзарядки

III - перекрыша без питания

Перекрыша без питания тормозноймагистрали (уравнительный резервуар сообщен с тормозной магистралью)

IV - перекрыша с питанием

VA - служебное торможение

Служебное торможение с разрядкой тормозной магистрали медленным темпом (0.5 кгс/см2 за 15-20 с)

V - служебное торможение

Торможение со служебной разрядкой тормозной магистрали с 5 до 4 кгс/см2 за 4-6 с

VI - экстренное торможение

Разрядка тормозной магистрали в атмосферу с 5 до 1 кгс/см2 за время около 2,5 с


.4 Техническая характеристика крана машиниста

Масса, кг……………………………………………22,2

Объем уравнительного резервуара, л……………..20

Диаметр уравнительного поршня, мм…………….100

Автоматичность перехода с 6,0 до 5,8, с………80-120

Время зарядки магистрального резервуара 55 л, с

при I положении до 0,5 МПа……………………..1,5

при II положении до 0,48 МПа……………………3,0

Чувствительность в поездном положении, МПа/см2..0,015

2. РЕМОНТ И ИСПЫТАНИЕ КРАНОВ МАШИНИСТА

.1 Организация ремонта тормозного оборудования

Ремонт тормозного оборудования подвижного состава производится на вагоноремонтных заводах, в вагонных депо, локомотиворемонтных заводах, в локомотивных и моторвагонных депо. Тормозные отделения депо и заводов, а также контрольные пункты автотормозов (АКП) должны быть оснащены необходимым оборудованием и приспособлениями согласно технологическому процессу. Конструкции приспособлений, измерительных приборов и испытательных стендов должны быть едиными для всех пунктов, ремонтирующих тормозное оборудование. Испытательные стенды обеспечиваются сжатым воздухом давлением не менее 7 кГ/см2.

Контрольные пункты автотормозов (АКП) имеют два отделения: компрессорное с разводящим воздухопроводом и ремонтное.

Непосредственно около здания АКП размещают главные воздушные резервуары объемом не менее 5 м3, предназначенные для поддержания постоянного давления в воздухопроводной сети.

Ремонтное отделение должно иметь отдельные помещения для наружной очистки, разборки и промывки, а также помещение для ремонта и испытания тормозных приборов. В помещении для очистки и разборки должна быть универсальная установка для обмывки тормозных приборов, верстаки с пневматическими приспособлениями для разборки, ванны, трубопровод для продувки деталей сжатым воздухом и специальные устройства для транспортировки разобранных приборов в ремонтное отделение Ремонтное отделение в зависимости от технологического процесса снабжается приспособлениями для разборки, ремонта, притирки, сборки и испытания отдельных узлов (подкомплектов) Здесь же имеется набор специальных инструментов, контрольный инструмент и ванны для промывки мелких деталей перед сборкой. Притирочные и доводочные станки устанавливают согласно технологическому процессу. Каждый слесарь-автоматчик должен иметь набор инструмента в соответствии с выполняемым видом работ и чертежи, необходимые при ремонте, выписки из технических условий и технологических карт. Рабочее место оборудуется соответствующими приспособлениями и содержится в порядке и чистоте.

.2 Основные приемы ремонта тормозных приборов

Технологический процесс ремонта тормозных приборов в АКП или автоматном цехе включает в себя следующие основные операции: наружную очистку; разборку с очисткой деталей; осмотр деталей для определения объема ремонта с проверкой размеров, а в отдельных случаях с испытанием узлов; ремонт деталей или узлов; сборку узлов и их испытание в подкомплекте; окончательную сборку прибора; испытание, регулировку и маркировку.

Основные приемы ремонта деталей и узлов. Для притирки золотников, поршневых колец и клапанов применяют пасты ГОИ, которые изготовляют трех сортов: грубая - темно-зеленого (черного) цвета; средняя - темно-зеленого цвета и тонкая - светло-зеленого цвета. Применение той или иной пасты определяется состоянием поверхности деталей, требующих притирки.

В основном применяется средняя паста ГОИ. Московский тормозной завод для предварительной притирки деталей рекомендует пасту № 28, а для окончательной доводки - № 14.

Способ приготовления пасты № 28 следующий. Касторовое масло (6-8%), олеиновую кислоту (1,5-2,0%) и техническое сало (17-20%) подогревают до полного растопления последнего, затем при непрерывном помешивании всыпают небольшими порциями абразивный микропорошок № 28. После охлаждения смесь готова к употреблению. Пасту № 14 приготовляют аналогично, но вместо микропорошка № 28 всыпают микропорошок № 14 в той же пропорции. Можно применять притирочные пасты МПС. Для смазки золотников, поршней и других трущихся деталей тормозных приборов используют смазку ЖТ (№ 4а или ЖТКЗ-65; для смазки пробок и уплотнения резьбовых заглушек - смазку № 15 или ЖД-1. Технологические заглушки, которые при ремонте не вывертывают, ставят на белилах или сурике.

Антикоррозионное покрытие необработанных чугунных деталей производится нитроэмалью № 624 или нитроглифталевым грунтом.

Дефекты чугунного литья допускается устранять следующими способами:

- постановкой запрессованных или резьбовых пробок на сурике или цинковых белилах при условии, что диаметр пробки не должен превышать толщины стенки;

- опрессовкой магнитной окисью железа (при небольших утечках и пузырениях).

Дефекты литья из цветных сплавов устраняют пайкой и лужением или опрессовкой бакелитовым лаком.

Ниже дано описание основных приемов ремонта деталей и узлов, наиболее часто встречающихся в различных тормозных приборах.

Втулки золотниковые и золотники.

В зависимости от состояния рабочих поверхностей втулок и золотников производят либо выверку их на плитах для удаления рисок, забоин и завалов, либо притирку по месту. Плоскость втулки выверяют абразивным бруском или притиром с пастой. Рекомендуется пользоваться круглым алюминиевым притиром. Золотники выверяют на вращающемся круге (медном, алюминиевом или стеклянном) с грубой пастой. Окончательная доводка производится на стеклянных или алюминиевых плитах. Выверка плоскостей втулок и золотников требует большого навыка и высокой квалификации. На некоторых АКП эта операция механизирована. Правильность доведенных плоскостей проверяют лекальной линейкой и лопаткой. В этом случае притирать золотник по месту не требуется.

Вместо окончательной доводки можно применять притирку по месту сразу после выверки. В этом случае проверку лекальной линейкой и лопаткой не производят; качество притирки определяют по внешнему виду сопрягаемых поверхностей. Перед сборкой втулку и золотник тщательно промывают в керосине, продувают сжатым воздухом, наносят тонкий слой смазки и протирают сухой салфеткой. Только после этого можно производить окончательную смазку и сборку.

Втулки поршневые и уплотнительные кольца.

Риски и овальность до 0,2 мм на рабочей поверхности поршневой втулки устраняют шлифовкой при помощи приспособления, состоящего из разъемного поршня с чугунным разрезным кольцом. При рисках и овальности, больших 0,2 мм, втулку растачивают или развертывают по установленным ремонтным градациям (не менее 0,25 мм по диаметру), а затем шлифуют кольцом

В запасные части поставляются кольца следующих размеров по наружному диаметру (в мм): 100,0 ± 0,7 и 100,2 ± 0, 7.

Перед пригонкой нового кольца ручей поршня калибруют. Кольцо без поршня вставляют в поршневую втулку, при этом зазора в замке не должно быть. Затем кольцо в разъемном поршне предварительно шлифуют в цилиндрической чугунной оправке, а по толщине (плоскости) - на притирочном диске (станке). Правильность пригонки кольца проверяют перекатыванием его по пазу поршня. После этого кольцо тщательно промывают, протирают и вставляют в паз поршня плотно, но без заедания. Кольцо в сборе с поршнем притирают по втулке без абразива (с бензином), а затем промывают втулку и поршень в керосине, смазывают и испытывают на плотность на приспособлении. Поршень должен свободно перемещаться во втулке в обе стороны без заедания под усилием, указанным в инструкции.

Клапаны. Ремонт клапанов с мягким уплотнением заключается в смене или зачистке резинового или кожаного кольца (клапана) и зачистке седла клапана. Клапан легким нажатием пальца прижимают к седлу, при этом на прокладке должен получиться ровный отпечаток от седла. Односторонний отпечаток указывает на перекос плоскости клапана относительно его направления; такой клапан должен быть исправлен. При смене резинового уплотнения необходимо тщательно обезжирить место в клапане, куда оно ставится, затем смазать их резиновым клеем № 88-Н, дать несколько подсохнуть и после этого запрессовывать. Металлические клапаны (торцовые и конические) при наличии рисок, забоин и большого износа предварительно выверяют фрезами (зенкерами), а затем притирают по месту при помощи штопора или дрели. Клапан вращают в обе стороны, приподнимая после каждого полуоборота. Притирку продолжают до тех пор, пока на поверхности клапана и седла не образуется непрерывная полоса шириной не более 1 мм.

Резиновые изделия. Климатические условия в России требуют от тормозных приборов стабильной работы при температурах ±60° С. Для обеспечения таких требований необходимо, чтобы исходные материалы, применяемые в тормозах, особенно резиновые изделия и смазка, обеспечивали нормальную работу при этих температурах в течение не менее пяти лет. Наблюдаются случаи, когда резко снижается морозостойкость резиновых изделий через 2-3 года эксплуатации, а смазка разлагается и затвердевает. Получить одновременно высокую морозостойкость и маслостойкость в манжетных уплотнениях до сего времени не удалось. Задача полностью решается в диафрагменно-клапанных конструкциях, где смазка не применяется и за счет некоторого повышения маслонабухания (до 10%) можно увеличить морозостойкость (до -67°С), что значительно повысит срок службы между ремонтами (до двух лет) и стабильность работы приборов. Для резиновых изделий установлены следующие сроки их работы после изготовления: манжеты и диафрагмы воздухораспределителей - 3 года, прокладки - 4 года; воротники тормозных цилиндров - 5 лет.

Резиновые манжеты кольцевого типа в сборе на поршне должны быть по наружному диаметру больше диаметра цилиндра, в который их вставляют, на 1-4 мм, а по диаметру пятки меньше диаметра этого цилиндра на 1-4 мм. Фетровое смазочное кольцо после очистки пропитывают в масле МВП; оно должно выступать из поршня по диаметру на 1-3 мм.

Пружины тормозных приборов изготовляют из стальной углеродистой проволоки и закалке не подвергают.

Проверку пружин при ремонте желательно производить не по линейным размерам (высоте), а по их усилию в рабочем состоянии. Для регулировки усилий пружин в приборе разрешается ставить металлические шайбы. Осевшие пружины допускается раздавать до нужного размера, но с обязательной последующей нормализацией при температуре 300-325° С в течение 15 мин; закалка пружин не допускается.

Пружины, регулируемые в приборах, например пружина редуктора, по высоте и усилиям могут не проверяться.

.3 Ремонт и испытания крана машиниста усл. № 394 и 395

Ремонт и испытание кранов машиниста усл. № 394 и 395 производят по единой технологии и одним техническим условиям, за исключением стабилизатора. Уравнительный резервуар должен быть объемом 20 л. Ремонт верхней и промежуточной частей крана в основном заключается в притирке золотника.

В нижней части притирают кольцо уравнительного поршня и клапаны. Уравнительный поршень в сборке должен перемещаться под усилием не более 4 кГ. Плотность поршня считается достаточной, если падение давления из резервуара объемом 8 л с 5 до 3 кГ/см2 будет происходить не менее чем за 60 сек (без резиновой манжеты). Редуктор после притирки питательного клапана и сборки регулируют и испытывают на приспособлении, проверяя плотность притирки питательного клапана и чувствительность работы.

Рис.6 Приспособление для испытания редукторов

Стабилизатор регулируют и испытывают на приспособлении, схема которого показана на рис. 7. Падение давления в резервуаре объемом 1 л с 6,0 до 5,5 кГ/см2 должно происходить за 20-23 сек. При более быстром падении давления необходимо ослабить пружину стабилизатора, а при медленном - подтянуть ее винтом.

Рис.7 Стенд для испытания стабилизаторов

В контроллере проверяют крепление микровыключателей, вращение роликов, состояние рычага с пружиной толкателя, пайку проводов и качество изоляции. Выводные концы разрешается паять припоем ПОС-40 без кислоты. Контакты должны иметь зазор в разомкнутом состоянии не менее 7 мм и усилие нажатия не менее 0,5 кГ. Подгара на контактах не должно быть.

После проверки узлов кран собирают и испытывают на стенде, схема которого изображена на рис. 8.

При давлении в напорной сети по манометру ГР не ниже 7 кГ/см2 кран должен обеспечивать:

Рис.8. Схема стенда для испытания кранов машиниста усл. № 394 и 395

-наполнение магистрального резервуара 6 до 5 кГ/см2 при II положении ручки крана за время не более 4 сек и уравнительного резервуара объемом 20 л для кранов усл. № 394 и 395 за 30-40 сек;

- питание во II и IV положениях ручки крана при утечке из магистрали через кран 5 с отверстием диаметром 2 мм, при этом величина снижения давления должна быть не более 0,15 кГ/см2;

- темп служебной разрядки магистрали с 5 до 4 кГ/см2 за 4-6 сек;

- переход с завышенного давления в магистрали с 6 до 5,8 кГ/см2 за 60-100 сек; - плотность уравнительного резервуара при IV положении в течение 3 мин (падение давления не более 0,1 кГ/см2);

- отсутствие питания при нахождении ручки крана в III положении и утечке из магистрали через отверстие диаметром 2 мм.

Работу контроллера проверяют по горению ламп: в I и II положениях должна гореть лампа О, при переводе из II положения в положение III лампа О должна гаснуть и загораться лампа П, в III и IV положениях горит лампа /7, при переводе из IV в положение IVA без разрядки уравнительного резервуара лампа П гаснет и загорается лампа Т, в положениях V и VI горит лампа Т. Возможные неисправности кранов машиниста и способы их устранения приведены в табл. 2.

Таблица №2

Признаки неисправности

Причины неисправности

Способы устранения

При служебном торможении, давление в уравнительном резервуаре с 5 до 4 кГ/см2 понижается за время более 6 сек

Засорено калиброванное отверстие в зеркале золотника. Пропуск уравнительного поршня

Самопроизвольное понижение давления в уравнительном резервуаре при IV положении ручки крана

Утечки в соединениях уравнительного резервуара

Устранить утечки в соединениях уравнительного резервуара

Непрерывный пропуск воздуха в атмосферное отверстие между отростками крана при II положении

Пропуск (засорение) пустотелого клапана или пропуск манжеты в цоколе

Клапан очистить и притереть по месту к втулке и хвостовику уравнительного поршня, манжету расправить и смазать

При II положении ручки крана медленный переход с повышенного давления в магистрали на нормальное

Пропуск питательного клапана редуктора. Неправильная регулировка стабилизатора

Притереть питательный клапан редуктора. Отрегулировать пружину стабилизатора

Медленная или быстрая зарядка уравнительного резервуара

Несоответствие размера калиброванного отверстия в средней части

Восстановить отверстие диаметром 2,5 мм

  При включении главного выключателя не загорается лампа О

Перегорела лампа или предохранитель. Поврежден блок управления

Сменить лампу или предохранитель

В III, IV и V положениях лампа О про должает гореть, а лампа П или Т не загорается

Неплотно прилегает контактная панель блока управления. Поврежден блок управления

Закрепить стягивающие болты блока управления. Проверить блок управления

В III, IV и V положениях лампа П или Т не загорается

Сгорел предохранитель постоянного тока Неисправен блок управления. Поврежден контрольный или рабочий провод

Сменить предохранитель. Проверить блок управления и устранить неисправность проводов

При III и IV положениях не горит лампа П или при V и VI положениях не горит лампа Т

Большая качка ручки крана на квадрате стержня. Ослабление крепления микровыключателей или сдвиг их на панели. Обрыв проводов к микровыключателям

Закрепить ручку крана и микровыключатели. Устранить обрыв проводов

3. ТРЕБОВАНИЯ ТЕХНИКИ БЕЗОПАСНОСТИ ПРИ РЕМОНТЕ АВТОТОРМОЗНОГО ОБОРУДОВАНИЯ

Работники производственных участков обязаны:

Выполнять только ту работу, которая поручена мастером и при условии, что безопасные приемы ее выполнения хорошо известны. В сомнительном случае обратиться к мастеру.

Быть внимательным, не отвлекаться на посторонние дела и разговоры, не отвлекать других работающих.

Работать только исправным инструментом. Инструмент хранить в переносном инструментальном ящике или сумке.

При групповой работе каждый работающий должен принимать положение, безопасное для себя и не угрожающее безопасности другого.

При транспортировке узлов и деталей пользоваться только специальными грузозахватными приспособлениями. Запрещается пользоваться поврежденными или немаркированными грузозахватными приспособлениями и тарой. Во всех случаях перед подъемом груза убедиться в том, что груз надежно закреплен. Для этого поднять груз на 200-300 мм от поверхности, проверить правильность крепления и натяжения строп. При обнаружении неправильной и ненадежной зацепки груза опустить его и произвести строповку вновь. Помнить, что удерживать стропы, соскальзывающие с груза при его подъемке или транспортировке, а также направлять их ударами молотка или лома запрещается.

При перемещении груза в горизонтальном направлении, он должен быть поднят не менее чём на 0,5м выше встречающихся препятствий. Необходимо следить за тем, чтобы в зоне транспортировки не было людей, сопровождать груз сзади, находясь в безопасной зоне.

С воздушными, сварочными и водопроводными шлангами, с электрическими проводами обращаться аккуратно, не допускать их перегибов, запутывания, пересечения с тросами, другими шлангами.

Похожие работы на - Техническое обслуживание и ремонт кранов машиниста №394 и №395

 

Не нашли материал для своей работы?
Поможем написать уникальную работу
Без плагиата!
Без нейросетей!