|
Марка
Стали
|
Тип
Рельса
|
С
|
Mn
|
Si
|
Не
более
|
ГОСТ
|
|
|
|
|
|
P
|
S
|
As
|
|
|
М76
|
Р75,
Р65
|
0,69-0,82
|
0,75-1,05
|
0,13-0,28
|
0,035
|
0,045
|
0,15
|
8160-63
|
|
М75
|
Р50
|
0,67-0,80
|
0,75-1,05
|
0,13-0,28
|
0,035
|
0,045
|
0,15
|
6944-63
|
|
НБ67
|
Р50
|
0,58-0,75
|
0,60-1,00
|
0,15-0,30
|
0,070
|
0,060
|
-
|
16852-71
|
Углерод, применяемый в оптимальных размерах,
обеспечивает общую прочность рельсов на изгиб, твердость и износостойкость. С
повышением содержания углерода увеличивается хрупкость рельсов. Марганец и
кремний повышают твердость и износостойкость. Фосфор создает хладноломкость
стали. Сера создает красноломкость, повышающую повреждаемость рельсов при их
изготовлении. Мышьяк повышает твердость и износостойкость стали.
Распределение металла по сечению должно
обеспечивать возможность доброкачественного изготовления рельсов. Для повышения
срока службы рельсов, что имеет чрезвычайно важное значение для линий с высокой
грузонапряженностью, производится термическая обработка (закалка) рельсов,
увеличивающая этот срок в полтора раза.
.2 Шпалы
Подрельсовые основания могут выполняться в виде
отдельных опор (шпал), продольных лежней, рам и плит. Их основное назначение:
воспринимать давление от рельсов и передавать на балластный слой; сохранять
неизменность ширины колеи и совместно с балластом - правильность и неизменность
положения колеи в пространстве. В подавляющем большинстве случаев применяются
шпалы.
Материалом для шпал служат дерево, железобетон и
металл. На сети железных дорог мира преобладают деревянные шпалы (80-85%).
Шпалы укладывают в путь в строго
определенном порядке. Схема расположения шпал на звене (рис. 1.2.1) называется
эпюрой шпал. На эпюре обозначено: l - длина
рельса, a -
промежуточный пролет, c - стыковой и b -
предстыковой. Принято b = a; при
известном с будет а =
, где n - число
шпал на звене.
Рисунок 1.2 - Схема расположения
шпал на звене
Поперечное сечение деревянных шпал
устанавливается исходя из следующих соображений:
) верхняя постель шпалы должна быть
достаточной для размещения на ней путевых подкладок (однако нецелесообразно,
чтобы подкладки были уже верхней постели шпал во избежание образования
замкнутых вдавленостей древесины под подкладкой, способствующих задерживанию
влаги; лучше даже, если подкладки будут несколько свисать со шпалы);
) нижняя постель должна быть
достаточно широкой, чтобы давление на балласт было умеренным, и не должна быть
чрезмерной, чтобы можно было легко уплотнять балласт под шпалами (например,
подбивкой);
) толщина шпал должна обеспечивать
ей необходимые моменты инерции и сопротивления с учетом износа и гниения шпал и
производства необходимого ремонта их в период эксплуатации;
) форма шпал должна быть такой,
чтобы при выработке их из бревен (тюлек) отходы древесины были минимальными и
могли быть употреблены для других целей.
Шпалы по действующему стандарту
(рис. 1.3) делятся на обрезные, у которых пропилены все четыре стороны, и
необрезные, у которых пропилены только постели. И те и другие в зависимости от
размеров делятся на три типа. Шпалы I типа
предназначены для главных путей, II типа - для станционных и
подъездных путей, III типа - для малодеятельных путей
промышленных предприятий. По качеству древесины шпалы делятся на два сорта.
Наилучшей форой деревянных шпал
является прямоугольная.
Рисунок 1.3 - Стандартные деревянные
шпалы
Для железобетонных шпал применяют
предварительно напряженный бетон. Их армируют стержневой, прядевой и
проволочной арматурой. Железобетонные шпалы делятся на цельнобрусковые и
составные.
Современная железобетонная шпала -
цельнобрусковая из предварительно напряженного железобетона, армированная
высокопрочной проволокой, должна соответствовать требованиям ГОСТ 10629-88 и ТУ
5864-019-11337151-95.
Одновременно поперечное сечение
шпалы имеет трапецеидальное очертание с шириной по верху 160 - 170 - 182 мм, а
по низу 250 - 300 мм. Точное развитие опорной поверхности у шпалы снижает
давление на балласт и его деформации, особенно у краев балластной призмы, где
сопротивление выдавливанию балласта наименьшее. При этом увеличивается
сопротивляемость пути сдвигу в поперечно направлении и выбросу, что особенно
важно для бесстыкового пути.
.3 Соединение и пересечения
рельсовых путей
Подавляющая часть стрелочных
переводов - одиночные обыкновенные стрелочные переводы. Такой перевод состоит
из четырех основных частей:
1) стрелка с переводным механизмом;
2) острая крестовина с контррельсами;
) соединительная часть (между стрелкой и
крестовиной);
) комплект переводных брусьев.
Стрелка состоит из двух рамных рельсов и двух
остряков с соответствующими корневыми устройствами и скреплениями. Крестовина
состоит из сердечника и двух усовиков. Тангенс угла б крестовины называется
маркой крестовины и стрелочного перевода и обозначается 1/N,
где N - число марки.
Математическим центром или математическим острием С острой крестовины
называется точка пересечения продолжения рабочих кантов сердечника крестовины.
Горлом, или горловиной, крестовины называют сечение, где расстояние между
рабочими кантами усовиков минимально (место первого перегиба усовиков).
Промежуток от горла до практического острия крестовины, на котором гребни колес
не направляются рельсовыми нитями, называется вредным пространством.
Направление колес на этом участке осуществляется контррельсами, являющимися при
этом непременным дополнением к крестовине.
По форме в плане крестовины обыкновенных
переводов могут быть прямолинейные и криволинейные. В обыкновенном стрелочном
переводе крестовина имеет криволинейное направление на боковой путь (по
продолжению переводной кривой). При одной и той же длине стрелочного перевода
криволинейные крестовины дают возможность увеличить радиус переводной кривой
(например, со 190 до 300 м при марке 1/9). Устройство их сложнее, чем
прямолинейных крестовин. Кроме того необходимо иметь отдельно крестовины с
левым и правым криволинейным кантом, а для симметричных переводов - двумя
криволинейными кантами. В криволинейной крестовине маркой называется тангенс
угла между касательными к ее рабочим кантам в ее конце.
Теоретической длиной Lт
одиночного обыкновенного стрелочного перевода называется расстояние, измеренное
от острия остряка до математического центра острой крестовины. Полной
(практической) длиной Lп
называется расстояние от начала рамных рельсов до конца крестовины.
.4 Балластный слой
Основным назначением балластного слоя является:
) обеспечивать устойчивость рельсошпальной
решетки в пространстве под воздействием как вертикальных, так и горизонтальных
поперечных и продольных сил без накопления или с минимальным накоплением
остаточных деформаций;
) передавать давления, воспринимаемые от шпал,
на возможно большую площадь основной площадки земляного полотна наиболее
равномерно;
) участвовать в обеспечении достаточной
упругости подрельсового основания;
) дренирование атмосферных вод или исключение их
проникновения в балласт.
Балластный слой должен обладать необходимой
несущей способностью в любой метеорологической обстановке, не допускать
появления выплесков и разжижений, предохранять основную площадку от увлажнения.
Материал для балласта должен быть прочным и устойчивым под нагрузкой, не
дробиться и не крошиться под уплотнением, быть атмосфероустойчивым, не пылить
при проходе подвижного состава, не размываться водой, не прорастать травой,
обладать диэлектрическими свойствами, быть долговечным и дешевым. Расходы по
устройству и содержанию, ремонту пути в части балластного слоя, должны быть
минимальными.
Материалами для балласта служат: гравий, песок,
шлаки, ракушка и т.д. Большое распространение получает асбестовый балласт.
Поперечные профили наиболее часто встречающихся
типов балластного слоя указаны на рисунке 1.4. Однослойная балластная призма из
гравийного и песчано-гравийного балласта имеет плечо е = 20 см и толщину слоя
под шпалой а = 35 см; для призмы из асбестового балласта или щебня
соответственно е = 25 см и а = 45 см при деревянных шпалах и а = 50 см - при
железобетонных шпалах и легком типе верхнего строения. При более тяжелых типах
эти размеры увеличиваются: для каждого типа е увеличивается на 10 см и а - на 5
см.
Рисунок 1.4 - Балластная призма
.5 Ширина рельсовой колеи
Рельсовая колея определяется своей шириной,
положением рельсовых нитей по уровню и подуклонкой рельсов.
Верх головок рельсов обеих нитей на прямых
участках пути должен быть в одном уровне; разрешается отклонения +5 мм.
Допускается содержание на всем протяжении прямой одной рельсовой нити на 5 мм
выше другой для снижения виляющего движения экипажей на прямых.
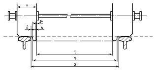
На рисунке 1.5 показана колесная пара,
находящаяся на рельсовой колее. В связи с тем, что ширина колесной пары q
меньше ширины колеи S, на прямой
между рельсовыми нитями и гребнями колес образуются зазоры, обеспечивающие
возможность виляющего движения колесной пары (тележки, экипажа) на прямой.
Этому способствует коничность колес, составляющая в средней части поверхности
катания колеса 1:20, из-за чего и рельсы на прямых участках стоят не
вертикально, а с наклоном внутри колеи также 1:20.
Рисунок 1.5 - Расположение колесной пары на
рельсовой колее
Рельсовая колея своим геометрическим очертанием
и положением в пространстве должна надежно обеспечивать безопасность и
бесперебойность движения поездов с установленными скоростями и строго
соответствовать ходовым частям подвижного состава и, в частности, колесным
парам.
Шириной колеи называется расстояние между
внутренними гранями головок рельсов, которое измеряют на 13 мм ниже поверхности
катания колес по головке рельса.
Самой распространённой в мире стала так
называемая «стефенсоновская» (она же «европейская», она же «стандартная» (по
английски - Standard
gauge, а по немецки - Normalspur)
колея: 1435 мм. Общая протяжённость линий «нормальной» свыше 720 тысяч
километров - расстояние кратное 18 экваторам земли. Впервые такая колея была
применена Джорджем Стефенсоном на его первой железной дороге, а затем
распространилась на большую часть Европы и, наконец, стала де-факто стандартом.
Предельные отклонения на прямых и в кривых по
уширению +6 мм; по сужению -4 мм. На участках, где установлена скорость 50 км/ч
и менее, допускаемые отклонения не должны превышать по уширению +10 мм, по
сужению -4 мм.
На линиях с колеей 1524 мм допускаемые
отклонения на прямых и кривых участках пути не должны превышать по уширению +6
мм, по сужению -4 мм.
На существующих линиях до их перевода на колею
1520 мм допускается следующая ширина колеи, мм:
на прямых и кривых радиусом 350м и более - 1524;
в кривых радиусом 349-300 м - 1530;
в кривых радиусом 299 и менее - 1540.
На некоторых участках с колеей 1524 мм может
допускаться следующая ширина колеи, мм, в кривых при радиусах:
650-450 м - 1530;
449-350 м - 1535;
349м и менее - 1540.
На участках со скоростями движения 140 км/ч и
менее отводы отклонений по ширине колеи не должны превышать 1 мм на 1 м пути, а
при скоростях более 140 км/ч - 1 мм на 1,5 м пути. Уширение получают сдвижкой
внутренней нити в пределах переходной кривой.
Определение ширины колеи
Оптимальная ширина рельсовой колеи определяется
по следующей формуле:
(1.1)
где
- максимальная ширина колесной пары,
=1509 мм;
- величина стрелы изгиба
- поперечный разбег, мм

(1.2)

мм
Определим расстояние от оси колесной
пары до точки касания гребня с рельсом;
(1.3)
- длина жесткой базы,
=3000 мм
АВ=2(
+b)=2(3000+25,04)=6050
мм (1.4)
(1.5)
Таким образом, требуемая минимальная
допустимая ширина рельсовой колеи кривой радиусом 210 м, полученная расчетом
для пропуска электровоза ВЛ80С не противоречит требованиям ПТЭ.
2. Виды ремонтов пути. Путь и
путевое хозяйство
На сети ЖД дорог принята структура
управления путевым хозяйством.
Основные предприятия путевого
хозяйства - это дистанции пути, обязанность которых текущее содержание пути,
земляного полотна, искусственных сооружений, а также частичный их ремонт, и
путевые машинные станции, выполняющие основные объемы ремонтных работ на этих
объектах. При необходимости часть контингента привлекается на снегоборьбу.
Главные производственные
подразделения дистанций пути и ПМС- околотки, отделенческие и укрепленные или
специализированные бригады ремонтных колонн. Руководят этими подразделениями
дорожные мастера и бригадиры пути.
Дистанции пути имеют
производственные базы, являющиеся основой механизированного способа работ,
выполняемых этими предприятиями.
Дистанции пути имеют мастерские, где
производится техническое обслуживание и ремонт средств механизации,
изготовляется и ремонтируется путевой инструмент, материалы ВСП. В мастерских
имеются гаражи для автотранспорта, помещение для отстоя и ремонта
снегоуборочной техники и путевых машин, кроме того, гаражи для автотранспорта,
дрезин, шпалоподбивочных машин, хранения другой техники строятся на участках и
околотках. Для ремонта и обслуживания дефектоскопных и путеизмерительных
средств также отводятся специальные помещения. Для выгрузки, хранения и
комплектации материалов ВСП, кроме балласта, имеются механизированные
дистанционные или участковые базы, которые оснащаются кранами грузоподъемностью
5 т. За базой закрепляются средства для транспортировки материалов к месту
работ и вывозки оттуда старогодных. Для хранения горючесмазочных материалов на
станции оборудуются специальные пункты.
На производственных базах МПС
выполняется большой комплекс работ: разгрузка и хранение материалов, сборка и
разборка путевой решетки, ремонт шпал, средств механизации, формирование
укладочных и разборочных поездов. В настоящее время базы оснащены
полуавтоматическими линиями для сборки новой и старогодной путевой решетки,
разборки снятых с пути звеньев.
Текущее содержание пути - комплекс
организационно-технических мер, обеспечивающих исправное состояние
железнодорожного пути: осмотры, контроль состояния элементов верхнего строения
пути, искусственных сооружений и земляного полотна и выполнение путевых работ.
Основной задачей текущего содержания пути
является содержание его в пределах норм и допусков, установленных действующими
Правилами Технической Эксплуатации железных дорог и Инструкцией по текущему
содержанию железнодорожного пути в соответствии с чертежами сооружений.
Цель текущего содержания пути - предупреждение
неисправностей, продление сроков службы элементов пути поддержание его в чистом
и опрятном состоянии.
Текущее содержание пути осуществляется в течение
года и на всем протяжении пути, включая и участки, где проводится ремонт пути.
Все работы по текущему содержанию пути и надзор
за сооружениями выполняют путевые бригады, бригады по содержанию искусственных
сооружений и земляного полотна, работники, осуществляющие дефектоскопию
рельсов, обходчики железнодорожных путей и искусственных сооружений, дежурные
по переездам.
Виды, объемы и сроки производства работ
устанавливаются с учетом времени года и местных условий бригадиром пути
совместно с дорожным мастером при осмотре пути в пределах околотка. По
полученным данным составляется план работы монтеров пути на рабочем отделении и
околотке в целом.
Объемы работ по текущему содержанию пути зависят
от грузонапряженности участка, скорости движения поездов и их веса, нагрузки на
ось колесной пары, а также от конструкции пути, состояния земляного полотна,
плана и профиля линии, режима ведения поездов.
Путевые работы по текущему содержанию пути
делятся на неотложные и планово-предупредительные.
Неотложные работы направлены на ликвидацию
появившихся неисправностей вследствие возникновения дефектов или износа рельсов
и шпал, засорения балластной призмы, изменения ширины колеи, превышающего
допустимое, нарушения плана профиля пути и др. Такие работы выполняют по результатам
контрольных проверок или после осмотра пути либо при обнаружении неисправности
(например, замена остродефектного рельса), либо в течение нескольких ближайших
дней (например, устранение перекосов, перешивка пути). Текущее содержание
земляного полотна включает осмотр откосов, укрепительных, защитных и
водоотводных сооружений, дренажных устройств, очистку отстойников смотровых
колодцев выпусков, прочистку два кюветов, лотков, планировку обочин, а также
ликвидацию последствий небольших сплывов откосов нагорных канав, откосов
насыпей и выемок. Зимой производят исправление профиля пути в местах пучин
земляного полотна с постановкой рельсовых нитей на деревянные или фанерные
прокладки.
Планово-предупредительные работы направлены на
предотвращение неисправностей пути и уменьшают объёмы неотложных работ. Их
производят выборочно: позвенно, попикетно, по километрам в зависимости от вида
работ и состояния пути. Для выполнения планово-предупредительных работ, в том
числе, в горловинах станционных путей на станциях, применяются
выправочно-подбивочно-рихтовочные машины, используются клеммо-болтовые машины
для смазки болтов и завинчивания гаек (производительность 0,6-1,2 км пути в 1
ч), рихтованные машины, балластно-распределительные машины для равномерного
распределения балласта по сечению пути и в продольном направлении
(производительность 3 км/ч) и др. Планово-предупредительные работы выполняются
укрупнёнными бригадами из 20 и более монтёров пути.
.1 Капитальный ремонт подъездного
железнодорожного пути
Наиболее трудоемкая и сложная работа -
капитальный ремонт пути. Его задача - усиление или оздоровление всего верхнего
строения пути и лечение земляного полотна. Все работы при ремонтах пути
разделяются на предварительные, подготовительные, основные и отделочные.
При капитальном ремонте основные работы - смена
рельсошпальной решетки, очистка и усиление балластного слоя с подъемкой пути на
балласт и подбивкой шпал.
При наиболее прогрессивном комплексном методе
все основные работы выполняются одновременно в «окно».
Поточный способ рекомендуется для использования
при капитальном ремонте пути в связи с возможностью комплексной механизации и
автоматизации работ, при этом бригады делятся на группы по числу
последовательно выполняемых операций. Все работы производятся в одном темпе,
равном темпу ведущей работы, группы монтеров пути вступают в работу и
заканчивают ее последовательно одна за другой. Однако в условиях ПЖД большие
затраты времени на развертывание и свертывание работ не имеют существенного
значения, так как имеется возможность закрывать перегоны на длительное время
(смену и более).
Технологические процессы путевых работ
составляют исходя из максимального и наиболее эффективного применения машин,
механизмов, различных приспособлений, повышающих производительность труда. Для
улучшения организации и технологии работ, снижения времени занятия перегонов,
улучшения использования машин и механизмов путевые работы большого объема
подразделяются:
Подготовительные;
Основные;
Заключительные (отделочные).
Большое значение при составлении технологических
процессов имеет выбор методов и способов производства работ и расстановка
рабочей силы.
Расчет технологического процесса капитального
ремонта производится следующим образом.
Составление схем формирования рабочих поездов.
Определяем длину первого поезда:
, м, (2.1)
где
- длина путеукладчика УК-25;
- длина порожней платформы;
- длина моторной платформы;
- длина локомотива.
, (2.2)
где
- фронт работ по ремонту пути в
«окно», м;
- длина одного звена, м;
- количество звеньев в пакете, для
Р75 - 4 звена;
К - количество платформ занятых
одним пакетом, при рельсе длиной 25 м, К = 2.
платформ.
Тогда длина первого поезда
м
Длина второго рабочего поезда
определяется аналогичным образом, следовательно
м.
Длина третьего рабочего поезда,
состоящего из дрезины и платформы находится по формуле
, м, (2.3)
где
- длина дрезины;
- длина платформы.
м.
Длина четвертого рабочего поезда,
состоящего из хопперов-дозаторов ЦНИИ-ДВЗ и электровоза ВЛ80с, определяется по
формуле
, м, (2.4)
где
- количество щебня, подлежащее
выгрузке из хоппер-дозаторов;
- емкость кузова хоппер-дозатора;
- длина одного хоппер-дозатора;
- длина жилого вагона для
обслуживающего персонала.
Следовательно, длина четвертого
рабочего поезда будет
м.
Длина пятого рабочего поезда, в
который включен локомотив и выправочно-подбивочно-отделочная машина ВПО-3000 с
пассажирским вагоном для обслуживающего персонала, определяется
, м, (2.5)
где
- длина ВПО-3000;
- длина вагона.
м.
Общая длина рабочих поездов составит
м.
Определяется время продолжительности
окна
, мин, (2.6)
Продолжительность «окна»
складывается из времени затраченное на выполнения определенных операции.
Время на оформление закрытия
перегона по типовым технологическим процессам составляет 5 мин.
Время на проход щебнеочистительной
машины от станции к месту определяется по формуле
, мин, (2.7)
где L - расстояние от станции до
места работы на перегоне;
v - скорость
следования на перегон щебнеочистительной машины.
мин
Тогда
мин.
Время зарядки щебнеочистительной
машины обычно составляет не более 15 мин, то
, мин, (2.8)
где
- время на начало разборки пути;
- поправочный коэффицент.
мин.
Интервал между началом очистки щебня
машиной ЩОМ-Д и выправки пути вслед за ней определяется временем, необходимым
для того, чтобы машина очистила щебень до начала выправки пути.
, мин, (2.9)
где
- равно длине одного звена;
- рабочая скорость движения машины
ЩОМ-Д
мин.
Интервал между началом выправки пути
и началом разболчивания стыков определяется следующим образом.
мин.
Интервал между началом разболчивания
стыков и началом разборки пути путеразборщиком определяется временем,
необходимым для разболчивания стыков на участке.
,мин, (2.10)
где
=284,34м,
,
где
- количество болтов, подлежащих
снятию;
- количество стыков пути,
подлежащих разболчиванию, на длине фронта работ;
- количество болтов в стыке пути.
Объем работ составляет
чел.-мин
Время на выполнения всего объема
работ
мин, следовательно, бригада должна
иметь состав
чел.
фронт работ
м.
Итак, интервал между началом
разболчивания стыков и началом разборки пути
мин.
Интервал между началом разборки и
началом укладки пути путеукладчиками определяется по формуле
мин.
Интервал между началом укладки пути
и началом постановки накладок и сболчивания стыков определяется временем.
, мин, (2.11)
где
- длина 4-х осных платформ при
путеукладчике, загруженных пакетами;
- время укладки одного звена.
мин.
Интервал между началом постановки
накладок со сболчиванием стыков и началом рихтовки пути определяется по
формуле.
, мин. (2.12)
Фронт работ бригады по постановке
накладок со сболчиванием стыков
определяется по формуле.
, м, (2.13)
где
, подставим в формулу выше, получим
выражение
, м, (2.14)
где
- затраты труда на постановку
накладок и сболчивания стыков;
- количество рабочих, занятых на
одном стыке пути;
- время, необходимое на постановку
накладок и сболчивания стыков;
- фронт работы бригады рихтовщиков.
м.
мин.
Время
,необходимое для рихтовки пути на
длине фронта работ в «окно» находится по формуле.
мин
Интервал между окончанием рихтовки
пути и окончанием выгрузки щебня из хоппер-дозаторов обусловлен длиной состава
хоппер - дозаторов, т.е
, мин,
где
- длина равная
;
- скорость выгрузки щебня.
мин.
Интервал между окончание выгрузки
щебня и окончанием выправки пути машиной ВПО-3000 определяется по формуле.
, мин, (2.15)
где
- скорость машины ВПО - 3000;
- разрыв между составом хоппер -
дозаторов и машиной ВПО - 3000;
- длина машины ВПО - 3000 вместе с
локомотивом.
мин.
Время
, затрачиваемое на разрядку машины
ВПО - 3000, принимаем 5 мин.
Время
на оформление открытия перегона
принимают 5 мин.
Общая необходимая продолжительность
«окна» составит:
мин.
Принимаем продолжительность «окна»
ч.
3. Земляное полотно
Земляное полотно - один из важных
элементов пути, представлено инженерными сооружениями, выполненными из грунта и
основанными на грунте. Оно бывает в виде насыпей, выемок и нулевых мест. На
косогорах встречаются также полунасыпи, полувыемки и полунасыпи-полувыемки, у
которых основная площадка образована частично подсыпкой, частично врезкой в
грунт земной поверхности.
Поперечным профилем земляного
полотна называется сечение, перпендикулярное его продольной оси. Поперечный
профиль показывается на ширину всей полосы отвода.
Земляное полотно должно быть
прочным, устойчивым и долговечным, требующим минимум расходов на его
устройство, содержание и ремонт и обеспечивающим возможность широкой
механизации работ. В отношении содержания и ремонта это особенно важно в
малообжитых и необжитых районах с суровым климатом. Одной из причин
безусловности выполнения указанных требований является то, что земляное полотно
в системе путевого хозяйства представляет наиболее фондоемкую часть: в основных
фондах путевого хозяйства стоимость земляного полотна составляет 29 %.
Поверхность земляного полотна и
полосы отвода должны быть спланированы так, чтобы вода нигде не застаивалась, а
имела свободный и быстрый отток от земляного полотна в стороны или в
специальные водоотводные устройства.
Если это условие где-нибудь
нарушится, то земляное полотно неизбежно подвергнется деформации, которая может
создать угрозу безопасности движения поездов.
На конструкции и содержание
земляного полотна влияет характер климата. Климат районов строительства в
зависимости от среднегодовой температуры воздуха делится на:
суровый при температуре ниже -2оС;
холодный - от -2 до + 1оС;
умеренный - от +2 до +5оС;
теплый - более +5оС.
Грунты делятся на скальные и
нескальные.
Скальные грунты подразделяются на
слабовыветривающиеся, легковыветривающиеся неразмягчаемые и
легковыветривающиеся размягчаемые.
Различают поперечные профили
земляного полотна: типовые - нормальные (обычные) и специальные (региональные),
индивидуальные и грунтовые.
Типовые нормальные поперечные
профили применяют без расчетов лишь привязывая их к конкретным местным
условиям. Эти профили проверены многолетним опытом их использования при
устройстве земляного полотна с рабочими отметками, не превышающими 12 м, при
прочном основании с поперечным уклоном местности не круче 1:3 и из обычных
грунтов. Нормальные поперечные профили насыпей применяют при косогорности
основания не круче 1:5 в случае скальных пород основания и 1:3 при нескальных
однородных грунтах основания.
Специальные типовые поперечные
профили применяются аналогично нормальным, но отличаются от них тем, что
являются типовыми лишь для вполне определенных районов - распространения
подвижных песков, лессов, скальных пород, болот глубиной до 3-4 м и т.д.
Типовые поперечные профили
установлены действующими техническими условиями и нормами.
Индивидуальные поперечные профили
проектируются для конкретных объектов земляного полотна, обосновываются данными
детальных инженерно-геологических обследований и необходимыми расчетами; они
требуются для устройства земляного полотна в сложных топографических,
гидрологических, геологических, гидрогеологических и климатических условиях при
применении гидромеханизации, разработки выемок взрывами и при высоте откосов
более 12 м.
Групповые поперечные профили
земляного полотна занимают промежуточное положение между индивидуальными и
типовыми. Они разрабатываются для участков со сложными, но многократно
повторяющимися на данной линии природными условиями и требуют индивидуального
обоснования.
.1Деформации земляного полотна
Деформации земляного полотна
возникают в следующих случаях: при недостаточной несущей способности грунтов,
из которых оно возведено; несоответствии мощности верхнего строения пути
нагрузкам от обращающегося подвижного состава; при недостаточной защите грунтов
земляного полотна от неблагоприятных воздействий климатических и инженерно-геологических
факторов (оползней, селей, наводнений). Низкое качество содержания земляного
полотна, когда не обеспечивается отвод поверхностных и грунтовых вод,
несвоевременно устраняются мелкие повреждения защитных и укрепительных
устройств, не ликвидируются причины снижения несущей способности грунтов, и
другие нарушения приводят к перерастанию мелких повреждений в опасные
деформации, угрожающие безопасности движения поездов.
Деформации земляного полотна -
изменения формы либо размеров земляного полотна или его частей, снижающие
эксплуатационные качества ж.-д. пути. Являются следствием воздействия внеш.
нагрузок, изменения влажности и пр.; дефектов земляного полотна, недостаточной
прочности грунтов; слабой конструкции верхнего строения пути.
Существует несколько классификаций -
подразделяются на четыре группы.группа - деформации основной площадки:
балластное корыто - углубление под шпалой в глинистых грунтах, из которых
сложена основная площадка, заполненная балластными материалами; балластное ложе
- углубление под несколькими шпалами в глинистых грунтах основной площадки,
вытянутое вдоль пути, иногда имеющее продольный уклон; балластный мешок -
значит, углубление (несколько метров вдоль пути) в глинистых грунтах земляного
полотна, не имеющее стока; балластные гнёзда - балластные мешки или ложа,
имеющие один или несколько отростков-карманов, заполненные балластными
материалами; выпирание грунтов в выемке - оседание или поднятие основной
площадки вследствие резкого изменения напряжённого состояния в пластичных
грунтах; пучины - искажения положения рельсовых нитей в продольном и поперечном
профилях в виде горбов, впадин, перепадов вследствие неравномерного морозного
пучения грунтов; весенняя пучинная просадка - интенсивное нарастание местных
искажений рельсовой колеи в продольном и поперечном профилях в результате
осадок (просадок) оттаивающих грунтов земляного полотна под поездными
нагрузками на участках с большим (более 40-60 мм) равномерным пучением.группа -
деформации откосов: смывы - поверхностные нарушения откосов насыпей и выемок
атм. водами или в результате промерзания и оттаивания грунта в виде не
сплошного смещения верхних слоев грунта («русловая система»); сплывы откосов
выемок, насыпей, глубоких канав в виде смещения верх, слоев грунта толщ. 1-2 м
с сохранением общей устойчивости откоса; оползание откоса выемки - перемещение
масс грунта вниз под влиянием силы тяжести из-за нарушения общей устойчивости
откоса; оползание откосов насыпи или полунасыпи - отслоение откосной части с
захватом основной площадки и иногда грунтов основания насыпи; разрушение
откосных частей у основания выемок или насыпей из-за выноса мелких частиц
грунта грунтовыми водами (суффозионное разрушение); осыпи - перемещения под
действием силы тяжести и атм. вод деревянно-шебенистых продуктов выветривания с
поверхности откосов или склонов к их подошве; вывалы одиночных скальных
обломков из откосов и склонов в целом устойчивого скального массива; обвалы
значит, объёмов пород из скальных откосов и склонов вследствие нарушения их
общей устойчивости; обрушения отдельностей отвесных лёссовых откосов.группа -
деформации тела земляного полотна: смещение насыпей - медленное одностороннее
поперечное движение тела насыпи по наклонному основанию вследствие перемещения
глыбового развала (курума); расползание насыпи - медленное смещение откосных
частей насыпи, сопровождаемое оседанием основной площадки и изменением её
поперечного очертания; сдвиг (сползание) насыпи или её части по наклонному
основанию (на косогоре, на наклонном минер, дне болота, на оттаивающем
наклонном мёрзлом основании); оседание насыпи - медленное опускание основной
площадки без боковых смещений из-за уплотнения грунтов тела земляного полотна
или основания.группа - деформации основания земляного полотна: оползень -
скольжение масс грунта по подстилающему грунту в сторону понижения рельефа без
опрокидывания и падения; оседание основания насыпи - медленное вертикальное
перемещение земляного полотна без боковых смещений, вызываемое уплотнением
слабых толщ, залегающих под подошвой насыпи; провалы - быстропротекающие
деформации земляного полотна (на болотах с торфяной коркой, над карстовыми
пустотами, в местах суффозионного разрушения основания), приводящие, как
правило, к полному или частичному его разрушению; просадка над горной выработкой
- вертикальное перемещение основания земляного полотна, вызываемое сдвижением
горных пород в местах шахтной добычи полезных ископаемых.
Неблагоприятные природные
воздействия вызывают также следующие Д. з. п. и его устройств: размывы канав и
кюветов паводковыми или ливневыми водами с уносом материала защитных одежд,
откосов и дна; размыв подтопляемых откосов и тела насыпи - разрушение
укреплений, унос грунта течением, волнами, ударами льдин; заиливание кюветов и
канав - постепенное заполнение их живого сечения грунтами, смываемыми с откосов
и близлежащих территорий и перемещаемыми паводковыми и ливневыми водами;
повреждение основания насыпей оврагами - уменьшение ширины берм у подошвы
откоса или отколы части основания под откосной частью насыпи вследствие размыва
и обрушения бортов оврага; завалы пути или отверстий искусств. Сооружений
селевыми выносами, образование промоин земляного полотна или подмыв откосов
селевыми потоками; завалы пути снегом, разрушение искусств. сооружений снежными
обвалами или лавинами; повреждение пути наледями - накопление льда в канавах
(кюветах), на верхнем строении пути, в водопропускных трубах, под мостами
вследствие замерзания грунтовых вод, изливающихся зимой на поверхность (в р-нах
с суровым климатом); развевание песчаных откосов и бровок земляного полотна и
песчаные заносы пути - унос ветровыми потоками мелкопесчаных частиц из
земляного полотна, а также перенос и отложение их в водоотводы, на откосы (в
пустынных районах).
Распространены следующие дефекты
земляного полотна: завышенная крутизна откосов, зауженная основная площадка,
недопустимая упругая осадка пути под поездной нагрузкой, недостаточность защиты
от неблагоприятных природных воздействий, погребённые под балластными
материалами кюветы, аккумулирующие воду.
4. Устройство пути на прямолинейных и
криволинейных участках
.1 Расчет укладки укороченных рельс
При переходе движущейся материальной точки из
прямой непосредственной в круговую кривую внезапно появляется центробежная
сила. Рассмотрим непосредственный переход из прямой в кривую движущегося с
постоянной скоростью V
экипажа, который на рис. 3.7 показан своей продольной осью EF.
Точками А и В обозначены шкворни передней и задней тележек, а точками Е и F
- передний и задний тамбуры ипажа ю экипажа тояной ый переход из прямой в
кривуюепосредственной в круговую кривую внезапно появляется центробежная сила.
_экипажа, движущегося в сторону, показанную стрелкой.
Рисунок 5 Схема прохождения тележкой круговой
кривой
Пока обе тележки экипажа находятся на прямой,
центробежная сила отсутствует. Как только шкворень А дойдет до начала круговой
кривой Т, пассажир или груз, находящийся над этим шкворнем, внезапно
подвергнется воздействию поперечного ускорения (V2:R).
В любом месте D экипажа (вдоль его
оси) в этот момент также внезапно возникнут ускорения, которые будут
действовать, пока шкворень В движется по прямой. Эти ускорения определяются из
следующих соображений. Текущая ордината у0 шкворня А равна стреле f,
определяемой через полухорду (Lшк
- а) и радиус кривой R.
Здесь Lшк - расстояние
между шкворнями, а и b
- расстояние от шкворня В соответственно до начала Т круговой кривой и до
любого сечения D по оси
вагона.
Для предотвращения внезапного появления
центробежной силы и для постепенного отвода возвышения наружного рельса и
уширения колеи при переходе из прямой в круговую кривую устраивают переходную
кривую переменной кривизны.
Параметр переходной кривой определяется по
формуле
С = R
∙
l0, м2,
(4.1)
где R
- радиус кривой, м;
l0 - длина
переходной кривой, м.
С = 210 ∙ 60 = 12600 м2.
Угол поворота в пределах переходной кривой
определяется как
, град., (4.2)
l0 - длина
переходной кривой, м.
Угол поворота в пределах круговой
кривой определяется как
,
где в - угол поворота, град.
Длина круговой кривой
Lkk =
,
м, (4.3)
Lkk =
м
В СНГ принято расположение стыков
рельсов противоположных нитей по наугольнику. Для этого каждый рельс, лежащий
на внутренней нити кривой, должен быть короче соответствующего рельса наружной
нити. Идя на некоторое несовпадение положения стыков по наугольнику,
устанавливают несколько типов укорочений. Приняты следующие типы укорочения:
0-й тип - К0=0 мм (рельс длиной 25
или 12,5 м);
1-й тип - К1=40 мм;
2-й тип - К2=80 мм;
3-й тип - К3=120 мм;
4-й тип - К4= 160 мм.
Рельсы длиной 25 м выпускают с
укорочениями К2, К4, а рельсы длиной 12,5 м - К1, К2, К3. Правильным
чередованием укладки рельсов разных типов укорочений по внутренней нити можно
добиться того, что несовпадение стыков по поперечном направлении по наружной и
внутренней нитям не будет превышать 0,5(Kj - Ki), где Kj и Ki - два типа
укорочения, которые приняты для рельсов, лежащих на внутренней кривой.
Потребное укорочение на первом звене
определяется по формуле
K = Е= S1∙ A0/R,
где S1 - ширина
колеи, мм;
A0 - длина
стандартного рельса, м;
R - радиус
кривой, м;
мм, следовательно К=120 мм.
Полное укорочение внутренней
рельсовой кривой и двух переходных кривых
Еполн= Е + 2Е =
=
мм
Потребное количество укороченных
рельсов
N =
,
(4.4)
где К - тип укорочения для рельса
длиной 80 мм.
, потребное количество укороченных
рельсов N = 6.
Величина укорочения отсчитывается от
начала переходной кривой НПК 1 до первого стыка на этом расстоянии b1.
Еi =
Для последующих стыков на этой
переходной кривой:
Еi=
, (4.5)
Где Еi - укорочение для i - стыка.
li -
расстояние от НПК1 до второго, третьего и т д стыков.
l2 = b1+а0 = 12,5
+5 = 17,5 м
l3 = l2 +а0 = 17,5
+ 12,5 = 30 м
l4 = l3 +а0 = 30 +
12,5 = 42,5 м
l5 = l4 +а0 = 42,5
+ 12,5 = 55 м
стык будет от НПК1 на расстоянии 55
+ 12,5 = 67,5 м › l0 =60м
Е2=
мм
Е3=
мм
Е4=
мм
Е5=
мм
Е6=
мм
Укорочение по всей длине первой
переходной кривой определяется как
ЕПК1 =
228,6 мм
Укорочение на круговой кривой
нарастающим шагом находится по формуле
Еккi = Епк1 +
,
(4.6)
где
- расстояние от конца переходной
кривой 1 до соответствующих стыков на круговой кривой.
Расстояние до 1-го стыка от конца
переходной кривой находится по формуле
b2 = l2- l0 = 67,5 - 60
= 7,5 м
м
Суммарное укорочение для 2-го стыка
определяется как
Е2(кк1) = Епк1 +
= 228,6 +
= 380,98 мм
Соответственно определяется для
следующих стыков.
=
+ а0 = 20 + 12,5 = 32,5 м;
Е3(кк2) = Епк1 +
= 228,6 +
= 476,22 мм;
Для конца круговой кривой суммарное
укорочение определяется по формуле
Еккк = Епк1 + Екк = Епк1 +
= 228,6 +
= 469,44 мм.
Полученная величина вычитается из
общей суммы укорочения по всей кривой
Епк2i = 2Eпк + Екк -
, мм,
(4.7)
где хi -
расстояние от начала переходной кривой до соответствующего стыка.
хi = l0 - b3, м.
b3 =
- Lкк = 32,5+
12,5 - 31,61 = 13,4 м;
х1 = 60 - 13,4 = 46,6 м;
Епк21 = 700 -
= 562,12 мм;
x2 = l0 - (b3 + а0) = 60
- (13,4 + 25,01) = 34,1 м;
Епк22 = 700 -
= 626,17 мм;
x3 = l0 - (b3 + 2а0) =
60 - (13,4 + 25) = 21,6 м;
Епк23 = 700 -
= 670,38 мм;
b4 = а0 - x3
=12,5-21,6=-9,1 м
а1 = а0 - b1 +0.01 = 12.5- 5 + 0,01
= 7,5 м.
.2 Возвышение наружного рельса
При проходе подвижного состава по
кривым возникает центробежная сила, стремящаяся опрокинуть экипаж наружу
кривой. Опрокидывание может произойти только в случае каких-либо исключительных
обстоятельств. Так, например, при скорости движения V= 45 км/ч
центробежная сила I, действующая на локомотив, имеющего
массу m = 194 кг и
едущего в поезде по кривой радиуса R=210 м,
будет
(4.8)
Во избежание указных выше явлений
устраивают возвышение наружной рельсовой нити над внутренней. Возвышение
наружной рельсовой нити нал внутренней в кривых создается в целях
предотвращения чрезмерных силовых воздействий на пассажира или груз, сдвигов
рельсов (рельсов со шпалами по балласту), обеспечения возможно более
равномерного (одинакового) износа рельсов обеих нитей.
При всех условиях должна быть
обеспечена надежная устойчивость экипажа против опрокидывания.
Для данной курсовой максимально
допустимая скорость определяется как
V = 4,6
,
мм, (4.9)
V = 4,6 ∙
= 66,7 км/ч.
Возвышение наружного рельса
определяется по формуле
n = 12,5
,
мм, (4.10)
где V - скорость
движения грузовых поездов на данном участке, км/ч;
R - радиус
кривой, м;
n = 12,5 ∙
= 120,5 мм
Максимальное допустимое возвышение
наружного рельса допускается не более 150 мм. В данном расчете условие
выполняется.
5. Одиночный обыкновенный стрелочный
перевод
.1 Схема и конструкция одиночного
обыкновенного стрелочного перевода
Подавляющая часть стрелочных
переводов - одиночные обыкновенные стрелочные переводы. Такой перевод состоит
из четырех основных частей:
1) стрелка с переводным механизмом;
2) острая крестовина с контррельсами;
) соединительная часть (между стрелкой и
крестовиной);
) комплект переводных брусьев.
Стрелка состоит из двух рамных рельсов и двух
остряков с соответствующими корневыми устройствами и скреплениями. Крестовина
состоит из сердечника и двух усовиков. Тангенс угла б крестовины называется
маркой крестовины и стрелочного перевода и обозначается 1/N,
где N - число марки.
Математическим центром или математическим острием С острой крестовины
называется точка пересечения продолжения рабочих кантов сердечника крестовины.
Горлом, или горловиной, крестовины называют сечение, где расстояние между
рабочими кантами усовиков минимально (место первого перегиба усовиков).
Промежуток от горла до практического острия крестовины, на котором гребни колес
не направляются рельсовыми нитями, называется вредным пространством.
Направление колес на этом участке осуществляется контррельсами, являющимися при
этом непременным дополнением к крестовине.
По форме в плане крестовины обыкновенных
переводов могут быть прямолинейные и криволинейные. В обыкновенном стрелочном
переводе крестовина имеет криволинейное направление на боковой путь (по
продолжению переводной кривой). При одной и той же длине стрелочного перевода
криволинейные крестовины дают возможность увеличить радиус переводной кривой
(например, со 190 до 300 м при марке 1/9). Устройство их сложнее, чем
прямолинейных крестовин. Кроме того необходимо иметь отдельно крестовины с
левым и правым криволинейным кантом, а для симметричных переводов - двумя
криволинейными кантами. В криволинейной крестовине маркой называется тангенс
угла между касательными к ее рабочим кантам в ее конце.
Теоретической длиной Lт
одиночного обыкновенного стрелочного перевода называется расстояние, измеренное
от острия остряка до математического центра острой крестовины. Полной (практической)
длиной Lп называется
расстояние от начала рамных рельсов до конца крестовины.
.2 Расчет обыкновенного одиночного стрелочного
перевода
Первоначальный параметр криволинейного остряка -
радиусы остряка и переводной кривой. Определяются по формуле
R = 193 ∙ V2,
мм, (5.1)
где V
- скорость движения поездов.
R = 193 ∙ 452
= 390825 мм
Синус начального угла
sinвн =
=
= 0,01092;
вн =
; cos вн =
0,9999404
тангенс фиктивного угла
tgц =
,
(5.2)
где G -
минимальное расстояние между рабочими гранями усовиков в сечении, котором
установлено первое болтовое отверстие, мм;
d - длина
прямой вставки перед математическим центром крестовины.
d = n + D = 2000 +
406 = 2406 мм;
tgц =
= 162,41; ц =
Синус разницы углов определяется по
формуле
sin(ц - б) =
,
(5.3)
где C = R ∙
cos вн
- S = 390825 ∙ 0,9999404 - 1520 = 389281,71 мм
Синус разницы углов будет
sin(ц - б) =
= 0,9962056;
(ц - б) =
;
Угол крестовины определяется как
б = ц - (ц - б) =
Марка крестовины определяется как
M = tgб = 0,0811608
=1/12,
так как по стандартам такой марки
крестовины нет, то принимается стандартный стрелочный перевод с маркой
крестовины 1/18. Значения углов для этой марки будут:
cosб = 0,0541; sinб = 0,9985.
Теоретическая длина стрелочного
перевода определяется как
Lт = Rт (sinб - sin вн) + d cosб, мм,
(5.4)
где Rт - радиус
остряка и переводной кривой, принятый по технической характеристике стрелочного
перевода, мм.
Lт =
960000(0,0541 - 0,011092) + 2406 ∙ 0,9985 = 35906,4 мм
Практическая длина стрелочного
перевода определяется по формуле
Lп = М1 + Lт +
Рт, (5.5)
где Рт - задний вылет крестовины,
мм;
М1 - передний вылет рамного рельса,
мм.
М1 = 5000 мм.
Рт = N(B + b + E),
мм, (5.6)
где B - ширина
подошвы рельса, мм;
b - ширина
поверхности головки рельса, мм;
E - зазор
между кромками подошвы рельса, мм.
Рт = 18 ∙ (150 + 75 + 10) =
4176 мм;
Lп = 5000
+35906 + 419 = 41325 мм.
Расстояние от центра стрелочного
перевода до математического центра перевода определяется как
bo = S ∙ N,
мм, (5.7)
где S - ширина
колеи, мм;
N - марка
крестовины.
bo = 1520 ∙
18 = 27360 мм.
Расстояние от центра стрелочного
перевода до острия остряка определяется по формуле
Qo = Lт
- bo = 35906 - 27360 =
8546 мм.
Расстояние от центра стрелочного перевода до
переднего выступа рамного рельса будет
Q = Qo
+ M1 = 8546 + 5000 =
13546 мм.
Расстояние от центра перевода до конца
крестовины определяется как
b = bo
+ Рт = 27360 + 1845 = 29205 мм
Расстояние от математического центра
крестовины до предельного столбика определяется по формуле
л = 1845 ∙
N = 1845∙ 18 =
33210 мм.
Заключение
путь рельсовый ремонт шпала
В данном курсовом проекте были проведены расчеты
и осуществлена проверка:
выбраны ВСП: рельсы Р75, промежуточное крепление
типа КБ, балласт щебеночный, шпалы деревянные заменены на железобетонные;
отвод возвышения наружного рельса зависит от
максимальной скорости движения поезда;
длина переходной кривой зависит от возвышения
наружного рельса и уклона отвода (l0
=60 м);
потребное количество укороченных рельсов
принимается;
определение количества и порядок укладки
укороченных рельсов на микрокалькуляторе и на ПК совпадают, так как марка
крестовины принимается стандартной;
при капитальном ремонте вычисляется время на
проведение основных работ: смена рельсошпальной решетки;
продолжительность «окна»;
стоимости калькуляции стандартные, но экономия
произойдет за счет замены рельсов на более легкие и изменения эпюры шпал на
участках пути;
Цель курсового проекта состоит в том, чтобы
получить основные сведения по проектированию, выбору элементов ВСП,
ознакомиться со способами ремонта пути, ремонтными машинами, рассчитать
необходимое количество укороченных рельсов и способ их укладки.
В качестве графической части курсового проекта
был выполнены демонстрационные листы формата А1.
Список использованных источников
1. Правила технической
эксплуатации железнодорожного транспорта. К.: Техника, 1987, 159 с.
2. Пособие для изучения правил
технической эксплуатации железнодорожного транспорта. М.: Транспорт, 1977, 607
с.
. Амелин С.В., Андреев Г.Е.
Устройство и эксплуатация пути. М.: Транспорт, 1986, 238 с.
. Шахунянц Г.М.
железнодорожный путь. М.: Транспорт, 1987, 479 с.
. Тихомиров А.А. Содержание и
ремонт железнодорожного пути. М.: Транспорт, 1987, 440 с.
. Крейнис З.Л., Чернышев
М.А., Железнодорожный путь М.: Транспорт,1985,302 с
. Амелин С.В., Андреев Г.Е.,
Устройство и эксплуатация пути. М.: Транспорт,1986, 238 с.
. Шахунянц Г.М. Железнодорожный
путь. М.: Транспорт, 1987,479 с.
. З.Л. Крейнис, Н.П.
Коршикова Техническое обслуживание и ремонт железнодорожного пути. М.:УМК МПС
России, 2001-768 с.