Подключение к сети и наладка схемы управления радиально-сверлильного станка
Курсовой проект
По дисциплине:
Техническая эксплуатация
электрического и электромеханического оборудования
Тема:
Подключение к сети и наладка схемы
управления радиально-сверлильного станка
Содержание
пояснительной записки
Введение
1. Основная характеристика станка
2. Обоснование выбора защитного аппарата
3. Выбор питающего кабеля
4. Описание трассы прокладки питающего кабеля
5. Описание требуемых приемо-сдаточных операций с питающим кабелем
для целей его ввода в эксплуатацию
6. Меры безопасности при выполнении монтажа, разделки, испытаний и
подключения питающего кабеля
7. Исполнительная документация, предъявляемая комиссии при приемке
работ после монтажа
Заключение
Список используемой литературы
Введение
Основным ремонтным подразделением на любом предприятии
является ремонтно-механический цех (РМЦ). Его назначение - изготовление и
ремонт запасных частей для основного и вспомогательного оборудования. РМЦ, как
правило, имеет большой станочный парк: токарные, фрезерные, шлифовальные,
зубонарезные станки и т.д. Так же на территории РМЦ располагается сварочный
участок, где выполняются работы по ремонту деталей (трещин, дефектов литья,
наплавке износостойких покрытий и т. д). На базе такого цеха можно выполнять
как простые, так и сложные ремонты.
1. Основная
характеристика станка
Радиально сверлильные станки используют для сверления
отверстий в деталях больших размеров. На этих станках совмещение осей отверстий
и инструмента достигается перемещением шпинделя станка относительно неподвижной
детали.
Установка станка на фундамент влияет на основные показатели
его работоспособности. Станок радиально-сверлильный устанавливают на
фундаментах с креплением анкерными болтами - на клиньях с заливкой опорной
поверхности станины цементным раствором или на регулируемых опорных элементах
(винтовых или клиновых) без заливки.
Общий вид и размещение органов управления
радиально-сверлильного станка.
2.
Обоснование выбора защитного аппарата
Плавкие предохранители это электрические аппараты, защищающие
установки от перегрузок и токов короткого замыкания. Плавкий предохранитель
состоит из двух основных частей: корпуса из электроизоляционного материала
(стекла, керамики) и плавкой вставки (проволоки, полоски металла). Выводы
плавкой вставки соединены с клеммами, с помощью которых предохранитель
включается в линию последовательно с защищаемым потребителем или участком цепи.
Для этого используют специальные клеммные держатели. Они должны обеспечивать
надёжный контакт предохранителя - иначе в этом месте возможен нагрев.
I=P/Uобщ=40000/380=105 A
Iпус=105/3=35 А 70 А
Iпус+об=70+105=175 А
3. Выбор
питающего кабеля
Силовой кабель должен соответствовать характеристикам
электроустановки, для которой он предназначен. Основными являются проводимость,
сечение, количество жил, материал изоляции.
Проводимость меди соответствует 10 амперам на квадратный
миллиметр, алюминия - 8 А. Сечение рабочего нулевого проводника должно быть как
у фазного или выше в 1,7 раза. Большая протяженность линии при минимальном
сечении вызывает падение напряжения на участке сети. Защитный нулевой проводник
должен подбираться таким образом, чтобы защита успела сработать до того, как он
расплавится.
Для трехфазной сети с заземленной нейтралью защитный нулевой
проводник должен быть не менее 50% сечения фазных проводников.
Количество жил в кабеле может колебаться от двух и более.
Однофазная сеть это фазный, нулевой рабочий и заземляющий проводник. Для
трехфазной потребуется кабель с 4-5 жилами.
радиальный сверлильный станок монтаж
Преимущество отдается проводникам из меди, проводимость и
пластичность которых несколько выше, чем у алюминиевых. Выбор силового кабеля в
соответствии с ПУЭ должен учитывать способ монтажа. Бронированная оболочка позволяет
исключить механические повреждения изоляции при прокладке и в процессе
эксплуатации.
Технические характеристики кабеля ВВГ:
Кабель ВВГ предназначен для эксплуатации в стационарном
состоянии при температуре окружающей среды от - 50° С до + 50° С, относительной
влажности воздуха до 98% (при температуре + 35° С).
Длительно допустимая температура нагрева жил - не более + 70°
С. Максимальная допустимая температура нагрева жил при коротком замыкании (до 4
сек) - не более 160° С.
Основываясь на данных таблицы 1.3.6 ПУЭ, Для обеспечения
нормальной работы станка при Iном=105А возьмем кабель ВВГ (нг) 3×16+1×70 С допустимым длительным током = 115А проложенный
в земле
4. Описание
трассы прокладки питающего кабеля
По территории промышленных предприятий кабельные сети могут
выполняться подземными - в траншеях, каналах, туннелях и блоках или надземными
на эстакадах и в галереях. Подземный способ прокладки кабельных сетей защищает
их от грозовых и атмосферных воздействий. Кабели, проложенные под землёй в
меньшей мере создают помехи. Однако прокладка кабельных подземных коммуникаций
нецелесообразна при неблагоприятных грунтовых условиях - высоком уровне
грунтовых вод, наличия химически активных веществ, разрушающих кабельные оболочки.
В данном случае мы прокладываем кабели в полу в Траншее
подключаясь к шинопроводу (см. схему) пробивая канал напрямую к станку и
выводим кабели из канала через трубу в шкаф управления станка.
Шинопровод является сборно-разборной модульной системой заводского
изготовления, предназначенной для передачи и распределения электрической
энергии. В шинопроводе каждая шина имеет оболочку из изоляционного материала, и
весь пакет шин помещен в металлический короб по технологии "сэндвич".
Благодаря компактной конструкции габариты минимальные, так как отсутствуют
воздушные промежутки, индуктивное сопротивление минимизировано и потери
напряжения очень низки. Для шинопровода характерна отличная теплоотдача
посредством короба, который служит в том числе и радиатором охлаждения.
Внутренняя конструкция крепления шин обеспечивает
исключительную динамическую стойкость к токам короткого замыкания. Минимум
изоляции и металлический защитный кожух обеспечиваю хорошую огнестойкость и
безопасность. Шинопроводы полностью пожаробезопасны - они не горючи, огонь не
может распространяться вдоль и внутри шинопровода, переходя из одного помещения
в другое. При проходе шинопровода через несколько помещений он комплектуется
специальными барьерами, которые препятствуют распространению огня. При
возникновении пожара в зоне, где установлен шинопровод, он до определённого
времени не теряет своей работоспособности. Шинопровод выполнен из материалов,
не имеющих в своем составе галогенов и хлорсодержащих веществ, и при пожаре не
выделяет токсичных газов или дыма. Поэтому именно шинопроводы целесообразно
использовать для помещений и зданий с большим скоплением людей: в аэропортах,
на вокзалах, в больницах, крупных спортивных сооружениях, театрах, цирках,
школах, супермаркетах, торговых центрах, отелях.
По всей длине шинопровода предусмотрены гнезда для
присоединения ответвительных коробок. В зависимости от назначения
ответвительные коробки могут оборудоваться выключателями нагрузки
(разъединителями), микровыключателями (МСВ) или установочными автоматами
(МССВ).
Ответвительные коробки просто включаются в специальные гнезда
шинопровода для обеспечения питания либо подсети (через распределительные
щиты), либо непосредственно машин и механизмов. Отводные коробки можно
монтировать не снимая напряжения со всей шинопроводной магистрали и не
останавливая, например, процесс производства.
Срок службы шинопровода - 25 лет при минимальном техническом
обслуживании, и пять лет заводской гарантии дают уверенность в надежности и
долговечности всех элементов и оборудования.
5. Описание
требуемых приемо-сдаточных операций с питающим кабелем для целей его ввода в
эксплуатацию
В соответствии с требованиями ПУЭ объем приемо-сдаточных
испытаний силовых кабельных линий включает следующие работы.
. Проверка целостности и фазировки жил кабеля.
. Измерение сопротивления изоляции.
. Измерение распределения тока по одножильным кабелям.
. Измерение сопротивления заземления.
Проверка целостности и фазировки жил кабеля.
Перед включением кабеля в работу производится его фазировка,
т.е. обеспечивается соответствие фаз кабеля фазам присоединяемого участка
электроустановки. Проверка производится прозвонкой с помощью телефонных трубок
или мегаомметра. На основании проверки производится раскраска жил в
соответствии с раскраской принятой на данной установке.
Технология "прозвонки" с помощью телефонных трубок
заключается в следующем: один работник подсоединяет свою телефонную трубку к
жиле кабеля и оболочке (заземленной части электропроводки), а другой поочередно
к жилам кабеля со своей стороны, пока не дойдет до той жилы, к которой
подключился первый работник. При этом устанавливается телефонная связь между
работниками и они могут договориться о порядке проверки другой жилы. На
проверенные жилы навешивают временные бирки с соответствующей маркировкой.
Проверка жил "прозвонкой" будет успешной, если исключить возможность
образования обходных цепей. Во избежание ошибок необходимо убедиться, что связь
возможна только по одной жиле; для этого подсоединяют трубку к каждой из
оставшихся жил и убеждаются, что связи по ним нет. Для "прозвонки"
используют низкоомные телефонные трубки, а в качестве источника питания -
батарейку от карманного фонаря.
После предварительной прозвонки перед включением кабельной
линии в работу производится фазировка ее под напряжением. Для этого с одного
конца кабеля подается рабочее напряжение, а с другого конца производится
проверка соответствия фаз измерениями напряжений между одноименными и
разноименными фазами. Газировка производится вольтметрами (в сетях до 1кВ) или
вольтметрами с трансформаторами напряжения, а также с помощью указателей
напряжения типа УВН-80, УВНФ и др. (в сетях напряжением выше 1 кВ),
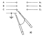
Порядок проведения фазировки в линиях различного напряжения
примерно одинаков. Так фазировка кабельной линии с помощью указателей
напряжения выполняется в следующей последовательности (см. рис.1). Проверяется
исправность указателя напряжения, для чего щупом трубки без неоновой лампы
касаются заземления, а щуп другой трубки подносят к жиле кабеля находящегося
под напряжением, при этом неоновая лампа должна загореться. Затем щупами обеих
трубок касаются одной жилы находящей под напряжением. Лампа индикатора при этом
гореть не должна. После этого проверяется наличие напряжения на выводах
электроустановки и кабеля (см. рис.1в). Данную проверку производят для того,
чтобы исключить ошибку при фазировке линии имеющей обрыв (например, из-за
неисправности предохранителя). Процесс собственно фазировки состоит в том, что
щупом одной трубки указателя касаются любого крайнего вывода установки,
например фазы С, а щупом другой трубки - поочередно трех выводов со стороны
фазируемой линии (см. рис.1г). В двух случаях касания (С-А 1 и С-B1) неоновая
лампа загорается, в третьем (С-С1) лапа гореть не будет, что укажет на
одноименность фаз. Аналогично определяют другие одноименные фазы.


Последовательность операций при фазировке линии 10 кВ
указателем напряжения типа УВНФ. а, б - проверка исправности указателя
напряжения; в - проверка наличия напряжения на выводах; г - фазировка
6. Меры
безопасности при выполнении монтажа, разделки, испытаний и подключения
питающего кабеля
Работники, принимаемые для выполнения работ в
электроустановках, должны иметь профессиональную подготовку, соответствующую
характеру работы. При отсутствии профессиональной подготовки такие работники
должны быть обучены (до допуска к самостоятельной работе) в специализированных
центрах подготовки персонала (учебных комбинатах, учебно-тренировочных центрах
и т.п.).
Профессиональная подготовка персонала, повышение его
квалификации, проверка знаний и инструктажи проводятся в соответствии с
требованиями государственных и отраслевых нормативных правовых актов по
организации охраны труда и безопасной работе персонала.
Проверка состояния здоровья работника проводится до приема
его на работу, а также периодически, в порядке, предусмотренном Минздравом
России. Совмещаемые профессии должны указываться администрацией организации в
направлении на медицинский осмотр.
При перекатке барабана с кабелем необходимо принять меры
против захвата его выступами частей одежды.
До начала работ по перекатке барабана следует закрепить концы
кабеля и удалить торчащие из барабана гвозди.
Барабан с кабелем допускается перекатывать только по
горизонтальной поверхности по твердому грунту или настилу.
При ручной прокладке кабеля число работников должно быть
таким, чтобы на каждого приходился участок кабеля массой не более 35 кг для
мужчин и 15 кг для женщин. Работать следует в брезентовых рукавицах.
Не допускается при прокладке кабеля стоять внутри углов
поворота, а также поддерживать кабель вручную на поворотах трассы. Для этой
цели должны быть установлены угловые ролики.
При прогреве кабеля не разрешается применять трансформаторы
напряжением выше 380 В.
Перекладывать кабель и переносить муфты следует после
отключения кабеля. Перекладывать кабель, находящийся под напряжением,
допускается при условиях:
перекладываемый кабель должен иметь температуру не ниже 5°С;
муфты на перекладываемом участке кабеля должны быть укреплены
хомутами на досках;
работа должна выполняться работниками, имеющими опыт
прокладки, под надзором ответственного руководителя работ, имеющего группу V, в
электроустановках напряжением выше 1000 В и производителя работ, имеющего
группу IV, в электроустановках напряжением до 1000 В.
Испытания электрооборудования, в том числе и вне
электроустановок, проводимые с использованием передвижной испытательной
установки, должны выполняться по наряду.
Допуск к испытаниям электрооборудования в действующих
электроустановках осуществляет оперативный персонал в соответствии с разделом
2.7 настоящих Правил, а вне электроустановок - ответственный руководитель работ
или, если он не назначен, производитель работ.
Проведение испытаний в процессе работ по монтажу или ремонту
оборудования должно оговариваться в строке "Поручается" наряда
(приложение №4 к настоящим Правилам).
Испытания электрооборудования проводит бригада, в которой
производитель работ должен иметь группу IV, член бригады группу III, а член
бригады, которому поручается охрана, - группу II.
В состав бригады, проводящей испытание оборудования, можно
включать работников из числа ремонтного персонала, не имеющих допуска к
специальным работам по испытаниям, для выполнения подготовительных работ и
надзора за оборудованием.
Массовые испытания материалов и изделий (средства защиты,
различные изоляционные детали, масло и т.п.) с использованием стационарных
испытательных установок, у которых токоведущие части закрыты сплошными или
сетчатыми ограждениями, а двери снабжены блокировкой, допускается выполнять
работнику, имеющему группу III, единолично в порядке текущей эксплуатации с
использованием типовых методик испытаний.
Рабочее место оператора испытательной установки должно быть
отделено от той части установки, которая имеет напряжение выше 1000 В. Дверь,
ведущая в часть установки, имеющую напряжение выше 1000 В, должна быть снабжена
блокировкой, обеспечивающей снятие напряжения с испытательной схемы в случае
открытия двери и невозможность подачи напряжения при открытых дверях. На
рабочем месте оператора должна быть предусмотрена раздельная световая
сигнализация, извещающая о включении напряжения до и выше 1000 В, и звуковая
сигнализация, извещающая о подаче испытательного напряжения. При подаче
испытательного напряжения оператор должен стоять на изолирующем ковре.
Передвижные испытательные установки должны быть оснащены
наружной световой сигнализацией, автоматически включающейся при наличии
напряжения на выводе испытательной установки, и звуковой сигнализацией,
кратковременно извещающей о подаче испытательного напряжения.
7.
Исполнительная документация, предъявляемая комиссии при приемке работ после
монтажа
. Ведомость технической документации предъявляемой при
сдаче-приемке ЭМР
. Акт технической готовности ЭМР
. Ведомость изменений и отступлений от проекта
. Ведомость электромонтажных недоделок, не препятствующих
комплексному опробованию
. Акт Приемки-передачи оборудования в монтаж
. АКТ о выявленных дефектах оборудования
. Ведомость смонтированного оборудования
. Акт готовности строительной часть помещений (сооружений) к
производству электромонтажных работ
. Справка о ликвидации недоделок
. Акт о приемке и монтаже силового трансформатора
. Протокол осмотра и проверки смонтированного
электрооборудования распределительных устройств и электрических подстанций
напряжением до 35 кВ включительно
. Протокол испытаний давлением локальных разделительных
уплотнения или стальных труб для проводок во взрывоопасных зонах классов В-1 и
В-1а
. Протокол измерения сопротивления изоляции
. Протокол фазировки
. Акт приемки траншей, каналов, туннелей и блоков под монтаж
кабелей
. Протокол проверки и осмотра изоляции кабелей на барабане
перед прокладкой
. Протокол прогрева кабелей на барабане перед прокладкой при
низких температурах
. Журнал прокладки кабелей
. Акт освидетельствования скрытых работ по монтажу
заземляющих устройств
. Образец обложки к комплекту технической документации по
сдаче приемке ЭМР
Заключение
Меркурий-230 ТУ АВЛГ 411152-021 предназначен для учета и
измерения активной или активно-реактивной электроэнергии в трехфазных сетях
переменного тока частотой 50Гц по 4-м тарифам в одном или двух направлениях.
Наличие модификаций с профилем мощности. Единственный электросчетчик в России
позволяющий предотвратить возможность хищения электроэнергии при нарушении
фазировки подключения токовых цепей однонаправленных счетчиков. CAN интерфейс.
Технические характеристики электросчетчика
Класс точности 0,5 (1,0); 1,0 (2,0)
Номинальное напряжение 3х220/380 В
Номинальная (максимальная) сила тока 5 (7,5), 5 (50), 10
(100) А
Диапазон частот измерительной сети от 47,5 до 52,5 Гц
Чувствительность 0,36 Вт
Постоянная счётчиков, имп. / (кВт. ч); имп. / (квар. ч)
в режиме телеметрии 5000
в режиме поверки 16000
Максимальные параметры импульсного выхода:
напряжение, 24 В
сила тока 30 мА
Полная мощность, потребляемая цепью напряжения не более 7,5
В*А
Активная мощность, потребляемая цепью напряжения не более 0,5
Вт
Полная мощность, потребляемая цепью тока не более 0,1 В*А
Диапазон рабочих температур от - 20 до +55*
Масса счётчика не более, кг 1,5
Габаритные размеры (длина, ширина, высота), мм 258х170х74
Измерительный трансформатор - электрический трансформатор, в
котором при нормальных условиях применения вторичный ток (вторичное напряжение)
практически пропорционален (пропорционально) первичному току (первичному
напряжению), применяется в качестве измерительного преобразователя при
измерениях больших токов, напряжений. У измерительных трансформаторов
переменного тока при правильном включении разность фазовых углов на первичной и
вторичной обмотках близка к нулю.
Схема включения счетчика в сеть через измерительный
трансформатор
Трансформатор ТНШЛ-0,66 Технические характеристики
Номинальное напряжение, кВ до 0,66
Номинальный первичный ток, А400
Номинальный вторичный ток, А5
Номинальная частота, 50Гц
Номинальный класс точности
для измерения и учета 0,2S
для защиты 5P или 10P
Список
используемой литературы
1. Вопилкин
Е.А. Расчёт и конструирование механизмов приборов и систем. М.: Высшая школа,
2010.
2. Дунаев
П.Ф. Конструирование узлов и деталей машин 5 изд. 2008.
. Красковский
Е.Я., Дружинин Ю.А., Филатова Е.М. Расчёт и конструирование механизмов приборов
и вычислительных систем. М.: Высшая школа, 1983.
. Рощин
Г.И. Несущие конструкции и механизмы РЭА. М.: Высшая школа, 2009.