Передача и распределение электрической энергии
ФЕДЕРАЛЬНОЕ АГЕНТСТВО ПО ОБРАЗОВАНИЮ
Государственное образовательное
учреждение
высшего профессионального образования
«Кузбасский государственный
технический университет»
Кафедра электроснабжения горных и
промышленных предприятий
ПОЯСНИТЕЛЬНАЯ ЗАПИСКА
к курсовой работе
ПЕРЕДАЧА И РАСПРЕДЕЛЕНИЕ
ЭЛЕКТРИЧЕСКОЙ ЭНЕРГИИ
Выполнил студент 4 курса
группы ЭП-092 института энергетики
Ковалев Владимир Сергеевич
Кемерово 2012
Исходные данные
Характеристики нагрузки
|
Нагрузка
|
1 (К)
|
2 (О)
|
3 (В)
|
4 (В)
|
|
Х, см
|
7,5
|
2,5
|
7,8
|
10,0
|
|
Y, см
|
0,0
|
2,5
|
7,0
|
4,6
|
|
РМ, МВт
|
70
|
19
|
28
|
10
|
|
ТМ, ч
|
4000
|
3200
|
6300
|
5000
|
|
cosφ
|
0,81
|
0,77
|
0,82
|
0,78
|
|
KК, %
|
80
|
50
|
75
|
30
|
Характеристики системы и режима
|
Система
|
РЭС (С)
|
|
Х, см
|
11,0
|
|
Y, см
|
8,0
|
|
UmaxРЭС, %
|
111
|
|
UminРЭС, %
|
102
|
|
cosφРЭС
|
0,9
|
|
Pmin, %
|
45
|
|
Масштаб, км/см
|
20
|
где РМ - активная мощность нагрузки в максимальном режиме;
ТМ - время использования максимальной нагрузки;
КК - доля нагрузки I и II категории;
Pmin - доля нагрузки в минимальном режиме по отношению к
максимальному режиму (одинаковая для всех нагрузок).
Коэффициенты мощности для всех нагрузок в минимальном режиме приняты
совпадающими с максимальным режимом.
1. Выбор вариантов распределительной сети
.1 Выбор вариантов схемы соединений сети
Для расчета для линий, в соответствии с заданными координатами нагрузок,
выполняю схему размещения и соединения нагрузок в масштабе 20 км/см (рис. 1.1).
Рис
1.1 Схема расположения РЭС и нагрузок 1, 2, 3 и 4. Расстояния указаны в
километрах.
В
данном проекте будут рассмотрены два варианта сети - замкнутая и разомкнутая.
При этом следует учесть, что согласно ПУЭ электроснабжение объектов I и II
категории должно быть спроектировано и осуществляться от двух независимых и
взаиморезервирующих источников питания.
1.1.1 Разомкнутая сеть
Рассмотрим варианты разомкнутой сети
. 2.

.
4.

.
Суммарные
длины линий находим по следующей формуле:
(1.1)
где n - число двухцепных линий;
l -
длина двухцепной линии, км;и j - соседние соединенные точки.
Остальные
линии нахожу аналогичным способом.
Результаты
расчетов длин линий сведены в таблицу 1.1
Таблица
1.1
|
Вариант разомкнутой сети
|
1
|
2
|
3
|
4
|
5
|
|
Длина сети, км
|
912
|
864
|
1008
|
1052
|
956
|
После проведения расчетов видно, что вариант 2 имеет наименьшую длину.
Для разомкнутой сети выбираю вариант 2.
сеть трансформатор электроэнергия напряжение
1.1.2 Замкнутая сеть
Рассмотри варианты замкнутой сети
. 2.

.
4.

.
Суммарные
длины линий находим по следующей формуле:
(1.2)
где li-jдц - длина двухцепной линии, км;
li-jоц - длина
одноцепной линии, км;
nдц - число двухцепных линий;
nоц - число одноцепных линий.
Остальные
линии нахожу аналогичным способом.
Результаты
расчетов длин линий сведены в таблицу 1.2
Таблица
1.2
|
Вариант разомкнутой сети
|
1
|
2
|
3
|
4
|
5
|
|
Длина сети, км
|
668
|
652
|
744
|
796
|
502
|
После проведения расчетов видно, что вариант 5 имеет наименьшую длину.
Для замкнутой сети выбираю вариант 5.
1.2 Выбор номинальных напряжений сети
.2.1 Расчет номинальных напряжений для участков разомкнутой сети
Рис.
1.3 Схема распределения потоков активной мощности в разомкнутой сети
Рассчитываем
потоки активной мощности по первому закону Кирхгофа на участках сети без учета
потерь:
Полученные
результаты отображены на рис. 1.3
По
формуле Илларионова находим расчетное напряжение для каждого участка сети:
(1.3)
где l - длина участка сети, км;
Р - поток активной мощности на данном участке сети, МВт.
Полученные
напряжения округляем в большую сторону до ближайших стандартных напряжений:



1.2.2 Расчет номинальных напряжений для участков замкнутой сети
Замкнутую сеть представляю в разомкнутом виде (рис. 1.4). Для этого Для
этого один источник питания искусственно представляю в виде двух - РЭС и РЭС’.
Рис.
1.4 Схема распределения потоков активной мощности в замкнутой сети
Нахожу
приближенное (без учета потерь) потокораспределение мощностей в головных
участках сети:
(1.4)
где
LРЭС-РЭС' =
502 км - длина линии от РЭС до РЭС'.
(1.5)
Рассчитываем
потоки активной мощности, протекающие по остальным участкам сети. Для этого
применяем первый закон Кирхгофа:
Знак
«минус» в значении активной мощности на участке 4-1 значит, что в узле 1
происходит раздел потоков мощностей от источников.
По
формуле Илларионова (1.3) находим расчетное напряжение на самом загруженном и
самом длинном участках цепи:
Принимаем
напряжение для всех участков сети равным
.
1.3 Выбор сечения проводов
.3.1 Разомкнутая сеть
Нахождение полной мощности, передаваемой по участкам сети. Для этого
находим значение реактивных мощностей нагрузок:
, (1.6)
где
.
Затем
нахожу полную мощность нагрузок:
(1.7)
Все расчеты сведены в таблицу 1.3
Таблица 1.3
|
Величины
|
Нагрузка
|
|
1
|
2
|
3
|
4
|
|
P, МВт
|
70
|
19
|
28
|
10
|
|
cosφ
|
0,81
|
0,77
|
0,82
|
0,78
|
|
tgφ
|
0,724
|
0,829
|
0,698
|
0,802
|
|
Q, МВАр
|
50,679
|
15,744
|
19,544
|
8,023
|
|
S, МВА
|
86,42
|
24,675
|
34,146
|
12,821
|
Находим с помощью первого закона Кирхгофа потокораспределение полной
мощности по участкам сети без учета потерь:
Вычисляем
наибольший ток, протекающий по проводам линии (Sij в
кВА):
Для
каждого участка сети, по которому осуществляется питание нескольких нагрузок,
находим средневзвешенное значение количества часов использования максимальной
нагрузки ТМс.вз для этих нагрузок:
, (1.8)
Провода
выбираю сталеалюминевые марки АС.
В
соответствии с ПУЭ «Экономическая плотность тока» [1, таблица 1.3.36] для
изолированного провода марки АС для каждого участка выбираю значение
экономической плотности тока:
,
,
,
.
Расчетное
сечение проводов по экономической плотности тока:
Выбираю
стандартные сечения проводов, близкие к расчетным:
,
,
,
1.3.2 Замкнутая сеть
Потокораспределение полной мощности в головных участках сети:
Рассчитываем
потоки полной мощности, протекающих по остальным участкам сети по первому
закону Кирхгофа:
Знак
«минус» в значении активной мощности на участке 4-1 значит, что в узле 1
происходит раздел потоков мощностей от источников.
Вычисляем
ток, протекающий по проводам участков (S в кВА):
Мысленно
разделяем сеть в точке потокораздела на два участка, словно они разомкнутые
(рис. 1.5):
Рис.
1.5 Замкнутая сеть в виде двух разомкнутых участков
Для
каждого участка находим средневзвешенное значение количества часов
использования максимальной нагрузки ТМс.вз для этих
нагрузок по формуле (1.8):
Провода
выбираю сталеалюминевые марки АС.
В соответствии с ПУЭ «Экономическая плотность тока» [1, таблица 1.3.36]
для изолированного провода марки АС для каждого участка выбираю значение
экономической плотности тока:
,
,
,
,
Расчетное
сечение проводов по экономической плотности тока:
Выбираю
стандартные сечения проводов, близкие к расчетным:
,
,
,
,
.
1.4 Проверка сечений проводов по техническим ограничениям
.4.1 Разомкнутая сеть
Рассчитываем ток в послеаварийном режиме (обрыв одной цепи двухцепной
линии):
Выбор
сечения по условию нагрева проводим в соответствии с ПУЭ [1, таблица 1.3.29].
Проверку
выбранного сечения по условию короны для каждого номинального напряжения
проводим с соответствии с ПУЭ [1, таблица 2.5.6].
Результаты
расчетов и выбора по соответствующим условиям сведены в таблицу 1.4.
Таблица
1.4
|
РЭС-3
|
3-2
|
2-1
|
1-4
|
|
Uном, кВ
|
220
|
220
|
220
|
110
|
|
Ток в рабочем режиме, А
|
207,402
|
162,597
|
130,219
|
33,645
|
|
Ток в послеаварийном
режиме, а
|
414,805
|
325,194
|
260,438
|
67,29
|
|
Экономическая плотность
тока, А/мм2
|
1,1
|
1,1
|
1,1
|
1,1
|
|
Сечение, рассчитанное по
экономической плотности тока, мм2
|
185
|
150
|
120
|
35
|
|
Длительно допустимая
токовая нагрузка, А
|
510
|
450
|
390
|
177
|
|
Сечение, выбранное по
условию нагрева, мм2
|
120
|
95
|
70
|
10
|
|
Сечение, выбранное по
условию короны, мм2
|
240
|
240
|
240
|
70
|
|
Сечение, выбранное по
условию механической прочности, мм2
|
50
|
50
|
50
|
50
|
|
Окончательный выбор сечения
и марки провода
|
АС-240/32
|
АС-240/32
|
АС-240/32
|
АС-70/11
|
.4.2 Замкнутая сеть
В качестве аварийных ситуаций рассмотрим самые тяжелые случаи, когда
авария случается в головных участках сети.
Ситуация, когда выведен из работы участок РЭС-4, условно назовем
«послеаварийный режим 1» (рис. 1.6).
Послеаварийный режим 1
Рис.
1.6 Потокораспределение полной мощности в замкнутой сети в послеаварийном
режиме 1.
Рассчитываем
перераспределение потоков полной мощности в послеаварийном режиме 1, без чета
потерь:
Рассчитываем
токи, которые будут протекать по проводам линий в послеаварийном режиме 1 (S в
кВА):
Ситуация,
когда выведен из работы участок РЭС’-3, условно назовем «послеаварийный режим
2» (рис. 1.7).
Послеаварийный
режим 2
Рис.
1.6 Потокораспределение полной мощности в замкнутой сети в послеаварийном
режиме 2.
Рассчитываем
перераспределение потоков полной мощности в послеаварийном режиме 2, без чета
потерь:
Рассчитываем
токи, которые будут протекать по проводам линий в послеаварийном режиме 2 (S в
кВА):
Выбор
сечения по условию нагрева проводим в соответствии с ПУЭ [1, таблица 1.3.29].
Проверку
выбранного сечения по условию короны для каждого номинального напряжения
проводим с соответствии с ПУЭ [1, таблица 2.5.6].
Результаты
расчетов и выбора по соответствующим условиям сведены в таблицу 1.5.
Таблица
1.5
|
РЭС-4
|
4-1
|
1-2
|
2-3
|
3-РЭС'
|
|
Uном, кВ
|
220
|
220
|
220
|
220
|
220
|
|
Ток в рабочем режиме, А
|
219,995
|
186,35
|
40,443
|
105,199
|
194,81
|
|
Ток в послеаварийном режиме
1, А
|
нет
|
33,645
|
260,438
|
325,194
|
414,805
|
|
Ток в послеаварийном режиме
2, А
|
414,805
|
381,16
|
154,367
|
89,611
|
нет
|
|
Экономическая плотность
тока, А/мм2
|
1,1
|
1,1
|
1,1
|
1,1
|
1,1
|
|
Сечение, рассчитанное по
экономической плотности тока, мм2
|
185
|
185
|
35
|
95
|
185
|
|
Сечение, выбранное по
условию нагрева послеаварийного режима 1, мм2
|
70
|
50
|
70
|
95
|
150
|
|
Сечение, выбранное по
условию нагрева послеаварийного режима 2, мм2
|
150
|
120
|
35
|
16
|
50
|
|
Сечение, выбранное по
условию короны, мм2
|
240
|
240
|
240
|
240
|
240
|
|
Сечение, выбранное по
условию механической прочности, мм2
|
50
|
50
|
50
|
50
|
50
|
|
Окончательный выбор сечения
и марки провода
|
АС-240/32
|
АС-240/32
|
АС-240/32
|
АС-240/32
|
АС-240/32
|
1.5 Определение сопротивлений и проводимостей ВЛЭП
Удельные величины для сталеалюминевого провода АС-70/11 при
Uном = 110 кВ:
,
,
,
где
r0 -
удельное активное сопротивление провода;
х0
- удельное реактивное сопротивление провода;0 - удельная
проводимость провода;
Qc0 - удельная зарядная мощность провода.
Удельные
величины для сталеалюминевого провода АС-70/11 при
Uном = 110 кВ:
,
,
,
1.5.1 Разомкнутая сеть
Находим сопротивление участков сети по следующим формулам:
, (1.9)
(1.10)
где n - количество цепей в линии.
Рассчитываем зарядную мощность участков сети по следующим формулам:
, (1.11)
Для сталеалюминевого провода АС-70/11 (110 кВ):
Для
сталеалюминевого провода АС-240/32 (220 кВ):
,
,
,
1.5.2 Замкнутая сеть
Находим сопротивление участков сети по следующим формулам (1.9), (1.10) и
(1.11) в которых, в данном случае, n = 1:
Для сталеалюминевого провода АС-240/32 (220 кВ):
,
,
,
,
,
1.6 Приближенное определение потерь напряжения
.6.1 Разомкнутая сеть
Рассчитываем потокораспределение реактивной мощности на участках сети без
учета потерь, используя первый закон Кирхгофа:
Так
как в сети присутствуют разные уровни напряжения, сначала находим потери
напряжения на каждом участке, а затем переводим их в проценты. Расчеты ведем по
следующим формулам:
Продольная
составляющая потерь напряжения:
(1.12)
Поперечная составляющая потерь напряжения:
(1.13)
Полные потери напряжения:
(1.14)
Полные потери напряжения в процентах от номинального:
(1.15)
Рассчитываем продольную составляющую потерь напряжения на всех участках
сети:
Рассчитываем
поперечную составляющую потерь напряжения на всех участках сети:
Полные
потери напряжения на всех участках сети:
Полные
потери напряжения в процентах номинального:
Результаты
расчетов сведены в таблицу 1.6
Таблица
1.6
|
РЭС-3
|
3-2
|
2-1
|
1-4
|
|
Uном, кВ
|
220
|
220
|
220
|
110
|
|
ΔU’,
кВ
|
10,649
|
13,197
|
8,889
|
3,707
|
|
δU’’,
кВ
|
8,254
|
10,069
|
6,948
|
0,476
|
|
ΔU,
кВ
|
13,474
|
16,6
|
11,283
|
3,738
|
|
ΔU%
|
6,124
|
7,545
|
5,128
|
3,398
|
Потери напряжения на участке РЭС-4:
Для
сетей 110 кВ и выше допустимое отклонение напряжение считается равным 10-15 %
[5, с.293]. Расчет показывает, что потери напряжения выше допустимых, из чего
делаю вывод, что на подстанции 1 и подстанции 4 на сторонах низкого напряжения
необходимо поставить вольтодобавочные трансформаторы марок ЛТДН-40000/10 и
ЛТМН-16000/10 соответственно.
1.6.2 Замкнутая сеть
Находим потокораспределение реактивной мощности в головных участках сети:
Продольную
и поперечную составляющие потерь напряжения, полные потери напряжения и полные
потери напряжения в процентах считаем по формулам (1.12), (1.13), (1.14) и
(1.15):
Результаты
расчетов сведены в таблицу 1.7
Таблица
1.7
|
РЭС-4
|
4-2
|
1-2
|
2-3
|
3-РЭС’
|
|
Uном
|
220
|
220
|
220
|
220
|
220
|
|
ΔU’,
кВ
|
9,437
|
11,817
|
2,68
|
8,6
|
9,975
|
|
δU’’,
кВ
|
11,122
|
14,032
|
3,334
|
9,974
|
11,847
|
|
ΔU,
кВ
|
14,586
|
18,346
|
4,227
|
13,169
|
15,487
|
|
ΔU%
|
6,63
|
8,339
|
1,944
|
5,986
|
7,04
|
Потери напряжение на участке РЭС-1:
Потери
напряжение на участке РЭС’-4:
Для
сетей 110 кВ и выше допустимое отклонение напряжение считается равным 10-15 %.
Расчет показывает, что потери напряжения в пределах допустимых.
1.7 Выбор трансформаторов на подстанции
На подстанциях, где имеются потребители I и II категорий, необходимо
устанавливать как минимум два трансформатора, мощность которых выбирается таким
образом, чтобы в случае отключения одного из них второй мог обеспечить питание
этих потребителей с допустимой перегрузкой, при отключении потребителей III категории. Правила устройства
электроустановок разрешают перегрузку трансформаторов сверх номинальной на 40%
на время общей продолжительностью не более 6 часов в сутки в течении 5 суток
подряд.
Мощность трансформаторов при количестве n ≥ 2 выбирается по расчетной нагрузке:
(1.16)
где Sр - расчетная полная нагрузка.
Также мощность трансформаторов выбирается по послеаварийному режиму,
обусловленному отключением одного из трансформаторов.
(1.17)
где КК - доля нагрузки I и II категории;
kП = 1,4 - коэффициент перегрузки.
Затем
путем сравнения
и
,
выбирается мощность трансформатора.
1.7.1 Разомкнутая сеть
Рис.
1.7 Схема соединения участков сети с указанием ступеней напряжения, полных
мощностей нагрузок и долями нагрузок I и II категорий.
Подстанция
3
Так
как минимальная мощность трансформатора, рассчитанного на 220 кВ, составляет 32
МВА, выбираем трансформатор ТРДН-32000/220.
Подстанция
2
Выбираем
трансформатор ТРДН-32000/220.
Подстанция
1
При
выборе трансформатора для подстанции 1 следует учесть, что от нее к подстанции
4 будет отходить участок сети с более низким номинальным напряжением. Принимаю
решение к установке автотрансформатора, который будет обеспечивать переход с
напряжения 220 кВ на 110 кВ. Так как участок сети от подстанции 1 до подстанции
два будет запитан через автотрансформаторы, то следует честь мощность и
характер нагрузки подстанции 4 в составе нагрузки автотрансформаторов подстанции
1.
Расчет
мощности нагрузки на стороне среднего напряжения (далее СН) 110 кВ:
Рис.
1.8 Фрагмент схемы разомкнутой сети
Мощность
на конце участка 1-4:
Потери
мощности на участке 1-4:
Мощность
в начале участка 1-4:
Нагрузка
на шинах СН:
Расчет
мощности нагрузки на стороне низшего напряжения (далее НН) 10 кВ:
Расчет
требуемой мощности автотрансформатора для нормального режима:
При
выборе автотрансформатора следует учитывать, что номинальная мощность обмотки
НН автотрансформатора составляет не более 50% от его номинальной мощности
.
В
нормальном режиме каждый трансформатор будет нагружен мощностью:
на
шинах СН
,
на
шинах НН
.
Расчет
послеаварийного режима (при отключении одного из автотрансформаторов):
Мощность
в конце участка 1-4:
Мощность
потерь на участке 1-4:
Мощность
в начале участка 1-4:
Полная
мощность на стороне СН в послеаварийном режиме:
Полная
мощность на стороне НН в послеаварийном режиме:
где
kП = 1,2 - коэффициент перегрузки.
Выбираем
автотрансформатор по
. Предварительно выбираем автотрансформатор
АТДЦТН-63000/220/110 Sн = 63 МВА, SнНН = 31,5
МВА.
Выполняем
проверку соответствия нагрузки на шинах НН:
Мощность
на НН в нормальном режиме:
Проверка
показала, что автотрансформатор АТДЦТН-63000/220/110 не подходит по нагрузке НН
в нормальном режиме. Выбираем более мощный автотрансформатор
АТДЦТН-125000/220/110 Sн = 125 МВА, нНН = 63,5
МВА.
Выполняем
проверку соответствия нагрузки на шинах НН:
Мощность
на НН в нормальном режиме:
Мощность
на НН в послеаварийном режиме:
Принимаем
во внимание общую реальную нагрузку в послеаварийном режиме:
Окончательно
принимаем для подстанции 1 автотрансформатор АТДЦТН-125000/220/110.
Подстанция
4
Выбираем
трансформатор ТДН-10000/110.
Результаты
выбора трансформаторов для разомкнутой сети сведены в таблицу 1.8
Таблица
1.8
|
Uном, кВ
|
ВН
|
220
|
220
|
220
|
110
|
|
СН
|
110
|
-
|
-
|
-
|
|
НН
|
10
|
10
|
10
|
10
|
|
Полная нагрузка на
подстанции, МВА
|
86,42
|
24,675
|
34,146
|
12,821
|
|
Подключенная мощность I и
II категорий, МВА
|
69,136
|
25,61
|
3,846
|
|
Номинальная мощность
трансформатора, МВА
|
125
|
32
|
32
|
10
|
|
Аварийная перегрузка, МВА
|
34,568
|
8,813
|
18,293
|
2,747
|
|
Тип трансформатора
|
АТДЦТН-125000/220/110
|
ТРДН-32000/220
|
ТРДН-32000/220
|
ТДН-10000/110
|
.7.2 Замкнутая сеть
Подстанция 4
Выбираем
трансформатор ТРДН-32000/220.
Подстанция
1
Выбираем
трансформатор ТРДН-63000/220.
Подстанция
2
Выбираем
трансформатор ТРДН-32000/220.
Подстанция
3
Выбираем
трансформатор ТРДН-32000/220.
Результаты
выбора трансформаторов для разомкнутой сети сведены в таблицу 1.9.
Таблица
1.9
|
Uном, кВ
|
ВН
|
220
|
220
|
220
|
220
|
|
НН
|
10
|
10
|
10
|
10
|
|
Полная нагрузка на
подстанции, МВА
|
86,42
|
24,675
|
34,146
|
12,821
|
|
Подключенная мощность I и
II категорий, МВА
|
69,136
|
12,338
|
25,61
|
3,846
|
|
Номинальная мощность
трансформатора, МВА
|
63
|
32
|
32
|
32
|
|
Аварийная перегрузка, МВА
|
49,383
|
8,813
|
18,293
|
2,747
|
|
Тип трансформатора
|
ТРДН-63000/220
|
ТРДН-32000/220
|
ТРДН-32000/220
|
ТРДН-32000/220
|
1.8 Определение проводимостей и сопротивлений трансформаторов
Активное сопротивление трансформатора рассчитываем по формуле:
(1.18)
где ΔРк - потери короткого замыкания, кВт;
UВН2 - напряжение обмотки ВН, кВ.
Реактивное сопротивление трансформатора рассчитываем по формуле:
(1.19)
где uк - напряжение короткого замыкания, %.
Активную проводимость ветви намагничивания рассчитываем по формуле:
(1.20)
где ΔРхх - потери холостого хода, кВт.
Реактивную проводимость ветви намагничивания рассчитываем по формуле:
(1.21)
где - ток холостого хода, %.
Реактивную мощность потерь ветви намагничивания рассчитываем по формуле:
(1.22)
ТРДН-32000/220
Каталожные данные
Номинальное напряжение обмотки высшего напряжения UВН = 230 кВ;
Номинальное напряжение обмотки низшего напряжения UНН = 11 кВ;
Потери холостого хода ΔРхх = 45 кВт;
Потери короткого замыкания ΔРк = 150 кВт;
Напряжение короткого замыкания uк = 11,5 %;
Ток холостого хода Iх = 0,65 %;
Номинальная мощность трансформатора Sн = 32 МВА.
ТРДН-63000/220
Каталожные
данные
Номинальное
напряжение обмотки высшего напряжения UВН = 230 кВ;
Номинальное
напряжение обмотки низшего напряжения UНН = 11 кВ;
Потери
холостого хода ΔРхх = 70 кВт;
Потери
короткого замыкания ΔРк = 265 кВт;
Напряжение
короткого замыкания uк = 11,5
%;
Ток
холостого хода Iх = 0,5 %;
Номинальная
мощность трансформатора Sн = 63
МВА.
ТДН-10000/220
Каталожные
данные
Номинальное
напряжение обмотки высшего напряжения UВН = 115 кВ;
Номинальное
напряжение обмотки низшего напряжения UНН = 11 кВ;
Потери
холостого хода ΔРхх = 10 кВт;
Потери
короткого замыкания ΔРк = 56 кВт;
Напряжение
короткого замыкания uк = 10,5
%;
Ток
холостого хода Iх = 0,26
%;
Номинальная
мощность трансформатора Sн = 10
МВА.
АТДЦТН-125000/220/110
Каталожные
данные [2]
Номинальное
напряжение обмотки высшего напряжения UВН = 230 кВ;
Номинальное
напряжение обмотки среднего напряжения UСН = 121 кВ;
Номинальное
напряжение обмотки низшего напряжения UНН = 11 кВ;
Потери
холостого хода ΔРхх = 70 кВт;
Потери
короткого замыкания между обмотками высшего и среднего напряжения ΔРк В-С = 315 кВт;
Потери
короткого замыкания между обмотками высшего и низшего напряжения ΔРк В-Н = 315 кВт;
Потери
короткого замыкания между обмотками среднего и низшего напряжения ΔРк С-Н = 315 кВт;
Напряжение
короткого замыкания между обмотками высшего и среднего напряжения uк
В-С = 11 %;
Напряжение
короткого замыкания между обмотками высшего и низшего напряжения uк
В-Н = 45 %;
Напряжение
короткого замыкания между обмотками среднего и низшего напряжения uк
С-Н = 28 %;
Ток
холостого хода Iх = 0,4 %;
Номинальная
мощность трансформатора Sн = 125
МВА;
Активное
сопротивление обмотки ВН RВ = 0,5
Ом;
Активное
сопротивление обмотки СН RС = 0,5
Ом;
Активное
сопротивление обмотки НН RН = 1 Ом;
Реактивное
сопротивление обмотки ВН ХВ = 48,6 Ом;
Реактивное
сопротивление обмотки СН ХС = 0 Ом;
Реактивное
сопротивление обмотки НН ХН = 82,5 Ом;
Реактивная
мощность потерь ветви намагничивания ΔQх = 0,625
МВАр.
1.9 Приближенный расчет потерь активной и реактивной
мощностей
При приближенном расчете потерь активной и реактивной мощностей в сетях
пользуются следующими допущениями:
. Потоки мощности в сетях определяются без учета потерь мощности.
. Расчеты ведутся по номинальному напряжению в линии.
. Потери мощности определяются для режима максимальной нагрузки.
. Вначале определяются потери в трансформаторах, а затем потери в
линиях без учета потерь в трансформаторах и предыдущих линиях.
Потери активной мощности в трансформаторах рассчитываем по формуле:
(1.23)
где n - число параллельно работающих
трансформаторов;
ΔРх - в МВт.
Потери реактивной мощности в трансформаторах рассчитываем по формуле:
, (1.24)
где ΔQх - в МВАр.
Потери активной мощности в ВЛ рассчитываю по формуле:
(1.25)
Потери реактивной мощности в ВЛ рассчитываю по формуле:
, (1.26)
.9.1 Разомкнутая сеть
Потери в трансформаторах:
Расчеты
сведены в таблицу 1.10.
Таблица
1.10
|
№ ПС
|
n, шт
|
R, Ом
|
Х, Ом
|
P, МВт
|
Q, МВАр
|
ΔРх, МВт
|
ΔQх, МВАр
|
ΔРтр, МВт
|
ΔQтр, МВАр
|
Uном, кВ
|
|
ПС1в
|
2
|
0,5
|
48,6
|
80,221
|
51,859
|
0,065
|
0,625
|
0,177
|
5,831
|
220
|
|
ПС1с
|
2
|
0,5
|
0
|
10,221
|
1,18
|
0
|
0
|
5,47*10-4
|
0
|
220
|
|
ПС1н
|
2
|
1
|
82,5
|
70
|
50,679
|
0
|
0
|
0,077
|
6,365
|
220
|
|
ПС2
|
2
|
7,749
|
190,109
|
19
|
15,744
|
0,045
|
0,208
|
0,139
|
1,612
|
220
|
|
ПС3
|
2
|
7,749
|
190,109
|
28
|
19,544
|
0,045
|
0,208
|
0,183
|
2,706
|
220
|
|
ПС4
|
2
|
7,406
|
138,863
|
10
|
8,023
|
0,01
|
0,026
|
0,07
|
0,995
|
110
|
|
Всего
|
|
|
|
|
|
|
|
0,647
|
17,509
|
|
Потери в линиях
Расчеты
сведены в таблицу 1.11.
Таблица
1.11
|
Участок
|
R, Ом
|
Х, Ом
|
Р, МВт
|
Q, МВАр
|
ΔР, МВт
|
ΔQ,
МВАр
|
Uном, кВ
|
|
4-1
|
22,256
|
23,088
|
10
|
8,023
|
0,302
|
0,314
|
110
|
|
2-1
|
6,766
|
24,08
|
80
|
58,702
|
1,378
|
4,899
|
220
|
|
3-2
|
7,986
|
28,38
|
99
|
74,446
|
2,532
|
8,997
|
220
|
|
РЭС-3
|
5,082
|
18,06
|
127
|
93,99
|
2,621
|
9,315
|
220
|
|
Всего
|
|
|
|
|
6,834
|
23,5
|
|
1.9.2 Замкнутая сеть
Потери в трансформаторах:
Расчеты
сведены в таблицу 1.12.
Потери в линиях
Расчеты
сведены в таблицу 1.13.
Таблица
1.12
|
№ ПС
|
n, шт
|
R, Ом
|
Х, Ом
|
P, МВт
|
Q, МВАр
|
ΔРх, МВт
|
ΔQх, МВАр
|
ΔРтр, МВт
|
ΔQтр, МВАр
|
Uном, кВ
|
|
ПС3
|
2
|
7,749
|
190,109
|
28
|
19,544
|
0,045
|
0,280
|
0,183
|
2,706
|
220
|
|
ПС2
|
2
|
7,749
|
190,109
|
19
|
15,744
|
0,045
|
0,208
|
0,139
|
1,612
|
220
|
|
ПС1
|
2
|
3,532
|
96,563
|
70
|
50,679
|
0,07
|
0,315
|
0,413
|
8,08
|
|
ПС4
|
2
|
7,749
|
190,109
|
10
|
8,023
|
0,045
|
0,208
|
0,073
|
1,343
|
220
|
|
Всего
|
|
|
|
|
|
|
|
0,807
|
13,741
|
|
Таблица 1.13
|
Участок
|
R, Ом
|
Х, Ом
|
Р, МВт
|
Q, МВАр
|
ΔР, МВт
|
ΔQ,
МВАр
|
Uном, кВ
|
|
РЭС'-3
|
10,164
|
36,12
|
59,797
|
43,928
|
1,156
|
4,109
|
220
|
|
3-2
|
15,972
|
56,76
|
31,797
|
24,384
|
0,53
|
1,883
|
220
|
|
2-1
|
13,552
|
48,16
|
12,797
|
8,64
|
0,067
|
0,237
|
220
|
|
1-4
|
12,584
|
44,72
|
57,203
|
42,039
|
1,31
|
4,656
|
220
|
|
4-РЭС
|
8,47
|
30,1
|
67,203
|
50,062
|
1,229
|
4,367
|
220
|
|
Всего
|
|
|
|
|
4,292
|
15,252
|
|
1.10 Составление балансов активной и реактивной мощностей
В электроэнергетической системе в каждый момент времени должен
соблюдаться баланс вырабатываемой и потребляемой мощностей.
.10.1 Разомкнутая сеть
Суммарная активная мощность нагрузки в режиме максимальной нагрузки:
Суммарные
потери активной мощности в режиме максимальной нагрузки:
Потребляемая
активная мощность от источника питания:
Суммарная
реактивная мощность нагрузки в режиме максимальной нагрузки:
Суммарные
потери реактивной мощности в режиме максимальной нагрузки:
Суммарная
зарядная мощность всех линий:
Потребляемая
реактивная мощность от источника питания:
Реактивная
мощность, которой располагает РЭС (источник питания):
Согласно
заданию cosφРЭС = 0,9
tgφРЭС = tg(arcos(cosφРЭС)) = tg(arcos(0,9))
= 0,484
QП = 36,767 < QРЭС = 65,132
Компенсация
реактивной мощности не требуется.
1.10.2 Замкнутая сеть
Суммарная активная мощность нагрузки в режиме максимальной нагрузки:
Суммарные
потери активной мощности в режиме максимальной нагрузки:
Потребляемая
активная мощность от источника питания:
Суммарная
реактивная мощность нагрузки в режиме максимальной нагрузки:
Суммарные
потери реактивной мощности в режиме максимальной нагрузки:
Суммарная
зарядная мощность всех линий:
Потребляемая
реактивная мощность от источника питания:
Реактивная
мощность, которой располагает РЭС (источник питания):
Согласно
заданию cosφРЭС = 0,9
tgφРЭС = tg(arcos(cosφРЭС)) = tg(arcos(0,9))
= 0,484
QП = 53,205 < QРЭС = 63,979
Компенсация
реактивной мощности не требуется.
2. Технико-экономическое сравнение вариантов сети
.1 Составление полных схем электрических соединений
.1.1 Схема разомкнутой сети
Схему понижающих подстанций выбираю ответвительную (рис. 2.1).
Присоединение подстанций через ответвления к ЛЭП дешевле, т.к. требуется меньше
коммутационной аппаратуры.
Недостатком является то, что при проведении ремонтных работ нужно
отключать всю линию.
Подстанцию 4 выполняю тупиковой.
Распределительное устройство низшего напряжения (далее РУНН) детально не
рассматриваем. Для всех подстанций выбираю схему «квадрат», отличающуюся
высокой надежностью. Для распределительного устройства среднего напряжения
(далее РУСН) подстанции 1 выбираю схему «одна рабочая секционированная».
2.1.2 Схема замкнутой сети
Схему понижающих подстанций выбираю проходную (рис. 2.2).
Распределительное устройство низшего напряжения (далее РУНН) детально не
рассматриваем. Для всех подстанций выбираю схему «квадрат», отличающуюся
высокой надежностью.
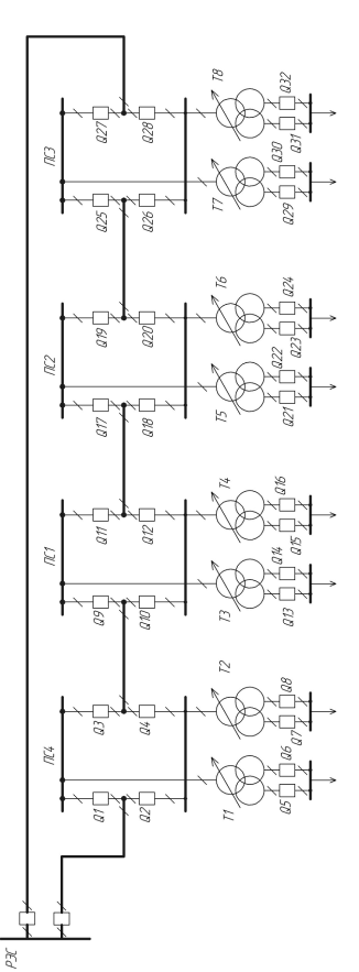
Рис 2.1 Принципиальная схема разомкнутой сети.
Рис 2.2 Принципиальная схема замкнутой сети.
2.2 Определение экономических показателей и выбор
целесообразного варианта
При экономическом сравнении принимаем следующие допущения:
. Капиталовложения в сеть принимаются единовременными (срок
строительства 1 год), эксплуатационные расходы - постоянными во времени.
. По надежности варианты принимаются равноценными.
Для выполнения сравнения по экономическим показателям применяем [3].
2.2.1 Разомкнутая сеть
Расчет стоимости РУВН(СН) подстанций:
Расчет проводим по [3, таблица 7.19]. Выбираем элегазовые выключатели.
Расчеты сведены в таблицу 2.1.
Таблица 2.1
|
№ ПС
|
Uном выключателя, кВ
|
Количество
|
Цена, тыс. руб.
|
Стоимость, тыс. руб.
|
|
ПС1 (ВН)
|
220
|
4
|
15000
|
60000
|
|
ПС1 (СН)
|
110
|
5
|
7300
|
36500
|
|
ПС2
|
220
|
4
|
15000
|
60000
|
|
ПС3
|
220
|
4
|
15000
|
60000
|
|
ПС4
|
110
|
4
|
7300
|
29200
|
Расчет потерь электроэнергии в ВЛ:
Находим время наибольших потерь по формуле:
(2.1)
Находим потери электроэнергии за год по формуле:

(2.2)
Расчеты
сведены в таблицу 2.2.
Таблица
2.2
|
Участок
|
Т, ч
|
τ,
ч
|
ΔР, МВт
|
ΔЭ, МВт*ч
|
|
РЭС-3
|
4466
|
2852
|
2,621
|
7476,139
|
|
3-2
|
3947
|
2357
|
2,532
|
5967,819
|
|
2-1
|
4125
|
2521
|
1,378
|
3475,584
|
|
1-4
|
5000
|
3410
|
0,302
|
1031,207
|
|
Всего
|
|
|
|
17950,75
|
Расчет потерь электроэнергии в трансформаторах:
Для автотрансформаторов подстанции 1 для обмотки ВН необходимо найти свое
значение числа часов использования максимальной нагрузки как средневзвешенное
между Т1СН и Т1НН:
Т1НН = Т1 = 4000 ч,Т1СН = Тс.вз1-4
= 5000 ч
где
P1НН = Р1;
Р1СН
= Р4.
Время
наибольших потерь и потери электроэнергии за год находим по формулам (2.1) и
(2.2).
Расчеты
сведены в таблицу 2.3.
Таблица
2.3
|
№ ПС
|
Т, ч
|
τ,
ч
|
ΔР, МВт
|
ΔЭ, МВт*ч
|
|
ПС1 (ВН)
|
4125
|
2521
|
0,177
|
446,623
|
|
ПС1 (СН)
|
5000
|
3411
|
0,0005
|
1,865
|
|
ПС1 (НН)
|
4000
|
2405
|
0,077
|
185,574
|
|
ПС2
|
3200
|
1727
|
0,139
|
239,594
|
|
ПС3
|
6300
|
4980
|
0,183
|
913,032
|
|
ПС4
|
5000
|
3411
|
0,07
|
239,793
|
|
Всего
|
|
|
|
2026,551
|
Общие потери в сети:
где
ΔЭтр - общие потери электроэнергии в
трансформаторах, МВт*ч;
ΔЭВЛ - общие потери электроэнергии в линиях, МВт*ч;
2.2.2 Замкнутая сеть
Расчет стоимости РУВН подстанций:
Расчет проводим по [3, таблица 7.19]. Выбираем элегазовые выключатели.
Расчеты сведены в таблицу 2.4.
Таблица 2.4
|
№ ПС
|
Uном выключателя, кВ
|
Количество
|
Цена, тыс. руб.
|
Стоимость, тыс. руб.
|
|
ПС1
|
220
|
4
|
15000
|
60000
|
|
ПС2
|
220
|
4
|
15000
|
60000
|
|
ПС3
|
220
|
4
|
15000
|
60000
|
|
ПС4
|
220
|
4
|
15000
|
60000
|
Расчет потерь электроэнергии в ВЛ проводим по формулам (2.1) и (2.2):
Расчеты
сведены в таблицу 2.5.
Таблица
2.5
|
Участок
|
Т, ч
|
τ,
ч
|
ΔР, МВт
|
ΔЭ, МВт*ч
|
|
РЭС-4
|
4149
|
2544
|
1,229
|
3126,189
|
|
4-1
|
4000
|
2405
|
1,31
|
3151,56
|
|
1-2
|
4000
|
2405
|
0,067
|
160,565
|
|
2-3
|
3522
|
1986
|
0,53
|
1052,528
|
|
3-РЭС
|
4823
|
3220
|
1,156
|
3722,655
|
|
Всего
|
|
|
|
11213,497
|
Расчет потерь электроэнергии в трансформаторах:
Время наибольших потерь и потери электроэнергии за год находим по
формулам (2.1) и (2.2).
Расчеты
сведены в таблицу 2.6.
Таблица
2.6
|
№ ПС
|
Т, ч
|
τ,
ч
|
ΔР, МВт
|
ΔЭ, МВт*ч
|
|
ПС1
|
4000
|
2405
|
0,413
|
992,187
|
|
ПС2
|
3200
|
1757
|
0,139
|
239,594
|
|
ПС3
|
6300
|
4980
|
0,183
|
913,062
|
|
ПС4
|
5000
|
3411
|
0,073
|
247,74
|
|
Всего
|
|
|
|
2392,583
|
Общие потери в сети:
Согласно
постановлению РЭК КО от 31.12.2011г. №484 примем к расчету тариф по региону на
закупку электроэнергии = 44,28 руб./(МВт*ч).
По
принятому условию, что срок возведения сети 1 год, для для нахождения
приведенных затрат применяем формулу (12.25) [2]:
(2.3)
где И - годовые эксплуатационные расходы;
К - капитальные затраты;
Е = 0,125 - коэффициент дисконта.
Для расчета капитальных затрат на сооружение ВЛ использую [3, таблица
7.4, с.340].
Зональный коэффициент к базовой стоимости беру из [3, таблица 7.2,
с.337].
Стоимость трансформаторов и автотрансформаторов беру из [3, таблица 7.20,
с.353].
Стоимость беру вольтодобавочных трансформаторов из [3, таблица 7.24,
с.355].
Сравнение привожу в таблице 2.7.
Таблица 2.7
|
Разомкнутая сепь
|
Замкнутая сеть
|
|
Название
|
Цена, тыс. руб.
|
Кол-во, шт
|
Всего, тыс. руб.
|
Название
|
Цена, тыс. руб.
|
Кол-во, шт
|
Всего, тыс. руб.
|
|
1. Капитальный затраты на
сооружение ВЛ
|
|
220 кВ
|
|
|
|
220 кВ
|
|
|
|
|
РЭС - 3
|
2195
|
84
|
184380
|
РЭС - 4
|
1310
|
70
|
91700
|
|
3-2
|
2195
|
132
|
289740
|
4 - 1
|
1310
|
104
|
136240
|
|
2-1
|
2195
|
112
|
245840
|
1 - 2
|
1310
|
112
|
146720
|
|
110 кВ
|
|
|
|
2 - 3
|
1310
|
132
|
172920
|
|
1-4
|
1795
|
104
|
186680
|
3 - РЭС'
|
1310
|
84
|
110040
|
|
Всего
|
|
|
906640
|
Всего
|
|
|
657620
|
|
Зональный коэф-нт
|
1,7
|
1541288
|
Зональный коэф-нт
|
1,7
|
1117954
|
|
2. Постоянная часть затрат
на подстанции
|
|
ПС1
|
30000
|
1
|
30000
|
ПС1
|
21000
|
1
|
21000
|
|
ПС2
|
21000
|
1
|
21000
|
ПС2
|
21000
|
1
|
21000
|
|
ПС3
|
21000
|
1
|
21000
|
ПС3
|
21000
|
1
|
21000
|
|
ПС4
|
21000
|
1
|
21000
|
ПС4
|
21000
|
1
|
21000
|
|
Всего
|
|
|
93000
|
Всего
|
|
|
84000
|
|
Зональный коэф-нт
|
1,6
|
148800
|
Зональный коэф-нт
|
1,6
|
134400
|
|
3. Стоимость
трансформаторов
|
|
ТРДН-32000/220
|
10000
|
4
|
40000
|
ТРДН-32000/220
|
10000
|
6
|
60000
|
|
АТДЦТН-125000/220/110
|
15525
|
2
|
31050
|
ТРДН-63000/220
|
12625
|
2
|
25250
|
|
ТД-10000/110
|
3700
|
2
|
7400
|
|
|
|
|
|
ЛТМН-16000/10
|
2875
|
2
|
5750
|
|
|
|
|
|
ЛТДН-40000/10
|
3750
|
2
|
7500
|
|
|
|
|
|
Всего
|
|
|
91700
|
Всего
|
|
|
85250
|
|
4. Стоимость ОРУ
|
|
ПС1 (220)
|
96500
|
1
|
96500
|
ПС1
|
60000
|
1
|
60000
|
|
ПС2 (220)
|
60000
|
1
|
60000
|
ПС2
|
60000
|
1
|
60000
|
|
ПС3 (220)
|
60000
|
1
|
60000
|
ПС3
|
60000
|
1
|
60000
|
|
ПС4 (110)
|
29200
|
1
|
29200
|
ПС4
|
60000
|
1
|
60000
|
|
Всего
|
|
|
245700
|
Всего
|
|
|
240000
|
|
5. Капитальные вложения,
определенные по укрупненным показателям (1 + 2 + 3 + 4)
|
|
По ценам 2000 г.
|
2027488
|
По ценам 2000 г.
|
1577604
|
|
6. Ежегодные издержки на
амортизацию, обслуживание и ремонт относительно капительных затрат
|
|
ВЛ
|
|
|
1541288
|
ВЛ
|
|
|
1117954
|
|
Коэффициент
|
2,80%
|
0,028
|
43156,064
|
Коэффициент
|
2,80%
|
0,028
|
31302,712
|
|
Силовое оборудование
|
|
|
486200
|
Силовое оборудование
|
|
|
459650
|
|
Коэффициент
|
8,40%
|
0,084
|
40840,8
|
Коэффициент
|
8,40%
|
0,084
|
38610,6
|
|
Всего
|
|
|
83996,864
|
Всего
|
|
|
69913,312
|
|
7. Стоимость потерь
электроэнергии
|
|
Потери
|
МВт*ч
|
19977,26
|
Потери
|
МВт*ч
|
13606,08
|
|
Тариф
|
руб/(МВт*ч)
|
44,28
|
Тариф
|
руб/(МВт*ч)
|
44,28
|
|
Стоимость потерь
электроэнергии
|
884,5930728
|
Стоимость потерь
электроэнергии
|
602,4772224
|
|
8. Годовые эксплуатационные
расходы
|
|
И
|
(6 + 7)
|
84881,45707
|
И
|
(6 + 7)
|
70515,78922
|
|
9. Приведенные затраты
|
|
К * Е
|
0,125
|
253436
|
К * Е
|
0,125
|
197200,5
|
|
И + К * Е
|
|
338317,4571
|
И + К * Е
|
|
267716,2892
|
Разница в приведенных затратах составляет:
где
- приведенные затраты на разомкнутую сеть;
-
приведенные затраты на замкнутую сеть.
По
приведенным затратам замкнутая сеть дешевле разомкнутой на 20,87 %.
Разница
в капитальных затратах, с учетом издержек и коэффициента дисконта:
где
- капитальные затраты с учетом издержек и
коэффициента дисконта на разомкнутую сеть;
капитальные
затраты с учетом издержек и коэффициента дисконта на замкнутую сеть.
По
капитальным затратам с учетом издержек и коэффициента дисконта замкнутая сеть
дешевле разомкнутой на 21,95 %.
Окончательно
выбираю вариант с замкнутой сетью.
3 Точный электрический расчет выбранного варианта
.1 Составление схемы замещения сети
Рис.
3.1 Схема замещения сети
3.2 Расчет потокораспределения в сети без учета потерь
мощности
.2.1 Режим максимальных нагрузок
Рис.
3.2 Потокораспределение в сети без учета потерь мощности в режиме максимальных
нагрузок
Напряжение
РЭС в режиме максимальных нагрузок:
Определяем
расчетные нагрузки по формуле:
(3.1)
где Sнi - полная мощность нагрузки, МВА;
ΔSтрi - потери в трансформаторе, МВА;
ΔSххтрi
- потери холостого хода трансформатора, МВА;
Qк и Qн - зарядные мощности
конца и начала линий соответственно рядом с рассматриваемой подстанцией, МВАр;
QКУ - мощность компенсирующего
устройства, МВАр.
Потери в трансформаторе рассчитываем по формуле:
(3.2)
где Рнi
- активная нагрузка на подстанции, МВт;
Qнi - реактивная нагрузка на подстанции,
МВАр;
Rтрi - активное сопротивление
трансформатора на подстанции, Ом;
Хтрi - реактивное сопротивление трансформатора на подстанции,
Ом;
U -
напряжение РЭС в рассматриваемом режиме, кВ.
Зарядная мощность линии определяем по формуле:
(3.3)
Зарядные мощности конца и начала линии определяем по формуле:
(3.4)
Определяем потери в трансформаторе:
Определяем
потери холостого хода в трансформаторах:
,
,
,
.
Определяем
зарядные мощности линий:
Определяем
зарядные мощности конца и начала линий:

Определяем
расчетные нагрузки:
Потоки
мощностей в линиях определяем по следующей формуле:
(3.5)
где Z* - сопряженная величина полного сопротивления.
Проверка
правильности расчетов потоков мощностей на головных участках цепи:
Условие
выполняется.
Определение
потоков мощности в остальных линиях:
Мощность,
потребляемая с шин РЭС в режиме максимальных нагрузок:
3.2.2 Режим минимальных нагрузок
Рис.
3.3 Потокораспределение в сети без учета потерь мощности в режиме минимальных
нагрузок
Напряжение
РЭС в режиме минимальных нагрузок:
По
заданию Pmin = 45 %:
Определяем
расчетные нагрузки по формуле (3.1).
Потери
в трансформаторе рассчитываем по формуле (3.2).
Зарядная
мощность линии определяем по формуле (3.3).
Зарядные
мощности конца и начала линии определяем по формуле (3.4).
Определяем
потери в трансформаторе:
Определяем
зарядные мощности линий:
Определяем
зарядные мощности конца и начала линий:
Определяем
расчетные нагрузки:
Потоки мощностей в линиях определяем по следующей
формуле (3.5):
Проверка
правильности расчетов потоков мощностей на головных участках цепи:
Условие
выполняется.
Определение
потоков мощности в остальных линиях:
Мощность,
потребляемая с шин РЭС в режиме минимальных нагрузок:
3.2.3 Послеаварийный режим
Аварийным режимом для сети является обрыв самой загруженной линии (РЭС-4)
(рис. 3.4).
Рис.
3.4 Потокораспределение в сети без учета потерь мощности в послеаварийном
режиме
Расчетные
нагрузки в послеаварийном режиме равны расчетным нагрузкам при режиме
максимальных нагрузок.
Определение
потоков мощности в остальных линиях:
.3 Расчет потокораспределения в сети с учетом потерь мощности
.3.1 Режим максимальных нагрузок
Рис.
3.4 Потокораспределение в сети с учетом потерь мощности в режиме максимальных
нагрузок
Потери
мощности в линии рассчитываем по формуле:
(3.6)
где U2 - напряжение РЭС при рассматриваемом режиме работы.
Мощность в конце линии 1-4:
Потери
мощности на участке 1-4:
Мощность
в начале линии 1-4:
Расчет
линии 4-РЭС:
Расчет
линии 1’-2:
Расчет
линии 2-3:
Расчет
линии 3-РЭС’:
3.3.2 Режим минимальных нагрузок
Потери мощности в линии рассчитываем по формуле (3.6).
Расчет линии 4-1:
Расчет
линии 4-РЭС:
Расчет
линии 1’-2:
Расчет
линии 2-3:
Расчет
линии 3-РЭС’:
3.3.3 Послеаварийный режим работы
Аварийным режимом для сети является обрыв самой загруженной линии
(РЭС-4).
Потери мощности в линии рассчитываем по формуле (3.6).
Расчет линии 4-1:
Расчет
линии 1-2:
Расчет
линии 2-3:
Расчет
линии 3-РЭС’:
.4 Определение падений напряжения на головном участке сети и напряжений
на шинах узловой подстанции
Падение напряжения состоит из продольной составляющей и поперечной
составляющей.
Продольную составляющую рассчитываем по формуле:
(3.7)
где U - напряжение источника питания при рассматриваемом режиме, кВ.
Рi-j - активная мощность в начале линии при рассматриваемом
режиме, МВт;
Qi-j - реактивная мощность в начале линии
при рассматриваемом режиме, МВАр.
Поперечную составляющую рассчитываем по формуле:
(3.8)
Напряжение на шинах подстанции рассчитываем по формуле:
(3.9)
3.4.1 Режим максимальных нагрузок
Продольную и поперечную составляющие рассчитываем по формулам (3.7) и
(3.8) соответственно. Напряжение на шинах подстанции рассчитываем по формуле
(3.9).
Участок 4-РЭС:
Участок
3-РЭС':
3.4.2 Режим минимальных нагрузок
Продольную и поперечную составляющие рассчитываем по формулам (3.7) и
(3.8) соответственно. Напряжение на шинах подстанции рассчитываем по формуле
(3.9).
Участок 4-РЭС:
Участок
3-РЭС':
.4.3 Послеаварийный режим
Аварийным режимом для сети является обрыв самой загруженной линии
(РЭС-4).
Продольную и поперечную составляющие рассчитываем по формулам (3.7) и
(3.8) соответственно. Напряжение на шинах подстанции рассчитываем по формуле
(3.9).
Участок 3-РЭС':
3.5 Определение потерь напряжений и напряжений в узлах распределительной
сети
.5.1 Режим максимальных нагрузок
Продольную и поперечную составляющие рассчитываем по формулам (3.7) и
(3.8) соответственно. Напряжение на шинах подстанции рассчитываем по формуле
(3.9).
Участок 4-1:
Участок
3-2:
Участок
1-2:
3.5.2 Режим минимальных нагрузок
Участок 4-1:
Участок
3-2:
Участок
1-2:
3.5.3 Послеаварийный режим работы
Аварийным режимом для сети является обрыв самой загруженной линии
(РЭС-4).
Участок 3-2:
Участок
1-2:
Участок
4-1:
3.6 Выбор ответвлений и расчет действительных напряжений на
шинах узловых подстанций
Потери напряжения в трансформаторе рассчитываем по формуле:
(3.10)
где Pi - активная мощность нагрузки на i-ой
подстанции при рассматриваемом режиме, МВт;
ΔРтрi - потери активной
мощности в трансформаторе на i-ой
подстанции при рассматриваемом режиме, МВт;
Qi - реактивная мощность нагрузки на i-ой подстанции при рассматриваемом
режиме, МВт;
ΔQтрi - потери реактивной мощности в трансформаторе на i-ой подстанции при рассматриваемом
режиме, МВт;
Rтi - активное сопротивление
трансформатора на i-ой подстанции, Ом;
Хтi
- реактивное сопротивление трансформатора на i-ой подстанции, Ом;
Ui - напряжение на i-ой подстанции при рассматриваемом режиме, кВ.
Потери напряжения в трансформаторе, приведенные к вторичной обмотке
рассчитываем по формуле:
(3.11)
где UiНН - напряжение обмотки низшего
напряжения трансформатора на i-ой подстанции, кВ;iВН - напряжение обмотки высшего
напряжения трансформатора на i-ой подстанции, кВ.
Диапазон отклонения напряжения в сети рассчитываем по формуле:
(3.12)
Расчетное напряжение на стороне высшего напряжения определяем по формуле:
(3.13)
где Uхх трi - напряжение холостого хода трансформатора, кВ;трiНН
жел - желаемое напряжение на стороне низшего напряжения, кВ.
Действительное напряжение на стороне низшего напряжения рассчитываем по
формуле:
(3.14)
На подстанции 1 используются трансформаторы ТРДН-63000/220, на
подстанциях 2, 3 и 4 используются трансформаторы ТРДН-32000/220.
Диапазон регулирования трансформатора ТРДН-63000/220 с РПН ±12х1%:
Таблица 3.1
|
nотв
|
-12
|
-11
|
-10
|
-9
|
-8
|
-7
|
-6
|
-5
|
-4
|
-3
|
|
Uотв, кВ
|
202,4
|
204,7
|
207
|
209,3
|
211,6
|
213,9
|
216,2
|
218,5
|
220,8
|
223,1
|
|
nотв
|
-2
|
-1
|
0
|
1
|
2
|
3
|
4
|
5
|
6
|
7
|
|
Uотв, кВ
|
225,4
|
227,7
|
230
|
232,3
|
234,6
|
236,9
|
239,2
|
241,5
|
243,8
|
246,4
|
|
nотв
|
8
|
9
|
10
|
11
|
12
|
|
|
|
|
|
|
Uотв, кВ
|
248,4
|
250,7
|
253
|
255,3
|
257,36
|
|
|
|
|
|
Таблица 3.2 Диапазон регулирования трансформатора ТРДН-32000/220 с РПН
±8х1,5%:
|
nотв
|
-8
|
-7
|
-6
|
-5
|
-4
|
-3
|
-2
|
-1
|
0
|
|
Uотв, кВ
|
202,4
|
205,85
|
209,3
|
212,75
|
216,2
|
219,65
|
223,1
|
226,55
|
230
|
|
nотв
|
1
|
2
|
3
|
4
|
5
|
6
|
7
|
8
|
|
|
Uотв, кВ
|
233,45
|
236,9
|
240,35
|
243,8
|
247,25
|
250,7
|
254,15
|
|
Так как UНН для трансформаторов ТРДН-63000/220 и
ТРДН-32000/220 равно 11 кВ, то Uхх трi = 1,1 UНН = 12,1 кВ.
3.6.1 Режим максимальных нагрузок
Для режима максимальных нагрузок UтрiНН жел = 1,05 UНН = 11,55 кВ.
Подстанция 4
Определяем потери напряжения в трансформаторе по (3.10):
Определяем
потери напряжения в трансформаторе, приведенные к вторичной обмотке по (3.11):
Определяем
диапазон отклонения напряжения в сети по (3.12):
Определяем
расчетное напряжение на стороне высшего напряжения по (3.13):
Выбираем
номер ответвления, соответствующего
:
=
5
Определяем
действительное напряжение на стороне низшего напряжения по (3.14):
Подстанция
3
= 3
3.6.2 Режим минимальных нагрузок
Для режима минимальных нагрузок UтрiНН
жел = 1 UНН = 11 кВ.
Подстанция 4
= 5
Подстанция
3
= 3
3.6.3 Послеаварийный режим
Для послеаварийного режима UтрiНН жел = 1,05 UНН = 11,55 кВ.
Подстанция 3
= 0
3.7 Выбор ответвлений на трансформаторах и расчет действительных
напряжений на шинах подстанций
Расчеты производятся по тем же формулам, что и в пункте 3.6:
Потери напряжения в трансформаторе по (3.10); потери напряжения в
трансформаторе, приведенные к вторичной обмотке по (3.11); диапазон отклонения
напряжения в сети по (3.12); расчетное напряжение на стороне высшего напряжения
по (3.13); действительное напряжение на стороне низшего напряжения по (3.14).
3.7.1 Режим максимальных нагрузок
Для режима максимальных нагрузок UтрiНН жел = 1,05 UНН = 11,55 кВ.
Подстанция 1
= 0
Подстанция
2
= 2
3.7.2 Режим минимальных нагрузок
Для режима минимальных нагрузок UтрiНН
жел = 1 UНН = 11 кВ.
Подстанция 1
= 3
Подстанция
2
= 5
3.7.3 Послеаварийный режим
Для послеаварийного режима UтрiНН жел = 1,05 UНН = 11,55 кВ.
Подстанция 2
= -4
Подстанция
1
В
связи с тем, что диапазон отклонения напряжения в сети больше, чем диапазон
регулирования трансформатора ТРДН-63000/220 с РПН±12х1%, считаю нужным
установить регулировочный трансформатор ЛТДЦТНФ-400000/220 с РПН±15х1%.= -14
Таблица 3.3
|
nотв
|
-15
|
-14
|
-13
|
-12
|
-11
|
-10
|
-9
|
-8
|
-7
|
-6
|
|
|
Uотв, кВ
|
195,5
|
197,8
|
200,1
|
202,4
|
204,7
|
207
|
209,3
|
211,6
|
213,9
|
216,2
|
|
|
nотв
|
-5
|
-4
|
-3
|
-2
|
-1
|
0
|
1
|
2
|
3
|
4
|
|
|
Uотв, кВ
|
218,5
|
220,8
|
223,1
|
225,4
|
227,7
|
230
|
232,3
|
234,6
|
236,9
|
239,2
|
|
|
nотв
|
5
|
6
|
7
|
8
|
9
|
10
|
11
|
12
|
13
|
14
|
15
|
|
Uотв, кВ
|
241,5
|
243,8
|
246,4
|
248,4
|
250,7
|
253
|
255,3
|
257,36
|
259,9
|
262,2
|
264,5
|
4. Определение обобщенных показателей сети
.1 Технические показатели
Падение напряжения в режиме максимальной нагрузки до наиболее удаленного
потребителя на одной ступени напряжения:
Суммарные
потери активной мощности в режиме максимально нагрузки:
Суммарные
потери электрической энергии в % от всей потребляемой электрической энергии:
Коэффициент
использования трансформаторов:
Годовое
потребление эклектической энергии:
Удельный
расход электрической энергии на ее транспортировку по линиям сети:
где
- ток в линии, А;
li-j
- длина линии, км;
Si-j
- сечение провода линии, мм2;
τi-j
- время максимальных потерь в линии, ч;
γ = 31,7 - удельная проводимость алюминиевых и сталеалюминевых
проводов, м/(Ом*мм2);
WГ - годовое потребление электрической энергии, кВт.
Удельный
расход электрической энергии на ее преобразование в трансформаторах:
4.2 Экономические показатели
Себестоимость передачи и распределения электрической энергии:
Удельные
капиталовложения:
Удельные
приведенные затраты:
Список используемой литературы
1. Правила устройства электроустановок / Минэнерго СССР. -
6-е изд., перераб. и доп. - М. Энергоатомиздат, 1987. - 648 стр.
2. Герасименко А.А., Передача и распределение электрической
энергии: Учебное пособие/ А.А. Герасименко, В.Т. Федин. - Ростов-н/Д.: Феникс;
Красноярск, 2006. - 720 с.
. Справочник по проектированию электрических сетей/
под ред. Д.Л. Файбисовича. - 3-е изд., переаб. и доп. - М.: ЭНАС, 2009. - 392
с.