Особенности получения тонкопленочного металлического конденсата из паровой фазы
Федеральное
агентство по образованию
Государственное
образовательное учреждение высшего профессионального образования
Алтайский
государственный университет
Физико-технический
факультет
Кафедра
общей и экспериментальной физики
Курсовая
работа
Особенности
получения тонкопленочного металлического конденсата из паровой фазы
Выполнила
Капустина Е.В.
Студентка 3
курса 593 группы
Научный
руководитель,
к.ф.-м.н.,
ст. преп. Макаров С.В.
Барнаул 2012
Оглавление
Введение
.
Оборудование
для нанесения тонких пленок
1.1
Вакуумные
установки. Основные сведения
.1.1
Форвакуумные
насосы
.1.2
Диффузионные паромасляные насосы
1.2.1
Вакуумные
установки переодического действия
.2.2
Вакуумные
установки полунепрерывного действия
1.2.3
Вакуумные
установки непрерывного действия
2.
Нанесение
тонких пленок. Основные сведения
2.1
Испарители с резистивным нагревом
2.2
Испарители
с электронно-лучевым нагревом
3.
Термодинамика
структурных превращений в тонких пленках
.1
Формирование пленок
.2
Характерные механизмы роста пленок
.3
Основные стадии процесса осаждения
Заключение
Список
литературы
Введение
Тонкие пленки - это двумерные объекты. Их
состав, структура и свойства могут отличаться от таковых для объемной фазы, из
которой образовалась тонкая плёнка.
Круг применения тонкопленочной технологии
необычайно широк. Это медицина, электроника, легкая промышленность,
машиностроение (коррозионно- и износостойкие покрытия деталей машин). На основе
тонкопленочной технологии, например, изготавливаются активные компоненты различных
устройств вычислительной техники и техники связи. С расширением сферы
применения тонкопленочной технологии появляется необходимость в осмыслении и
улучшении методов получения и измерения тонких пленок. И наоборот, достижения
тонкопленочной технологии приводят к разработке и производству все более
сложных приборов на основе полупроводниковых, магнитных, оптических и
сверхпроводниковых материалов. В настоящее время тонкопленочные элементы
занимают до 80% площади полупроводниковых кристаллов, что обусловлено
постоянным функциональным усложнением ИМС. Получение высококачественных и
воспроизводимых по электрофизическим параметрам тонкопленочных слоев является
одним из важнейших технологических процессов формирования структур как
дискретных диодов и транзисторов, так и активных и пассивных элементов ИМС.
Тонкие пленки наносятся также при заключительных технологических операциях
изготовления полупроводниковых приборов и ИМС, т.е. после выполнения множества
других операций. При этом брак особенно экономически ощутим и, естественно,
должен быть сведен до минимума. Таким образом, от совершенства технологических
процессов нанесения тонких пленок в значительной степени зависят надежность и
качество изделий микроэлектроники, технический уровень и экономические показатели
их производства. Тонкопленочная технология базируется на сложных
физико-химических процессах и применении различных металлов и диэлектриков.
Так, тонкопленочные резисторы, электроды конденсаторов и межсоединения
выполняют осаждением металлических пленок, а межслойную изоляцию и защитные
покрытия - диэлектрических.
Важным этапом является контроль параметров
тонких пленок (скорости их нанесения, толщины и ее равномерности,
поверхностного сопротивления), который проводится с помощью специальных
приборов, как при выполнении отдельных технологических операций, так и по
завершении всего процесса.
Наносят тонкие пленки в вакууме методами
термического испарения и ионного распыления. При первом методе используют
испарители с резистивным или электронно-лучевым нагревом, а при втором -
системы диодного или магнетронного распыления.
Для реализации этих методов разработаны
специальные вакуумные установки периодического полунепрерывного и непрерывного
действия, на которых можно наносить несколько различных по составу и свойствам
слоев из разных источников в данном технологическом цикле. При этом исключается
воздействие атмосферного воздуха на каждый нанесенный слой, повышается
производительность за счет уменьшения циклов откачки рабочих камер, а также
нагрева и охлаждения подложек, появляется возможность полной автоматизации
установок на основе микропроцессорных систем управления.
Благодаря новейшим достижениям в области
вакуумной техники и техники получения пленок проблема воспроизводимости и
производства сравнимых по качеству тонкопленочных образцов в различных
лабораториях не является уже столь серьезной. Методы исследования тонких пленок
возникли сравнительно недавно, но позволили сильно продвинуться в понимании
свойств тонких пленок. В самом деле, теперь тонкопленочные образцы используют
для исследования взаимодействий между различными компонентами, специфических
для тонких пленок, и при этом получают иногда результаты, невозможные в
массивных образцах.
1. Оборудование для нанесения тонких
пленок
Для вакуумного осаждения тонких пленок с
контролируемыми параметрами необходимо такое рабочее оборудование, которое как
можно меньше влияло бы на процесс формирования пленки. С целью получения
глубокого вакуума для минимизации взаимодействия остаточных газов и
наращиваемых пленок было предпринято множество исследований и разработок. В
результате к настоящему времени имеется обширный набор вакуумных установок и
деталей, а также материалов и методов монтажа.
Основным элементом вакуумных систем являются
насосы, которые предназначены для создания требуемого вакуума в камерах
установок, а также для поддержания рабочего давления при проведении
технологического процесса. В установках для изготовления тонкопленочных
структур ИМС применяются механические форвакуумные и двухроторные насосы,
пароструйные диффузионные, а также криогенные и турбомолекулярные насосы.
При производстве ИМС в технологии нанесения
тонких пленок требуется создавать давления в пределах от 105 Па
(атмосферное) до 10ˉ5 Па и ниже.
Ни один из указанных насосов не может самостоятельно
обеспечить откачку от атмосферного давления до высокого вакуума по следующим
причинам. Во-первых, при столь широком диапазоне давлений существенно
отличаются условия откачки и, во-вторых, каждый насос обладает избирательностью
по отношению к газам, входящим в состав воздуха.
Для создания технологического вакуума 10ˉ5
Па включают каскадно несколько насосов различных типов. Кроме того, для каждого
интервала давлений и для разных газов существуют свои методы откачки, не
оптимальные для других условий.
Основные параметры вакуумных насосов -
предельное остаточное давление, быстрота действия, наибольшие давления запуска
и выпускное давление, которые обычно приводятся в паспортных данных.
Предельное остаточное давление - это наименьшее
давление, которое может быть создано данным насосом при закрытом входном
патрубке. При этом подразумевается, что отсутствует натекание в насос извне, со
стороны его входного патрубка. Этот параметр обусловливает невозможность
построения насоса, который сам не был даже очень слабым поставщиком газов в
вакуумную систему.
Быстрота действия - это объем газа, откачиваемый
в единицу времени при данном давлении на входе в насос (в сечении входного
патрубка). Наиболее распространенными единицами измерения быстроты действия
являются м3/ч и л/с.
По постоянству быстроты действия при изменении
давления можно судить о качестве насоса, которое тем выше, чем меньше
изменяется быстрота действия при уменьшении давления во входном патрубке.
Наибольшее давление запуска - это наибольшее
давление во входном патрубке, при котором насос начинает нормально работать, т.
е. откачивать подсоединенную вакуумную камеру.
Вакуумные насосы можно по этому параметру
разделить на две группы. К первой относятся насосы, наибольшее давление запуска
которых равно атмосферному (механические форвакуумные). Во вторую входят
насосы, требующие для работы предварительного разрежения, которое обычно
создается дополнительным насосом, называемым насосом предварительного
разрежения, или предварительного вакуума (механическим форвакуумным). Насос
предварительного вакуума присоединяют впускным патрубком к выпускному патрубку
насоса, нуждающегося в предварительном разрежении.
Наибольшее выпускное давление - это наибольшее
давление в выходном патрубке, при котором насос еще может выполнять откачку (т.
е. при превышении которого откачка прекращается). Для механических форвакуумных
насосов оно превышает атмосферное, а для насосов, требующих предварительного
разрежения, приблизительно равно наибольшему давлению запуска.
1.1 Вакуумные установки. Основные
сведения
Вакуумные установки для нанесения тонких пленок
разнообразны по конструкции, однако имеют ряд общих элементов (рис. 1).
Рис. 1. Конструктивно-технологическая схема
установок для нанесения тонких пленок
Промышленностью выпускаются вакуумные установки
разных моделей, отличающиеся устройством внутрикамерной оснастки, степенью
автоматизации и оснащенностью аппаратурой для измерения параметров
технологического процесса.
Одним из важнейших параметров вакуумных
установок является производительность Q,
которая при их бесперебойной работе определяется количеством изделий
(подложек), обрабатываемых в единицу времени (шт/ч.),
, (1) где
-
время технологического воздействия на подложку (рабочее);
- вспомогательное
время (холостое).
Рабочее время складывается из времени
предварительного нагрева подложки, времени нанесения пленки и времени
охлаждения подложки перед разгерметизацией камеры
(2)
Холостое время складывается из времени напуска
воздуха в рабочую камеру и ее открытия, времени загрузки подложек и времени
откачки рабочей камеры:
(3)
Рабочее время определяется особенностями
технологического процесса и не может быть уменьшено. Поэтому для повышения
производительности установок сокращают, а в некоторых случаях и совмещают
составляющие, входящие в холостое время.
В зависимости от вида производства, а также
требований производительности различают три типа установок:
периодического действия, используемые в
мелкосерийном производстве, а также для отработки технологических процессов;
полунепрерывного действия, используемые в
серийном производстве с относительно частой сменой технологического процесса;
непрерывного действия, используемые в
крупносерийном и массовом производстве.
1.1.1 Форвакуумные насосы
Рис. 2. Пластично-роторный механический насос
Насосы этого типа имеет принцип действия,
основанный на перемещении газа вследствие механического движения рабочих
частей, при котором происходит периодическое изменение объема рабочей камеры.
Механические форвакуумные и двухроторные насосы
работают в области среднего вакуума, т. е. при давлении от 10 2 до
10 ˉ2 Па.
Механические форвакуумные насосы применяют в
вакуумных установках для создания вакуума около 10ˉ1 Па при
быстроте действия порядка единиц и десятков литров в секунду. Наибольшее
распространение получили пластинчато-роторные механические насосы с масляным
уплотнением (рис. 2, а), основными конструктивными элементами которых являются
корпус б, камера 2 и ротор 7.
Рабочая камера расположена в заполненном
вакуумным маслом корпусе б. В роторе имеется сквозная щелевая прорезь, куда
вставляются две пластаны 4, между которыми расположена пружина 3.
Впускной патрубок 8 проходит через крышку
корпуса б, масляную ванну 5 и стенку камеры 2 в ее откачное пространство, где
вращается ротор 1 в направлении, показанном стрелкой. Ось вращения ротора
совпадает с его геометрической осью, но смещена вверху по отношению к оси
рабочей камеры так, чтобы он при вращении постоянно соприкасался в верхней
часто с внутренней стенкой рабочей камеры. При вращении ротора пластины 4,
разжимаемые пружиной 3 и центробежной силой вращения, скользят по внутренней
цилиндрической поверхности рабочей камеры вдоль прорезей то сближаясь, то
удаляясь друг от друга. На выходном патрубке рабочей камеры 2 расположен
представляющий собой подпружиненную пластину выхлопной клапан, предназначенный
для пропускания газа, выбрасываемого из насоса, и не допускающий его обратного
проникновения. При работе насоса масло должно находиться на определенном уровне
над клапаном. Уровень масла контролируют визуально через специальное окошко.
Слой масла над клапаном предохраняет его от
непосредственного соприкосновения с атмосферным воздухом, а также служит для
охлаждения рабочей камеры, так как особенностью пластинчато-роторных насосов
является наличие большого количества трущихся поверхностей, что обусловливает
нагрев рабочих частей. Кроме того, часть масла, поступающая в рабочее
пространство, служит для смазывания трущихся частей и уплотнения зазоров в роторном
механизме насоса.
Принцип действия насоса поясняется (рис. 2), б,
где для простоты показаны только его рабочая камера с ротором и впускной и
выпускной патрубки. Направления движения откачиваемого газа и вращения ротора
указаны стрелками. Римскими цифрами указаны три характерных положения ротора,
последовательно занимаемые им в течение одного полуоборота.
Если принять положение I за начальное, то в этом
положении пластина А, продвинувшись вниз, создает расширение рабочего объема со
стороны впускного патрубка 8, в результате чего происходит всасывание газа из
откачиваемого объема (собственно откачка). Область между движущейся вниз
пластиной и впускным патрубком насоса называют объемом всасывания.
Поступление газа в рабочий объем прекращается
при подходе к впускному патрубку пластины Б (положение II). При этом объем,
находящийся перед пластиной А, отсекается от откачиваемого. Затем газ,
захваченный в отсеченный объем, перегоняется к выпускному патрубку, сжимается
пластиной А и выбрасывается в атмосферу (положение III)
через выхлопной клапан 7.
Положение III совпадает с начальным положением
I, с той разницей, что пластины меняются местами. Дальше работа насоса
продолжается в описанном порядке. В рабочей камере между пластинами всегда
имеются три объема: разрежения, перегоняемый и сжатия.
Таким образом, каждая пластина выполняет двойную
роль: с одной стороны, как бы тянет за собой газ, поступающий из впускного
отверстия, а с другой - сжимает поступивший газ для выбрасывания его за пределы
насоса через выпускной патрубок. При непрерывном вращении ротора всасывание и
выбрасывание газа поочередно производятся обеими пластинами, в результате чего
и происходит откачка вакуумного объема, к которому насос присоединяется
впускным патрубком.
Так работает одноступенчатый насос, создающий
вакуум порядка 10 Па. Для получения остаточного давления по воздуху до 10ˉ1
Па применяют двухступенчатый насос, состоящий из двух последовательно
соединенных ступеней, размещенных в одном корпусе. Первая ступень обеспечивает
форвакуум для второй ступени, которую часто называют высоковакуумной. Эти
ступени можно уподобить двум отдельным насосам, причем выпускной патрубок
одного из них (ближайшего к откачиваемому объему) присоединяется к впускному
патрубку другого.
1.1.2 Диффузионные паромасляные
насосы

Рис. 3. Трехступенчатый диффузионный
паромасляный насос
Диффузионные паромасляные насосы являются
наиболее распространенным высоковакуумным средством откачки и широко применяются
в различных областях вакуумной техники.
Паромасляные насосы позволяют создавать вакуум
до 10ˉ5 Па.
Трехступенчатый диффузионный паромасляный насос
(рис. 3) имеет цилиндрический корпус 12, охлаждаемый холодной водой,
протекающей по змеевику 2. Входной патрубок 1 в верхней части корпуса служит
для присоединения насоса к откачиваемому объему. Выпускной патрубок 3
расположен в нижней части корпуса, которая представляет собой кипятильник, куда
заливается масло 5, подогреваемое снаружи электронагревателем 4. Паропроводы 6,
7, 8 расположены в корпусе насоса и заканчиваются зонтичными соплами 9, 10,11.
При включении насоса рабочая жидкость
(специальное масло) нагревается в кипятильнике, образовавшиеся пары поднимаются
по паропроводам 6, 7 и 8, проходят по паропроводам вверх и с большой скоростью
выбрасываются в виде струй через направленные под углом к охлаждаемой стенке
насоса сопла 11, 10 и 9 соответственно первой, второй и третьей ступеней.
Молекулы откачиваемого газа диффундируют в струи пара первой ступени и вместе с
ними направляются на охлаждаемые водой стенки насоса. При этом пары масла
конденсируются и образовавшиеся капли стекают в кипятильник.
Так обеспечивается непрерывная циркуляция
рабочей жидкости в насосе. Увлеченный струей пара газ выбрасывается в основном
вниз, последовательно диффундирует в струи пара второй и третьей ступеней и
выбрасывается через выходной патрубок 3.
Паромасляные насосы не работают без
предварительного механического насоса, подсоединяемого к их выходному патрубку
и обеспечивающего предварительное разрежение, а также без водяного охлаждения
кожуха. Прекращение подачи воды в водяную рубашку может привести к перегреву
насоса и сгоранию масла, а следовательно, к нарушению нормальной работы.
Недостаток диффузионных паромасляных насосов -
возможность попадания в откачиваемый рабочий объем молекул масла, что может
происходить двумя путями: пролетом в паровой фазе и миграцией по стенкам
вакуумных трубопроводов. Так как проникшие в технологический объем молекулы
масла оседают на подложках и загрязняют наносимые пленки, такие насосы
1.2.1 Вакуумные установки
периодического действия
Вакуумные установки периодического действия
(рис. 2) имеют только одну рабочую камеру, в которой периодически проводятся
все стадии технологического процесса: загрузка обрабатываемых подложек, откачка
рабочей камеры, предварительная обработка подложек (нагрев, очистка), нанесение
пленки, напуск воздуха до атмосферного давления, выгрузка подложек.
Рис. 4. Вакуумная установка с цилиндрической
вертикальной рабочей камерой
Эти установки в настоящее время наиболее
распространены в промышленности, так как они просты по конструкции, легко
переналаживаются и довольно дешевы. К тонким пленкам, наносимым на этих
установках, предъявляют невысокие требования по уровню воспроизводимости
технических параметров.
Производительность установки периодического
действия невелика, так как перед каждой очередной загрузкой партии подложек в
рабочую камеру напускают атмосферный
проведения следующего технологического цикла.
Кроме того, при напуске воздуха на стенках рабочей камеры конденсируется влага,
что приводит к загрязнению пленок при следующем технологическом процессе.
В зависимости от компоновки различают установки
с вертикальной или горизонтальной цилиндрической рабочей камерами и с
кубической.
1.2.2 Вакуумные установки
полунепрерывного действия
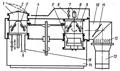
Вакуумные установки полунепрерывного действия
обычно имеют шлюзовую и рабочую камеры, разделенные затвором. Производится
откачка только шлюзовых камер небольшого объема, что повышает
производительность установок, так как исключается непроизводительное время их
периодической откачки до высокого вакуума.
Рис. 5. Вакуумная установка полунепрерывного
действия
Так как для создания в рабочей камере вакуума
порядка 10ˉ4 - 5× 10 ˉ5
Па необходимо 1,5 -2ч. (даже при разогретом диффузионном насосе), а время
нанесения одного слоя обычно не превышает 1-1,5 мин, в вакуумных установках
применяют шлюзовые камеры, позволяющие, не нарушая вакуума (за один вакуумный
цикл), последовательно или одновременно обрабатывать несколько партий подложек.
При этом в шлюзовой камере размещается только сменный подложкодержатель с
подложками, а технологическая оснастка (в том числе устройства испарения или
ионного распыления) все время находится в условиях вакуума. Кроме увеличения
производительности такой принцип работы установок способствует повышению
воспроизводимости параметров наносимых тонких пленок, так как рабочая камера не
сообщается с атмосферой.
Наиболее производительными установками
полунепрерывного действия являются многопозиционные установки карусельного типа
(рис.3), предназначенные для нанесения двухслойных пленок методом магнетронного
распыления. Установка имеет размешенные в обшей рабочей камере четыре рабочие
позиции: загрузки-разгрузки планетарных подложкодержателей; нагрева подложек;
первого и второго распыления.
Подъемная крышка рабочей камеры 8 обеспечивает
доступ к внутрикамерным устройствам для их обслуживания, ремонта и очистки.
Обработка подложек производится на планетарном подложкодержателе 3 с двумя
осями вращения, который последовательно переводится с позиции на позицию
пошаговым поворотом карусели 4 на 90° пневмоприводом.
На первой позиции подложкодержатели загружают
через откидную крышку 2 и шлюзовую камеру 1, а затем откачивают ее форвакуумным
насосом, подсоединенным к патрубку 15.
На второй позиции подложки нагревают с помощью
кварцевых ламп.
На третьей и четвертой позициях, являющихся
камерами распыления 9 и имеющих одинаковую конструкцию, на нагретые подложки с
помощью магратронов 5 последовательно наносят два слоя пленки.
Малый диффузионно-щелевой зазор между позициями
нанесения пленок и общей рабочей камерой обеспечивает необходимый перепад
давлений при напуске через натекатель 6 рабочего газа (аргона) непосредственно
в зону разряда.
Для эффективного нагрева подложек, а также
равномерности нанесения пленок на трех рабочих позициях установки предусмотрено
вращение планетарных подложкодержателей механическим приводом 7. После
окончания рабочего цикла каждый подложкодержатель возвращается на первую
позицию в шлюзовую камеру, где его выгружают.
Поворот карусели на шаг происходит только после
того, как затвор шлюзовой камеры 1 и механизм вакуумной блокировки камеры
распыления 9 опустится вниз, соединяя их объемы с общей рабочей камерой 8.
Откачная система 10 с паромасляным диффузионным
насосом 13 расположена с задней стороны рабочей камеры. Для предохранения
рабочего объема от паров масла между диффузионным насосом 13 и высоковакуумным
затвором 11 находится азотная ловушка 12.
Автоматическое управление установкой
осуществляется программатором и обеспечивает стабилизацию тока разряда по
давлению рабочего газа, последовательность работы механизмов и напуск газа в
шлюзовую камеру.
При работе установки рабочая камера с помощью
диффузионного насоса и вымораживающей азотной ловушки откачивается до давления
не выше 1,33×10ˉ 2
Па (10ˉ4 мм рт. ст.). После этого при наличии в системе
охлаждения камеры холодной воды включается нагреватель и подложки ускоренно
разогреваются до заданной температуры.
При создании необходимого вакуума в рабочей
камере и подаче аргона включаются магратроны на позиции распыления. Для
получения качественных пленок и устойчивой работы магратронов используют только
химически чистый и осушенный аргон. Скорость осаждения пленки на подложки
зависит от мощности магратронов, а при заданном стабилизируемом напряжении их
питания также от тока, который, в свою очередь, определяется давлением аргона
на рабочей позиции.
Наибольшую скорость распыления получают при
давлении аргона 6,65×10ˉ1
-
2,66×10ˉ1 Па (5×10ˉ3
-
2×10ˉ3 мм рт. ст.). Для поддержания
оптимальной скорости распыления рекомендуется работать при напряжениях от 370
до 460 В и токах от 7,5 до 12 А. При заданном напряжении питания ток
магратронов поддерживается с помощью блоков стабилизации тока разряда
изменением на позициях распыления давления аргона, который подается с помощью
электромагнитного натекателя 6. Толщина пленки определяется временем ее
нанесения при заданной мощности магратрона.
На позиции перегрузки каждый раз после окончания
времени цикла в шлюзовую камеру во избежание окисления нанесенной пленки
подастся азот и после этого через заданное время включаются звуковая и световая
сигнализации, предупреждающие оператора о необходимости перегрузки. После
перегрузки подача азота прекращается и при закрытой крышке 2 шлюзовой камеры
форвакуумный насос откачивает ее до давления не выше 1,33 Па (10ˉ2
мм рт. ст.). Затем через обводной клапан малого сечения при закрытом
форвакуумном клапане шлюзовая камера откачивается до давления, близкого к
давлению в рабочей камере. По окончании времени цикла затворы шлюзовой и
распылительных камер опускаются вниз, сообщая их с рабочей камерой, а механизм
перемещения передвигает карусель с позиции на позицию. После этого затворы
шлюза и распылительных камер поднимаются вверх и вновь на каждой позиции
выполняются рассмотренные операции.
1.2.3 Вакуумные установки
непрерывного действия
Установки непрерывного действия (Рис.6)
отличаются тем, что обычно имеют несколько камер, а также входной и выходной
шлюзы, позволяют исключить влияние откачной системы на цикловую
производительность и обеспечивают однородные и стабильные условия процесса
нанесения пленок. В настоящее время эти установки получают все большее
распространение.
Вакуумные установки поточного типа с непрерывным
перемещением подложек и поштучной их загрузкой работают по принципу из кассеты
в кассету. Основными частями установки являются: рабочая камера, размещенная на
каркасе; агрегаты высоковакуумной откачки и откачки шлюзов; нагреватель и
устройство транспортирования; шкафы питания магратронов, управления очисткой и
установкой в наладочном и ручном режимах, а также по восьми запрограммированным
технологическим процессам в автоматическом режиме.
Рис. 6 Установка непрерывного типа
В шкафу управления имеются дисплей и
микропроцессор на основе ЭВМ, которая управляет транспортированием и нагревом
подложек, напуском аргона в зоны распыления и травления, режимами работы трех
магратронов, шлюзовых устройств, а также ведет счет пластин, обеспечивает
контроль всех систем и блокировку при отказе какой-либо из них.
В рабочей камере 4 из нержавеющей стали размещен
конвейер 13. Крышка 9 вверху камеры обеспечивает доступ к внутрикамерным
устройствам для их обслуживания, ремонта и периодической очистки. Одновременно
она служит для размещения ВЧ устройства 5 ионной очистки подложек и трех
магратронов 6, расположенных в камере распыления 8 с вакуумной блокировкой.
Устройства ионной очистки и магратроны оснащены
натекателями для напуска рабочих газов. Так как давление и состав атмосферы в
рабочей камере 4 и камере распыления 8 различны, они для прохождения цепей
конвейера соединяются друг с другом каналами, имеющими малую пропускную
способность для газовых потоков. Это обеспечивает перепад давлений в камерах на
два порядка. При давлении аргона 1,3 Па в камере распыления в рабочей камере
поддерживается давление 5×10-3
Па.
Шлюзовая система выполнена в виде двух
расположенных на торцевых сторонах рабочей камеры входного 2 и выходного
шлюзов. Каждый шлюз оснащен щелевым вакуумным затвором 3, отделяющим его от
рабочей камеры 4, и столом для размещения пустой и заполненной подложками
кассет. Загружают и выгружают кассеты вручную через двери в шлюзовых камерах.
При загрузке подлежащие обработке подложки 7 устанавливаются в кассете в
шлюзовой загрузочный механизм шагового действия и поштучно подаются на конвейер
13 через шлюзовой затвор 3. Привод конвейера, выполненного в виде цепи из
нержавеющей стали, расположен снаружи выходного шлюза. Распыление осаждаемых
материалов происходит сверху вниз при непрерывном движении подложек. После
нанесения пленок подложки попадают в выходной шлюз и последовательно
укладываются в приемную транспортную кассету.
Патрубок в средней части камеры служит для
подсоединения высоковакуумного откачного агрегата, состоящего из криогенного
насоса 10, затвора и клапанов на магистрали форвакуумной откачки криогенного
насоса. Для форвакуумной откачки криогенного насоса, рабочей камеры и шлюзов
служит двухроторный агрегат, над которым расположена азотная ловушка.
При работе установки в автоматическом режиме
включаются агрегат форвакуумной откачки и азотная ловушка на форвакуумной
магистрали. При закрытом высоковакуумном затворе включается также форвакуумная
откачка полости криогенного насоса (открыты форвакуумные клапаны крионасоса и
общий). При давлении в полости криогенного насоса 6,7 Па (5×10ˉ2
мм рт. ст.) его форвакуумные и общий клапаны закрываются, запускается
форвакуумная откачка рабочей камеры и включается сам криогенный насос.
После запуска форвакуумной откачки рабочей
камеры при закрытом высоковакуумном затворе открываются затворы шлюзов,
соответствующие форвакуумные клапаны, а также общий форвакуумный клапан и
откачка идет через затворы шлюзов. При заданном давлении форвакуумная откачка
рабочей камеры автоматически прекращается, затворы шлюзов закрываются, отсекая
их от рабочей камеры. Одновременно закрываются клапаны форвакуумной откачки
шлюзов. Криогенный насос выходит на рабочий режим в течение 70 мин после
включения. По истечении этого времени открывается высоковакуумный затвор и рабочая
камера откачивается криогенным насосом до высокого вакуума.
Далее начинается рабочий цикл установки, при
котором подложки из кассеты шлюза загрузки поочередно укладываются на конвейер
без разрыва их ряда. Двигаясь вместе с конвейером, подложки проходят очистку в
устройстве ВЧ-травления, нагреваются с тыльной стороны, оказываясь над
нагревателем 12, и с помощью магратронов на них наносится пленка. Мощность
каждого магратрона, а следовательно, и толщину наносимых слоев можно
регулировать отдельно. После нанесения пленок подложки автоматически
укладываются в приемную кассету в шлюзе выгрузки.
Когда последняя подложка из шлюза загрузки
попадает на конвейер, кассета автоматически опускается вниз, затвор шлюза
загрузки закрывается, отсекая его от рабочей камеры. После этого в шлюз
загрузки напускается газ до атмосферного давления, поступает команда о замене
пустой кассеты кассетой с новой партией подложек и оператор закрывает дверь
шлюза. Шлюз через два форвакуумных клапана начинает откачиваться до давления 1,3
Па (10ˉ3 мм рт. ст.), затем закрываются форвакуумные клапаны,
открывается затвор шлюза и начинается подача подложек на конвейер.
Во время перегрузки кассет (в течение 2-4 мин) и
последующей откачки шлюза конвейер продолжает двигаться, но подложки, естественно,
на него не поступают. Таким образом на конвейере образуется разрыв ряда
движущихся подложек. Когда этот разрыв подходит к шлюзу выгрузки, автоматически
подается команда об окончании выгрузки и закрывается затвор шлюза выгрузки. В
шлюз выгрузки напускается воздух до атмосферного давления и включается
сигнализация о необходимости провести перегрузку. Оператор открывает дверцу
шлюза, вынимает кассеты с пластинами, ставит пустую приемную кассету и
закрывает дверь. При этом шлюз через два форвакуумных клапана откачивается до
давления 1,3 Па (10ˉ2 мм рт. ст.). Затем закрываются
форвакуумные клапаны, открывается затвор шлюза выгрузки, который оказывается
подготовленным к приему очередной партии подложек, и работа установки
продолжается.
При отказе микропроцессорной системы управления
работу на установке можно довести до конца в ручном режиме.
2. Нанесение тонких пленок. Основные
сведения
Все вещества в зависимости от температуры
нагрева могут находиться в одном из трех фазовых (агрегатных) состояний -
твердом, жидком или газообразном (парообразном). Испарение, т.е. переход
вещества в парообразное состояние, происходит, когда с повышением температуры
средняя колебательная энергия его частиц возрастает настолько, что становится
выше энергии связи с другими частицами и они покидают поверхность (испаряются)
и распространяются в свободном пространстве.
Условной, практически установленной температурой
испарения считается температура, при которой давление насыщенного пара вещества
составляет приблизительно 13 Па.
Температуры плавления и испарения наиболее
важных элементов приведены в табл. 1.
Таблица
1
Температуры плавления и испарения элементов
Из этой таблицы видно, что условная температура
испарения большинства элементов выше их температуры плавления, т. е. испарение
происходит из жид кого состояния. Некоторые вещества имеют условную температуру
испарения ниже температуры плавления, т. е. они достаточно интенсивно
испаряются из твердого состояния. Процесс перехода вещества из твердого
состояния в парообразное, минуя жидкую фазу, называют сублимацией (или
возгонкой).
Скорость испарения, т. е. количество вещества (в
граммах), покидающее 1 см свободной поверхности в 1 с при условной температуре
Ту, рассчитывают по формуле:
(4)
где М - молекулярная масс г/моль.
Скорость испарения большинства элементов при Ту
составляет 10ˉ4 г/(см2.с). Для получения приемлемых
скоростей роста пленки, а также экономного расходования материала (нередко
дорогостоящего) следует создавать условия движения частиц испаряемого вещества
преимущественно по направлению к подложке. При этом необходим достаточно
глубокий вакуум, при котором исключаются столкновения молекул остаточного газа
с молекулами вещества и рассеивание их потока на пути к подложке.
Поток испаренного вещества, состоящий из молекул
(атомов), не претерпевающих на своем пути столкновений и рассеяний и движущихся
вследствие этого прямолинейно, называют молекулярным потоком. Для определения
условий существования молекулярного потока удобнее характеризовать степень
вакуума не давлением остаточного газа, а средней длиной свободного пробега его
молекул.
Из формулы (4) следует, что уже при давлении р =
10ˉ2 Па средняя длина свободного пробега молекул λ
составляет
50 см, что превышает реальное расстояние от испарителя до подложки (обычно не
более 30 см) . Таким образом, для создания прямолинейных траекторий движения
молекул вещества в пространстве между испарителем и подложкой необходимо
давление порядка 10 ˉ3 - 10 ˉ5 Па.
Кроме того, необходимо обеспечивать
равномерность распределения толщины пленки на подложке, что является одним из
основных ее параметров. Толщина пленки в данной точке подложки определяется
количеством частиц, достигающих ее в единицу времени. Площадь испарителей
веществ во много раз меньше площади подложкодержателей (поэтому их называют
точечными источниками). В результате добиться равномерности потока невозможно.


Как видно из рис. а) скорость нанесения
пленки будет неодинакова в точке О ив точках А и В: чем дальше от оси OS
эти точки, тем ниже скорость нанесения пленки и тем меньше ее толщина за данное
время нанесения. При плоском подложкодержателе неравномерность толщины пленки
составляет ± 20%.
Наиболее простым способом снижения
неравномерности распределения пленки по толщине является увеличение расстояния d.
Однако это уменьшает скорость конденсации пленки, что отрицательно сказывается
на ее свойствах. Максимально возможное расстояние d
ограничено размерами рабочей камеры установки.
На практике применяют более сложные способы,
одним из которых является придание подложкодержателю сферической формы рис.
б) Неравномерность толщины пленки снижается при этом до ± 10 %.
Если этого недостаточно, используют систему с
двойным вращением, так называемую планетарную карусель рис. в), состоящую
из приводной вращающейся оси 9, на которой установлены три подложкодержателя 7.
Каждый подложкодержатель может вращаться вокруг собственной оси 8 при
обкатывании по кольцу 6 . Так осуществляется планетарное движение подложек. При
их использовании неравномерность пленок по толщине составляет ± (3-4)%.
Процесс испарения и качество нанесенных пленок в
значительной мере определяются типом и конструкцией испарителей, которые могут
иметь резистивный или электронно-лучевой нагрев. Выбор типа испарителя
зависит от вида испаряемого материала, его агрегатного состояния и температуры
в процессе испарения, а также других факторов.
2.1 Испарители с резистивным
нагревом
Рис. 7. Испаритель с резистивным нагревом
Испарители этого типа могут быть с
непосредственным или с косвенным нагревом испаряемого вещества.
Для хорошего теплового контакта материал
испарителя должен хорошо смачиваться расплавленным испаряемым веществом. Между
материалом испарителя и испаряемым веществом не должны происходить никакие
химические реакции. Для изготовления испарителей используют тугоплавкие металлы
(вольфрам, тантал, молибден). Основное достоинство этих испарителей -
отсутствие теплового контакта между их нагретыми элементами и испаряемым
металлом, что обеспечивает высокую чистоту наносимой пленки. Однако они
обеспечивают низкую скорость испарения, дают возможность испарять малое
количество материала, а также не позволяют испарять диэлектрики и большинство
металлов. Испарители с косвенным нагревом, в которых испаряемое вещество
нагревается за счет теплопередачи от нагревателя, более универсальны, так как
позволяют испарять проводящие и непроводящие материалы в виде порошка, гранул,
проволоки, ленты и др. Так как форма испарителя с косвенным нагревом зависит от
агрегатного состояния, в котором находится испаряемый материал, их подразделяют
на проволочные, ленточные и тигельные.
Проволочные испарители применяют дня испарения
веществ, которые смачивают материал нагревателя. При этом расплавленное
вещество силами поверхностного натяжения удерживается в виде капли на
проволочном нагревателе. Проволочные испарители изготавливаются V- и W-образной
формы, а также спирале- и волнообразной.
Ленточные испарители применяются для испарения
металлов, плохо удерживающихся на проволочных испарителях, а также диэлектриков
и изготавливаются с углублениями в виде полусфер, желобков, коробочек или
лодочек. Наиболее распространенными материалами для таких испарителей является
фольга толщиной 0,1-0,3 мм из вольфрама и молибдена.
Тигельные испарители используют, как правило,
для испарения больших количеств сыпучих диэлектрических материалов. Тигли
изготовляют из тугоплавких металлов, кварца, графита, а также керамических
материалов.
.2 Испарители с электронно-лучевым
нагревом
Рис 8. Испаритель с электронно-лучевым нагревом
В таких испарителях используется явления
термоэлектронной эмиссии или, другими словами, испускание электронов металлами,
нагретыми до высокой температуры.
Электронная пушка предназначена для формирования
потока электронов и состоит из вольфрамового термокатода 6 и фокусирующей
системы 7. Электроны, эмиттируемые катодом, проходят фокусирующую систему,
ускоряются за счет разности потенциалов между катодом и анодом (до 10 кВ) и
формируются в электронный луч 8.
Отклоняющая система предназначена для создания
магнитного поля, перпендикулярного направлению скорости движения электронов,
выходящих из фокусирующей системы пушки, и состоит из полюсных наконечников 1 и
электромагнита 2. Между полюсными наконечниками расположены водоохлаждаемый
тигель 3 и электронная пушка. Отклоняя электронный луч магнитным полем, его
направляют в центральную часть водоохлаждаемого тигля 3. В месте падения луча
создается локальная зона испарения вещества из жидкой фазы. Нагретый
электронной бомбардировкой материал 4 испаряется, и поток паров 5 осаждается в
виде тонкой пленки 9 на подложке 10. Изменяя ток в катушке электромагнита 2,
можно сканировать лучом вдоль тигля, что предотвращает образование
"кратера" в испаряемом материале.
Медные водоохлаждаемые тигли емкостью 50 см3
и более обеспечивают длительную непрерывную работу без добавки испаряемого
материала, который, кроме того, не контактирует в расплавленном виде с медными
стенками тигля, а значит, и исключается их взаимодействие.
3. Термодинамика структурных
превращений в тонких пленках
Формирование тонкой пленки представляет собой
фазовый переход первого рода, при котором из трехмерной паровой фазы на
поверхности подложки образуются и растут зародыши конденсированной фазы. При
более детальном рассмотрении оказывается, что этот процесс подчас состоит из
многих стадий, на каждой из которых ансамбль адатомов образует многочисленные
двухмерные и квазидвумерные фазы и структуры, различающиеся типом дальнего
порядка, способом расположения атомов в упорядоченных двухмерных структурах,
характером эпитаксиального сопряжения с подложкой и т.д. При не слишком высоких
температурах, когда основную роль в энергии системы играет энергетический, а не
энтропийный член, характер образующейся структуры пленки и типы превращений
определяются соотношением между энергией взаимодействия адатомов с подложкой и
между собой.
Двухмерные структуры на границе раздела пленка -
подложка можно разделить на два основных класса:
согласованные структуры, характеризующиеся тем,
что отношение периодов пленки и подложки выражается целым числом (простые
согласованные структуры) или дробным рациональным числом (нониусные структуры).
В первом случае все атомы пленки занимают на поверхности подложки энергетически
равноценные позиции, во втором - в одинаковых положениях оказывается лишь
некоторая часть атомов;
несогласованные (некогерентные) структуры,
характеризующиеся иррациональным отношением периодов пленки и подложки. В этом
случае в пленке может устанавливаться лишь более или менее протяженный ближний
порядок.
Очевидно, что если энергия взаимодействия между
атомами пленки меньше, чем энергия их взаимодействия с подложкой, т.е.
потенциальный рельеф достаточно глубок, образуются согласованные структуры. В
противоположном случае мелкий потенциальный рельеф не в состоянии
"жестко" локализовать атомы пленки, что способствует формированию
несогласованных структур.
Термодинамические свойства каждой из возможных
структурных модификаций тонкой пленки описываются энергией Гельмгольца (5) F
= U - TS,
где U - внутренняя
энергия; S - энтропия
тонкопленочной системы.
3.1 Формирование пленок
Результаты многочисленных исследований
свидетельствуют о том, что особенности зарождения и роста пленок в различных
комбинациях материалов пленки и подложки в первую очередь определяются
характером их взаимодействия на межфазной границе подложка - пленка.
Качественный энергетический критерий реализации
того или иного механизма роста определяется из условия минимизации
поверхностной энергии системы подложка - пленка.
.2 Характерные механизмы роста
пленок
) Механизм
предполагает зарождение пленки путем образования изопированных трехмерных
островков - зародышей; дальнейший рост, сопровождающийся увеличением размеров
островков, их коалесценцией; в итоге в зависимости от сочетания материалов
подложки и пленки и условий роста формируется сплошная поликристаллическая или
монокристаллическая пленке
2) Механизм
предполагает зарождение на поверхности кристаллической подложки соответствия
параметров кристаллических решеток пленки и подложки; при дальнейшем росте
происходит релаксация упругой деформации путем введения на межфазную границу
подложка - пленка дислокаций, компенсирующих несоответствие параметров
сопрягающихся решеток и поэтому называющихся дислокациями несоответствия.
Структура и ориентация пленки определяются структурой и ориентацией поверхности
подложки.
3) Механизм
предполагает двухмерное зарождение пленки с образованием трехмерных островков
при последующем росте.
Рис. 9. Механизмы роста пленок
Условие,
разграничивающее реализацию того или иного механизма роста, можно получить из
анализа соотношений между коэффициентами поверхностного натяжения. Коэффициент
поверхностного натяжения поверхности равен свободной энергии единицы
поверхности. Соответственно эти коэффициенты определяют силы поверхностного
натяжения, действующие на единицу элемента длины границы раздела. Согласно
этому определению сила dF,
действует на бесконечно малый элемент dl
границы раздела двух сред.
dF=σdl
(6)
Из условия равновесия для любого элемента длины
линии соприкосновения подложки, трехмерного островка пленки и вакуума получим
σs=σs/F+σFcosƟ
(7)
.3 Основные стадии процесса
осаждения
Процесс нанесения тонких пленок в техническом
вакууме предполагает реализацию следующих основных стадий:
образование газовой фазы (генерация паров,
летучих продуктов);
перенос атомов, частиц вещества от источника
газовой фазы до покрываемой поверхности;
взаимодействие частиц газовой фазы с
поверхностью и образование тонких пленок.
Все известные методы нанесения пленок отличаются
способами генерации газовой фазы, режимами и условиями массопереноса и
пленкообразования.
Необходимым условием получения качественных
тонких пленок является создание в рабочей камере высокого вакуума, что
позволяет:
. Исключить процесс окисления при нагреве
металла до высоких температур.
. Исключить химическое взаимодействие атомов
паровой фазы с молекулами остаточных газов. Это реализуется при условии:
,
(8)
Давление паров в вакуумной камере p и их
концентрация связаны соотношением p
= nkT. Тогда получим
следующее выражение для длины свободного пробега:
(9)
Так как свободный пробег молекул в воздухе при
давлении 10-1 мм рт.ст. составляет около 0,4 мм и увеличивается
обратно пропорционально давлению, то для процесса осаждения приходится
откачивать рабочие камеры до 10-4 мм рт.ст. При таком давлении
свободный пробег достигает 400 мм.
. Благодаря вакууму устраняется теплообмен за
счет теплопроводности газов и конвекции.
. Использование вакуума позволяет производить
высокоэффективную очистку поверхности, удалять адсорбированные газовые слои.
Основные методы очистки поверхности заключаются в ее нагреве до температуры 250
- 300 °С, при которой происходит удаление адсорбированных молекул влаги,
органических загрязнений и т.д., и ионной обработке поверхности.
При вакуумном осаждении тонких пленок
предъявляются следующие требования к материалу подложек, на поверхности которых
оно формируется:
. Подложка в процессе осаждения пленки не должна
выделять в вакууме летучие продукты. Часто при металлизации, в частности,
полимерных материалов для уменьшения газовыделения поверхность подложки
покрывают антидиффузионным слоем, который препятствует выделению летучих
материалов в вакуум из объема материала.
. Сохранение размеров и геометрической формы при
тепловом воздействии, которое имеет место при формировании тонкой пленки.
Данное условие особенно важно для материала подложки, имеющей низкую
термостойкость.
Характер распределения испаряемого вещества в
пространстве над испарителем определяется двумя основными параметрами: рабочим
давлением в вакуумной камере: высокий вакуум (l
>>
d), средний вакуум (l
»
d) и низкий вакуум (l
<<
d), где l
- длина свободного пути молекул; d
- линейный размер вакуумной камеры. Если давление паров испаряемого вещества
(металла) при температуре испарения не превышает 1,33 Па, то при рабочем
давлении в вакуумной камере порядка 10 2 Па и менее молекулы и атомы
испаряемого вещества достигают поверхности подложки без столкновений между
собой и с молекулами остаточных газов. В этом случае говорят, что реализуется
молекулярный режим испарения и конденсации, для которого справедливы законы
Ламберта:
Первый закон Ламберта: интенсивность испускаемых
под углом φ к поверхности
парообразования атомных частиц пропорциональна cosφ
(jφ ~ cosφ,
где φ-
угол
между направлением распространения частиц и нормалью к поверхности
порообразования
(Рис.10).
Рис. 10. Пространственное распределение
испаренных частиц
Второй закон Ламберта: плотность потоков атомов
обратно пропорциональна квадрату расстояния от зоны генерации паров до точки, в
которой регистрируется плотность потока.
По определению, плотность потока атомов равна:
(10)
где N-количество
атомов, поступающих на нормально расположенную поверхность площадью S
за время t.
Тогда на основании второго закона Ламберта
получим
(11)
На основании данных законов предоставляется
возможность расчета толщины осаждаемых пленок, определения оптимальных
конструкционных параметров вакуумных установок.
Заключение
Главной целью проделанной работы было знакомство
с устройством вакуумного оборудования для получения тонких пленок, а так же
обзор материала о тонкопленочных слоях, выяснение назначения тонких пленок,
какими методами их наносят, и как контролируют параметры технологических
процессов и осажденных слоев. Были рассмотрены основные стадии осаждения пленок
и механизмы их роста.
Список литературы:
1. Минайчев
В.Е. Нанесение пленок в вакууме / Минайчев В.Е. - Москва: "Высшая
школа", 1989. -110с.
2. Поут
Дж. Тонкие пленки взаимная диффузия и реакции / Под ред. Поута Дж., Ту К.,
Мейера Дж. Пер. с англ. под ред. Киселева В.Ф., Поспелова В.В. -Москва: Мир,
1982. -567 с.
. Майссел
Л. Технология тонких пленок: Справочник / Под ред. Л. Майссела, Р. Глэнга. Том
2. Перевод с англ. - Москва: "Советское радио", 1977.
. Иевлев
В.М. Структурные превращения в тонких пленках / Иевлев В.М., Трусов Л.И.,
Холмянский В.А. - Москва: Металлургия, 1988.-326 с.