Расчет армировки ствола 'Скипо-Клетевого', ш. 'Черемуховская' ОАО 'Севуралбокситруда'
Расчет
армировки ствола "Скипо-Клетевого", ш. "Черемуховская" ОАО
"Севуралбокситруда"
Оглавление
Введение
. Основные
положения
. Расчетная
схема
. Исходные
данные
. Расчет расстрелов армировки на
горизонтальные нагрузки
.1 Расчетная
схема армировки на горизонтальные нагрузки
.2 Загружение I (в горизонтальной
плоскости)
.3 Расчетная нагрузка на армировку в
горизонтальной плоскости
. Расчет
расстрела в вертикальной плоскости от загружения I
. Расчетная схема армировки. Загружение
II (в горизонтальной плоскости)
.1 Расчетная нагрузка на армировку в
горизонтальной плоскости
. Расчет армировки в вертикальной
плоскости от загружения II
. Расчетные усилия в узлах рамы I от
загружений I и II
. Проверка
балки на прочность
. Определение глубины закрепления
расстрелов армировки
. Расчет узлов крепления проводников к
расстрелам на Т-образных болтах
Список
используемой литературы
Приложение
ствол
шахта армировка крепление
Введение
Целью расчета является определение действующих усилий в элементах армировки,
необходимых для выбора расстрелов и расчета узлов крепления расстрелов.
1. Основные положения
Нагрузки, возникающие при взаимодействии подъемного сосуда с элементами
армировки, в зависимости от направления подразделяются на горизонтальные Рг и
вертикальные Рв.
Горизонтальные нагрузки - передаваемые направляющим устройством по
направлению, нормальному к плоскости крепления проводника, считаются лобовыми
(Рлп), а передаваемые параллельно плоскости крепления проводника - боковыми
горизонтальными нагрузками (Рбг).
Вертикальные нагрузки - действуют в вертикальной плоскости, учитывают
возможность зависания подъемного сосуда при движении его по стволу, из-за
сужения или расширения колеи проводников.
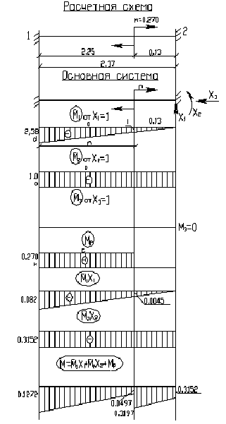
2. Расчетная схема
Армировка ствола рассчитывается, как элементы сложной рамы на
вертикальную и горизонтальную нагрузки, при наиболее невыгодном их сочетании, с
целью упрощения расчета, пространственная конструкция армировки расчленяется на
ряд плоских рам [1].
В расчетных схемах принимается жесткое закрепление опор.
Узлы соединений элементов яруса армировки считаются равнопрочными с
профилем соединяемых расстрельных балок [1];
При расчете армировки на горизонтальные и вертикальные нагрузки расчет
ведется по длине одного проводника [1];
Расчетные нагрузки на армировку в горизонтальной боковой плоскости
принимается равным лобовым[1];
Горизонтальные расчетные нагрузки в боковой и лобовой плоскостях
воздействуют на проводник.
3. Исходные
данные
Диаметр ствола в свету - 8,0 м;
Шаг армировки - 4,0 м;
Скорость клетевого подъема - 11,73 м/с;
Вес клети с грузом - 36,2 т;
Вес противовеса - 29,6 т;
Скорость (рудного) скипового подъема - 13,09 м/с;
Вес (рудного) скипа с грузом - 56 т;
Скорость (породного) скипового подъема - 13,09 м/с;
- Вес (породного) скипа с грузом - 56 т;
- Общий вид армировки см. рис. 1.
4. Расчет
расстрелов армировки на горизонтальные нагрузки
Армировка в сечении ствола представлена двумя рамами.
Рама I и Рама II см. рис.1.
Усилия в элементах рамы от различных загружений определяем методом
перемещений.
Расчет ведется на единичную нагрузку (Рб - Рл =1т), с учетом
эксцентриситета силы Рб равного расстоянию от точки приложения боковой нагрузки
до оси расстрела.
= hпр +
Вполки +
;
гдепр - высота проводника в поперечном сечении =200 мм
Вполки - ширина полки расстрела =130 мм
- зазор между проводником и расстрелом =5 мм
= 200 +
х130 +5 = 270 мм.
Для получения фактических усилий в элементах, полученные в результате
расчета усилия от единичных сил, умножаются на фактическое значение прилагаемых
сил.
Все расчеты выполняем для рамы I ,т.к. она является наиболее загруженной
(нагрузка от клети и скипа).
Определяем усилия в наиболее загруженном узле, производим его расчет и
конструирование.
Оставшиеся узлы конструируем по аналогии.
Рис. 1
4.1 Расчетная
схема армировки на горизонтальные нагрузки
Рама I Загружение I
Рис. 2
=Jу(I 36М)=518 см4 ℓ=270 мм=0,270 м
Ра=Рб=1т m=0,270 m.м.
Основная система
Каноническое уравнение метода перемещений
Строим единичные эпюры (Используем данные таблицы 7.2 [3]).

Определяем единичные коэффициенты.
Результаты вычислений сведены в таблицу 1.
Таблица 1
|
Коэффициент
|
Эскиз узла с усилиями
|
Значение коэффициента
|
|
Г11
|
|
М=Г11 - 2,76 EJ - 1,96EJ - 1,68 EJ=0 Г11 =6.4 EJ
|
|
Г22
|
|
М=Г22 - 1,68 EJ - 1,4 EJ - 1,68 EJ=0 Г22 =4.76 EJ
|
|
Г33
|
|
М=Г33 - 1,68 EJ - 2,76 EJ - 1,96 EJ=0 Г33 =6,4 EJ
|
|
Г12=Г21
|
|
М=Г12 - 0,84 EJ =0 Г12 = Г21=0.84 EJ
|
|
Г23=Г32
|
|
М=Г23 - 0,84 EJ =0 Г23 = Г32=0.84 EJ
|
|
Г13=Г31
|
-
|
0
|
Построение эпюры Мр для каждого загружения выполняем с использованием
принципа независимости действия сил от силы Ргл=1т и от m=0,270 т.м.
Усилия возникающие в расстреле от действия Ргб определяем отдельно и
суммируем с усилиями возникающими от действия Ргл и т.д.
4.2
Загружение I (в горизонтальной плоскости)
М(1)=-UV2Pℓ=0,9454x0,05462x1x2,380=0,0067
М(2)=U2VPℓ=0,94542x0,0546x1x2,380=0,1161
М(3)=2U2 V2 Pℓ=2x0,94542x0,05462x1x2,380=0,0127
где: U=
=
=0,9454=
=
=0,0546
Построение эпюры см. приложение 1
Мр =М’р+М’’р
Определяем грузовые коэффициенты
|
Коэффициент
|
Эскиз узла с усилиями
|
Значение коэффициента
|
|
R1p
|
|
0
|
|
R2p
|
|
М=R2p + 0,1205=0 R2p = - 0,1205
|
|
R3p
|
|
М=R3p + 0,2291=0 R3p= 0,2291
|
Решаем систему канонических уравнений и определяем неизвестные
перемещений.- Z3 для загружения I.
= -
= - 0,0026=
= 0,0199=
= 0,0332
Стоим эпюры изгибающих моментов от единичных загружений умноженные на
значение Z1, Z2, Z3 - соответственно.
Затем эпюру М в заданной системе от действующих сил Р=1.
М= Мр+ М1 Z1+М2 Z2+М3 Z3
М= Мр+ М1 Z1+М2 Z2+М3 Z3
4.3 Расчетная
нагрузка на армировку в горизонтальной плоскости
Загружение I(нагрузка от клети).
Ргл= Ргб=
; кг
где: Qгр=36200 кг - масса клети с грузом;=9,8 м/сек - ускорение силы
тяжести;=11,73 м/сек - скорость движения сосуда;
у=2h=2х4=8 м,
где:=4 м - расстояние между ярусами;
у= 0,01м - величина возможного максимального отклонения
поверхности проводников от вертикали на смежных ярусах (п.4.9 [1]);
=0,03м - значение зазора между рабочими поверхностями
предохранительных лап и проводников(§358 [4]).
Ргл= Ргб=
Учитывая т.3.3[1] принимаем Ргл= Ргб=750кг. Строим эпюру М с учетом
фактически действующих горизонтальных сил.
Эпюра Q (кг)
=
Q2=
=
Q4=
=
Q6=
=
Q8=
Определяем усилия в расстреле АБ
Заданная система
?х = 750 - х - S = 0
Уравнение совместной информации.
= -750 + 154,9 = - 595,1 кг
к=Q1+Q2=5.43+11.56=16.99 кгд=Q3 - Q2=61,5 - 11,56=49,94
кгс=Q4+Q5=2445,58+71,07=2516,65 кг
5. Расчет
расстрела в вертикальной плоскости от загружения I
Учитывая возможность заклинивания подъемного сосуда при движении его по
стволу из-за сужения или расширения колеи проводников. Расчетная вертикальная
нагрузка на ярусах армировки расположенная по длине проводника определяется по
формуле:
где:гр=36,2 т. масса клети с грузом;
=4 м - расстояние между ярусами;
=12,5м - длина проводника;
Кq=2 - коэффициент динамичности (учитывает движение клети при ее
заклинивании в проводниках).
Рв
тонн
Расчетная схема
Для упрощения статического расчета (в запас) применяем расчетную схему
балки с защемленными концами и загруженной полной нагрузкой. (табл.8.14[5]).
Мa= -Рв
кгм
Мб= -Рв
кгм
М(1)=2Р
кгма=Р
кгв=Р
кг
6. Расчетная
схема армировки. Загружение II (в горизонтальной плоскости)
Строим эпюру Мр
М’р(от Ргл=1)
Мс= Р
Мв= Р
М(1)=2Р
Эпюра моментов от загружения моментом m=0,270.
Построение эпюры смотреть приложение 2.
М’’р (от m=0,270)
Суммарная эпюра от загружения II
Мр=М’р+ М’’р
Определяем грузовые коэффициенты
|
Коэффициент
|
Эскиз узла с усилиями
|
Значение коэффициента
|
|
R1p
|
|
0
|
|
R2p
|
|
0
|
|
R3p
|
|
М=R3p-0,123=0 R3p= 0,123
|
Решаем систему канонических уравнений для загружения II.
=
=
=
Строим эпюру изгибающих моментов от единичных загружений, умноженные на
значение Z1, Z2, Z3 - соответственно.
М= Мр+ М1 Z1+М2 Z2+М3 Z3
6.1 Расчетная
нагрузка на армировку в горизонтальной плоскости
Загружение II (нагрузка от скипа)
Ргл= Ргб=
; кг
где: Qгр=56000 кг - масса скипа с грузом;=9,8 м/сек - ускорение силы
тяжести;=17,5 м/сек - скорость движения сосуда;
у=2h=2х4=8 м,
где:=4 - расстояние между ярусами;
у= 0,01м - величина возможного максимального отклонения
поверхности проводников от вертикали на смежных ярусах (п.4.9 [1]);
=0,03 м - значение зазора между рабочими поверхностями
предохраняющих лап и проводников(§358 [3]).
Ргл=Ргб=
Учитывая т.3.3 [1] принимаем Ргл= Ргб=1000кг. Строим эпюру М с учетом
фактически действующих горизонтальных сил.
Эпюра М(кгм)



Q4=
Q7=
=
Q5=
Q8=
=838,74=
Q6=
1) tqБ=
N4=Q7´tqБ= -161,26´2,8653= -462,06
7. Расчет армировки в вертикальной плоскости от загружения II
Учитывая возможность заклинивания подъемного сосуда при движении его по
стволу из-за сужения или расширения колеи проводников. Расчетная вертикальная
нагрузка на ярусах армировки, расположенная по длине проводника, определяется
по формуле:
Рв =
где:
гр = 56,0т - масса скипа с грузом;
ℓяр = 4 м - расстояние между ярусами;
ℓпр = 12,5м - длина проводника;
Кд = 2 - коэффициент динамичности (учитывает движение клети при
её заклинивании в проводниках).
Рв =
т
Расчетная схема
Для упрощения статического расчета (в запас) применяем поэтажную
упрошенную схему.
БалкаМ-С
Определяем реактивные моменты и опорные реакции по табл. §7.2 [2].
Мс= -
кгм
М1=
кгмс=
кгмм=
кгм
Балка А-Б
МА=
кгм
МБ=
кгм
ММ=
кгмА=
кгБ=
кг
Результаты расчетов заносим в табл.3 на основании сочетания нагрузок от
загружения I и II.
8. Расчетные
усилия в узлах рамы I от загружений I и II
Ось ствола
Таблица 3
|
Номер Загружения
|
Обозначе-ние узла
|
Расчетные усилия
|
|
|
В горизонтальной плоскости
|
В вертикальной плоскости
|
|
|
Мг(кгм)
|
Qг(кг)
|
Nг(кг)
|
Мв(кгм)
|
Qв(кг)
|
Nв(кг)
|
|
ЗагружениеI
|
А
|
K2,625
|
K5,43
|
K154,9
|
+2996,5
|
+1173,5
|
-
|
|
К
|
K1,875
|
K2,75
|
K16,99
|
0
|
0
|
0
|
|
Д
|
K10,425
|
K11,05
|
K49,94
|
0
|
0
|
0
|
|
С
|
K24,375
|
K35,76
|
K2516,65
|
0
|
0
|
0
|
K34,35
|
K71,07
|
K595,1
|
+11530,9
|
-10308
|
-
|
|
ЗагружениеII
|
А
|
K1,23
|
K2,54
|
K523,03
|
+899,8
|
+379,8
|
0
|
|
К
|
K0,87
|
K1,28
|
K8,27
|
0
|
0
|
0
|
|
Д
|
K4,4
|
K4,65
|
K35,46
|
0
|
0
|
0
|
|
С
|
K611,7
|
K1468,4
|
K1877,53
|
+7051,9
|
-13876,1
|
0
|
|
Б
|
K47,5
|
K97,8
|
K811
|
+3853,7
|
-3663,9
|
0
|
|
Загружение I+II
|
А
|
K3.855
|
K7.97
|
K677.93
|
+3896,3
|
+1553,3
|
0
|
|
С
|
K636.075
|
K1504.16
|
K4394.28
|
+7051,9
|
-13876,1
|
0
|
|
Б
|
K81.85
|
K168.87
|
K1406.1
|
+15384,6
|
-13971,9
|
0
|
9. Проверка
балки на прочность
Проверка балки на прочность производится из условия Wр<W(I36M)
;
<
Таким образом, балка I36M удовлетворяет условию прочности.
10.
Определение глубины закрепления расстрелов армировки
Расчет величины А, которая зависит от профиля расстрельной балки и
направления действия нагрузки. Для балки двутаврового профиля при действии
горизонтальных нагрузок
,
Где h - высота профиля, м;-
ширина профиля, м;- толщина стенки балки, м.
По первой группе предельных
состояний расчетная глубина закрепления расстрелов в бетонной крепи ствола
определяется по формуле
,
м.
Где
- величина поперечного усилия от единичной нагрузки,
кН/кН (тс/тс);
- величина изгибающего момента от единичной нагрузки,
кН·м/кН (тс·м /тс);
- максимальная расчетная нагрузка, кН (тс);
Учитывая результаты расчетов,
а также требования п.7.4.[1], глубина закрепления расстрелов армировки
скипового отделения принимается равной 0,5м.
11. Расчет
узлов крепления проводников к расстрелам на Т-образных болтах
Исходные данные для расчета:
. Расчетная нагрузка на проводник Рб(л)=43,0 кН (табл. 3.4 [1]);
. Поперечные размеры проводника, мм 200х200х16
. Поперечные размеры соединительного уголка, мм 200х125х12
. Длина уголка, мм 340
. Болт М36 Т-образный
. Материалы:
проводник ВСт 3 сп 5-I ГОСТ 535-88
- соединительный уголок,
упорные планки ВСт 3 сп ГОСТ 535-88
болт Ст45 ГОСТ 1050-88
Механические свойства материалов:
Расчетное сопротивление по пределу текучести по прокату (фасон) для ВСт.
3 сп 5-I при толщине проката 11-20 Ry=240 МПа
Расчетное сопротивление по пределу текучести по прокату (круг) для Ст45
при толщине проката до 100мм Ry=300 МПа
Расчетное сопротивление на растяжение для болтовых соединений класса 6.6
Rbt=250 МПа
Временное сопротивление стали разрыву для стали ВСт. 3 сп 5-I для проката
толщиной 11-20 мм Run=370 МПа
Расчетное сопротивление угловых швов срезу (условному) металлу шва
Rwf=180 Мпа
Расчетное сопротивление срезу по металлу границы сплавления
Расчет на прочность уголка:
МПа
Расчетное сопротивление с учетом коэффициентов условий и коррозийности:
хγсхγк=240х0,9х0,7=151 МПа
Таким образом δ< Ryхγсхγк
Касательное напряжение при расчете по металлу определяем по формуле:
МПа
Расчетное сопротивление угловых швов по металлу шва с учетом
коэффициентов условий и коррозийности:
хγсхγк=180х0,9х0,7=113 МПа
Следовательно τ< Rwfхγсхγк
Касательное напряжение при расчете по металлу границы сплавления:
МПа
Расчетное сопротивление по металлу границы сплавления с учетом
коэффициентов условий и коррозийности:
Rwzхγсхγк=(180/1.1)х0,9х0,7=103 МПа
Следовательно τ< Rwzхγсхγк
Расчет на смятие упорных планок
МПа
Временное сопротивление стали разрыву с учетом коэффициентов
коррозийности и надежности:
хγс/γм=370х0,7/1,05=247 МПа
Следовательно δ< Runхγс/γм
Предельное усилие на растяжение болта:
в=RbtхАвпхγz=250х 0,00826х0,9=186 кН
Принимаем усилие натяжения болтов М36 равным Fн=160 кН.
Растягивающая нагрузка на болт от действия расчетной боковой нагрузки:
кН
Минимально-допустимое усилие натяжения определяется по формуле:
Nomin=(1-χ)хN=(1-0,2)х44=35,26 кН
Коэффициент надежности затяжки:
υ=Fн/Nomin=160/35,26= 4,5>4
Таким образом, при заданной расчетной нагрузке Рб(л)=43,0 кН узел
крепления на Т-образном болте обеспечивает сохранение стабильности затяжки.
Список используемой литературы
1. Руководство по проектированию
армировки стволов шахт с коробчатыми проводниками, Криворожский Горнорудный
институт, г. Кривой Рог, 1989 г.
2. Руководство по проектированию блочной
армировки клетевых стволов, Криворожский горнорудный институт, г. Кривой Рог,
1976 г.
3. А.В. Дарков "Строительная
механика", М., Высшая школа, 1986 г.
4. ЕПБ при разработке рудных, нерудных и
россыпных месторождений полезных ископаемых подземным способом, М., НПО ОБТ,
1996 г.
5. А.А. Уманский "Справочник
проектировщика", М., издательство литературы по строительству, архитектуре
и строительным материалам, 1960г.
6. А.И. Дыховичный "Строительная
механика", М., Углетехиздат, 1959 г.
Приложение 1
Расчет балки 1-2
Определяем коэффициенты [5, табл. 8.3.20]
Приложение 2
Каноническое уравнение
Определяем коэффициенты [ табл. 8.3.20 (5)]