Розробка мехатронної системи газового рульового приводу

  • Вид работы:
    Курсовая работа (т)
  • Предмет:
    Транспорт, грузоперевозки
  • Язык:
    Украинский
    ,
    Формат файла:
    MS Word
    815,52 Кб
  • Опубликовано:
    2015-07-18
Вы можете узнать стоимость помощи в написании студенческой работы.
Помощь в написании работы, которую точно примут!

Розробка мехатронної системи газового рульового приводу

Міністерство освіти і науки України

Кіровоградський національний технічний університет

Кафедра "Експлуатація та ремонт машин"










ПОЯСНЮВАЛЬНА ЗАПИСКА

до курсового проекту по дисципліні:

"МЕХАТРОНІКА ТРАНСПОРТНИХ ЗАСОБІВ І СИСТЕМ"











Кіровоград 2014

Зміст

Вступ

. Аналіз технічного завдання

. Принципова і функціональна схеми ГРП

. Математична модель пневмодвигуна

. Математична модель ЕМП

. Математична модель газового приводу

. Розрахунок параметрів контуру ГРП

.1 Вибір узагальнених параметрів приводу

.2 Розрахунок параметрів контуру при негативному шарнірному моменті

.2.1 Розрахунок і побудова частотних характеристик пневмопривода

.2.2 Визначення параметрів автоколивань

.2.3 Гармонійна лінеаризація

.2.4 Цифрове моделювання пневмоприводу

.3 Розрахунок параметрів контуру при позитивному шарнірному моменті

.3.1 Розрахунок і побудова частотних характеристик пневмоприводу

.3.2 Визначення параметрів автоколивань

.3.3 Гармонійна лінеаризація

.3.4 Цифрове моделювання пневмоприводу

. Проектування фільтру, що коригує

. Розрахунок конструктивних параметрів

.1 Розрахунок конструктивних параметрів приводу

.2 Розрахунок параметрів ГРП

Укладення

Список літератури

Додаток

Вступ

Керуючі приводи систем входять до складу системи управління автомобілем. Як і електронна апаратура, системи приводів повинні точно відтворювати певний клас вхідних сигналів. Успіх проектування системи приводу багато в чому залежить від вибору його структури. У системах приводів систем, що управляють, застосовуються структури систем безперервної і релейної дії. Системи приводів безперервної дії порівняно з системами релейної дії більше трудомісткі у виробництві, оскільки їх елементи повинні мати лінійні статичні характеристики. У системах приводів релейної дії використовуються простіші елементи. Підсилювач потужності, електромагніт і розподільник функціонують в двопозиційному режимі. Автоколивальні системи приводів не вимагають забезпечення стійкості. Тому на сьогоднішній день вони використовуються майже у всіх системах сучасних автомобілів.

1. Аналіз технічного завдання

Об'єктом проектування є привід системи, що управляє, працюючий в автоколивальному режимі. Енергія від джерела в газову силову систему поступає під тиском. Для вищезгаданого робітника тіла характерні наступні показники. У якості двигуна застосовується силовий циліндр. У якості розподільника застосований газовий розподільний пристрій (ГРП) типу «струминна трубка». Для дроселя коефіцієнт витрати вважатимемо рівним. У системі релейної дії, хоч би в одній її ланці, при безперервній зміні вхідної величини вихідна величина змінюється стрибкоподібно. У проектованій системі в якості такого елементу виступатиме нейтральний двопозиційний електромеханічний перетворювач (ЕМП).

При постановці завдання проектування вимоги до динамічних характеристик сформульовані по відношенню до певного вхідного сигналу, яким є гармонійний сигнал в частотному діапазоні . Вимоги до параметрів системи приводу сформульовані у формі вимог до параметрів спрощеної математичної моделі системи, тобто до еквівалентної аперіодичної ланки: . З цього виходить, що спроектована система повинна мати показники що відповідають йому, а саме фазове зрушення в робочому діапазоні частот  і коефіцієнт передачі . Крім того, система повинна управляти навантаженням, опис якого включає приведені параметри(момент інерції і коефіцієнт в'язкого тертя), а також діапазон зміни питомого шарнірного моменту. Вихідна координата кута відхилення керма має обмеження по амплітуді . При проектуванні необхідно вибирати параметри динамічної моделі так, щоб характеристики системи були оптимальними на всіх напрямках. Сукупність параметрів повинна задовольняти деяким оптимальним величинам (маса, габарити).

Автоколивальна система газового приводу представляється наступними ланками:

газовий привід;

електромеханічний перетворювач(ЕМП);

релейний елемент з петлею неоднозначності;

підсилювач напруги;

фільтр, що коригує;

вимірник помилки;

датчик зворотного зв'язку.

Метою проектування є розробка конструкції рульових машин, а також отримання залежностей, що відбивають функціонування системи приводу.

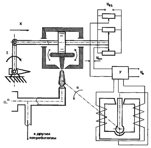
2. Принципова і функціональна схеми газового рульового приводу (ГРП)

а)

б)

Рисунок 1.1 - Принципова(а) та функціональна(б) схеми газового рульового приводу

Перерахуємо елементи, що входять в цю функціональну схему :

·        ПП - підсилювач потужності;

·        НЕМ- нейтральний електромагніт;

·        ЕМП- електромеханічний перетворювач;

·        ДСГ - джерело стислого газу;

·        ГРП- газорозподільний пристрій - струминна трубка;

·        ПД - пневмодвигун двосторонньої дії;

·        МП - механічна передача;

·        ОУ - об'єкт управління;

·        ДЗЗ - датчик зворотного зв'язку.

Визначимо змінні на вході і виході елементів :

·        Uвх - вхідний сигнал;

·        е - сигнал помилки;

·        Uос - сигнал датчика зворотного зв'язку;

·        iо.у. - струм в обмотках управління ЕМП;

·        б - кут повороту якоря ЕМП;

·        Рр - тиск газу на вході в привід;

·        P1G1, P2G2 - тиск і витрата газу в порожнинах ПД;

·        X - переміщення поршня ПД;


3. Математична модель пневмодвигуна

Газовий привід є нестаціонарною динамічною системою. Внаслідок того, що у міру прогрівання конструкції змінюються температура і тиск газу на вході в привід і інтенсивність теплообміну в порожнинах, коефіцієнти і постійні часу структурної схеми приводу виявляються змінними в часі. Швидкість зміни змінних параметрів приводу значно менше швидкості зміни змінних при відробітку вхідного сигналу, що дозволяє при аналізі динаміки приводу і рішенні задачі проектування рахувати значення цих параметрів в окремі моменти часу постійними, тобто скористатися методом «заморожених» коефіцієнтів.

В результаті лінеаризації нелінійної моделі пневмодвигуна можна отримати спрощену лінійну модель газового приводу з електричним зворотним зв'язком у вигляді наступних структурних схем:

Рисунок 1.2 - Структурна схема пневмоприводу при негативному шарнірному моменті

; ; ; ; .    (1.1)

де  - максимальна кутова швидкість обертання аеродинамічного керма;

 - максимальний кут повороту якоря ЕМП;

 - максимальний кут обертання аеродинамічного керма;

J - сумарний момент інерції елементів приводу;

- шарнірний момент;

 - коефіцієнт в'язкого тертя;

 - відносне навантаження.

Ця структурна схема справедлива при негативному шарнірному моменті. При позитивному шарнірному моменті структурна схема може бути приведена до виду, представленого на рис. 3:

Рисунок 1.3 - Структурна схема пневмоприводу при позитивному шарнірному моменті

де ; ; . (1.2)

пневмодвигун рульовий привід автоколивання

4. Математична модель ЕМП

У автоколивальній системі газового приводу з двопозиційним електромеханічним перетворювачем в релейному режимі функціонує тригер, підсилювач потужності і нейтральний електромагніт. Динаміка їх може бути представлена еквівалентною схемою, що складається з релейного елементу і еквівалентних лінійних ланок: ланки запізнювання (рис. 1.4 а) і коливальної ланки (рис. 1.4 б).

а)

б)

Рисунок 1.4 - Еквівалентні схеми ланки запізнювання(а) і коливальної ланки (б)

Динаміка електромеханічного перетворювача оцінюється часом еквівалентного запізнювання tэ і часом руху від упору до нуля t0. Оскільки t0 нехтує мало, то для розрахунків використовуватимемо схему на рис. 1.4 а.

5. Математична модель газового приводу

Структурна схема газового приводу в цілому при пружинному шарнірному навантаженні виглядає таким чином:

Рисунок 1.5 - Структурна схема ГП при пружинному навантаженні

Структурна схема газового приводу при перевертаючому шарнірному навантаженні:

Рисунок 1.6 - Структурна схема ГП при перевертаючому навантаженні

6. Розрахунок параметрів контуру ГРП

6.1 Вибір узагальнених параметрів приводу

Усі рівняння для керуючої і виконавчої підсистем приведені вище. Динамічні властивості пневмодвигуна при заданому моменті навантаження Мн визначаються двома узагальненими параметрами: максимальною кутовою швидкістю  і величиною безрозмірного навантаження , де  - максимальний гальмівний момент.

Безрозмірне навантаження  визначимо за допомогою критерію мінімуму потрібної витрати, вирішивши рівняння:

; (1.3)

         (1.4)

. (1.5)

Звідси

.     (1.6)

Визначимо моменти навантаження для заданих питомих шарнірних моментів і максимальний гальмівний момент.

          (1.7)

Для пружинного навантаження:

.      (1.8)

Для перевертаючого навантаження:

.     (1.9)

Оскільки по вище приведеній залежності значення максимальної кутової швидкості визначалося без урахування тертя, проведемо його аналіз за допомогою коефіцієнта тертя:

.        (1.10)

Реальна максимальна кутова швидкість при отриманих узагальнених параметрах буде нижча, врахуємо це, перерахувавши  по залежності:

.     (1.11)

Таким чином, при обліку впливу тертя, необхідна величина максимальної швидкості зростає.

.2 Розрахунок параметрів контура при негативному шарнірному моменті(пружинне навантаження)

.2.1 Розрахунок і побудова частотних характеристик пневмоприводу при негативному шарнірному моменті

Особливістю шарнірного навантаження, що діє на вихідному валу пневмодвигуна, є те, що вона в процесі експлуатації змінюється не лише за величиною, але і по знаку, тому в технічному завданні на проектування задано два значення питомого шарнірного моменту (), що відповідає граничним значенням негативної (пружинною) і позитивної (перекоменсаційної) навантажень. Проектування ведеться для найгіршого режиму функціонування, тобто для максимального моменту навантаження, тому контур проектуватимемо на основі ЧХ приводу при пружинному навантаженні, а перевірку динаміки проводитимемо для двох режимів.

При негативному шарнірному моменті динаміка пневмодвигателя описується структурною схемою, представленою на рисунку 1.2. Для цієї структурної схеми знайдемо константи, що відповідають вище знайденим узагальненим параметрам приводу, а також прийнятим раніше технологічним параметрам системи().

,      (1.12)

, (1.13)

,         (1.14)

,         (1.15)

.     (1.16)

Для рассчитанной структурной схемы строим частотные характеристики. Для этого строим ЛАФЧХ для передаточной функции:

 .          (1.17)

Рисунок 1.7 - Частотні характеристики пневмоприводу при негативному шарнірному моменті.

6.2.2 Визначення параметрів автоколивань

Динаміка ЕМП описується передатною функцією:

.         (1.18)

При цьому ФЧХ і АЧХ ЕМП описуються залежностями:

,     (1.19)

.   (1.20)

Динаміка електромеханічного перетворювача, відтворюючого періодичний сигнал прямокутної форми, оцінюється часом еквівалентного запізнювання .

Очевидно, що при зменшенні  фазове зрушення зменшується і за інших рівних умов частота автоколивань збільшується, що призводить до поліпшення точності контура ГРП. Тому покладемо  і розрахуємо параметри автоколивань.

Для релейного елементу з петлею неоднозначності вираження еквівалентних амплітудною і фазовою характеристик на частоті автоколивань мають вигляд:

,   (1.21)

де .

Рівняння балансу фаз на частоті автоколивань:

. (1.22)

При проектуванні задається бажана величина  в межах від  до . Приймаємо .

Виходячи з рівняння балансу фаз:

.       (1.23)

Величина частоти автоколивань повинна знаходиться в межах:

,       (1.24)

де .

Рисунок 8 - Рівняння балансу фаз на частоті автоколивань

.2.3 Гармонійна лінеаризація

Знайдемо амплітуду автоколивань виходячи з виконання рівняння балансу амплітуд на частоті автоколивань :

, (1.25)

.     (1.26)

Параметр  релейного елементу(ширина петлі гістерезису РЕ) :

.        (1.27)

Визначимо Kнел1 по формулі:

.         (1.28)

Побудуємо ЛАФЧХ замкнутої лінеаризованої системи.

         (1.29)

Рисунок 1.9 - ЛАФЧХ замкнутої системи при негативному шарнірному моменті

З аналізу частотних характеристик можна визначити фазове зрушення замкнутої системи при негативному шарнірному моменті на робочій частоті .

6.2.4 Цифрове моделювання пневмоприводу при негативному шарнірному моменті

Проведемо цифрове моделювання роботи системи за допомогою пакету програми Mathcad.

Рисунок 1.10 - Автоколивання на виході ГРП

Рисунок 1.11 - Реакція нескоректованої ГРП на подання синусоїдального вхідного сигналу з робочою частотою щ0

6.3 Розрахунок параметрів контуру при позитивному шарнірному моменті (перекомпенсаційне навантаження)

6.3.1 Розрахунок і побудова частотних характеристик пневмоприводу при позитивному шарнірному моменті

При позитивному шарнірному моменті динаміка пневмодвигуна описується структурною схемою, представленою на рисунку 1.3. Наявність немінімально-фазової ланки  в структурній схемі, обумовлено дією позитивного (перекомпенсаційного) моменту. Для автоколивальних приводів при позитивному максимальному шарнірному моменті мають місце найгірші динамічні характеристики. Збільшення ж негативного шарнірного моменту призводить до зростання потрібної витрати повітря, збільшення маси і габаритів. Тому при проектуванні необхідно керуватися принципом мінімізації шарнірного навантаження.

Для цієї структурної схеми знайдемо константи, що відповідають вище знайденим узагальненим параметрам приводу, а також прийнятим раніше технологічним параметрам системи.

;         (1.30)

;       (1.31)

;  (1.32)

. (1.33)

Для розрахованої структурної схеми будуємо частотні характеристики. Для цього будуємо ЛАФЧХ для передатної функції:

; . (1.34)

Рисунок 1.12 - Частотні характеристики пневмоприводу при позитивному шарнірному моменті

6.3.2 Визначення параметрів автоколивань

Як і для випадку негативного шарнірного моменту покладемо  і розрахуємо параметри автоколивань. Для релейного елементу з петлею неоднозначності вираження еквівалентних амплітудною і фазовою характеристик на частоті автоколивань мають вигляд:

,   (1.35)

де .

Рівняння балансу фаз на частоті автоколивань :

.         (1.36)

При проектуванні задається бажана величина  в межах від  до . Покладемо .

Виходячи з рівняння балансу фаз :

.       (1.37)

Рисунок 1.13 - Рівняння балансу фаз на частоті автоколивань

Величина частоти автоколивань повинна знаходиться в межах:

,       (1.38)

де .

.3.3 Гармонійна лінеаризація

Знайдемо амплітуду автоколивань виходячи з виконання рівняння балансу амплітуд на частоті автоколивань :

,         (1.39)

.     (1.40)

Параметр  релейного елементу(ширина петлі гістерезису РЕ) :

.       (1.41)

Визначимо Kнел1 по формулі:

.                 (1.42)

Рисунок 1.14 - ЛАФЧХ замкнутої системи при позитивному шарнірному моменті

Побудуємо ЛАФЧХ замкнутої лінеаризованої системи.

         (1.43)

З аналізу частотних характеристик можна визначити фазове зрушення замкнутої системи при позитивному шарнірному моменті на робочій частоті .

Проведемо цифрове моделювання роботи системи за допомогою пакету програми Mathcad.

Рисунок 1.14 - Автоколивання на виході ГРП

Рисунок 1.15 - Реакція нескоректованої ГРП на подання синусоїдального вхідного сигналу з робочою частотою щ0

7. Проектування фільтру, що коригує

Найгіршим з точки зору точності відробітку синусоїдального сигналу з робочою частотою являється другий режим.

Тому доцільно скоректувати систему при перевертаючому навантаженні. Для збільшення точності системи введемо в систему фільтр, що коригує, ослабляє амплітудну характеристику приводу на частоті автоколивань, але що по можливості не спотворює амплітудну характеристику на частоті  і фазові характеристики на частоті  і .

Поставимо інтегро-диференцюючий фільтр з передатною функцією:

,     (1.44)

.     (1.45)

Параметри фільтру вибираються так, щоб на частоті автоколивань фазове зрушення той, що вноситься фільтром дорівнював нулю.

ЛАФЧХ коригуючого фільтру прийме вид, що наведено на рис. 1.16.

Рисунок 1.16 - ЛАФЧХ коригуючого фільтру

Для побудови замкнутої ЛАФЧХ скоректованої системи необхідно провести гармонійну лінеаризацію з урахуванням фільтру. Знайдемо амплітуду автоколивань виходячи з виконання рівняння балансу амплітуд на частоті автоколивань:

,        (1.46)

      (1.47)

.     (1.48)

Параметр  релейного елементу (ширина петлі гістерезису РЕ) :

.       (1.49)

Визначимо Kнел.кор. по формулі:

.     (1.50)

Построим ЛАФЧХ замкнутой линеаризованной скорректированной системы.

      (1.51)

З аналізу частотних характеристик можна визначити фазове зрушення замкнутої скоректованої системи при позитивному шарнірному моменті на робочій частоті .

Рисунок 1.17 - ЛАФЧХ замкнутої системи до і після корекції при позитивному шарнірному моменті

Визначимо також постійну часу еквівалентної аперіодичної ланки, знаючи фазове зрушення на робочій частоті.

.      (1.52)

Проведемо цифрове моделювання роботи скоректованої системи.

Рисунок 1.18 - Реакція скоректованої ГРП на подання синусоїдального вхідного сигналу з робочою частотою щ0

8. Розрахунок конструктивних параметрів

8.1 Розрахунок конструктивних параметрів приводу

Необхідно визначити плече механічної передачі , діаметр поршня силового циліндра , величина вільного ходу приводу . При визначенні плеча  треба задатися співвідношенням між вільним ходом поршня і його діаметром.

З міркувань компактності конструкції силового циліндра, що розробляється, зазвичай використовується наступне співвідношення:

.  (1.53)

При переміщенні  максимальний момент, що створюється приводом, повинен в  раз перевершувати максимальний момент від навантаження:

. (1.54)

З урахуванням прийнятого співвідношення  з останньої рівності отримаємо залежність:

.        (1.55)

Максимальний перепад тисків в порожнинах силового циліндра  залежить від величини , типу і співвідношень геометричних розмірів розподільного пристрою, а також від інтенсивності теплообміну в порожнинах. При розрахунках величини  можна орієнтовно приймати для приводів з ГРП типу сопло-заслінка .

При розрахунку величини  величина  повинна відповідати 1-у режиму роботи приводу.

При відносно малих значеннях кута :

,   (1.56)

.        (1.57)

Визначаємо об'єм робочої порожнини з урахуванням зроблених раніше припущень:

,     (1.58)

.        (1.59)

Рисунок 1.19 - Вид приводу

 

.2 Розрахунок параметрів ГРП


Розрахунок ГРП ведеться, виходячи з вимог до максимальної швидкості приводу . Тобто, необхідно, щоб в найгіршому випадку (при негативному шарнірному моменті) забезпечувалася швидкість приводу не нижче , де  - значення максимальної кутової швидкості (визначена вище).

Як розподільник використовується газорозподільний пристрій «струминна трубка». Такий пристрій реалізує регулювання газового потоку «на виході». Максимальна швидкість приводу, що встановилася, визначається залежністю:

.    (1.60)

З цієї залежності виходить, що:

,      (1.61)

де , ,  - коефіцієнти, характеризуючі ГРП:

 - коефіцієнт ефективності ГРП на виході;

- коефіцієнт ефективності ГРП на вході;

 - величина, що характеризує співвідношення вхідного і вихідного перерізів ГРП ().

Оскільки як ГРП використовується струминна трубка, то:

,   (1.62)

.   (1.63)

Температура в джерелі прийнята рівною , що відповідає найгіршим умовам функціонування приводу . З цих міркувань знаходиться величина (), , () і :

,     (1.64)

,        (1.65)

.        (1.66)

Після розрахунку величин , ,  та  визначаються основні геометричні розміри розподільника.

Діаметр приймального вікна розподільника визначається з умови:

звідки ,  (1.68)

де коефіцієнт витрати .

Згідно з рекомендаціями, виробленими інженерною практикою, доцільно призначати наступні співвідношення геометричних розмірів струйного розподільника:

, (1.69)

,        (1.70)

.        (1.71)

Величина максимального переміщення кінця струминної трубки :

, (1.72)

Довжина струминної трубки :

. (1.73)

При відомому значенні  обчислюємо величини b і d.

,   (1.74)

.   (1.75)

Висновок

В результаті виконання курсового проекту виконано проектування автоколивальної силової системи управління. На основі спрощених залежностей був проведений аналіз динамічних характеристик пневмодвигуна і усієї системи рульового приводу автомобіля, визначені параметри автоколивань, зроблений синтез коригуючого фільтру, що вимагається для збільшення точності роботи системи, цифрове моделювання системи рульового приводу і вибір початкових параметрів системи.

Список літератури:

1.   Белкин И.М. Справочник по допускам и посадкам для рабочего машиностроителя / И.М. Белкин. - М.: “Машиностроение”, 1985. - 325 с.

.     Бессекерский В.А. Руководство по проектированию систем автоматического управления / В.А. Бессекерский. - М.: Высшая школа, 1983. - 245 с.

. Бондарев В.Н. Цифровая обработка сигналов: методы и средства: Учеб. пособие для вузов / Бондарев В.Н., Трёстер Г., Чернега В.С. - Севастополь: СевГТУ, 1999. - 398 с.

. Віниченко В.С. Мікропроцесорні засоби на транспорті / В.С. Віниченко. - Харків: ХДАМГ, 2002. - 215 с.

5. Власов В.М. Телематика на автомобильном транспорте / [В.М. Власов, С.В. Жанказиев, В.Б. Николаев и др.]. - М.: МАДИ (ГТУ), 2003. - 175 с.

6. Гируцкий О.И. Электронные системы управления агрегатами автомобиля / О.И. Гируцкий, Ю.К. Есеновский-Лашков, Д.Г. Поляк. - Москва: Транс-порт, 2000. - 213с.

7. Голобородько О.О. Мехатронні системи автомобільного транспорту / О.О. Голобородько, О.О. Коробочка. - Харків: ТОВ «СМІТ», 2006.- 300с.

8. Деревицкий Д.П. Прикладная теория дискретных адаптивных систем управления / Д.П. Деревицкий, А.Л. Фрадков. - М.: Наука, 1981. - 216 с.

9.   ЕСКД Справочное пособие - М.: Издательство стандартов, 1989. - 123 с.

.     Шорников Е.Е. Проектирование автоматических систем: Учебное пособие / Е.Е. Шорников. - Тула, ТПИ, 1984. - 260 с.

.     Шорников Е.Е. Газовые и гидравлические САУ: Методические указания по выполнению курсовой работы / Е.Е. Шорников, В.И. Чекмазов. - Тула, ТПИ, 1986. - 56 с.

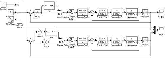
Додаток

Рисунок 1.20 - Схема моделювання системи при пружинному навантаженні

Рисунок 1.21 - Схема моделювання системи при перекомпенсаційному навантаженні

Похожие работы на - Розробка мехатронної системи газового рульового приводу

 

Не нашли материал для своей работы?
Поможем написать уникальную работу
Без плагиата!
Без нейросетей!