Производство полуводного гипса
ВВЕДЕНИЕ
полуводный гипс вяжущий
Высокого уровня достигла промышленность известковых и
гипсовых вяжущих веществ, объединяющая современные высокомеханизированные
крупные предприятия.
Общеизвестны труды А.А. Вайкова (1870-1946),
разработавшего теорию твердения вяжущих веществ и осуществившего крупные
исследования в области сульфатостойких и других цементов.
В.Ф. Журавлев впервые установил периодичность вяжущих
свойств силикатов, алюминатов, ферритов и других соединений металлов II группы
периодической системы элементов Д.И. Менделеева в зависимости от их положения в
четном и нечетном ряду.
П.А. Ребиндер (1898-1974) развил теорию
кристаллизационного структурообразования при твердении вяжущих веществ,
предложил метод его регулирования с помощью поверхностно-активных веществ.
С.Д. Окороков (1901-1981) свои многочисленные
исследования посвятил классификации цементов по их минеральному составу,
экзотермии отдельных минералов, легированию клинкеров малыми добавками
различных веществ, созданию малотермичных цементов, в частности для
гидротехнического строительства.
И.Ф. Пономарев (1882-1982) известен многими
теоретическими исследованиями в области силикатов и технологии цементов,
огнеупоров, автоклавных материалов.
Завод будет строиться в Донецкой области, вблизи города Макеевка.
Расположение завода очень удачное, так как рядом находится гипсовый карьер,
Восточно-Михайловского месторождение. Завод будет строиться с целью
производства высококачественного гипса.
1. ГИПСОВЫЕ ВЯЖУЩИЕ ВЕЩЕСТВА
Эти вяжущие наиболее эффективны в
технико-экономическом отношении, особенно по удельным затратам сырья, топлива,
электроэнергии и труда на единицу продукта. Неограниченны и запасы исходного
природного сырья, а также побочных гипсосодержащих материалов, образующихся на
предприятиях химической промышленности.
Гипсовыми вяжущими веществами называют порошковидные
материалы, состоящие из полуводного гипса и получаемые обычно тепловой
обработкой двуводиого гипса в пределах 105-200 °С.
При термообработке двуводиого гипса в паровой среде
под давлением в автоклавах или в водных растворах некоторых солей при
атмосферном давлении образуется а-полуводный сульфат кальция (гипсовое вяжущее
а). При обжиге сырья при .140-180°С получают р-полуводный сульфат кальция
(гипсовое вяжущее р). К группе гипсовых относится также вяжущее, получаемое без
термообработки тонким измельчением двуводиого гипса с активизаторами твердения.
Ангидритовые вяжущие- изготовляют обжигом двуводиого
гипса при 600-950 °С. Они почти целиком состоят из ангидрита -безводного
сульфата кальция CaS04. Различают низкообжиговое ангидритовое вяжущее
(ангидритовый цемент П.П. Будникова), получаемое обжигом двугидрата при 600-750
°С, и высокообжиговое, получаемое обжигом при 800-950 °С, и иногда называемое
эстрихгипсом. Ангидритовое вяжущее можно производить без термообработки тонким
измельчением природного ангидрита с добавкой активизаторов твердения.
Гипсовые вяжущие- по традиции с некоторой условностью,
отвечающей практическим целям, разделяют на: строительный гипс, состоящий из
р-модификации полугидрата; формовочный гипс того же состава с повышенными
техническими свойствами; технический (высокопрочный) гипс, состоящий из
а-полуводного гипса.
Свойства всех разновидностей гипсовых вяжущих,
содержащих как а-, так и (3-модификации полугидрата сульфата кальция, а также
методы их определения регламентируются ГОСТ 125-79 «Вяжущие гипсовые.
Технические условия» и ГОСТ 23789-79 «Вяжущие гипсовые. Методы испытаний».
Для производства гипсовых и ангидритовых вяжущих
веществ в качестве сырья применяют природные двуводный гипс, ангидрит,
глиногипс, а также отходы промышленности, состоящие в основном из двуводного
или безводного (а иногда и полуводного) сернокислого кальция или их смеси
(фосфогипс, борогипс, фторогипс и др.).
Природный
двуводный гипс - горная порода осадочного происхождения, сложенная в основном
из крупных или мелких кристаллов сернокислого кальция CaSO*2
O.
Плотные
образования гипса называют гипсовым камнем. По внешнему виду и строению горной
породы различают кристаллический прозрачный гипс, гипсовый шпат,
тонковолокнистый гипс с шелковистым отливом (селенит) и зернистый гипс.
Наиболее чистую разновидность зернистого гипса, напоминающую по внешнему виду
мрамор, иногда называют алебастром.
Гипсовые
породы содержат обычно некоторое количество примесей глины, песка, известняка,
битуминозных веществ и др.
Чистый
гипс белого цвета, примеси придают ему различные оттенки: оксиды железа
окрашивают его в желтовато-бурые цвета, органические примеси -в серые и т.д.
Небольшое количество примесей, равномерно распределенных в гипсе, заметно не
ухудшает качество вяжущих. Вредное влияние оказывают крупные включения.
По
ГОСТ 4013-82 гипсовый камень для производства гипсовых вяжущих веществ должен
содержать не менее 95 % двуводного гипса в сырье 1-го сорта, не менее 90 % в
сырье 2-го сорта и не менее 80 и 70 % в сырье 3-и 4-го сортов. В гипсовых
породах лучших месторождений обычно содержится до 2-5% примесей, но часто их
количество достигает 10-15 % и более.
Средняя
плотность гипсового камня зависит от количества и вида примесей и составляет
2,2-2,4 г/см'3,
Насыпная
плотность гипсовой щебенки 1200--1400 кг/м3, влажность колеблется в
значительных пределах (3-5 % и более). Содержание воды в различных партиях
гипсового камня неодинаково и зависит от его физических свойств, относительной
влажности воздуха, времени года и условий хранения.
Природный
ангидрит - горная порода осадочного происхождения, состоящая преимущественно из
минерала-безводного сернокислого кальция CaSCV Залежи ангидрита обычно
подстилают слой двуводного гипса. Под действием грунтовых вод ангидрит медленно
гидра-тируется и переходит в двуводный гипс. Поэтому в природе ангидрит редко
состоит из одного безводного сернокислого кальция и обычно содержит до 5-10 % и
более двуводного гипса.
Ангидрит
- порода более плотная и прочная, чем двуводный гипс. Его истинная плотность
достигает 2,9- 3,1 г/см3. Чистый ангидрит белого цвета, и о в зависимости от
примесей он, как и гипс, имеет различные оттенки. В природе ангидрит
встречается реже чем двуводный гипс.
Области
применения. Гипсовые вяжущие применяют главным образом для производства
гипсовой сухой штукатурки, перегородочных плит и панелей, элементов заполнения
междуэтажных и чердачных перекрытий зданий, вентиляционных коробов и других
деталей, используемых в конструкциях зданий и сооружений при относительной
влажности воздуха не более 60%. Из гипса изготовляют разнообразные
архитектурные, 'огнезащитные, звукопоглощающие и тому подобные изделия. Из
р-гипса выполняют стеновые камни, панели и блоки, используемые при возведении
наружных стен малоэтажных домов, а также зданий хозяйственного назначения.
2.
ТЕХНОЛОГИЧЕСКАЯ ЧАСТЬ
.1 Характеристика
Рассматриваемые виды полуводного гипса по своим основным свойствам во
многом одинаковы. Главное различие состоит преимущественно в показателях
прочности. Все определения свойств гипсовых вяжущих производятся по ГОСТ
23789-79.
Истинная плотность этих разновидностей колеблется в пределах 2,6-2,75
г/см3. Насыпная плотность в рыхлом состоянии обычно составляет 800-1100, в
уплотненном-1250-1450 кг/м3.
По ГОСТ 125-79 дисперсность гипсовых вяжущих, зависящая от степени
измельчения при помоле и влияющая на водопотребность материала, прочность и
некоторые другие свойства, оценивается по остатку на сите с размерами ячеек, в
свету 0,2 мм (в % по массе от просеиваемой пробы). При этом различают следующие
виды: грубый помол (индекс I), остаток на сите не более 23%; средний помол
(индекс II) - 14%; тонкий помол (индекс III) - 2 %.
Гипс с индексом III, а также гипс высшей категории качества должны
характеризоваться по удельной поверхности порошка, устанавливаемой на приборе
АДП-1 (ПСХ-2) в соответствии с ГОСТ 23789-79.
Водопотребность. Теоретически для гидратации полуводного гипса с
образованием двуводного необходимо 18,6 % воды по массе вяжущего вещества.
Практически же для получения теста стандартной консистенции по ГОСТ 23789-79
(нормальная густота) для (3-полугидра-та требуется 50-70 % воды, а для
а-полугидрата - 35- 45 %• Стандартной консистенции соответствует расплыв массы
до диаметра 180±5 мм.
Затвердевший гипс представляет собой твердое тело с высокой пористостью,
достигающей 40-60 % и более. Естественно, что с увеличением количества воды
затво-рения пористость гипсового изделия возрастает, а прочность уменьшается.
Сроки схватывания гипса зависят от свойств сырья, технологии
изготовления, длительности хранения, количества вводимой воды, температуры
вяжущего вещества и воды, условий перемешивания, наличия добавок и др. Быстрее
всех схватывается полуводный гипс, содержащий некоторое количество частичек
неразложившегося двугидрата, являющихся центрами кристаллизации и вызывающих
ускоренную гидратацию полуводного гипса. Схватывание гипса значительно
ускоряется при за-творении его пониженным количеством воды по сравнению с тем,
какое требуется для теста нормальной густоты, и наоборот.
Повышение температуры гипсового теста до 40-, 46 °С способствует
ускорению его схватывания, а выше этого предела, наоборот, - замедлению. При
температуре гипсовой массы 90-100°С схватывание и твердение прекращаются. Это
объясняется тем, что при указанных и более высоких температурах растворимость
полуводного гипса в воде становится меньше растворимости двугидрата. В
результате прекращается переход полугидрата в двугидрат, а следовательно, и
связанное с ним твердение. Схватывание замедляется, если гипс применяют в смеси
с заполнителями - песком, шлаком, опилками и т. д.
Быстрое схватывание полуводного гипса является в большинстве случаев
положительным его свойством, позволяющим быстро извлекать изделия из форм.
Однако в ряде случаев быстрое схватывание нежелательно. Для регулирования
сроков схватывания (ускорения и замедления) в гипс при затворении вводят
различные добавки.
Прочность гипсовых вяжущих . По ГОСТ 125-79 прочность (3- и
а-полу-водного гипса определяют испытанием образцов-балочек размером 4X4X16 см
из гипсового теста стандартной консистенции (нормальной густоты). Балочки
испытывают через 2 ч после изготовления на изгиб, а их половинки - на сжатие,
определяют в соответствии с требованиями ГОСТ 23789-79. Для этих вяжущих
применяется условное обозначение с учетом их марки по прочности, сроков
схватывания и дисперсности, например Г-5АП -- гипс прочностью 5 МПа,
быстротвердеющий (А), среднего помола (индекс II).
Прочность затвердевшего гипса в большой мере зависит от того количества
воды, которое было взято при его затворении (водогипсовое отношение). По данным
А.Г. Панютина, уменьшение водогипсового отношения с 0,7 до 0,4 позволяет
увеличить прочность изделий из строительного гипса в 2,5-3 раза.
Прочность полуводного гипса при осевом растяжении в 6-9 раз меньше
прочности при сжатии. Изделия из а- и р-полугидрата, изготовленные при
одинаковом водо-гипсовом отношении, имеют близкие значения прочности.
Прочность на сжатие затвердевшего гипсового вяжущего и изделий из него в
большой степени зависит от их влажности. В частности, даже сорбционное
увлажнение до 0,5-1 % сухого гипсового образца, находящегося в воздухе с
относительным содержанием паров воды 80- 100 %, снижает его прочность до 60-70
% прочности в высушенном состоянии. Дальнейшее влагонасыщение образна до 10-15
% уменьшает прочность примерно до 50 %, а полное водонасыщение - до 35-40 %
прочности в высушенном состоянии. Это относится к образцам, изготовленным с
водогипсовым отношением 0,5-0,7. Прочность образцов, более плотных, полученных
при пониженных водогипсовых отношениях, при увлажнении снижается несколько
меньше.
Способность строительного гипса расширяться зависит от содержания в нем
растворимого ангидрита. Установлено, что полугидрат расширяется при твердении
на 0,5-0,15%, а растворимый ангидрит - на 0,7-0,8%. Поэтому гипс, обожженный
при повышенных температурах и содержащий повышенное количество растворимого
ангидрита, характеризуется большим расширением при твердении. Для уменьшения
расширения в гипс при помоле вводят до 1 % негашеной извести, что снижает
коэффициент расширения при твердении с 0,3 до 0,08- 0,1 %. Расширение гипса
уменьшается с увеличением содержания в тесте воды, а также при введении в него
замедлителей схватывания.
После первоначального расширения, как показывают опыты В. В. Помазкова,
гипсовые изделия при последующем высыхании дают усадку в размере около 0,05- ОД
% в результате уменьшения влажности с 5-10 до 1-2 %. Такая усадка при
изготовлении крупноразмерных изделий сопровождается значительными напряжениями,
что может вызвать уменьшение прочности и даже появление трещин. Для уменьшения
усадки целесообразно применять гипс в смеси с минеральными заполнителями в виде
гипсобетона.
Ползучесть гипсовых изделий значительно уменьшается при введении в него
портландцемента совместно с пуццолановыми (гидравлическими) добавками.
Долговечность. Изделия из р- и а-полуводного гипса характеризуются
большой долговечностью при службе их в воздушно-сухой среде. При длительном
воздействии воды, особенно при низких температурах, когда изделия в
водоиасыщенном состоянии систематически то замерзают, то оттаивают, они
разрушаются.
Гипсовые изделия выдерживают обычно 15-20 и более циклов замораживания и
оттаивания. Водостойкость изделий можно несколько повысить: применением
интенсивных способов уплотнения гипсобетонных смесей при формовании; введением
в гипс и изделия из него небольшого количества синтетических смол,
кремнийорганических соединений и др.; нанесением покровных пленок или
пропитыванием изделий растворами синтетических смол, гидрофобными веществами,
баритовым молоком и т. п. Наиболее же эффективным оказалось применение
смешанных вяжущих, представляющих собой композиции из полуводного гипса,
портландцемента или доменных гранулированных шлаков и пуццолановых добавок.
Гипсовые изделия огнестойки. Они прогреваются относительно медленно и
разрушаются лишь после 6-8 ч нагрева, т. е. при такой продолжительности пожара,
которая маловероятна. Поэтому гипсовые изделия часто рекомендуют в качестве
огнезащитных покрытий.
Стальная арматура в гипсовых изделиях в условиях нейтральной среды (рН =
6,5...7,5), особенно при значимой их пористости, подвергается интенсивной
коррозии. Коррозия предотвращается при покрытии стали обмазками:
цементно-битумной, цемеитно-полистиролыюй и др. Более надежно предварительно
подвергать сталь металлизации цинком или алюминием, а затем покрывать
указанными обмазками.
.2 Выбор способов производства и разработка технологической схемы
Основные способы производства строительного гипса, применяемые в
настоящее врумя, можно разделить на следующие три групы, характеризующиеся:
) Предварительной сушкой и измельчением сырья в порошок с
последующей дегидратацией гипса (обжиг гипса в гипсоварочных котлах);
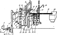
Рис. 2. Схема производства строительного гипса с применением варочных
котлов
1-приемный бункер гипсового камня; 2- пластинчатый питатель; 3-
ще- ковая дробилка; 4 - молотковая дробилка; 5 - элеватор; 6 -
бункер дробленого гипса; 7 - вибратор для предупреждения зависания материала в
бункере; 8 - реечный затвор; 9 - тарельчатый питатель; 10-
шахтная мельница;
11- спарекиый циклон; 12 - бункер для высушенного гипса из
пылеосадительных устройств; 13 - батарейный циклон; 14 -
электрофильтр; 15 - винтовой конвейер; 16 - бункер над
гипсоварочиым котлом; 17 - бак для солевой добавки; 18 - трубопровод для отвода пара нз котла через
воздухоочистительные устройства (иа схеме не показаны) в атмосферу; 19, 25 -
винтовые конвейеры; 20 - бункер готового гипса; 21 -
гнпсоварочиый котел; 22 - бункер выдерживания; 23 - винтовой
питатель; 24, 26 - элеваторы; 27 - трубопровод для подачи горячих
газов от котла в мельницу
Осажденный в системе пылеочистки гипсовый порошок
поступает в расходные бункера, из которых направляется в варочные котлы. В
процессе обжига получают продукт, состоящий из полуводного гипса иногда с
небольшим количеством примесей других модификаций водного и безводного сульфата
кальция. Необходимо иметь в виду, что наличие в продукте двугидрата (даже 1-2
%), а также обезвоженного полугидрата и растворимого ангидрита способствует
значительному ускорению сроков схватывания, увеличению его водопотребности и,
следовательно, снижению прочностных показателей.
Варочный котел ( 4) представляет собой вертикальный
стальной барабан / с разборным сферическим днищем 10, состоящим из чугунных
сегментов. Разборное днище лучше выдерживает напряжения, возникающие при
местном перегреве, а при износе отдельные его части легко заменяются новыми
элементами.
) Совмещения операцій сушки, помола и обжига
двуводного гипса;
Обжиг гипса в варочных котлах
Осажденный в системе пылеочистки гипсовый порошок
поступает в расходные бункера, из которых направляется в варочные котлы. В
процессе обжига получают продукт, состоящий из полуводного гипса иногда с
небольшим количеством примесей других модификаций водного и безводного сульфата
кальция. Необходимо иметь в виду, что наличие в продукте двугидрата (даже 1-2
%), а также обезвоженного полугидрата и растворимого ангидрита способствует
значительному ускорению сроков схватывания, увеличению его водопотребности и,
следовательно, снижению прочностных показателей.
Варочный котел (4) представляет собой вертикальный
стальной барабан / с разборным сферическим днищем 10, состоящим из чугунных
сегментов. Разборное днище лучше выдерживает напряжения, возникающие при
местном перегреве, а при износе отдельные его части легко заменяются новыми
элементами.
3) Обжиг гипса в виде кусков различных размеров в
шахтных, вращающихся, камерных и других печах
1 - состав природного гипса (СаSO4 • 2Н2О) , 2 - щековая дробилка 3 -
молотковая дробилка, 4 - элеватор, 5 - транспортеры, 6 - бункер угля, 7 -
бункер дробленного природного гипса, 8 - тарельчатый питатель 9 - печь,
вращающийся, 10 - скребковый транспортер, 11 - бункер обожженного гипса, 12 -
тарельчатый питатель, 13 - трубный мельница, 14 - аспирационная камера, 15 -
циклон, 16 - батарея циклонов, 17 - электрофильтр, 18 - вентилятор, 19 - шнек;
20 - силосный состав гипса полугидрат (в-СаSO4 • 0,5 Н2О).
Производство строительного гипса из плотной гипсовой
породы состоит из трех главных операций: дробления гипсового камня, помола и
обжига обжигом гипса в виде кусков различных размеров в шахтных, вращающихся,
камерных и других печах. Полугидрат в порошок измельчают после обжига.
Производство строительного гипса с применением
гипсоварочных котлов ( 2). Гипсовый камень доставляют обычно из рудников и
карьеров в кусках и глыбах до 300-500 мм (реже в виде щебня фракций 10- 50 мм),
что вызывает необходимость его дробления в одну или две стадии в щековых и
молотковых дробилках. Щековые дробилки обычно применяют при двухстадийном
дроблении для первичного измельчения гипсового камня до кусков размеров 30-50
мм. Молотковые дробилки используют, как правило, для вторичного дробления
кусков в мелкий щебень размером до 10-15 мм. Более экономично дробление
гипсового камня в одну стадию в крупных молотковых дробилках до частиц размером
0-25 мм.
Тонкое измельчение гипсового щебня осуществляют в
шахтных, мельницах. При выборе мельниц для измельчения двуводного гипса следует
учитывать необходимость получения порошка, частицы которого имели бы кубическую
форму, а не лещадную. Этого в значительной степени удается достичь в дробилках
и мельницах, измельчающих материал ударным воздействием. При кубической форме
обеспечивается наиболее быстрое и равномерное удаление гидратной воды из
кристаллов гипса.
Помол влажного двуводного гипса затруднителен, поэтому
на современных заводах эту операцию совмещают обычно с сушкой гипса.
На рис.3 приведена схема шахтной мельницы для сушки и
одновременного измельчения гипса. Она состоит из камеры измельчения 6, вала 4,
ротора с билами 5 и шахты 3 высотой 12-15 м. Била шарнирно соединяются с
билодержателями, которые, в свою очередь, шарнирно крепятся к диску ротора.
Гипсовый камень в виде щебня размером до 3-4 см подается тарельчатым питателем
через течку в верхнюю часть камеры измельчения на быстро вращающиеся била. Для
повышения износоустойчивости била наплавляют твердыми сплавами слоем толщиной
5-8 мм. Для подсушки гипса из топок варочных котлов через патрубки 2 и боковые
каналы 1 в мельницу подают горячие газы с температурой 300-400 °С. В этой
мельнице из гипса удаляется и некоторая часть кристаллизационной воды. Поток
газов увлекает измельченный и подсушенный материал из камеры измельчения вверх
шахты. Отсюда тонкие частицы вместе с газами поступают в пылеосадительные
устройства, а грубые выпадают из потока и возвращаются в мельницу. Обычно в 1
м3 газов содержится около 1 кг гипсовой пыли. Изменяя скорость потока газов в
шахте с помощью вентилятора высокого давления, устанавливаемого обычно за
циклонами, можно регулировать тонкость помола гипса. Чем больше скорость
потока, тем грубее помол, и наоборот. Смесь дымовых газов с воздухом проходит
через шахту и пылеосадительные устройства под действием разрежения,
создаваемого вентилятором, и частично в результате вращения ротора самой
мельницы. В зависимости от желаемой тонкости помола гипса скорость движения
газов в шахте поддерживается в пределах 3,5-6 м/с.
Производительность шахтных мельниц от 3 до 25 т/ч.
Расход электроэнергии при измельчении в них двуводного гипса до остатка около
10 % на сите № 02 достигает 8-10 кВт-ч/т без учета расхода энергии на
приведение в движение вентиляторов и питателей.
Циклоны имеют верхнюю цилиндрическую и нижнюю
коническую части. В циклоне взвешенные частицы пыли под действием центробежной
силы отбрасываются на внутреннюю поверхность цилиндра и по ней соскальзывают в
коническую часть - пылесборник. Коэффициент очистки газов циклонами при
концентрации гипсовой пыли 600-700 г/м3 достигает 95% и понижается до 60 % при
концентрации 1 кг/м3.
Циклоны просты по конструкции и надежны в работе.
Температура очищаемых в них газов может достигать 400 °С.
Батарейные циклоны - группы параллельно соединенных
циклонов малого диаметра. Их устанавливают [(в тех случаях, когда необходимо
очищать большие объемы газа, содержащего тонкую пыль) вместо одного или двух
циклонов большого диаметра. В НИИОГазе разработаны конструкции из 2, 4, 6 и 8
циклонов диаметром 200-1100 мм. Объединение циклонов меньшего диаметра в секции
дает возможность, не уменьшая их производительности, довести степень очистки
газов до 80--98 %.
Электрофильтры различают трубчатые и пластинчатые, а в
зависимости от направления входящих газов - вертикальные и горизонтальные. В
гипсовой промышленности для очистки газов применяют аппараты с горизонтальным
ходом газов. Производительность вертикальных электрофильтров 20-36 тыс. м3/ч, а
горизонтальных - 28-46 тыс. м3/ч. При скорости движения газов в электрофильтрах
обоих типов в пределах 0,7-1 м/с коэффициент очистки достигает 0,98-0,99. С
увеличением скорости газового потока коэффициент очистки значительно снижается.
Наилучшие показатели работы электрофильтров
достигаются при относительной влажности газов 20-30 % и температуре до 200 °С.
При этом если газы до очистки содержат не более 40-60 г/м3 пыли, то после
очистки содержание ее не превышает 0,8 г/м3. При меньшем содержании пыли в
очищаемых газах количество ее после очистки еще меньше. Расход электроэнергии
на обеспыливание 1000 м3 газовой смеси в этих фильтрах составляет около 0,4 кВт
• ч.
Вращающаяся печь - наклонный металлический барабан, по
которому медленно перемещается дробленый гипсовый камень с размером кусков до
35 мм. Для обжига гипса на полугидрат используют печи длиной до 8-14 м и
диаметром 1,6-2,2 м. Топливо сжигают в специальной топке. Между топкой и печью
часто помещают смесительную камеру, в которой во избежание пережога продукта
температура выходящих из топки газов несколько понижается за счет смешения их с
холодным воздухом. Скорость движения горячих газов в печи 1-2 м/с. Превышение
этих пределов вызывает сильный унос мелких частиц полугидрата.Обжиг производят
по методу как прямотока, так и противотока. Температура поступающих в печь
горячих газов при прямотоке должна быть 950-1000 °С, при противотоке - 750-800
°С. При прямотоке достигается более равномерный обжиг гипса и, следовательно,
лучшее его качество. При этом происходит своеобразное саморегулирование
процесса обжига: мелкие, быстро дегидратирующиеся частицы транспортируются
газами в холодный конец печи (200-250 °С) тем быстрее, чем меньше их размер и
больше скорость газов. Однако при прямотоке выше расход топлива. При обжиге во
вращающихся печах необходимо создавать однородность размеров кусков сырья,
поступающего на обжиг, и их сохранность при тепловой обработке. В зависимости
от времени нахождения материала в печи определяют предельно допустимый размер
кусков. Так, куски размером 40 мм должны находиться в печи 1,5-2 ч. Выходящий
из ночи горячий материал направляют в бункера выдерживания или сразу подвергают
помолу.
Преимущества и недостатки:
Во вращающихся печах обжигают дробленый гипсовый камень более крупных
размеров, который хуже перемешивается. Однако при правильно подобранном и
тщательно соблюдаемом режиме обжига в этих аппаратах можно получить
строительный гипс примерно равной или лишь немного более низкой прочности, чем
в варочных котлах. Вращающиеся печи являются непрерывно действующими
установками, позволяющими создать более простую и компактную технологическую
схему. Во вращающихся печах рекомендуется обжигать твердый гипсовый камень во
избежание образования мелочи за счет истирания материала при движении его
внутри печи, в результате чего получается недостаточно однородная по качеству
продукция. На заводах по производству строительного гипса среднегодовая
выработка на одного рабочего составляет 1000-1100 т; на передовых заводах она
достигает 2000 т и выше.
.3 Выбор режима работы завода и расчет фонда времени работы оборудования
и рабочих
- Режим работы завода (цеха, отделения) характеризуется количеством рабочих
дней в год , смен в сутки , продолжительностью смены в часах и устанавливается
в соответствии с трудовым законодательством по нормам технологического
проектирования предприятия вяжущих веществ.
- Правильный выбор режима работы завода позволяет обеспечить
выполнение производственной программы по оптимальным затратами рабочего времени
и материальных ресурсов , энергии , что положительно скажется на себестоимости
готового продукта . В зависимости от характера производства на заводе может
быть принят двухсменный или трехсменный режим работы. Двухсменный режим может
быть принят только по непрерывным характером производственного процесса. При
этом целесообразно делать две ровно загружены изменения, а в третью выполнять
ремонтные работы и подготовку оборудования к работе.
- Трехсменный режим работы может применяться при непрерывного ,
так и при непрерывном технологическом процессе. Следует помнить, что третья
смена наименее эффективная по производительности и наиболее опасная с точки
зрения безопасности труда. Поэтому при проектировании нового завода по непрерывным
технологическим циклом производства не рекомендуется применять трехсменный
режим работы.
- Для непрерывного технологического процесса (например, обжиг
клинкера во вращающейся печи) должен быть установлен трехсменный режим из
четырех бригадным средством обслуживания:
- три бригады работают посменно, а четвертая - отдыхает.
Рабочая смена длится 8 часов.
- Рекомендуемые режимы работы завода для подготовительных
(отделений дробления и сортировки) и помольных отделений - двухсменный с 262
рабочими днями в году;
- для цеха обжига с вращающимися и шахтными печами -
двухсменный с непрерывным неделей;
- для цехов варки гипса в гипсоварильному котле, в демпферах,
самозапарниках - за непрерывным неделе с двумя или с тремя изменениями;
- для складов сырья и готовой продукции с применением
железнодорожного транспорта - трехсменный, с 365 днями, а для автотранспорта -
двух-или трехсменный с 262 рабочими днями в году.
- Рабочие сутки - это установленная законодательством
продолжительность рабочей недели. Рабочее время это период, когда труженик
присутствует на производстве в связи с работой .
- Рабочая неделя составляет пять дней продолжительностью
рабочего дня 8 часов, но при том , что каждый восьмой неделю имеет один
выходной день.
- Фонд рабочих суток - это норма рабочих суток за
соответствующий учетный период (год , месяц , неделю и др.). Он зависит от
режима работы.
- Различают рабочий фонд рабочего времени рабочих и годовой
фонд рабочего времени работы оборудования.
Существует три вида рабочего времени: календарный, номинальный и
действительный. Календарный фонд Fk рабочего времени для единицы оборудования
или одного рабочего определяется произведением календарных суток в году на 24
часа в сутки:
часов в
обычном году,
часов в
високосном году,
где
Д - количество суток в зачетном периоде;д - количество часов в
сутках.
Номинальный
Fн (режимный) фонд времени зависит от количества рабочих дней в году и
принятого режима (изменчивость) работы предприятия и может быть определено по
формуле (часы):
,
где
Дн - количество нерабочих (выходных и предпраздничных) суток за
рахивний период = 29;с - продолжение рабочей смены (час) = 8;
ДЗТ
- количество предвыходном, предпраздничных дней с сокращенной
продолжительностью рабочей смены = 10;ЗТ - Время, на которое
уменьшается продолжительность рабочей смены в предвыходные и предпраздничные
дни (часы) = 8;з - принят режим сменности работы предприятия
(1,2,3-я смены), при определении Fн для рабочих nз = 1.
для
рабочих
для
оборудования
Действительный (расчетный) фонд времени работы рабочего определяют с его
номинального фонда времени с учетом отпуска и других плановых невыходов на
работу (отпуск на обучение, болезнь, кормление младенца и др.). Продолжительность
главной отпуска может быть 15,18,24 суток. Продолжительность различных
невыходов на работу в курсовом проекте можно принимать от 0,2 до 12 суток.
,
где
tn - неизбежны убытки рабочего времени за уважительных причин = 27
д.
Балансу
рабочего времени является продолжительность и часов, которые должен отработать
рабочий (год, месяц, неделю и другие).
Действительный
(расчетный) фонд времени работы оборудования определяется с учетом убытков
времени на ремонт. Эти учета происходят с помощью коэффициента использования
оборудования. Для цехов с вращающимися печами - 0,88.
Результаты
расчета времени (Fн, Fн, Fp) заносим в таблицу 1.
Таблица
1 - Фонд рабочего времени рабочего и оборудования
|
Характеристика режима работы
|
Фонд рабочего времени в сутки, час
|
|
Наим. цеха
|
Кол-во рабоч дней в году
|
Кол-во смен в сутки
|
продолжит смены
|
Календар Fн
|
Номин (режимный) Fн
|
Действительный расчетный-четный) Fр
|
|
|
|
|
|
для рабоч
|
для оборуд
|
для раб
|
для оборуд
|
|
Склад сырья
|
365
|
3
|
8
|
8760
|
1808
|
5424
|
1592
|
4773,12
|
|
|
|
|
|
|
|
|
|
|
цех измельч
|
262
|
2
|
8
|
8760
|
984
|
1968
|
1731,84
|
|
|
|
|
|
|
|
|
|
|
цех обжига
|
365
|
3
|
8
|
8760
|
1808
|
5424
|
1592
|
4773,12
|
|
|
|
|
|
|
|
|
|
|
Готов продукт
|
365
|
3
|
8
|
8760
|
1808
|
5424
|
1592
|
4773,12
|
|
|
|
|
|
|
|
|
|
.4 Расчет потребления сырья
1 Производственная прочность завода:
N= 215 тис. т/год строительного гипса (в - CaSO4 · 0,5H2
O )
2 Основний агрегат - вращающаяся печь.
3 Механические и другие убытки:
Х1 - строительного гипса - 2%; Х3 - гипсового камня
- 1,5%;
Х2 - потери при варке - 15,76% (от природного гипса);
Х4 -Влажность камня - 6%;
Реакция образования строительного гипса в котле:
-
100%
4 Количество строительного гипса с учетом потерь:
1 = N · X1.
1 - механические потери порошкообразного строительного
гипса, X1 = 2,5%.1 = 215000 · 1,02 = 219300
т/год.
5 Количество гипсового камня с учетом потерь при варке:
2
= N1 · X2 ,
де X2 - потери при варке, X2 = 15,76%2 =
219000 ·1,1576= 253861,7 т/год
6 Количество гипсового камня с учетом потерь при его дробления:
3=
N2 · X3 ,
де X3 - убытки при измельчении, X3 = 1,5%3 =
253861,7· 1,015=257317,1 т/год
7 Количество гипсового камня при учете его естественной влажности:
4
= N3 · X4 ,
де X4 - потери при варке, X4 = 6%4 =
253317,1 ·1,06= 268516,1 т/год
8 Если
режим работы дробильно-сортировочного отделения двухсменный принимаем его для
расчета:
т/день
Сменная
потребность:
т/смена
Таблица 2. - Количество расхода материала
|
№
|
Материал
|
Единицы измерения
|
Расходы по
|
|
п/п
|
|
|
час
|
смену
|
день
|
год
|
|
1
|
Строительный гипс
|
T
|
51,28817
|
410,305344
|
820,610687
|
215000
|
|
2
|
Гипсовый камень
|
T
|
64,05441
|
512,435305
|
1024,87061
|
268516,1
2.5 Определение производительности каждого технологического передела
Согласно принятым режимом производства необходимо вычислить
производительность каждого передела в отдельности, начиная с состав готового
продукта, заканчивая составом сырья (в противоположную технологическому
процессу).
Начальная цифра (N - производительность завода за год) представлена в индивидуальном задании.
Производительность цеха помола с обсчетом убытков материала за единицу времени
вычисляют по формулам:
; ; ,
где N - производительность цеха помола с обсчетом убытков материала;
Д - количество дней;- количество смен;зм - продолжительность смены в
часах.
Таблица 3. - Производительность технологических переделов
|
№ п/п
|
Наименование технологического передела (цеха, отделения)
|
Единицы измерения, т или м3
|
расходы по
|
|
|
|
год
|
день
|
смену
|
час
|
|
1
|
сырьевой склад (ПГК)
|
T
|
268516
|
735,660548
|
245,220183
|
30,6525228
|
|
2
|
цех измельчения (ПГК)
|
T
|
257317
|
704,978356
|
234,992785
|
29,3740982
|
|
3
|
цех обжига (ПГК)
|
T
|
253862
|
695,511507
|
231,837169
|
28,9796461
|
|
4
|
строительный гипс (СКП)
|
T
|
215000
|
589,041096
|
196,347032
|
24,543379
|
.6 Расчет потребления технологического оборудования
Щековая дробилка - является универсальной машиной для дробления
материалов. Применяется на горных породах любой прочности, на шлаках, некоторых
металлических материалах. Применение невозможно на вязкоупругих материалах,
таких как древесина, полимеры, определенные металлические сплавы. Входная крупность
достигает 1500 мм. Крупность готового продукта для небольших дробилок
составляет до 10 мм. Щековые дробилки имеются во всех классах дробления:
крупном, среднем и мелком.
Модель СМ-204А: -мощность электродвигателя 75 квт;
габаритные размеры в м:
длина-3.75;
ширина-2.4;
высота-3.
-производительность
42-110  /ч
Количество
технологического оборудования вычисляют по формуле:
,
где
Nг - нужна производительность в час (см. таблицу 3);
Рг
- паспортная производительность механизма в час;
Ксм
- коэффициент использования оборудования в течение смены, 0,88.
Результаты
проведенного расчета оборудования представляют в виде таблицы
Дробилка
молотковая - механическая дробильная машина, применяемая для разрушения кусков,
зёрен и частиц минерального сырья и аналогичных материалов, путём дробления
породы ударами молотков, шарнирно закреплённых на быстро вращающемся роторе, а
также методом разрушения кусков при ударах о плиты корпуса дробилки.
Модель
СМ 19-А:
мощность
электродвигателя 125 квт;
габаритные
размеры в м:
длина-2,23;
ширина-1,74;
высота-1,515.
производительность
34-54  /ч
Печь,
которая вращается - это цилиндрический сосуд, немного наклонен к горизонту. Она
медленно вращается вокруг своей оси. Материал обрабатываемой грузится в верхний
конец цилиндра. Так как печь вращается, материал медленно движется в
направлении нижнего конца и может при этом перемешиваться. Горячие газы
проходят мимо печь, иногда в том же направлении что и обрабатываемый материал
(параллельный поток), но обычно в обратном направлении (противоположный поток).
Горячие газы могут быть созданы во внешней топке, или могут быть созданы
факелом внутри печи. Такой факел создается водкой, которая действует наподобие
горелки Бунзена. Топливом для нее может быть газ , мазут , или порошковое угля.
мощность
электродвигателя -320 квт;
внутренняя
поверхность -2660  ;
производительность
31,2  /ч
Таблица
4 - Количество технологического оборудования
|
Наименование оборудования
|
количество
|
расчет
|
|
Щековая дробилка
|
1
|
|
|
Молотковая дробилка
|
1
|
|
|
Вращающуюся печь
|
1
|
|
.7 Расчет общезаводских и цеховых складов
Для производственной деятельности завода строят общезаводские и цеховые
склады . Они могут быть эксплуатационными и резервными , могут выполнять
функции главного технологического значение (хранение гипсового камня) и общего
значения (хранение запасного оборудования , вспомогательных материалов).
По строению составы могут быть открытыми, закрытыми и частично закрытыми.
Для кускового материала - штабельные, Эстакадный - штабельные, Эстакадный -
туннельные. Для сыпучих и кусковых материалов - силосные, бункерные.
Выбор типа склада зависит от ряда факторов: от климатических условий,
вида материала, срока хранения, организации перевозок и погрузочно-разгрузочных
работ.
Размеры складов должны соответствовать расчета грузооборота завода.
Погрузочно-разгрузочный фронт должен быть оборудован машинами и установками
комплексной механизации и автоматизации работ и складских операций.
Сырьевые материалы можно привозить на завод главным образом
железнодорожным и автомобильным транспортом .
Нормы хранения материалов на складах установлены в зависимости от
потребления материалов производством в сутки и составляют, сут. :
для измельченного строительного гипса- 5.
,
Строительный
гипс
Гипсовый
камень
где
Nдіб - суточная потребность в материалах, т / сут.; - норма
хранения, сут.;
гн
- насыпная плотность материала, т/м3; - высота укладки штабеля.
Значение
h зависит от качества материала (угол естественного откоса). Рекомендуется h =
3 ... 5 м. Полная площадь склада учитывающий проходы между штабелями и
площадками для работ погрузочно-разгрузочной техники, которые занимают 30 ...
40% полезной площади склада, м2:
Строительный
гипс
Гипсовый
камень
Состав
готового продукта (строительного гипса) представляет собой хранилище, которое
сделано из железобетона или металла в форме цилиндра. Это - силосы, которые
имеют диаметр Ш 8, 10, 12, 15, 18 м с соотношением Н / Ш = 1,5-2. Вместимость
силоса будет равна объему цилиндра, уменьшенном на коэффициент заполнения (К =
0,9), м3.
.
Наиболее
экономичные силосы диаметром 10 ... 12 м, их емкость 1200 ... 1500 т.
Для
расчета необходимого количества силосов объем вяжущего, выпускает завод за
сутки (таблица 3) умножают на количество дней запаса и делят на насыпную
плотность вяжущего. Силосы располагают блоками по два и более рядов, по 4-5
силосов в каждом ряду или строят в одну линию на колоннах вдоль
железнодорожного пути или на железобетонных плитах на почве.
Количество
силосов =
Таблица
5 - Контроль технологии и свойств вяжущего вещества
|
№ п/п
|
Параметры, которые контролируются
|
периодичность контроля
|
Наименование методики контроля или название контрольного
прибора
|
Место отбора или место установки датчика контрольного
прибора
|
|
1
|
Плотность 2,6 - 2,75 г / см і
|
Каждые 2 часа
|
вискозиметр Суттарда
|
лаборатория
|
|
2
|
Водопотребность 50-70% воды
|
Каждые 3 часа
|
|
лаборатория
|
|
3
|
Начало схватывания 4 мин
|
Каждые 2 дня
|
прибор Вика
|
лаборатория
|
|
4
|
Конец схватывания 6 -30 мин
|
Каждые 8 дня
|
прибор Вика
|
лаборатория
|
|
5
|
Предел прочности при изгибе не менее 2,2 МПа
|
Каждые 2 дня
|
МИИ - 100
|
|
6
|
Предел прочности при сжатии не менее 4,5 МПа
|
Каждые 3 часа
|
МИИ - 100
|
лаборатория
|
|
7
|
тонкость помола остаток на сите не более 20%
|
Каждые 4 часа
|
Сито
|
лаборатория
|
|
8
|
деформативность 0,5-1%
|
Каждые 2 часа
|
В лабораторных условиях, наблюдается форма гипса до начала
схватывания и после конца
|
лаборатория
|
|
9
|
долговечность 15 - 20 циклов
|
Каждые 2 года
|
замораживания-оттаивания
|
лаборатория
|
полуводный гипс производство
2.8 Охрана труда, окружающей среды и техника
безопасности
При проектировании, строительстве и эксплуатации новых
и реконструкции действующих предприятий по производству строительного гипса и
других вяжущих следует руководствоваться «Санитарными нормами промышленных
предприятий» и «Правилами но технике безопасности в гипсовой промышленности».
При производстве гипса и изделий из него
неблагоприятные условия труда чаще всего обусловливаются: повышенной
концентрацией пыли и влаги в воздухе помещений; недостаточной тепловой изоляцией
печей, варочных котлов, сушильных барабанов, а также выбиванием дымовых газов в
помещение, что может привести к ожогам и отравлению, ненадежным ограждением
вращающихся частей отдельных аппаратов и механизмов, лестниц, приямков и т. п.
Для борьбы с пылью необходимо все технологическое и
транспортное оборудование, в котором образуется пыль, заключать в герметические
сплошные металлические кожухи с плотно закрываемыми смотровыми и ремонтными
люками, дверцами и другими отверстиями. В местах образования пыли и газов
следует устраивать помимо общей вентиляции местную аспирацию для удаления пыли
и газов непосредственно из точек их образования. Паропроводящие трубы из
варочных котлов, сушильных барабанов и других агрегатов надо присоединять к
пылеосадительной системе для улавливания пыли. Очищать дымовые газы и воздух
следует в наиболее эффективных пылеосадительных устройствах, в частности в
электрофильтрах, гарантирующих очистку газов от пыли не менее чем на 98 %.
Общая и местная вентиляционные системы должны обеспечивать
надлежащее санитарно-гигиеническое состояние производственных помещений.
Для улучшения санитарных условий работы на гипсовых и
других заводах вяжущих веществ особое значение имеют замена механического
транспорта пневматическим, применение для очистки запыленного воздуха
электрофильтров и герметизация пылящего оборудования.
Все вращающиеся части приводов и других механизмов
следует надежно ограждать. На заводах должна быть звуковая или световая
сигнализация, предупреждающая обслуживающий персонал о пуске. того или иного
оборудования, а также о неполадках на отдельных технологических переделах,
могущих вызвать аварии. Все токопро-водящие части (внутренняя проводка,
рубильники и т. д.) должны быть изолированы, а металлические части механизмов и
аппаратов заземлены на случай повреждения изоляции.
Создание безопасных условий труда должно
обеспечиваться также дальнейшим совершенствованием технологии, полной
механизацией и автоматизацией всех производственных процессов.
На заводах вяжущих веществ, в том числе и гипсовых
применяют: автоматический контроль технологических параметров (давления,
температуры, расхода материалов, состава дымовых газов, уровня сыпучих
материалов в бункерах, варочных котлах и т. д.); централизованное дистанционное
управление электроприводами основных и вспомогательных механизмов, а также
переключающими и регулирующими устройствами (шибера на газоходе, переключатели
на течках и т. д.); автоматическое регулирование работы отдельных
технологических установок и линий.
В настоящее время при изготовлении полуводного гипса
осуществляется автоматическое управление работой дробилок, заполнением бункеров
гипсовым щебнем, шахтных и других мельниц для помола двуводного гипса, обжигом
гипса в варочном котле или вращающейся печи и др. Схема автоматизации работы
периодически действующего варочного котла предусматривает автоматическое
отключение винтовых конвейеров для подачи порошка двуводного гипса в котел в
тот момент, когда в нем достигнут установленный верхний уровень материала. Это
обеспечивается с помощью индикатора уровня и соответствующих реле,
воздействующих на подачу тока к электродвигателям. В дальнейшем, при достижении
заданной температуры с включением соответствующих электродвигателей открываются
выпускные затворы варочного котла и продукт выпускается в бункер выдерживания.
После выпуска гипса индикатор нижнего уровня включает соответствующее реле. При
этом выпускные затворы закрываются; одновременно включаются винтовые конвейеры
для загрузки гипсового порошка.
Похожие работы на - Производство полуводного гипса
|