|
Ядро
|
Спин
|
Содержание%
|
μ, я.м.
|
γ, 10-7
рад * Тл*с-1
|
Частота, МГц
|
|
1Н
|
1/2
|
99,985
|
2,7927
|
26,7520
|
400
|
|
2Н
|
1
|
0,015
|
0,8574
|
4,1066
|
61,402
|
|
13С
|
1/2
|
1,108
|
0,7022
|
6,7283
|
100,577
|
|
15N
|
1/2
|
0,37
|
-0,283
|
-2,712
|
40,531
|
|
17O
|
5/2
|
0,037
|
-1,893
|
-3,6279
|
54,227
|
|
19F
|
1/2
|
100
|
2,6273
|
25,181
|
376,308
|
|
31P
|
1/2
|
100
|
1,1305
|
10,841
|
161,923
|
1.3
Получение одномерных спектров
Существует два способа возбуждения ядерных спинов для
получения ЯМР-спектра: стационарный и импульсный. Первый состоит в медленном
нарастании частоты или напряжённости внешнего магнитного поля, при этом условия
резонанса соблюдались последовательно для всех ядер данного вещества. Второй
метод состоит в подаче на образец мощного радиоимпульса, длящегося
микросекунды, который одновременно возбуждает все ядра в нём [4]. Импульсная
ЯМР начала развиваться лишь в середине 70-х гг., так как для получения таких
спектров требуется математическая обработка сигнала, которую можно произвести
только на достаточно современном компьютере. В данный момент на всех
ЯМР-спектрометрах установлены компьютеры с пакетом специальных прикладных
программ для получения и последующей обработки спектров.
Рисунок 5 - Полоса возбуждаемых импульсом частот
Основной характеристикой импульса является его длительность PW (PulseWidth), через которую можно
вычислить диапазон возбуждаемых им частот SW (SpectralWidth) по формуле: SW = 2/PW (см. Рис. 5) [2].
Следовательно, более короткий импульс возбудит более широкую полосу частот. 90˚-импульс
представляет собой ограниченное во времени мощное облучение ядерных спинов
одной частотой, который поворачивает вектора намагниченности всех ядер на угол θ = 90˚.

Угол θ, на который повернётся
вектор намагниченности, зависит от силы поля и длительности импульса: θ = 360˚*γ*B1*PW. Радиочастотный импульс
синхронизирует вращение всех магнитных ядер, возникает фазовая когерентность
при различных частотах прецессии для ядер разных типов.
1.4
Химический сдвиг
Химическим сдвигом называют различие в расположении в спектре
между пиками поглощения (резонанса) для ядер, входящих в разные группы
(метильную, ароматическую, карбоксильную и т.д.). Формально химический сдвиг
измеряют от резонанса «голого» (без электронов) ядра, то есть экранирование
отсутствует и σ = 0. Однако на практике в
химии принят другой стандарт - измерение сдвига протонов относительно
стандартного соединения тетраметилсилана (обозначают ТМС), которое содержит 12
эквивалентных протонов. Таким образом, химический сдвиг является разностью
резонансных частот ядер исследуемого образца и ядер ТМС. Выражается он через безразмерную
величину δ = 106*(νоб. - νТМС)/νТМС [7]. Множитель 106 означает, что в спектре все
химические сдвиги выражаются в миллионных долях (м. д.). Химические сдвиги
часто встречающихся групп представлены на рисунках 7 и 8.
Факторы, влияющие на химические сдвиги в атоме:
электронная плотность на атоме (чем она выше, тем сильнее
сигнал смещён в сильное поле);
магнитная анизотропия соседних групп (диамагнитный и
парамагнитный вклады в экранирование);
образование протоном водородной связи (следствие - смещение
сигнала в слабое поле);
вид растворителя.
Рисунок 7 - Химические сдвиги для 1Н
Рисунок 8 - Химические сдвиги для 13С
1.5
Константа спин-спинового взаимодействия
Константа спин-спинового взаимодействия (КССВ) - внутренняя
характеристика каждого изучаемого соединения и она не зависит от напряжённости
внешнего магнитного поля B0. Константа спин-спинового взаимодействия зависит
в наибольшей степени от гибридизации атома углерода (возрастает с увеличением s
характера связи), от числа и электроотрицательности заместителей при атоме
углерода (возрастает с ростом электроотрицательности заместителей), от природы
взаимодействующих ядер, характера и числа связей через которые передается это
взаимодействие, а также геометрии молекулы. Чем больше этих связей, тем, как
правило, меньше константа. Для спектров первого порядка КССВ в Гц находят
прямым измерением расстояния между пиками мультиплета. Обозначается она J и измеряется в Гц [2].
КССВ можно разделить по двум признакам: 1) тип
взаимодействующих ядер и 2) число связей, разделяющее взаимодействующие ядра.
По первому признаку выделяют гомоядерные (между ядрами одного типа) и
гетероядерные (между ядрами разных типов) КССВ. В протонной ЯМР-спектроскопии
используют JHH и JСH КССВ. По второму
признаку могут быть выделены КССВ:
прямая (разделяет 1 связь, примеры: 1JСH, 1JHD)
геминальная (разделяет 2 связи, примеры: 2JCH, 2JHH)
вицинальная (разделяет 3 связи, примеры: 3JHH, 3JCH, 3JHF)
дальняя (разделяет 4 и более связей, примеры:4JHH, 5JHH, 4JHF)
Главную роль в определение стереохимии изучаемого вещества
играют вицинальные КССВ через связи 3JHH, которые зависят от
величины двугранного угла H-C-C-H (угла Ф). Эта
зависимость выражается, в самом простом виде, уравнением:
3JHH = А + В*cosФ + С*cos2Ф,
а по этому уравнению легко построить Карплусовскую кривую [11].
Рисунок 9 - Карплусовская кривая
1.6
Ядерный эффект Оверхаузера
Ядерный эффект Оверхаузера (ЯЭО) очень важен для 1H ЯМР-спектроскопии, так
как даёт информацию о расстоянии между ядрами, что позволяет судить о
стереохимической структуру образца более точно. ЯЭО основан на
внутримолекулярном диполь-дипольном взаимодействие, которое является основным
механизмом релаксации в ядрах со спином I = 1/2. Существую также
другие механизмы релаксации: квадрупольный (I>1/2),
спин-вращательный и спин-спиновый; в данной работе они не рассматриваются. ЯЭО
можно наблюдать на примере двухспиновой системы AX даже при отсутствие
спин-спинового взаимодействия между ядрами, то есть JAX = 0. Однако эти ядра
расположены достаточно близко друг к другу (на расстояние 4-5 Ǻ), что
означает возможность между ними диполь-дипольного взаимодействия (главного
фактора релаксации). Спиновая диаграмма этой системы и её эволюции представлена
на рисунке 10 [8].
Рисунок 10 - Двухспиновая система и её эволюция
В спектре ЯМР в этом случае наблюдаются два
синглета с частотой νA и νX. Можно настроить второе радиочастотное поле на νX и начать насыщать переходы X1и X2. Пусть энергии уровней 2
и 3 почти не различаются, значит заселённость их будет одинакова и равна N ядер. На нижнем уровне 1
будет избыток ядер N+δ ядер, а на верхнем уровне
4 ядер будет N-δ. После облучения переходов X1и X2 населённости уровней
выровняются: 1 с 2 и станут N+1/2δ ядер, и 3 с 4 и станут N-1/2δ ядер. Получается, что разность заселённостей для переходов A1 и A2 не изменилась и резонанс
ядра А имеет прежнюю интенсивность. Однако здесь в дело вступает
кросс-релаксация по каналам W2и W0 (двухквантовый переход между уровнями 1 и 4 и
нуль-квантовый переход между уровнями 2 и 3), так как система стремится прийти
в равновесие и избавиться от внезапно образовавшихся избытков и недостатков
атомов. Также в системе будет присутствовать и нормальная одноквантовая
релаксация WА1 между уровнями 1 и 2, а также 3 и 4. Если в системе действует
только диполь-дипольный механизм релаксации, то можно формально записать и
решить систему дифференциальных уравнений, описывающих её, в результате чего
получится выражение:
где ηА(X) представляет собой
изменение интенсивности сигнала от ядра А при облучение переходов ядра X. Знак ЯЭО зависит от
того, какой канал релаксации преобладает в образце. Так для небольших молекул в
преобладает W2 и эффект Оверхаузера ηА(X) будет положительным, а
интенсивность резонанса ядра А вырастет. Для больших же молекул преобладает W0. Эффект Оверхаузера
будет отрицательным, соответственно интенсивность резонанса ядра А уменьшится.
На рисунке 11 представлены максимально возможные значения ЯЭО для двух типов
молекул [5].
Рисунок 11 - ЯЭО
2.
Материалы и методы
2.1
Спектрометр
В моей работе имеется 3 эксперимента, все они были проделаны
на ЯМР спектрометре Avance-700 III, производства фирмы Bruker, Германия. Его основные
технические характеристики:
1) частота ларморовской прецессии 700 МГц;
2) магнитное поле 16,4 Тл;
) длительность 900 импульса 8 мкс;
) расходные криогенные материалы: жидкий азот 2500 л в
год и жидкий гелий 312 л в год.
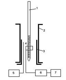
Рисунок 12 - Спектрометр Avance-700 III Bruker
Рисунок 13 - Принципиальная схема ЯМР-спектрометра, где:
- ампула с исследуемым образцом;
- электромагнит;
- катушка;
- приемная катушка;
- генератор;
- усилитель;
- устройство управления [12].
2.2
Алгоритм исследования
Для начала, все три образца с неизвестной структурой были
растворены: образец №1 в пиридине, образцы №2 и №3 - в С6D6, и залиты в ампулы
диаметром 5 мм. Дальнейшие манипуляции производились на компьютере в
программной оболочке TopSpin.
Открываем диалоговое окно BSMSpanel, нажимаем кнопку LIFT. Через несколько секунд
раздаётся шипение - это появилась струя воздуха, на неё кладём ампулу с
образцом, снова нажимаем LIFT и ампула опускается на воздушной подушке в центр
спектрометра.
Далее настраиваем однородность поля на образце, для этого
нужна частота резонанса дейтерия в растворителе. Сигнал дейтерия собирается
специальным спектрометром наблюдения ядер2Н, содержащимся в приборе,
который действует параллельно с основными каналами и называется канал
стабилизации поля (lockc hannel). Командой lock, введённой в командную
строку, «цепляемся» за этот самый сигнал и оптимизируем (шиммируем) магнитное
поле, ориентируясь на окно справа от основного, где графически показывается
стабильность дейтериевого сигнала. После нажатия кнопки LOCK появляется список
дейтерированных растворителей, из которого нужно выбрать используемый в данном
эксперименте. Порядок регулировки шиммов в BSMS окне:
§ регулируя шимм Z, добиться максимального уровня
стабилизации;
§ изменить Z2 так, чтобы наблюдалось
заметное изменение уровня стабилизации (может происходить при движение сигнала
как вверх, так и вниз), запомнить то направление, в котором Z2
изменялся;
§ перенастроить Z для максимального уровня
стабилизации;
§ проверить больше ли уровень стабилизации, чем
начальный уровень;
§ если это так, повторить предыдущие шаги по
регулированию Z2пока улучшения не прекратятся. Если уровень
стабилизации становится ниже, всё повторяется, но Z2 изменяем в
противоположном направление;
§ оптимизировать Z3: внести некоторое
изменение, затем повторить первый пункт. Если результат лучше, чем ранее, повторить
эту процедуру, если нет, изменить Z3 в противоположном направлении и
повторить первый пункт;
§ оптимизировать XY;
§ оптимизировать X2 -Y2 и
повторить первый пункт.
Затем необходимо настроить датчик, это достигается развёрткой
частоты «взад-вперед» (wobble) в узкой области частот (несколько МГц) возле
целевой частоты, в течение которой отклик датчика сравнивается с откликом
внутренней эталонной нагрузки 50 Ом (все спектрометры ЯМР настраиваются по
этому стандартному импедансу). Это были самые необходимые настройки, далее
можно регистрировать спектры.
Но перед этим в окне Acquisition Parameters нужно выбрать следующие
параметры:
1. импульсную программу - в моих экспериментах
использовались zg, cosyqf45, zgdc и dept135;
2. длительность 900 импульсов, создаваемых
программами - соответственно 8 мкс (1Н), 8 мкс (1Н), 20
мкс(13С) и 20 мкс(13С);
. количество сканов - по одному для первых двух
программ и по 40 для оставшихся.
Затем в командную строку вводим команду zg, она очистит память
программы и запишет спектр. После окончания эксперимента на экране будет виден
только спад свободной индукции (ССИ), который командой fp преобразуется в обычный
частотный спектр протонов δ-шкалой сдвигов в м.д.
(миллионных долях или ppm) снизу. Даём команду pp - над каждым имеющимся в
спектре пиком появляется его частота. Далее интегрируем спектр и распечатываем
его.
Процедуру повторяем для записи спектра 13С с
широкополосной развязкой от протонов, только выбираем импульсную программу zgpg. Для определения типов
углеродов в спектрах13С выбираем dept135. Для углеродных
спектров интегрирование не производим.
Программа cosyqf45 даёт возможность на основе одномерного
протонного спектра снять двумерный, где на пересечениях взаимодействующих друг
с другом протонов появляются кросс-пики.
3.
Результаты и обсуждения
3.1
Образец №1
Анализ структуры образца №1 производился по спектрам. Для
начала по одномерному протонному спектру определяем, что в нём преобладают
большие значения КССВ (от 8 до 12 Гц) [1]. Это вероятнее всего означает, что
неизвестная молекула имеет своей основой циклогексановое кольцо в форме кресла
(Рис. 14) [10].
Рисунок 14 - Конформация кресла
Далее по спектру cosy нашли номера протонов, так как известно, что Н1
в полностью замещённом циклогексановом кольце соответствует дублету, дальнейшие
протоны определяются через недиагональные кросс-пики взаимодействия [12]. На
основании одномерных протонного и углеродного спектров построена таблица, где
выписаны сдвиги ядер и КССВ (для 1Н).
Таблица 2 - КССВ и сдвиги для ядер 1Н и 13С
|
Н№
|
КССВ, Гц
|
С№
|
δ, м.д.
|
|
Н1
|
5,16
|
3,7
|
С1
|
101,297
|
|
Н2
|
4,13
|
3,7; 9,6
|
С*
|
75,292*
|
|
Н3
|
4,56
|
10,1; 9,2
|
|
73,989*
|
|
Н4
|
4,2
|
8,9; 9,7
|
|
73,722*
|
|
Н5
|
4,27
|
2,6; 5,5; 8,7
|
|
721,997*
|
|
Н6
|
4,5
|
2,6; 11,7
|
С2
|
62,7
|
|
Н6’
|
4,37
|
5,5; 11,7
|
С3(метильная
группа при О)
|
54,746
|
|
Н (метильная
группа при О)
|
3,46
|
0
|
|
|
На основание данных этой таблицы расставляем протоны при
углеродах. У Н1 КССВ мала - экваториальный протон. Н2, Н3
и Н4 - аксиальные (большие КССВ, двугранный угол около 1800)
[11]. Н5 связан с тремя протонами: с Н4, Н6 и
Н6’(вицинальная КССВ). А Н6 и Н6’связаны
геминальной связью. Тот факт, что все протоны сдвинуты в слабое поле, говорит о
том, что при каждом из них есть кислород, а при Н5 он замещает
углерод через 2 связи. Так же в протонном спектре имеется метильная группа, она
тоже находится в слабом поле по сравнению со своим обычным положением, а
значит, связана с кислородом. КССВ при Н1в 3,7 Гц говорит от том,
что заместитель при С1находится в α
- положении.
Таким образом, соединение было дешифровано как С7Н14О6
или α-метил-D-глюкопиранозид.
Рисунок15 - С7Н14О6
3.2
Образец №2
Анализ структуры образца №2 производился по спектрам. Для
начала по одномерному протонному спектру определили, что в нём имеются только
большие значения КССВ (от 8 до 12 Гц). Это вероятнее всего означает, что
неизвестная молекула имеет своей основой циклогексановое кольцо в форме кресла
(Рис. 14). Далее по спектру cosy нашли номера протонов, так как известно, что Н1
при циклогексановом кольце соответствует дублету, дальнейшие протоны определили
через недиагональные кросс-пики взаимодействия [12]. На основании одномерных
протонного и углеродного спектров построена таблица, где выписаны сдвиги ядер и
КССВ (для 1Н).
Таблица 3 - КССВ и сдвиги для ядер 1Н и 13С
|
Н№
|
δ, м.д.
|
КССВ, Гц
|
С№
|
δ, м.д.
|
|
Н1
|
4,15
|
7,9
|
С1
|
103,068
|
|
Н2
|
5,28
|
7,8; 9,5
|
*
|
74,865*
|
|
Н3
|
5,37
|
9,5; 9,4
|
|
73,554*
|
|
Н4
|
5,24
|
9,9; 9,6
|
|
73,114*
|
|
Н5
|
3,25
|
2,5; 4,6
|
|
Н6
|
4,06
|
2,5; 11,9
|
С2
|
63,23
|
|
Н6’
|
4,24
|
4,6; 11,9
|
С3(метильная
группа при О)
|
57,4
|
|
Н (метильная
группа при О)
|
3,2
|
0
|
С(четвертичные)
4 штуки
|
171,319 171,263
170,362 170,115
|
|
Н (метильные
группы) 4 штуки
|
1,731 1,726
1,71 1,688
|
0
|
С (в СН3)
4 штуки
|
21,605 21,517
21,455
|
На основание данных этой таблицы расставляем протоны при
углеродах. Константа при Н1 достаточно большая - протон
аксиально-экваториальный. Н2, Н3 и Н4 -
аксиальные (большие КССВ, двугранный угол около 1800). Н5 связан
с тремя протонами: с Н4, Н6 и Н6’ (вицинальная
КССВ). А Н6 и Н6’ связаны геминальной связью. Тот факт,
что все протоны сдвинуты в слабое поле, говорит о том, что при каждом из них
есть кислород, а при Н5 он замещает углерод через 2 связи. Так же в
протонном спектре имеется метильная группа, она тоже находится в слабом поле по
сравнению со своим обычным положением, а значит, связана с кислородом. В
углеродном спектре есть 4 углерода, со сдвигами, соответствующими ацетатной
группе (СН3СОО). Это подтверждается и спектром, полученным с помощью
программы dept135, где эти углероды исчезли, что позволяет сказать, что они
четвертичные (не связаны ни с одним протоном). 4 углерода, входящие в метильные
группы, являются составляющими ацетатных групп [14]. Они имеют сдвиги около 20
м.д., так как находятся в области конуса дезэкранирования, создаваемого вокруг
связи С=О [11]. КССВ при Н1в 7,9 Гц говорит от том, что заместитель
при С1 находится в β-положении [6].
Таким образом, соединение было дешифровано как С15Н22О10
или β-метил-глюкопиранозид-тетраацетат.
Рисунок
16 - С15Н22О10(β)
.3
Образец №3
Анализ структуры образца №3 производился по спектрам. Для
начала по одномерному протонному спектру определили, что в нём преобладают
большие значения КССВ (от 8 до 12 Гц). Это вероятнее всего означает, что
неизвестная молекула имеет своей основой циклогексановое кольцо в форме кресла
(Рис. 14). Далее по спектру cosy нашли номера протонов, так как известно, что Н1
при циклогексановом кольце соответствует дублету, дальнейшие протоны определяли
через кросс-пики взаимодействия. На основании одномерных протонного и
углеродного спектров построили таблицу, где выписаны сдвиги ядер и КССВ (для 1Н).
Таблица 4 - КССВ сдвиги для ядер 1Н и 13С
|
Н№δ,
м.д.КССВ, ГцС№δ,
м.д.
|
|
|
|
|
|
Н1
|
4,9
|
3,7
|
С1
|
97,515
|
|
Н2
|
5,05
|
3,7; 10,1
|
С*
|
71,797*
|
|
Н3
|
5,83
|
9,8; 9,8
|
|
71,088*
|
|
Н4
|
5,3
|
9,8; 9,8
|
|
69,49*
|
|
Н5
|
3,81
|
2,5; 4,6
|
|
68,072*
|
|
Н6
|
4,08
|
4,6; 11,8
|
С2
|
62,396
|
|
Н6’
|
4,26
|
2,5; 11,8
|
С3(метильная
группа при О)
|
55,307
|
|
Н (метильная
группа при О)
|
2,9
|
0
|
С(четвертичные)
4 штуки
|
170,3 170,006
170,005 169,611
|
|
Н (метильные
группы) 4 штуки
|
1,724 1,72
1,697 1,621
|
0
|
С(четвертичные)
4 штуки
|
20,683 20,595
20,519 20,521
|
На основание данных этой таблицы расставляем протоны при
углеродах. Константа при Н1 достаточно большая - протон аксиально-экваториальный.
Н2, Н3и Н4 - аксиальные (большие КССВ,
двугранный угол около 1800).Н5 связан с тремя протонами:
с Н4, Н6 и Н6’ (вицинальная КССВ). А Н6
и Н6’ связаны геминальной связью. Тот факт, что все протоны сдвинуты
в слабое поле, говорит о том, что при каждом из них есть кислород, а при Н5
он замещает углерод через 2 связи. Так же в протонном спектре имеется
метильная группа, она тоже находится в слабом поле по сравнению со своим
обычным положением, а значит, связана с кислородом. В углеродном спектре есть 4
углерода, со сдвигами, соответствующими ацетатной группе (СН3СОО).
Это подтверждается и спектром, полученным с помощью программы dept135, где эти углероды
исчезли, что позволяет сказать, что они четвертичные (не связаны ни с одним
протоном) [11]. 4 углерода, входящих в метильные группы, являются составляющими
ацетатных групп. Они имеют сдвиги около 20 м.д., так как находятся в области
конуса дезэкранирования, создаваемого вокруг связи С=О [11]. КССВ при Н1в
3,7 Гц говорит от том, что заместитель при С1 находится в α-положении [10].
Рисунок
17 - С15Н22О10(α)
Заключение
спектроскопия спин ядерный оверхаузер
С помощью ЯМР-спектроскопии была установлена структура трёх
ранее неизвестных соединений, а именно: α-метил-D-глюкопиранозид, β-метил-глюкопиранозид-тетраацетат и α-метил-глюкопиранозид-тетраацетат.
Изученные вещества относятся к классу гликозидов. Соединения подобного рода
широко распространены в природе и многие из них являются
биологически-активными, а значит, могут быть использованы в медицинских целях.
К примеру, вещество арбутин (С12Н16О7,
имеет очень схожую структуру с образцами, изученными в данной работе),
содержащееся в листьях толокнянки, брусники и ряде других растений, известно
медицине как прекрасный антисептик при заболеваниях мочевого пузыря. Другой
пример - сердечные гликозиды - группа лекарственных средств растительного
происхождения, оказывающих в терапевтических дозах кардиотоническое и
антиаритмическое действие, давно и активно используются в медицинской практике
[15].
В дальнейшем предполагается клиническое изучение
исследованных веществ.
Таким образом, все задачи курсовой работы: изучение
литературы, освоение методики ЯМР-спектроскопии и изучение предоставленных
образцов веществ выполнены и описаны.
Список
литературы
1.
Байбл, Р. Интерпретация спектров ядерного магнитного резонанса: пер. с англ. /
Р. Байбл. - М.: Атомиздат, 1969. -224 с.
.
Блюмих, Б. Основы ЯМР: пер. с англ. / Б. Блюмих. - М.:Техносфера, 2007. - 256
с.
.
Бхакка, Н. Применение ЯМР в органической химии: пер. с англ. / Н. Бхакка, Д.
Уильямс. - М.: Мир, 1966. - 243 с.
.
Гюнтер, Х. Введение в курс спектроскопии ЯМР / Гюнтер Х. - М.: Мир, 1984. - 478
с.
.
Ионин, Б.И. Спектроскопия ЯМР в органической химии / Б.И. Ионин, Б.А. Ершов, А.
И Кольцов. - Л.: Химия, 1983. - 272 с.
.
Леви, Г. Руководство по ядерному магнитному резонансу углерода-13 для
химиков-органиков: Пер. с англ. / Г. Леви, Т. Нельсон. - М.: Мир, 1984. - 296
с.
.
Сергеев, Н.М. Спектроскопия ЯМР / Н.М. Сергеев - М.: Изд. МГУ, 1981. - 280 с.
.
Эрнст, Р.ЯМР в одном и двух измерениях/ Р. Эрнст, Дж. Боденхаузен, А. Вокаун. -
М.: Мир, 1990. - 711 с.
9. Beckmann, N. In vivo MR techniques in drug discovery and
development / N. Beckmann. - Informa healthcare, 2006.
10.
Сергеев, Н.М. Исследование замещённых циклогексанов с помощью спектроскопии ЯМР13С
// Н.М. Сергеев, О.А. Субботин. - Успех химии. - 1978. - т. 47. - С. 477-507.
.
Устынюк, Ю.А. Лекции по спектроскопии ядерного магнитного резонанса // Ю.А.
Устынюк - М.: Изд. МГУ, 2009. - Лекция №3, 4, 5 - С. 1 -11, 1 -9, 6 - 12. Clarige, T.
Tetrahedron organic chemistry series, volume 19. High-resolution NMR techniques
in organic chemistry / T. Clarige. - Pergamon, 1999. - pp. 22-56.
. Gerothanassis, P. Chemistry education: research and practice in
Europe / P. Gerothanassis, A. Troganis, V. Exarchou, K. Barbarossou. -
University of Ioannina, 2002. - Vol. 3, No. 2, pp. 229 - 252.