Расчет системы электроснабжения электрифицированного участка постоянного тока
Расчет системы электроснабжения электрифицированного участка
постоянного тока
Введение
тяговый подстанция поезд
фидер
Электрические железные дороги
получают электрическую энергию от энергосистем, объединяющих в себе несколько
электростанций. Электроэнергия от генераторов электрических станций передается
через электрические подстанции, линии электропередач различного напряжения и
тяговые подстанции. На тяговых подстанциях электроэнергия преобразуется к виду
(по роду тока и напряжения), потребляемому локомотивами, и по тяговой сети
передается к ним.
Вся совокупность устройств, начиная
от генератора и заканчивая тяговой сетью, составляет систему
электрифицированных железных дорог. От этой системы питаются все тяговые и
нетяговые потребители.
Главные преимущества электрической
тяги перед автономной сводятся к следующим:
производство электрической энергии
на крупных электростанциях приводит к уменьшению ее стоимости, увеличению КПД
станций;
− на электростанциях могут
использоваться любые виды топлива, а также гидроэнергия и атомная энергия;
− при электрической тяге
возможна рекуперация энергии;
− при централизованном
электроснабжении необходимая для электрической тяги мощность практически не
ограничена.
Основной задачей системы
электроснабжения является обеспечение эксплуатационной работы железных дорог.
Для этого необходимо, чтобы мощность всех элементов системы электроснабжения
была достаточной для обеспечения потребности каждому локомотиву мощности при
самых разнообразных условиях работы железнодорожной линии.
Эти задачи можно решить, правильно
выбрав параметры системы электроснабжения, т.е. обеспечить работу оборудования
в допустимых для него нагрузках и необходимое количество электроэнергии.
Целью данной курсовой работы
является расчет системы электроснабжения участка постоянного тока методом
равномерного сечения графика. Для этого необходимо решить следующие задачи:
− определить токи фидеров и
тяговых подстанций;
− составить и рассчитать
мгновенные схемы;
− определить мощность тяговых
подстанций;
− рассчитать КПД тяговой сети.
1. Исходные данные
.1 Общие данные
Участок А-Б-В двухпутный с
автоблокировкой длиной Lу = 26 км.
Тип рельсов - Р75 длиной 25 м.
Тип графика движения поездов - параллельный с однотипными поездами.
Схема питания сети - узловая. Посты секционирования расположены посредине каждой
межподстанционной зоны.
Расположение тяговых подстанций на
участке - тяговые подстанции расположены на станциях А, Б, В.
Напряжение на шинах тяговых
подстанций - 3300 В.
Токи потребляемые электровозами при
движении по участкам - в соответствии с данными таблицы 1.1.
Доля трансформаторной мощности
тяговой подстанции, приходящаяся на районную нагрузку - 30%.
Тип подвески - (М-120)+2 (МФ-100)+(А-185).
1.2 Индивидуальные
данные
Техническая скорость движения:
− в четном направлении - 60 км/ч;
− в нечетном направлении - 50 км/ч.
Длина перегона:
− между станциями А и Б - 15,6 км;
− между станциями Б и В - 10,4 км.
Интервал попутного отправления - 10 мин.
Таблица 1.1 - Ток, потребляемый
электровозом
|
Расстояние от станции отправления L,
км
|
Величина тока электровоза Iэл,
А
|
|
при движении от станции А
|
при движении от станции В
|
|
0
|
0
|
0
|
|
0
|
1000
|
1000
|
|
1,3
|
1000
|
1000
|
|
1,3
|
2000
|
2000
|
|
2,6
|
2000
|
2000
|
|
5,2
|
1600
|
1400
|
|
9,1
|
1400
|
1600
|
|
9,1
|
0
|
0
|
|
16,9
|
0
|
0
|
|
16,9
|
-600
|
1400
|
|
19,5
|
-400
|
-
|
|
19,5
|
0
|
-
|
|
20,8
|
0
|
-
|
|
20,8
|
1200
|
-
|
|
23,4
|
1600
|
1000
|
|
23,4
|
0
|
0
|
|
26,0
|
0
|
0
|
По данным таблицы 1.1 производим
построение графиков потребления тока электровозами при движении по участкам в
четном и нечетном направлениях. Графики представлены в приложении А.
2. Анализ исходных
данных
На основе исходных данных изобразим
схему питания тяговой сети участка (на перегонах и главных путях станций), а
также принципиальную схему соединения рельсовых нитей на двухпутном участке при
двухниточных рельсовых цепях автоблокировки с помощью путевых дросселей. Данные
схемы представлены на рисунках 2.1-2.3.
Определим удельное сопротивление
тяговой сети
, (2.1)
где rкп - удельное сопротивление контактной подвески, Ом/км;
rрц
-
удельное сопротивление рельсовой цепи, Ом/км.
Провода контактной
подвески считаем как параллельное соединение трех проводов, поэтому удельное
сопротивление контактной подвески
, (2.2)
где r1 - удельное сопротивление провода М-120, Ом/км;
r2
-
удельное сопротивление провода МФ-100, Ом/км;
-
удельное сопротивление провода А-185, Ом/км.
Для заданной контактной подвески
имеем следующие значения удельных сопротивлений [1]:
− провод М-120, r = 0,158 Ом/км;
− провод МФ-100, r = 0,177 Ом/км;
− провод А-185, r = 0,170 Ом/км.
Удельное сопротивление контактной
подвески
См/км,
Ом/км.
Удельное сопротивление 1
км рельса типа Р75 постоянному току при 20°C
учетом стыков, двух путей и длиной 12,5 м равняется 0,0133 Ом/км [2].
Удельное сопротивление
рельсовых звеньев длиной 25 м
Ом/км.
Удельное сопротивление
тяговой сети
Ом/км.
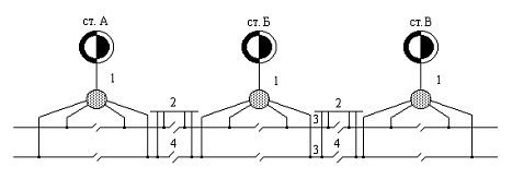
ТП - тяговая подстанция;
Ф1, Ф2, Ф4,
Ф5 - разъединители питающих фидеров перегонов;
Ф31, Ф32, -
разъединители питающих фидеров станционных путей;
Фл1, Фл2, Фл4,
Фл5 - разъединители питающих фидеров для ремонтных нужд;
А, Б, В, Г - секционные
разъединители с моторным приводом;
СИ - секционные изоляторы
Рисунок 2.1 - Подсоединение
контактной сети к тяговой подстанции на постоянном токе
- тяговая подстанция; 2 - пост секционирования; 3 - контактная сеть пути;
- секционирующие
устройства
Рисунок 2.2 - Узловая схема питания контактной сети участка
- изолирующие стыки; 2 - стыковые соединения;
- дроссель-трансформатор
Рисунок 2.3 - Узловая схема соединения рельсовых нитей при двухниточных
рельсовых цепях автоблокировки
3. Построение графика
движения поездов
Наиболее тяжелые условия работы
системы электроснабжения ожидаются при пропуске по участку максимального
количества поездов с минимальным интервалом попутного следования.
Время хода по участку получаем с
помощью заданной технической скорости
, (3.1)
где Lу - длина участка, км;
Vт - техническая скорость движения, км/ч.
Время хода четного поезда
мин.
Время хода нечетного
поезда
мин.
График движения поездов
изображается интервалом времени от 0 до 1 часа. Движение поездов
предусматривается без остановки на промежуточной станции Б, с интервалом
попутного отправления 10 минут.
При параллельном графике
движения и однотипных поездах, положение поездов на участке и нагрузки фидеров
тяговых подстанций повторяется с периодом, равным интервалу попутного
следования, поэтому для дальнейших расчетов ограничимся исследованием графика
движения на протяжении 10 минут.
4. Расчет токов фидеров
При одинаковых напряжениях на шинах
тяговых подстанций и равных площадях поперечного сечения контактного провода и
рельсовых цепей обоих путей, ток каждого электровоза может быть легко разложен
на токи фидеров тяговых подстанций следующим образом.
Во-первых, для каждого момента
времени находится распределение тока одного электровоза между подстанциями,
далее определяются распределения токов каждой подстанции по ее питающим
фидерам. Так, для схемы в приложении Б при расположении поезда левее поста
секционирования справедливы следующие расчетные выражения
, (4.1)
, (4.2)
где IА, IБ - токи подстанций А и Б
соответственно, А;
Lэ - расстояние от левой
подстанции до электровоза, км;
Lф - длина
межподстанционной (фидерной) зоны, км.
Рисунок 4.1 -
Мгновенная схема расположения поездов
При расположении поезда правее поста
секционирования выполняются следующие выражения
, (4.3)
. (4.4)
Аналогичные выражения
могут быть получены и для движения поезда по другому пути
, (4.5)
, (4.6)
, (4.7)
. (4.8)
Рассчитываем значения
токов фидеров для каждой минуты интервала попутного следования графика движения
поездов в приложении A.
Ток электровоза определяем по графикам потребления тока в приложении А.
Результаты расчетов
распределения токов электровоза по фидерам представлены в таблицах 4.1 и 4.2.
Таблица 4.1 - Токи фидеров тяговых подстанций А и Б
|
Номер сечения
|
Номер поезда
|
,
км
|
,
А
|
Токи фидеров, А
|
|
|
|
|
|
|
|
|
|
0
|
2
|
0,0
|
1000,0
|
0,0
|
1000,0
|
0,0
|
0,0
|
|
16
|
9,9
|
0,0
|
0,0
|
0,0
|
0,0
|
0,0
|
|
13
|
8,9
|
1400,0
|
300,6
|
300,6
|
498,2
|
300,6
|
|
Сумма
|
300,6
|
1300,6
|
498,2
|
300,6
|
|
1
|
2
|
0,9
|
1000,0
|
28,8
|
913,6
|
28,8
|
28,8
|
|
16
|
10,9
|
0,0
|
0,0
|
0,0
|
0,0
|
0,0
|
|
13
|
8,1
|
1337,5
|
321,5
|
321,5
|
373,0
|
321,5
|
|
Сумма
|
350,3
|
1235,1
|
401,8
|
350,3
|
|
2
|
2
|
2,0
|
2000,0
|
128,2
|
1615,4
|
128,2
|
128,2
|
|
16
|
11,9
|
0,0
|
0,0
|
0,0
|
0,0
|
0,0
|
|
13
|
7,2
|
1285,5
|
395,4
|
296,7
|
296,7
|
296,7
|
|
Сумма
|
523,6
|
1912,1
|
424,9
|
424,9
|
|
3
|
2
|
3,0
|
1942,0
|
186,7
|
1381,9
|
186,7
|
186,7
|
|
16
|
13,0
|
0,0
|
0,0
|
0,0
|
0,0
|
0,0
|
|
13
|
6,4
|
1232,5
|
474,1
|
252,8
|
252,8
|
252,8
|
|
15
|
14,9
|
0,0
|
0,0
|
0,0
|
0,0
|
0,0
|
|
Сумма
|
660,8
|
1634,7
|
439,5
|
439,5
|
|
4
|
2
|
4,0
|
1800,0
|
230,8
|
1107,6
|
230,8
|
230,8
|
|
16
|
13,9
|
0,0
|
0,0
|
0,0
|
0,0
|
0,0
|
|
13
|
5,5
|
1180,0
|
556,0
|
208,0
|
208,0
|
208,0
|
|
15
|
14,1
|
0,0
|
0,0
|
0,0
|
0,0
|
0,0
|
|
Сумма
|
786,8
|
1315,6
|
438,8
|
438,8
|
|
5
|
2
|
5,0
|
1636,5
|
262,3
|
849,6
|
262,3
|
262,3
|
|
16
|
14,9
|
0,0
|
0,0
|
0,0
|
0,0
|
0,0
|
|
13
|
4,7
|
1128,0
|
618,3
|
169,9
|
169,9
|
169,9
|
|
15
|
13,2
|
0,0
|
0,0
|
0,0
|
0,0
|
|
Сумма
|
880,6
|
1019,5
|
432,2
|
432,2
|
|
6
|
2
|
6,0
|
1561,5
|
300,3
|
660,6
|
300,3
|
300,3
|
|
13
|
3,8
|
1075,5
|
682,5
|
131,0
|
131,0
|
131,0
|
|
15
|
12,4
|
0,0
|
0,0
|
0,0
|
0,0
|
0,0
|
|
Сумма
|
982,8
|
791,6
|
431,3
|
431,3
|
|
7
|
2
|
6,9
|
1510,5
|
334,1
|
508,2
|
334,1
|
334,1
|
|
13
|
3,0
|
1023,0
|
727,8
|
98,4
|
98,4
|
98,4
|
|
15
|
11,5
|
0,0
|
0,0
|
0,0
|
0,0
|
0,0
|
|
Сумма
|
1061,9
|
606,6
|
432,5
|
432,5
|
|
8
|
2
|
8,0
|
1456,5
|
354,8
|
354,8
|
354,8
|
392,1
|
|
13
|
2,1
|
0,0
|
0,0
|
0,0
|
0,0
|
0,0
|
|
15
|
10,7
|
0,0
|
0,0
|
0,0
|
0,0
|
0,0
|
|
Сумма
|
354,8
|
354,8
|
354,8
|
392,1
|
|
9
|
2
|
9,0
|
1408,5
|
298,0
|
298,0
|
298,0
|
514,5
|
|
9
|
13
|
1,3
|
0,0
|
0,0
|
0,0
|
0,0
|
0,0
|
|
15
|
9,8
|
0,0
|
0,0
|
0,0
|
0,0
|
0,0
|
|
Сумма
|
298,0
|
298,0
|
298,0
|
514,5
|
|
|
|
|
|
|
|
|
|
|
Таблица 4.2 - Токи фидеров тяговых подстанций Б и В
|
Номер сечения
|
Номер поезда
|
,
км
|
,
А
|
Токи фидеров, А
|
|
|
|
|
|
|
|
|
|
0
|
1
|
10,4
|
1000,0
|
0,0
|
0,0
|
1000,0
|
0,0
|
|
14
|
4,3
|
0,0
|
0,0
|
0,0
|
0,0
|
0,0
|
|
15
|
1,9
|
1570,5
|
1140,0
|
143,5
|
143,5
|
143,5
|
|
Сумма
|
1140,0
|
143,5
|
1143,5
|
143,5
|
|
1
|
1
|
9,5
|
1000,0
|
43,3
|
43,3
|
870,1
|
43,3
|
|
14
|
5,3
|
1189,0
|
291,5
|
291,5
|
291,5
|
314,5
|
|
15
|
1,0
|
0,0
|
0,0
|
0,0
|
0,0
|
0,0
|
|
Сумма
|
334,8
|
334,8
|
1161,6
|
357,8
|
|
2
|
1
|
8,7
|
2000,0
|
163,5
|
163,5
|
1509,5
|
163,5
|
|
14
|
6,3
|
1357,0
|
267,5
|
267,5
|
267,5
|
554,5
|
|
15
|
0,2
|
0,0
|
0,0
|
0,0
|
0,0
|
0,0
|
|
Сумма
|
431,0
|
431,0
|
1777,0
|
718,0
|
|
3
|
1
|
7,8
|
2000,0
|
250,0
|
250,0
|
1250,0
|
250,0
|
|
14
|
7,3
|
1516,0
|
226,0
|
226,0
|
226,0
|
838,0
|
|
Сумма
|
476,0
|
476,0
|
1476,0
|
1088,0
|
|
4
|
1
|
7,0
|
1816,0
|
296,8
|
296,8
|
925,6
|
296,8
|
|
14
|
8,2
|
0,0
|
0,0
|
0,0
|
0,0
|
0,0
|
|
Сумма
|
296,8
|
296,8
|
925,6
|
296,8
|
|
5
|
1
|
6,1
|
1600,0
|
330,8
|
330,8
|
607,6
|
330,8
|
|
14
|
9,3
|
0,0
|
0,0
|
0,0
|
0,0
|
0,0
|
|
Сумма
|
330,8
|
330,8
|
607,6
|
330,8
|
|
6
|
1
|
5,3
|
1400,0
|
343,3
|
343,3
|
370,1
|
343,3
|
|
16
|
0,3
|
0,0
|
0,0
|
0,0
|
0,0
|
0,0
|
|
14
|
10,2
|
0,0
|
0,0
|
0,0
|
0,0
|
0,0
|
|
Сумма
|
343,3
|
343,3
|
370,1
|
343,3
|
|
7
|
1
|
4,4
|
1439,5
|
526,0
|
304,5
|
304,5
|
304,5
|
|
16
|
1,3
|
-600,0
|
-150,0
|
-150,0
|
-150,0
|
-150,0
|
|
Сумма
|
376,0
|
154,5
|
154,5
|
154,5
|
|
8
|
1
|
3,6
|
1483,0
|
712,9
|
256,7
|
256,7
|
256,7
|
|
16
|
2,3
|
-525,0
|
-58,1
|
-350,7
|
-58,1
|
-58,1
|
|
Сумма
|
654,8
|
-94,0
|
196,8
|
196,8
|
|
9
|
1
|
2,7
|
1526,5
|
931,9
|
198,2
|
198,2
|
198,2
|
|
16
|
3,3
|
-449,5
|
-71,3
|
-235,6
|
-71,3
|
-71,3
|
|
Сумма
|
860,6
|
126,9
|
126,9
|
По итоговым строкам таблиц 4.1 и 4.2
строим зависимости токов фидеров от времени на рисунках 4.2 и 4.3.
Рисунок 4.2 - Зависимость токов
фидеров от времени на участке А - Б
Рисунок 4.3 - Зависимость токов
фидеров от времени на участке Б - В
Таблица 4.3 - Токи фидеров и тяговых подстанций А, Б, В
|
Номер сечения
|
Токи фидеров тяговых подстанций, А
|
Токи подстанций, А
|
|
|
|
|
|
|
|
|
|
|
|
|
|
1
|
2
|
3
|
4
|
5
|
6
|
7
|
8
|
9
|
10
|
11
|
12
|
|
0
|
300,6
|
1300,6
|
498,2
|
300,6
|
1140,0
|
143,5
|
1143,5
|
143,5
|
1601,2
|
2082,3
|
1287,0
|
|
1
|
350,3
|
1235,1
|
401,8
|
350,3
|
334,8
|
334,8
|
1161,6
|
357,8
|
1585,4
|
1421,7
|
1519,4
|
|
2
|
523,6
|
1912,1
|
424,9
|
424,9
|
431,0
|
431,0
|
1777,0
|
718,0
|
2435,7
|
1711,8
|
2495,0
|
|
3
|
660,8
|
1634,7
|
439,5
|
439,5
|
476,0
|
476,0
|
1476,0
|
1088,0
|
2295,5
|
1831,0
|
2564,0
|
|
4
|
786,8
|
1315,6
|
438,8
|
438,8
|
296,8
|
296,8
|
925,6
|
296,8
|
2102,4
|
1471,2
|
1222,4
|
|
5
|
880,6
|
1019,5
|
432,2
|
432,2
|
330,8
|
330,8
|
607,6
|
330,8
|
1900,1
|
1526,0
|
938,4
|
|
6
|
982,8
|
791,6
|
431,3
|
431,3
|
343,3
|
343,3
|
370,1
|
343,3
|
1774,4
|
1549,2
|
713,4
|
|
7
|
1061,9
|
606,6
|
432,5
|
432,5
|
376,0
|
154,5
|
154,5
|
154,5
|
1668,5
|
1395,5
|
309,0
|
|
8
|
354,8
|
354,8
|
354,8
|
392,1
|
654,8
|
-94,0
|
198,6
|
198,6
|
709,6
|
1307,7
|
397,2
|
|
9
|
298,0
|
298,0
|
298,0
|
514,5
|
860,6
|
-37,4
|
126,9
|
126,9
|
596,0
|
1635,7
|
253,8
|
|
Среднее значение
|
620,0
|
1046,9
|
415,2
|
415,7
|
524,4
|
237,9
|
794,1
|
375,8
|
1666,9
|
1593,2
|
1170,0
|
Эффективный ток, равный току фидера
А2
, (4.8)
где Ii - ток фидера в i-ом сечении, А;
n
- число сечений.
Iэф
= 1163,0 А не превышает допустимого значения 2510,0 А [1].
По данным таблицы 4.3
строим зависимости токов подстанций от времени, представленные на рисунке 4.4.
Рисунок 4.4 - Зависимость токов
подстанций от времени I(t)
5. Составление и расчет
мгновенных схем
По данным таблиц 4.1 и 4.2 для
каждого сечения графика составляем мгновенные схемы. Зная токи фидеров и
используя первый закон Кирхгофа определим распределения токов в отдельных
частях сети.
Для каждой мгновенной схемы
рассчитаем потери напряжения до каждого поезда ДUi, В, и потери
мощности в сети ДP, кВт, которые находятся по следующим выражениям
, (5.1)
, (5.2)
где r - удельное сопротивления тяговой сети, Ом/км;
Icj - сетевой ток, протекающий по участку сети длиной Lj, А;
Ii - ток i-го поезда, А;
k - число участков сети от
ближней подстанции до i-го поезда;
n - число поездов в
фидерной зоне.
Результаты расчетов представлены в
таблицах 5.1 и 5.2.
Таблица 5.1 - Расчет потерь напряжения и мощности на участке А-Б
|
Номер сечения
|
Номер поезда
|
,
км
|
,
А
|
,
А
|
∆U,
В
|
U,
В
|
∆P,
кВт
|
∑∆P,
кВт
|
|
0
|
2
|
0,0
|
1300,6
|
1000,0
|
0,0
|
3300,0
|
0,0
|
224,3
|
|
16
|
5,7
|
300,6
|
0,0
|
82,2
|
3217,8
|
0,0
|
|
|
13
|
6,7
|
498,2
|
1400,0
|
160,2
|
3139,8
|
224,3
|
|
|
1
|
2
|
0,9
|
1235,1
|
1000,0
|
53,4
|
3246,6
|
53,4
|
222,1
|
|
16
|
4,7
|
408,1
|
0,0
|
92,1
|
3207,9
|
0,0
|
|
|
13
|
7,5
|
350,3
|
1337,5
|
126,1
|
3173,9
|
168,7
|
|
|
2
|
2
|
2,0
|
1912,1
|
2000,0
|
183,6
|
3116,4
|
367,2
|
599,9
|
|
16
|
3,7
|
424,9
|
0,0
|
75,5
|
3224,5
|
0,0
|
|
|
13
|
7,2
|
523,6
|
1285,5
|
181,0
|
3119,0
|
232,7
|
|
|
3
|
2
|
3,0
|
1634,7
|
1942,0
|
235,4
|
3064,6
|
457,1
|
506,3
|
|
16
|
2,6
|
439,5
|
0,0
|
54,8
|
3245,2
|
0,0
|
|
|
13
|
6,4
|
660,8
|
1232,5
|
39,9
|
3260,1
|
49,2
|
|
|
15
|
0,7
|
439,5
|
0,0
|
14,8
|
3285,2
|
0,0
|
|
|
4
|
2
|
4,0
|
1315,6
|
1800,0
|
252,6
|
3047,4
|
454,7
|
699,8
|
|
16
|
1,7
|
438,8
|
0,0
|
35,8
|
3264,2
|
0,0
|
|
|
13
|
5,5
|
786,8
|
1180,0
|
207,7
|
3092,3
|
245,1
|
|
|
15
|
1,5
|
438,8
|
0,0
|
31,6
|
3268,4
|
0,0
|
|
|
5
|
2
|
5,0
|
1019,5
|
1636,5
|
244,7
|
3055,3
|
400,5
|
624,6
|
|
16
|
0,7
|
432,2
|
0,0
|
145,2
|
3154,8
|
0,0
|
|
|
13
|
4,7
|
880,6
|
1128,0
|
198,7
|
3101,3
|
224,1
|
|
|
15
|
2,4
|
0,0
|
49,8
|
3250,2
|
0,0
|
|
|
6
|
2
|
6,0
|
791,6
|
1561,5
|
228,0
|
3072,0
|
356,0
|
548,8
|
|
13
|
3,8
|
982,8
|
1075,5
|
179,3
|
3120,7
|
192,8
|
|
|
15
|
3,2
|
431,3
|
0,0
|
66,2
|
3233,8
|
0,0
|
|
|
7
|
2
|
6,9
|
606,6
|
1510,5
|
200,9
|
3099,1
|
303,5
|
459,9
|
|
13
|
3,0
|
1061,9
|
1023,0
|
152,9
|
3147,1
|
156,4
|
|
|
15
|
4,1
|
432,5
|
0,0
|
85,1
|
3214,9
|
0,0
|
|
|
8
|
2
|
7,6
|
392,1
|
1456,5
|
143,0
|
3157,0
|
208,3
|
208,3
|
|
13
|
2,1
|
354,8
|
0,0
|
35,8
|
3264,2
|
0,0
|
|
|
15
|
4,9
|
354,8
|
0,0
|
83,4
|
3216,6
|
0,0
|
|
|
9
|
2
|
6,6
|
514,5
|
1408,5
|
163,0
|
3137,0
|
229,6
|
229,6
|
|
13
|
1,3
|
298,0
|
0,0
|
18,6
|
3281,4
|
0,0
|
|
|
15
|
5,8
|
298,0
|
0,0
|
83,0
|
3217,0
|
0,0
|
|
Таблица 5.2 - Расчет потерь напряжения и мощности на участке Б-В
|
Номер сечения
|
Номер поезда
|
,
км
|
,
А
|
,
А
|
∆U,
В
|
U,
В
|
∆P,
кВт
|
∑∆P,
кВт
|
|
0
|
1
|
0,0
|
2143,5
|
1000,0
|
0,0
|
3300,0
|
0,0
|
163,3
|
|
14
|
4,3
|
143,5
|
0,0
|
29,6
|
3270,4
|
0,0
|
|
|
15
|
1,9
|
1140,0
|
1570,5
|
104,0
|
3196,0
|
163,3
|
|
|
1
|
1
|
0,9
|
1161,6
|
1000,0
|
50,2
|
3249,8
|
50,2
|
|
Мгновенные схемы расположения
поездов показаны в приложении Б.
На дорогах постоянного тока
напряжение на токоприемнике не должно быть менее 2700 В. При расчете
минимальное напряжение составило 3047,4 В.
Таблица 5.3 - Суммарные потери мощности
|
Номер сечения
|
0
|
1
|
2
|
3
|
4
|
5
|
6
|
7
|
8
|
9
|
|
∑∆P,
кВт
|
387,6
|
376,5
|
1081,6
|
1120,1
|
974,2
|
825,2
|
666,4
|
568,4
|
337,0
|
402,5
|
Среднее значение потери мощности в
сети в целом для участка, ДPср, кВт определяем по формуле
. (5.3)
кВт.
По данным таблиц 5.1 и 5.2 строим
зависимость DP(t) рисунок 5.3, и зависимости напряжения на токоприемнике
электровоза от пути Uэ(L), для четного и нечетного
направлений, представленных на рисунке 5.4.
Рисунок 5.3 - Зависимость потерь
мощности от времени DP(t)
Рисунок 5.4 - Зависимость напряжения
на токоприемнике от пути Uэ(L)
6. Расчет мощности
тяговой подстанции и КПД тяговой сети
В курсовой работе требуется
рассчитать мощность тяговой подстанции А.
Потребная трансформаторная мощность S, кВА, для питания тяговой и
районной (нетяговой) нагрузки
, (6.1)
где SТ -
потребная трансформаторная мощность для питания тяговой
нагрузки, кВА;
SР - потребная трансформаторная мощность для питания районной
нагрузки, кВА;
Kр - коэффициент, учитывающий несовпадение максимумов тяговой
и районной нагрузок. KР = 0,93.
Величина районной нагрузки Sр задается в долях от полной мощности S
, (6.2)
. (6.3)
Величина потребной
трансформаторной мощности для питания тяговой нагрузки
, (6.4)
где P - средняя мощность тяговой подстанции, отдаваемая в тяговую сеть,
кВт;
KЗ - коэффициент, учитывающий повышение потребляемой электровозом
мощности зимой за счет увеличения сопротивления движения.
KЗ = 1,08;
КСН - коэффициент, учитывающий мощность собственных нужд электровоза.
KСН = 1,05;
cosj - коэффициент мощности подстанции. cosj =
0,93.
Величина средней мощности тяговой
подстанции, отдаваемой в тяговую сеть
, (6.5)
где UТП - напряжение на шинах тяговой подстанции, кВ;
Iср - средний ток тяговой
подстанции, А.
КПД тяговой сети рассчитывается по
формуле
, (6.6)
где IА, IБ,
IВ - средние токи тяговых подстанций А, Б, В соответственно, А;
DРср -
среднее значение потерь мощности в сети, кВт.
Средняя мощность тяговой
подстанции отдаваемой в тяговую сеть
кВт,
тогда
кВА,
следовательно
кВА.
Коэффициент полезного
действия тяговой сети равен
.
Заключение
В курсовой работе была рассчитана
система электроснабжения участка постоянного тока. Были рассчитаны различные
параметры, например потери напряжения. На дорогах постоянного тока напряжение
не должно быть меньше 2700 В.
Можно сделать вывод, что подвеска
типа (М-120)+2 (МФ-100)+(А-185) может эксплуатироваться на данном участке без
перегрева, так как допустимая токовая нагрузка для данной подвески равна 2510
А, а эффективное значение тока самого загруженного фидера А2 по расчетам равна
1163 А, что является не превышающим норму значением.
Можно сделать вывод, что данный тип
контактной подвески при заданных параметрах участка, интенсивности движения,
схеме питания тяговой сети, расположении тяговой подстанции, доле
трансформаторной мощности тяговой подстанции, приходящейся на районную
нагрузку, можно эксплуатировать для заданной интенсивности движения поездов.
Из полученных зависимостей видно,
что токовые нагрузки фидеров распределены неравномерно. Наиболее загруженными
являются фидеры А2 и В1, остальные фидеры загружены в среднем равномерно.
Тяговая подстанция А является самой загруженной.
Зависимость напряжения на
токоприемнике электровоза от пути показала, что распределение напряжения на
протяжении всего участка неравномерное.
Необходимо создать для этого участка
трансформаторную мощность 8652 кВА. Коэффициент полезного действия тяговой сети
составил 0,85.
Список использованных
источников
1 Ветлугина О.И. Расчет
системы электроснабжения электрифицированного участка постоянного тока:
Руководство к курсовой работе. - Екатеринбург: УрГУПС, 2012. - 15 с.
Марквардт К.Г. Электроснабжение
электрифицированных железных дорог. Учебник для вузов ж.-д. трансп. - М.:
Транспорт, 1982. - 528 с.