,
ðàâíà -7,8от. пер. - продолжительность
отопительного периода, сут./год [табл. 1, 2], равна 203.
tв - расчетная
температура воздуха внутри помещения. Расчетная температура воздуха внутри
жилых и общественных зданий tв для
холодного периода года должна быть не ниже оптимальных значений, приведенных в
таблице 2.1, согласно ГОСТ 30494. Параметры воздуха зданий производственного
назначения следует принимать согласно ГОСТ 12.1.005 и норм проектирования
соответствующих зданий и сооружений. Расчетная температура воздуха внутри
здания tв для теплого
периода года должна быть не выше допустимых значений, приведенных в таблице
2.2, согласно ГОСТ 30494., равна +18
ГСОП= (18+ 7.8)203=5237 сут·°С
) Определяют минимальное приведенное
сопротивление теплопередаче, R02тр, м2°∙С/Вт,
ограждающих конструкций здания, исходя из условий энергосбережения [табл. 1* ,
1].
Формула интерполяции,
Где у=5237 сут,
=4000,
= 6000,
= 2.8,
= 3.5.
Х= 2.8+ (3.5 - 2.8)(1237/2000)=3.23
3) Определяют требуемое
сопротивление теплопередаче R01тр, м2°∙С/Вт,
наружного ограждения по формуле:
ãäå t í - ðàñ÷åòíàÿ
çèìíÿÿ òåìïåðàòóðà
íàðóæíîãî âîçäóõà,
ðàâíàÿ ñðåäíåé
òåìïåðàòóðå íàèáîëåå
õîëîäíîé ïÿòèäíåâêè
ñ êîýôôèöèåíòîì
îáåñïå÷åííîñòè
0,92 , °Ñ [òàáë. 1, 2], ðàâíà
-36;- êîýôôèöèåíò,
ïðèíèìàåìûé
â çàâèñèìîñòè
îò ïîëîæåíèÿ ïîâåðõíîñòè
îãðàæäàþùåé
êîíñòðóêöèè
ïî îòíîøåíèþ
ê íàðóæíîìó âîçäóõó
[òàáë. 3*, 1], ðàâåí 1;
∆tí - íîðìàòèâíûé
òåìïåðàòóðíûé
ïåðåïàä ìåæäó
òåìïåðàòóðîé
âíóòðåííåãî
âîçäóõà è òåìïåðàòóðîé
âíóòðåííåé ïîâåðõíîñòè
îãðàæäàþùåé
êîíñòðóêöèè,
°Ñ [òàáë. 2*, 1], ðàâåí
4;
αâ
- êîýôôèöèåíò
òåïëîîòäà÷è
íà âíóòðåííåé
ïîâåðõíîñòè
îãðàæäåíèÿ, Âò/
(ì2∙°Ñ) [òàáë. 4*, 1],
ðàâåí 8,7.
4) Ïðîèçâîäÿò
ñðàâíåíèå ñîïðîòèâëåíèé
òåïëîïåðåäà÷å:
ðàññ÷èòàííîãî
èç óñëîâèé âûïîëíåíèÿ
ñàíèòàðíî-òåõíè÷åñêèõ
è êîìôîðòíûõ
óñëîâèé R01òð, è, ïðèíÿòîãî
ïî óñëîâèÿì ýíåðãîñáåðåæåíèÿ
R02òð. Áîëüøåå
çíà÷åíèå ñîïðîòèâëåíèÿ
òåïëîïåðåäà÷å
ïðèíèìàþò äëÿ
âûïîëíåíèÿ ïîñëåäóþùèõ
ðàñ÷åòîâ. Ïðèíèìàåì

) Òåðìè÷åñêîå
ñîïðîòèâëåíèå
R, ì2×°Ñ/Âò,
ñëîÿ ìíîãîñëîéíîé
îãðàæäàþùåé
êîíñòðóêöèè,
à òàêæå îäíîðîäíîé
(îäíîñëîéíîé)
îãðàæäàþùåé
êîíñòðóêöèè
îïðåäåëÿþò ïî
ôîðìóëå:
ãäå d - òîëùèíà
ñëîÿ, ì;
l
- ðàñ÷åòíûé êîýôôèöèåíò
òåïëîïðîâîäíîñòè
ìàòåðèàëà ñëîÿ,
Âò/(ì ∙°Ñ),
ðàâåí

) Ñîïðîòèâëåíèå
òåïëîïåðåäà÷å
Ro, ì2×°Ñ/Âò,
îãðàæäàþùåé
êîíñòðóêöèè
îïðåäåëÿþò ïî
ôîðìóëå:
) Îïðåäåëÿþò
îáùóþ òîëùèíó
êîíñòðóêöèè
δîáù, ì, ïî
ôîðìóëå:
)Îïðåäåëÿþò
âåëè÷èíó òåïëîâîé
èíåðöèè D îãðàæäàþùåé
êîíñòðóêöèè
ïî ôîðìóëå:
,
) Îïðåäåëÿþò
êîýôôèöèåíò
òåïëîïåðåäà÷è
Ê, Âò/(ì2 ∙°Ñ), îãðàæäåíèÿ
ïî ôîðìóëå:
1.2 Òåïëîòåõíè÷åñêèé
ðàñ÷åò ÷åðäà÷íîãî
ïåðåêðûòèÿ
- æåëåçîáåòîííàÿ
ïàíåëü ρ = 2500êã/ì3 , δ1 = 0,22 ì;
- îäèí ñëîé
ðóáåðîèäà ρ = 600 êã/ì3 , δ2 = 0,003 ì;
- öåìåíòíî-ïåñ÷àíàÿ
ñòÿæêà ρ = 1800êã/ì3, δ4 = 0,03 ì;
- ñëîé óòåïëèòåëÿ
èç: ãàçîáåòîíà
ρ
= 400êã/ì3
) Ðàññ÷èòûâàþò
ãðàäóñî-ñóòêè
îòîïèòåëüíîãî
ïåðèîäà (ÃÑÎÏ)
ïî ôîðìóëå:
ãäå
ò.ïåð. - ñðåäíÿÿ
òåìïåðàòóðà ïåðèîäà
ñî ñðåäíåé ñóòî÷íîé
òåìïåðàòóðîé
íàðóæíîãî âîçäóõà
< 8 °Ñ, ðàâíà -7,8îò. ïåð.
- ïðîäîëæèòåëüíîñòü
îòîïèòåëüíîãî
ïåðèîäà, ðàâíà
203ñóò./ãîä
tâ
- ðàñ÷åòíàÿ òåìïåðàòóðà
âîçäóõà âíóòðè
ïîìåùåíèÿ, ðàâíà
+18.
ÃÑÎÏ= (18+ 7.8)203=5237
ñóò·°Ñ
) Îïðåäåëÿþò
ìèíèìàëüíîå
ïðèâåäåííîå ñîïðîòèâëåíèå
òåïëîïåðåäà÷å,
R02òð,
ì2°∙Ñ/Âò, îãðàæäàþùèõ
êîíñòðóêöèé
çäàíèÿ, èñõîäÿ
èç óñëîâèé ýíåðãîñáåðåæåíèÿ
[òàáë. 1* , 1].
Ôîðìóëà
èíòåðïîëÿöèè,
Ãäå ó=5237 ñóò,
=4000,
= 6000,
= 3,7,
= 4,6.
Õ= 3,7+ (4,6 -
3,7)(1237/2000)=4,26
) Îïðåäåëÿþò
òðåáóåìîå ñîïðîòèâëåíèå
òåïëîïåðåäà÷å
R01òð, ì2°∙Ñ/Âò,
íàðóæíîãî
îãðàæäåíèÿ ïî
ôîðìóëå:
ãäå t í - ðàñ÷åòíàÿ
çèìíÿÿ òåìïåðàòóðà
íàðóæíîãî âîçäóõà,
ðàâíàÿ ñðåäíåé
òåìïåðàòóðå íàèáîëåå
õîëîäíîé ïÿòèäíåâêè
ñ êîýôôèöèåíòîì
îáåñïå÷åííîñòè
0,92 , °Ñ [òàáë. 1, 2], ðàâíà
-36;- êîýôôèöèåíò,
ïðèíèìàåìûé
â çàâèñèìîñòè
îò ïîëîæåíèÿ ïîâåðõíîñòè
îãðàæäàþùåé
êîíñòðóêöèè
ïî îòíîøåíèþ
ê íàðóæíîìó âîçäóõó
[òàáë. 3*, 1], ðàâåí 1;
∆tí - íîðìàòèâíûé
òåìïåðàòóðíûé
ïåðåïàä ìåæäó
òåìïåðàòóðîé
âíóòðåííåãî
âîçäóõà è òåìïåðàòóðîé
âíóòðåííåé ïîâåðõíîñòè
îãðàæäàþùåé
êîíñòðóêöèè,
°Ñ [òàáë. 2*, 1], ðàâåí
4;
αâ
- êîýôôèöèåíò
òåïëîîòäà÷è
íà âíóòðåííåé
ïîâåðõíîñòè
îãðàæäåíèÿ, Âò/
(ì2∙°Ñ) [òàáë. 4*, 1],
ðàâåí 8,7.
4) Ïðîèçâîäÿò
ñðàâíåíèå ñîïðîòèâëåíèé
òåïëîïåðåäà÷å:
ðàññ÷èòàííîãî
èç óñëîâèé âûïîëíåíèÿ
ñàíèòàðíî-òåõíè÷åñêèõ
è êîìôîðòíûõ
óñëîâèé R01òð, è, ïðèíÿòîãî
ïî óñëîâèÿì ýíåðãîñáåðåæåíèÿ
R02òð. Áîëüøåå
çíà÷åíèå ñîïðîòèâëåíèÿ
òåïëîïåðåäà÷å
ïðèíèìàþò äëÿ
âûïîëíåíèÿ ïîñëåäóþùèõ
ðàñ÷åòîâ. Ïðèíèìàåì

) Òåðìè÷åñêîå
ñîïðîòèâëåíèå
R, ì2×°Ñ/Âò,
ñëîÿ ìíîãîñëîéíîé
îãðàæäàþùåé
êîíñòðóêöèè,
à òàêæå îäíîðîäíîé
(îäíîñëîéíîé)
îãðàæäàþùåé
êîíñòðóêöèè
îïðåäåëÿþò ïî
ôîðìóëå:
ãäå d - òîëùèíà
ñëîÿ, ì;
l
- ðàñ÷åòíûé êîýôôèöèåíò
òåïëîïðîâîäíîñòè
ìàòåðèàëà ñëîÿ,
Âò/(ì ∙°Ñ),

) Ñîïðîòèâëåíèå
òåïëîïåðåäà÷å
Ro, ì2×°Ñ/Âò,
îãðàæäàþùåé
êîíñòðóêöèè
îïðåäåëÿþò ïî
ôîðìóëå:
) Îïðåäåëÿþò
îáùóþ òîëùèíó
êîíñòðóêöèè
δîáù, ì, ïî
ôîðìóëå:
)Îïðåäåëÿþò
âåëè÷èíó òåïëîâîé
èíåðöèè D îãðàæäàþùåé
êîíñòðóêöèè
ïî ôîðìóëå:
,
ãäå n- êîëè÷åñòâî
ñëîåâ â îãðàæäåíèè,
ðàâíî 4.
) Îïðåäåëÿþò
êîýôôèöèåíò
òåïëîïåðåäà÷è
Ê, Âò/(ì2 ∙°Ñ), îãðàæäåíèÿ
ïî ôîðìóëå:
1.3 Òåïëîòåõíè÷åñêèé
ðàñ÷åò ïåðåêðûòèé
íàä íåîòàïëèâàåìûì
ïîäâàëîì
- ëèíîëåóì
ÏÂÕ íà òêàíåâîé
ïîäîñíîâå ρ = 1800êã/ì3 , δ1 = 0,007 ì;
- öåìåíòíî-ïåñ÷àíàÿ
ñòÿæêà ρ = 1800êã/ì3, δ2 = 0,02 ì;
- îäèí ñëîé
ðóáåðîèäà ρ = 600 êã/ì3 , δ4 = 0,003 ì;
- æåëåçîáåòîííàÿ
ïëèòà ρ = 2500êã/ì3 , δ5 = 0,22 ì;
- ñëîé óòåïëèòåëÿ
èç: âåðìèêóëèòà
âñïó÷åííîãî
ρ
= 200 êã/ì3
) Ðàññ÷èòûâàþò
ãðàäóñî-ñóòêè
îòîïèòåëüíîãî
ïåðèîäà (ÃÑÎÏ)
ïî ôîðìóëå:
ãäå
ò.ïåð. - ñðåäíÿÿ
òåìïåðàòóðà ïåðèîäà
ñî ñðåäíåé ñóòî÷íîé
òåìïåðàòóðîé
íàðóæíîãî âîçäóõà
< 8 °Ñ, ðàâíà -8,01’Cîò.
ïåð. - ïðîäîëæèòåëüíîñòü
îòîïèòåëüíîãî
ïåðèîäà, ðàâíà
215ñóò./ãîä
tâ
- ðàñ÷åòíàÿ òåìïåðàòóðà
âîçäóõà âíóòðè
ïîìåùåíèÿ, ðàâíà
+18’C.
ÃÑÎÏ= (18+ 7.8)203=5237
ñóò·°Ñ
) Îïðåäåëÿþò
ìèíèìàëüíîå
ïðèâåäåííîå ñîïðîòèâëåíèå
òåïëîïåðåäà÷å,
R02òð,
ì2°∙Ñ/Âò, îãðàæäàþùèõ
êîíñòðóêöèé
çäàíèÿ, èñõîäÿ
èç óñëîâèé ýíåðãîñáåðåæåíèÿ
[òàáë. 1* , 1].
Ôîðìóëà
èíòåðïîëÿöèè,
Ãäå ó=5237 ñóò,
=4000,
= 6000,
= 3,7,
= 4,6.
Õ= 3,7+ (4,6 -
3,7)(1237/2000)=4,26
) Îïðåäåëÿþò
òðåáóåìîå ñîïðîòèâëåíèå
òåïëîïåðåäà÷å
R01òð, ì2°∙Ñ/Âò,
íàðóæíîãî
îãðàæäåíèÿ ïî
ôîðìóëå:
ãäå t í - ðàñ÷åòíàÿ
çèìíÿÿ òåìïåðàòóðà
íàðóæíîãî âîçäóõà,
ðàâíàÿ ñðåäíåé
òåìïåðàòóðå íàèáîëåå
õîëîäíîé ïÿòèäíåâêè
ñ êîýôôèöèåíòîì
îáåñïå÷åííîñòè
0,92 , °Ñ [òàáë. 1, 2], ðàâíà
-36;- êîýôôèöèåíò,
ïðèíèìàåìûé
â çàâèñèìîñòè
îò ïîëîæåíèÿ ïîâåðõíîñòè
îãðàæäàþùåé
êîíñòðóêöèè
ïî îòíîøåíèþ
ê íàðóæíîìó âîçäóõó
[òàáë. 3*, 1], ðàâåí
0,9;
∆tí - íîðìàòèâíûé
òåìïåðàòóðíûé
ïåðåïàä ìåæäó
òåìïåðàòóðîé
âíóòðåííåãî
âîçäóõà è òåìïåðàòóðîé
âíóòðåííåé ïîâåðõíîñòè
îãðàæäàþùåé
êîíñòðóêöèè,
°Ñ [òàáë. 2*, 1], ðàâåí
2;
αâ
- êîýôôèöèåíò
òåïëîîòäà÷è
íà âíóòðåííåé
ïîâåðõíîñòè
îãðàæäåíèÿ, Âò/
(ì2∙°Ñ) [òàáë. 4*, 1],
ðàâåí 8,7.
4) Ïðîèçâîäÿò
ñðàâíåíèå ñîïðîòèâëåíèé
òåïëîïåðåäà÷å:
ðàññ÷èòàííîãî
èç óñëîâèé âûïîëíåíèÿ
ñàíèòàðíî-òåõíè÷åñêèõ
è êîìôîðòíûõ
óñëîâèé R01òð, è, ïðèíÿòîãî
ïî óñëîâèÿì ýíåðãîñáåðåæåíèÿ
R02òð. Áîëüøåå
çíà÷åíèå ñîïðîòèâëåíèÿ
òåïëîïåðåäà÷å
ïðèíèìàþò äëÿ
âûïîëíåíèÿ ïîñëåäóþùèõ
ðàñ÷åòîâ. Ïðèíèìàåì

) Òåðìè÷åñêîå
ñîïðîòèâëåíèå
R, ì2×°Ñ/Âò,
ñëîÿ ìíîãîñëîéíîé
îãðàæäàþùåé
êîíñòðóêöèè,
à òàêæå îäíîðîäíîé
(îäíîñëîéíîé)
îãðàæäàþùåé
êîíñòðóêöèè
îïðåäåëÿåòñÿ
ïî ôîðìóëå, èç
êîòîðîé íàõîäèì
òîëùèíó óòåïëÿþùåãî
ñëîÿ:
ãäå d - òîëùèíà
ñëîÿ, ì, ðàâíû
l
- ðàñ÷åòíûé êîýôôèöèåíò
òåïëîïðîâîäíîñòè
ìàòåðèàëà ñëîÿ,
Âò/(ì ∙°Ñ),
ðàâíû


) Ñîïðîòèâëåíèå
òåïëîïåðåäà÷å
Ro, ì2×°Ñ/Âò,
îãðàæäàþùåé
êîíñòðóêöèè
îïðåäåëÿþò ïî
ôîðìóëå:
) Îïðåäåëÿþò
îáùóþ òîëùèíó
êîíñòðóêöèè
δîáù, ì, ïî
ôîðìóëå:

,
ãäå n- êîëè÷åñòâî
ñëîåâ â îãðàæäåíèè,
ðàâíî 5.
) Îïðåäåëÿþò
êîýôôèöèåíò
òåïëîïåðåäà÷è
Ê, Âò/(ì2 ∙°Ñ), îãðàæäåíèÿ
ïî ôîðìóëå:
1.4 Ïîäáîð
ñâåòîïðîçðà÷íûõ
êîíñòðóêöèé-
îêîí è áàëêîííûõ
äâåðåé
Ïðîèçâîäÿò
ïîäáîð çàïîëíåíèé
ñâåòîâûõ ïðîåìîâ
(îêîí, áàëêîííûõ
äâåðåé è ôîíàðåé).
) Äëÿ ïîäáîðà
îñòåêëåíèÿ íåîáõîäèìî
íàéòè òðåáóåìîå
ñîïðîòèâëåíèå
òåïëîïåðåäà÷è
R0òð, ì2∙°Ñ/Âò,
èç óñëîâèé ýíåðãîñáåðåæåíèÿ
â çàâèñèìîñòè
îò ÃÑÎÏ [òàáë.
1*,1].
ÃÑÎÏ=5237
) Îïðåäåëèâ
R0òð, ì2∙°Ñ/Âò,
ïðèíèìàþò íåîáõîäèìóþ
äëÿ çàäàííîãî
ðàéîíà ñòðîèòåëüñòâà
êîíñòðóêöèþ
îñòåêëåíèÿ, ðóêîâîäñòâóÿñü
[1, ïðèëîæåíèå 6 (ñïðàâî÷íîå)].
Âûáèðàòü êîíñòðóêöèþ
çàïîëíåíèÿ ñâåòîâîãî
ïðîåìà ñëåäóåò
èç óñëîâèÿ, ÷òîáû
ôàêòè÷åñêîå
ïðèâåäåííîå ñîïðîòèâëåíèå
òåïëîïåðåäà÷å
îñòåêëåíèÿ R0, ì2∙°Ñ/Âò
, áûëî áû íå íèæå
R0òð, ì2∙°Ñ/Âò.
Òî åñòü
äîëæíî âûïîëíÿòüñÿ
óñëîâèå R0 ≥
R0òð. Çäåñü
R0, ì2∙°Ñ/Âò,
ïðèíèìàþò ïî
[1, ïðèëîæåíèå 6* (ñïðàâî÷íîå)].
Ïðèíèìàåòñÿ
ê óñòàíîâêå äâóõêàìåðíûé
ñòåêëîïàêåò
ñ òâåðäûì ñåëåêòèâíûì
ïîêðûòèåì â ÏÂÕ-ïåðåïëåòàõ
ñ ñîïðîòèâëåíèåì
òåïëîïåðåäà÷è
) Îïðåäåëÿþò
êîýôôèöèåíò
òåïëîïåðåäà÷è
Ê, Âò/(ì2 ∙°Ñ), îãðàæäåíèÿ
ïî ôîðìóëå:
. ÏÐÎÂÅÐÊÀ
ÊÎÍÑÒÐÓÊÖÈÈ
ÍÀ ÎÒÑÓÒÑÒÂÈÅ
ÊÎÍÄÅÍÑÀÖÈÈ
ÂËÀÃÈ
Ïðè ïðîåêòèðîâàíèè
êîíñòðóêöèè
îãðàæäåíèÿ íåîáõîäèìî
çíàòü íåò òîëüêî
âåëè÷èíó åãî
ñîïðîòèâëåíèÿ
òåïëîïåðåäà÷å,
íî è òåìïåðàòóðû
â ëþáîé ïëîñêîñòè
îãðàæäåíèÿ ïðè
çàäàííûõ çíà÷åíèÿõ
òåìïåðàòóð âîçäóõà
ñ îäíîé è ñ äðóãîé
ñòîðîíû îãðàæäåíèÿ.
Ýòè ñâåäåíèÿ
äàþò âîçìîæíîñòü
îïðåäåëèòü óñëîâèÿ
êîíäåíñàöèè
âëàãè â òîëùå
êîíñòðóêöèè
è ïðàâèëüíî íàçíà÷èòü
ìåñòî ðàñïîëîæåíèÿ
ïàðîèçîëÿöèîííûõ
ñëîåâ. Îñîáîå
çíà÷åíèå äëÿ
òåïëîòåõíè÷åñêîé
îöåíêè îãðàæäåíèÿ
èìååò âåëè÷èíà
òåìïåðàòóð íà
åãî âíóòðåííåé
ïîâåðõíîñòè,
òàê êàê ïî íåé
îöåíèâàåòñÿ
âîçìîæíîñòü
îáðàçîâàíèÿ
êîíäåíñàòà íà
îãðàæäåíèè.
2.1 Ïðîâåðêà
êîíñòðóêöèè
íàðóæíîé ñòåíû
â îñíîâíîé åå
ãëàäè
Ðàñ÷åò
ïðîèçâîäÿò â ñëåäóþùåé
ïîñëåäîâàòåëüíîñòè.
) Îïðåäåëÿþò
òåìïåðàòóðó âíóòðåííåé
ïîâåðõíîñòè
tâ, °Ñ, îãðàæäàþùåé
êîíñòðóêöèè
(áåç òåïëîïðîâîäíîãî
âêëþ÷åíèÿ) ïî
ôîðìóëå:
Òåìïåðàòóðà
âíóòðåííåãî
âîçäóõà áîëüøå
òåìïåðàòóðû òî÷êè
ðîñû, ñîîòâåòñòâåííî
êîíäåíñàöèè
âëàãè íà âíóòðåííåé
ïîâåðõíîñòè
íàðóæíîé ñòåíû
íàáëþäàòüñÿ
íå áóäåò.
2.2 Ïðîâåðêà
êîíñòðóêöèè
íàðóæíîé ñòåíû
â ÷àñòè íàðóæíîãî
óãëà
) Îïðåäåëÿþò
òåìïåðàòóðó âíóòðåííåé
ïîâåðõíîñòè
tâ, °Ñ, îãðàæäàþùåé
êîíñòðóêöèè
(áåç òåïëîïðîâîäíîãî
âêëþ÷åíèÿ) ïî
ôîðìóëå:
)
) Îïðåäåëÿåì
òåìïåðàòóðó âíóòðåííåé
ïîâåðõíîñòè
â ÷àñòè íàðóæíîãî
óãëà ïî ôîðìóëå:
)Òåìïåðàòóðà
âíóòðåííåé ïîâåðõíîñòè
íàðóæíîãî óãëà
ìåíüøå òåìïåðàòóðû
òî÷êè ðîñû, ñîîòâåòñòâåííî
â óãëó áóäåò íàáëþäàòüñÿ
êîíäåíñàöèÿ
âëàãè. Äëÿ ïðåäîòâðàùåíèÿ
ýòîãî íåîáõîäèìî
ïðåäóñìîòðåòü
ñëåäóþùèå ìåðîïðèÿòèÿ:
. Äåëàåì
ñêðóãëåíèå óãëà
ïî âíóòðåííåé
ñòîðîíå ñòåí.
,24 *0,75=3,93
. Óñòàíîâêà
ñòîÿêà îòîïëåíèÿ
’C
3. Ðàñ÷åò
îãðàæäåíèé íà
òåïëîóñòîé÷èâîñòü
â òåïëûé ïåðèîä
ãîäà
Òåïëûé
ïåðèîä ãîäà áîëåå
áëàãîïðèÿòíûé
ïî êîìôîðòíîñòè
òåïëîâûõ óñëîâèé
äëÿ ÷åëîâåêà, ÷åì
õîëîäíûé. Îäíàêî
çäàíèÿ, îñîáåííî
ðàñïîëîæåííûå
â þæíûõ ðàéîíàõ,
â æàðêèå ëåòíèå
ìåñÿöû ïîäâåðãàþòñÿ
çíà÷èòåëüíîìó
ïåðåãðåâó. Â ðåçóëüòàòå
ñîçäàþòñÿ ðåçêî
äèñêîìôîðòíûå
òåïëîâûå óñëîâèÿ
â çàêðûòûõ ïîìåùåíèÿõ
è, â ñâÿçè ñ ýòèì,
áîëüøàÿ íàïðÿæåííîñòü
ñèñòåìû òåðìîðåãóëÿöèè
îðãàíèçìà ÷åëîâåêà.
 ýòîò ïåðèîä
ãîäà îãðàæäåíèÿ
ñ âíåøíåé ñòîðîíû
èíòåíñèâíî îáëó÷àþòñÿ
ñîëíöåì è îìûâàþòñÿ
íàãðåòûì íàðóæíûì
âîçäóõîì, îíè
äîëæíû çàùèòèòü
ïîìåùåíèÿ îò
áîëüøèõ ïîñòóïëåíèé
òåïëà è ñèëüíîãî
ïåðåãðåâà â äíåâíûå
÷àñû.  ëåòíèé
ïåðèîä îïðåäåëÿþùóþ
ðîëü â ðåæèìå çäàíèé
èãðàþò òåïëîïîñòóïëåíèÿ
îò ñîëíå÷íîé
ðàäèàöèè. Ñóòî÷íàÿ
åå ïåðèîäè÷íîñòü
ÿâëÿåòñÿ ïðè÷èíîé
òèïè÷íîãî äëÿ
ëåòíåãî ðåæèìà
íåñòàöèîíàðíîãî
õàðàêòåðà âñåõ
ïðîöåññîâ òåïëîîáìåíà.
 òî æå
âðåìÿ òåïëîâîé
ðåæèì ïîìåùåíèé
äîëæåí îòâå÷àòü
îïðåäåëåííûì
òðåáîâàíèÿì,
äëÿ óäîâëåòâîðåíèÿ
êîòîðûõ èñïîëüçóþò
ñðåäñòâà òåïëî-
è ñîëíöåçàùèòû
çäàíèé â âèäå
òåïëîóñòîé÷èâûõ,
îðîøàåìûõ âîäîé
è âåíòèëèðóåìûõ
îãðàæäåíèé, çàòåíÿþùèõ
óñòðîéñòâ ñîëíöåçàùèòíûõ
ñòåêîë è äð.
Êîëåáàíèÿ
òåìïåðàòóðû íàðóæíîãî
âîçäóõà âíóòðåííåé
ïîâåðõíîñòè
è âîçäóõó ïîìåùåíèÿ
ïåðåäàþòñÿ ÷åðåç
ðàçëè÷íûå îãðàæäåíèÿ
ñ ðàçíîé ñêîðîñòüþ.
Ýòî îáóñëîâëåíî
òåïëîóñòîé÷èâîñòüþ
îãðàæäåíèé. Òåïëîóñòîé÷èâîñòü
- ñâîéñòâî îãðàæäåíèÿ
ñîõðàíÿòü îòíîñèòåëüíîå
ïîñòîÿíñòâî
òåìïåðàòóðû ïðè
êîëåáàíèÿõ âíåøíèõ
òåïëîâûõ âîçäåéñòâèé.
Öåëü äàííîãî
ðàñ÷åòà ñîñòîèò
â îïðåäåëåíèè
àìïëèòóäû êîëåáàíèé
òåìïåðàòóðû âíóòðåííåé
ïîâåðõíîñòè
îãðàæäåíèÿ ïîä
âîçäåéñòâèåì
èçìåíÿþùèõñÿ
â òåïëûé ïåðèîä
ãîäà ïàðàìåòðîâ
êëèìàòà.
) Â ðàéîíàõ
ñî ñðåäíåìåñÿ÷íîé
òåìïåðàòóðîé
èþëÿ 21°Ñ
è âûøå àìïëèòóäà
êîëåáàíèé òåìïåðàòóðû
âíóòðåííåé ïîâåðõíîñòè
îãðàæäàþùèõ
êîíñòðóêöèé
(íàðóæíûõ ñòåí
ñ òåïëîâîé èíåðöèåé
ìåíåå 4 è ïîêðûòèé
ìåíåå 5)
Àtâ çäàíèé
æèëûõ, áîëüíè÷íûõ
ó÷ðåæäåíèé (áîëüíèö,
êëèíèê, ñòàöèîíàðîâ
è ãîñïèòàëåé),
äèñïàíñåðîâ,
àìáóëàòîðíî-ïîëèêëèíè÷åñêèõ
ó÷ðåæäåíèé, ðîäèëüíûõ
äîìîâ, äîìîâ ðåáåíêà,
äîìîâ-èíòåðíàòîâ
äëÿ ïðåñòàðåëûõ
è èíâàëèäîâ, äåòñêèõ
ñàäîâ, ÿñëåé, ÿñëåé-ñàäîâ
(êîìáèíàòîâ) è
äåòñêèõ äîìîâ,
à òàêæå ïðîèçâîäñòâåííûõ
çäàíèé, â êîòîðûõ
äîëæíû ñîáëþäàòüñÿ
îïòèìàëüíûå
íîðìû òåìïåðàòóðû
è îòíîñèòåëüíîé
âëàæíîñòè âîçäóõà
â ðàáî÷åé çîíå
èëè ïî óñëîâèÿì
òåõíîëîãèè äîëæíû
ïîääåðæèâàòüñÿ
ïîñòîÿííûìè
òåìïåðàòóðà è
îòíîñèòåëüíàÿ
âëàæíîñòü âîçäóõà,
íå äîëæíà áûòü
áîëåå òðåáóåìîé
àìïëèòóäû, Àτâòð, °Ñ, îïðåäåëÿåìîé
ïî ôîðìóëå:
,
ãäå tí - ñðåäíåìåñÿ÷íàÿ
òåìïåðàòóðà íàðóæíîãî
âîçäóõà çà èþëü,
°Ñ, ïðèíèìàåìàÿ
ñîãëàñíî [òàáë.
2, 2], ðàâíà 28,9.
Äàííàÿ
ôîðìóëà ïðèìåíèìà
äëÿ íàñåëåííûõ
ïóíêòîâ ñî ñðåäíåé
òåìïåðàòóðîé
íàðóæíîãî âîçäóõà
çà èþëü ìåñÿö
áîëüøå 21˚Ñ. Äëÿ
âñåõ îñòàëüíûõ
ïóíêòîâ Àτâòð=2,5°Ñ.
) Àìïëèòóäó
êîëåáàíèé òåìïåðàòóðû
âíóòðåííåé ïîâåðõíîñòè
îãðàæäàþùèõ
êîíñòðóêöèé
Àτâ, °Ñ, îïðåäåëÿþò
ïî ôîðìóëå:
,
ãäå Àtíðàñ÷ - ðàñ÷åòíàÿ
àìïëèòóäà êîëåáàíèé
òåìïåðàòóðû íàðóæíîãî
âîçäóõà, °Ñ, îïðåäåëÿåìàÿ
ïî ôîðìóëå:
,
ãäå Àtí - ìàêñèìàëüíàÿ
àìïëèòóäà ñóòî÷íûõ
êîëåáàíèé òåìïåðàòóðû
íàðóæíîãî âîçäóõà
â èþëå, °Ñ,
ïðèíèìàåìàÿ
ñîãëàñíî [òàáë.2,
2], ðàâíà 14,2;
r
- êîýôôèöèåíò
ïîãëîùåíèÿ ñîëíå÷íîé
ðàäèàöèè ìàòåðèàëîì
íàðóæíîé ïîâåðõíîñòè
îãðàæäàþùåé
êîíñòðóêöèè
[ïðèë.7, 1], ðàâåí 0,7;
Imax-Iñð -ðàçíîñòü
ìàêñèìàëüíîãî
è ñðåäíåãî çíà÷åíèé
ñóììàðíîé ñîëíå÷íîé
ðàäèàöèè (ïðÿìîé
è ðàññåÿííîé),
Âò/ì2, ïðèíèìàåìûå
ñîãëàñíî [òàáë.
5, 2] äëÿ íàðóæíûõ
ñòåí - êàê äëÿ âåðòèêàëüíûõ
ïîâåðõíîñòåé
çàïàäíîé îðèåíòàöèè
è äëÿ ïîêðûòèé
- êàê äëÿ ãîðèçîíòàëüíîé
ïîâåðõíîñòè,
ðàâíà 506 ;
aí - êîýôôèöèåíò
òåïëîîòäà÷è
íàðóæíîé ïîâåðõíîñòè
îãðàæäàþùåé
êîíñòðóêöèè
ïî ëåòíèì óñëîâèÿì,
Âò/(ì2 °Ñ),
îïðåäåëÿåìûé
ïî ôîðìóëå:
,
ãäå υ - ìèíèìàëüíàÿ
èç ñðåäíèõ ñêîðîñòåé
âåòðà ïî ðóìáàì
çà èþëü, ïîâòîðÿåìîñòü
êîòîðûõ ñîñòàâëÿåò
16 % è áîëåå, ïðèíèìàåìàÿ
ñîãëàñíî [òàáë.
2, 2], íî íå ìåíåå 1 ì/ñ,
ðàâíà 1,6;
v - âåëè÷èíà
çàòóõàíèÿ ðàñ÷åòíîé
àìïëèòóäû êîëåáàíèé
òåìïåðàòóðû íàðóæíîãî
âîçäóõà Àtíðàñ÷ â îãðàæäàþùåé
êîíñòðóêöèè,
îïðåäåëÿåìàÿ
ïî ôîðìóëå:
,
ãäå D -òåïëîâàÿ
èíåðöèÿ îãðàæäàþùåé
êîíñòðóêöèè;
s1, s2, ..., sn - ðàñ÷åòíûå
êîýôôèöèåíòû
òåïëîóñâîåíèÿ
ìàòåðèàëà îòäåëüíûõ
ñëîåâ îãðàæäàþùåé
êîíñòðóêöèè,
Âò/ì2∙ °Ñ,
ïðèíèìàåìûå
ïî [ïðèë. 3*, 1];
y1, y2, ..., yn-1, yn - êîýôôèöèåíòû
òåïëîóñâîåíèÿ
íàðóæíîé ïîâåðõíîñòè
îòäåëüíûõ ñëîåâ
îãðàæäàþùåé
êîíñòðóêöèè,
Âò/(ì2 ∙°Ñ).
Êîýôôèöèåíò
òåïëîóñâîåíèÿ
íàðóæíîé ïîâåðõíîñòè
ñëîÿ y, Âò/(ì2
× °Ñ), ñ òåïëîâîé
èíåðöèåé D ³ 1 ñëåäóåò
ïðèíèìàòü ðàâíûì
ðàñ÷åòíîìó êîýôôèöèåíòó
òåïëîóñâîåíèÿ
s ìàòåðèàëà ýòîãî
ñëîÿ êîíñòðóêöèè.
Êîýôôèöèåíò
òåïëîóñâîåíèÿ
íàðóæíîé ïîâåðõíîñòè
ñëîÿ y ñ òåïëîâîé
èíåðöèåé D < 1 ñëåäóåò
îïðåäåëÿòü ðàñ÷åòîì,
íà÷èíàÿ ñ ïåðâîãî
ñëîÿ (ñ÷èòàÿ îò
âíóòðåííåé ïîâåðõíîñòè
îãðàæäàþùåé
êîíñòðóêöèè)
ñëåäóþùèì îáðàçîì:
à) äëÿ ïåðâîãî
ñëîÿ - ïî ôîðìóëå:
á) äëÿ i-ãî
ñëîÿ - ïî ôîðìóëå:
=
. ÒÅÏËÎÓÑÂÎÅÍÈÅ
ÏÎÂÅÐÕÍÎÑÒÈ
ÏÎËÎÂ
 ïîñëåäíåå
âðåìÿ â ñòðîèòåëüíîé
òåïëîôèçèêå
áîëüøîå âíèìàíèå
óäåëÿåòñÿ íîðìèðîâàíèþ,
òåïëîôèçè÷åñêèì
ðàñ÷åòàì è ïðîåêòèðîâàíèþ
ïîëîâ. Ýòî ñâÿçàíî
ñ âíåäðåíèåì
â ïðàêòèêó ñòðîèòåëüñòâà
íîâûõ âèäîâ ìàòåðèàëîâ
äëÿ êîíñòðóêöèè
ïîëîâ. Ïîë êàê êîíñòðóêòèâíûé
ýëåìåíò çäàíèÿ
âûïîëíÿåò íåñóùèå
è îãðàæäàþùèå
ôóíêöèè. Ïîýòîìó
ê íåìó ïðåäúÿâëÿþòñÿ
äîïîëíèòåëüíûå
òðåáîâàíèÿ, ñâÿçàííûå
ñ êîíòàêòíûì
òåïëîîáìåíîì
ìåæäó êîíñòðóêöèÿìè
ïîëà è îáúåêòàìè,
íàõîäÿùèìèñÿ
â ïîìåùåíèè. Òàê
êàê ïðîäîëæèòåëüíîñòü
êîíòàêòà ó÷àñòêîâ
òåëà ÷åëîâåêà
ñ ïîëîì íåçíà÷èòåëüíû
ïî âðåìåíè, ïðîöåññû
ïåðåäà÷è òåïëà
ðàññìàòðèâàþòñÿ
â íåñòàöèîíàðíîé
ïîñòàíîâêå.
Ïðè êîíòàêòå
íîã ÷åëîâåêà
ñ ïîâåðõíîñòüþ
ïîëà ïðîèñõîäèò
ïåðåäà÷à òåïëîâîé
ýíåðãèè. Âî èçáåæàíèå
ïåðåîõëàæäåíèÿ
íîã êîëè÷åñòâî
òåïëà, ïîãëîùàåìîãî
ïîëîì äîëæíî ñîîòâåòñòâîâàòü
ïðèòîêó òåïëà
ê íîãàì ïðè ðàáîòå
ñèñòåìû òåðìîðåãóëÿöèè
îðãàíèçìà. Âî
âñåõ ñëó÷àÿõ
îõëàæäåíèå ïîâåðõíîñòè
íîã íå äîëæíî
áûòü íèæå òåìïåðàòóð,
äîïóñêàåìûõ
ãèãèåíè÷åñêèìè
íîðìàìè. Íàïðèìåð,
ïðè êîíòàêòå
áîñîé íîãè ñ
ïîëîì òåìïåðàòóðà
êîæè â òå÷åíèå
äâóõ ìèíóò íå
äîëæíà îïóñêàòüñÿ
íèæå 27 °Ñ.
Òåïëîîáìåí
ìåæäó íîãîé è
ïîëîì îïðåäåëÿåòñÿ
âåëè÷èíîé òåïëîâîé
àêòèâíîñòè ìàòåðèàëà
ïîëà, õàðàêòåðèçóåìîé
êîýôôèöèåíòàìè
òåïëîóñâîåíèÿ.
Ïðè òåïëîòåõíè÷åñêèõ
ðàñ÷åòàõ ïîëîâ
äëÿ õàðàêòåðèñòèêè
òåïëîâîé àêòèâíîñòè
èñïîëüçóåòñÿ
ïîêàçàòåëü òåïëîóñâîåíèÿ
ïîâåðõíîñòè
ïîëà. Îí ïîêàçûâàåò,
êàêîå êîëè÷åñòâî
òåïëîâîé ýíåðãèè
ïîãëîùàåòñÿ
åäèíèöåé ïîâåðõíîñòè
ïîëà çà åäèíèöó
âðåìåíè ïðè ðàçíîñòè
òåìïåðàòóð ïîëà
è íîãè â îäèí ãðàäóñ.
Ïîâåðõíîñòü
ïîëà æèëûõ è îáùåñòâåííûõ
çäàíèé, âñïîìîãàòåëüíûõ
çäàíèé è ïîìåùåíèé
ïðîìûøëåííûõ
ïðåäïðèÿòèé è
îòàïëèâàåìûõ
ïîìåùåíèé ïðîèçâîäñòâåííûõ
çäàíèé (íà ó÷àñòêàõ
ñ ïîñòîÿííûìè
ðàáî÷èìè ìåñòàìè)
äîëæíà èìåòü
ïîêàçàòåëü òåïëîóñâîåíèÿ
Yn, Âò/(ì2×°Ñ),
íå áîëåå íîðìàòèâíîé
âåëè÷èíû, óñòàíîâëåííîé
[òàáë. 11*, 1].
Ïîêàçàòåëü
òåïëîóñâîåíèÿ
ïîâåðõíîñòè
ïîëà Yn,
ì2×°Ñ, îïðåäåëÿþò
ñëåäóþùèì îáðàçîì:
. ÂÎÇÄÓØÍÛÉ
ÐÅÆÈÌ ÝÊÑÏËÓÀÒÀÖÈÈ
ÍÀÐÓÆÍÛÕ ÎÃÐÀÆÄÅÍÈÉ
Âîçäóøíûì
ðåæèìîì çäàíèÿ
íàçûâàþò îáùèé
ïðîöåññ îáìåíà
âîçäóõîì ìåæäó
ïîìåùåíèÿìè
è íàðóæíûì âîçäóõîì,
êîòîðûé ïðîèñõîäèò
ïîä äåéñòâèåì
åñòåñòâåííûõ
ñèë è ðàáîòû èñêóññòâåííûõ
ïîáóäèòåëåé
äâèæåíèÿ âîçäóõà.
Íàðóæíûé âîçäóõ
ïîñòóïàåò â ïîìåùåíèÿ
÷åðåç ïðîíèöàåìûå
îãðàæäåíèÿ è
ïî êàíàëàì ïðèòî÷íûõ
âåíòèëÿöèîííûõ
ñèñòåì. Âíóòðè
çäàíèÿ âîçäóõ
ìîæåò îáìåíèâàòüñÿ
ìåæäó ïîìåùåíèÿìè
÷åðåç äâåðè è íåïëîòíîñòè
âî âíóòðåííèõ
êîíñòðóêöèÿõ.
Ñâîéñòâî
îãðàæäåíèÿ èëè
ìàòåðèàëà ïðîïóñêàòü
÷åðåç ñåáÿ âîçäóõ
íàçûâàåòñÿ âîçäóõîïðîíèöàåìîñòüþ.
Åñëè îãðàæäåíèå
âîçäóõîïðîíèöàåìî,
òî ïðè íàëè÷èè
ðàçíîñòè äàâëåíèé
âîçäóõà ∆ð, Ïà,
ñ îäíîé è äðóãîé
ñòîðîí îãðàæäåíèÿ
÷åðåç íåãî áóäåò
ïðîíèêàòü âîçäóõ.
Ýòî ÿâëåíèå íàçûâàåòñÿ
ôèëüòðàöèåé. Ôèëüòðàöèþ
íàðóæíîãî âîçäóõà
â ïîìåùåíèå íàçûâàþò
èíôèëüòðàöèåé,
à âíóòðåííåãî
âîçäóõà èç ïîìåùåíèÿ
- ýêñôèëüòðàöèåé.
Ïîëîæåíèå çîí
èíôèëüòðàöèè
è ýêñôèëüòðàöèè
â çäàíèè çàâèñèò
îò ãåîìåòðèè,
êîíñòðóêòèâíûõ
îñîáåííîñòåé,
ðåæèìà âåíòèëèðîâàíèÿ
çäàíèÿ, à òàêæå
îò âðåìåíè ãîäà
è êëèìàòà.
Èíòåíñèâíîñòü
ôèëüòðàöèè (ðàñõîä
âîçäóõà ÷åðåç
îãðàæäåíèå) çàâèñèò
îò âîçäóõîïðîíèöàåìîñòè
îãðàæäåíèÿ è
âåëè÷èíà ðàçíîñòè
äàâëåíèé ìîæåò
âîçíèêíóòü â
äâóõ ñëó÷àÿõ:
1) ïîä âëèÿíèåì
ðàçíîñòè òåìïåðàòóð
âîçäóõà ñ îäíîé
è äðóãîé ñòîðîí
îãðàæäåíèÿ (ãðàâèòàöèîííîå
äàâëåíèå); 2) ïîä
âëèÿíèåì âåòðà
ïðè ðàâåíñòâå
òåìïåðàòóð (âåòðîâîå
äàâëåíèå).
Èíôèëüòðàöèÿ
íàðóæíîãî âîçäóõà
ïðèâîäèò ê äîïîëíèòåëüíûì
çàòðàòàì òåïëà
íà åãî ïîäîãðåâ.
Ýêñôèëüòðàöèÿ
âíóòðåííåãî
âîçäóõà óâëàæíÿåò
îãðàæäåíèÿ è
ñíèæàåò èõ òåïëîçàùèòíûå
êà÷åñòâà. Ìåæäó
ôèëüòðóþùèì
âîçäóõîì è îãðàæäåíèåì
ïðîèñõîäèò òåïëîîáìåí,
êîòîðûé ñïåöèôè÷åí
äëÿ êàæäîãî âèäà
êîíñòðóêöèé
(ìàññèâ îãðàæäåíèÿ,
ñòûê ïàíåëåé,
îêíà, âîçäóøíûå
ïðîñëîéêè è ò.ä.).
5.1 Îïðåäåëåíèå
ñîïðîòèâëåíèÿ
âîçäóõîïðîíèöàíèþ
îãðàæäàþùåé
êîíñòðóêöèè
Âîçäóõîïðîíèöàåìîñòü
îöåíèâàåòñÿ
ñîïðîòèâëåíèåì
âîçäóõîïðîíèöàíèþ.
) Ñîïðîòèâëåíèå
âîçäóõîïðîíèöàíèþ
îãðàæäàþùèõ
êîíñòðóêöèé,
çà èñêëþ÷åíèåì
çàïîëíåíèé ñâåòîâûõ
ïðîåìîâ (îêîí,
áàëêîííûõ äâåðåé
è ôîíàðåé), çäàíèé
è ñîîðóæåíèé
Rè äîëæíî
áûòü íå ìåíåå
òðåáóåìîãî ñîïðîòèâëåíèÿ
âîçäóõîïðîíèöàíèþ
Rèòð, ì2∙÷∙Ïà/êã,
îïðåäåëÿåìîãî
ïî ôîðìóëå:
,
ãäå Dp - ðàçíîñòü
äàâëåíèé âîçäóõà
íà íàðóæíîé è
âíóòðåííåé ïîâåðõíîñòÿõ
îãðàæäàþùèõ
êîíñòðóêöèé,
Ïà, îïðåäåëÿåìàÿ
ñëåäóþùèì îáðàçîì:
,
ãäå Í - âûñîòà
çäàíèÿ (îò ïîâåðõíîñòè
çåìëè äî âåðõà
êàðíèçà), ì, ðàâíà
10,95;
gí, gâ - óäåëüíûé
âåñ ñîîòâåòñòâåííî
íàðóæíîãî è âíóòðåííåãî
âîçäóõà, Í/ì3,
îïðåäåëÿåìûé
ïî ôîðìóëå:
çäåñü t - òåìïåðàòóðà
âîçäóõà: âíóòðåííåãî
(äëÿ îïðåäåëåíèÿ
gâ), íàðóæíîãî
(äëÿ îïðåäåëåíèÿ
gí), ðàâíà
+18 è -36 ñîîòâåòñòâåííî;
υ - ìàêñèìàëüíàÿ
èç ñðåäíèõ ñêîðîñòåé
âåòðà ïî ðóìáàì
çà ÿíâàðü, ïîâòîðÿåìîñòü
êîòîðûõ ñîñòàâëÿåò
16 % è áîëåå, ïðèíèìàåìàÿ
ñîãëàñíî [òàáë.
1, 2]; äëÿ òèïîâûõ ïðîåêòîâ
ñêîðîñòü âåòðà
υ ñëåäóåò
ïðèíèìàòü ðàâíîé
5 ì/ñ, à â êëèìàòè÷åñêèõ
ïîäðàéîíàõ 1Á
è 1Ã - 8 ì/ñ, ðàâíà
6,6;
Gí - íîðìàòèâíàÿ
âîçäóõîïðîíèöàåìîñòü
îãðàæäàþùèõ
êîíñòðóêöèé,
êã/(ì2×÷), ïðèíèìàåìàÿ
â ñîîòâåòñòâèè
ñ [1, òàáë. 12*], ðàâíà
0,5.
) Ñîïðîòèâëåíèå
âîçäóõîïðîíèöàíèþ
ìíîãîñëîéíîé
îãðàæäàþùåé
êîíñòðóêöèè
Rè, ì2∙
÷ ∙Ïà/êã, îïðåäåëÿþò
ïî ôîðìóëå:
=39988 ì2∙ ÷
∙Ïà/êã
ãäå Rè1, Rè2, Rè3, Rè4, Rè5 - ñîïðîòèâëåíèÿ
âîçäóõîïðîíèöàíèþ
îòäåëüíûõ ñëîåâ
îãðàæäàþùåé
êîíñòðóêöèè,
ì2∙ ÷ ∙Ïà/êã, ïðèíèìàåìûå
ïî [ïðèë. 9*, 1].
Rè1=373 ì2∙
÷ ∙Ïà/êã
Rè2=19620 ì2∙
÷ ∙Ïà/êã
Rè3=2 ì2∙
÷ ∙Ïà/êã
Rè4=19620 ì2∙
÷ ∙Ïà/êã
Rè5=373 ì2∙
÷ ∙Ïà/êã
5.2 Îïðåäåëåíèå
ñîïðîòèâëåíèÿ
âîçäóõîïðîíèöàíèþ
îêîí è áàëêîííûõ
äâåðåé
Ñîïðîòèâëåíèå
âîçäóõîïðîíèöàíèþ
îêîí è áàëêîííûõ
äâåðåé æèëûõ è
îáùåñòâåííûõ
çäàíèé, à òàêæå
îêîí è ôîíàðåé
ïðîèçâîäñòâåííûõ
çäàíèé Rè äîëæíî
áûòü íå ìåíåå
òðåáóåìîãî ñîïðîòèâëåíèÿ
âîçäóõîïðîíèöàíèþ
Rèòð, ì2
∙÷/êã, îïðåäåëÿåìîãî
ïî ôîðìóëå:
,
Gí -íîðìàòèâíàÿ
âîçäóõîïðîíèöàåìîñòü
îãðàæäàþùèõ
êîíñòðóêöèé,
êã/(ì2×÷), ïðèíèìàåìàÿ
ïî [1, òàáë. 12*], ðàâíà
5;
Dð
- ðàçíîñòü äàâëåíèé
âîçäóõà íà íàðóæíîé
è âíóòðåííåé
ïîâåðõíîñòÿõ
îãðàæäàþùèõ
êîíñòðóêöèé,
ðàâíà 10,43Ïà;
Dðî
= 10 Ïà - ðàçíîñòü
äàâëåíèÿ âîçäóõà,
ïðè êîòîðîé îïðåäåëÿåòñÿ
ñîïðîòèâëåíèå
âîçäóõîïðîíèöàíèþ
Rè.
. ÂËÀÆÍÎÑÒÍÛÉ
ÐÅÆÈÌ ÍÀÐÓÆÍÛÕ
ÎÃÐÀÆÄÅÍÈÉ
Âëàæíîñòíûé
ðåæèì îãðàæäåíèé
ñóùåñòâåííî
âëèÿåò íà èõ òåïëîôèçè÷åñêèå
êà÷åñòâà. Óâëàæíåííûå
ìàòåðèàëû èìåþò
áåëåå âûñîêèå
êîýôôèöèåíòû
òåïëîïðîâîäíîñòè.
Ïîâûøåííàÿ âëàæíîñòü
îãðàæäåíèé íåïðèåìëåìà
è ñ ãèãèåíè÷åñêîé
òî÷êè çðåíèÿ,
òàê êàê ñîçäàåò
íåáëàãîïðèÿòíûå
óñëîâèÿ äëÿ ðàçâèòèÿ
â íèõ ïëåñåíè,
ãðèáîâ è äðóãèõ
áèîëîãè÷åñêèõ
ïðîöåññîâ è ñïîñîáñòâóåò
ïîâûøåíèþ âëàæíîñòè
âîçäóõà â ïîìåùåíèè.
Îò ñòåïåíè óâëàæíåíèÿ
êîíñòðóêöèé
çàâèñèò òàêæå
èõ äîëãîâå÷íîñòü
(ìîðîçîñòîéêîñòü,
ïðî÷íîñòü, êîððîçèåñòîéêîñòü
è ïð.).
Ïî ñïîñîáó
ïðîíèêíîâåíèÿ
â êîíñòðóêöèè
ðàçëè÷àþò âëàãó:
ñòðîèòåëüíóþ,
ãðóíòîâóþ, ìåòåîðîëîãè÷åñêóþ,
ýêñïëóàòàöèîííóþ,
ãèãðîñêîïè÷åñêóþ
(ñîðáöèîííóþ)
è êîíäåíñàöèîííóþ.
Íàèáîëüøóþ îïàñíîñòü
äëÿ îãðàæäåíèé
ïðåäñòàâëÿþò
ãèãðîñêîïè÷åñêîå
êîíäåíñàöèîííîå
óâëàæíåíèå. Ãèãðîñêîïè÷åñêîå
óâëàæíåíèå ïðîèñõîäèò
âñëåäñòâèå ñïîñîáíîñòè
ìàòåðèàëà ïîãëîùàòü
âëàãó èç âîçäóõà,
à êîíäåíñàöèîííîå
- ïðè êîíäåíñàöèè
âîäÿíûõ ïàðîâ
íà âíóòðåííåé
ïîâåðõíîñòè
îãðàæäåíèÿ èëè
â åãî òîëùå.
Âëàæíîñòü
âîçäóõà ìîæåò
áûòü îõàðàêòåðèçîâàíà
åãî àáñîëþòíîé
âëàæíîñòüþ, âûðàæàåìîé
êîëè÷åñòâîì
âëàãè â ãðàììàõ,
ñîäåðæàùåéñÿ
â 1 ì3 âîçäóõà. Îäíàêî,
äëÿ ðàñ÷åòîâ, ñâÿçàííûõ
ñ êîíäåíñàöèåé
âëàãè, óäîáíåå
ïîëüçîâàòüñÿ
âåëè÷èíîé ïàðöèàëüíîãî
äàâëåíèÿ âîäÿíîãî
ïàðà, íàçûâàåìîé
óïðóãîñòüþ âîäÿíîãî
ïàðà å è èçìåðÿåìîé
â ïàñêàëÿõ. ×åì
áîëüøå àáñîëþòíàÿ
âëàæíîñòü âîçäóõà,
òåì áîëüøå è óïðóãîñòü
âîäÿíîãî ïàðà.
 âîçäóõå ïðè
êàæäîé êîíêðåòíîé
òåìïåðàòóðå ìîæåò
ñîäåðæàòüñÿ îïðåäåëåííîå
ìàêñèìàëüíî
âîçìîæíîå êîëè÷åñòâî
âëàãè. Ýòîìó ïðåäåëüíîìó
çíà÷åíèþ ñîîòâåòñòâóåò
ìàêñèìàëüíàÿ
óïðóãîñòü âîäÿíîãî
ïàðà Å, Ïà. Âåëè÷èíà
Å çàâèñèò îò
òåìïåðàòóðû âîçäóõà:
÷åì âûøå òåìïåðàòóðà,
òåì áîëüøå çíà÷åíèå
Å, ò.å. òåì áîëüøåå
ïðåäåëüíîå êîëè÷åñòâî
âëàãè ìîæåò ñîäåðæàòüñÿ
â âîçäóõå.
Äåéñòâèòåëüíàÿ
óïðóãîñòü âîäÿíîãî
ïàðà å íå äàåò
ïðåäñòàâëåíèÿ
î ñòåïåíè íàñûùåíèÿ
âîçäóõà âëàãîé.
Äëÿ ýòîãî åå íóæíî
ñðàâíèâàòü ñ
ìàêñèìàëüíîé
óïðóãîñòüþ âîäÿíîãî
ïàðà Å ïðè äàííîé
òåìïåðàòóðå èññëåäîâàíèÿ.
 ïðàêòèêå îöåíêè
ñòåïåíè íàñûùåíèÿ
âîçäóõà âëàãîé
èñïîëüçóåòñÿ
îòíîñèòåëüíàÿ
âëàæíîñòü âîçäóõà
ϕ, âûðàæåííàÿ
â ïðîöåíòàõ îòíîøåíèåì
äåéñòâèòåëüíîé
óïðóãîñòè âîäÿíîãî
ïàðà å ê ìàêñèìàëüíîé
óïðóãîñòè åãî
Å ïðè êîíêðåòíîé
òåìïåðàòóðå ïîìåùåíèÿ.
Åñëè òåìïåðàòóðà
âîçäóõà ñ äàííîé
âëàæíîñòüþ ïîâûñèòñÿ,
òî åãî îòíîñèòåëüíàÿ
âëàæíîñòü ïîíèçèòñÿ,
òàê êàê âåëè÷èíà
óïðóãîñòè âîäÿíîãî
ïàðà å îñòàíåòñÿ
áåç èçìåíåíèÿ,
à çíà÷åíèå ìàêñèìàëüíîé
óïðóãîñòè Å óâåëè÷èòñÿ
ñ ïîâûøåíèåì
òåìïåðàòóðû. Íàîáîðîò,
ïðè îõëàæäåíèè
âîçäóõà ïî ìåðå
ïîíèæåíèÿ òåìïåðàòóðû
îòíîñèòåëüíàÿ
âëàæíîñòü åãî
áóäåò óâåëè÷èâàòüñÿ
âñëåäñòâèå óìåíüøåíèÿ
âåëè÷èíû Å. Ïðè
òåìïåðàòóðå, êîãäà
Å ñòàíåò ðàâíîé
å îòíîñèòåëüíàÿ
âëàæíîñòü âîçäóõà
áóäåò ϕ = 100 %, ò.å. âîçäóõ
áóäåò ïðåäåëüíî
íàñûùåí âîäÿíûì
ïàðîì è ïðè äàëüíåéøåì
ïîíèæåíèè åãî
òåìïåðàòóðû íà÷íåòñÿ
êîíäåíñàöèÿ
âëàãè. Ýòà òåìïåðàòóðà
íàçûâàåòñÿ òåìïåðàòóðîé
òî÷êè ðîñû tð.
Îòñóòñòâèå
êîíäåíñàöèè
âëàãè íà âíóòðåííåé
ïîâåðõíîñòè
îãðàæäåíèÿ íå
äàåò ïîëíóþ ãàðàíòèþ
îòñóòñòâèÿ óâëàæíåíèÿ,
òàê êàê ïîñëåäíåå
ìîæåò ïðîèñõîäèòü
âñëåäñòâèå ñîðáöèè
è êîíäåíñàöèè
âîäÿíûõ ïàðîâ
â òîëùå îãðàæäåíèÿ.
 áîëüøèíñòâå
ñëó÷àåâ ýòî ÿâëÿåòñÿ
ãëàâíîé ïðè÷èíîé
ïîâûøåíèÿ âëàæíîñòè
ìàòåðèàëîâ. Ïðè
ðàçíîñòè ïàðöèàëüíûõ
äàâëåíèé âîäÿíûõ
ïàðîâ âíóòðåííåãî
è íàðóæíîãî âîçäóõà
â òîëùå îãðàæäåíèÿ
âîçíèêàåò ïîòîê
âîäÿíîãî ïàðà,
íàïðàâëåííûé
â ñòîðîíó ìåíüøåãî
äàâëåíèÿ. Ïî ìåðå
ïðîõîæäåíèÿ âëàæíîãî
âîçäóõà ÷åðåç
êîíñòðóêöèþ
óïðóãîñòü âîäÿíîãî
ïàðà ïàäàåò, íî
îäíîâðåìåííî
ñ ýòèì è ïîíèæàåòñÿ
åãî òåìïåðàòóðà,
÷òî ïðèâîäèò
â ðÿäå ñëó÷àåâ
ê îáðàçîâàíèþ
êîíäåíñàòà â
ìàòåðèàëå.
Îñíîâíûì
êîíñòðóêòèâíûì
ìåðîïðèÿòèåì
äëÿ îáåñïå÷åíèÿ
çàùèòû îò êîíäåíñàöèè
âëàãè âíóòðè
îãðàæäåíèÿ ÿâëÿåòñÿ
ðàöèîíàëüíîå
ðàñïîëîæåíèå
â îãðàæäåíèè
ñëîåâ ðàçëè÷íûõ
ìàòåðèàëîâ. Íåîáõîäèìî,
÷òîáû ñ âíóòðåííåé
ñòîðîíû ðàñïîëàãàëèñü
ïëîòíûå, òåïëîïðîâîäíûå
è ìàëîïðîíèöàåìûå
ìàòåðèàëû, à ñ
íàðóæíîé - ïîðèñòûå,
ìàëîòåïëîïðîâîäíûå.
 ýòîì ñëó÷àå
ïàäåíèå óïðóãîñòè
âîäÿíîãî ïàðà
áóäåò íàèáîëüøèì
â íà÷àëå îãðàæäåíèÿ,
à ïàäåíèå òåìïåðàòóðû,
íàîáîðîò, â êîíöå
îãðàæäåíèÿ. Ýòî
ïîçâîëèò ïðåäîõðàíèòü
êîíñòðóêöèþ
íå òîëüêî îò êîíäåíñàöèè
âëàãè, íî è îò
ñîðáöèîííîãî
óâëàæíåíèÿ. Åñëè
òàêîå ðàñïîëîæåíèå
ñëîåâ íåâîçìîæíî,
òî ñëåäóåò óñòðàèâàòü
ïàðîèçîëÿöèîííûå
ñëîè, ðàñïîëàãàÿ
èõ â êîíñòðóêöèè
äî çîíû êîíäåíñàöèè.
6.1 Îïðåäåëåíèå
ñîïðîòèâëåíèÿ
ïàðîïðîíèöàíèþ
îãðàæäàþùèõ
êîíñòðóêöèé
Ñâîéñòâî
ìàòåðèàëà ïðîïóñêàòü
âîäÿíûå ïàðû íàçûâàåòñÿ
ïàðîïðîíèöàåìîñòüþ.
Ïðîõîæäåíèå ïàðîâ
çàâèñèò îò ñîïðîòèâëåíèÿ
ìàòåðèàëîâ ïàðîïðîíèöàíèþ.
Ñîïðîòèâëåíèå
ïàðîïðîíèöàíèþ
Rï,
ì2∙÷∙Ïà/ìã, îãðàæäàþùåé
êîíñòðóêöèè
(â ïðåäåëàõ îò âíóòðåííåé
ïîâåðõíîñòè
äî ïëîñêîñòè
âîçìîæíîé êîíäåíñàöèè)
äîëæíî áûòü íå
ìåíåå íàèáîëüøåãî
èç ñëåäóþùèõ
òðåáóåìûõ ñîïðîòèâëåíèé
ïàðîïðîíèöàíèþ.
à) òðåáóåìîãî
ñîïðîòèâëåíèÿ
ïàðîïðîíèöàíèþ
Rï1òð
, ì2∙÷∙Ïà/ìã, èç
óñëîâèÿ íåäîïóñòèìîñòè
íàêîïëåíèÿ âëàãè
â îãðàæäàþùåé
êîíñòðóêöèè
çà ãîäîâîé ïåðèîä
ýêñïëóàòàöèè;
á) òðåáóåìîãî
ñîïðîòèâëåíèÿ
ïàðîïðîíèöàíèþ
Rï2òð,
ì2∙÷∙Ïà/ìã èç
óñëîâèÿ îãðàíè÷åíèÿ
âëàãè â îãðàæäàþùåé
êîíñòðóêöèè
çà ïåðèîä ñ îòðèöàòåëüíûìè
ñðåäíåìåñÿ÷íûìè
òåìïåðàòóðàìè
íàðóæíîãî âîçäóõà.
Ðàñ÷åò ïðîèçâîäÿò
ñëåäóþùèì îáðàçîì:
) Îïðåäåëÿþò
ïëîñêîñòü âîçìîæíîé
êîíäåíñàöèè.
Ïëîñêîñòü
âîçìîæíîé êîíäåíñàöèè
â îäíîðîäíîé îäíîñëîéíîé
îãðàæäàþùåé
êîíñòðóêöèè
ðàñïîëàãàåòñÿ
íà ðàññòîÿíèè
2/3 òîëùèíû êîíñòðóêöèè
îò å¸ âíóòðåííåé
ïîâåðõíîñòè,
à â ìíîãîñëîéíîé
êîíñòðóêöèè
ñîâïàäàåò ñ íàðóæíîé
ïîâåðõíîñòüþ
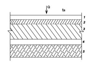
óòåïëèòåëÿ (ðèñ.1).
Ðèñ.1.Ïëîñêîñòü
âîçìîæíîé êîíäåíñàöèè
âëàãè äëÿ ìíîãîñëîéíîé
êîíñòðóêöèè
) Îïðåäåëÿþò
ñîïðîòèâëåíèå
ïàðîïðîíèöàíèþ
÷àñòè îãðàæäàþùåé
êîíñòðóêöèè,
ðàñïîëîæåííîé
ìåæäó âíóòðåííåé
ïîâåðõíîñòüþ
îãðàæäàþùåé
êîíñòðóêöèè
è ïëîñêîñòüþ
âîçìîæíîé êîíäåíñàöèè
ïî ôîðìóëå:
ãäå d - òîëùèíà
ñëîÿ îãðàæäàþùåé
êîíñòðóêöèè,
ì
;
m
- ðàñ÷åòíûé êîýôôèöèåíò
ïàðîïðîíèöàåìîñòè
ìàòåðèàëà ñëîÿ
îãðàæäàþùåé
êîíñòðóêöèè,
ìã/(ì∙ ÷∙ Ïà), ïðèíèìàåìûé
ïî [ïðèë 3*,1]
k - êîëè÷åñòâî
ñëîåâ îò âíóòðåííåé
ïîâåðõíîñòè
îãðàæäàþùåé
êîíñòðóêöèè
äî ïëîñêîñòè
âîçìîæíîé êîíäåíñàöèè,
ðàâåí 2.
) Íàõîäÿò
òðåáóåìîå ñîïðîòèâëåíèå
ïàðîïðîíèöàíèþ
èç óñëîâèÿ íåäîïóñòèìîñòè
íàêîïëåíèÿ âëàãè
â îãðàæäàþùåé
êîíñòðóêöèè
çà ãîäîâîé ïåðèîä
ýêñïëóàòàöèè
ïî ôîðìóëå:
,
ãäå åâ
- óïðóãîñòü âîäÿíîãî
ïàðà âíóòðåííåãî
âîçäóõà, Ïà, ïðè
ðàñ÷åòíîé òåìïåðàòóðå
è âëàæíîñòè ýòîãî
âîçäóõà
φ E=1341,6 Ïà;
Å -óïðóãîñòü
âîäÿíîãî ïàðà,
Ïà, â ïëîñêîñòè
âîçìîæíîé êîíäåíñàöèè
çà ãîäîâîé ïåðèîä
ýêñïëóàòàöèè,
îïðåäåëÿåìàÿ
ïî ôîðìóëå:
,
ãäå z1, z2, z3 - ïðîäîëæèòåëüíîñòü,
ìåñÿöåâ, çèìíåãî,
âåñåííå-îñåííåãî
è ëåòíåãî ïåðèîäîâ,
îïðåäåëÿåìàÿ
ñîãëàñíî [òàáë.
3, 2] ñ ó÷åòîì ñëåäóþùèõ
óñëîâèé:
à) ê çèìíåìó
ïåðèîäó îòíîñÿòñÿ
ìåñÿöû ñî ñðåäíèìè
òåìïåðàòóðàìè
íàðóæíîãî âîçäóõà
íèæå ìèíóñ 5 °Ñ;
á) ê âåñåííå-îñåííåìó
ïåðèîäó îòíîñÿòñÿ
ìåñÿöû ñî ñðåäíèìè
òåìïåðàòóðàìè
íàðóæíîãî âîçäóõà
îò ìèíóñ 5 äî ïëþñ
5 °Ñ;
â) ê ëåòíåìó
ïåðèîäó îòíîñÿòñÿ
ìåñÿöû ñî ñðåäíèìè
òåìïåðàòóðàìè
íàðóæíîãî âîçäóõà
âûøå ïëþñ 5 °Ñ;
,2,5 ìåñÿöåâ
ñîîòâåòñòâåííî;
E1, Å2,
Å3 - óïðóãîñòè
âîäÿíîãî ïàðà,
Ïà, ïðèíèìàåìûå
ïî òåìïåðàòóðå
â ïëîñêîñòè âîçìîæíîé
êîíäåíñàöèè,
îïðåäåëÿåìîé
ïðè ñðåäíåé òåìïåðàòóðå
íàðóæíîãî âîçäóõà
ñîîòâåòñòâåííî
çèìíåãî, âåñåííå-îñåííåãî
è ëåòíåãî ïåðèîäîâ
(ïðèëîæåíèå 4), 203,
748, 1829 Ïà ñîîòâåòñòâåííî;
Rï.í - ñîïðîòèâëåíèå
ïàðîïðîíèöàíèþ,
ì2 ∙÷ ∙Ïà/ìã, ÷àñòè
îãðàæäàþùåé
êîíñòðóêöèè,
ðàñïîëîæåííîé
ìåæäó íàðóæíîé
ïîâåðõíîñòüþ
îãðàæäàþùåé
êîíñòðóêöèè
è ïëîñêîñòüþ
âîçìîæíîé êîíäåíñàöèè,
îïðåäåëÿåìîå
ïî ôîðìóëå:
ãäå d - òîëùèíà
ñëîÿ îãðàæäàþùåé
êîíñòðóêöèè,
ì, 0,088;
m
- ðàñ÷åòíûé êîýôôèöèåíò
ïàðîïðîíèöàåìîñòè
ìàòåðèàëà ñëîÿ
îãðàæäàþùåé
êîíñòðóêöèè,
ìã/(ì∙ ÷∙ Ïà), 0,06;
åí - ñðåäíÿÿ
óïðóãîñòü âîäÿíîãî
ïàðà íàðóæíîãî
âîçäóõà, Ïà, çà
ãîäîâîé ïåðèîä,
634.
) Òðåáóåìîå
ñîïðîòèâëåíèå
ïàðîïðîíèöàíèþ
Rï2òð, ì2∙÷∙Ïà/ìã,
èç óñëîâèÿ îãðàíè÷åíèÿ
âëàãè â îãðàæäàþùåé
êîíñòðóêöèè
çà ïåðèîä ñ îòðèöàòåëüíûìè
ñðåäíåìåñÿ÷íûìè
òåìïåðàòóðàìè
íàðóæíîãî âîçäóõà
íàõîäÿò ïî ôîðìóëå:
,
ãäå zo - ïðîäîëæèòåëüíîñòü,
ñóòêàõ, ïåðèîäà
âëàãîíàêîïëåíèÿ,
ïðèíèìàåìîãî
ðàâíûì ïåðèîäó
ñ îòðèöàòåëüíûìè
ñðåäíåìåñÿ÷íûìè
òåìïåðàòóðàìè
íàðóæíîãî âîçäóõà,
ðàâíà 151;
Åî - óïðóãîñòü
âîäÿíîãî ïàðà,
Ïà, â ïëîñêîñòè
âîçìîæíîé êîíäåíñàöèè,
îïðåäåëÿåìàÿ
ïðè ñðåäíåé òåìïåðàòóðå
íàðóæíîãî âîçäóõà
ïåðèîäà ìåñÿöåâ
ñ îòðèöàòåëüíûìè
ñðåäíåìåñÿ÷íûìè
òåìïåðàòóðàìè,
ðàâíà 221;
ρw - ïëîòíîñòü
ìàòåðèàëà óâëàæíÿåìîãî
ñëîÿ, êã/ì3, ïðèíèìàåìàÿ
ðàâíîé ρî ñîãëàñíî
[ïðèë 3*, 1], ðàâíà 350;
dw - òîëùèíà
óâëàæíÿåìîãî
ñëîÿ îãðàæäàþùåé
êîíñòðóêöèè,
ì, ïðèíèìàåìàÿ
ðàâíîé 2/3 òîëùèíû
îäíîðîäíîé (îäíîñëîéíîé)
ñòåíû èëè òîëùèíå
òåïëîèçîëÿöèîííîãî
ñëîÿ (óòåïëèòåëÿ)
ìíîãîñëîéíîé
îãðàæäàþùåé
êîíñòðóêöèè,
ðàâíà 0,261ì;
Dwñð - ïðåäåëüíî
äîïóñòèìîå ïðèðàùåíèå
ðàñ÷åòíîãî ìàññîâîãî
îòíîøåíèÿ âëàãè
â ìàòåðèàëå (ïðèâåäåííîãî
â [ïðèë. 3*, 1]) óâëàæíÿåìîãî
ñëîÿ, %, çà ïåðèîä
âëàãîíàêîïëåíèÿ
zo, ïðèíèìàåìîå
ïî [òàáë. 14*, 1], ðàâíî
3% ;
h
- êîýôôèöèåíò,
îïðåäåëÿåìûé
ïî ôîðìóëå:
,
ãäå åí.î
- ñðåäíÿÿ óïðóãîñòü
âîäÿíîãî ïàðà
íàðóæíîãî âîçäóõà,
Ïà, ïåðèîäà ìåñÿöåâ
ñ îòðèöàòåëüíûìè
ñðåäíåìåñÿ÷íûìè
òåìïåðàòóðàìè,
îïðåäåëÿåìàÿ
ñîãëàñíî [ïðèë.3,
3], ðàâíà 230
Ïðåäóñìàòðèâàåòñÿ
åùå îäèí ñëîé.
6.2 Îïðåäåëåíèå
ñîïðîòèâëåíèÿ
ïàðîïðîíèöàíèþ
÷åðäà÷íîãî ïåðåêðûòèÿ
) Ñîïðîòèâëåíèå
ïàðîïðîíèöàíèþ
Rï,
ì2∙÷∙Ïà/ìã, ÷åðäà÷íîãî
ïåðåêðûòèÿ èëè
÷àñòè êîíñòðóêöèè
âåíòèëèðóåìîãî
ïîêðûòèÿ, ðàñïîëîæåííîé
ìåæäó âíóòðåííåé
ïîâåðõíîñòüþ
ïîêðûòèÿ è âîçäóøíîé
ïðîñëîéêîé, â çäàíèÿõ
ñî ñêàòàìè êðîâëè
øèðèíîé äî 24 ì äîëæíî
áûòü íå ìåíåå
òðåáóåìîãî ñîïðîòèâëåíèÿ
ïàðîïðîíèöàíèþ
Rïòð,
ì2 ∙÷ ∙Ïà/ìã, îïðåäåëÿåìîãî
ïî ôîðìóëå:
, ãäå
,
) Ïðè îïðåäåëåíèè
äåéñòâèòåëüíîãî
ñîïðîòèâëåíèÿ
ïàðîïðîíèöàíèþ
ó÷èòûâàþò [ïðèë.
11,1] .
, ãäå
Äåéñòâèòåëüíîå
ñîïðîòèâëåíèå
ïàðîïðîíèöàíèþ
áîëüøå òðåáóåìîãî
,÷òî ñîîòâåòñòâóåò
óñëîâèÿì ðàñ÷åòà.
Çàêëþ÷åíèå
 äàííîé
êóðñîâîé ðàáîòå
ÿ íàó÷èëàñü âûïîëíÿòü
òåïëîòåõíè÷åñêèé
ðàñ÷åò íàðóæíûõ
îãðàæäàþùèõ
êîíñòðóêöèé
çäàíèÿ. Îïðåäåëèëà
ðàñ÷åòíûå ñîïðîòèâëåíèÿ
òåïëîïåðåäà÷å,
îáùèå òîëùèíû
è êîýôôèöèåíòû
òåïëîïåðåäà÷è
êîíñòðóêöèé
íàðóæíûõ ñòåí,
÷åðäà÷íîãî ïåðåêðûòèÿ,
ïåðåêðûòèé íàä
íåîòàïëèâàåìûìè
ïîäâàëàìè è êîíñòðóêöèé
îêîí è áàëêîííûõ
äâåðåé. Òàêæå
â äàííîé ðàáîòå
ÿ ïðîèçâåëà ïðîâåðêó
êîíñòðóêöèé
ñòåíû íà îòñóòñòâèå
êîíäåíñàöèè
âëàãè. Ýòî íåîáõîäèìî
äëÿ òîãî, ÷òîáû
îïðåäåëèòü óñëîâèÿ
êîíäåíñàöèè
âëàãè â òîëùå
êîíñòðóêöèè
íàðóæíîé ñòåíû
è ïðàâèëüíî íàçíà÷èòü
ìåñòî ðàñïîëîæåíèÿ
ïàðîèçîëÿöèîííûõ
ñëîåâ. Â õîäå ýòîãî
ðàñ÷åòà âûÿñíèëîñü,
÷òî òåìïåðàòóðà
âíóòðåííåé ïîâåðõíîñòè
íàðóæíîãî óãëà
ìåíüøå òåìïåðàòóðû
òî÷êè ðîñû, ñîîòâåòñòâåííî
â óãëó áóäåò íàáëþäàòüñÿ
êîíäåíñàöèÿ
âëàãè. Äëÿ ïðåäîòâðàùåíèÿ
ýòîãî ÿ ïðåäóñìîòðåëà
ñêðóãëåíèå óãëà
ïî âíóòðåííåé
ñòîðîíå è óñòàíîâèëà
ñòîÿê îòîïëåíèÿ.
Áëàãîäàðÿ ýòèì
ìåðîïðèÿòèÿì
òåìïåðàòóðà óâåëè÷èëàñü
íà 25% è 6 ãðàäóñîâ
ïî Öåëüñèþ ñîîòâåòñòâåííî.
Çàòåì ÿ îïðåäåëèëà
ñîïðîòèâëåíèÿ
âîçäóõîïðîíèöàíèþ
è ïàðîïðîíèöàíèþ
îãðàæäàþùèõ
êîíñòðóêöèé.
Òàêèì îáðàçîì,
âñå ýòè òåïëîòåõíè÷åñêèå
ðàñ÷åòû ïîçâîëÿþò
ðåøàòü èíæåíåðíûå
çàäà÷è ïî ðàçðàáîòêå
ñèñòåìû îòîïëåíèÿ
â çäàíèè.
Ñïèñîê
èñïîëüçóåìîé
ëèòåðàòóðû
1. ÑÍèÏ
ÐÊ 2.04-03-2002. Ñòðîèòåëüíàÿ
òåïëîòåõíèêà/
Êîìèòåò ïî äåëàì
ñòðîèòåëüñòâà
Ìèíèñòåðñòâà
èíäóñòðèè è òîðãîâëè
Ðåñïóáëèêè Êàçàõñòàí.
Àñòàíà: «KAZGOR»,
2003. 54 ñ.
. ÑÍèÏ
ÐÊ 2.04-01-2001. Ñòðîèòåëüíàÿ
êëèìàòîëîãèÿ/
Êîìèòåò ïî äåëàì
ñòðîèòåëüñòâà
Ìèíèñòåðñòâà
èíäóñòðèè è òîðãîâëè
Ðåñïóáëèêè Êàçàõñòàí.
Àñòàíà: «KAZGOR»,
2001. 113 ñ.
. ÑÍèÏ
2.01.01 - 82. Ñòðîèòåëüíàÿ
êëèìàòîëîãèÿ
è ãåîôèçèêà /Ãîññòðîé
ÑÑÑÐ. Ì.: Ñòðîéèçäàò,
1983. 136 ñ.
. Ñïðàâî÷íèê
ïðîåêòèðîâùèêà:
âíóòðåííèå ñàíèòàðíî-òåõíè÷åñêèå
óñòðîéñòâà. ×.
1. Îòîïëåíèå / Ïîä.
ðåä. È.Ã. Ñòàðîâåðîâà.
4-åèçä., ïåðåðàá.
è äîï. Ì.: Ñòðîéèçäàò,
1990. 343 ñ.
. Ðóêîâîäñòâî
ïî òåïëîòåõíè÷åñêîìó
ðàñ÷åòó è ïðîåêòèðîâàíèþ
îãðàæäàþùèõ
êîíñòðóêöèé
çäàíèé/ ÍÈÈÑÔ.
Ì.:Ñòðîéèçäàò,
1985. 141 ñ.
. Ìåòîäè÷åñêèå
óêàçàíèÿ ê êóðñîâîé
ðàáîòå ïî ñòðîèòåëüíîé
òåïëîôèçèêå
«Òåïëîòåõíè÷åñêèé
ðàñ÷åò îãðàæäàþùèõ
êîíñòðóêöèé
çäàíèÿ»/ Ðûâêèíà
Í.Â.- Àñòàíà: ÅÍÓ
èì.Ë.Í.Ãóìèëåâà,
2014-46ñ
Ðàçìåùåíî
íà Allbest.ru