Местная теплоотдача при турбулентном движении воздуха в трубке
Министерство
образования Российской Федерации
Волжский
филиал Московского энергетического института
(Технического
университета)
Кафедра
промышленной теплоэнергетики
Лабораторная работа № 8
по курсу «
Тепломассообмен »
Местная
теплоотдача при турбулентном движении воздуха в трубке
Выполнил: Сафин Ф.Г.
Группа ТЭ-11В
Преподаватель: Шевцова С.Б.
Волжский 2014
1. Цель
работы
Ознакомление с методом определения местного коэффициента теплоотдачи при
течении теплоносителя в трубе. Провести измерение коэффициента теплоотдачи для
различных сечений трубы при различных скоростях движения воздуха. Определение
длины начального термического участка. Выявить влияние скорости движения
воздуха. Обработка опытных данных в критериальном виде.
2.
Назначение работы
Работа
посвящена изучению основных закономерностей теплоотдачи при турбулентном
движении воздуха в равномерно обогреваемой круглой трубе (
). Найти зависимость предельного числа Нуссельта от
числа Рейнольдса.
3.
Теоретические основы работы
Теория конвективного теплообмена рассматривает процессы переноса теплоты
в движущихся жидкостях и газах, течение жидкости может быть ламинарным и
турбулентным. О режиме течения судят по значению числа Рейнольдса.
(1)
Развитое
турбулентное течение в трубах устанавливается при
.
При
постоянных физических свойствах жидкости после заполнения устанавливается
постоянное распределение скорости, характерное для данного режима течения.
Расстояние,
отсчитываемое от входа до сечения, соответствующего слияния пограничного слоя,
называется длиной гидродинамического начального участка (участка
гидродинамической стабилизации). При
практически
с самого начала развивается турбулентный пограничный слой.
На
некотором расстоянии от входа, равном
,
тепловой пограничный слой заполняет все сечение трубы и вся жидкость участвует
в теплообмене.
- начальный тепловой участок, участок термической
стабилизации.
Длина
начального теплового участка (
) зависит
от большого количества факторов: от коэффициента теплопроводности, наличия
гидродинамической стабилизации, числа Рейнольдса, распределения температур на
входе и т. п.
Теория
показывает, что в случае
:
(2)
, а -
диаметр трубы.
В
каждом опыте надо определить несколько значений коэффициента теплоотдачи:
где
;(3)
-
напряжение, подаваемое на стенку трубы, В;
-
электрическое сопротивление трубки, Ом;
-
коэффициент тепловых потерь, Вт/К;
-
коэффициент перевода.
В
интервале температур (0ºС, 50ºС) для
термопар типа ХД термоЭДС практически линейно зависит от температуры, то есть
.
Средняя скорость воздуха определяется по формуле:
(4)
- расход
воздуха , кг/с;
-
среднемассовая температура воздуха на входе и выходе участка.
Уравнение подобия имеет вид:
(5)
где
.
Для
воздуха число Прандтля практически постоянно и зависимость предельного Nu от
Pr в данной работе получить невозможно.
Требуется
найти зависимость предельного
от Re,
которую можно представить в виде:
(6)
Задача
сводится к отысканию С и n.
4.
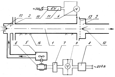
Описание установки
Опытный участок представляет собой тонкостенную трубу (1) из нержавеющей
стали с прикрепленными к ней с двух концов цилиндрическими камерами (2) и (3)
из органического стекла. Движение воздуха по трубе осуществляется газодувкой
центробежного типа (5), приводимой в движение электродвигателем (6) постоянного
тока. Электродвигатель через выпрямитель (7) и регулятор напряжения (8)
подключен к сети переменного тока. С помощью регулятора напряжения можно
изменять частоту вращения ротора электродвигателя, соответственно расход
воздуха.
Опытная трубка (1) при помощи токоведущих проводов подключена к
понижающему низковольтному трансформатору (10), первичная обмотка которого
через регулятор напряжения (11) соединена с сетью переменного тока 220 В. Во
время проведения опыта постенке трубки (1) протекает электрический ток, сила
которого может изменяться регулятором напряжения (8).
Схема
установки.
Напряжение на опытной трубке измеряется цифровым вольтметром (4).
В торцевых поверхностях входной и выходной камер опытного участка имеются
отверстия, в которых вставлены тонкие трубки с помещенными в них термопарами
(12). Подогрев воздуха в опытном участке измеряется дифференциальной
термопарой, горячий и холодный спаи которой расположены соответственно в
выходной и входной камерах.
Для
измерения температуры стенки опытной трубки в пяти точках ее боковой
поверхности приварены горячие спаи (14) хромелькопелевых термопар. Эти
термопары имеют общий холодный спай, помещенный во входную камеру. Таким
образом, измерение температуры стенки трубки и температуру на выходе из
опытного участка в данной работе проводится относительно температуры воздуха на
входе, то есть относительно комнатной температуры
, измеряемой ртутным термометром.
-
термоЭДС термопары «выход-вход» воздуха;
-
термоЭДС термопар на стенки трубки, измеряется цифровым вольтметром.
Координаты
горячих слоев термопар на стенке трубы
Таблица №1.
|
№ термоп.
|
0
|
1
|
2
|
3
|
4
|
5
|
6
|
|
Координата х, мм
|
0
|
75
|
150
|
225
|
300
|
375
|
450
=7,4 мм -
внутренний диаметр трубы;
=80 мм -
наружный диаметр трубы;
=450 мм -
длина рабочего участка;
=0,047 Ом
- электрическое сопротивление трубки;
=0,08 В/К
- коэффициент тепловых потерь;
=13,52 К/mВ - коэффициент перевода;
=75 мм -
расстояние между термопарами.
Протокол
измерений
|
№ п/п
|
UДВ, В
|
U, В
|
, mB , mB
|
|
|
|
|
|
|
1
|
2
|
3
|
4
|
5
|
|
|
1
|
|
0,7
|
0,41
|
|
|
|
|
0,91
|
16
|
|
2
|
|
0,7
|
0,41
|
|
|
|
|
0,85
|
16
|
|
3
|
|
0,7
|
0,41
|
|
|
|
|
0,79
|
16
|
|
4
|
|
0,7
|
0,41
|
|
|
|
|
0,73
|
16
|
|
5
|
|
0,7
|
0,41
|
|
|
|
|
0,67
|
16
|
6.
Обработка результатов измерений
По
табл. «Физические свойства воздуха» при давлении ,
находим следующие величины:
кг/м3
, Дж/кг·К , Вт/м·К , м^2/с.
Зададимся
расходои воздуха .
Определяем
тепловой поток: , где
Вт, Вт,
тогда
Вт.
(4)Определим местную
плотность теплового потока:
Вт/м2
.
(4)Определим
среднюю скорость движения воздуха:
м/с
.
(4)Определяем
число Рейнольдса:
(4)Определяем
длину начального теплового участка:
м,
.
7. Расчет
Ввиду того, что чувственно термоЭДС на входе и выходе из трубки и термо
ЭДС в пятом сечении, расчет ведем по формуле:
, где .
, где
,
, .
,
Определить
стабилизационную температуру в пяти опытах:
, ,
, .
,
, ,
, .
(1)Определяем
коэффициент теплоотдачи в каждом сечении:
.
 ,
, ,
, .
Построим
график зависимости .
(1)Определим
скорость движения воздуха по всходу в каждом опыте:
м/с
,
м/с
, м/с ,
м/с
, м/с .
теплоотдача труба термический воздух
(1)Определяем
число Рейнольдса для каждого опыта:
, ,
, ,
, .
(1)Определим
коэффициент теплоотдачи для каждого опыта:
,
, ,
.
(1)Определим:
, ,
, .
Построим
график зависимости .
(10)Определим
значения С и n:
.
(10)Определяем
абсолютную погрешность коэфициента теплоотдачи.
.
a)
.
,
,
, .
,
Определим и :
,
.
Пусть
,
Определим
и :
, так как , тогда:
.
Похожие работы на - Местная теплоотдача при турбулентном движении воздуха в трубке
|