Котельные и котельные установки

  • Вид работы:
    Реферат
  • Предмет:
    Физика
  • Язык:
    Русский
    ,
    Формат файла:
    MS Word
    1,17 Мб
  • Опубликовано:
    2015-07-20
Вы можете узнать стоимость помощи в написании студенческой работы.
Помощь в написании работы, которую точно примут!

Котельные и котельные установки

Министерство образования и науки РФ

Казанский Государственный Архитектурно-Строительный университет

Кафедра теплоэнергетики






Реферат

по дисциплине

Термодинамическая эффективность теплового оборудования

Котельные и котельные установки



Выполнила: ст.гр. 2ТГ303

Мельник А.Э.

Проверил: Чайковский В.Г.






Казань, 2015

Оглавление

Введение

Общие сведения и понятия

Классификация котельных установок

Проектирование зданий котельных       

Архитектурная компоновка

Конструкции котлов и топочных устройств, устанавливаемых в отопительно - производственных котельных

Заключение

Список литературы

Введение

Наиболее эффективными системами теплоснабжения являются централизованные системы теплоснабжения от ТЭЦ. Наряду с ТЭЦ при небольших тепловых нагрузках или при малой тепловой плотности застройки, или при вводе в строй отдельных потребителей тепла с расчетом на длительный период более рентабельным может оказаться теплоснабжение от районных или квартальных котельных. Наконец, при малоэтажной застройке или в поселках сельского типа без местных котельных пока обойтись нельзя.

При решении конкретных задач выбор источника теплоснабжения, теплоносителя и его параметров и всей системы теплоснабжения в целом должен обязательно подкрепляться технико-экономическими обоснованиями. Нередко решение этих вопросов может быть выполнено удовлетворительно лишь при сопоставлении различных вариантов и выявлении как капитальных затрат, так и эксплуатационных расходов.

Общие сведения и понятия

Котельная - комплекс зданий и сооружений с котельными установками и вспомогательным технологическим оборудованием, предназначенными для выработки тепловой энергии в целях теплоснабжения.

Котел - теплообменное устройство, в котором тепло от горячих продуктов горения топлива передается воде. В результате этого в паровых котлах вода превращается в пар, а в водогрейных котлах нагревается до требуемой температуры.

Топочное устройство служит для сжигания топлива и превращения его химической энергии в тепло нагретых газов.

Питательные устройства (насосы, инжекторы) предназначены для подачи воды в котел.

Тягодутьевое устройство состоит из дутьевых вентиляторов, системы газовоздуховодов, дымососов и дымовой трубы, с помощью которых обеспечиваются подача необходимого количества воздуха в топку и движение продуктов сгорания по газоходам котла, а также удаление их в атмосферу. Продукты сгорания, перемещаясь по газоходам и соприкасаясь с поверхностью нагрева, передают тепло воде.

Для обеспечения более экономичной работы современные котельные установки имеют вспомогательные элементы: водяной экономайзер и воздухоподогреватель, служащие соответственно для подогрева воды и воздуха; устройства для подачи топлива и удаления золы, для очистки дымовых газов и питательной воды; приборы теплового контроля и средства автоматизации, обеспечивающие нормальную и бесперебойную работу всех звеньев котельной.

Каждая котельная имеет свои особенности и, в частности, отличающиеся друг от друга режимы потребляемого тепла, что обязательно учитывают при проектировании.

Классификация котельных установок

. Котельные установки в зависимости от характера потребителей разделяются на энергетические, производственно-отопительные и отопительные. По виду вырабатываемого теплоносителя они делятся на паровые (для выработки пара) и водогрейные (для выработки горячей воды).

Энергетические котельные установки вырабатывают пар для паровых турбин на тепловых электростанциях. Такие котельные оборудуют, как правило, котлоагрегатами большой и средней мощности, которые вырабатывают пар повышенных параметров.

Производственно-отопительные котельные установки (обычно паровые) вырабатывают пар не только для производственных нужд, но и для целей отопления, вентиляции и горячего водоснабжения.

Отопительные котельные установки предназначены для обслуживания систем отопления производственных и жилых помещений.

. В зависимости от масштаба теплоснабжения отопительные котельные разделяются на местные (индивидуальные), групповые и районные.

Местные котельные обычно оборудуют водогрейными котлами с нагревом воды до температуры не более 115°С или паровыми котлами с рабочим давлением до 70 кПа. Такие котельные предназначены для снабжения теплом одного или нескольких зданий.

Групповые котельные установки обеспечивают теплом группы зданий, жилые кварталы или небольшие микрорайоны. Такие котельные оборудуют как паровыми, так и водогрейными котлами, как правило, большей теплопроизводительности, чем котлы для местных котельных. Эти котельные обычно размещают в специально сооруженных отдельных зданиях.

Районные отопительные котельные служат для теплоснабжения крупных жилых массивов: их оборудуют сравнительно мощными водогрейными или паровыми котлами.

. Котельные по надежности отпуска тепловой энергии потребителям (согласно СП 124.13330. 2012) подразделяются на котельные первой и второй категории.

К первой категории относятся:

котельные, являющиеся единственным источником тепловой энергии системы теплоснабжения;

котельные, обеспечивающие тепловой энергией потребителей первой и второй категории, не имеющих индивидуальных резервных источников тепловой энергии. Перечни потребителей по категориям устанавливаются в задании на проектирование.

Ко второй категории - остальные котельные.

. Котельные по целевому назначению в системе теплоснабжения подразделяются на:

центральные в системе централизованного теплоснабжения;

пиковые в системе централизованного и децентрализованного теплоснабжения на базе комбинированной выработки тепловой и электрической энергии;

автономные системы децентрализованного теплоснабжения.

. Котельные по роду вырабатываемого теплоносителя подразделяются на паровые и водогрейные.

Водогрейная котельная имеет один теплоноситель - воду в отличие от паровой котельной, у которой два теплоносителя - вода и пар. В связи с этим в паровой котельной необходимо иметь отдельные трубопроводы для пара и воды, а также баки для сбора конденсата. Однако это не значит, что схемы водогрейных котельных проще паровых. Водогрейная и паровая котельные по сложности устройства бывают различными в зависимости от вида используемого топлива, конструкции котлов, топок и т. п. В состав как паровой, так и водогрейной котельной установки обычно входят несколько котлоагрегатов, но не менее двух и не более четырех-пяти. Все они связываются между собой общими коммуникациями-трубопроводами, газопроводами и др.

Для обеспечения нормальной эксплуатации котельные с водогрейными котлами оборудуют необходимой арматурой, контрольно-измерительными приборами и средствами автоматизации.

Проектирование зданий котельных

В зависимости от рабочего давления паровых котлов и степени нагрева воды в водогрейных котлах котельные установки подразделяются на установки высокого и низкого давления. Согласно СП 89.13330.2012 «Котельные установки» котельные установки, работающие на воде, нагретой выше 115ºС, или при давлении пара в них более 0,07 МПа, выносят в отдельно стоящие помещения.

Котлы высокого давления под и над производственными помещениями или непосредственно в производственных помещениях, где технологические процессы неогнеопасны, устанавливают лишь в следующих случаях:

) если применяют прямоточные котлы паропроизводительностью до 4 т/ч каждый;

) если котел удовлетворяет условию:

(tн - 100)V≤100,

где tн - температура насыщенного пара при рабочем давлении;

V - водяной объем котла, м3;

) если применяют водогрейные котлы теплопроизводительностью до 2,5 Гкал/ час.

Нельзя устраивать в жилых м общественных зданиях встроенные котельные или пристраивать непосредственно к этим зданиям котельные, оборудованные котлами с давлением пара выше 0,07 МПа или с температурой выше 115 ºС.

В жилых и общественных зданиях встроенные котельные разрешается устанавливать лишь при установке паровых котлов, работающих при давлении р ≤ 0,07 МПа, и водогрейных котлов - при температуре воды не выше 115 ºС. При этом необходимо выполнять основные требования:

) максимальная теплопроизводительность этих котельных не должна превышать при работе на газообразном топливе 3 Гкал/ч; при сжигании твердого топлива с приведенными сернистостью до 0,5 % и зольностью до 2,5% - 1,5 Гкал/ч; при сжигании твердого топлива с приведенными сернистостью 0,5 - 1 % и зольностью - 10% - 0,8 Гкал/ч и, наконец, при сжигании твердого топлива с приведенными сернистостью более 1% и зольностью более 5% - 0,5 Гкал/ч;

) нельзя располагать эти котельные непосредственно под помещениями, где возможно значительное скопление людей.

При проектировании котельных независимо от расположения их под зданиями или отдельно от зданий необходимо предусмотреть слудующее:

) удобную, простую и экономичную транспортировку тепла к потребителям;

) устройство вблизи котельной складов для топлива и золы;

) применение наиболее целесообразной схемы топливоотдачи и золоудаления.

Кроме того, следует учитывать высоту стояния уровня грунтовых вод.

Отдельно стоящие котельные должны быть отделены от ближайших жилых и общественных зданий озелененными санитарно-защитными зонами. Минимальная протяженность санитарно-защитной зоны составляет 25 м и принимается для котельных, работающих на твердом топливе, с зольностью Ар ≤ 10% и при расходе топлива Вmax=3 т/ч.

При зольности топлива Ар = 30-45% и часовом расходе топлива В=20-25 т/ч протяженность санитарно-защитной зоны достигает 200 м. Для котельных, работающих на гае, санитарно-защитная зона установлена 15 м, а для котельных, работающих на жидком топливе, - 20 м.

Архитектурная компоновка

По характеру сооружения и компоновке оборудования котельные подразделяются на закрытые, полуоткрытые и открытые. Место постройки котельной влияет на выбор ее типа.

В котельных закрытого типа все оборудование расположено внутри здания. Такие котельные строят в районах с расчетной температурой наружного воздуха ниже - 30ºС и вне зависимости от района строительства, если котельные располагаются внутри жилого квартала.

В котельных полуоткрытого типа задняя стена располагается за экономайзерными поверхностями. Вне здания можно устанавливать дымососы, дутьевые вентиляторы, деаэраторы и другое оборудование, за которыми не надо постоянно следить. Котельные этого типа сооружают при расчетных температурах наружного воздуха от - 20 ºС до - 30ºС и при условии, что их размещают за пределами жилого массива.

В котельных открытого типа закрывают только фронтовую часть перед котлом, где обычно находится обслуживающий персонал; их сооружают в районах с расчетной температурой наружного воздуха выше - 20 ºС.

Компоновка и конструкции здания котельной, а также расположение оборудования должны обеспечивать возможность беспрепятственного расширения котельной:

. Здание котельной должно иметь одну свободную торцевую стену;

. Конструкции перекрытия котельной должны опираться на продольные стены здания.

Здания котельных, по возможности, выполняют одноэтажными и однопролетными с расположением вспомогательного оборудования в общем зале, не выделяя их в отдельные помещения. При сжигании твердого топлива при механизированных системах топливоотдачи и бункерных галереях можно сооружать многоэтажные и многопролетные здания. Расположение административных и бытовых помещений предусматривают внутри основного помещения котельной, со стороны ее постоянного торца. Чтобы использовать высоту основного помещения под помещения административного и бытового назначения, устраивают антресоли.

Для удаления зольных остатков котельную снабжают зольными помещениями, которые желательно располагать выше уровня земли. При выходе очаговых остатков не более 100 кг/ч или при механизированном шлакозолоудалении зольных помещений можно не устраивать.

Проходы между котлами, экономайзерами и стенами котельной ( кроме передней стены) делают не менее 1 м, а между отдельными выступающими частями - не менее 0,8 м. Для чугунных котлов указанные расстояния можно уменьшить до 0,7 м.

Рис. 1. Компоновка котельной закрытого типа с котлами ДКВР-10-13

при работе на каменных углях

Если обдувку и шуровку котлов и топок осуществляют не только с фронта, но и с боковых сторон обмуровки, то ширину прохода между котлами делают не менее 1,5 м для котлов паропроизводительностью до 4 т/ч и не менее 2 м для котлов паропроизводительностью более 4 т/ч. При установке котлов и экономайзеров близко к стенам колоннам котельного помещения обмуровка котлов и экономайзеров должна отстоять от стены или колонны по крайне мере на 70 мм.

Конструкции котлов и топочных устройств, устанавливаемых в отопительно - производственных котельных

В отопительно - производственных котельных установках применяют как чугунные, так и стальные котлы. Когда тепловые нагрузки невелики и не превышают на один котел 1 000 000 - 1 200 000 ккал/ч и сли при этом давление вырабатываемого пара и температура нагреваемой воды соответственно Р ≤ 0,7 атм и tк ≤ 115 ºС, то устанавливают чугунные котлы. а во всех остальных случаях - стальные котлы.

Чугунные котлы измеряются теплотехническим показателем - квадратным метром условной поверхности нагрева ( 1 м2 УПН). Квадратный метр условной поверхности нагрева чугунного секционного котла, которая при работе с ручными топками на сортированном антраците и тепловом напряжении зеркала горения, равном 500 000 ккал/м2, дает 10 000 ккал/ч тепла при значении коэффициента полезного действия не ниже 70%.

Чугунные секционные котлы предназначаются в основном для сжигания сортированного твердого топлива на колосниковых решетках с ручным обслуживанием. Эти котлы имеют два основных типа: малометражные котлы с внутренними топками для поквартирного отопления размером от 1 до 4 м2 УПН и котлы шатрового типа для установки во встроенных и отдельно стоящих отопительных котельных с УПН котлов от 7 до 156 м2.

Стальные котлы устанавливают в отопительных и отопительно-производственных котельных, когда чугунные котлы ни по своей мощности, ни по своему давлению не могут обеспечить потребителей тепла. Стальные котлы также подразделяются на водогрейные и паровые.

Если почти всякий паровой котел можно приспособить к работе в качестве водогрейного, то значительно сложнее приспособить водогрейный котел к работе в качестве парового. Применяемые в отопительно- производственных котельных паровые котлы - это главным образом котлы с естественной циркуляцией, т. е. барабанные котлы. Эти котлы состоят из систем труб и барабанов. Основные элементы в таких котлах - барабаны. Водогрейные же котлы в барабанах не нуждаются и конструируются только из труб, объединенных в пакеты или змеевики различной конфигурации. В системах теплоснабжения, в которых отсутствуют потребители пара, следует устанавливать водогрейные котлы.

Котлы ДКВР. Стационарные паровые котлы ДКВР (двухбарабанные котлы водотрубные реконструированные) разработаны ЦКТИ им. Ползунова совместно с Бийским котельным заводом. Котлы были разработаны в 40-х годах, а с 50-го года начался их поточно-серийный выпуск под маркой ДКВ. Впоследствии, в процессе изготовления и эксплуатации, эти котлы подверглись некоторым изменениям (сокращена длина топки, уменьшены шаги труб кипятильного пучка и т. п.) и с 1958 г. выпускаются под паркой ДКВР. Эти котлы предназначены не только для отопительно- производственных целей, но и при давлении 39 атм могут быть использованы в небольших энергетических установках.

Котлы типа ДКВР применяются при работе как на жидком, газообразном, так и на различных видах твердого топлива. Вид используемых топочных устройств вносит определенные коррективы в компоновочные решения. Для работы на газе применяются камерные топки. В них имеются комбинированные газомазутные горелки при встречном, угловом и фронтовом расположении с центральной и периферийной подачей газа в воздух и установкой по оси паромеханических форсунок.

Конструктивная схема котлов типа ДКВР паропроизводительностью 2,5, 4, 6,5,10 и 20 т/ч одинакова независимо от используемого топлива и применяемого топочного устройства (рис.2).

Перед котельным пучком котлов производительностью до 10 т/ч расположена топочная камера, которая для уменьшения потерь с уносом и химическим недожогом делится кирпичной шамотной перегородкой на две части: собственно топку и камеру догорания. Между первым и вторым рядами труб котельного пучка устанавливается шамотная перегородка,

Рис. 2. Парогенератор ДКВР-20-13: 1 - газомазутная горелка; 2 - боковые экраны; 3 - выносной циклон; 4 - короб взрывного предохранительного клапана; 5 - задний топочный блок; 6 - конвективная поверхность нагрева (конвективный блок); 7 - изоляция верхнего барабана; 8 - нижний барабан; 9 - задний экран.

отделяющая кипятильный пучок от камеры догорания. Таким образом, первый ряд труб котельного пучка - задний экран камеры догорания. Внутри котельного пучка чугунная перегородка делит его на первый и второй газоходы. Выход газов из камеры догорания и из котла асимметричен. При наличии пароперегревателя часть кипятильных труб не устанавливается, пароперегреватель размещается в первом газоходе после второго и третьего ряда кипятильных труб. Вода в трубы фронтовых экранов котлов производительностью до 10 т/ч поступает одновременно из верхнего и нижнего барабанов. В котлах с короткими верхними барабанами применено двухступенчатое испарение и установлены выносные циклоны.

Питание боковых экранов водой осуществляется из нижних коллекторов, куда вода поступает по опускным трубам из верхнего барабана и одновременно по соединительным трубам из нижнего барабана. Такая схема подвода воды в коллекторы повышает надежность работы котла при пониженном уровне воды и способствует уменьшению отложений шлама в верхнем барабане.

В котлах без пароперегревателей при отсутствии особых требований к качеству пара и содержании котловой воды до 3000мг/л, а также в котлах с пароперегревателем при солесодержании котловой воды до 1500мг/л применяется сепарационное устройство, состоящее из жалюзи и дырчатых листов.

Барабаны котлов типа ДКВР на 1,3 и 2,3 МПа изготавливаются из низколегированной стали 16 ГС и имеют одинаковые диаметры 1000 мм, толщина стенки барабанов котлов с рабочим давлением 1,3МПа - 13мм, котлов с рабочим давлением 2,3МПа - 20мм. Бараны котлов оснащены лазовыми затворами, расположенными на задних днищах барабанов.

На котлах паропроизводительностью 6,5 и 10 т/ч с одноступенчатым испарением, работающих с давлением 1,3 и 2,3 МПа, лазовые затворы устанавливаются также и на передних днищах верхних барабанов.

По нижней образующей верхних барабанов всех котлов устанавливаются две легкоплавкие пробки, предназначенные для предупреждении перегрева стенок барабана под давлением. Сплав металла, которым заливают пробки, начинает плавиться при упуске воды из барабана и повышении температур его стенки до 280-320°С. Шум пароводяной смеси, выходящей через образующееся в пробке отверстие при расплавлении сплава, является сигналом персоналу для принятия экстренных мер к остановке котла. Завод-изготовитель применяет в легкоплавких пробках сплав следующего состава: свинец С2 или СЗ по ГОСТ 3778-56 - 90%: олово О1 или О2 по ГОС'Т860-60 - 10%. Колебания температуры плавления сплава допускается в пределах 240 - 310С.

Ввод питательной воды выполнен в верхний барабан, в водяном пространстве которого, она распределяется по питательной трубе. Для непрерывной продувки на верхнем барабане устанавливается штуцер, на котором смонтирована регулирующая и запорная арматура. В нижнем барабане устанавливаются перфорированная труба для периодической продувки и трубы для прогрева котла паром при растопке.

Камеры котлов типа ДКВР изготавливаются из труб диаметром 219х8мм для котлов с рабочим давлением 1,3МПа. Конвективные пучки выполняются с коридорным расположением труб. Камеры, экранные и конвективные трубы котлов типа ДКВР изготавливаются из углеродистой стали марок 10 и 20.

Пароперегреватели котлов унифицированы по профилю и отличаются друг от друга для котлов разной производительности числом параллельных змеевиков. Располагают пароперегреватели в первом газоходе. Для изготовления пароперегревателей применяются трубы диаметром 32х3мм из стали 10. Камеры пароперегревателей выполняются из труб диаметром 133х5 мм для котлов с рабочим давлением 1,3 и 2,3 МПа. Входные концы труб пароперегревателя крепятся в верхнем барабане вальцовкой, выходные концы труб приваривают к камере (коллектору) перегретого пара. При рабочем давлении 1,3 и 2,3 МПа пароперегреватели выполняются одноходовыми по пару без пароохладителя. Температура перегрева пара при сжигании различных топлив может колебаться не выше 25 ˚С.

Очистка наружных поверхностей нагрева от загрязнений в котлах осуществляется обдувкой насыщенным или перегретым паром с давлением перед соплами 0,7-1,7 МПа, допускается применять для этих целей сжатый воздух. Для обдувки применяют стационарные обдувочные приборы и переносные, используемые для отчистки экранов и пучков труб от золовых отложений через обдувочные лючки.

Котлы ДКВР-10-13 высокой компоновки опорной рамы не имеют. Температурные перемещения элементов котла относительно неподвижной опоры, которой является передняя опора нижнего барабана, обеспечиваются подвижными опорами камер боковых экранов и нижнего барабана.

В котлах паропроизводительностью 10 т/ч камеры фронтового и заднего экранов крепятся кронштейнами к обвязочному каркасу, камеры боковых экранов крепятся к специальным опорам. Во всех котлах верхние барабаны не имеют специальных опор, нагрузка от них через трубы конвективного пучка и экранов воспринимается опорами нижнею барабана и коллекторов.

Котлы типа ДКВР не имеют силового каркаса, в них применяется обвязочный каркас, который в котлах с облегчённой обмуровкой используется для крепления обшивки.

В блочно - транспортабельных котлах паропроизводительностью 10 т/ч на давление 1,3, 2,3, 3,9 МПа с короткими верхними барабанами применимо двухступенчатое испарение с установкой во второй ступени выносных циклов. Применение циклов позволяет уменьшить процент продувки и улучшить качество пара при работе на питательной воде с повышенным солесодержанием. В конвективный пучок вода поступает из верхнего барабана через обогреваемые трубы последних рядов труб самого пучка и через нижний барабан. Вода из выносных циклов поступает в нижние коллекторы экранов, а пар - в верхний барабан, где очищается вместе с паром первой ступени испарения, проходя через жалюзи и (дырчатый) перфорированный лист. Устойчивость работы циркуляционных контуров боковых экранов обеспечивается применением рециркуляционных труб диаметром 51мм.

Эти котлы предназначены не только для отопительпо-производственных целей и при давлении 39 атм. могут быть использованы в небольших энергетических установках.

Для всей серии котлов экраны и котельные пучки выполняются из стальных бесшовных труб диаметром 51 мм и толщиной стенки 2,5 мм. Боковые экраны выполнены с шагом 80 мм, в котлах с фронтовым и задним экраном шаг труб принят 130 мм. В кипятильных пучках трубы расположены в коридорном порядке с шагом 100 мм вдоль оси и 110 мм поперек оси котлов.

Ширина конвективного пучка котлов производительностью 2,5 и 4 т/ч - 2180 мм производительностью 6,5 и 10 т/ч - 2810 мм

При сжигании мазута и газа значительно меньше избытка воздуха, чем при сжигании твердого топлива, поэтому уменьшаются объемы продуктов сгорания, проходящих через котел, что позволяет повысить паропроизводительность котлов на 40-50%. Однако при этом должны быть выполнены условия, препятствующие повышению температуры стенки барабанов. В частности, необходимо обеспечивать тщательную подготовку питательной воды (для снижения накипеобразования) и надежно изолировать обогреваемую поверхность верхних барабанов в топке и камере догорания.

Последнее мероприятие в условиях высоких температур часто желательного эффекта не дает. Поэтому сокращение длины барабана, а гласное, то, что его стали размещать вне топочной камеры в сочетании с выносными циклонами, сделало работу котлов более надежной; появились котлы с укороченными барабанами и полностью экранированными топочными устройствами. На рисунке 3 показана циркуляционная схема котла ДКВР-10 с укороченным верхним барабаном (в низкой компоновке), выносными циклонами, экранными поверхностями и включением их в общую систему циркуляции котла.

 

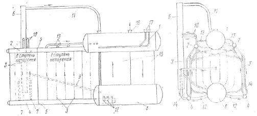
Рис. 3. Общая схема циркуляции котла ДКВР - 10

котельная теплоснабжение топочный

Верхний барабан 1 в области топочной камеры заменен двумя коллекторами 2 экранов 3. Во II ступень испарении выделены передние части обоих боковых экранов путем установки в верхних 2 и нижних коллекторах 4 перегородок 5. Питание экранов II ступени испарения осуществляется из двух выносных циклонов 6 через опускные трубы 7, соединенные с нижними коллекторами 4 экранов 3. Подпитка циклонов ведется из нижнего барабана 8 по трубам 9. Пароводяная смесь из труб экранов поступает в переднюю часть верхних коллекторов 2, откуда по трубам 10 направляется в выносные циклоны 6. После отделения воды пар отводится по трубам 11 в барабан 1, а вода идет в опускные грубы циклонов. Питание экранов 1 ступени испарения происходит через трубы 12, приваренные к нижнему барабану и нижним коллекторам экранов. Пароводяная смесь из экранов этой ступени испарения отводится по трубам 13 в верхний барабан. Из-за небольшой высоты контуров у всех экранов обеих ступеней испарения имеются рециркуляционные трубы 14.

Питательными трубами кипятильного пучка 15 служат последние обогреваемые ряды. Пар отбирается через штуцер 16. Питательная вода поступает в барабан по трубам 17. Непрерывная продувка котла осуществляется только из циклонов; периодическая же - из верхнего и нижнего барабанов, сборных экранных коллекторов и из низа выносных циклонов.

Заключение

Проектирование и сооружение котельных должны вестись в соответствии с действующими правилами и нормативными документами, утвержденными Госстроем РФ.

Работа котельных установок должна быть надежной, экономичной и безопасной для обслуживающего персонала. Для выполнения этих требований котельные установки эксплуатируются в соответствии с правилами устройства и безопасной эксплуатации паровых котлов и рабочими инструкциями, составленными на основе правил Госгортехнадзора с учетом местных условий и особенностей оборудования.

Котел должен быть оборудован необходимым количеством контрольно-измерительных приборов, автоматической системой регулирования важнейших параметров котла, защитными устройствами, блокировкой и сигнализацией.

Список литературы

1. Гусев Ю.Л. Основы проектирования котельных установок. (Учебное пособие). 2-е изд. - М.: Стройиздат, 1973 г. - 248 с.

. Днепров Ю.В., Смирнов Д.Н., Файнштейн М.С. Монтаж котельных установок малой и средней мощности. 4-е изд. - М.: Высшая школа, 1985 г. - 272 с.

. Матвеев Г.А., Хазен М.М. Теплотехника. - М.: Высшая школа, 1981 г. - 480 с.

. Паршин А.А., Митор В.В. Тепловые схемы котлов. - Недра, 1987 г. - 224 с.

. СП 89.13330. 2012. Котельные установки. Актуализированная редакция СНиП II-35-76. - М.: Минрегион России, 2012 - 93 с.

. СП 124.13330.2012. Тепловые сети. Актуализированная редакция СНиП 41-02-2003. - М.: Минрегион России, 2012 - 65 c.

Похожие работы на - Котельные и котельные установки

 

Не нашли материал для своей работы?
Поможем написать уникальную работу
Без плагиата!
Без нейросетей!