Контактор магнитного пускателя

  • Вид работы:
    Курсовая работа (т)
  • Предмет:
    Физика
  • Язык:
    Русский
    ,
    Формат файла:
    MS Word
    505,27 Кб
  • Опубликовано:
    2015-02-21
Вы можете узнать стоимость помощи в написании студенческой работы.
Помощь в написании работы, которую точно примут!

Контактор магнитного пускателя

Федеральное агентство по образованию РФ

Федеральное государственное образовательное учреждение высшего профессионального образования

«Чувашский государственный университет имени И. Н. Ульянова»

Электротехнический факультет

Кафедра ЭиЭА







Курсовой проект по дисциплине электромеханические аппараты автоматики управления

Тема:

«Контактор магнитного пускателя»










Чебоксары. 2011

Содержание

. Введение. Общие сведения о контакторах и магнитных пускателях

. Описание конструкции контактора ПМА

. Расчет элементов токоведущего контура

. Расчет главных и вспомогательных контактов

.1 Расчет главных контактов

.2 Расчет вспомогательных контактов

. Расчет дугогасительного устройства

. Расчет пружин и построение противодействующей характеристики

.1 Расчет контактной пружины главных контактов

.2 Расчет возвратной пружины контактов

.3 Расчет контактной пружины вспомогательных контактов

.2 Построение противодействующей характеристики

. Расчет приводного электромагнита

.1 Расчет сечения магнитопровода

.2 Расчет размеров КЗ витка

.3 Предварительный расчет размеров обмотки магнитопровода

.4 Уточненный расчет обмотки при притянутом якоре

.5 Проверка отсутствия вибрации якоря

.6 Расчет тяговой характеристики

Литература

1. Введение. Общие сведения о контакторах и магнитных пускателях

Контактор - это двухпозиционный контактный коммутационный аппарат, предназначенный для частых включений и отключений нагрузок электрических цепей, работающих в номинальном рабочем режиме.

В зависимости от рода приводного устройства, обеспечивающего замыкание и размыкание контактов контактора, различают электромагнитные, пневматические, гидравлические контакторы. Наиболее широкое распространение получили электромагнитные контакторы. Отключение таких контакторов производится за счет отключающих пружин и веса подвижных частей. В цепях электрической тяги при номинальных токах выше 100 - 200 А применяются пневматические контакторы, приводимые в действие сжатым воздухом.

Любой электромагнитный контактор состоит из токоведущего контура с главными контактами контактора, системы вспомогательных контактов, дугогасительной системы, приводного электромагнита с передаточным механизмом.

По роду тока, коммутируемого главными контактами, различают контакторы постоянного, постоянного и переменного токов, переменного тока. Последние разделяются на контакторы промышленной частоты (50 и 60 Гц) и повышенной частоты (до 10 кГц).

Контакторы постоянного тока применяются для включения и отключения потребителей энергии постоянного тока, судовых электротехнических устройствах, на электрифицированном транспорте и т.д.

Контакторы переменного тока применяются для управления асинхронными двигателями, для выведения пусковых реостатов, включения трехфазных трансформаторов, нагревательных устройств и многих других электротехнических устройств и установок.

В зависимости от нормального положения главных контактов различают контакторы с замыкающими, размыкающими и смешанными контактами. Нормальным считается коммутационное положение контактов, когда включающая катушка (обмотка) контактора не возбуждена и освобождены все имеющиеся механические защелки. Конструктивно главные контакты выполняются рычажными или мостиковыми.

Номинальные токи контакторов лежат в пределах от 3 до 4000 А. Номинальные напряжения главных цепей контакторов: 220, 440, 750 В при постоянном токе и 380, 660 В при переменном токе.

Пускатель - это аппарат, предназначенный для пуска, отключения и защиты от ненормальных режимов работы асинхронного двигателя с короткозамкнутым ротором.

Магнитный пускатель - это контактный коммутационный аппарат, предназначенный для прямого пуска, отключения, реверсирования и защиты от ненормальных режимов работы асинхронного двигателя с короткозамкнутым ротором.

Пускатель, как правило состоит, из трехфазного контактора переменного тока, электротеплового токового реле и командоаппарата (например, кнопочный мост). Трехполюсное электротепловое токовое реле обеспечивает защиту электродвигателя от перегрева токами, большими номинального значения, и обрыва фаз.

электромагнит обмотка контактор магнитный пускатель

2. Описание конструкции контактора ПМА

Отечественные заводы электротехнического профиля в настоящее время выпускают пускатели серий ПМА и ПМ-12, охватывающие ряд номинальных токов от 4 до 160 А и эксплуатируемые в сетях с напряжением до 660 В частотой 50 и 60 Гц.

Пускатели предназначены для эксплуатации на высоте до 2000 м над уровнем моря. Допускается их применение на высоте до 4300 м над уровнем моря, но при этом рабочий ток пускателя должен быть снижен на 10%, а температура окружающей среды не должна превышать 28º С. Не допускается их эксплуатация во взрывоопасной среде, содержащей пыль, агрессивные газы и пары, в концентрациях, разрушающих изоляцию и металлы. Допускается воздействие вибрационных нагрузок с частотой до 100 Гц при ускорении 1g и ударных нагрузках с ускорением до 3g при длительности импульса 2-20 мс.

Пускатели серии ПМА могут комплектоваться аппаратом позисторной защиты управляемых электродвигателей от перегрузок недопустимой продолжительности. Они имеют исполнения и с приводным электромагнитом постоянного напряжения, предназначенные для комплектации электрооборудования тепловозов и АЭС.

Базовой деталью контакторов с приводным электромагнитом переменного напряжения является (рисунок 2.1) силуминовый корпус 1, в котором расположена П-образная магнитная система 2 с внедряющимся якорем 5, Г-образный рычаг 3. К корпусу 1 крепится колодка 4 с неподвижными главными контактами 16 и узлы 9 контактов вспомогательной цепи, установленные по бокам от колодки 4.

Якорь 5 в электромагнитах переменного напряжения совершает прямолинейное движение в специальной направляющей 6 и шарнирно соединен с Г-образным рычагом. При движении якорь воздействует на плечо Г-образного рычага, другое плечо которого воздействует на траверсу 7 с подвижными контактами 8. Траверса главных контактов имеет выступы и при движении воздействует на выступы траверсы контактов 9 вспомогательной цепи.

Съёмные контакты 16 упрощают замену износившихся контактов в условиях эксплуатации. Мостик главных контактов пускателей ПМА-4000, ПМА-7000, ПМА-8000 подпружинен плоской пружиной 10 (рисунок 2.1).

Две обмотки, соединяемые последовательно и согласно, намотанные на двух пластмассовых каркасах, после опрессовки образуют единый съемный узел 11.

Кинетическая энергия удара якоря гасится плоской пружиной 12, проложенной между ярмом 2 и корпусом 1.

Рисунок 2.1 - контактор пускателя ПМА-4100 с управлением от источника переменного напряжения

3. Расчет элементов токоведущего контура

Токоведущий контур коммутационного электрического аппарата включает в себя токоведущие части (проводники различной формы и сечения), контактные соединения (зажимы), гибкие соединения и коммутирующие контакты. Задача проектирования токоведущих частей электрических аппаратов включает в себя проведение теплового расчета в различных режимах работы. Для проводников прямоугольного сечения:

 , где

a, b - толщина и ширина проводников соответственно, см;

Iн=63 А - номинальный ток длительного режима;

=1,62·10-6 Ом·см - удельное сопротивление меди;

=4,3·10-3 ºС-1 - температурный коэффициент сопротивления меди;

=105 ºС - допустимая температура нагрева проводника;

=40 ºС - температура окружающей среды;

=7·10-4  - коэффициент теплоотдачи. [1]

Примем a=6b, решая систему двух уравнений, получим: a=2 мм; b=10 мм. Исходя из предварительных расчетов, для размещения контактных накладок примем а=0,2 см, b=1 см.

Определим площадь SC и периметр PC поперечного сечения:

SC=a·b=0,2·1=0,2 см2;C=2·(a+b)= 2·(0,2+1)=2,4 см;

Рассчитаем температуру нагрева токоведущих частей в номинальном режиме:

Θтк0 + , [1]

Θтк=40 + =69 ºС.

Оценим термическую стойкость аппарата. Для этого рассчитаем параметр I2·tту, называемый тепловым импульсом:

I2·tтуту=, где

γ=8,9 г/см3 - плотность меди;

c=3,9  - удельная теплоемкость меди;

Θнач=105 ºС - начальная температура проводника до момента КЗ;

Θкз=300 ºС - допустимая температура проводника в режиме КЗ. [1]

Ату==8,68·106 А2·с;

Определим ток термической Iту=. Время tту примем равным 1, 3, 5 и 10 с.

Для tту=0,5 с: Iту=4167 А.

Для tту=1 с: Iту=2947 А.

Для tту=5 с: Iту=1318 А.

Для tту=10 с: Iту=932 А.

Все значения Iту выше предельного отключаемого тока контактора Iоткл=8·Iн=630 А. [2]

Определим величину площади контактирования соединения. Площадь контактируемой поверхности определим по формуле Sк=l·b=Iн/jк, где jк - кажущаяся плотность тока. Для медных шин и деталей при токе менее 200 А принимают jк=31 А/см2. После расчета получим Sк=2,032 см2. Длина перекрытия концов шин равна l=Sк/b= Sк=2,58/1=2,032 см.

Число болтов в контактном соединении выберем, исходя из удельных давлений fк между конатктирующими поверхностями и значения кажущейся плотности тока jк. Для меди возьмем fк=90 кг/см2. По известным значениям fк и Sк определяем необходимую силу контактного нажатия Fк=fк·Sк=90·2,032·9,81=1794 H. По приложению 4 [1] выбираем 1 болт М6.

Определим превышение температуры контактного соединения по следующей формуле:

τкк - Θ0 = , где

Θк - температура детали в месте контактирования;

Sн - полная наружная поверхность контактного соединения;

RК0 - общее сопротивление контактного соединения. [1]н=2·a·b+4·l·a+2·l·b=2·0,2·1+4·2,032·0,2+2·2,032·1=6,1 см2.

Общее сопротивление RК0 состоит из переходного сопротивления контакта RК и омического сопротивления RК1 материала частей проводников, образующих контактное соединение.

RК=, где

ε = 2,4·10-3 Ом·H - коэффициент, зависящий от материала и состояния поверхностей, выбираем его по приложению 5 для контакта медь-медь;

m2=1 - коэффициент, зависящий от типа контактов. [1]

RК==1,338·10-6 Ом.

Сопротивление RК1 отличается от сопротивления прямого участка контактирующих частей за счет искривления линий тока в месте контактирования. Это приводит к повышению сопротивления, которое учитывается поправочным коэффициентом Кс. По зависимости, представленной на рисунке 4 [1], находим Кс=0,55:

RК1= Кс·= 0,55·=9,78·10-6 Ом.

RК0= RК+ RК1=(1,338+9,78)·10-6=1,112·10-5 Ом.

τк= =10,4 ºС.

Θк= Θ0+ τк=40+10,4=50,4 ºС - температура контактного соединения ненамного превышает температуру примыкающих к ней шин.

4. Расчет главных и вспомогательных контактов

Система коммутирующих контактов является основным узлом, ради функционирования которого проектируется аппарат.

Поэтому конструкция и параметры контактной системы определяют основные параметры всего аппарата и, следовательно, его конструкцию, габариты и массу.

Конструктивную форму главных и вспомогательных контактов выберем мостикового типа. Материал контактов - медь, т.к. при заданном токе тепловое воздействие дуги способствует очищению контактной поверхности от окисных пленок. [1]

 

4.1 Расчет главных контактов


Определим параметры контактных конструкций. Переходное сопротивление Rк замкнутых контактов не должно превосходить значения, при котором температура Θк контактных деталей на границе зоны стягивания линий тока не превышает допустимой. Rк определим из соотношения:

Θк - Θ0 = τк= ≤ τкдоп, где

τкдоп=105 ºС - допустимое превышение температуры контактов;

λ=3,9  - удельная теплопроводность меди. [3]

Максимальную температуру нагрева контактной точки для контактов с накладками из меди примем равной Θк =55+ Θ0

Решая уравнение относительно Rк, находим Rк=3,35·10-4 Ом.

По формуле Rк= определяем силу нажатия в контактах, которая обеспечивает найденное значение Rк. Для плоского контакта из меди находим =  ,значение коэффициента m=1. В результате находим Fк=6,602 Н.

Удельное давление в контакте:

fк===0,105 Н/А.

Возьмём удельное давление в контакте более высоким. Это приведёт лишь к снижению переходного сопротивления контактов и уменьшению температуры нагрева контактной точки. Возьмём fк =0,11 Н/А, тогда = fк=6,93 Н. Для найденного значения  уточним переходное сопротивление: Rк=3,192·10-4 Ом. [3]

Падение напряжения в контакте: Uк=Iн·Rк=63·3,35·10-4=21 мВ.

Должно выполнятся условие Uк≤ Uкдоп=0,5·Uкр, где Uкр - напряжение рекристаллизации металла. Для меди примем Uкр=90 мВ. Uкдоп=0,5·90=45 мВ, т.е. условие Uк≤ Uкдоп выполняется.

Ориентировочно определим начальный ток сваривания контактов по формуле Г.В. Буткевича Iнсвсв·. По приложению 9 [1] определяем значение коэффициента Ксв=1800А/кг0,5. Начальный ток сваривания контактов:

Iнсв=1800·=1513 А.

Вычислим электродинамическую силу отталкивания замкнутых контактов:

Fэд=2·10-7·I2·ln, где

Q - поперечное сечение детали, подводящей ток к контактной площадке, т.е. Q=SС, см2;

q - величина контактной площадки, определяемая силой нажатия, см2.

q = ==1,372·10-4 см2, где  - удельное сопротивление материала смятию, находим для меди по приложению 10. [1]

Вычислим Fэд для I=10·Iн:

Fэд=2·10-7·6302·ln=0,578 Н, т.е. условие Fэд< FК выполняется.

Начальное контактное нажатие примем равным половине конечного:

Fн=0,5·Fк=0,5·6,93=3,465 Н.

Выберем размер цилиндрических контактных накладок по приложению 6 [1]. Диаметр накладки d=12 мм, высота накладки h=2,5 мм. По приложению 7 выберем прямоугольную накладку, сопоставляя площадь круга и прямоугольника. Длина накладки d=14 мм, ширина накладки b=8 мм, высота накладки h=2,5 мм.

Рассчитаем износостойкость контактов по следующей формуле:

N=, где

Vизн - часть объема пары контактов которая будет подвергнута износу, примем износ каждого контакта до 0,75 его первоначальной толщины, см3.

gрз, gрз - удельный массовый износ, г. [3]

gрз + gрз=10-9·( kрз·Iот2 + kрз·Iвк2)·kнер, где

kрз, kрз - опытные коэффициенты износа, г/А2;

kнер - коэффициент неравномерности, учитывающий расброс величины износа массы;

γ - плотность материала контакта, г/см3

Iвк - ток включения;

Iот - ток отключения.

По таблице 5-11 [3] kзм=0,01; по рисунку 5-14 [3] kрз=0,15; по таблице 1.1 [2] Iвк= 6·Iн, Iот= 6·Iн; Vизн=2·d·b·h∙0,75; γ=9,5 г/см3

N==0,952·106 - число коммутаций получилось больше заданного, имеется запас по коммутаций контактов контактов.

 

4.2 Расчет вспомогательных контактов


Ограничимся ориентировочным расчетом. В качестве материала вспомогательных контактов возьмем серебро.

Рассчитаем параметры токоведущего контура вспомогательных контактов по формуле описанной в п. 3. Примем b=3a, решая систему двух уравнений, получим: a=2 мм; b=10 мм. Исходя из предварительных расчетов, для размещения контактных накладок примем а=0,2 см, b=1 см. Получаем

Размеры контактных накладок выберем по приложению 7 [1]. Диаметр контактной накладки d = 5 мм, высота h = 1мм. По приложению 7 выберем прямоугольную накладку, сопоставляя площадь круга и прямоугольника. Длина и ширина накладки d=4 мм, высота накладки h=1 мм. Размеры токоведущей шины выберем исходя из размеров контактной накладки, ширина шины a = 5 мм, толщина шины b = 1 мм.

По таблице 9 [1] выберем удельное нажатие fк=0,05 Н/А. Конечное контактное нажатие Fк=fк·Iу=0,05·10=0,5 Н, где Iу - ток цепи управления. Начальное контактное нажатие примем равным половине конечного Fн=0,5·Fк=0,5·0,5=0,25 Н.

Выберем раствор и провал контактов по таблице 2.30 [2]. Для пускателя ПМА 4000 раствор вспомогательных контактов δ = 3 мм, провал вспомогательных контактов β = 2 мм.

5. Расчет дугогасительного устройства

Примем расстояние между пластинами решетки δп=4 мм и толщину пластин Δ=2 мм. Рассчитаем установившуюся температуру пластин решетки:

T=293+0,018·I0·, где z = 1200 - число отключений цепи в час;

I0 = 8·Iн - отключаемый ток для режима редких коммутаций. [2]

T=293+0,018·8·80·= 692 ºК.

==71,41·105

Индуктивность отключаемой цепи определяем по формуле:

L=, где

Uн=380 В - номинальное напряжение цепи;

f=50 Гц - частота сети; [4]

cosφ0=0,35 - коэффициент мощности.

L==15,25·10-4 Гн.

K2===64,53. [4]

Kн=0,9·Kсх=0,9·1,5=1,088, где Ксх - коэффициент схемы, при отключении трехфазной цепи трехполюсным аппаратом он равен 1,5. [4]

Uп0=72+0,72· δп=72+0,72· 4=74,88 . [3]

Uд0=(110+0,003·I0)·(0,7+0,04· δп)= (110+0,003·8·80)·(0,7+0,04· 4)=96,25. [4]

Определим число разрывов nа для апериодического процесса по формуле:

nа=0,6+;

nа=0,6+=4,8;

Принимаем количество разрывов nа=5.

Проверим, выполняется ли условие перехода колебательного процесса восстановления напряжения в апериодический при nа=5:

70000 ≥ ==7689;

Условие перехода выполняется. Следовательно, расчетное число разрывов дугогасительной решетки n=5.

Необходимая длина пластин решетки при времени горения дуги tг=0,01 с:

lп=1,73· δп2·· tг =1,73· 42·=4,77 см.

6. Расчет пружин и построение противодействующей характеристики

Любой электрический аппарат за исключением некоторых имеет пружины, которые определяют основные характеристики его привода. Пружины осуществляют контактное нажатие, возвращают механизм в исходное состояние, снижают удары. Наибольшее распространение в электроаппаратостроении получили винтовые цилиндрические и плоские пружины.

Винтовые пружины, навитые из проволоки или прутка круглого сечения и воспринимающие осевую растягивающую или сжимающую нагрузку, рассчитываются на кручение проволоки или прутка.

 

6.1 Расчет контактной пружины главных контактов


Рассчитаем диаметр проволоки контактной пружины главных контактов:

d=, где

с - индекс пружины, причем c=D0/d. Примем с = 10;

K - коэффициент, K=(4·c+2)/(4·c-3);

[τ]K - допустимое напряжение на кручение. [1]

По приложению 13 [1] для стальной углеродистой пружинной проволоки [τ]K=370·102 Н/cм2;

Сила Fp равна двойному контактному нажатию, т.к. контакты мостикового типа, т.е. Fp=2·7,65=15,3 H;

K=(4·10+2)/(4·10-3)=1,14;

d==0,11 см.

Средний диаметр пружины:

D0=c·d=10·1,1=1,1 см.

Полный прогиб пружины:

fполн=fp·, где

fp - рабочий прогиб пружины. Равен провалу главных контактов fp=0,3 см;

F0 - предварительная сила, которой нагружается пружина после монтажа. Примем ее равной 0,5·Fp;

ΔF=Fp-F0=Fp-0,5·Fp=0,5·Fp. [1]

fполн=0,3·=0,6 см.

Рабочее число витков:

n=, где

σ - модуль упругости при сдвиге. По приложению 13 [1] для стальной углеродистой пружинной проволоки σ=8∙106 Н/cм2.

n==4,3 - примем n = 5.

Шаг навивки:

t=d+1,2·= 0,11+1,2·=0,21 см.

Длина пружины в свободном состоянии:

lсв=n·t+2·δ, где

δ - длина пружины, используемая для крепления ее концов. Примем δ=2·d=2·0,11 =0,22 см.

lсв=5·0,21+2·0,22=1,93 см.

Для обеспечения необходимой продольной устойчивости пружин сжатия выбирают lсв/D0 ≤ 3, 1,93/1,1=1,76 ≤ 3 - условие выполняется.

 

6.2 Расчет возвратной пружины контактов


Усилие возвратной пружины при отключении должно быть таким, чтобы сила нажатия Fу соответствующей детали на упор была достаточной для предотвращения отскока этой детали от упора при отключении аппарат. Удельную силу нажатия примем fу=0,06 Н/А. Наклон характеристики возвратной пружины в большинстве случаев берется намного меньше, чем для контактной пружины, так как нет необходимости в увеличении жесткости возвратной пружины. Определим Fу и Fр:

Fу=fу·Iн=0,06·80=4,8 Н.

Примем Fр= 6 Н, индекс пружины c=16. По приложению 13 [1] для стальной углеродистой пружинной проволоки σ=8∙106 Н/cм2.

K=(4·16+2)/(4·16-3)=1,08;

d==0,08 см.

Средний диаметр пружины: D0=c·d=16·0,08=1,28 см.

Рабочий прогиб пружины равен сумме провала и раствора главных контактов fp=0,8 см; F0=Fу; ΔF=Fp-Fу=6 - 4,8=1,2 Н.

fполн=0,8·=4 см.

Рабочее число витков:


Шаг навивки:

t=d+1,2·= 0,08+1,2·=0,45 см.

Примем δ=2·d=2·0,08=0,16 см. lсв=n·t+2·δ=13·0,45+2·0,16=6,16 см.

Для обеспечения необходимой продольной устойчивости пружин сжатия выбирают lсв/D0 ≤ 3, 6,16/1,28=4,18 ≥ 3 - условие не выполняется, поэтому необходимо обеспечить дополнительные стрежни или втулки.

 

6.3 Расчет контактной пружины вспомогательных контактов


Примем индекс пружины с = 12; K=1,11. По приложению 13 [1] для стальной углеродистой пружинной проволоки σ=8∙106 Н/cм2. Сила Fp равна двойному контактному нажатию, т.к. контакты мостикового типа, т.е. Fp=1 H;

Рассчитаем диаметр проволоки контактной пружины вспомогательных контактов:

d===0,03 см.

Средний диаметр пружины:

D0=c·d=12·0,03=0,36 см.

Рабочий прогиб пружины равен сумме провалу вспомогательных контактов fp=0,2 см. Примем силу F0 равной 0,5·Fp.

fполн= 0,2·=0,4 см.

Рабочее число витков:

n===6,9 - примем n=7.

Шаг навивки:

t=d+1,2·= 0,03+1,2·=0,1 см.

Примем δ=2·d=2·0,03=0,06 см. Длина пружины в свободном состоянии:

lсв=n·t+2·δ=7·0,1+2·0,06=0,82 см.

Для обеспечения необходимой продольной устойчивости пружин сжатия выбирают lсв/D0 ≤ 3, 0,82/0,36=2,25 ≤ 3 - условие выполняется.

6.2 Построение противодействующей характеристики

Построим противодействующую характеристику Fп=F(δ), которая определяется в совокупности силой возвратной пружины и весом подвижных частей, силами пружин главных контактов, силами пружин размыкаемых блок - контактов и силами пружин замыкаемых блок - контактов. В момент касания главных контактов сила нажатия возрастает скачком за счет предварительного натяжения пружин, благодаря чему уменьшается вибрация контактов и возможность их сваривания в процессе включения цепи. То же самое относится и к вспомогательным контактам, коммутирующим цепь управления.

7. Расчет приводного электромагнита

 

Исходные данные к расчёту приводного электромагнита.

1. Тип электромагнита по роду тока питания: переменный ток.

2. Тип электромагнита по конфигурации магнитной цепи: П - образный с поступательным движением якоря.

3. Противодействующая характеристика: P1 = 3,38 H;

P2= 4,2 H;3= 4,5 H;4= 5 H;5= 26 H;6= 48 H;

4. Напряжение питания: переменное 127 В.

5. Частота источника питания: f=50 Гц.

.   Режим работы: длительный.

.   Температура окружающей среды Θ0: +40°С.

.   Класс нагревостойкости обмоточного провода: А, допустимая температура нагрева: +105°C.

.   Материал магнитопровода - 1511.

В соответствии с вариантом:

δ1=6,5 мм - зазор при P1;

δ2=4,5 мм - зазор при P2;

δ3=2,5 мм - зазор при P4;

δк=0,05 мм - конечный зазор между якорем и полюсом.

δп=0,18 мм - паразитный зазор.

7.1 Расчет сечения магнитопровода


Рассчитываем сечение магнитопровода из условия отсутствия вибрации якоря в притянутом положении. При притянутом положении вибрация будет отсутствовать, если минимальное электромагнитное усилие будет больше противодействующей: Pminp, где Pmin - минимальная электромагнитная сила при притянутом якоре; кр - коэффициент запаса по силе, кр=1,1-1,3;  - расчётное противодействующее усилие для конечного положения якоря, для электромагнита с двумя короткозамкнутыми витками =0,5∙, где  - сумма трех рабочих контактных нажатий главных контактов, двух рабочих нажатий вспомогательных контактов и рабочему контактному нажатию возвратной пружины, т.е. =3·15,3+2·1+6=53,9 Н.

Для расчёта используем следующую формулу:

 , [5]

Зададимся величинами α, mp, c. Примем α=0,6, mp=1,5, с=1. Для магнитопровода применим сталь 1511. Амплитудное значение магнитной индукции для стали 1511 Bm=1 Тл, а коэффициент запаса по силе примем кр=1,3.

Подставляем числовые значения в формулу:

=3,89 см2.

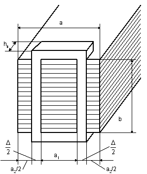
В торец магнитопровода вставляется короткозамкнутый виток. Материал КЗ витка - медь. Зададимся величиной ширины проводника КЗ витка Δ=2 мм. Составим соотношения для нахождения величин a1, a2, a, b, которые показаны на рисунке 6.1.1: ;  b=2a; a∙b=S.

Рисунок 6.1.1 - КЗ виток в магнитопроводе

Примем величину η=2, считая квадратное сечение магнитопровода в месте расположения катушки оптимальным. Решая систему уравнений и округляя значения до целых, получим:

a1=7 мм, a2=4мм, a=14 мм, b=28 мм.

Магнитопровод шихтуется. Коэффициент заполнения для пакета стали из лакированных листов толщиной 0,5 мм равен кзс=0,93.

Находим активное сечение магнитопровода

Sa=(a1+a2)∙b∙кзс=(7+4)∙28∙0,93∙10-6=2,86 см2.

 

7.2 Расчет размеров КЗ витка


Размеры КЗ витка определяются необходимым для борьбы с вибрацией якоря сопротивлением КЗ витка.

rв=, где

ω=2πf - угловая частота;

δк - конечный зазор между якорем и полюсом. [5]

Примем δк=0,05 мм.

rв==1,15∙10-3 Ом.

Находим высоту витка из соотношения:

hвв, где

ρв0∙(1+0,004∙t) - удельное сопротивление витка при температуре t. [5]

Примем температуру равной 100°C. КЗ виток сделаем из алюминия. Удельное сопротивление витка из алюминия при 20°C равно ρ0=2,62∙10-8 Ом∙м. hв=2,62∙10-8∙(1+0,004∙100)∙=2,47 мм, округляем до 2,5 мм. Уточняем сопротивление КЗ витка:

rв= ρв=2,62∙10

∙(1+0,004∙100)∙=1,14∙10-3 Ом.

 

7.3 Предварительный расчет размеров обмотки магнитопровода


Для определения размеров обмотки нужно найти ее МДС при притянутом якоре. Для этого составляется схема замещения магнитной цепи без учета магнитного сопротивления стали:

Рисунок 6.3.1 - схема замещения магнитной цепи

Rδ1 - магнитное сопротивление воздушного зазора над экранированной частью;

Rδ2 - магнитное сопротивление воздушного зазора над неэкранированной частью;

Xμв - магнитное сопротивление КЗ витка;

F - МДС.

Определим параметры схемы замещения:

Xμв===2,75∙105 1/Гн;

Rп==2,04∙105 1/Гн, где

Sк= кзс·a·b=0,93·14·28=3,65 см2 - сечение магнитопровода в месте расположения катушки;

Rп==2,18∙105 1/Гн.

Примем конечный зазор между якорем и магнитопроводом δк=0,05 мм.

Rδ1===2,18∙105 1/Гн;

Rδ2===3,82∙105 1/Гн.

Рассчитаем МДС по следующей формуле:

F=кu∙кп∙Sк∙[ Rпcx], где

кcx=2 - коэффициент схемы;

кu=1,25 - коэффициент колебания напряжения;

кп=1,1- коэффициент, учитывающий потери в стали. [5]

F=1,25∙1,1∙∙3,65·10-4∙[ 2,04∙105+2∙] =

=205,65+j65,18=215,73L8,47°, A.

Количество витков найдем из формулы:

W=, где

кR=0,9 - коэффициент, учитывающий падение напряжения на активном сопротивлении;

Umin=0,9·U - минимальное напряжение в сети. [5]

W==2202 витка.

Определяем ток обмотки: I=F/W=215,73/2202=98 мA.

Зададимся плотностью тока. Для длительного режима примем j=2,2∙106 A/м2. Находим сечение и диаметр провода:  q=I/j=0,098/(2,2∙106)=4,45∙10-8 м2;

d=2=2=0,24∙10-3 м, округляем по ГОСТ для провода ПЭВ-2 до 0,25∙10-3 м, коэффициент заполнения f0=0,56. [3]

Площадь обмоточного окна:

Q===1,75∙10-4 м2.

Из соотношений Q=h0∙l0 и, приняв l0/h0=2, находим h0=9,4∙10-3 м - толщина катушки, l0=19∙10-3 м - длина катушки. Исходя из возможности размещения каркаса, запаса на размещение катушки, задаем размер окна магнитопровода h=2,5h0=23∙10-3 м, l=1,3l0=24∙10-3 м.

 

7.4 Уточненный расчет обмотки при притянутом якоре


Схема замещения магнитной цепи с учетом ферромагнитных участков:

Рисунок 6.4.1 - схема замещения магнитной цепи с учетом ферромагнитных участков

Z1 - магнитное сопротивление якоря;

Z2, Z3 - магнитные сопротивления боковых магнитопроводов.

Для стали марки 1511 удельные активные и реактивные сопротивления при Bm=1 Тл: ρR=2∙102 м/Г; ρX=0,5∙102 м/Г. Вычисляем магнитные сопротивления участков магнитопровода (длины участков находим по эскизу магнита):

Z1Z=(2∙102+j0,5∙102)∙=28,19∙103+j7,05∙103 1/Гн;

Z2=Z3Z=(2∙102+j0,5∙102)∙=

=19,25∙104+j48,12∙103 1/Гн;

Zcx=Z1+2Z2=28,19∙103+j7,05∙103+2·(19,25∙104+j48,12∙103)=

=41,31·104+j10,33·104 1/Гн.

Находим МДС с учетом магнитного сопротивления стали:

F=кu∙Sк∙[ Rп+ Zcxcx]. [5]

F=1,25∙∙3,65·10-4∙[ 2,18∙105+2∙+

+41,31·104+j10,33·104]=320,08+j92,53=313,82L16,12°, A.

Для уточнения числа витков обмотки рассчитаем следующие коэффициенты:

c1=ρ∙jдоп∙lср, где

ρ - удельное сопротивление провода обмотки;

jдоп - допустимая плотность тока;

lср - средняя длина витка. [5]

Удельное сопротивление меди при 20°С равно ρ0=1,62∙10-8 Ом∙м. Из предварительного расчета примем температуру обмотки t=77°C,jдоп=2,2∙106 A/м2. lср===113∙10-3 м - определяем из геометрии катушки;

c1=1,62∙10-8∙(1+0,004∙77)∙ 2,2∙106∙113∙10-3 =5,38 В;

c2====0,08 В;

W=, где

Umin=0,85U - минимальное напряжение питания,

θ - угол потерь равный 16,12°. [5]

W==2263 витка.

Омическое сопротивление обмотки:

Ro= ρ∙∙W=1,62∙10-8∙(1+0,004∙77)∙∙2263=117,42 Ом.

Дополнительное активное сопротивление:

Rд=, где

Zэкв=Rп+Zcxcx=99,33∙104+28,72∙104 1/Гн - эквивалентное магнитное сопротивление системы. [5]

Rд==432,05 Ом;

X===1495 Ом - ндуктивное сопротивление обмотки.[1]

Угол между током и напряжением:

tgj = ==69,8°.

Уточняем ток в обмотке:

I ===0,138 A;

Вычислим активную мощность при U=Umax=1,05U:

Pэл=(1,05∙I)2∙(Ro+Rд)=(1,05∙0,87)2∙(117,42+432,05)=11,56 Вт;

Определим температуру перегрева обмотки:

τ=, где

Sохл= Sн+α∙Sвн - поверхность охлаждения, α=0,6 т.к. катушка на изоляционном каркасе;

Sохл=(2·(a+b)+2π∙h0)∙l0+0,6∙2·(a+b)∙l0=(2∙(14+28)+2π∙9,4)∙19∙10-6 +

+0,6∙2∙(14+28)∙10-6=4,24∙10-3 м2;

кт===14,27;

τ ==37°;

t = tокр+ τ = 40+ 37=77° - температура меньше допустимой.

 

7.5 Проверка отсутствия вибрации якоря


Для проверки отсутствия вибрации якоря необходимо найти в притянутом положении потоки в экранированной и неэкранированной частях полюса для минимального напряжения. Найдем угол между потоками:

y = arctan(Xμв/Rδ1) = arctan(2,75∙105/2,18∙105)=51,51°.

Для определения потоков нужен следующий коэффициент:

n=====0,94, где

S1 и S2 - площади экранированной и неэкранированной частей соответственно.

n ==0,918.

Поток в зазоре примем равным:

Фδ== =3,65∙10-4 Вб.

Поток в экранированной части:

Фδ1===2,11∙10-4 Вб.

Поток в неэкранированной части:

Фδ2=n∙Фδ1==0,918∙2,11∙10-4 = 1,94∙10-4 Вб.

Среднее значение сил от соответствующих потоков:

Pср1===45,18 Н;

Pср2===66,65 Н;

Амплитудное значение переменной составляющей силы:

Pm=;

Pm==71,6Н.

Минимальное значение силы:

Pmin= Pср1+ Pср2- Pm= 45,18+66,65 - 71,6=40,23 H.

Вибрация якоря отсутствует, если Pmin>:

,23 > 0,5∙53,9 => 32,94 > 26,96 - условие отсутствия вибрации якоря выполняется.

Найдем пульсацию силы:

P% =∙100% =∙100% = 64,5%.

 

7.6 Расчет тяговой характеристики


Электромагнитную силу можно найти по следующей формуле:

Pср=, где

I - действующее значение силы тока. [5]

Сопротивлением стали и КЗ витков можно пренебречь, но необходимо учесть рассеяние магнитного потока. В схеме замещения поток рассеяния приведен к полной МДС обмотки, поэтому приведенное значение сопротивления рассеяния принято втрое больше, чем его значение, полученное по его геометрическим размерам =3·Rs, что справедливо для магнитной цепи с распределенной МДС.

Проводимость рассеяния рассчитаем по формуле:

Rs=1/Ls=, [5]

Rs== 18,91∙106 1/Гн.

Магнитное сопротивление рабочего и паразитного зазора рассчитаем по формуле с учетом потоков выпучивания, т.к. при больших зазорах они оказывают большее значение на сопротивление зазора:

Rδ(δ)=1/Lδ=

. [5]

Rп=1/Lп=, где

δп - величина паразитного зазора. [5]

Примем δп = 0,1 мм.

Rп=1/Lп==0,2·106 1/Гн.

Индуктивность обмотки будет определяться через эквивалентное магнитное сопротивление всей системы по выражению L(δ)=W2/Rмэкв(δ). Для данной системы:

Rмэкв(δ)=. [5]

Ток при соответствующем зазоре может быть найден при рассчитанных значениях индуктивности по закону Ома: I(δ)=. [5]

Электромагнитную силу можно задать как функцию Pср(δ)=, т.к. входящие в неё величины зависят от рабочего воздушного зазора. С помощью математического редактора MathCAD 2001i задаем и строим эту функцию:

Рисунок 6.6.1 - тяговая характеристика электромагнита

На рисунке 6.6.1 показана тяговая характеристика электромагнита при номинальном напряжении (сплошная линия) и при 0,85·Uном (штрихпунктирная линия). Как видно из рисунка, в обоих случаях она лежит выше суммарной противодействующей характеристики пружин.

Литература

1 Электрические аппараты управления. Методические указания к выполнению курсового проекта. Составитель: Детков К.Т. Ответственный редактор канд. техн. наук Софронов Ю.В.

Свинцов Г.П. Электромагнитные контакторы и пускатели: Учеб. Пособие/ Чуваш. Ун-т. Чебоксары, 1997. 260 с.

Сахаров П.В. Проектирование электрических аппаратов (общие вопросы проектирования). Учеб. пособие для студентов электротехнических вузов. М., Энергия, 1971, 560 стр.

Таев И.С. Электрические аппараты управления (и распределительных устройств). Учеб. Пособие для электротехн. Специальностей вузов. М., «Высш. Школа», 1969. 444 с.

Софронов Ю.В., Свинцов Г.П., Николаев Н.Н. Проектирование электромеханических аппаратов автоматики: Учеб. Пособие - Чебоксары: Изд. Чуваш. Ун-та, 1986. - 58 .

Похожие работы на - Контактор магнитного пускателя

 

Не нашли материал для своей работы?
Поможем написать уникальную работу
Без плагиата!
Без нейросетей!