Контактная сеть электрифицируемого участка железной дороги переменного тока
ВВЕДЕНИЕ
Электрическая энергия имеет колоссальное
значение для народного хозяйства, так как ни один другой вид энергии так легко
не может передаваться на дальние расстояния и преобразовываться в другие виды
энергии.
Огромные выгоды народному хозяйству даёт
использование электрической энергии и для электрической тяги поездов:
электрификация железнодорожных работ позволяет
увеличить пропускную и провозную способность;
служит для улучшения топливно-энергетического
баланса страны;
развивает энергосистемы тех регионов, где
электрифицируются участки железных дорог;
обеспечивает электроэнергией прилегающие к
железной дороге районы;
повышает производительность труда и общую
культуру работы железнодорожников.
На Дальний Восток электроэнергия пришла в 1963
году - пущен первый участок Уссурийск - Владивосток, 1966 год Угловая -
Находка, 1979 год - Хабаровск - Бира, 1981 год - Бира - Архара. В начале января
2000 года ввелся участок Сибирцево - Уссурийск, в 2001 году исполнилось 100 лет
Транссибу, на участке Москва - Владивосток электрифицировали последний участок
протяженностью 175 км. 25 декабря 2002 года, который положил конец
электрификации Транссиба.
Перспективный полигон электрической тяги
составит 49,12 тыс. км. или 56.5% протяженности сети.
Поскольку электрическая тяга переменного тока
имеет более высокую эффективность по сравнению с тягой постоянного тока,
признано целесообразным решение по переводу отдельных участков и направлений.
При сохранении существующего подхода к
обновлению основных фондов электроснабжения с 2003 - 2005 гг. начнётся
лавинообразный отказ в работе с постоянного на переменный ток технических
средств, поэтому Департамент электрификации и электроснабжения МПС совместно с
научными и другими организациями разработал концепцию модернизации устройств
электроснабжения железных дорог, которая одобрена Президиумом
научно-технического совета МПС. На ее основе была разработана «Программа
обновления и развития хозяйства электроснабжения на 2000 - 2005 годы», которая
предусматривает:
обновление контактной сети на базе подвесок КС -
160;
основные узлы, детали будут заменены на
современные;
повысится коэффициент эластичности в пролете,
который составит для КС-160 не менее 0,7 , за счет оптимизации параметров
рессорного троса, облегченного дополнительно стержня фиксатора из аллюминевых
сплавов;
роговые разрядники заменят на ОПН;
в линии ДПР вместо АС-35 будут применять АС-50;
в воздушных линиях электропередач автоблокировки
вместо трансформаторов ОМ будут использовать трансформаторы ОЛ;
разъединители РЛНД будут замены на разъединители
ТГФ.
Наряду с контактной сетью, тяговыми подстанциями
и линиями продольного электроснабжения в программу обновления входят приборы
учёта электроэнергии, системы телеуправления, средства механизации работ на
контактной сети и линиях электропередач, средства диагностики элементов
устройств электроснабжения.
Экономический эффект от обновления устройств
электроснабжения в основном связан со снижением эксплутационных расходов за
счет сокращения затрат на обслуживание, текущий и капитальный ремонт,
уменьшение повреждаемости и затрат на восстановление, экономии фонда оплаты
труда. Кроме того, увеличивается стоимость основных фондов и соответственно
амортизационные отчисления, возрастает доля прибыли хозяйства от освоения
прогнозируемого объема перевозок.
Чтобы данную Программу реализовать необходимо ее
решать в комплексном подходе подготовки высококвалифицированных специалистов.
Для этой цели на дорогах страны необходимо иметь целевое обучение в вузах и
техникумах и периодически повышать своё мастерство.
1 ОПРЕДЕЛЕНИЕ СЕЧЕНИЯ ПРОВОДОВ КОНТАКТНОЙ СЕТИ
Определение суточного расхода энергии на
движение всех поездов по фидерной зоне, Асут , кВт.
(1)
(2)
(3)
где
- длина фидерной зоны;
- заданный вес локомотива,
пассажирского и грузового;
- заданный вес поезда, пассажирского
и грузового;
- заданное число пассажиров в сутки,
пассажирских и грузовых;
- удельный расход энергии на тягу
для пассажирского и грузового поездов, Вт.ч/т.км.брутто;
(4)
где 3,8- коэффициент, учитывающий
средние потери электроэнергии в контактной сети;
iэ- величина
эквивалентного подъема, которая зависит от величины руководящего подъема iэ= 0.5%0, так
как iр=7%0;
- среднее удельное сопротивление
движения поезда;
Определяем значение среднего
удельного сопротивления поезда
соответствующее заданным типам
поездов и техническим скоростям движения:
для пассажирского поезда с весом
состава
т;
при
км/ч;
=4.3 кГ/т;
для грузового поезда с весом состава
=6000т;
при
=70км/ч;
=
кГ/т
тогда:
Определяем суточные потери энергии
в проводах
фидерной зоны от движения всех поездов, кВт.ч
(5)
где
- длина фидерной зоны;
rэк-
сопротивление 1 км проводов контактной сети фидерной зоны Ом/км;
U- расчетное
значение выпрямленного напряжения, присоединенного к стороне высшего напряжения
трансформатора электровоза;
- суммарное время занятия фидерной
зоны всем расчетным числом поездов за расчетный период (за 24 часа) с учетом
графиковых стоянок внутри фидерной зоны;
- заданные средние участковые
скорости поездов пассажирских и грузовых, км/ч;
- суммарное время потребления
энергии всем расчетным числом поездов за расчетный период (за 24 часа) при
проходе фидерной зоны
(6)
(7)
кВт.ч
Определяем годовые потери энергии
, кВт.ч
(8)
где кд- коэффициент, учитывающий
дополнительный расход энергии на собственные нужды подвижного состава, кд -
1,02;
кз- коэффициент, учитывающий
дополнительный расход энергии в зимних условиях на увеличение сопротивления
движению, кз= 1.08;
,кВт.ч
Определяем удельные потери энергии
за год в проводах данной фидерной зоне,
(9)
где
- длина фидерной зоны;
rэк-
сопротивление 1 км проводов контактной сети фидерной зоны Ом/км;

Определяем минимальное экономическое
сечение проводов контактной сети всех путей рассматриваемой фидерной зоны, мм2.
(10)
мм2
где
- минимальное экономическое сечение
проводов всех путей фидерной зоны в мм2;
.35 коэффициент. учитывающий влияние
ряда факторов стоимости 1 кВт.ч электроэнергии, нормативного срока окупаемости,
удельного сопротивления медных проводов подвески, степени использования
пропусной способности участка, амортизационных отчислений на размер приведенных
годовых затрат по контактной сети.
В0 - определяем потери энергии за
год в проводах данной фидерной зоны, кВт.ч/год-Ом
Определяем минимальное экономическое
сечение проводов контактной сети в медном эквиваленте по каждому из главных
путей перегона, мм2
(11)
мм2
Выбор типа контактной подвески.
По рассчитанному сечению
мм2
принимаем в соответствии справочной литературы стандартное сечение цепной
контактной подвески переменного тока М-95+МФ-100, Sп=195мм2.
Сопоставляем полученную величину Iэмакс= 616А
с допускаемой по нагреванию для принятого типа подвески. Находим, что для
подвески
М-95+МФ-100, Iдоп=1160А.
Так как Iэмакс= 616
А< Iдоп=1160А.,
то выбранный тип подвески проходит понагреванию.
ВЫБОР (ПРОВЕРКА) ПРОВОДОВ КОНТАКТНОЙ
СЕТИ НА НАГРЕВАНИЕ И ДОПУСТИМОЙ ПОТЕРЕ НАПРЯЖЕНИЯ
Перегрев проводов недопустим,
следовательно, сечение проводов контактной сети должно быть выбрано таким,
чтобы наибольший эффективный ток в контактной сети не превышал допустимого по
нагреванию длительного тока для этого сечения контактной подвески.
Наибольший допустимый ток в
контактной сети Iэмакс, А
(12)
где
- расчетная максимальная нагрузка от
грузовых поездов на 1 км, на 1 путь кВт/км;
U- среднее
расчетное напряжение, В;
кн- коэффициент неравномерности
потребления по путям;
кт-коэффициент запаса, учитывающий
неравномерность электро
потребления в течении 1 часа;
с- коэффициент, учитывающий схему
питания;
кэ- коэффициент эффективности;
Определение расчетной максимальной
нагрузки от грузовых поездов на 1 км, на 1 путь, кВт/км.
(13)
кВт/км
где
- суточный расход энергии на
движение грузовых поездов по фидерной зоне кВт.ч., остальные величины в формуле
являются исходными данными.
Определение среднего числа поездов,
одновременно находящихся на фидерной зоне при полном использовании пропускной
способности линии.
(14)
где n-
среднее число поездов, одновременно находящихся на фидерной зоне при полном
использовании пропускной способности линии.
поезда
Находим коэффициент эффективности
(15)
где кэ- коэффициент эффективности
для двухпутной линии при двустороннем питании.
Определяем максимальный эффективный
ток фидера.
где С-2, так как питание
двустороннее; U=22500В
Допустимая наибольшая потеря
напряжения в тяговой сети
(16)
где Uш-
напряжение, поддерживаемое на тяговых шинах подстанции за счет стабилизирующих
устройств.
Можно принять, что: Uш=27200 В-
при переменном токе;
Uдоп-
допустимое минимальное напряжение на пантографе электровоза;
Uдоп= 21000
В- при переменном токе.
Расчетная величина потери напряжения
в тяговой сети.
(17)
где с=8, с=1- при схеме
двустороннего питания;
кд - при наличии только
магистрального движения поездов на электротяге,
кд= 1.02;
кз - коэффициент, учитывающий
дополнительный расход энергии в зимних условиях на увеличение сопротивления
движению, кз= 1.08;
Zтс -
кажущееся сопротивление двухпутного участка тяговой сети переменного тока при
контактной подвеске М-95+МФ-100 и рельсах Р65 находим: Zтс= 0,51
Ом/км; U= 22500B
Cуммарное
время занятие фидерной зоны максимальным расчетным числом поездов N0 за сутки.
(18)
ч
Определяем
:
Так как
<
, то сечение
(мин.) контактной подвески М-95+МФ-100 можно считать выбранным окончательно,
так как оно проходит и по допустимой потере напряжения.
Выбор сечения питающих и
отсасывающих линий.
Исходя из требования, что сечение
питающих и отсасывающих линий должно выбираться по нагреву, находим:
(19)
провода
где Iдоп(А-185)=600А-
допустимый по нагреву длительный ток для провода А-185;
(20)
где Iэмаксп/ст-
наибольший эффективный ток подстанции, который приближенно может быть найден по
формуле для переменного тока:
(21)
где к- коэффициент, учитывающий
сдвиг по фазе нагрузок плеч питания; если принять, что величина нагрузок плеч
питания (фаз тяговой подстции)одинакова, к= 1.73.
тогда:
Округляя до целого числа, принимаем
у каждой питающей линии по два провода АC-185 из
соображения надежности; в отсасывающей линии четыре провода АC-185.
ОПРЕДЕЛЕНИЕ НАГРУЗОК ДЕЙСТВУЮЩИХ НА
ПРОВОДА КОНТАКТНОЙ СЕТИ СТАНЦИЯ. ГЛАВНЫЙ ПУТЬ. КОНТАКТНАЯ ПОДВЕСКА
М-95+МФ-100
Определение вертикальной нагрузки.
где g т , gк - нагрузки
от собственного веса 1м несущего троса и контактного провода.
gс - нагрузка
от собственного веса струн и зажимов, gс =0.1 дан/м
при одном контактном проводе.
nк -количество
контактных проводов
Определение горизонтальной ветровой
нагрузки на несущий трос и контактный провод.
(22)
где Сх - аэродинамический
коэффициент лобового сопротивления несущего троса на ветру.
υH -
нормативная скорость ветра наибольшей интенсивности м/с
Kυ - ветровой
коэффициент. Kυ = 1
d - диаметр
несущего троса, мм
где Н - высота контактного провода,
мм.
Определение результирующей нагрузки
на несущий трос в режиме максимального ветра.
(23)
Определение вертикальной нагрузки от
веса гололеда на несущий трос
(24)
где вт- толщина стенки гололеда на
несущем тросе равна вт=вн, мм.
вн - нормативная толщина стенки
гололеда.
Определение вертикальной нагрузки от
веса гололеда на контактном проводе.
(25)
где
- толщина стенки гололеда на
контактном проводе, мм
=0.5
- средний диаметр контактного
провода, мм
Определение полной вертикальной
нагрузки от веса гололеда.
(26)
где gгс -
равномерно распределенная по длине пролета вертикальная нагрузка от веса
гололеда на струнах и зажимах при одном контактном проводе, дан\м
Определение ветровой нагрузки на
несущий трос, покрытый гололедом.
(27)
Расчет результирующей нагрузки на
несущий трос в режиме гололеда.
(28)
Станция. второстепенный путь.
контактная подвеска пбсм-70+мф-85
Определение вертикальной нагрузки.
Определение горизонтальной ветровой
нагрузки на несущий трос и контактный провод.
Определение результирующей нагрузки
на несущий трос в режиме максимального ветра.
Определение вертикальной нагрузки от
веса гололеда на несущий трос
Определение вертикальной нагрузки от
веса гололеда на контактном проводе.
Определение полной вертикальной
нагрузки от веса гололеда.
Определение ветровой нагрузки на
несущий трос, покрытый гололедом.
Расчет результирующей нагрузки на
несущий трос в режиме гололеда.
ОПРЕДЕЛИТЬ МАКСИМАЛЬНО ДОПУСТИМЫЕ
ДЛИНЫ ПРОЛЕТОВ ЦЕПНЫХ ПОДВЕСОК СТАНЦИИ
Станция. главный путь. контактная
подвеска м-95+мф-100
Расчет максимальных длин пролетов
(29)
где К - номинальное натяжение
контактных проводов, Дан;
bkдоп -
наибольшее допустимое горизонтальное отклонение контактных проводов от оси
токоприемника в пролете;
bkдоп =0.5 -на
прямых
a - зигзаг
контактного провода; а=0.3м на прямых
рк - ветровая нагрузка на контактные
провода, даН/м;
- прогиб контактного провода
-эквивалентная нагрузка
=1,
=0
Коэффициент К1 определяется по
выражению:
где
и
- коэффициенты, учитывающие
пульсацию ветра;
- коэффициент динамичности;
Коэффициенты
и
зависят от
длины пролета:
при
=60м
;
Коэффициенты
и
в формулах
определяются скоростью ветра
при υ=25м/с
;
Коэффициенты
и
зависят от
веса контактных проводов в соответствии с формулой:
(30)
дан/м
при 
;
Коэффициент
находится
по формуле
(31)
;
Удельная эквивалентная нагрузка,
учитывающая взаимодействие несущего троса и контактного провода при ветровом их
отклонении; даН/м,
дан/м (32)
где К - натяжение контактного
провода, даН;
Т - натяжение несущего троса
контактной подвески в расчетном режиме, даН;
Рtvmax - ветровая
нагрузка на несущий трос в режиме максимального ветра, даН/м;
Pkvmax - ветровая
нагрузка на контактный провод в режиме максимального ветра, дан/м;
- результирующая нагрузка на
несущий трос, даН/м
- длина пролета,м.
Средняя длина струны в средней части
пролета, м.
(33)
где h
-конструктивная высота контактной подвески, h =1,8 м
g -
вертикальная нагрузка от веса проводов контактной подвески, даН/м,
Т0 - натяжение несущего троса
контактной подвески при беспровесном положении контактных проводов.
м
Нагрузка от веса контактных проводов
подвески, дан/м, свободных от гололеда в расчетном режиме максимального ветра,
или с учетом веса гололеда на них в расчетном режиме гололеда с ветром
Коэффициент, учитывающий упругие
деформации провода при его отклонении,
Поскольку для определения нагрузки
р, и коэффициента К1, входящих в расчетные формулы длин пролета, необходимо
знать длину пролета.
Приходиться в расчетах
использовать
метод последовательных приближений: вначале определять
без учета
рэ и К1 (т.е. приняв рэ=0,К1=1), затем по найденной длине пролета находить рэ и
К1 и уточнять(повторять) расчет
, пока разница между двумя
последовательно полученными длинами
не окажется меньше 5%
. Последнее
значение
следует,
округляя до целого числа, считать окончательным. При этом необходимо учитывать,
что окончательно принятая длина пролета согласно правилам не должна превышать
70м; длина пролета на кривых больших радиусов не должна превышать длины пролета
на прямой при тех же условиях.
дан/м
Окончательно принимаем длину пролета
по главным путям станции
м
СТАНЦИЯ. ВТОРОСТЕПЕННЫЙ ПУТЬ.
КОНТАКТНАЯ ПОДВЕСКА ПБСМ-70+МФ-85
Расчет максимальных длин пролетов
Коэффициенты
и
зависят от
длины пролета:
при
=58м
;
Коэффициенты
и
в формулах
определяются скоростью ветра
при υ=25м/с
;
Коэффициенты
и
зависят от
веса контактных проводов в
соответствии с формулой:
дан/м
при 
;
;
м
Окончательно принимаем длину пролёта
на второстепенных путях станции 54м.
Расчётные длины пролёта сводим в
таблицу 1, из которых принимаем длину действительного пролёта. С данным
пролётом выполняем трассировку опор контактной сети по всей станции.
Таблица 1- Действительные пролеты
|
Наименование
|
Длина
пролета l, м
|
|
Lр, м
|
Lд, м
|
|
Станция
главный путь: М-95+МФ-100 Станция второстепенный путь: ПБСМ-70+МФ-85
|
53
54
|
53
|
РАЗРАБОТКА СХЕМЫ СЕКЦИОНИРОВАНИЯ И ПИТАНИЯ
СТАНЦИИ И ПРИЛЕГАЮЩИХ ПЕРЕГОНОВ
Контактная сеть электрифицированного участка для
обеспечения надежной работы и удобства ее обслуживания секционируется, т.е.
разделяется на отдельные участки (секции), электрически независимые друг от
друга.
Секционирование обеспечивает селективность
работы контактной сети при повреждениях, а также дает возможность выделять
любой из участков для производства работ со снятием напряжения без нарушения
движения поездов.
В дипломном проекте станции с прилегающим
перегоном выполнил продольное и поперечное секционирование.
При продольном секционирование выделил подвеску
главного пути от перегона с помощью трехпролетных изолирующих сопряжений,
которые установил в горловинах станции перед входными светофорами. В месте
расположения тяговой подстанции, на перегоне, установил семипролетное
изолирующее сопряжение с нейтральной вставкой (для раздела фаз А и В). Данные
устройство дополнил продольными разъединителями А, Б, В, Г, В1, В2, Г1, Г2.
При поперечном секционирование выделил в
отдельные секции подвески главных путей друг от друга, второстепенные (4-6-8,
10, 3). Данное секционирование выполнил секционными изоляторами типа ИС-27,5
РПГМ-160, на второстепенных путях ИС - 27,5 РПГ-80,
секционирование дополнил поперечными разъединителями П1-3, П2-4, П10.
Фидерные зоны контактной сети запитал от шин
27,5кВ тяговой подстанции по фидерам, через фидерные линейные разъединители
Фл1; Фл2;
Фл3-1 Фл3-2;Фл4; Фл5 .
Данная разработанная схема секционирования и
питания станции и прилегающих к ней перегонов показана на листе 2 (См. Лист-2).
ТРАССИРОВКА КОНТАКТНОЙ СЕТИ НА СТАНЦИИ
План станции вычертил в масштабе 1:1000 на листе
миллиметровой бумаги. Ширина листа соответственно стандарту должна быть равна
297мм.
Необходимую длину листа определим в соответствии
с заданной схемой станции. При переменном токе предусмотрел нейтральную вставку
за входным светофором при мотор- вагонной тяги, где для этого оставил 8 пикетов
(800 м). Требуемую длину чертежа определил по отметкам светофоров с учетом
расположения нейтральной вставки.
При выполнении плана пользовался условными
обозначениями, приведенными в методическом указании для дипломного
проектирования.
Вычерчивание плана начал с разметки тонкими
вертикальными линиями через каждые 100м условных станционных пикетов в обе
стороны от оси пассажирского здания, принимаемого за нулевой пикет. При этом
условно в левую сторону эти отметки принял со знаком «-», а в правую сторону со
знаком «+».
Необходимое число условных пикетов по обе
стороны от ПЗ определим теми же соображениями, что и при определении длины
чертежа.
Пути на плане контактной сети показал своими
осями. Отметил центры стрелочных переводов и расстояния между осями путей
(междупутья), которые указаны на заданной схеме станции. Номера путей и размеры
междупутий показал в трех мессах по длине станции.
На специальных вертикальных выносах
отмечены центры стрелочныхпереводов и их номер, а также марки крестовины
стрелочного перевода, где отметки вершин стрелочных кривых не указаны определил
расчетом
, где м -
междупутье, м
е - расстояние от ЦП до вершины
стрелочной кривой крайнего пути станции, м
Далее на плане показал ПЗ,
пассажирские платформы, тяговую подстанцию, входные светофоры, переезды с
указанием их размеров, пикетных отметок и расстояний от оси ближайших путей.
Разбивку опор начал с наметки мест,
где необходимо установить устройства для фиксации контактных проводов, такими
местами являются все стрелочные переводы в горловине станции. В мессах
сосредоточения стрелочных переводов можно отступать от максимальной расчетной
длины пролета в сторону уменьшения, стремясь наибольшее число воздушных стрелок
зафиксировать с несущих конструкций, тем самым установить как можно меньше
фиксирующих дополнительных опор.
Далее наметил места установки опор
для изолирующего сопряжения в левой горловине станции. После чего определил
длину анкерного участка по главным путям станции, предусмотрел в середине
анкерного участка среднюю анкеровку полукомпенсированной подвески, где пролет
сократил на 10% от действительного пролета. После чего разметил опоры на
станции в правой горловине станции, где сосредоточено наибольшее количество
стрелочных переводов исходил из тех же соображений, что в левой горловине.
Далее, по габариту, установил опоры
по станции, где число перекрываемых путей более трех, установил жесткие
поперечины. Вычертил в плане изолирующие сопряжение, за входным сигналом
светофора вычертил нейтральную вставку, ее расположил на расстоянии 300м от
входного сигнала светофора до знака на нейтральной вставке «отключить ток» со
стороны тяговой подстанции.
После чего выделил контактные
подвески всех путей в анкерные участки, длиной не более 1600м, показал номер
анкерного участка и его длину.
Подобрал типы опор и жестких
поперечин.
На вертикальных выносных линиях
указал габарит опор, типы опор, расположение опор в пикете, тип жестких
поперечин.
После чего, согласно схемы
секционирования и питания контактной сети станции, выполнил секционирование,
запитал фидерные зоны от тяговой подстанции. Указал все предусмотренные схемой
секционирования продольные разъединители, защиту контактной сети от
перенапряжений - ОПН - 27,5кВ.
Указал на плане продольные и
поперечные электрические соединители расставил зигзаги по всем путям, согласно
ПУТЭКС; нумерацию опор контактной сети.
На проектируемой станции
предусмотрен пешеходный мостик, согласно заданию расстояние от головки рельса
до нижнего уровня пешеходного мостика 7300 мм. Пешеходный мостик расположен в
плане в середине пролета, выбираем следующий способ прохода контактной подвеске
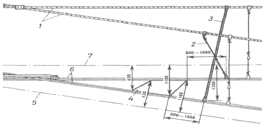
под пешеходным мостиком, который представлен на рисунке 1.
7 МЕХАНИЧЕСКИЙ РАСЧЁТ ЗАДАННОГО АНКЕРНОГО
УЧАСТКА
Определение длины эквивалентного и критических
пролётов и установление расчётного режима.
Определяю длину эквивалентного пролёта:
Анкерный участок состоит из пролетов: 51х7,
53х4, 52х4, 49х12, 47x1,
46x1, 39x1;
Расстояние от центра опорного узла до первой
простой струны - е=10 м.
м;… (34)
где Li
- длина пролета с номером i;-
число пролетов в анкерном участке.
Определяю критический пролёт для режима гололёда
с ветром:
м; (35)
м;
где
натяжение некомпенсированного
несущего троса, даН
температура образования гололёда,
минимальная заданная температура,
нагрузка на несущий трос в режиме
гололёда с ветром, даН/м
нагрузка от собственного веса одного
метра проводов, даН/м
Для М-95 24α∙10-6=408OС
м; (36)
Определяю критический пролёт для режима
максимального ветра:
где tv.max
- максимальная температура в режиме максимального ветра;
Сравниваем полученные длины Lкр.г
и Lкр.vmax
с найденной выше длиной эквивалентного пролета Lэ,
для заданного анкерного участка цепной подвески.
Lкр.г=168м > Lэ=50м
Lкр.vmax=218м
> Lэ=50м =>
исходный режим - минимальная температура.
Если исходный расчётный режим - минимальная
температура, то:T1=Tmax;
t1=tmin;
g1=g
При этом, поскольку вначале предстоит рассчитать
зависимость натяжения НТ только от температуры Tх(tх)
без учета влияния дополнительных нагрузок от ветра и гололеда, то в данном
разделе следует принять gх=g.
Определяю натяжения нагруженного (контактным
проводом) несущего троса в зависимости от температуры и построение монтажной
кривой
. Определяю
натяжения несущего троса при всех расчётных режимах и при температуре
беспроводного положения контактных проводов. Составление монтажной таблицы.
Расчёт зависимости натяжения
нагруженного несущего троса от температуры и построение монтажной кривой
:
Расчёт зависимости
выполняется
по упрощённому уравнению состояния несущего троса цепной полукомпенсированной
контактной подвески:
Воспользуемся уравнением состояния
(37)
где А,В,С- постоянные для данного расчёта
коэффициенты, которые рассчитываются по формулам.
(38)
(39)
(40)
Для М-95 αЕS=17,93 ,
24α=408∙10-6
При
:
При
:
При
:
При
:
При
:
Определение натяжений несущего троса
при всех расчётных режимах:
Исходным расчётным режимом оказался
режим минимальной
температуры, =>Tmin = Tmax.
Рассчитываем натяжение несущего троса при максимальном ветре Tvmax и при
гололёде с ветром Tг, соответственно gх=gг и gх=gv.max.
Определение натяжения несущего троса
при беспровесном положении контактных проводов.
(41)
где
- величина, зависящая от типа и
количества контактных провод; её значение берем в справочной таблице.
Для одиночных контактных проводов
сечением 85-100 м2
=150С
Определяем натяжение несущего троса при
расчетных режимах(гололеда с ветром и максимального ветра).
При максимальном ветре: Тх1=1050дан.
(42)
дан, тогда
Температура
, оказалась
между
и
.
Соответственно между двумя принятыми
выше значениями:

и
Методом подбора определяем значение
, которое
может быть найдено линейной интерполяцией.
При гололеде с ветром
=1150 Дан
=1200 Дан
Температура 
оказалась между 
соответственно между двумя принятыми
выше значениями 
и 
находится искомое значение 
которое может быть найдено линейной
интерполяцией.

Таблица 2 - Монтажная таблица
Расчет и построение монтажных кривых стрел
провеса несущего троса и контактных проводов.

(43)
При l=53 м.
=52 м
=51м
=49м

l=47м
= 46
l = 39
Определение стрел провеса контактных
проводов
(44)
l=53 м

l=52 м






l=51 м





l=49 м





l=47 м





l=46 м





l=39 м





Данные расчеты сносим в монтажную
таблицу.
Таблица 3 - Итоговая монтажная
таблица
|
       
|
|
|
|
|
|
|
|
|
|
дан                 
|
|
|
|
|
|
|
|
|
|
|
|
|
|
|
|
|
1600
|
0,45
|
-0,026
|
0,42
|
-0,024
|
0,42
|
-0,023
|
0,38
|
-0,02
|
0,35
|
-0,017
|
0,35
|
-0,016
|
0,26
|
-0,009
|
|
|
1400
|
0,51
|
-0,01
|
0,49
|
-0,01
|
0,46
|
-0,01
|
0,43
|
-0,009
|
0,40
|
-0,008
|
0,39
|
-0,007
|
0,29
|
-0,004
|
|
|
1260
|
0,55
|
0
|
0,53
|
0
|
0,51
|
0
|
0,47
|
0
|
0,44
|
0
|
0,42
|
0
|
0,32
|
0
|
|
|
1076
|
0,63
|
0,02
|
0,60
|
0,016
|
0,58
|
0,15
|
0,55
|
0,13
|
0,50
|
0,012
|
0,48
|
0,011
|
0,36
|
0,006
|
|
|
880
|
0,74
|
0,04
|
0,71
|
0,038
|
0,69
|
0,035
|
0,64
|
0,031
|
0,60
|
0,027
|
0,58
|
0,025
|
0,44
|
0,013
|
|
|
730
|
0,87
|
0,61
|
0,84
|
0,57
|
0,81
|
0,054
|
0,76
|
0,047
|
0,70
|
0,041
|
0,53
|
0,04
|
0,52
|
0,02
|
|
На основании монтажной таблице, строим монтажные
кривые (см лист 2)
кривая натяжения несущего троса,
нагруженного контактным проводом в зависимости от температуры.

кривая стрел провеса несущего
троса.

кривая стрел провеса контактного
провода.
8 ПОДБОР ТИПОВЫХ ОПОР И
ПОДДЕРЖИВАЮЩИХ УСТРОЙСТВ
В дипломном проекте необходимо
подобрать типовые консоли (промежуточную, переходную, анкерную и фиксирующую)
опоры, а также опоры для стоек жестких поперечин.
Жесткие поперечины подбираются
исходя из количества перекрываемых путей.
Типы консолей и фиксаторов для
проектируемого участка (станция, перегон) выбираются в зависимости от
назначения, габарита и условий работы.
Таблица 4 - Опоры контактной сети
|
Типоразмеры
стоек
|
Номера
стоек
|
Нормативные
изгибающие моменты, кНм
|
Длинна
стоек,мм
|
Диаметр
стоет,мм
|
Толщина
стенки, мм
|
Масса,
|
|
СС136,6
|
1
|
44
|
13600
|
492
|
60
|
2,10
|
|
2
|
59
|
|
|
|
|
|
3
|
79
|
|
|
|
|
Таблица 5 - Консоли
|
Тип
консоли
|
Длина,
мм
|
Масса
консоли
|
|
Кронштейн
|
Тяга
|
Подкос
|
|
|
неизолированные
швеллерные
|
|
НР-1-5
|
4730
|
2600
|
-
|
55,57
|
|
НР-II-5
|
5230
|
3300
|
-
|
63,93
|
|
|
|
|
|
|
Таблица 6 - Фиксаторы
|
Типоразмер
|
Длина
основного стержня, мм, фиксаторов типа
|
|
ФП-25
|
ФО-25
|
ФГ-25
|
ФА-25
|
|
I
|
1200
|
3000
|
-
|
1300
|
|
II
|
-
|
3400
|
-
|
-
|
|
III
|
-
|
-
|
-
|
2300
|
Таблица 7 -Тип опор от числа перекрываемых путей
и тип жесткой поперечины
|
Число
пересекаемых путей
|
Тип
ригеля
|
Опоры
каждой стойки
|
|
2,3
|
П15-17,7
|
СС136,6-1
|
|
4
|
П22-29Д
|
СС136,6-2
|
|
5
|
П26-30,3
|
СС136,6-2
|
|
6
|
П33-39,2
|
СС136,6-3
|
ТРЕБОВАНИЯ БЕЗОПАСНОСТИ ПЕРЕД НАЧАЛОМ РАБОТ НА
КОНТАКТНОЙ СЕТИ
Все работы на контактной сети, ВЛ и связанном с
ней оборудовании выполняются по технологическим картам или проектам
производства работ, разработанным в установленном порядке.
Электромеханик и электромонтёр обязаны иметь при
себе удостоверение о проверке знаний установленного образца с талоном
предупреждения.
Электромеханик и электромонтёр должны получить в
установленном порядке наряд или распоряжение на производство работ и целевой
инструктаж, от лица выдающего наряд, об особенностях предстоящей работы,
технологии производства данной работы и порядке безопасного её выполнения.
Получить на руки технологическую карту на производства работ.
Электромеханик и электромонтёр должны проверить
наличие и исправность инструмента и приспособлений ( неисправный инструмент
следует заменить исправным ), ознакомится с порядком производства работ и
особенностями выполнения технологических операций.
Перед началом работы электромеханик и
электромонтёр должны надеть исправные спецодежду и спец. обувь, привести их в
порядок:
застегнуть на пуговицы обшлага рукавов;
заправить свободные края одежды, так чтобы они
не свисали.
Не допускается носить расстёгнутую спецодежду и
с подвёрнутыми рукавами.
Спецодежду и спец. обувь работники не должны
снимать в течении всего рабочего времени.
Закреплённые за работником средства
индивидуальной защиты должны быть подобраны по размеру и росту.
Перед выполнением работ на железнодорожных путях
необходимо надеть сигнальные жилеты, а в тёмное время суток при плохой
видимости, сигнальные жилеты со световозвращающими накладками.
Перед началом работы электромеханик и
электромонтёр должны убедиться в исправности защитных средств, проверить наличие
на диэлектрических перчатках, галошах и предохранительном поясе и других
приспособлениях штампа или бирки о последних испытаниях, которые проводятся в
соответствии с правилами применения и испытания средств защиты, проверить
защитные средства на механическую прочность, отсутствие микротрещин.
Перед началом работ на станции при техническом
обслуживании и ремонте устройств контактной сети необходимо получить разрешение
дежурного по станции и сделать запись в Журнале формы ДУ - 46 об объявлении по
громкоговорящей связи о передвижениях подвижного состава по стрелочным
переводам, где производятся работы.
Большая часть работ выполняется на высоте,
включая верхолазные работы.
Для предотвращения падения с высоты необходимо
применять страхующие приспособления (монтерский пояс, когти, лазы). Перед
началом работы с применением страховочных приспособлений, на лестнице или
стремянке, необходимо проверить сроки их очередных испытаний.
Работы должны выполняться бригадой, состоящей не
менее чем из двух работников.
Обо всех обнаруженных неисправностях
оборудования, приспособлений, и инструмента и других недостатках работники
должны сообщать старшему электромеханику или руководителю работ и не приступать
к работе до их устранения.
Электромеханик, электромонтер, работающий в
помещениях с электрооборудованием (за исключением щитов управления), в ЗРУ и
ОРУ, в тоннелях, траншеях, при обслуживании и ремонте устройства контактной
сети и связанной с ней оборудовании, а также при обходах и осмотрах устройств
должны находиться в защитных касках.
ТРЕБОВАНИЯ БЕЗОПАСНОСТИ В АВАРИЙНЫХ СИТУАЦИЯХ
(ВОЗНИКНОВЕНИЯ ПОЖАРА, ОБРЫВ КОНТАКТНОГО ПРОВОДА, ОБРЫВ ПРОВОДОВ ВОЗДУШНЫХ
ЛИНИЙ)
контактный
сеть провод напряжение
Действия электромеханика и электромонтера при
возникновении ситуации, которые могут привести к нежелательным последствиям.
Во время работы могут возникать следующие
основные аварийные ситуации
возникновение пожара;
обрыв контактного провода;
обрыв проводов воздушных линий.
При возникновении аварийной ситуации
электромеханик, электромонтер обязаны прекратить работу, произвести отключения
питания с устройств и неисправного оборудования если необходимо, произвести
ограждение опасного места и немедленно сообщить о случившимся производителю
работ, энергодиспетчеру и далее выполнять его указания по предупреждению
несчастных случаев или устранению возникшей аварийной ситуации.
В аварийных ситуациях, не терпящих промедления
(при обрыве проводов, падении деревьев на провода, ситуации угрожающих жизни
людей, безопасности движения и т.д.) разрешается отключение разъединителей без
приказа по с уведомлением энергодиспетчера.
Работники, находящиеся по близости, по сигналу
тревоги обязаны немедленно явиться к месту происшествия и принять участие в
оказании пострадавшему первой помощи или устранении возникшей аварийной
ситуации.
При ликвидации аварийной ситуации необходимо
действовать в соответствии с утвержденным планом ликвидации аварий.
При возникновении пожара необходимо:
сообщить производителю работ;
оповестить окружающих и при необходимости
вывести людей из опасной зоны;
приступить к ликвидации пожара, используя
первичные средства пожаротушения;
организовать встречу пожарной команды.
При пользовании пенными (углекислотными,
порошковыми) огнетушителями струю пены (порошка, углекислоты) не направлять на
людей. При попадании пены на незащищенные участки тела стереть ее платком или
другим материалом и смыть водным раствором соды.
При загорании электрооборудования применять
только углекислотные или порошковые огнетушители. При пользовании углекислотным
огнетушителем не браться рукой за раструб огнетушителя.
В помещениях с внутренними пожарными кранами
необходимо пользоваться расчетом из двух человек: один раскатывает рукав от
крана к месту пожара, второй по команде раскатывающего рукав, отрывает кран.
При тушении очага загорания кошмой, пламя
следует накрывать так, чтобы огонь из под нее не попадал на человека тушащего
пожар.
При тушении пламени песком савок, лопату не
поднимать на уровень глаз во избежание в них песка.
Тушение горящих предметов расположенных на
расстоянии более 7 метров от контактного провода, находящегося под напряжением,
может быть допущено без снятия напряжения. При этом необходимо следить чтобы
струя воды или пены не приближалось к контактной сети и другим частям,
находящимися по напряжением, на расстояние менее 2 метров.
Если на человеке загорелась одежда, то следует
как можно быстрее погасить огонь, но при этом нельзя сбивать пламя
незащищенными руками. Воспламенившуюся одежду необходимо быстро сбросить,
сорвать, либо погасить, заливая водой, а зимой присыпая снегом. На человека в
горящей одежде можно накинуть плотную ткань, одеяло, брезент, который после
ликвидации пламени необходимо убрать.
При пожаре в помещениях района необходимо:
отключить все источники питания рубильниками на
щите или предохранителями;
вызвать пожарную команду, сообщить о пожаре
руководству района и энергодиспетчеру;
приступить к ликвидации пожара в
служебно-технических помещениях, используя первичные средства пожаротушения
находящиеся в помещении.
При обнаружении обрыва проводов контактной сети
или высоковольтных воздушных линий, следует немедленно сообщить дежурному по
станции, энергодиспетчеру или поездному диспетчеру, оградить место обрыва и
следить, чтобы никто не приближался к нему ближе 8 метров. В случае, если
оборванные провода или другие элементы контактной сети и высоковольтных
воздушных линий нарушают габарит приближения строений и могут быть задеты при
проходе поезда, необходимо это место оградить сигналами остановки.
Запрещается подходить ближе 8 метров к
оборванным проводам контактной сети и высоковольтных воздушных линий, а также
прикасаться чем - либо к ним и находящимся на них посторонним предметам не
зависимо от того, касаются они или не касаются земли или заземленных
конструкций.
В случае падения проводов сторонних организаций
на землю при одновременном соприкосновении их с проводами контактной сети или
линии электропередачи электромеханик, электромонтер должны немедленно всякого
движения в районе падения проводов; сообщить о прошествии производителю работ и
энергодиспетчеру дистанции. Приступить к устранению повреждений можно только по
прибытию на место ремонтной бригады владельца сетей, после отключения и
заземления проводов работниками ремонтной бригады.
При обнаружении оборвавшегося провода контактной
сети, воздушной линии электромеханик, электромонтер должны немедленно принять
меры к
снятию напряжения на данном участке. Оградить
опасное место, не допуская к нему посторонних лиц, проходящих вблизи
оборвавшегося провода, и сообщить о прошествии производителю работ или
энергодиспетчеру.
Запрещается приближении к оборванным проводам
(месту замыкания на землю) напряжением 3-35кВ на расстояние менее 8 метров.
Все работы по ликвидации обнаруженных
повреждений электроустановок должны выполняться с соблюдением всех требований
организационных и технических мероприятий.
ИНДИВИДУАЛЬНАЯ ЧАСТЬ
Воздушная стрелка над обыкновенным стрелочным
переводом
Воздушные стрелки.
Назначение: Обеспечивать плавный, без ударов и
искрений, переход полоза токоприемника с контактных проводов одного пути
(съезда) на контактные провода другого пути.
Пересечение контактных проводов, образующих воздушную
стрелку при обыкновенном стрелочном переводе, должно отстоять от осей прямого и
примыкающего путей на 360 - 400 мм. находится в том месте, где расстояние между
внутренними гранями головок соединительных рельсов составляет 730 - 800 мм.
Рисунок 2 - Положение проводов на воздушной
стрелке
Рассмотрим воздушную стрелку над обыкновенным
стрелочным переводом.
Рисунок 3 - Схема фиксированной воздушной
стрелки при обыкновенном стрелочном переводе
- зона прохода полоза токоприемника над
нерабочей ветвью контактного провода.
- нерабочая ветвь контактного провода.
- электрические соединители.
- область расположения фиксирующего устройства.
- зона подхвата полозом токоприемника контактных
проводов.
- контактный провод прямого пути.
- контактный провод (съезда).
- крестовина.
- место пересечение контактных проводов.
Таблица 8 - Расстояние от фиксирующего
устройства до остряка стрелочного перевода, центра крестовины и математического
центра перевода.
|
Марка
крестовины
|
Расстояние
от фиксирующего устройства, м
|
|
До
остряка стрелочного перевода l1
|
До
центра крестовины L2
|
До
математического центра стрелочного перевода L3
|
|
1/22
|
39,5
|
21,0
|
12,5
|
|
1/18
|
32,5
|
17,0
|
11,0
|
|
1/11
|
17,5
|
9,5
|
6,0
|
|
1/9
|
17,0
|
8,0
|
5,0
|
|
1/6
|
10,0
|
5,5
|
3,0
|
Зона подхвата полозом токоприемника контактных
проводов примыкающего или пересекающего пути и зоны прохода полоза токоприемника
электроподвижного состава под нерабочими ветвями контактных проводов должны
располагаться на расстоянии от оси пути 630 - 1100 мм.
Для одновременного подъема контактных проводов
обоих путей в месте их пересечения устанавливают ограничительные накладки длиной:
,5 м. - при марке крестовины 1/9 и круче;
,7 м. - при марке крестовины 1/11;
,0 м. - при марке крестовины 1/18 и плавнее.
Расстояние между ограничительной накладкой и
контактным проводом, на котором она установлена, должно быть 13 - 15 мм.
Ограничительные накладки устанавливают на каждый
контактный провод, расположенный снизу. Головки болтов фиксирующих зажимов,
крепящих ограничительную накладку, должны быть обращены к контактному проводу
примыкающего пути.
За зоной подхвата полозом токоприемника контактных
проводов, на расстояние не более 1 м. в сторону крестовины, должны быть
установлены двойные вертикальные и скользящие струны. Скользящие струны
необходимо устанавливать при полукомпенсированной подвеске в соответствие с
графиком.
Вместо скользящих струн могут применятся
устройства одновременного подъема контактных проводов воздушной стрелки,
перекрестные гибкие струны и жесткие распорки. Применение рессорных струн на
воздушных стрелках не допускается.
Нерабочие ветви контактных проводов, где они входят
в зону прохода полоза токоприемника, должны быть закреплены на двойных струнах
струновыми зажимами и расположены на 150 мм. выше рабочего контактного провода
с допуском + 50 мм.
Несущие тросы полукомпенсированных подвесок над
пересечением контактных проводов должны быть механически соединены.
Фиксирующие устройства при обыкновенном
стрелочном переводе располагают на расстояние 2 м. с допусками - 0,5 и + 1 м.
от точки пересечения контактных проводов в сторону остряка стрелочного
перевода. Расстояние между контактными проводами в плане в месте их фиксации,
должно быть не менее 100 мм..
Электрические соединители располагают на
расстояние 3 - 3,5 м. от точки пересечения контактных проводов в сторону
остряка стрелочного перевода, а также на расстоянии 2 - 2,5 м от зоны подхвата
в сторону крестовины стрелочного перевода.
При перекрестном стрелочном переводе и глухом
пересечении путей электрические соединители контактных подвесок размещают с
обеих сторон воздушной стрелки на расстоянии 2 - 2,5 м от зоны подхвата в
сторону крестовин.
Рисунок 4 - Фиксированная воздушная стрелка при
обыкновенном стрелочном переводе
Рисунок 5 - Двойные вертикальные звеньевые
струны между несущим тросом и контактным проводом
- несущий трос М-95; 2 - звеньевая струна БСМ Ф
4мм; 3 - зажим для троса КС-046-6; 4 - зажим струновой КС-046-7; 5 - зона
подхвата контактных проводов; 6 - ось пути (съезда); 7 - ось прямого пути; 8 -
контактные провода МФ-100; 9 - соединительный зажим КС-325; 10 -
ограничительная накладка.
Рисунок 6 - Скользящие струны на воздушной
стрелке
- несущий трос М-95; 2 - скользящие струны БСМ ф
4мм; 3 - зажим для троса КС-046-6; 4 - скользун диаметром 12-14мм; 5 - зона
подхвата контактных проводов; 6 - контактные провода МФ-100; 7 - ось пути
(съезда); 8 - ограничительная накладка; 9 - ось прямого пути.
Рисунок 7 - Область установки различных видов
звеньевых струн на воздушных стрелках в зависимости от вертикального расстояния
между несущим тросом и контактным проводом h
и расстояние от воздушной стрелки до жесткой или средней анкеровки контактного
провода L.
- область установки двойных вертикальных струн;
2 - область установки скользящих струн.
Рисунок 8 - Перекрестные гибкие струны на
воздушной стрелке
- несущие тросы М-95; 2 - перекрестные гибкие
звеньевые струны; 3 - звеньевая струна; 4 - зона подхвата контактных проводов;
5 - ось пути (съезда); 6 - ось прямого пути; 7 - контактные провода.
Рисунок 9 - Жесткие распорки на воздушной
стрелке
- несущие тросы; 2 - гибкая звеньевая струна; 3
- жесткая распорка; 4 - зона подхвата контактных проводов; 5 - ось пути
(съезда); 6 - контактные провода; 7 - ось прямого пути.
Устройства для одновременного подъема контактных
проводов на воздушных стрелках УППВС-1. Назначение, технические характеристики,
конструкция, работа устройства, монтаж устройства, регулировка, техническое
обслуживание, место установки
На электрифицированном участке великого
Транссиба ДВЖД происходит модернизация воздушных стрелок. Одна из новшеств -
установка устройств одновременного подъема контактных проводов при проходе
токоприемника электроподвижного состава по воздушной стрелке, поэтому возникла
необходимость собрать всю необходимую информацию об этих устройствах.
Самая необходимая информация - конструкция
УППВС-1, место установки этого устройства, монтаж, регулировка и техническое
обслуживание.
Назначение: Для одновременного подъема
контактных проводов на воздушных стрелках при проходе токоприемников
электроподвижного состава.
Технические характеристики:
Горизонтальное расстояние между несущими
тросами, от 560 до 640 мм.
Вертикальное расстояние между несущими тросами,
от 0 до 300 мм.
Расстояние между несущими тросами и контактными
проводами, от 700 до 2000 мм.
Допускаемая скорость прохода токоприемника, до
160 км/ч.
Допускаемая величина нажатия токоприемника на
контактный провод, от 5 до 23 кгс.
Срок службы, не менее 40 лет.
Рассмотрим конструкцию устройства одновременного
подъема контактных проводов УППВС-1 Московского энергомеханического завода ОАО
«РЖД».
Накладка - закрепляется на несущих тросах с
помощью одноболтовых зажимов КС - 055 - 2 - 1. Накладка должна быть расположена
горизонтально.
Рисунок 10 - Накладка
Если несущие тросы находятся не на одном уровне,
то в этом случае применяется надставка. Наставка так же крепится с помощью
одноболтовых зажимов.
Рисунок 11 - Надставка
В верхней части накладки крепится балансир с
грузом. Балансир представляет собой две металлические пластины, расположенные
параллельно и закрепленные между собой болтовым соединением. С одной стороны
балансира крепится груз. Груз - крепится к балансиру с помощью болтов. При
регулировке груз должен быть строго горизонтально.
Рисунок 12 - Балансир с грузом и
специальным держателем
С другой стороны балансира крепится
специальный держатель. Специальный держатель так же крепится к балансиру с
помощью болтового соединения. К держателю крепятся жесткие распорки. Они
представляют собой стальной уголок 25х25х3 который состоят из двух частей и
имеет отверстие с шагом 0,02 м для регулировки расстояния между несущим тросом
и контактным проводом.
Рисунок 13 - Жесткие распорки
Накладка на контактный провод -
стальной пруток диаметром 12 мм., который крепится с помощью резьбы к фиксирующим
зажимам КС - 049 - 8.
Рисунок 14 - Накладка на контактный
провод
Устройства одновременного подъёма
контактных проводов должны устанавливаться в зоне двойных вертикальных или
скользящих струн.
Рисунок 15 - Место установки
устройства для одновременного подъема контактных проводов на воздушных стрелках
- несущие тросы;
- контактные провода;
- зона подхвата;
- УППВС-1;
,6 - ось пути;
- токоприемник ЭПС.
Работа устройства:
Устройство УППВС работает на принципе
балансирования сил, вызванных нажатием токоприемника на контактные провода.
Нажатие токоприемника на контактный провод
прямой или отходящей ветви через жесткую распорку передается на балансир с
грузом, поднимая его вверх.
Подъем балансира через жесткую распорку
передается на другой контактный провод, поднимая его на величину, равную
подъему первого контактного провода. Груз, закрепленный на другом конце
балансира, обеспечивает плавное вращение балансира вокруг оси, находящейся на
накладке, установленной на несущих тросах. При отсутствии нажатия на
контактные провода груз уравновешивает дополнительное нажатие на контактные
провода от жестких распорок и накладок, установленных на контактные провода.
Монтаж устройства.
Рекомендуется монтаж устройств выполнять в
следующие последовательности:
Установить и закрепить на несущих тросах
накладку с балансиром и грузом, при этом должна быть обеспечена её
горизонтальность, определяемая по уровню;
. Закрепить распорки на держателе, установленном
на наклонной части балансира;
. Закрепить распорки на контактных проводах,
предварительно определив их длину.
Регулировка.
Регулировка должна обеспечить минимальное
нажатие распорок на контактные провода. Величина нажатия регулируется путем
перемещения груза по балансиру или перемещением держателя распорок по наклонной
части балансира.
Устройство считается отрегулированным, если:
. Накладка, установленная на несущие троса,
расположена горизонтально;
. Балансир со стороны груза находится
горизонтально;
. Распорки находятся вертикально;
. Контактные провода расположены в одной
горизонтальной плоскости;
. Вращение балансира начинается при усилии,
приложенной к одному из контактных проводов равным 5 кгс;
. Устройство работает при усилиях до 23 кгс;
. Устройство после снятия усилий, приложенным к
контактным проводам, плавно возвращается в исходное положение.
Обкатка устройства:
Смонтированное и отрегулированное устройство
подлежит обкатке токоприемниками автомотрисы АРВ или электровоза с различными
скоростями и различным давлением токоприемника на контактный провод.
Работа устройства определяется визуальным
наблюдением за перемещением элементов устройства.
Техническое обслуживание:
Устройства подлежат периодическому техническому
обслуживанию не реже 2 раз в год.
В объем технического обслуживания входят:
проверка болтовых соединений;
проверка наличия смазки в шарнирных узлах;
проверка плавности перемещений элементов
устройства при усилиях, прикладываемых к контактным проводам.
Устройства подлежат ремонту. Ремонт выполняется
путем замены поврежденных элементов на исправные без демонтажа всего устройства
с контактной сети.
ЭКОНОМИЧЕСКАЯ ЧАСТЬ
Расчет заработной платы электромонтера 6 разряда
района контактной сети. Заработная плата включает в себя тарифную ставку (должностной
оклад), премию, различные доплаты и надбавки. Тарифная месячная ставка рабочих
рассчитывается на основании тарифной сетки рабочих.
Расчет тарифной ставки
Расчет тарифной ставки осуществляется на основе
ТСР (тарифная сетка рабочих) по формуле:
(45)
где
- минимальная месячная тарифная
ставка рабочего первого разряда первого уровня оплаты труда (
4 330,00
рублей);
- тарифный коэффициент
электромонтера 6 разряда (
=2,31)
Тарифные ставки специалистов и
руководителей определены Положением о корпоративной системе оплаты труда
работников филиалов и структурных подразделений открытого акционерного общества
«Российские железные дороги» от 31 января 2007 г.:
Расчет тарифной ставки
электромонтера:
4 330,00 · 2,31=10002,3 рублей
Расчет доплаты за вредные условия
труда
Доплата за вредные условия труда
составляет определенные процент от месячной тарифной ставки. Для разного
подразделения ЭЧЭ процентные соотношения различны. Так же процент данной
доплаты зависит о занимаемой должности.
Доплата за вредные условия труда
работников ЭЧК составляет:
электромонтер 6 разряда - 24%;
Расчет доплаты за вредные условия труда:
(46)
10002,3 · 0,24= 2400,552 рублей.
Расчет премии
Премия составляет определенный
процент от тарифной ставки
(месячного должностного оклада). Для
различных должностей процент премии различен, но одинаков для одних и тех же
должностей различных подразделений.
Процент премий для работников ЭЧ
составляет:
Электромонтер - 20%.
Расчет премии электромонтера к/с:
П =
· 20/100 (47)
П = 10002,3 · 20 = 2000,46 рублей
Расчет надбавки по районному
коэффициенту и северной надбавки
Северная надбавка и надбавка по
районному коэффициенту предусмотрены для всех без исключения работников. И та и
другая надбавка составляют 30% от тарифной ставки.
10002,3 · 0,3=2000,69 рублей. (48)
Таблица 9 - Расчет заработной платы
электромонтера 6 разряда района контактной сети
|
Наименование
должности
|
Оклад
|
Доплата
за вредные условия труда (24%)
|
Премия
(20%)
|
Надбавка
по районному коэффициенту (30%)
|
Надбавка
северная (30%)
|
Итого
|
|
Электромонтер
|
10002,3
|
2400,552
|
2000,46
|
3000,69
|
3000,69
|
20404,692
|
Ежемесячная заработная плата электромонтера
контактной сети 6 разряда составила 20404,69руб.
СПИСОК ИСПОЛЬЗУЕМОЙ ЛИТЕРАТУРЫ
1. Бондарев Н.А. Чекулаев В.Е.
Контактная сеть: Учебник для студентов техникумов и колледжей ж.-д.
транспорта.- М.: Маршрут, 2006.-590 с.
. Инструкция по безопасности для
электромонтеров контактной сети (ОАО «РЖД») М 2010.-246 с
. Межотраслевые правила по охране
труда (правила безопасности) при эксплуатации электроустановок М. 2001. 205 с.
. Каталог основных деталей
контактной сети.
. Каталог изоляторов для контактной
сети и ВЛ электрифицированных железных дорог Т. 2000. 112 с.
. Контактная сеть и воздушные линии
нормативно-методическая документация по эксплуатации контактной сети и
высоковольтным воздушным линиям - М., «ТРАНСИЗДАТ», 2006.-576 с.
. ЦЭ - 868 Правила устройства и
технической эксплуатаций контактной сети электрифицированных железных дорог-
М., «ТРАНСИЗДАТ»,2002 г.-184 с.
. Инструкция по охране труда для
электромонтера и электромеханика контактной сети. ИОТ РФ ЭЧ-4 002-2003.г.
Владивосток,2003.-30 с.