Призначення та види паль

  • Вид работы:
    Реферат
  • Предмет:
    Строительство
  • Язык:
    Украинский
    ,
    Формат файла:
    MS Word
    1,62 Мб
  • Опубликовано:
    2014-07-09
Вы можете узнать стоимость помощи в написании студенческой работы.
Помощь в написании работы, которую точно примут!

Призначення та види паль

Міністерство освіти і науки, молоді та спорту України

Київський коледж будівництва, архітектури та дизайну











Реферат

На тему: «Пальові роботи»


Розробила:

ст. гр. А-43

Броварчук Я.О.






Київ - 2014

Зміст

1. Призначення та види паль

. Занурення паль у грунт

. Влаштування набивних паль

. Техніка безпеки при виконанні пальових робіт

паля монтування будівництво грунт

1. Призначення та види паль

Палі застосовують у слабких ґрунтах замість фундаментів. Вони як і фундаменти, передають навантаження від будівель і споруд на грунт.

У першу чергу їх розрізняють за типом матеріалу, з якого вони зроблені.

Вони бувають:

• дерев’яними

• металевими

• залізобетонними

• бетонними.

За формою поперечного перерізу вони поділяються на:

• круглі

• квадратні або прямокутні (суцільні або з циліндричною порожниною)

• кільцевий розтин.

За характером роботи в грунті:

• висячі

• палі-стійки

• анкерні.

За способом монтажу:

• буронабивні

• забивні

•гвинтові.

Рис.1 Дерев'яні палі

Ці вироби виготовляють, як правило, з:

• ялини або сосни;

• дуба;

• кедра;

• модрини або ялиці.

При цьому ліс використовують прямоствольний, здоровий, переважно зимової рубки. Колоди очищають від кори і підстругують в потрібних місцях.

Дерев'яні палі можуть бути: 1. цільними; 2. зрощеними по довжині до необхідного розміру. Довжина цільних виробів може коливатися від 4,5 до 16 м. Зрощені колоди можуть досягати в довжину 20 -25 м. При цьому діаметр у верхньому відрубі повинен становити від 18 см і більше.

При зрощуванні, колоди з'єднуються впритул за допомогою накладок. Іноді колоди зрощують не тільки в довжину, але і в товщину. Такі палі називаються пакетними. Довжина загострення дерев'яних паль повинна становити 1,5-2 їх діаметру. Якщо в грунті є перешкоди, то загострена частина захищається черевиком. Верхня частина палі захищається бугелем або наголовником. На сьогоднішній день, ціна на дерев'яні палі нижче, ніж на металеві або залізобетонні вироби. Однак вони здатні витримувати менше навантаження.

Застосування Дерев'яні палі не застосовують у висотному будівництві, але за те, вони користуються популярністю при споруджуванні котеджів. Крім того, їх використовують при зведенні тимчасових споруд або невеликих мостів та ін. Монтаж здійснюється шляхом забивання, вдавлення, або вібраційним способом.

 

Рис.2

 

Рис. 3. Металеві палі

Даний вид паль виготовляють з суцільнотягнених сталевих труб, діаметр яких може складати від 25 до 100 см і навіть більше. Іноді використовують: 1. сталеві шпунти; 2. двотаврові балки; 3. деякі інші прокатні профілі; З яких шляхом зварювання виготовляють палі коробчатого перетину.

Зазвичай, на кінці труби є конічний наконечник, але іноді труби занурюються і без наконечника. У такому випадку наконечником служить земляний конус, який утворюється під палею в процесі занурення, після того, як труба частково заповнюється ущільненим грунтом. Для збільшення міцності паль, після установки їх заповнюють бетоном. Якщо на них виявлятиметься невелике навантаження, то можна не використовувати бетонне заповнення.

 

Рис. 4 Гвинтові палі

Гвинтова паля являє собою металевий стрижень з гвинтовою лопаттю на кінці. Один час даний тип паль практично втратив свою актуальність, проте останнім часом вони знову стали застосовуватися в будівництві. Це пов'язано з тим, що були розроблені сучасні види гвинтових паль, які володіють високими властивостями міцності.

Деякі з них мають діаметр гвинтової лопаті до 2,4 м і глибину занурення в грунт - більше 20 м. Монтаж в такому випадку здійснюється за допомогою потужних кабестанів. Але вони мають менший розмір і застосовують при пристрої фундаментів малоповерхових будівель.

Застосування Довжина і діаметр виробів, а також їх кількість повинна розраховуватися відповідно до матеріалу, з якого будуть зводитися стіни будови та грунтовими умовами ділянки. Найбільш привабливим моментом гвинтових фундаментів є те, що їх можна застосовувати на рельєфах будь-якої складності, не витрачаючи зусилля на виконання земляних робіт. Крім того їх можна застосовувати для прибудов до споруд, так як при установці не відбувається динамічних впливів на грунт. Для індивідуального будинку пальове поле, як правило, можна влаштувати протягом одного дня.

Також гвинтові палі часто використовуються:

• під висотні щоглові споруди;

• під опори електропередач, які піддаються значним вітровим впливам.

Вістря з лопаттю, забезпечує можливість витримувати великі навантаження. Завдяки цим же властивостям їх можна використовувати в рухливих грунтах, так як сили морозного обдимання не зможуть «видавити» палю на поверхню. Ще однією областю їх застосування є посилення аварійних фундаментів. У цьому випадку палі монтуються по периметру аварійного фундаменту, після чого кріпляться до нього за допомогою кронштейнів.

Рис. 4 Залізобетонні палі

Палі даного типу бувають: 1. монолітними; 2. збірної конструкції.

Монолітні вироби можна зустріти прямокутного і квадратного перетину розміром від 20 Ч 20 до 40 Ч 40 см. Також використовують квадратні палі з циліндричною порожниною. Розміри їх перетину бувають 25 Ч 25 і 30 Ч 30 см, при цьому товщина стінки в найвужчому місці повинна бути не менше 4 см. Монолітні залізобетонні палі мають поздовжнє армування сталевою стрижневою напружуваною або напруженою арматурою. Армування в поперечному напрямку здійснюється низьковуглецевим дротом або катанкою товщиною від 5 мм і вище.

При їх монтажі в твердий грунт, загострену частину захищають сталевим черевиком. Головна частина палі, яка безпосередньо сприймає ударне навантаження при монтажі, посилюється трьома сітками, розташованими горизонтально з кроком від 5 см. Загострення роблять у формі чотиригранної піраміди. Залізобетонні збірні палі трубчастої конструкції зроблені з окремих секцій. Їх складання може бути виконане заздалегідь, після чого здійснюється забивання.

Монтаж здійснюється за допомогою:

• копрів;

• пересувних кранів зі пальовими молотами;

• іншого спеціального обладнання.

Останнім часом широкого поширення набуло віброзанурення, яке менш витратне і трудомістке.

Крім того, залізобетонні забивні палі привабливі тим, що їх можна використовувати:

. в умовах змінної вологості;

. на слабких і рухливих грунтах. Фундамент на їх основі відрізняється високою міцністю і довговічністю. Крім того, вони можуть мати будь-які розміри.

Недоліки Якщо будівництво ведеться в заселеному районі, то забивання паль може спричинити за собою зміну грунтових мас. Зокрема, не виключені деякі зрушення грунту в умовах обмеженої, точкової забудови. Це може негативно позначитися на цілісності фундаменту поруч стоячої будови, хоча така ймовірність настільки мала, що може вважатися винятком. Існують певні складнощі і при самому забиванні ЗБВ. У першу чергу вони полягають в підвищеній гучності. Техніка для їх забивання використовується важка і галаслива, плюс виникає сильний шум від ударів молота.

Перевезення і зберігання Найбільшу складність представляє транспортування залізобетонних паль зважаючи на їх розміри. Крім того, ЗБВ, більш крихкі, ніж палі з інших матеріалів і вимагають відповідного зберігання.

 

Рис. 5

 

Рис. 6 Набивні палі

Цей вид паль також широко використовується в будівництві. Від усіх вищеописаних видів він відрізняється тим, що палі виготовляються прямо на будівельному майданчику. Якщо бути точніше, то процесом виготовлення є і монтаж.

Інструкція установки досить проста: 1. У першу чергу в грунті робиться свердловина. Для цього може бути використаний звичайний будівельний бур, як автоматизований, так і ручний. 2. У свердловину поміщається сталевий каркас. 3. Заливається цемент. 4. Після застигання паля підрізається.

Простою установкою обумовлена популярність такого фундаменту, на нього припадає 10 % від усього споруджуваного в країні пальового фундаменту протягом року. До достоїнств таких паль також відноситься відсутність необхідності в їх транспортуванні. Однак, є й недолік - неможливість проконтролювати якість. Протипоказанням до застосування такого типу фундаменту може служити схильність грунту до спучування або його горизонтальна подвижка. Це пов'язано з поганою стійкістю до перекидання.

Рис. 7

. Занурення паль у грунт

Процес занурення паль в грунт складається з: підйому і встановлення паль в проектне положення; власне занурення палі в грунт; переміщення палебійної установки до місця занурення палі в грунт; переміщення палебійної установки до місця занурення наступної палі.

Існують чотири основні схеми забивання паль: послідовно-рядова, секційна і дві концентричні (від середини до країв, від країв до середини).

Рис. 8

Палі забивають палебійною установкою, що складається з копра для підвішування пальового молота, установки для підтримки палі під час її забивання; молота, що занурює палю в грунт або віброзанурювачі; силового обладнання, що складається з паросилової установки або компресора, а також приводних і ручних лебідок для підйому паль, молота. Крім того, в комплект палебійної установки включається і допоміжне обладнання: наголовник - спеціальний пристрій, надівається на гору-кінець палі для оберігання її голови від пошкодження при забиванні; пилки для зрізання дерев'яних паль, пристосування для зрізання залізобетонних паль; палевисмикувачі.

Потужність необхідного палебійного обладнання встановлюють згідно з місцевими умовами, обсягом пальових робіт, термінами їх виконання, довжини палі, особливостями майбутніх робіт на даному будівництві. Як показує практика, власне забивання паль в загальній витраті часу у більшості випадків становить незначну частку. Значна частина (70-80%) робочого циклу витрачається на допоміжні роботи-пересувку і установку палебійного обладнання, підтягування і встановлення паль та ін.

Забивання палі триває до отримання заданої проектом відмови - величини занурення палі від одного удару молотом після закінчення забивання. Забивання паль при наближенні до проектної величиною занурення виробляють «заставами», тобто 10 ударами молота поспіль.

Занурення палі від одної застави вимірюють з точністю до 1 мм. Відмова палі визначається як частка від ділення величини занурення палі від одної застави на число ударів в заставі.

 

Рис. 9

Спосіб віброзанурення паль заснований на тому, що сили тертя і зчеплення в ґрунті під дією вібрації певної частоти різко зменшуються і паля, через яку вібрація передається на грунт, починає занурюватися; із збільшенням маси вібраційної установки збільшується швидкість занурення палі.

Принцип занурення паль в грунт вібромолотом заснований на тому, що вібрація передається на палю через спіральні пружини, а корпус вібратора, вібруючи, вдаряє бойком по голові палі.

Рис. 10. Віброзанурювач

Спосіб загвинчування паль, які мають гвинтові наконечники, проводиться у самохідній установці, змонтованій на базі автомобіля або спеціальним механізмом-електрокабестоном.

Занурення паль в грунт можна значно полегшити при застосуванні способу - підмиву, суть якого полягає в тому, що до вістря палі під час її занурення підводиться струмінь води, розрихлюючи грунт, що різко знижує його опірність під вістрям. Поряд з цим вода з-під вістря, піднімаючись вгору, зменшує тертя палі об грунт.

Рис.11

Рис. 12

Спосіб занурення паль вдавленням застосовують при зануренні коротких паль (довжиною до б м). Для вдавлювання паль використовують спеціальну установку з двох тракторів.

Для занурення паль-колон в грунт в будівництві застосовуються самохідні палебійні установки, оснащені дизельними молотами.

Рис. 13 Схеми самохідних палебійних агрегатів

. Влаштування набивних паль

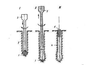
Палі, що встановлюються безпосередньо на місці їхньої експлуатації, розділяють на набивні й буронабивні. Вони відрізняються способом утворення свердловин, а також виконанням процесу формовання. Стовбури свердловин розробляють, широко використовуючи буріння з витягуванням ґрунту і гвинтове продавлення, що створює стінки свердловини за рахунок послідовного ущільнення шарів і переміщення їх у радіальному напрямку. Такий спосіб створює можливість зміцнити стовбур свердловини і цим виключити кріплення інвентарними трубами чи глинистим розчином. Пробурені свердловини часто виконують розширеннями різної форми, застосовуючи кілька способів їхнього влаштування. Після бетонування такі порожнини збільшують несучу здатність паль. Набивні трамбовані палі встановлюють у попередньо підготовлених свердловинах із застосуванням обсадної труби, яку у процесі укладання і трамбування бетонної суміші піднімають до завершення процесу бетонування. Влаштування буронабивних паль. Такі палі в сухих ґрунтах улаштовують, застосовуючи комплект механізованих засобів.

Рис. 14. Технологічна схема влаштування буронабивних паль з розширеної п'яти сухим способом: І - буріння свердловини; ІІ - влаштування розширеної порожнини; ІІІ - установка обсадного патрубка й арматурного каркаса ; ІV - установка лійки; V - заповнення свердловини бетонною сумішшю; VІ - витягування обсадного патрубка і лійки; 1 - бурова установка; 2 - електропривод; 3 - свердловина; 4 - уширювач; 5 - обсадний патрубок; 6 - арматурний каркас; 7 - лійка; 8 - баддя; 9 - бетонна суміш

Процес виконують у наступній послідовності. Свердловини розробляють шнековими і ковшовими бурами. Порожнину для влаштування розширення розкурюють спеціальним уширювачем. Потім свердловину очищають, перевіряють, опускають арматурний каркас і приступають до бетонування. Формовання здійснюють в міру подачі бетонної суміші й ущільнення за допомогою лійки (обладнаної вібратором) із закріпленим на ній обсадним патрубком. У міру формовання стовбура палі лійку з патрубком піднімають. Влаштування набивних паль способом гвинтового продавлення. Таку технологію влаштування доцільно застосовувати в слабких водонасичених, а також пористих пилувато-глинистых ґрунтах. Спосіб а передбачає використання двох спеціальних снарядів. Свердловину розробляють прохідницьким снарядом, виконаним у вигляді усіченого конуса спіральної форми, а укладання та ущільнення бетонної суміші іншим зі спіральними поверхнями і наскрізним осьовим отвором.

Рис. 15. Технологічні схеми влаштування паль: а - методом гвинтового продавлення; б, в - подача й ущільнення бетонних сумішей гвинтовим снарядом і системою радіального пресування; 1 - гвинтовий снаряд; 2 - штанга; 3 - ущільнена бетонна суміш; 4 - гвинтовий снаряд з осьовим отвором для нагнітання бетонної суміші; 5 - пресувальні ролики

Свердловину розробляють за рахунок ущільнення шарів ґрунту і послідовного переміщення в радіальному напрямку. У результаті щільність у стінці в порівнянні з ґрунтом у природному стані збільшується в 1,5 раза. Швидкість занурення при розробці досягає 1,3 м/хв, а осьове зусилля - 20...30 кН. По досягненні необхідної глибини устаткування витягують. Потім у свердловину опускають снаряд для формування і через осьовий отвір по буровій штанзі нагнітають бетонну суміш, що ущільнюється під впливом осьових зусиль, створюваних поверхнями снаряда і його масою. Виникаючий тиск приводить до часткового проникнення бетонної суміші в стінки свердловини. Відповідно до швидкості укладання та ущільнення бетонної суміші снаряд поступово піднімають. Пустотні циліндричні палі (оболонки) влаштовують, застосовуючи системи радіального пресування з використанням твердих бетонних сумішей. Спочатку влаштовують свердловину способом гвинтового продавлення. Укладання та ущільнення бетонної суміші виконують роликовою пресуючою голівкою діаметром, відповідним внутрішньому розміру оболонки. Бетонна суміш, потрапляючи в зону дії обертових роликів, ущільнюється і загладжується, утворюючи внутрішню поверхню палі. Система радіального пресування передбачає використання дрібнозернистих бетонних сумішей твердістю 40...60 с. Ролики створюють тиск 0,4...0,8 МПа, що визначає ефективне ущільнення суміші в стінки свердловини. Спосіб гвинтового продавлення і роликового ущільнення можна ефективно використовувати в слабкообводнених стійких ґрунтах. Крім цього, відома технологія виготовлення паль методом "Алькон" ("Фундекс", Польща), заснована на застосуванні гвинтового наконечника, що втрачається, і обсадної труби.

Рис. 16. Технологічна схема виготовлення паль методом "Алькон": І - занурення обсадної труби методом загвинчування; ІІ - витягування обсадної труби з одночасним бетонуванням палі; ІІІ - готова паля; 1 - гвинтовий наконечник, що втрачається; 2 - обсадна труба; 3 - прийомна лійка; 4 - паля; 5 - арматурний каркас

Таке устаткування дозволяє зводити палі діаметром до 800 мм, глибиною не більше 30 м. Однак порівняно висока енергоємність занурення обсадної труби і при водних механізмів, а також вартість гвинтових наконечників, що втрачаються, стримують застосування таких способів.

. Техніка безпеки при виконанні пальових робіт

Монтаж, демонтаж і переміщення копрів слід виконувати відповідно до технологічних карт під безпосереднім керівництвом осіб, відповідальних за безпечне виконання цих робіт. Монтаж, демонтаж і переміщення копрів при вітрі 15 м / с і більш, грозі не допускаються. Перед підйомом конструкцій копра всі його елементи повинні бути надійно закріплені, а інструмент і незакріплені предмети вилучені. При підйомі конструкції, зібраної в горизонтальному положенні, повинні бути припинені всі інші роботи в радіусі, рівному довжині конструкції плюс 5 м.

Технічний стан копрів (надійність кріплення вузлів, справність зв'язків і робочих настилів) необхідно перевіряти перед початком кожної зміни. Кожен копер повинен бути обладнаний звуковою сигналізацією. Перед пуском його в дію необхідно подавати звуковий сигнал.

Для забезпечення безпеки експлуатації бурової установки на копрі (вишці) повинен бути встановлений обмежувач висоти підйому бурового інструменту або вантажозахоплювального пристосування.

Не дозволяється працювати буровим інструментом з незавернутими до кінця і незакріпленими різьбовими з'єднаннями.

У період спуску і вилучення обсадних труб особи, безпосередньо не беруть участь у виконанні даних робіт, до бурової вишки на відстань менше полуторної її висоти не допускаються.

Перед початком огляду, змащення, чищення або усунення будь-яких несправностей бурового верстата буровий інструмент повинен бути поставлений в стійке положення, а двигун вимкнений.

Пробурені свердловини при припиненні робіт повинні бути надійно закриті щитами або огороджені. На щитах і огорожах повинні бути встановлені попереджувальні знаки і сигнальне освітлення.

Гранична маса молота і палі для копра повинні бути зазначені на його фермі або рамі. На копрі повинен бути встановлений обмежувач вантажопідйомності.

Палі дозволяється підтягувати по прямій лінії в межах видимості машиніста копра тільки через відвідний блок, закріплений біля основи копра. Пересування копрів повинно проводитися на спланованій площадці при опущеному молоті.

Стан шляхів для пересування копра слід перевіряти перед початком кожної зміни. У процес забивання паль і після роботи копер необхідно закріплювати протиугінними пристроями.

Підйом палебійного молота і палі (шпунта) слід виконувати послідовно. Одночасний підйом палебійного молота і палі не допускається.

При зрізці забитих у грунт паль необхідно передбачати заходи, що виключають раптове падіння зрізуваної частини.

При забиванні паль плавучим копром необхідно забезпечувати його розчалювання до якорів, закріпленим на березі чина дні, а також зв'язок з берегом за допомогою чергових плавзасобів або пішохідного містка. Плавучий копер повинен бути забезпечений рятувальними засобами і човном. Не допускається проводити пальові роботи на річках і водоймищах при хвилюванні більше 2 балів.

При забиванні паль з льоду необхідно контролювати стан і товщину льоду на початку і кінці робочої зміни. Робоча площадка повинна бути очищена від снігу.

При зануренні паль за допомогою віброзанурювачів необхідно забезпечити щільне і надійне з'єднання віброзанурювача з наголовником палі. При кожній перерві в роботі віброзанурювач слід вимикати.

Похожие работы на - Призначення та види паль

 

Не нашли материал для своей работы?
Поможем написать уникальную работу
Без плагиата!
Без нейросетей!