Классический оптический циркулятор

  • Вид работы:
    Доклад
  • Предмет:
    Физика
  • Язык:
    Русский
    ,
    Формат файла:
    MS Word
    152,2 Кб
  • Опубликовано:
    2015-07-07
Вы можете узнать стоимость помощи в написании студенческой работы.
Помощь в написании работы, которую точно примут!

Классический оптический циркулятор

САНКТ-ПЕТЕРБУРГСКИЙ НАЦИОНАЛЬНЫЙ ИССЛЕДОВАТЕЛЬСКИЙ УНИВЕРСИТЕТ ИНФОРМАЦИОННЫХ ТЕХНОЛОГИЙ, МЕХАНИКИ И ОПТИКИ.

ФАКУЛЬТЕТ ИНФОКОММУНИКАЦИОННЫХ ТЕХНОЛОГИЙ

КАФЕДРА ФИЗИКИ И ТЕХНИКИ ОПТИЧЕСКОЙ СВЯЗИ







Доклад

На тему

Классический оптический циркулятор

Студент: Лавров В.С.

Группа: 5962

Преподаватель: Пашин В.Ф.






Санкт-Петербург

Оптический циркулятор

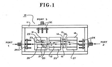
В истории полно примеров когда технические новинки не находят своего широкого распространения в эпоху их появления. И только спустя пару десятков лет появляется задача, которую они могут успешно решить. Одним из примеров является оптический циркулятор, ОЦ (optical circulator), запатентованный еще в 1993 году (если быть внимательным, в тексте под ссылкой указана еще одна публикация, датированная 1981 годом).

Назначение показанной конструкции более чем утилитарно. Это трехполюсник, пропускающий излучение из порта "1" в "2", а обратно, из "2" в "3". Причем с небольшими вносимыми потерями (около 1 дБ) и хорошей изоляцией (не менее 40 дБ). Физика действия куда сложнее, для строгого описания работы устройства потребуется квантовая механика (к которой, разумеется, никто не собирается прибегать в рамках данной статьи).

 <#"804830.files/image002.jpg">

Действие циркулятора основано в основном на эффекте Фарадея, а именно, повороте плоскости поляризации света под действием магнитного поля. Не слишком новое изобретение, еще в 1845 году оно было первым эксперементальным доказательством связи между электромагнетизмом и светом. Сейчас на практике применяются Фарадеевские вращатели (Faraday rotator), которые обеспечивают поворот плоскости поляризации на 45 градусов. Изготовлены они из магнитоупорядоченных кристаллов, в частности, в ферритов-гранатов. Эти материалы активно изучаются с момента открытия в 1956 году, и весьма широко распространены в технике

"Классический" оптический циркулятор

циркулятор поляризация свет магнитный

Но вывести излучение в отдельный порт несколько сложнее. Поэтому для изготовления циркулятора дополнительно понадобится специальный поляризатор с пространственным смещением света(SWP- special walk-off polarizer) и полуволновая пластина(half-wave plate). Пространственное смещение в данном случае необходимо для того, чтобы излучение с разной поляризацией отклонялось в кристалле-поляризаторе под разным углом, и соответственно, им можно было "управлять". Роль полуволновой пластины куда более утилитарна, она работает, образно говоря, как усилитель, "доворачивая" плоскость поляризации в удобное состояние.

Удобно рассмотреть принцип действия на следующей иллюстрации:

 <http://nag.ru/upload/images/1620905089.jpeg>

На рисунке видно, что поляризатор делит пучок света на два луча - с горизонтальной и вертикальной поляризациями (SOP - state of polarization, состояние поляризации). Далее легко проследить на иллюстрации за "судьбой" излучение на каждом этапе пути "туда и обратно". Осной момент - Фарадеевский вращатель поворачивает плоскость поляризации на угол +45 градусов вне зависимости от направления распространения света, полуволновая пластина поворачивает плоскость поляризации на угол +45 или -45 градусов в зависомости от направления распространения света.

В общем, все практически как в рассмотренном выше примере с оптическим изолятором.

 

Характеристики оптических циркуляторов


Из принципа работы ОЦ следует, что вносимые в прямой канал потери, заданные выражением А12 = -10 lg P2/P1 (где P1 - мощность на входе 1, Р2 - мощность на выходе 2), определяются суммарным значением потерь коллимирующей системы (включая аберрационные потери линз), потерь в оптических элементах(поглощение, рассеяние и френелевское отражение), отклонением угла фарадеевского вращения от 45° и потерь, связанных с неточностью установки элементов. В зависимости от качества элементов и точности юстировки величина вносимых потерь в прямом канале может составлять А12 ~ 0,8...1,6 дБ. Потери в отраженном канале А23 = -10 lg P3/P2 практически лежат в том же интервале, поскольку поворотная призма 4 и дополнительный рутиловый элемент 9 обладают малыми потерями.

Величина изоляции порта 1 от порта 2, т. е. потери А21 = -10 lg P1/P2 так же как и в случае оптического изолятора, определяются степенью разведения поляризованных лучей в двулучепреломляющих элементах, угловой ошибкой при взаимной ориентации этих элементов, отражением и рассеянием излучения в фарадеевском вращателе, а также ошибками при юстировке элементов. Экспериментально установлено, что рассеяние на различных дефектах в кристаллах рутила и граната ограничивает максимальную величину изоляции на уровне 40...45 дБ.

Как уже отмечалось, в рассматриваемой структуре отсутствует непосредственная связь между портами 1 и 3. Поэтому величина перекрестной помехи на ближнем конце А13 = -10 lg P3/P1 определяется только френелевскими отражениями от торцов первого рутилового элемента и фарадеевского вращателя и может быть снижена до уровня менее - 50 дБ.

Обратные отражения А11, А22, А33 также определяются величиной коэффициента отражения от горцев волокон и от граней элементов. Наклон торцов волокон примерно на 7 градусов и граней элементов примерно на 1 градус приводит к снижению обратных отражений до уровня 55...-60 дБ.

На основе предложенных структур изготавливаются и предлагаются потребителям одномодовые поляризационно-независимые ОЦ длядиапазонов длин волн 1,3 и 1,55 мкм.

Список литературы

1.      US Patent 5212586 May 18, 1993 Optical circulator having simplified construction

2.      <http://nag.ru>

.        Fiber-Optic Gyroscope - Lefevre H C

Похожие работы на - Классический оптический циркулятор

 

Не нашли материал для своей работы?
Поможем написать уникальную работу
Без плагиата!
Без нейросетей!