Разработка технологического процесса сборки и монтажа электронного устройства
Аннотация
В работе представлен технологический процесс (технологическая
документация) сборки и монтажа «Устройства для измерения параметров и настройки
пьезоэлектрических резонаторов и монолитных фильтров в диапазоне частот от 1 до
330МГц» CPNA-330 для мелкосерийного производства, разработанный по результатам
анализа конструкторской документации и сборочного состава, расчета
технологичности конструкции, расчета и анализа такта выпуска и разработано
приспособление для выполнения операции и нарезки выводов в размер.
Список условных обозначений, сокращений и
терминов
зиг-замок - вид формовки выводов
ИЭТ - изделие электронной техники
КД - конструкторская документация
КМО - компоненты, монтируемые в отверстия
КМП - компоненты, монтируемые на поверхность
МТП - маршрутный технологический процесс
ПП - печатная плата
ТЗ - техническое задание
ТП - технологический процесс
ЭРЭ - электрорадиоэлемент
Введение
Целью дипломной работы является разработка технологического процесса
сборки и монтажа устройства CPNA-330
и оснастки для выполнения технологических операций.
Для достижения поставленной цели были решены следующие задачи:
проведен анализ ТЗ;
- проведен конструкторско - технологический анализ конструкторской
документации;
- проведен расчет и анализ технологичности ячейки электронной;
разработана схема сборки устройства для серийного производства (для
заданной программы выпуска), на основе которой разработан маршрутный ТП;
разработан технологический процесс сборки и монтажа устройства для
серийного производства;
Для решения поставленных задач использовался системный подход; методы
анализа и синтеза; метод сборки электронных средств с базовой деталью; методы
табулирования и формулярной визуализации данных; проектирование
технологического процесса сборки и монтажа на основе синтеза типовых операций;
комплектование технологической документации типовыми технологическими
операциями; проектирование оснастки с использованием современных САПР.
. РАЗРАБОТКА ТЕХНОЛОГИЧЕСКОГО ПРОЦЕССА СБОРКИ И МОНТАЖА УСТРОЙСТВА
CPNA-330
1.1 Описание устройства
Назначение «Устройства для измерения параметров и настройки
пьезоэлектрических резонаторов и монолитных фильтров в диапазоне частот от 1 до
330МГц» CPNA-330:
- измерение частоты и эквивалентных динамических параметров
пьезоэлектрических резонаторов;
- непрерывный визуальный контроль параметров пьезоэлектрических
резонаторов в процессе их настройки;
- непрерывный визуальный контроль параметров монолитных
пьезоэлектрических фильтров в процессе их настройки;
- измерение и построение графика зависимости изменения
параметров резонаторов (Fs, R1, Q) от времени;
- измерение АЧХ и ФЧХ пьезоэлектрических резонаторов и
монолитных пьезоэлектрических фильтров.
1.2 Анализ конструкторской документации
Установка для измерения параметров и настройки пьезоэлектрических
резонаторов и монолитных фильтров представляет собой блок с габаритными
размерами 130х256х300 мм. В состав прибора входят следующие сборочные единицы:
основание корпуса, крышка корпуса, передняя панель, задняя панель, а также
набор электронных ячеек в количестве 15 штук.
Несущей конструкцией прибора является металлическое основание корпуса.
Конструкция корпуса обеспечивает надежное крепление узлов.
На основание корпуса устанавливаются и крепятся с помощью винтов
несколько ячеек, среди которых материнская плата. В материнскую плату
устанавливаются остальные ячейки. Некоторые ячейки соединяются с задней
панелью. Соединение с разъемами на передней панели и соединение между
некоторыми ячейками осуществляется с помощью проводов.
Крышка, передняя и задняя панель крепятся к основанию с помощью винтов.
Для коммутации с внешними приборами используется разъемное соединение с
помощью проводов.
Основание корпуса. Основание корпуса имеет П-образную симметричную форму
с толщиной стенок 2мм. С нижней стороны на корпусе имеются резиновые стойки.
Крышка корпуса. Крышка корпуса также имеет П-образную форму. Она крепится
она с помощью винтов к рейке, к которой крепится и основание.
Передняя и задняя панели выполнены из такого же материала что и крышка с
основанием. Крепятся они к соединительной рейке также винтами. На панелях
имеются отверстия для крепления разъемов и кнопок.
Электронные ячейки. Устройство включает в себя 15 электронных ячеек, на
которых установлены ЭРЭ различных типов. Платы выполнены по второму классу
точности и покрыты защитной паяльной маской зеленого цвета. Все отверстия в
платах металлизированные. На некоторых платах имеются монтажные отверстия для
установки в корпус.
Плата опорного генератора на 1000МГц имеет металлизированные отверстия
для крепления выводных компонентов, разъема и микросборки. Остальные компоненты
монтируются на поверхность.
ЭРЭ можно разделить на группы:
. Выводные элементы, не требующие формовки: разъем на 32 контакта,
светодиод (выводы заранее отформованы), микросборка с микросхемой ADF4360-7;
. Выводные элементы, требующие формовки:
- кварцевый генератор на 10МГц имеет 15 выводов,
устанавливается на прокладку, для единичного и мелкосерийного производства
фиксацию рекомендуется производить с помощью пружинения выводов; при
крупносерийном и массовом производстве фиксацию рекомендуется осуществлять за
счет выводов, сформированных в ЗИГ-замок;
- резисторная сборка, подстроечный резистор фиксируются либо
пружинением выводов, либо с помощью ЗИГ-замка.
. Безвыводные элементы устанавливаются на поверхность платы.
Монтаж элементов на плате односторонний. При единичном и мелкосерийном
производстве возможно осуществлять ручную пайку ЭРЭ; при крупносерийном и
массовом производстве рекомендуется осуществлять пайку групповой заготовки в
печи с последующей пайкой волной выводных элементов.
Пространственная компоновка имеет 2 уровня:
-й уровень - безвыводные резисторы, конденсаторы, катушки индуктивности,
транзисторы, диоды и микросхемы;
-й уровень - трансформаторы и выводные компоненты.
Установка компонентов ведется начиная с наименьшего уровня для удобства
пайки.
На основе анализа конструкторской документации для разработки ТП сборки и
монтажа устройства необходимо предусмотреть поузловую сборку:
. Сборка электронных ячеек.
. Сборка основания корпуса и монтаж электронных ячеек.
. Сборка передней и задней панели с предварительным образованием
посадочным мест под коммутационные элементы.
. Сборка крышки корпуса.
. Проверка прибора на работоспособность.
Для сборки электронной ячейки и сборки прибора также следует
предусмотреть следующие операции:
. Распаковка и комплектование ЭРЭ.
. Формовка и обрезка выводов ЭРЭ.
. Установка и пайка КМП.
. Установка и пайка КМО.
. Отмывка платы.
. Сушка платы.
. Разделение групповой платы.
. Выходной контроль электронной ячейки.
. Обрезка и зачистка проводов.
. Маркировка прибора.
. Упаковка прибора.
1.3 Анализ сборочного состава
Конструкция электронной ячейки включает в себя большое количество
навесных элементов различных типоразмеров и номиналов. Элементы группируются по
способу установки на плату. Обозначения ИЭТ согласно спецификации, число
выводов элементов и количество элементов на плате, варианты установки элементов
для единичного производства приведены в таблице 1.3.1.
Таблица 1.3.1 - Установка элементов на ПП опытного образца
|
№ п/п
|
Наименование
|
Эскиз варианта установки
|
Характеристика варианта установки и способа фиксации
|
Примечания
|
|
1 1
|
R1, R2,R4…R15, R17…R22, C1…C20,
L1…L3
|
|
Установка без зазора, фиксация припайкой одного вывода
|
|
|
2 2
|
U2, U4, T1
|
|
Установка без зазора, фиксация припайкой диагональных
выводов
|
|
|
3 3
|
U3, D1, D2, D3, Q1
|
|
Установка без зазора, фиксация припайкой одного вывода
|
|
|
4 6
|
A1
|
|
Установка с зазором, фиксация пружинением выводов
|
Зазор обеспечивается конструкцией выводов
|
|
5 7
|
U1
|
|
Установка с прокладкой, фиксация пружинением выводов
|
|
|
6 8
|
S1
|
|
Установка без зазора, фиксация пружинением выводов
|
|
|
7 9
|
X1…X3
|
|
Установка без зазора, фиксация пружинением выводов
|
|
|
8 10
|
R3
|
|
Установка без зазора, фиксация пружинением выводов
|
|
|
9 11
|
R16
|
|
Установка с зазором, фиксация подпайкой вывода
|
Зазор обеспечивается конструкцией выводов
|
|
10 12
|
HL1
|
|
Установка с зазором, фиксация за счет конструкции выводов
|
Зазор обеспечивается конструкцией выводов
|
Варианты установки ЭРЭ для заданного объёма выпуска N = 1700 (производство мелкосерийное),
представлены в таблице 1.3.2.
Таблица 1.3.2 - Варианты установки элементов на ПП для заданного объёма
выпуска (мелкосерийное производство)
|
№ п/п
|
Наименование
|
Эскиз варианта установки
|
Характеристика варианта установки и способа фиксации
|
Примечания
|
|
1 1
|
R1, R2,R4…R15, R17…R22, C1…C20,
L1…L3
|
|
Установка без зазора, фиксация паяльной пастой
|
|
|
2 2
|
U2, U4, U3, T1, D1, D2, D3, Q1
|
|
Установка без зазора, фиксация паяльной пастой
|
|
|
3 6
|
A1
|
|
Установка с зазором, фиксация пружинением выводов
|
Зазор обеспечивается конструкцией выводов
|
|
4 7
|
U1
|
|
Установка с прокладкой, фиксация подпайкой вывода
|
|
|
5 8
|
S1
|
|
Установка без зазора, фиксация пружинением выводов
|
|
|
6 9
|
X1…X3
|
|
Установка без зазора, фиксация пружинением выводов
|
|
|
7 10
|
R3
|
|
Установка без зазора, фиксация подпайкой вывода
|
|
|
8 11
|
R16
|
|
Установка без зазора, фиксация подпайкой вывода
|
Зазор обеспечивается конструкцией выводов
|
|
9 12
|
HL1
|
|
Установка с зазором, фиксация с натягом
|
Зазор обеспечивается конструкцией выводов
|
1.4 Расчет и анализ коэффициента технологичности
электронных средств
сборка
электронный ячейка провод
Оценку технологичности ячеек проводят по комплексному показателю
технологичности, который рассчитывается по базовым показателям технологичности
по формуле
,
где
и
- базовые
показатели технологичности, и их весовые коэффициенты.
Расчет технологичности ячейки для заданной программы выпуска.
Коэффициенты для расчета и анализа технологичности для мелкосерийного
производства опорного генератора на 1000МГц представлены в таблице 1.4.1.
Таблица 1.4.1. - Коэффициенты для расчета и анализа технологичности
ячейки для заданного объема выпуска
|
Наименование
|
Обозначение
|
Значение
|
|
Количество ИМС
|
4
|
|
|
Количество контактных соединений, полученных
механизированным путем
|
134
|
|
|
Общее количество соединений
|
193
|
|
|
Количество элементов, подготавливаемых механизированным
путем
|
56
|
|
|
Количество операций механизированного контроля и настройки
|
1
|
|
|
Общее количество операций контроля и настройки
|
3
|
|
|
Количество типов номиналов ИЭТ
|
18
|
|
|
Количество типов номиналов оригинальных ИЭТ
|
0
|
|
Базовые показатели технологичности опорного генератора на 1000МГц для
заданного объема выпуска представлены в таблице 1.4.2.
Таблица 1.4.2 - Базовые показатели технологичности ячейки для заданного
объема выпуска
|
№ б/п
|
Наименование базового показателя
|
Расчетная формула
|
Коэффициент значимости, ji
|
Примечания
|
1 Коэффициент
использования ИМС
1.0Hимс-кол-во
ИМСиэт = Hимс + Hэрэ
|
Конструкторский показатель
|
|
|
2 Коэффициент
автоматизации монтажа
0.8Hам-кол-во монтажных соединений, полученных
автоматизированным или механизированным способом.
Hм-общее
количество паяных соединений
|
Технологический показатель
|
|
|
3 Коэффициент
механизации подготовки к монтажу
0.5Hмп.иэт-число
элементов, автоматически подготавливаемых к монтажу
Hиэт-общее число
ИЭТ
|
Технологический показатель
|
|
|
4 Коэффициент
механизации контроля и настройки
0.5Hмкм-количество
операций механизированного контроля и настройки
Hкм-общее число
операции контроля и настройки
|
Технологический показатель
|
|
|
5 Коэффициент
повторяемости ИЭТ
0.3Hт.иэт-
число типноминалов ИЭТ.
Hиэт-общее число
ИЭТ
|
Конструкторский показатель
|
|
|
6 Коэффициент
применяемости ИЭТ
0.2Hт.ор.иэт-
число оригинальных ИЭТ.
Hт.иэт-число
типовых ИЭТ
|
Конструкторский показатель
|
|
|
7 Коэффициент
использования прогрес-сивных форм
0.1Дпр.-число
деталей пространственной компоновки прогрессивной формы.
Д-общее
число деталей пространственной компоновки
|
Конструкторско-технологический показатель
|
|
|
Комплексный показатель технологичности опорного генератора на 1000МГц для
заданного объема выпуска определяется на основании базовых показателей по
формуле:
Полученное
значение комплексного показателя технологичности соответствует нормативному
комплексному показателю для мелкосерийного производства. В мелкосерийном
производстве используются специальное и специализированное оборудование, при
этом квалификация рабочих должна быть высокой.
1.5 Разработка схемы сборки опытного образца
Схема
сборки необходима для описания последовательности основных сборочных операций и
служит источником данных для разработки маршрутного ТП.
Для
сборки и монтажа прибора используется общая схема сборки с базовой деталью. В
качестве базовой детали выбирается сборочная единица - основание корпуса, на
которое устанавливается ячейка электронная. Для каждой сборочной единицы разрабатываются
промежуточные схемы сборки, которые объединяются в общую схему сборки. На
первом этапе производится сборка передней панели устройства. Схема сборки
передней панели опытного образца представлена на рисунке 1.5.1.
Рисунок 1.5.1 - Схема сборки передней панели
На следующем этапе собирается задняя панель, на которую устанавливаются
разъемы. Схема сборки задней панели представлена на рисунке 1.5.2.
Рисунок 1.5.2 - Схема сборки задней панели
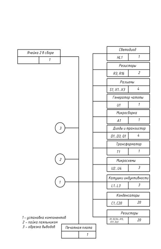
Схема сборки электронной ячейки показана на рисунке 1.5.3.
Рисунок 1.5.3 - Схема сборки ячейки электронной
К основанию прибора крепятся 3 ячейки. Остальные ячейки вставляются в
основную плату. Схема сборки всего прибора показана на рисунке 1.5.4.
Рисунок 1.5.4 - Схема сборки опытного образца
1.6 Разработка маршрутного технологического
процесса сборки опытного образца электронной ячейки
Маршрутный технологический процесс (МТП) сборки установки для измерения
параметров и настройки пьезоэлектрических резонаторов и монолитных фильтров
отражает последовательность выполнения технологических операций, содержит
информацию об оборудовании и времени выполнения каждой операции. МТП
разрабатывается на основе анализа конструкторской документации и схемы сборки
устройства.
На первом этапе выполняются подготовительные операции: сборка передней и
задней панели устройства, распаковка, комплектование ЭРЭ, расфасованных в тару
для удобного и быстрого поиска; входной контроль качества, формовка и обрезка
выводов элементов.
Подготовленные ЭРЭ устанавливается на плату в порядке, указанном на схеме
сборки.
После установки ЭРЭ проводится пайка выводов паяльником, контроль
качества пайки, отмывка и сушка платы.
Собранные ячейки устанавливаются на основание корпуса, после чего прибор
закрывают крышкой.
Собранный прибор проходит функциональный контроль.
Годный прибор маркируется и упаковывается.
Последовательность операций сборки опытного образца устройства
представлена в таблице 1.6.1.
Таблица 1.6.1 - Исходные данные для заполнения маршрутной карты для
сборки опытного образца преобразователя
|
№ операции
|
Наименование операции
|
Оборудование
|
Время, сек
|
|
Сборка основания корпуса
|
|
|
|
10
|
Комплектование основания корпуса
|
Стол монтажный
|
40
|
|
20
|
Подготовка основания корпуса к сборке (сверление отверстий)
|
|
60
|
|
30
|
Монтаж пластин к основанию корпуса
|
Стол монтажный
|
40
|
|
Сборка передней панели
|
|
|
|
35
|
Подготовка передней панели к сборке (сверление отверстий)
|
Стол монтажный
|
60
|
|
40
|
Комплектование деталей передней панели
|
Стол монтажный
|
60
|
|
50
|
Монтаж элементов на переднюю панель
|
Стол монтажный
|
60
|
|
Сборка задней панели
|
Стол монтажный
|
|
|
60
|
Комплектование деталей задней панели
|
Стол монтажный
|
40
|
|
65
|
Подготовка задней панели к сборке (сверление отверстий)
|
Стол монтажный
|
60
|
|
70
|
Монтаж элементов на заднюю панель
|
Стол монтажный
|
60
|
|
Сборка ячейки электронной
|
|
|
|
80
|
Распаковка и комплектование ЭРЭ
|
Стол монтажный
|
600
|
|
90
|
Установка ЭРЭ на печатную плату
|
Стол монтажный
|
720
|
|
95
|
Пайка паяльником
|
Стол монтажный
|
300
|
|
100
|
Обрезка выводов
|
Стол монтажный
|
20
|
|
105
|
Промывка платы
|
Установка промывки
|
30
|
|
110
|
Сушка платы
|
Установка сушки
|
120
|
|
120
|
Функциональный контроль ячейки
|
Стенд контроля
|
300
|
|
Сборка прибора
|
|
|
|
130
|
Комплектование прибора
|
Стол монтажный
|
300
|
|
140
|
Установка передней панели
|
Стол монтажный
|
30
|
|
150
|
Установка задней панели
|
Стол монтажный
|
30
|
|
160
|
Установка электронных ячеек на основание корпуса
|
Стол монтажный
|
120
|
|
170
|
Установка электронных ячеек на основную плату
|
Стол монтажный
|
30
|
|
180
|
Фиксация ячеек, установленных на основную плату
|
Стол монтажный
|
120
|
|
190
|
Монтаж проводов
|
Стол монтажный
|
300
|
|
200
|
Установка крышки прибора
|
30
|
|
210
|
Функциональный контроль
|
Стенд контроля
|
1200
|
|
220
|
Маркировка
|
Стол монтажный
|
120
|
|
230
|
Упаковка
|
Стол монтажный
|
180
|
Суммарное штучное время сборки опытного образца ячейки Тшт = 5030 сек =
84 мин.
1.7 Расчет и анализ такта выпуска
Анализ объема выпуска изделия проводится с целью определения возможности
выпуска изделий по данному ТП в заданном объеме в установленные сроки путем
сравнения штучного времени сборки изделия с заданным тактом выпуска. По
результатам анализа такта выпуска принимается решения о необходимости изменения
технологического процесса, и даются рекомендации по выбору более
производительных оборудования и оснастки, использованию групповых методов
обработки, объему партии изделий.
Заданный объём выпуска Nвып= 1700 шт./год.
По заданному объёму выпуска определяется такт выпуска:
Тв= Ф*60/Nвып,
где Тв - такт выпуска; Ф - годовой фонд рабочего времени (Ф≈ 2070
часов) при односменной работе; где Nзап- программа запуска.
Тогда:
Тв = 2070*60/1700 = 73 мин/шт
Следовательно, производительность:= 60/Тв = 60/73 = 0.82 шт/час
Из сравнения штучного времени сборки ячеек Tшт (Tшт=
84 мин) и такта выпуска Тв (Тв = 73 мин) следует, что технологический процесс
сборки и монтажа, в котором используются ручные методы сборки, требует
изменения с целью сокращения штучного времени. Для этого рекомендуется
использовать автоматизированную установку компонентов на плату; селективную
пайку элементов, устанавливаемых в отверстия; пайку поверхностно монтируемых
компонентов в печи; оснастку для групповой отмывки печатных плат после пайки,
проводить групповую сушку печатных плат после промывки.
1.8 Разработка схемы сборки электронной ячейки в
серийном производстве
Схема сборки необходима для описания последовательности основных
сборочных операций и служит источником данных для разработки маршрутного ТП.
Для сборки и монтажа прибора используется общая схема сборки с базовой
деталью. В качестве базовой детали выбирается сборочная единица - основание
корпуса, на которое устанавливается ячейка электронная.Для каждой сборочной
единицы разрабатываются промежуточные схемы сборки, которые объединяются в
общую схему сборки.
На первом этапе производится сборка передней панели устройства. Схема
сборки передней панели опытного образца представлена на рисунке 1.8.1.
Рисунок 1.8.1 - Схема сборки передней панели
На следующем этапе собирается задняя панель, на которую устанавливаются
разъемы.
Схема сборки задней панели представлена на рисунке 1.8.2.
Рисунок 1.8.2- Схема сборки задней панели
Схема сборки ячейки показана на рисунке 1.8.3.
Рисунок 1.8.3- Схема сборки ячейки электронной
К основанию прибора крепятся 3 ячейки. Остальные ячейки вставляются в
основную плату. Схема сборки всего прибора показана на рисунке 1.8.4.
Рисунок 1.8.4- Схема сборки опытного образца
1.9 Разработка маршрутного технологического
процесса сборки электронной ячейки в серийном производстве
Учитывая рекомендации по совершенствованию технологического процесса с
целью снижения штучного времени, для сборки устройства в серийном производстве
выбирается автоматизированная установка компонентов и пайка компонентов в печи;
разрабатывается приспособление для намотки нарезки проводов.
Исходные данные для заполнения маршрутной карты для сборки устройства в
серийном производстве представлены в таблице 1.9.1.
Таблица 1.9.1- Исходные данные для заполнения маршрутной карты для сборки
устройства в серийном производстве
|
№ операции
|
Наименование операции
|
Оборудование
|
Время, сек
|
|
1
|
2
|
3
|
4
|
|
Сборка основания корпуса
|
|
|
|
10
|
Комплектование основания корпуса
|
Стол монтажный
|
40
|
|
20
|
Подготовка основания корпуса к сборке (сверление отверстий)
|
|
60
|
|
30
|
Монтаж пластин к основанию корпуса
|
Стол монтажный
|
40
|
|
Сборка передней панели
|
|
|
|
35
|
Комплектование деталей передней панели
|
Стол монтажный
|
60
|
|
40
|
Подготовка передней панели к сборке (сверление отверстий)
|
Стол монтажный
|
60
|
|
50
|
Монтаж элементов на переднюю панель
|
Стол монтажный
|
60
|
|
Сборка задней панели
|
|
|
|
60
|
Комплектование деталей задней панели
|
Стол монтажный
|
40
|
|
65
|
Подготовка задней панели к сборке (сверление отверстий)
|
Стол монтажный
|
60
|
|
70
|
Монтаж элементов на заднюю панель
|
Стол монтажный
|
60
|
|
Сборка ячейки электронной
|
|
|
|
80
|
Распаковка и комплектование ЭРЭ
|
Стол монтажный
|
600
|
|
85
|
Нанесение паяльной пасты
|
Устройство для нанесения паяльной пасты
|
120
|
|
90
|
Установка КМП на плату
|
Автомат для установки КМП
|
60
|
|
100
|
Пайка в многозонной печи
|
Многозонная печь
|
120
|
|
110
|
Установка КМО на печатную плату
|
Стол монтажный
|
100
|
|
120
|
Пайка паяльником
|
Стол монтажный
|
100
|
|
130
|
Обрезка выводов
|
Стол монтажный
|
20
|
|
140
|
Промывка платы
|
Установка промывки
|
30
|
|
150
|
Сушка платы
|
Установка сушки
|
120
|
|
160
|
Функциональный контроль ячейки
|
Стенд контроля
|
300
|
|
Сборка прибора
|
|
|
|
170
|
Комплектование прибора
|
Стол монтажный
|
300
|
|
180
|
Установка передней панели
|
Стол монтажный
|
30
|
|
190
|
Установка задней панели
|
Стол монтажный
|
30
|
|
200
|
Установка электронных ячеек на основание корпуса
|
Стол монтажный
|
120
|
|
210
|
Установка электронных ячеек на основную плату
|
Стол монтажный
|
30
|
|
220
|
Фиксация ячеек, установленных на основную плату
|
Стол монтажный
|
120
|
|
230
|
Монтаж проводов
|
Стол монтажный
|
300
|
|
240
|
Установка крышки прибора
|
Стол монтажный
|
30
|
|
250
|
Функциональный контроль
|
Стенд контроля
|
1200
|
|
260
|
Маркировка
|
Стол монтажный
|
120
|
|
270
|
Упаковка
|
Стол монтажный
|
180
|
Суммарное штучное время сборки ячейки в серийном производствеTшт = 73 мин. Полученное значение
штучного времени сборки преобразователя напряжения равно такту для заданного
объема выпуска ( Тв = 73 мин/шт), что обеспечивает сборку устройства в серийном
производстве в соответствии с производственной программой выпуска.
1.10 Разработка маршрутно-операционного
технологического процесса
На основе маршрутного технологического процесса разрабатывается
маршрутно-операционный технологический процесс. Исходные данные для
маршрутно-операционного ТП представлены в таблице 1.10.1.
Таблица 1.10.1 Исходные данные для заполнения маршрутно-операционной
карты для сборки устройства в серийном производстве
|
№ операции
|
Наименование операции
|
Оборудование и оснастка
|
Материалы и режимы
|
Tшт., сек
|
|
1
|
2
|
3
|
4
|
5
|
|
Сборка основания корпуса
|
|
|
|
|
10
|
Комплектование основания корпуса
|
Стол монтажный
|
|
40
|
|
01
|
Распаковать тару
|
Тара упаковочная, ножницы
|
|
|
|
02
|
Извлечь деталь корпуса из тары, проконтролировать визуально
и положить в технологическую тару
|
Тара упаковочная, тара технологическая
|
|
|
|
03
|
Повторить переход 02 для всех деталей основания корпуса
|
|
|
|
|
20
|
Подготовка основания корпуса к сборке (сверление отверстий)
|
Стол монтажный
|
|
60
|
|
01
|
Извлечь основание из тары технологической
|
Тара технологическая
|
|
|
|
02
|
Установить основание в приспособление для сверления
|
|
|
|
|
03
|
Просверлить отверстие по чертежу
|
Дрель
|
|
|
|
04
|
Повторить переход 03 для всех отверстий
|
|
|
|
|
05
|
Убрать основание в тару
|
Тара технологическая
|
|
|
|
30
|
Монтаж пластин к основанию корпуса
|
Стол монтажный
|
|
40
|
|
01
|
Извлечь основание корпуса, пластины и необходимое
количество винтов из тары
|
Тара технологическая
|
|
|
|
02
|
Закрепить пластину на основании корпуса винтами и положить
основание корпуса в тару
|
Отвертка ручная
|
|
|
|
03
|
Повторить переходы 01 - 02 для второй пластины
|
|
|
|
|
Сборка передней панели
|
|
|
|
|
35
|
Комплектование деталей передней панели
|
Стол монтажный
|
|
60
|
|
01
|
Распаковать тару
|
Тара упаковочная
|
|
|
|
02
|
Извлечь деталь передней панели из тары, проконтролировать
визуально и положить в технологическую тару
|
Тара упаковочная, тара технологическая
|
|
|
|
03
|
Повторить переход 02 для всех деталей передней панели
|
|
|
|
|
04
|
Набрать необходимое количество винтов и положить в тару
технологическую
|
Тара технологическая
|
|
|
|
40
|
Подготовка передней панели к сборке (сверление отверстий)
|
Стол монтажный
|
|
60
|
|
01
|
Извлечь переднюю панель из тары технологической
|
Тара технологическая
|
|
|
|
02
|
Установить панель в приспособление для сверления
|
|
|
|
|
03
|
Просверлить отверстие по чертежу
|
Дрель
|
|
|
|
04
|
Повторить переход 03 для всех отверстий
|
|
|
|
|
05
|
Убрать переднюю панель в тару
|
Тара технологическая
|
|
|
|
50
|
Монтаж элементов на переднюю панель
|
Стол монтажный
|
|
60
|
|
01
|
Извлечь элементы передней панели из тары
|
Тара технологическая
|
|
|
|
02
|
Установить элемент на переднюю панель и при необходимости
закрепить винтами
|
Отвертка ручная
|
|
|
|
03
|
Повторить переход 02 для всех элементов передней панели
|
|
|
|
|
Сборка задней панели
|
|
|
|
|
60
|
Комплектование деталей задней панели
|
Стол монтажный
|
|
40
|
|
01
|
Распаковать тару
|
Тара упаковочная
|
|
|
|
02
|
Извлечь деталь задней панели из тары, проконтролировать
визуально и положить в технологическую тару
|
Тара упаковочная, тара технологическая
|
|
|
|
03
|
Повторить переход 02 для всех деталей передней панели
|
|
|
|
|
04
|
Набрать необходимое количество винтов и положить в тару
технологическую
|
Тара технологическая
|
|
|
|
65
|
Подготовка задней панели к сборке (сверление отверстий)
|
Стол монтажный
|
|
60
|
|
01
|
Извлечь заднюю панель из тары технологической
|
Тара технологическая
|
|
|
|
02
|
Установить панель в приспособление для сверления
|
|
|
|
|
03
|
Просверлить отверстие по чертежу
|
Дрель
|
|
|
|
04
|
Повторить переход 03 для всех отверстий
|
|
|
|
|
05
|
Убрать заднюю панель в тару
|
Тара технологическая
|
|
|
|
70
|
Монтаж элементов на заднюю панель
|
Стол монтажный
|
|
60
|
|
01
|
Извлечь элементы задней панели из тары
|
Тара технологическая
|
|
|
|
02
|
Установить элемент на заднюю панель и при необходимости
закрепить винтами
|
Отвертка ручная
|
|
|
|
03
|
Повторить переход 02 для всех элементов задней панели
|
|
|
|
|
Сборка ячейки электронной
|
|
|
|
|
80
|
Распаковка и комплектование ЭРЭ
|
Стол монтажный
|
|
600
|
|
01
|
Извлечь печатную платы из тары упаковочной и положить в
тару технологическую
|
Тара упаковочная, тара технологическая
|
|
|
|
02
|
Извлечь ЭРЭ из тары упаковочной, проконтролировать
визуально на отсутствие внешних дефектов и положить в тару технологическую
согласно чертежу и комплектовочной ведомости
|
Тара упаковочная, тара технологическая
|
|
|
|
03
|
Повторить переход 01 для всех ЭРЭ
|
|
|
|
|
85
|
Нанесение паяльной пасты
|
Устройство для нанесения паяльной пасты
|
|
120
|
|
01
|
Извлечь печатную плату из технологической тары
|
Тара технологическая
|
|
|
|
02
|
Установить печатную плату в установку
|
|
|
|
|
03
|
Нанести паяльную пасту
|
Трафарет, ракель
|
|
|
|
04
|
Извлечь печатную плату из установки
|
|
|
|
|
90
|
Автомат для установки КМП
|
|
60
|
|
01
|
Закрепить печатную плату в установке
|
|
|
|
|
02
|
Провести установку элементов
|
|
|
|
|
03
|
Извлечь печатную плату из установки и положить в тару
|
Тара технологическая
|
|
|
|
100
|
Пайка в многозонной печи
|
Многозонная печь
|
|
120
|
|
01
|
Извлечь печатную плату из тары
|
Тара технологическая
|
|
|
|
02
|
Установить плату на транспортер
|
|
|
|
|
03
|
Провести пайку
|
|
|
|
|
04
|
Снять печатную плату и положить в тару
|
Тара технологическая
|
|
|
|
05
|
Визуально проконтролировать качество пайки
|
Тара технологическая
|
|
|
|
110
|
Установка КМО на печатную плату
|
Стол монтажный
|
|
100
|
|
01
|
Извлечь компонент из тары и установить на печатную плату
согласно чертежу
|
Тара технологическая
|
|
|
|
02
|
Подогнуть выводы компонента
|
Плоскогубцы
|
|
|
|
03
|
Повторить переходы 01- 02 для всех ЭРЭ, устанавливаемых на
ПП
|
|
|
|
|
120
|
Пайка паяльником
|
Стол монтажный
|
|
100
|
|
01
|
Установить плату в приспособление для пайки плат
|
|
|
|
|
02
|
Припаять выводы элемента к контактным площадкам
|
Паяльная станция
|
Припой ПОС-61 ГОСТ 21931-76. Т°=260+200С
|
|
|
03
|
Повторить переход 02 для всех КМО
|
|
|
|
|
04
|
Проконтролировать качество пайки визуально
|
|
|
|
|
05
|
Извлечь плату из приспособления для пайки и положить в тару
|
Тара технологическая
|
|
|
|
130
|
Обрезка выводов
|
Стол монтажный
|
|
20
|
|
01
|
Извлечь плату из тары
|
Тара технологическая
|
|
|
|
02
|
Обрезать выводы ЭРЭ
|
Бокорезы
|
|
|
|
03
|
Повторить переход 02 для всех ЭРЭ
|
|
|
|
|
04
|
Положить плату в технологическую тару
|
Тара технологическая
|
|
|
|
140
|
Промывка платы
|
Установка промывки
|
|
30
|
|
01
|
Переложить плату из тары в тару для промывки
|
Тара технологическая , тара для промывки
|
|
|
|
02
|
Поместить тару с платами в установку промывки и выдержать в
смеси при установленном режиме
|
Тара для промывки
|
Спирто-бензиновая смесь (1:1) Температура смеси То =
70±5оС, время t= 10-15 мин
|
|
|
03
|
Извлечь плату из тары для промывки, проконтролировать
качество отмывки визуально и положить в тару
|
Тара технологическая , тара для промывки
|
|
|
|
150
|
Сушка платы
|
Установка сушки
|
|
120
|
|
01
|
Переложить плату из тары в поддон для сушки
|
Тара технологическая, поддон для сушки
|
|
|
|
02
|
Повторить переход 01 для всех плат
|
|
|
|
|
03
|
Поместить поддон с платами в сушильный шкаф и выдержать при
установленном режиме
|
Поддон для сушки
|
Температура Т°= 60±50С, время t= 10 мин
|
|
|
04
|
Извлечь поддон с платами из сушильного шкафа, поставить на
стол и выдержать при комнатной температуре
|
Поддон для сушки
|
Температура комнатная, время t= 10-15 мин
|
|
|
05
|
Переложить плату из поддона для сушки в тару
технологическую
|
Поддон для сушки, тара технологическая
|
|
|
|
160
|
Функциональный контроль ячейки
|
Стенд контроля
|
|
300
|
|
01
|
Извлечь ячейку из тары и установить в стенд для контроля
|
Тара технологическая
|
|
|
|
02
|
Проконтролировать функционирование ячейки согласно
инструкции по контролю
|
|
|
|
|
03
|
Извлечь ячейку из стенда и положить в тару
|
Тара технологическая
|
|
|
|
Сборка прибора
|
|
|
|
|
170
|
Комплектование прибора
|
Стол монтажный
|
|
300
|
|
01
|
Извлечь из упаковочной тары компонент прибора и поместить
его в тару технологическую
|
Тара упаковочная, тара технологическая
|
|
|
|
02
|
Повторить переход 01 для всех компонентов прибора
|
|
|
|
|
180
|
Установка передней панели
|
Стол монтажный
|
|
30
|
|
01
|
Извлечь переднюю панель и основание корпуса из тары и
установить на основание корпуса совместив с отверстиями в основании
|
Тара технологическая
|
|
|
|
02
|
Зафиксировать переднюю панель с помощью винтов
|
Отвертка ручная
|
|
|
|
03
|
Положить прибор в тару
|
Тара технологическая
|
|
|
|
190
|
Установка задней панели
|
Стол монтажный
|
|
30
|
|
01
|
Извлечь заднюю панель из тары и установить на основание
корпуса совместив с отверстиями в основании
|
Тара технологическая
|
|
|
|
02
|
Зафиксировать заднюю панель с помощью винтов
|
Отвертка ручная
|
|
|
|
03
|
Положить прибор в тару
|
Тара технологическая
|
|
|
|
200
|
Установка электронных ячеек на основание корпуса
|
Стол монтажный
|
|
120
|
|
01
|
Извлечь прибор из тары
|
Тара технологическая
|
|
|
|
02
|
Извлечь ячейку электронную из тары, совместив с отверстиями
в основании
|
|
|
|
|
03
|
Закрепить ячейку с помощью винтов
|
Отвертка ручная
|
|
|
|
04
|
Повторить переходы 02-03 для остальных ячеек, монтируемых
на основание
|
|
|
|
|
210
|
Установка электронных ячеек на основную плату
|
Стол монтажный
|
|
30
|
|
01
|
Извлечь ячейку электронную из тары и вставить в основную
плату
|
Тара технологическая
|
|
|
|
02
|
Повторить переход 01 для всех ячеек, монтируемых на
основную плату
|
|
|
|
|
220
|
Фиксация ячеек, установленных на основную плату
|
Стол монтажный
|
|
120
|
|
01
|
Извлечь компоненты для фиксации из тары
|
Тара технологическая
|
|
|
|
02
|
Зафиксировать ячейки с помощью винтов
|
Отвертка ручная
|
|
|
|
230
|
Монтаж проводов
|
Стол монтажный
|
|
300
|
|
01
|
Отмотать и отрезать провод длиной, указанной в чертеже
|
Тара технологическая, линейка, приспособление для нарезки
проводов
|
|
|
|
02
|
Снять изоляцию и зачистить концы провода с двух сторон
|
Острогубцы
|
|
|
|
03
|
Облудить концы провода с двух сторон
|
Ванна для лужения
|
Припой ПОС-61 ГОСТ 21931-76, температура ванны Т°=260+200С
|
|
|
04
|
Произвести монтаж проводов согласно электромонтажному
чертежу
|
|
|
|
|
05
|
Повторить переходы 1-4для всех проводов разъема
|
|
|
|
|
240
|
Установка крышки прибора
|
Стол монтажный
|
|
30
|
|
01
|
Извлечь крышку прибора из тары и установить на основание
корпуса, совместив с отверстиями в основании
|
Тара технологическая
|
|
|
|
02
|
Закрепить крышку прибора винтами
|
Отвертка ручная
|
|
|
|
250
|
Функциональный контроль
|
Стенд контроля
|
|
1200
|
|
01
|
Проконтролировать функционирование прибора согласно
инструкции по контролю
|
|
|
|
|
260
|
Маркировка
|
Стол монтажный
|
|
120
|
|
01
|
Извлечь табличку из тары
|
Тара технологическая
|
|
|
|
02
|
Нанести клей на табличку и приклеить на крышку корпуса
прибора легким прижатием
|
Кисть
|
Клей ПУ-2 ОСТ 4ГО.029.204
|
|
|
03
|
Выдержать прибор на воздухе при комнатной температуре
|
|
Температура комнатная, время t= 30 мин
|
|
|
270
|
Упаковка
|
Стол монтажный
|
|
180
|
|
01
|
Извлечь прибор из тары и упаковать прибор в полиэтиленовый
пакет
|
Ножницы, тара технологическая
|
Липкая лента
|
|
|
02
|
Поместить полиэтиленовый пакет с прибором в упаковочную
коробку
|
|
|
|
|
03
|
Вложить сопроводительную документацию в упаковочную коробку
|
|
|
|
|
04
|
Закрыть крышку упаковочной коробки и зафиксировать липкой
лентой
|
Ножницы
|
Липкая лента
|
|
1.11 Эскизный техпроцесс
Установка элементов на переднюю панель
|
№ п/п
|
Наименование перехода
|
Т, с
|
|
1
|
Извлечь элементы передней панели из тары
|
3
|
|
2
|
Установить элемент на переднюю панель и при необходимости
закрепить винтами
|
7
|
|
3
|
Повторить переход 2 для всех элементов передней панели
|
|
|
Оборудование
|
Стол монтажный
|
|
Оснастка
|
Тара технологическая, отвертка ручная
|
70 Монтаж элементов на заднюю панель
|
№ п/п
|
Наименование перехода
|
Т, с
|
|
1
|
Извлечь элементы задней панели из тары
|
3
|
|
2
|
Установить элемент на заднюю панель и при необходимости
закрепить винтами
|
7
|
|
3
|
Повторить переход 2 для всех элементов задней панели
|
|
|
Оборудование
|
Стол монтажный
|
|
Оснастка
|
Тара технологическая, отвертка ручная
|
90 Установка КМП на плату

|
№ п/п
|
Наименование перехода
|
Т, с
|
|
1
|
Закрепить печатную плату в установке
|
5
|
|
2
|
Провести установку элементов
|
50
|
|
3
|
Извлечь печатную плату из установки и положить в тару
|
5
|
|
Оборудование
|
Автомат для установки КМП
|
|
Оснастка
|
Тара технологическая
|
110 Установка КМО на печатную плату

|
№ п/п
|
Наименование перехода
|
Т, с
|
|
1
|
Извлечь компонент из тары и установить на печатную плату
согласно чертежу
|
8
|
|
2
|
Подогнуть выводы компонента
|
4
|
|
3
|
Повторить переходы 1- 2 для всех ЭРЭ, устанавливаемых на ПП
|
|
|
Оборудование
|
Стол монтажный
|
|
Оснастка
|
Тара технологическая, плоскогубцы
|
120 Пайка паяльником

|
№ п/п
|
Наименование перехода
|
Т, с
|
|
1
|
Установить плату в приспособление для пайки плат
|
4
|
|
2
|
Припаять выводы элемента к контактным площадкам
|
10
|
|
3
|
Повторить переход 2 для всех КМО
|
|
|
4
|
Проконтролировать качество пайки визуально
|
10
|
|
5
|
Извлечь плату из приспособления для пайки и положить в тару
|
5
|
|
Оборудование
|
Стол монтажный
|
|
Оснастка
|
Тара технологическая, паяльная станция
|
|
Материалы
|
Припой ПОС-61 ГОСТ 21931-76
|
|
Режимы
|
Т°=260+200С
|
№ п/п
|
Наименование перехода
|
Т, с
|
|
1
|
Извлечь ячейку электронную из тары и вставить в основную
плату
|
4
|
|
2
|
Повторить переход 1 для всех ячеек, монтируемых на основную
плату
|
|
|
Оборудование
|
Стол монтажный
|
|
Оснастка
|
Тара технологическая
|
230 Монтаж проводов
|
№ п/п
|
Наименование перехода
|
Т, с
|
|
1
|
Отмотать и отрезать провод длиной, указанной в чертеже
|
4
|
|
2
|
Снять изоляцию и зачистить концы провода с двух сторон
|
4
|
|
3
|
Облудить концы провода с двух сторон
|
2
|
|
4
|
Произвести монтаж проводов согласно электромонтажному
чертежу
|
10
|
|
5
|
Повторить переходы 1-4для всех проводов разъема
|
|
|
Оборудование
|
Стол монтажный
|
|
Оснастка
|
Тара технологическая, линейка, приспособление для нарезки
проводов, острогубцы, ванна для лужения
|
|
Материалы
|
Припой ПОС-61 ГОСТ 21931-76
|
|
Режимы
|
Температура ванны Т°=260+200С
|
Установка крышки прибора
|
№ п/п
|
Наименование перехода
|
Т, с
|
|
1
|
Извлечь крышку прибора из тары и установить на основание
корпуса, совместив с отверстиями в основании
|
10
|
|
2
|
Закрепить крышку прибора винтами
|
20
|
|
Оборудование
|
Стол монтажный
|
|
Оснастка
|
Тара технологическая, отвертка ручная
|
Часть 2 РАЗРАБОТКА ОСНАСТКИ
.1 Техническое задание на проектирование
приспособления для нарезки проводов
.1.1 Назначение
Приспособление предназначено для нарезки проводов
заданной длины в приделах от 1см до 10см.
2.1.2. Требования к конструкции
Разработать конструкцию приспособления для нарезки
проводов в размер, удовлетворяющую следующим требованиям:
- приспособление должно обеспечивать необходимый
диапазон длины проводов;
производительность приспособления должна
соответствовать заданному объёму выпуска;
приспособление должно иметь конструкцию, позволяющую
легко заправлять катушки с проводами;
приспособление для нарезки проводов должно быть
рассчитано под ручную нарезку;
конструкция приспособление для нарезки проводов должна
быть простой в эксплуатации, иметь низкую стоимость при высокой
производительности.
.1.3 Кинематика
Рабочее движения ножа происходит в вертикальной
плоскости.
.1.4
Похожие работы на - Разработка технологического процесса сборки и монтажа электронного устройства
|