Проектування ремонтного заводу, що спеціалізуються на капітальному ремонті екскаваторів ЕО 4124
Зміст
ВСТУП
. ПРОЕКТНА ЧАСТИНА
.1 Призначення ремонтного заводу
.2 Технологічний процес капітального ремонту
.3 Режим роботи ремонтного заводу
.4 Розрахунок річної виробничої програми і
трудомісткості ремонтного заводу
.5 Розрахунок кількості виробничих робітників
.6 Розрахунок виробничих площ
.7 Розрахунок кількості робочих місць і обладнання
.8 Основні будівельні вимоги
. ТЕХНІЧНА ЧАСТИНА
.1 Призначення дільниці
.2 Режим роботи дільниці
.3 Річна виробнича програма і трудомісткість робіт на
дільниці
.4 Розрахунок кількості робітників
.5 Розрахунок кількості робочих місць і обладнання
.6 Розрахунок виробничої площі дільниці
.7 Розрахунок енергетичних потреб
.8 Підйомно-транспортні засоби
.9 Основні будівельні вимоги
. ТЕХНОЛОГІЧНА ЧАСТИНА
.1 Призначення і умови роботи деталі
.2 Складання плану операцій
.3 Вибір обладнання пристроїв і інструменту
.4 Розрахунок і вибір режимів обробітку
.5 Розрахунок технічних норм часу
.6 Розробка технологічних документів
. КОНСТРУКТОРСЬКА ЧАСТИНА
.1 Призначення пристрою
.2 Робота пристрою
. ОРГАНІЗАЦІЙНА ЧАСТИНА
.1 Техніка безпеки, охорона праці та промислова
санітарія
.2 Пожежна безпека
.3 Електробезпека
.4 Екологічна безпека
.5 Наукова організація праці та технічна естетика
. ЕКОНОМІЧНА ЧАСТИНА
.1 Розрахунок вартості основних фондів
.2 Розрахунок зарплати основних робочих
.3 Витрати на запасні частини і матеріали
.4 Цехові накладні витрати
.5 Розрахунок оборотних засобів підприємства
.6 Розрахунок доходу дільниці
.7 Розрахунок техніко-економічних показників дільниці
СПИСОК ВИКОРИСТАНОЇ ЛІТЕРАТУРИ
Вступ
Сучасний парк машин постійно поповнюється машинами нової
конструкції, збільшується їх кількість та потужність. Однак на утримання парку
машин у технічно справному стані, що забезпечує ефективний технологічний процес
витрачаються значні кошти. Ускладнення конструкцій машин спричинює збільшення
обсягу робіт на технічне обслуговування і ремонт. Економія паливних,
енергетичних, матеріальних і сировинних ресурсів в процесі експлуатації машин
значним чином залежить від їхнього технічного стану.
При довгій експлуатації машини досягають такого стану, коли
витрати коштів і праці, пов’язані з підтриманням їх в працездатному стані в
умовах підприємств становиться нерентабельним, такий стан машин являється
кінцевим і вони потребують капітального ремонту.
Ремонт - це комплекс робіт завдяки яким відновлюється
працездатність деталі, вузла, агрегату, або всієї машини. Капітальний ремонт -
це такий ремонт при якому ремонтується базова деталь (рама), або два і більше
основних агрегатів (наприклад: двигун і міст, або кабіна і двигун).
На практиці, коли ремонту потребують майже всі агрегати
машини, вона направляється в капітальний ремонт на спеціалізовані
підприємства-ремонтні заводи.
Сучасне підприємство для капітального ремонту
повнокомплектних машин є складним у технологічному відношенні підприємством з
великою номенклатурою ремонтованих агрегатів, вузлів та деталей. Великі
можливості для підвищення продуктивності праці, зниження собівартості закладені
в концентрації та спеціалізації виробництва.
Завданням на дипломний проект передбачено проектування
ремонтного заводу, що спеціалізуються на капітальному ремонті екскаваторів ЕО
4124 з виробничою програмою 790 капітальних ремонтів на рік.
1. Проектна частина
1.1 Призначення ремонтного заводу
Проектований ремонтний завод призначений для капітального
ремонту повнокомплектних екскаваторів ЕО 4124 з виробничою програмою 790
капітальних ремонтів на рік.
Капітальний ремонт машин на ремонтному заводі виконується
промисловим (індустріальним) методом, тобто ремонт машин виконується
знеособленням агрегатів, а капітальний ремонт агрегатів та механізмів -
знеособленням деталей, за винятком тих, що не можна знеособлювати з виробничих
міркувань. Такий метод створює умови для ритмічної роботи підприємства та раціонального
використання його потужностей.
При агрегатному методі несправні агрегати замінюють новими
або заздалегідь відремонтованими. При цьому значно скорочуються простої машин у
ремонті. Оснащення автотранспортних підприємств та будівельних організацій сучасними
машинами складної будови з гідравлічним або пневматичним керуванням, а також
концентрація однойменних та однотипних машин на одному підприємстві дають
значний економічний ефект від впровадження агрегатного методу ремонту.
Так як підприємство має порівняно невеликі потужності, його
доцільно організувати за без цеховою структурою. В цьому випадку окремі
дільниці очолює майстер, підпорядкований безпосередньо заводоуправлінню.
1.2 Технологічний процес капітального ремонту
Схема технологічного процесу ремонту машин показана на
рисунку 1.1. На ній видно основні етапи: розбиральні, мийно-очисні процеси та
дефектування деталей; процеси відновлення деталей та вузлів; складальні
процеси, що включають в себе припрацювання агрегатів і випробовування машин.
Перший етап - зняття приладів
живлення та електрообладнання і відправлення машини на майданчик зберігання
ремонтного фонду. Після цього машину транспортуючим конвеєром подають на пост
миття. Після зовнішнього миття машину передають на пост попереднього розбирання,
де знімають платформу, стекла, сидіння, оббивку та арматуру кабіни, а також
саму кабіну, паливні баки. Зняті частини передають на відповідні пости для
ремонту. Дальший комплекс робіт виконують згідно з порядком підготовки машини
до повного розбирання. Він включає повторне миття її, зливання масла з картерів
двигуна, передач, мостів, механізму керування і випарювання картерів за
допомогою водяної пари. Виконання цих робіт істотно впливає на умови праці під
час дальшого розбирання, якість ремонту і продуктивність.
Потім переміщувана транспортером
машина надходить на пости повного розбирання. Тут з неї знімають механізм
керування, силовий агрегат, мости, підвіску та привод гальмової системи. Усі
зняті агрегати та вузли передають на спеціалізовані дільниці та пости для
подальшого ремонту. Раму, що залишилася в кінці розбирання, миють і передають у
ремонт.
У результаті дефектації і сортування
деталей з'ясовується можливість подальшого їх використання в агрегаті чи вузлі,
визначаються обсяг та характер відновних робіт і кількість потрібних нових
деталей.
Другий етап - відновлення деталей та
вузлів, є важливою умовою забезпечення необхідної якості ремонту при
оптимальних виробничих умовах. Складність якісного складання під час ремонту
зумовлюється використанням на складанні деталей різних категорій. На складання
деталі подають комплектами. Складають двигуни на потокових лініях, агрегати -
на спеціалізованих постах.
Випробування агрегатів та вузлів
провадять з метою перевірки якості їх складання і відповідності вихідних
характеристик вимогам технічних умов на ремонт, а також щоб забезпечити
попереднє припрацювання рухомо спряжених деталей.
Рисунок 1.1 - Технологія ремонтного
виробництва
Відремонтовані агрегати та вузли, як
правило, фарбують після випробування і усунення дефектів перед загальним
складанням. Платформу і кабіну фарбують одразу після відновлення. Після
випробувань і пофарбування агрегати та вузли передають представникові відділу
технічного контролю, а після цього - на загальне складання машини.
Третій етап - загальне складання.
Його ведуть з відремонтованих агрегатів, та вузлів на спеціалізованих постах
або на потокових лініях. Після загального складання автомобіль заправляють
пальним і передають на випробування, які проводять пробігом або на
випробувальних стендах. Під час випробувань виконують необхідні регулювання і
усувають виявлені несправності. Якщо в ході випробувань виявлено несправності,
які не можна усунути регулюванням, машину передають на пост усунення дефектів.
Повністю справну машину при потребі підфарбовують і здають представникові
відділу технічного контролю або безпосередньо замовникові.
1.3 Режим роботи ремонтного заводу
Основні відділення та дільниці ремонтного заводу працюють в
дві зміни, крім тих, де виробничий процес безперервний, тобто продовжується три
зміни. Таким дільницями вважаються гальванічна та термічна.
Номінальний фонд робочого часу обладнання Фн.о дорівнює
номінальному фонду робочого часу робітника. Розрахунки виконуємо згідно календарю
на 2012 рік.
Розрахунковий (номінальний) фонд робочого часу Фн.р робітника
за рік підраховується за рівнянням:
Фн.о = Фн.р = (Дк-Дв-Дс)·tзм-Дпс·1, (1.1)
де Дк- кількість календарних днів на 2008 рік, Дк=366 днів;
Дв- кількість вихідних днів за рік, Дв= 105днів;
Дс- кількість святкових днів за рік, Дс= 10 днів;
Дпс- кількість передсвяткових днів за рік, Дпс= 7 днів;зм-
тривалість зміни, tзм= 8 год.
Фн.о= Фн.р=(366 - 105 - 10) ·8 - 7·1= 2001 год.
Дійсний фонд робочого часу робітника враховує час відсутності
робітника за поважним причинам, як відпустка, хвороба, відрядження та ін. В
залежності від професії робітника та тривалості його відпустки втрати часу
приймаються в межах:
% - для робітників з тривалістю відпустки 18 днів;
% - для робітників з тривалістю відпустки 21 день;
%-для робітників із тривалістю відпустки 24 дні;
% - для робітників із тривалістю відпустки 27 днів.
Розраховані фонди часу робітників ремонтного заводу приведені
в таблиці 1.1.
Таблиця 1.1 - Фонди часу робітників
|
Тривалість зміни,
год.
|
Тривалість
відпустки, днів
|
Фнр, год.
|
Втрати часу, %
|
Фдр, год.
|
|
8
|
18
|
2001
|
10
|
1801
|
|
8
|
21
|
2001
|
11
|
1781
|
|
8
|
24
|
2001
|
12
|
1761
|
|
8
|
27
|
2001
|
13
|
1741
|
Дійсний фонд робочого часу обладнання Фд.о враховує простої
обладнання в ремонті і технічному обслуговуванні.
Тоді дійсний фонд робочого часу обладнання
Фд.о= Фн.о·ηо·у, (1.2)
год.
де ηо- коефіцієнт використання робочого часу
обладнання,
у- кількість змін роботи обладнання.
Річний фонд часу робочого місця приймається рівним номінальному фонду
робочого часу обладнання, Фрм=Фно+2001
Розрахунок фондів часу обладнання приведений в таблиці 1.2.
Таблиця 1.2 - Фонди часу обладнання
|
Обладнання
|
При двох змінах
|
|
ηо
|
Фдо, год.
|
|
1. Металообробне,
деревообробне, гальванічне
|
0,97
|
3901
|
|
2.
Ковальсько-пресове
|
0,96
|
3861
|
|
3. Зварювальне і
металізаційне
|
0,95
|
3820
|
|
4. Обладнання
малярних дільниць
|
0,95
|
3820
|
|
5. Термічне
|
0,96
|
3861
|
1.4 Розрахунок річної виробничої програми і
трудомісткості ремонтного заводу
Річна виробнича програма приймається згідно виданого завдання
на дипломний проект і складає 790 капітальних ремонтів будівельних машин на
рік.
Таблиця 1.3 - Річна виробнича програма
|
Назва об’єктів
ремонту
|
Кількість на рік
|
Вид ремонту
|
|
Екскаватор ЕО 4124
|
790
|
капітальний
|
Розрахунок річної виробничої програми ремонтного заводу
Приймається норма часу згідно діючих нормативів і Державних
будівельних норм України ДБН В.2.8-3-95 «Технічна експлуатація будівельних
машин». При цьому необхідно врахувати, що норми часу в нормативах даються для підприємства
з річною виробничою програмою на 250 капітальних ремонтів або агрегатів. При
збільшенні потужності підприємства норма часу зменшується за рахунок
використання більш сучасного обладнання, автоматизації й комп’ютеризації
виробничих процесів. Величина коефіцієнта, який враховує потужність
підприємства приведена в довіднику [1, табл. 3].
Враховуючи коефіцієнти потужності, норма часу на ремонт
об’єкту визначається по рівнянню:
,
н×год. (1.3)
де t1од - норма часу на капітальний ремонт одного об’єкту при програмі
250КР;
Кп - коефіцієнт, що враховує дійсну виробничу потужність підприємства.
Як що дійсна виробнича потужність Nd менше 1000 та більше 750 капітальних ре
монтів на рік, то коефіцієнт К=0,82.
964
н×год.
Розрахунок річної трудомісткості ремонтного заводу.
Річна трудоємкість ремонтно-механічного заводу по ремонту машин
визначається як добуток норми часу на ремонт однієї машини і річної виробничої
програми:
Тзм= tод×N, н×год (1.4)
де Тзм - трудоємкість річного ремонту машин;
tод - норма часу на ремонт однієї машини, н×год;- річна виробнича
програма.
н×год.
Трудоємкість робіт по самообслуговуванню, кооперації, виготовленню
запасних частин і т.п. визначається з рівняння:
Тс = (0,03¸0,07)×Тзм , (1.5)
Тс=0,05 × 929040= 46452 н×год.
Річна трудоємкість загальна для підприємств складає:
Тр = Тзм + Тс , н×год. (1.6)
Тр=929040 + 46452=975492 н×год.
Розподіл річної трудомісткості по відділенням приведений в
таблиці 1.4.
Таблиця 1.4 - Розподіл трудомісткості робіт по відділенням
ремонтного заводу
|
№ п/п
|
Назва дільниці
|
Трудомісткість
|
|
|
%
|
н. - год.
|
|
1
|
Зовнішнє митя
|
0,5
|
4877
|
|
2
|
Розбирання
|
8,2
|
79990
|
|
3
|
Виварювання та
миття
|
1
|
9754
|
|
4
|
Контролю та
сортування
|
2
|
19509
|
|
5
|
Комплектування
|
2,1
|
20485
|
|
6
|
Ремонту рам
|
7,5
|
73161
|
|
7
|
Загальне збирання
|
19,6
|
191196
|
|
8
|
Жерстянницька
|
5
|
48774
|
|
9
|
Мідницько-радіаторна
|
3,9
|
38044
|
|
10
|
Деревообробна
|
0,6
|
5852
|
|
11
|
Оббивна
|
0,6
|
5852
|
|
12
|
Малярна
|
1,3
|
12681
|
|
13
|
Агрегатна
|
11,2
|
109255
|
|
14
|
Паливної апаратури
|
2
|
19509
|
|
15
|
Електрообладнання
|
1,6
|
15607
|
|
16
|
Обкатки та
випробовування
|
1,2
|
11705
|
|
17
|
Слюсарно-механічна
|
22,5
|
219485
|
|
18
|
Ковальсько-термічна
|
3,7
|
36093
|
|
19
|
Зварювально-металізаційна
|
4,3
|
41946
|
|
20
|
Гальванічна
|
1,2
|
11705
|
|
Всього
|
100
|
975492
|
1.5 Розрахунок кількості виробничих робітників
Розрізняють кількість виробничих робітників за списком - mсп
і явочну - mяв, тобто таку, яка необхідна для виконання річної виробничої
програми.
Списочна кількість робітників ремонтного заводу
mсп=
, (1.7)
де α - коефіцієнт виробітку норми (α=1,05÷1,3).
mсп=
робітників
Явочна кількість робітників ремонтного заводу
яв=
, (1.8)
mяв=
робітників
Для виконання виробничої програми, крім основних робітників,
потрібні також допоміжні (наладчики обладнання, електрослюсарі і т.і.), а також
обслуговуючий персонал, розрахунково-контрольний персонал, інженерно-технічні
працівники (ІТП), молодший обслуговуючий персонал (МОП).
Кількість допоміжних робітників
дод=0,1·mсп, (1.9)
дод = 0,1·416 = 41 робітників
Кількість обслуговуючого персоналу складає:
ітр=(6÷8)%( mсп+ mдод)=0,06(416+41) = 27
робітників.ркп=(3÷4)%( mсп+ mдод)=0,03·(416+41) = 13
робітниківмоп=(2÷3)%( mсп+ mдод)=0,02·(416+41) = 9
робітників
Розподіл робітників по відділеннях приведений в таблиці 1.6.
Розподіл робітників по змінам та розрядах приведений в
таблиці 1.7.
Таблиця 1.6 - Розподіл робітників по відділенням
|
Назва відділення,
дільниці
|
% робіт
|
mсп
|
mдод
|
|
1
|
2
|
3
|
4
|
|
1. Зовнішнього
миття
|
0,5
|
2
|
0
|
|
2. Розбирання
|
8,2
|
34
|
4
|
|
3. Виварювання та
миття
|
1,0
|
4
|
0
|
|
4. Контролю та
сортування
|
2,0
|
8
|
1
|
|
5. Комплектування
|
2,1
|
9
|
1
|
|
6. Ремонту рам
|
7,5
|
31
|
3
|
|
7. Загального
збирання
|
19,6
|
82
|
8
|
|
8. Жерстяницька
|
5,0
|
21
|
2
|
|
9.
Мідницько-радіаторна
|
3,9
|
16
|
2
|
|
10. Деревообробна
|
0,6
|
3
|
0
|
|
11. Оббивна
|
0,6
|
3
|
0
|
|
12. Малярна
|
1,3
|
6
|
0
|
|
13. Агрегатна
|
11,2
|
47
|
5
|
|
1
|
2
|
3
|
4
|
|
14. Паливної
апаратури
|
2,0
|
8
|
1
|
|
15.
Електрообладнання
|
1,6
|
6
|
1
|
|
16. Обкатки та
випробовування
|
1,2
|
5
|
0
|
|
17.
Слюсарно-механічна
|
22,5
|
94
|
9
|
|
18.
Ковальсько-термічна
|
15
|
2
|
|
19.
Зварювально-металізаційна
|
4,3
|
17
|
2
|
|
20. Гальванічна
|
1,2
|
5
|
0
|
|
Всього
|
100
|
416
|
41
|
Таблиця 1. 7 - Штатна відомість працюючих на заводі
|
Категорія, професія
|
Кількість працюючих
|
|
Усього
|
По змінах
|
По розрядах
|
|
|
І
|
ІІ
|
1
|
2
|
3
|
4
|
5
|
6
|
|
А. Виробничі
робітники
|
416
|
250
|
166
|
-
|
8
|
104
|
250
|
42
|
12
|
|
Б. Допоміжні
робітники
|
41
|
25
|
16
|
-
|
1
|
10
|
25
|
4
|
1
|
|
Усього робітників
|
457
|
275
|
182
|
-
|
9
|
114
|
275
|
46
|
13
|
|
В. ІТР
|
27
|
16
|
9
|
-
|
-
|
-
|
-
|
-
|
-
|
|
Г. РКП
|
13
|
9
|
4
|
-
|
-
|
-
|
-
|
-
|
-
|
|
Д. МОП
|
9
|
5
|
4
|
-
|
-
|
-
|
-
|
-
|
-
|
|
Усього працюючих
|
506
|
305
|
206
|
-
|
5
|
68
|
165
|
27
|
10
|
Середній розряд робітників ремонтного заводу
(1.10)
1.6 Розрахунок виробничих площ
Розрахунок площі виробничих приміщень проводиться по
збільшеним показникам
д = f пит · mсп, (1.11)
де f пит - питома площа виробничих приміщень.
Розрахунок виробничих площ виконуємо в таблиці 1.8.
Таблиця 1.8 - Розрахунок виробничих площ
|
Назва відділення,
дільниці
|
f пит , м2/чол.
|
mсп, чол.
|
Fд, м2
|
|
1
|
2
|
3
|
4
|
|
1. Зовнішнього
миття
|
35
|
2
|
70
|
|
2. Розбирання
|
40
|
34
|
1360
|
|
3. Виварювання та
миття
|
30
|
4
|
120
|
|
4. Контролю та
сортування
|
15
|
8
|
120
|
|
5. Комплектування
|
15
|
9
|
135
|
|
6. Ремонту рам
|
40
|
31
|
1240
|
|
7. Загального
збирання
|
50
|
82
|
4100
|
|
8. Жерстяницька
|
20
|
21
|
420
|
|
9.
Мідницько-радіаторна
|
18
|
16
|
288
|
|
10. Деревообробна
|
12
|
3
|
36
|
|
11. Оббивна
|
15
|
3
|
45
|
|
12. Малярна
|
20
|
6
|
120
|
|
13. Агрегатна
|
25
|
47
|
1175
|
|
14. Паливної
апаратури
|
12
|
8
|
96
|
|
15.
Електрообладнання
|
12
|
6
|
72
|
|
16. Обкатки та
випробовування
|
25
|
5
|
125
|
|
17.
Слюсарно-механічна
|
14
|
94
|
1344
|
|
18.
Ковальсько-термічна
|
25
|
15
|
375
|
|
19.
Зварювально-металізаційна
|
15
|
17
|
255
|
|
20. Гальванічна
|
25
|
5
|
125
|
|
Всього
|
416
|
11621
|
Розміри виробничого корпусу в плані приймаємо
= В х L = 108 х 108 = 7290 м2
Відхилення
, що відповідає нормам.
1.7 Розрахунок кількості робочих місць і обладнання
Кількість робочих місць повинна бути не менше кількості
працюючих в більшу зміну, тобто більше 150 (за кількістю основних робітників,
додаткові робітники виконують свою роботу на різних дільницях).
Загальна кількість робочих місць
, (1.12)
де Тр- річна трудомісткість робіт;
Фдрм- дійсний фонд часу робочого місця.
1.8 Основні будівельні вимоги
Основні будівельні вимоги до виробничого корпусу ЦРМ
визначаються прийнятою технологією виробництва.
Будівля повинна відповідати своєму призначенню, мати достатню
висоту стелі, кількість і розміри вікон, воріт і дверей. Підлога повинна бути
твердою, рівною, не слизькою, розлиті масла повинні легко видалятися.
Товщина стін повинна відповідати конкретній технології робіт
на тій чи іншій дільниці, разом з тим вона повинна відповідати БНіП. Деякі
дільниці повинні відмежовуватися суцільною стіною, а деякі (наприклад малярна
або випробувальна) брандмауером.
Взаємне розташування дільниць та відділень повинно
відповідати технологічному процесу з мінімальною кількістю транспортних потоків
та їх довжиною. Транспортні потоки повинні мати мінімальну кількість перетинів,
або зустрічних напрямків. Забарвлення стін, стелі, колон повинно відповідати
науковій організації праці.
. Довжина прольоту - 27000 мм.
. Крок колон - 12000 та 6000 мм
. Висота приміщень від 5 до 12 м.
. Розміри колон - 500х500 мм.
. Товщина стін та перегородок - 120, 250, 380 мм.
. Розміри воріт - 3,5х3,2 м; 3,5х3,6 м.
. Розміри дверей - 1; 1,5; 2; 2,4 м.
Вентиляція повинна розраховуватися з умов недопущення
перевищення концентрації шкідливих газів, парів і пилу. Для більшості приміщень
використовується приточно-витяжна вентиляція з 4-6 кратним обміном повітря. В
приміщенні повинна підтримуватися нормальна (18 - 22 °С) температура і
вологість повітря.
Освітлення повинно відповідати умовам роботи кожної дільниці.
Може бути природним (через вікна та ліхтарі на даху) та штучним
(люмінесцентними світильниками).
Повинна забезпечуватись нормальна ширина проходів і проїздів,
відстань між обладнанням та стінами, колонами.
2. Технічна частина
2.1 Призначення дільниці
Дільниця призначена для ремонту гідравлічного обладнання
будівельних машин,такого як гідравлічні насоси та гідро двигуни,гідро
розподільники,силові гідроциліндри та шланги високого тиску.
Більшість деталей поступають на дільницю деталі та вузли
гідро обладнання,очищенні від забруднень і старої фарби на розбірно-мийній
дільниці.
На дільниці виконують їх дефектування,у результаті чого
встановлюють обсяг ремонтних робіт. Деталі гідроциліндрів після дефектування в
більшості випадків направляються для відновлення на інші дільниці,після їх
повернення вони комплектуються та виконується їх загальне збирання.
2.2 Режим роботи дільниці
Дільниця працює в тому ж режимі, що і всі ЦРМ, тобто:
|
1
|
Кількість робочих
днів на рік
|
251 дня
|
|
|
2
|
Кількість вихідних
днів на рік
|
105 днів
|
|
|
3
|
Кількість святкових
днів на рік
|
10 днів
|
|
|
4
|
Кількість
передсвяткових днів
|
7 днів
|
|
|
5
|
Кількість робочих
годин на день
|
8 год
|
|
|
6
|
Фонд робочого часу
обладнання
|
3842 год
|
|
|
7
|
Фонд робочого часу
робітників
|
1801 год
|
|
2.3 Річна виробнича програма і трудомісткість робіт
на дільниці
Річна виробнича програма дільниці в загальному об'ємі
ремонтного заводу складає 4,0 % (див. табл. 1.4)
Річна трудоємність робіт ремонтного заводу складає 975492
н.год. (див. розрахунок річної трудомісткості).
Тоді річна виробнича програма дільниці
,
н×год. (2.1)
н×год
2.4 Розрахунок кількості робітників
Кількість робітників по списку згідно (1.7):
mсп=
Приймаємо списочну кількість 18 робітників.
Явочна кількість робітників згідно (1.8):
mяв=
, роб. (2.2)
де Фнр - номінальний річний фонд часу робітника, год.яв=
Приймаємо явочну кількість 16 робітників.
доп=(0,1¸0,12)×mсп
(2.3)доп=0,1 × 18 =1,8
Приймаємо mдоп=2 робітника.
Кількість обслуговуючого персоналу (ІТП, РКП, МОП) приймається у
відсотках до кількості основних і допоміжних робітників у межах
ІТП - 6¸8%; mітп=(0,06¸0,08)×(mcп+mдоп),
(2.4)
РКП - 3¸4%; mркп=(0,03¸0,04)×(mcп+mдоп),
(2.5)
МОП - 2¸3%; mмоп=(0,02¸0,03)×(
mcп+mдоп). (2.6)
ітп= 0,08 × (20+2) = 1,8ркп=
0,03 × (20+2) = 0,7моп= 0,03 × (20+2) = 0,7
Приймаємо mітп=2 службовця (майстри), один з яких буде одночасно
майстром на іншій дільниці з завантаженням на 20%.
Так як при розрахунках отримана кількість mркп та mмоп менше одиниці,
то ці категорії працюючих на дільниці будуть не повністю завантажені і такі
працівники приймаються на декілька дільниць.
В першу зміну приймаються 50-60% працюючих при двозмінній роботі.
Приймаємо 3 робітника 2 розряду, 5 робітників 3 розряду, 4 робітників 4
розряду, 4 робітника 5розряду та 2 робітника 6 розряду.
Штатна відомість працюючих на дільниці зварювання та наплавлення, в
якій приведений розподіл працюючих по змінах, а робітників і по розрядах,
приведена в таблиці 2.1.
Таблиця 2.1 - Штатна відомість працюючих на дільниці
|
Категорія професія
|
Кількість працюючих
|
|
Усього
|
По змінах
|
По розрядах
|
|
|
1
|
2
|
1
|
2
|
3
|
4
|
5
|
6
|
|
А. Виробничі
робітники слюсар
|
18
|
10
|
8
|
-
|
3
|
5
|
4
|
4
|
2
|
|
Б. Допоміжні
робітники наладчики
|
2
|
1
|
1
|
-
|
-
|
-
|
2
|
-
|
-
|
|
Всього робітників
|
20
|
10
|
8
|
-
|
3
|
5
|
6
|
4
|
2
|
|
В. ІТП Майстер Г.
РКП Обліковець
|
2 -
|
1 -
|
1 -
|
-
|
-
|
-
|
-
|
-
|
-
|
|
Всього
|
10
|
12
|
10
|
-
|
3
|
5
|
6
|
4
|
2
|
Середній розряд робітників згідно (1.10):
Rср=
(2.7)
2.5 Розрахунок кількості робочих місць і обладнання
Кількість робочих місць повинна бути не менше кількості
робітників, які працюють у більшу зміну
Хрм=
, (2.8)
де Тдб - трудоємкість більшої зміни;
Фрм - річний фонд часу робочого місця, год.
Так як у більшу зміну працює 60% робітників, то і
трудоємкість більшої зміни становить 60% трудоємкості дільниці.
Трудоємкість більшої зміни
Тдб=
, (2.9)
де mcn×б - кількість робітників, які працюють в
більшу зміну;- списочна кількість робітників на дільниці, чол.
Кількість робочих місць
Хрм=
, (2.10)
Хрм =
шт.
Приймаємо Хрм=10 згідно наведених вище вимог.
Основне обладнання вибирають із переліку типового обладнання
для дільниць і нестандартного технологічно-необхідного обладнання.
Типове обладнання дільниць приводиться в учбовій і довідковій
літературі.
Таблиця 2.2 - Відомість обладнання дільниці
|
Назва обладнання
|
Тип або модель
|
Техн. характ.
|
Кількість
|
Потужність, кВт
|
Габарит, мм
|
Площа, м2
|
|
|
|
|
Один.
|
Заг.
|
|
Од.
|
Заг.
|
|
1
|
2
|
3
|
4
|
5
|
6
|
7
|
8
|
9
|
|
1 Стелаж для
деталей
|
ОРГ-1468-05-320
|
-
|
3
|
-
|
-
|
1400х 500
|
0,7
|
2,1
|
|
2 Станок настільний
свердлильний
|
2Н-112
|
-
|
1
|
0,6
|
0,6
|
710х360
|
0,25
|
0,25
|
|
3 Прес ручний
реєчний
|
ТПР-002
|
10тс
|
1
|
-
|
-
|
370х200
|
0,07
|
0,07
|
|
4 Ларь для
обтирочного матеріалу
|
ОРГ-1468-01
|
-
|
1
|
-
|
-
|
1000х600
|
0,6
|
0,6
|
|
5 Стенд для
перевірки пневмообладнання
|
К=203
|
-
|
2
|
-
|
-
|
1100х835
|
0,9
|
1,8
|
|
6 Стенд для
випробовування гідросистем
|
КИ-4815
|
-
|
2
|
-
|
-
|
1640х880
|
1,44
|
2,88
|
|
7 Стелаж для
гідросистем
|
ОРГ-8260-090
|
-
|
2
|
-
|
-
|
1500х750
|
1,12
|
2,24
|
|
8 Стенд для
випробовування гідросистем
|
КИ-4200
|
-
|
2
|
-
|
-
|
1600х880
|
1,44
|
2,88
|
|
9 Стелаж для
пневмосистем
|
ОРГ-6260-090
|
-
|
1
|
-
|
-
|
1500х750
|
1,12
|
1,12
|
|
10 Стенд для
дефектовки деталей
|
ОРГ-1468
|
-
|
2
|
-
|
-
|
2400x800
|
1,92
|
3,84
|
|
11 Верстак слюсарний
на одне робоче місце
|
ОРГ-1468-ОІ-060А
|
-
|
1
|
-
|
-
|
1200х800
|
0,96
|
0,96
|
|
12 Стенд для
монтажних пристосування
|
ОРГ-1603
|
-
|
1
|
-
|
-
|
1500х360
|
0,54
|
0,54
|
|
13 Ванна миюча
пересувна
|
ОМ-1316
|
t= 70-85̊
|
1
|
-
|
-
|
1250x620
|
0,77
|
0,77
|
|
14 Монорельс
|
М16М ГОСТ 8239-72
|
-
|
1
|
-
|
-
|
-
|
-
|
-
|
|
15 Електроталь
|
ГОСТ 3772-73
|
-
|
1
|
-
|
0,68
|
-
|
-
|
-
|
|
Всього
|
-
|
-
|
23
|
|
1,28
|
-
|
11,43
|
20,59
|
2.6 Розрахунок виробничої площі дільниці
Площу дільниці розраховують по площі зайнятій технологічним
обладнанням і перехідному коефіцієнту Кп , який враховує проїзди й проходи між
обладнанням по рівнянню:
д= Fоб × Кп , (2.5)
де Fоб - площа зайнята обладнанням, м2;
Кп - коефіцієнт щільності розміщення обладнання [1, табл.
6].д=20,59·4 = 82,36 м2
Остаточну площу дільниці визначить планове рішення з
урахування СНіП.
Приймаємо розміри дільниці В х L = 9 х 9 =81 м2.
Відхилення
, що відповідає нормам.
2.7 Розрахунок енергетичних потреб
а) Річна потреба силової електроенергії Qес
ес = Σ Руст · ηз · Кпоп · Тфо , (2.4)
де Руст- сумарна потужність енергоспоживачів, Руст=1,28 кВт;
ηз- коефіцієнт завантаження
обладнання, ηз = 0,8;
Кпоп=0,6 - коефіцієнт попиту на електроенергію;
Тфо- річний фонд робочого часу обладнання, Тфо = 3842 год.ес
= 1,28 · 0,8 · 0,6 · 3842 = 2360 кВт-год.
б)Розрахунок необхідної електроенергії для освітлення.
ео=Тг Σ Fд · Рі · Кзп , (2.5)
капітальний ремонт виробничий операція
де Тг- кількість годин використання електроосвітлення,
Тг=2100 год. на рік;
Рі- питома потужність освітлення на 1 м2 площі;
Кзп- коефіцієнт потрібності, Кзп =0,8.ео=2100·81·60·0,8=
8164800 Вт-год. =8164,8 кВт-год.
2.8 Підйомно-транспортні засоби
Деталі на дільницю по ремонту гідрообладнання доцільно
транспортувати електрокарами. Для переміщення невеликих деталей всередині
дільниці передбачається використання ручних візків та спеціальної тари. Для
переміщення важких корпусних деталей передбачена електроталь.
2.9 Основні будівельні вимоги
Основні будівельні вимоги визначаються як технологічними
умовами, так і будівельними нормами і правилами (БНіП).
Габаритні розміри дільниці приймаємо: довжина 12000 мм,
ширина 12000мм.
Крок колон приймаємо 6000 мм, довжина прольоту 12000 мм.
Розміри колон приймаємо 500х500 мм.
Висота дільниці 6000 мм.
Товщина зовнішньої стінки 380 мм.
Розмір вікон 3000х2400 мм.
Товщина внутрішньої перегородки 250 мм.
Двері двополі шириною 2,4 м, висотою 2,4 м.
Підлога в дільниці клінкерна (цегляна).
Вентиляція загальна приточно-витяжна та місцеві витяжки над
робочими місцями з виділенням шкідливих парів та газів.
Освітлення комбіноване: штучне люмінесцентними лампами і
природне через вікна.
Температура повітря в теплий час року 20÷23оС, в холодний 16÷18оС.
Планувальне рішення дільниці.
Обладнання повинне розташовуватися згідно технологічному
процесу та норм відстаней.
Щоб уникнути зайвих внутрішньозаводських перевезень дільницю
слід розміщувати поряд з тими дільницями та відділеннями з якими вона пов'язана
технологічно.
3. Технологічна частина
3.1 Призначення і умови роботи деталі
Золотник гідророзподільника, виповнений у виді циліндричного
поршня із ступенчатим хвостовиком вставлений в наскрізний отвір в корпусі.
Хвостовик золотника проходи через верхню кришку, положення якої встановлюється
зміщенням отвіра для пружини фіксатора з отвором того ж призначення на корпусі.
Найбільше спрацьовуються робочі поверхні (пояски) золотника.
Можливий знос або пошкодження різі під маслянку.
Матеріал золотника-Сталь 45 ГОСТ 1059-74 з твердістю поверхні
HВ 240. Найбільш розповсюджені дефекти деталі та способи їх усунення
приведені в таблиці 2.1.
Таблиця 3.1 - Дефекти деталі та способи їх усунення
|
№ з\п
|
Найменування
дефекту
|
Основний спосіб
усунення дефекту
|
Припустимий спосіб
усунення дефекту
|
|
1.
|
Знос поверхонь
робочих поясків не менше
|
Осталювання і
обробка до одного ремонтного розміру
|
Провести наплавку і
обробити до одного із ремонтних розмірів
|
|
2.
|
Пошкодження різьби
|
Калібрувати
|
-
|
.2 Складання плану
операцій
Виходячи з дефектів деталі і умов роботи, технічних вимог і
матеріалу деталі приймаємо наступний план операцій.
Операція 005 - Шліфувальна
-й перехід: Шліфувати поверхню 1 з Æ 34,98 мм до Æ 34,3 мм на довжину 58 мм.
-й перехід: Шліфувати поверхню 2 з Æ 34,98 мм до Æ 34,3 мм на довжину 62 мм
-й перехід: Шліфувати поверхню 3 з Æ 34,98 мм до Æ 34,3 мм на довжину 28 мм
-й перехід: Шліфувати поверхню 4 з Æ 34,98 мм до Æ 34,3 мм на довжину 73 мм
Операція 010 - Гальванічна
-й перехід: Осталити 4 поверхні з Æ 34,3 мм до Æ 35,6 мм на довжину 221 мм
Операція 015 - Шліфувальна
-й перехід: Шліфувати поверхню 1 з Æ 35,6 мм до Æ 35 мм на довжину 58 мм
-й перехід: Шліфувати поверхню 2 з Æ 35,6 мм до Æ 35 мм на довжину 62 мм
-й перехід: Шліфувати поверхню 3 з Æ 35,6 мм до Æ 35 мм на довжину 28 мм
-й перехід: Шліфувати поверхню 4 з Æ 35,6 мм до Æ 35 мм на довжину 73 мм
Операція 020 - Слюсарна
-й перехід: Калібрувати різьбу М12 на довжину 25мм
Операція 025 - Контрольна
3.3 Вибір обладнання пристроїв і інструменту
Вибір обладнання проводиться згідно технологічного процесу
поопераційно і по переходах:
Операція 005 Шліфувальна
Обладнання:
Круглошліфувальний верстат 3Б151.Найбільший D х L =
180х630мм.
Інструмент ріжучій:
Круг шліфувальний ПП СМ2 ГОСТ 2424-80, Dk=500мм, Bk=63мм
Інструмент вимірювальний:
Мікрометр гладкий МК-50-1 ГОСТ ПСТ 6502-83
Операція 010 Гальванічна
Обладнання: Ванна для осталювання Л 7007,об'єм 840л
Інструмент вимірювальний:
Микрометр МК 75-2 ГОСТ 6507-90.
Операція 015 Шліфувальна
Обладнання:
Круглошліфувальний верстат 3Б151.Найбільший D х L =
180х630мм.
Інструмент ріжучій:
Круг шліфувальний ПП СМ2 ГОСТ 2424-80, Dk=500мм, Bk=20мм
Інструмент вимірювальний:
Мікрометр гладкий МК-25 ГОСТ ПСТ 6502-8
Операція 020 Слюсарна
Обладнання: Прес гідравлічний
Інструмент вимірювальний:
Штангенциркуль ШЦ -2-125-0,1 ГОСТ ПСТ 166-80.
Операція 025 Контрольна
3.4 Розрахунок і вибір режимів обробітку
Вибір і розрахунок режимів проводиться поопераційно і по
переходах.
Операція 005 Шліфувальна
Режими обробітку для даної операції є однаковими для всіх
переходів.
Припуск на сторону
,
мм (3.1)
де D - діаметр валу
до обробітку в мм;- діаметр валу після обробітку в мм.
,2,3,4 перехід а
=
мм
Діаметр обробки 34,3
мм
Точність обробки
Delta 0,01
Ширина обробки:
перехід b=58мм
1 перехід b=62мм
перехід b=28мм
перехід b=73мм
Припуск на сторону а=0,34мм
Число обертів круга nk=300мм
Шорсткість поверхні Ra=0,63
Кількість кругів 1
Операція 010 Гальванічна
Режим обробки для гальванічної операції не встановлюється.
Припуск на сторону
,
мм (3.2)
де D - діаметр валу
до обробітку в мм;- діаметр валу після обробітку в мм.
мм
Операція 015
Шліфувальна
Режими обробітку для даної операції є однаковими для всіх
переходів.
Припуск на сторону
,
мм (3.3)
де D - діаметр валу
до обробітку в мм;- діаметр валу після обробітку в мм.
,2,3,4 перехід а
=
мм
Діаметр обробки
D=35,6 мм
Точність обробки
Delta 0,01
Ширина обробки:
перехід b=58мм
4 перехід b=62мм
перехід b=28мм
перехід b=73мм
Припуск на сторону а=0,3мм
Число обертів круга nk=300мм
Шорсткість поверхні Ra=0,63
Кількість кругів 1
Операція 020 Слюсарна
Робота по калібруванню виконується вручну і режими обробки
для неї не встановлюються.
3.5 Розрахунок технічних норм часу
Розрахунок технічних норм часу виконується поопераційно і по
переходах:
Операція 005 Шліфувальна
Основний машинний час розраховується за допомогою САПР
Вертикаль
-й перехід То=0,375хв
-й перехід То=0,423хв
-й перехід То=0,309хв
-й перехід То=0,423хв
Допоміжний час розраховується за допомогою САПР Вертикаль
-й перехід Тдоп=0,7хв
-й перехід Тдоп=0,7хв
-й перехід Тдоп=0,7хв
-й перехід Тдоп=0,7хв
Оперативний час:
Топ = 4∙(То + Тдоп ),хв. (3.4)
-4-й перехід Топ = 4∙(1,53+2,8)=17,32 хв.
Додатковий час береться у відсотках від оперативного і
складає 6,5% [3,табл.25].
Тдод = 0,065× Топ , (3.5)
Тдод =0,07×17,32=1,2 хв.
Штучний час складає
Тшт =Топ + Тдоп,, хв., (3.6)
Тшт =17,32 + 0,7 =18,02 хв.
Підготовчо - заключний час на партію деталей Тпз=4 хв. [3,
табл.26].
Підготовчо - заключний час на одну деталь
Тпз.од. =
хв. (3.7)
де n - кількість
Тпз.од. =
хв.
Штучно калькуляційний час
Тшк =Тшт + Тпзод, хв., (3.8)
Тшк =10,78 + 0,13 =10,91
Операція 010 Гальванічна
Основний час
То = 
(3.9)
де 
-
товщина покриття на сторону [3, табл.221];

-
щільність металу,що осаджується [3, табл.222];
С - електрохімічний еквівалент [3, табл.222];
Дк - катодна щільність струму [3, табл.223];

-
вихід металупо струму
То =
=
121 хв.
Допоміжний час
Тдоп = Тдоп1 + Тдоп2 + … + Тдоп9 (3.10)
де Тдоп1 - час на ізоляцію місць, що не потребують покриття
[3, табл.224];
Тдоп2 - час для монтажу деталі [3, табл.225];
Тдоп3 - час на знежирення деталі [3, табл.226];
Тдоп4 - час на занурення деталі [3, табл.227];
Тдоп5 - час на навішування підвісок на штангу[3, табл.228];
Тдоп6 - час на перенесення деталей [3, табл.229];
Тдоп7 - час на демонтаж деталі [3, табл.230];
Тдоп8 - час на протирання виробу [3, табл.231];
Тдоп9 - час на обсушування [3, табл.232].
Оперативний час
Топ = То + Тдоп (3.11)
Топ = 121 + 2,69 = 123,69 хв.
Додатковий час
Тдод = Топ ∙ 0,14 (3.12)
Тдод = 123,69 ∙ 0,14 = 17,3 хв.
Штучний час
Тшт = 
(3.13)
де q - кількість деталей на одне завантаження до ванни
(10-50шт. в залежності від розміру деталі);
Kи- коефіціент використання ванни (0,75 - для хромування, 0,6
- для решти).
Тшт = 
=
5,7 хв.
Підготовчо-заключний час
Тпз = 0,02 ∙ Топ
(3.14)
Тпз = 0,02 ∙123,69 = 2,4 хв.
Штучно-калькуляційний час
Тшк = 
(3.15)
де Nв- кількість ванн (приймаємо 1);
Kв- коефіціент , що залежить від кількості одночасно
обслуговуємих ванн, [3, табл.233].
Тшк = 
=7,47
хв.
Операція 015 Шліфувальна
Основний машинний час розраховується за допомогою САПР
Вертикаль
-й перехід То=0,375хв
-й перехід То=0,423хв
-й перехід То=0,309хв
-й перехід То=0,423хв
Допоміжний час розраховується за допомогою САПР Вертикаль
-й перехід Тдоп=0,7хв
-й перехід Тдоп=0,7хв
-й перехід Тдоп=0,7хв
-й перехід Тдоп=0,7хв
Оперативний час
Топ = 4∙(То + Тв ),хв. (3.16)
Топ = 4∙(0,09+2,44)=10,12 хв.
Додатковий час береться у відсотках від оперативного і
складає 6,5% [3,табл.25].
Тдод = 0,065× Топ , (3.17)
Тдод =0,07×10,12=0,66 хв.
Штучний час складає
Тшт =Топ + Тдоп,, хв., (3.18)
Тшт =10,12 + 0,66 =10,78 хв.
Підготовчо - заключний час на партію деталей Тпз=12 хв. [3,
табл.26].
Підготовчо - заключний час на одну деталь
Тпз.од. =
хв. (3.19)
Тпз.од. =
хв.
Штучно калькуляційний час
Тшк =Тшт + Тпзод, хв., (3.20)
Тшк =10,78 + 0,13 =10,91
Операція 020 Слюсарна
Основний час згідно довідника [3, табл. 256]
-й перехід То=0,09 хв
-й перехід То=0,09 хв
-й перехід То=0,09 хв
-й перехід То=0,09 хв
Допоміжний час згідно довідника [3, табл. 245]
-й перехід Тдоп=2,44 хв
-й перехід Тдоп=2,44 хв
-й перехід Тдоп=2,44 хв
-й перехід Тдоп=2,44 хв
Оперативний час
Топ = 4∙(То + Тв ),хв. (3.21)
Топ = 4∙(0,09+2,44)=10,12 хв.
Додатковий час береться у відсотках від оперативного і
складає 6,5% [3,табл.25].
Тдод = 0,07× Топ , (3.22)
Тдод =0,07×10,12=0,70 хв.
Штучний час складає
Тшт =Топ + Тдоп,, хв., (3.23)
Тшт =10,12 + 0,70 =10,82 хв.
Підготовчо - заключний час на партію деталей Тпз=12 хв. [3,
табл.26].
Підготовчо - заключний час на одну деталь
Тпз.од. =
хв. (3.24)
Тпз.од. =
хв.
Штучно калькуляційний час
Тшк =Тшт + Тпзод, хв., (3.25)
3.6 Розробка технологічних документів
До технологічних документів, які розробляються при виконанні
курсового проекту відносяться: маршрутна карта, операційна карта й карти
ескізів. Маршрутна і операційна карта розробляються на основі розрахункових
даних приведених у пп. 2.1 - 2.5 по формі, установленій діючими стандартами на
технологічну документацію.
Маршрутна карта відноситься до групи основних технологічних
документів. У маршрутній карті показані маршрути й розрахунки деталі й руху її
по цехах, дільницях, робочих місцях при її виготовленні або відновленні в
маршрутній карті позначаються:
·
назва
деталі, і машини, де установлена деталь;
·
матеріал
деталі і її вага;
·
тип
заготовки й вага заготовки;
·
номер
цехів, дільниць і робочих місць маршруту руху деталі;
·
номера,
код і назви операцій;
·
професія
й розряд робітників, які виконують операцію;
·
кількість
одночасно оброблюваних деталей на обладнанні;
·
об'єм
деталей в партії;
·
підготовчо-заключний
час на партію деталей;
·
штучний
час.
Розроблені маршрутні та операційні карти на відновлення
золотника гідророзподільника.
Операційні карти також відносяться до групи основних
технологічних документів. Розроблення карти на всі основні операції які
позначені в маршрутній карті й операційній карті окрім даних приведених у
маршрутній карті додається :
·
код,
назва і характеристика переходів;
·
ріжучий
та вимірювальний інструмент;
·
режими
обробітку;
·
підготовчо-заключний
час в операційній карті вказуються на 1 деталь.
Розрахунки операційних карт приведені в пунктах 2.1…2.5.
Карти ескізів розробляються до окремих операцій та переходів.
Карта ескізів повинна вміщувати:
·
ескіз
деталі;
·
габаритні
розміри деталі в мм;
·
розміри
оброблюваного елементу деталі, мм.;
·
шорсткість,
допуски;
·
технічні
вимоги (твердість, конусність, овальність);
·
умовне
позначення кріплення деталі на обладнанні, згідно діючих стандартів;
·
назва
операції;
·
основне
обладнання;
·
назва
деталі і машини та ін.
Карти ескізів до операцій 005; 010; 015; 020 приведені в
графічній частині проекту на другому аркуші.
4. Конструкторська частина
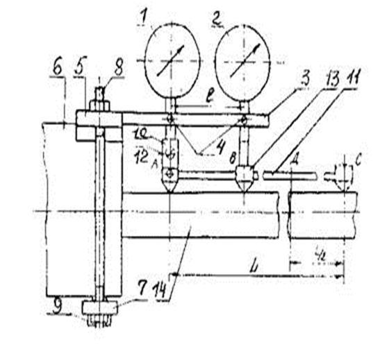
4.1 Призначення пристрою
Дане пристосування використовується в умовах ремонтно-експлуатаційних
баз, майстернях,керування механізації а також безпосередньо на машинах в умовах
будівельних площадок. Призначене для контролю навантажувальної здатності
гідроциліндрів, які працюють в умовах великих навантажень і високої
інтенсивності.
Рисунок 4.1 - Пристосування для діагностування гідроциліндрів
одноковшових будівельних екскаваторів
4.2 Робота пристою
Результат виповнення конструкторсько-технологічної розробки.
До основних эксплуатаційних пошкоджень деталей,які визивають
зниження герметичності и навантажувальної здатності гідроциліндра, відносяться
знос и остаточні деформації уплотнителей, знос букси, поршня, штока, гільзи,
опорних підшипников,викривлення штока.
Дане пристосування (см. рис.) складається із двух індикаторів
1 и 2 годинникового типу, встановлених між пересувною і не пересувною частинами
пластини 3, стянутими гвинтами 4.Пластина прикріплена до захвату, який
складається із верхньої планки 5 з призматичной виїмкою, якою вона спираєтся на
гільзу 6 діагностованого гідроциліндра, і нижньої зажимної планки 7,
встановленою на стержнях 8. Захват зафіксіруваний на гільзі з допомогою болта
9, який вкручується в нижню зажимну планку до упора в гільзу. Наконечник
індикатора 1 входить в стакан 10 шарніра важіля 11. Стакан являється одночасно
непересувною опорою і зажимаєтся двома загостренними гвинтами 12,які позволяють
повертатися наконечнику відносно вісі гвинтів 12 без люфта. Наконечник
індикатора 2 впираєтся в важіль. Крім непересувної опори, важіль має пересувну
опору 13,яка переміщуюється вздовж нього. На важілю нанесені позначки з шагом
5±0,1 мм. При роботі верхню планку 5 захвату встановлюють на гільзу 6
діагностованого гідроциліндра, на стержні 8 встановлюють нижню зажимну планку
7, з допомогою болта 9 пристосування фіксірують на гільзі 6. При цьому
непересувна и пересувна опори важіля 11 лягають на шток 14 гідроциліндра.
При контролі не соосності елементів гідроциліндра пересувну
опору встановлюють в положення В,після чого реєструють показники індикаторів.
Потім по різним показникам віднесеною до відстаней між ними,визначають кут
несоосності гільзи штока гідроциліндра,який діагностується. При визначенні
кривуватості штока пересувну опору переміщають по важілю в положення
С,реєструють показники індикаторів,переміщають пересувну опору в положення Д і
знову реєструють показники індикаторів.Таким чином визначають радіус
кривуватості штока.Даний пристрій може працювати лише з гідроциліндрами
ддіаметромне більше 100мм,якщо ж більше,то потрібно замінювати верхню і нижню
опори.
Переваги перед іншими пристосуваннями
Можливість безпомилково і всесторонньої оцінки технічного
стану гідроциліндра, що дозволяє при min кількості провертів визначити величину
max числа структурних параметрів і робити висновки о цілеспрямованості
подальшої експлуатації екскаватора.
5. Організаційна частина
5.1 Техніка безпеки, охорона праці та промислова
санітарія
Техніка безпеки (ТБ)- це перш за все великий комплекс
міроприємств націлених на зменшення виробничого травматизму і збереження
здоров'я працівників.
Техніка безпеки передбачає вивчення умов праці, виявлення
умов і обставин небезпечних для життя і здоров'я робітників.
На дільниці зварювання та наплавлення такими небезпеками є:
. Стенди, обладнання, електроінструменти, що живляться
струмом 110, 127, 220 та 380 В повинні мати напис про споживану напругу. Усе
електрообладнання та його металеві частини повинні бути надійно заземлені.
. Деталі обладнання і вузли, що обертаються, ланцюгові,
пасові, зубчасті передачі повинні огороджуватися, мати червоний або інший
яскравий колір. 3. Інструмент повинен використовуватися суворо за призначенням
і бути справним. Його перевірка та вибраковування повинні проводитися не рідше
разу на місяць.
. Вузли, деталі та інструмент повинні вкладатися на
відповідні стелажі або знаходитися в контейнерах. Захаращувати проходи і
проїзди заборонено.
. Гарячі деталі та частини обладнання повинні бути
огороджені. Місця, де виділяються шкідливі речовини, повинні мати місцеву
витяжну вентиляцію.
До роботи на дільниці допускаються особи, що досягли 18-ти
річного віку, не мають медичних протипоказань, пройшли відповідне навчання і
мають про це посвідчення. Всі робітники повинні чітко додержуватися правил
техніки безпеки і правил внутрішнього розпорядку. Робітники повинні проходити
навчання з безпечних прийомів праці.
Кожний працівник повинен бути одягнений у відповідний
спецодяг та при необхідності використовувати засоби особистого захисту.
Спецодяг має бути застебнутий. Волосся потрібно вбирати під головний убір.
Робітники повинні вміти надавати першу медичну допомогу
потерпілим при нещасних випадках.
На робочих місцях повинна підтримуватися оптимальна для
роботи температура повітря: літом - 20 °С, взимку - 18 °С.
Вентиляція повинна забезпечувати 3,5 - 4 х кратний обмін
повітря за годину. При цьому недопустимим є виникнення протягів або підвищення
вологості повітря.
5.2 Пожежна безпека
Всі особи, що перебувають на території гальванічної дільниці,
повинні виконувати такі правила пожежної безпеки:
. Не палити.
. Не користуватися відкритим вогнем без дозволу.
. Не захаращувати проходи і проїзди.
. Вміти користуватися засобами пожежегасіння та знати місця
їх знаходження. ЗПГ повинні бути в справному стані і знаходитися в
легкодоступних місцях.
. Знати порядок евакуації при пожежі.
. Пролиті нафтопродукти потрібно негайно засипати піском, а
потім збирати в спеціальні ємності, для подальшого поховання в призначених для
цього місцях.
. Використані обтиральні матеріали повинні складатися в
спеціальні ємності, які мають щільні кришки.
Згідно вимог пожежної безпеки курити дозволяється тільки у
спеціально відведених місцях, не дозволяється користуватися відкритим вогнем,
зберігати у кількості, що перевищує змінну потребу ПММ або зберігати тару з-під
паливно-мастильних матеріалів.
Розлиті мастило і паливо необхідно прибирати за допомогою
піску. Використані обтирочні матеріали необхідно складати в металеві ящики з
кришками і по закінченню зміни виносити у спеціально відведені для цього місця.
При загоранні ізоляції проводів або обмоток електродвигунів
необхідно негайно знеструмити електричний ланцюг. Тушити пожежі на дротах, що
знаходяться під напругою дозволяється лише вуглекислотними або порошковими
вогнегасниками, піском. Вимкнені електроустановки дозволяється гасити також
пінним вогнегасником або водою.
Гасити паливо або мастило водою або пінним вогнегасником
заборонено. Для їх тушіння на дільниці передбачені два ящики з піском з
розрахунку 0,5 м3 на 100 м2 підлоги дільниці.
5.3 Електробезпека
Все обладнання повинно підключатися до живлення екранованим
дротом з надійною ізоляцією. Біля всіх вимикачів та розеток повинен матися
напис про величину напруги. Обладнання повинно бути заземленим. Мережа
заземлення повинна щорічно перевірятися. Опір заземлення повинен становити 4 Ом.
До загальної шини заземлення обладнання повинно підключатися паралельно.
Ремонт і обслуговування обладнання, що живиться струмом
більше 36 В повинні проводитися працівниками, що мають відповідний допуск. На
підлозі біля електричного обладнання повинні знаходитися діелектричні килимки.
Електрошафи, рубильники та вимикачі повинні бути легкодоступними. На дільниці
повинна матися достатня кількість засобів електрозахисту.
5.4 Екологічна безпека
Екологічна безпека передбачає охорону навколишнього середовища
від небезпечного впливу відходів і продуктів промислової діяльності людини.
Міри передбачені для зберігання екологічної безпеки на
дільниці входять до загальнозаводських міроприємств, які передбачають:
. Забезпечення фільтрації вентиляційних систем.
. Заборону зливу нафтопродуктів та хімічно-небезпечних
речовин, миючих засобів, відпрацьованих рідин та продуктів у побутову, зливну,
фекальну та виробничу каналізацію.
. Утилізація твердих промислових відходів повинна проводитися
окремо їз виконанням усіх вимог екологічної безпеки.
В рамках дільниці відповідальним за це дотриманням цих вимог
є та дільничний майстер.
5.5 Наукова організація праці та технічна естетика
Головними задачами НОП та технічної естетики є підвищення
продуктивності праці і зменшення виробничого травматизму за рахунок таких дій:
. Зменшення ручної праці за рахунок механізації та
автоматизації виробництва.
. Раціональне використання обладнання, пристроїв та
інструмента.
. Використання сучасних методів і досягнень науки і техніки
та технології виробництва.
. Зменшення витрат праці на одиницю продукції.
. Зменшення втомленості робітників під час виробничого
процесу за рахунок:
а) впровадження науково обґрунтованих умов праці;
б) зменшення загазованості приміщень;
в) зниження рівня шуму ті вібрації;
г) використання раціонально освітлення;
д) фарбування обладнання та приміщення в науково обґрунтовані
кольори.
е) доцільне чередування праці та відпочинку;
ж) забезпечення належних температурних умов праці;
з) впровадження функціональної музики;
і) виконання виробничої гімнастики.
. Зменшення витрат часу за рахунок доцільного розташування
верстатів, обладнання, інструментів, деталей і т.п.
. Використання технічно обґрунтованих норм виробітку.
6. ЕКОНОМІЧНА ЧАСТИНА
6.1 Розрахунок вартості основних
фондів
Для того, щоб визначити економічну ефективність проектуємого
підприємства необхідно порівняти витрати на проектоване підприємство
капіталовкладень та прибуток, який отримує це підприємство за виконані роботи.
Для визначення витрат на проектуєме підприємство
(капіталовкладення) потрібно підрахувати вартість основних фондів підприємства
до складу яких входять:
будівлі та споруди, або вартість автомобіля;
силове та виробниче обладнання;
передавальні пристрої;
транспортні засоби;
інструменти та обладнання
Вказані основні засоби визначаються в технічній частині
проекту. Вартість основних засобів визначається на основі прейскуранта цін з
додаванням 10 % вартості на монтаж та перевезення.
Вартість будівлі розраховується виходячи з вартості 1 м2 її
площі
Вбуд=F·G, (6.1)
де F3 - зовнішня площа дільниці F3=Fд·1,05=81∙1,05=
85,05 м2 (1,05 - коефіцієнт,
що враховує товщину стін);= 3800 грн/м3 - ціна м2.
Вбуд= 85,05 · 3800 =323190 грн.
Вартість виробничого обладнання та його монтаж складає
65-80%; силового обладнання 12%; передавальних пристроїв 6%; вартість
інструмента та інвентарю 4-6% від вартості будівлі.
Результати розрахунків зводимо в таблицю 6.1.
Таблиця 6.1 - Вартість основних фонді
|
Назва групи
основних фондів
|
Вартість групи
основних фондів від вартості будівлі, %
|
Вартість, грн.
|
|
|
|
|
Будови та споруди
|
100
|
323190
|
|
Виробниче
обладнання
|
65
|
210073
|
|
Силове обладнання
|
12
|
38782
|
|
Передаточні
пристрої
|
6
|
19391
|
|
Вантажо-підйомні
пристрої
|
12
|
38782
|
|
Інструменти та
інвентар
|
6
|
19391
|
|
Разом
|
649609
|
6.2 Розрахунок зарплати основних
робочих підприємства
Загальний фонд заробітної плати виробничих робочих включає в
себе основну зарплату, додаткову зарплату з нарахуванням пов’язаним з витратами
за соціальне страхування робочих.
Ззаг = Зосн + Здод + Нзп грн., (6.1)
де Зосн - основна зарплата;
Здод - додаткова зарплата;
Нзп - нарахування на заробітну плату;
Ззаг = 358194. + 675832+382589 = 1416615 грн.
До складу основної заробітної плати входять всі види
розрахунків за фактично відпрацьований час, заробітна плата за роботу в нічний
час, доплата за сумісництво в роботі, доплата за керівництво бригадою.
Основною для розрахунків служать:
1.
Трудоємкість
виробничої програми;
2.
Прийнята
форма оплати праці;
3.
Тарифні
ставки і тарифні коефіцієнти.
Основна заробітна плата знаходиться по формулі:
Зосн = Зпр + Звід грн., (6.2)
де Зпр - пряма заробітна плата
Звід - відрядна заробітна плата.
Зосн = 358194 + 0 = 358194 грн.
Пряма заробітна плата знаходиться по формулі:
Зпр = Тзаг · Ч · Кср.т. грн., (6.3)
де Тзаг - трудоємкість робіт по ТО і Р;
Ч - часова тарифна ставка першого розряду;срт - середній
тарифний коефіцієнт.
Зпр = 39019 · 6 · 1,53 = 358194 грн.
Відрядна заробітна плата знаходиться по формулі:
Звід = N · Р грн., (6.4)
де N - кількість продукції;
Р - розцінок за одиницю продукції.
Додаткова зарплата
Додаткова заробітна плата знаходиться по формулі:
Здод = Пр + Дн.ч. + Дбр + Дс.пр +Дзоб.,грн. (6.5)
де Пр - преміальна надбавка;
Днч - доплата за роботу в нічний час;
Дбр - доплата за керівництво бригадою;
Дс.пр - доплата за сумісництво професій -20-40 % від Зпр.
Дзоб - державні обов’язки і відпустка.
Здод = 184103+ 368206 + 66132 + 55230+2161 = 675832 грн.
Дс.пр = Зпр· (20-40%). (6.6)
Дс.пр = 460257 · 0,4 = 184103грн.
Преміальна надбавка, грн
Пр = Зпр. · (до 90%). (6.7)
Пр = 460257. · 0,8 = 368206 грн.
Розмір доплати за роботу в нічний час визначається по
формулі:
Дн.ч. = Nрн. · Rн · К ср.т. · Ч ·
,
грн., (6.8)
де Nрн - кількість робочих працюючих в нічну зміну;н - кількість годин
праці в нічний час;
Ксрт - середній тарифний коефіцієнт;
Ч - часова тарифна ставка першого розряду;др - дійсний фонд робочого
часу;зм - тривалість зміни.
Розмір доплати за керівництво бригадою:
Дбр =
, грн., (6.9)
де Чб - часова тарифна ставка бригадира;др - дійсний фонд
робочого часу бригадира;б - кількість бригадирів;
…15% - відсоток доплати за керівництво бригадою.
Спочатку знаходиться відсоток державних зобов’язань від основної
зарплати по формулі:
% Ззоб. =
, (6.10)
де До - тривалість відпустки, в днях;
Дк - кількість календарних днів за рік;
Дп - кількість святкових днів;
Дв - кількість вихідних днів.
.
Знаючи відсоток державних зобов’язань зарплати від основної
знаходиться зарплата:
Ззоб =
грн., (6.11)
Ззоб =
грн.
Нарахування на заробітну плату зв’язані з витратами на
соціальне страхування робочих.
Відрахування на соціальне страхування входять до складу
собівартості ремонтуємої продукції і визначаються до встановленим нормативам у
відсотковому відношенні від загального фонду зарплати.
Нз.п. = 0, 37 (Зосн. + Здод.),грн., (6.12)
де Зосн - основна зарплата;
Здод - додаткова зарплата.
Нз.п. = 0, 37 (358194+675832.) = 382589 грн.
6.3 Витрати на запасні частини і
матеріали
Річні витрати на основні і допоміжні матеріали і запчастини
визначаються виходячи із норми витрат на одиницю продукції і програми цеха
(дільниці) по ремонту буд. машин.
Норма витрат по ТО і Р приймається у відсотковому відношенні
з цінами по КР машин.
Витрати на основні матеріали по ТО і Р складають 7-10% від
оптової ціни КР; вартість допоміжних - 8% від основних матеріалів; запасні
частини 12-16 % від оптової ціни на КР, тоді;
ВТОіР = (Ном + Ндм + Нз.ч.) · Nмаш, (6.13)
де Ном - норматив витрат на основні матеріали.
Ндм - норматив витрат на допоміжні матеріали.
Нз.ч.- норматив витрат на запасні частини.маш - кількість
машин.
Розрахунок ведеться табличним способом.
Таблиця 6.2 - Витрати на запасні частини та матеріали
|
Назва машини
|
Кількість
|
Ціна КР машини
|
Основні матеріали
|
Ндм
|
Нзч
|
Загальна вартість
|
|
Екскаватор ЕО 4124
|
790
|
141120
|
14112
|
1128
|
16934
|
25417460
|
Дільниця ремонту гідрообладнання виконує 39019н.год. робіт з
975492н.год., тому витрати на запасні частини та матеріали для неї складають:
Ззчмпм = Ззчм ∙ 39019/975492= 25417460∙39019/975492=
1016680 грн.
6.4 Цехові накладні витрати
До цехових накладних витрат відносяться витрати пов’язані з
діяльністю проектуємого підприємства по ТО і Р буд. машин.
Витрати приймаються по статтям :
а) утримання цехового персоналу;
б) витрати на охорону праці та ТБ;
в) витрати на текучий ремонт будівель та обладнання;
г) компенсація зносу малоцінних та швидкозношуваних
інструментів та приладі;
д) амортизація основних фондів;
е) витрати на раціоналізацію і винахідництво;
є) витрати на воду для технологічних потреб;
ж) витрати на утримання обладнання;
з) витрати на утримання будівель та споруд:
Накладні витрати приймаються 180% від основної зарплати.
Всі дані заносяться в кошторис витрат на виробництво.
Таблиця 6.3 - Кошторис витрат на виробництво
|
Назва статей
|
Сума витрат
|
|
Основна заробітна
плата виробничих робочих підприємства Додаткова зарплата Відрахування на
соціальне страхування Вартість основних та допоміжних матеріалів і запчастин
|
358194 675832
382589 1016680
|
|
Всього прямих
витрат
|
2433295
|
|
Накладні витрати
|
644749
|
|
Цехова собівартість
|
3078044
|
6.5 Розрахунок оборотних засобів
підприємства
Необхідність в оборотних засобах підприємства визначається в
співвідношенні з кошторисом витрат на виробництво і встановлених норм запасу в
днях для кожної з групи матеріальних цінностей, які входять до складу оборотних
засобів проектуємих підприємств.
Витрати на малоцінні матеріали приймаються 150-250 грн. на
людину.
Витрати на охорону праці і ТБ складають 4-6% від Зосн.
Розрахунок ведеться по формулі:
Н = В · Д, грн. (6.15)
де Н - норматив обортних запасів;
В - витрати за день;
Д - дні запасу.
Н = 1398 · 30 = 41940грн.
Дані заносяться в таблицю 6.4
Таблиця 6.4 - Розрахунок оборотних засобів підприємства
|
Назва матеріальних
цінностей
|
Річні витрати, грн.
|
Одноденні витрати,
грн..
|
Дні запасу
|
Норматив оборотних
засобів, грн.
|
|
Основні, допоміжні
матеріали та запчастини
|
1016680
|
4166
|
30
|
124980
|
|
Витрати по ОП і ТБ
|
14327
|
-
|
-
|
143327
|
2700
|
-
|
-
|
2700
|
|
Всього
|
142007
|
6.6 Розрахунок доходу підприємства
Оптову ціну ТО і Р визначають із трудоємкості ТО і Р від
трудоємкості капітального ремонту:
1) визначається питома вага трудоємкості ТО і Р від
трудоємкості капітального ремонту:
ПТ =
, (6.16)
де ПТ - питома трудоємкість ТО і Р від трудоємкості капітального
ремонту у відсотках;
ТТО і Р - трудоємкість одного ТО-1; ТО-2; СО; ПР;
ТКР - трудоємкість капітального ремонту.
2) за знайденим відсотком визначають оптову ціну ТО і Р
від ціни капітального ремонту:
ЦТО і Р =
, (6.17)
де ЦКР - оптова ціна капітального ремонту;
ПТ - питома вага одного ТО і Р від трудомісткості капітального ремонту.
Вартість річного випуску продукції визначають по формулі:
Ц = ЦТО і Р · N, грн. (6.18)
де ЦТО і Р - оптова ціна одиниці продукції;- річна програма ТО і В в
шт.
Отримані підрахунки заносяться в таблицю.
Таблиця 6.5 - Дохід підприємства
|
Назва машини
|
Види ТО і Р
|
Трудо-ємкість
одного ТО і Р
|
Річна кількість ТО
і Р
|
Оптова ціна КР
|
Питома вага ТО і Р
в %
|
Оптова ціна
|
|
|
|
|
|
|
Од.
|
Заг.
|
|
1
|
2
|
3
|
4
|
5
|
6
|
7
|
8
|
|
Екскаватор ЕО 4124
|
КР
|
1170
|
790
|
141120
|
73
|
101606
|
80268740
|
Дільниця ремонту гідрообладнання виконує 39019н.год. робіт з
975492н.год., тому витрати на запасні частини та матеріали для неї складають:
Д = Ц∙ 39019/975492=80268740 ∙39019/975492=
3210749 грн.
де Ц - загальна оптова ціна ТО і Р
6.7 Розрахунок техніко - економічних
показників
Застосування проекту буде економічно вигідним в тому разі,
якщо визначена величина строку окупності буде меншою чи дорівнюватиме
нормативному строку, на протязі якого витрати будуть повернуті за рахунок
економії в результаті впровадження проекту:
Тр ≤ Тн
Загльний прибуток від впровадження проекту визначається по
формулі:
Пзаг. = Ц - С, грн. (6.19)
де Пзаг. - загальний прибуток підприємства;
Ц - вартість ТО і Р в оптових цінах;
С - повна собівартість ТО і Р, береться за даними з кошторису
затрат на виробництво.
Пзаг. = 3078044 - 3210749 = 132705 грн.
Рентабельність проектованого підприємства дорівнює:
Рзаг =
, (6.20)
де Восн.ф - вартість основних фондів
Пзаг. - прибуток підприємства
Воб.ф - вартість оборотних фондів
Рзаг =
= 16%.
Строк окупності підприємства:
Тріч =
; років, (6.21)
де Восн.ф - вартість основних фондів
Пзаг. - прибуток підприємства
Тріч =
= 4,8=5 років.
Виробіток на одного робочого:
Впл =
год, (6.22)
де Nр - кількість основних робітників
Впл =
= 1950 год.
Процент зростання продуктивності праці:
%В =
, (6.23)
де Впл - виробіток на одного робочого;
Фпідпр - дійсний фонд робочого часу аналогічного підприємства.
%В =
= 8% .
Середня зарплата (місячна) основних виробничих робочих:
Зср =
грн. (6.24)
Зср =
= 4787 грн.
Відсоток росту середньої заплати:
% Зср =
, (6.25)
де Зпл - запланована середня заробітна плата;
Зф - заробітна плата за минулий рік аналогічного підприємства.
% Зср =
= 2,7% .
Зростання заробітної плати менший за відсоток приросту
проценту продуктивності праці.
%В > % Зср. (6.26)
% > 2,7% .
Список використаної літератури
1. Л.Д.
Величко, М.Я. Дзябенко "Ремонт машин": Полтава, ПБТТБ, 1999
2. И.С.
Гурвич, М.И. Полонская, Методика технического нормирования в ремонтном
производстве, “Ростов Дон”, 1986Методика технического нормирования Р-н-Д, 1989
. НІІАТ
"Краткий автомобильний справочник": М. "Транспорт", 1978
. А.П.
Забрусков та інші "Техника безопасности на ремонтних предприятиях":
Р.-на-Д. ,"Россельиздательство", 1978
. Г.М.
Іцкович "Сопротивление материалов": М. "Вища школа", 1982
. В.І.
Польшаков, Є.Ю. Сахнов "Економіка, організація та управління технічним
обслуговуванням і ремонтом машин": К. "Транспорт", 2004