Исследование теплоотдачи цилиндра в закрученном потоке
ОГЛАВЛЕНИЕ
ВВЕДЕНИЕ
ЗАДАЧИ
И ЦЕЛЬ РАБОТЫ
ТЕОРЕТИЧЕСКОЕ
ОБОСНОВАНИЕ
ОПИСАНИЕ
ЭКСПЕРИМЕНТАЛЬНОЙ УСТАНОВКИ И МЕТОДИКИ ИЗМЕРЕНИЙ
ПОРЯДОК
ПРОВЕДЕНИЯ ОПЫТОВ
ОБРАБОТКА
РЕЗУЛЬТАТОВ НАБЛЮДЕНИЙ
РАСЧЕТ
СТАТИСТИЧЕСКИХ ПОКАЗАТЕЛЕЙ
РАСЧЕТ
ПОГРЕШНОСТЕЙ ИЗМЕРЕНИЙ
ПРИЛОЖЕНИЯ
теплоотдача цилиндр
погрешность
ВВЕДЕНИЕ
Одним из перспективных и эффективных путей
разрешения проблемы интенсификации процессов тепломассобмена в
теплоэнергетических и теплоиспользующих установках и устройствах является
применение закрученных высоко турбулентных потоков жидкостей и газов.
Вращающиеся течения уже широко используются при организации сжигания топлива в
вихревых горелках, циклонных топках и камерах сгорания, проведении процессов
нагрева и термообработки в циклонно-вихревых нагревательных устройствах, сушки
материалов в рециркуляционных сушилках и т.п.
Изучение гидродинамики и теплообмена в
циклонно-вихрерых камерах представляет собой важную практическую задачу, так
как позволяет получить необходимые данные для их расчета и проектирования.
Интересна в этом плане задача исследования теплоотдачи круглого цилиндра,
соосного с аэродинамической осью стабилизированного циклонного потока, с точки
зрения дальнейшего изучения особенностей теплообмена в поле центробежных сил, а
также разработки рекомендации по расчету конвективного теплообмене в вихревых
МГД (магнитогидродинамических) генераторах, циклонных печах, при вихревом
охлаждении элементов электрических машин, полупроводниковых выпрямителей и т.п.
ЗАДАЧИ И ЦЕЛЬ РАБОТЫ
Цель работы - привить студентам определенные
навыки выполнения самостоятельных научных исследований в области конвективного
теплообмена. Непосредственно выполнению работы предшествует изучение
специальной научной и рекомендуемой учебной литературы, методики проведения
опытов и обработки результатов исследования.
В работе осуществляется экспериментальное
изучение теплоотдачи конвекцией от вертикального цилиндра к закрученному потоку
воздуха в циклонной камере, обработка и анализ результатов наблюдений,
составление уравнения подобия для расчета конвективного теплообмена, расчет
статистических показателей, характеризующих отклонение опытных точек от
рекомендуемой расчетной зависимости, оценка степени достоверности результатов и
погрешностей измерений.
В заключительной стадии работы составляется
пояснительная записка с внесением в нее всех опытных и расчетных материалов и
оформлением графической части.
ТЕОРЕТИЧЕСКОЕ ОБОСНОВАНИЕ
Сложная аэродинамическая структура потока в
циклонных камерах в значительной степени ограничивает возможности использования
математических методов решения задачи конвективного теплообмена, поэтому
основным направлением в изучении теплоотдачи конвекцией является эксперимент.
Особенность рассматриваемой задачи конвективного
теплообмена в закрученном циклонном потоке заключается в том, что при движении
среды возникают инерционные массовые (центростремительные) силы, которые
практически полностью определяют условия теплоотдачи.
Анализ системы дифференциальных уравнений
движения и теплообмена применительно к рассматриваемой задаче, а также
использование рекомендаций работы В.К.Щукина показывают, что особенности
теплоотдачи цилиндра в закрученном потоке определяются главным образом
массовыми (центростремительными) силами, а задача определения коэффициентов
теплоотдачи фактически сводится к установлению зависимости:
,(2.1)
где Nu- число Нуссельта,
определяется по формуле:
,
где
- коэффициент теплоотдачи конвекцией
от цилиндра к закрученному потоку;
- внешний диаметр цилиндра;
- коэффициент теплопроводности
среды;
Р- критерий, определяющий движение
жидкости и теплоотдачу в закрученном потоке, определяется по формуле:
,
где jm- максимальное значение
центростремительного ускорения j в системе;- характерный линейный размер,
определяющий положение jm относительно поверхности теплоотдачи;
ν - коэффициент кинематической
вязкости среды;
β - коэффициент объемного
расширения;
∆T- разность температур в
точках потока, где инерционное ускорение достигает максимального и минимального
значений;критерий Прандтля, определяется по формуле:
,
где ν - коэффициент
кинематической вязкости среды;
- коэффициент
температуропроводности.
В рассматриваемой задаче минимальное
ускорение имеет место на поверхности теплоотдачи (цилиндра) и равно
нулю.физические константы в уравнении (2.1) определяются по средней температуре
потока, практически равной температуре Е точке потока, где j=jm.
При сравнительно небольших
температурных напорах ∆Т (в условиях, близких к изотермическим)
сомножитель (1+Т) незначительно отличается от единицы, а при небольших
изменениях ∆Т , даже если и отличается от единицы, то изменяется
сравнительно мало. Поэтому изменение критерия Р полностью определяется
безразмерным комплексом:
.(2.2)
В рассматриваемой учебной работе
исследование теплоотдачи выполняется в воздушном потоке в узком интервале его
температуры и только при одном направлении теплового потока, поэтому из
искомого уравнения подобия (2.1) может быть исключен критерий Прандтля и
температурный фактор.
Условие подобия процессов
конвективного теплообмена в поле центростремительных сил визотермической и
неизотермической системах предполагает существование равенства:
.
Поэтому для того, чтобы критерий S в
неизотермических условиях отражал влияние центростремительных сил на явление с
учетом неизотермичности потока, он должен определяться в общем виде по формуле:
. (2.3)
Знак плюс (+) соответствует нагреву
среды; знак минус (-) -охлаждению.
Таким образом, для описания процесса
конвективного теплообмена в рассматриваемой задаче может быть использовано
уравнение:
. (2.4)
Анализ критерия S с использованием
результатов исследований аэродинамики циклонных камер и созданной на их основе
методики аэродинамического расчета позволил установить, что он может быть
заменен на числоРейнольдсаReφm, рассчитанное по максимальной
вращательной скорости в рабочем объеме циклонной камеры wφm. Эта связь
определяется уравнением:
(2.5)
где
,
νm- коэффициент кинематической
вязкости среды в точке, где вращательная скорость равна максимальной;-
безразмерный комплекс, зависящий от аэродинамических характеристик потока,
определяется по формуле:
D=D(ηя,В ),
где
- безразмерный радиус
осесимметричного ядра потока, определяется по формуле:
,
гдеrЯ - радиус ядра потока;Ц -
радиус цилиндра;φm- радиус,
определяющий положение wφm;
В - безразмерный параметр,
определяется по формуле:
.
Величины ηЯ, В зависят
от основных геометрических параметров циклонной камеры и могут быть рассчитаны,
либо определены по экспериментально найденному профилю вращательной скорости в
объеме камеры. Значения D в зависимости отηЯ, В приведены в таблице 1
[1].
Замена S на Reφm дает
определенные преимущества в обработке опытных данных и использовании полученных
уравнений подобия, так как в число Рейнольдса входит величина wφm,
определяемая по методике аэродинамического расчета циклонных камер.
Максимальная вращательная скорость циклонного потока для рассматриваемой задачи
является фактически скоростью набегающего потока, которая обычно принимается в
качестве характерной во внешних задачах конвективного теплообмена.
Таким образом, выполненный анализ
показал, что обработка опытных данных по теплоотдаче цилиндра в закрученном
потоке может производиться в виде корреляционной зависимости:
,(2.6)
где A, m, n- постоянные
коэффициенты, определяемые из опыта.
Заметим, что величина
корректирующего коэффициента, учитывающего влияние неизотермичности при
принятом методе обработки опытных данных, равна:
.(2.7)
В условиях опытов величина kβ сохраняется
примерно постоянной и равной 0,885 (влияние коэффициента на расчетные уравнения
невелико и уменьшается с понижением показателя n ).
В ряде случаев представляет интерес
использовать в уравнении (2.6) не сам комплекс D, а заменяющие его более
простые характеристики, определяемые методикой аэродинамического расчета
циклонных камер. В частности хорошие результаты дает использование коэффициента
крутки в ядре потока εЯ:
,
где WφЯ - линейная
вращательная скорость на радиусе rЯ определяющем границу ядра потока.
ОПИСАНИЕ ЭКСПЕРИМЕНТАЛЬНОЙ УСТАНОВКИ
И МЕТОДИКИ ИЗМЕРЕНИЙ
Исследовательская часть работы
выполняется на специальном экспериментальном стенде. Циклонно-вихревая камера
(рисунок1) представляет собой гладкостенную вертикальную металлическую модель
внутренним диаметром DК =2RК= 310 мм.
Ввод воздуха в камеру осуществляется
тангенциально расположенными к внутренней поверхности ее рабочего объема
входными каналами (шлицами) 6 с двух диаметрально противоположных сторон.
Ширина прямоугольных шлицев (сопел) lВХ и их высота hВХ могут варьироваться
специальными вкладышами. При этом соответственно меняется и суммарная площадь
входа потока
, где
- число
входных каналов. Отвод газа из модели осуществляется через плоский торец с
круглым осесимметричным выходным отверстием, безразмерный диаметр которого
может
меняться в диапазоне от 0,2 до 0,6.
Рисунок 1 - Схематический чертёж
модели циклонно-вихревой камеры:
- корпус;2-выходной торец;3-коллектор;4-глухойторец;5-вкладыш;6-входной
канал (шлиц);7-прижимной канал;8-бобышка для крепления
координатникапневмометрического зонда;9-штуцер отбора статического давления.
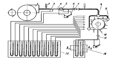
Общая схема аэродинамических
измерений на стенде представлена на рисунке 2.
Рисунок 2 - Общая схема
аэродинамических измерений:
- вентилятор;2-термометр;3-
импульсная трубка;4-трубопровод;5-нормальное сужающее устройство
(диафрагма);6-микроманометр;7-регулирующая заслонка;8-раздаточный короб-ресивер;9-коллектор;10-циклонно-вихревая
камера;11-пневмометрический зонд;12-U-образныетрубки;13-манометрический щит.
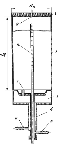
Схематический чертеж цилиндра -
калориметра приведен на рисуноке 3. Длина калориметра - 400 мм, толщина стенки
рабочего участка - 2 мм. Наружный диаметр цилиндра-калориметра при проведении
опытов может изменяться от 45 до 140 мм. Верхний торец рабочего участка
калориметра теплоизолирован текстолитовым диском, нижний - охранным участком.
Рисунок 3 - Схематический чертеж
парового калориметра:
- теплоизоляционный диск; 2 -
рабочий участок; 3 - охранный участок; 4 - паровая рубашка; 5 - штуцер отвода
конденсата; 6 - штуцер отвода паровоздушной смеси; 7 - соединительная трубка; 8
- трубка подвода пара; 9 - продувочная магистраль.
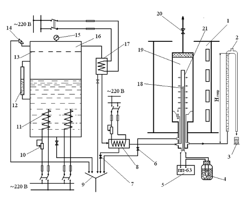
Принципиальная схема тепловых
измерений приведена на рисунке 4.
Рисунок 4 - Принципиальная схема
экспериментального стенда для исследования конвективного теплообмена:
- циклонно-вихреная камера; 2 -
гидравлический затвор; 3 - мензурка; 4 - сосуд с тающим льдом; 5 -
потенииометр; 6 - регулировочный кран; 7 - вентиль; 8 - выносной
пароперегревататель; 9 - дренажная система; 10 - реостат; 11 - нагревательный
элемент; 12 - водомерное стекло; 13 - сепарационное устройство; 14 -
предохранительный клапан; 15 - манометр; 16 - электрический паровой котёл; 17 -
основной пароперегреватель; 18 - термопара; 19 - калориметр; 20 - продувочный
кран; 21- трубка подвода пара.
Как видно из рисунка 4, греющий пар
из электрокотла через электрические основной и выносной перегреватели по
подводящей трубке поступает в рабочий участок калориметра. Для исключения
возможности попадания в калориметр жидкой фазы на входе пара в рабочий участок
поддерживается и непрерывно контролируется протарированной медь -
константановой термопарой небольшой перегрев(2…3)°С. Отсчет ЭДС термопары
производится переносным потенциометром типа ПП-63. Для обеспечения стока
конденсата нижняя часть парового пространства калориметра имеет небольшую
конусность (рисунок3). Отвод излишнего пара и паровоздушной смеси
осуществляется в охранный участок калориметра, а оттуда через отводящий штуцер
в дренажную систему.
При этом исключаются потери тепла не
только от нижнего торца рабочего участка, но и на линии отвода конденсата. Сбор
конденсата с рабочего участка производится через гидравлический затвор,
обеспечивающий создание определенного (400…600 мм. вод. ст.) давления в рабочем
участке калориметра. Поддержание требуемых величин избыточного давления и
перегрева в стационарном режиме осуществляется регулировочным краником, а при
изменении нагрузки камеры (ReВХ) также и за счет регулирования реостатами
электрической мощности нагревательных элементов котла и выносного
пароперегревателя.
ПОРЯДОК ПРОВЕДЕНИЯ ОПЫТОВ
Пуск экспериментальной установки
производится путем включения в сеть электрокотла, предварительно напитанного
водой. Уровень воды в водомерном стекле должен быть не ниже средней отметки.
Продувочные краники дренажных магистралей пароперегревателя, паропровода и
калориметра устанавливаются в открытое положение. Последовательным включением
нагревательных элементов котла устанавливается электрическая мощность, близкая
к максимальной (сила тока по показаниям амперметра должна составлять около
30А). Одновременно с котлом включается и основной пароперегреватель на 50% его
мощности. Процесс разогрева ведется в данном режиме до достижения избыточного
давления в электрокотле порядка (0,2…0,3) кгс/см ((19,6…29,4) кПа). После этого
производится включение стенда по воздушной стороне. Для этого необходимо
закрыть заслонку на воздухопроводе установки и осуществить запуск воздуходувки
с электрощита управления. Изменение частоты вращения, а, следовательно, и
производительности осуществляется вручную реостатами ступенчатой и плавной
регулировки. Максимальная нагрузка вентилятора устанавливается таким образом,
чтобы показания амперметра на щите управления не превышали 45-50 А. Полный
напор, развиваемый воздуходувкой, при этом составит (420…480) мм вод. ст.
((4,12…4,71)кПа). Далее по указанию преподавателя устанавливается
соответствующий режим работы, определяемый расходом воздуха через установку.
Регулировка расхода может быть осуществлена как заслонкой, так и изменением
частоты вращения привода вентилятора. Прежде чем приступить к производству
замеров, необходимо вывести установку на стационарный гидродинамический и
тепловой режимы. Для этого обычно требуется не менее 40-60 мин. В это время
необходимо тщательно продуть паровое пространство установки, после чего закрыть
краники на пароперегревателе и паропроводе. С помощью реостатов плавной
регулировки мощности и продувочного краника калориметра установить необходимое
избыточное давление в нем путем совмещения нижнего уровня жидкости гидрозатвора
с отметкой на смотровом стекле, включенном в магистраль сбора конденсата. После
этого приступить к регулированию перегрева пара реостатами выносного, а если
необходимо, и основного пароперегревателей, ведя контроль по показаниям
потенциометра и сравнивая их с градуировочной характеристикой термопары.
Убедившись в достижении стационарного режима по паровой и воздушной сторонам,
приступают к проведению эксперимента.
В начале и конце каждого опыта
производится запись показаний следующих приборов: термометров в воздушных
коллекторах перед измерительным участком трубопровода t и циклонной камерой
tвх, термометра, измеряющего температуру окружающей среды tос, микроманометра,
измеряющего перепад давления в сужающем устройстве (нормальной диафрагме) ∆Р,
дифференциальных водяных манометров, измеряющих избыточные статические давления
в контрольных сечениях перед сужающим устройством Рсд, во входных каналах Рс.вх
и на боковой поверхности циклонной камеры Рс.ст, барометра-анероида В.
Конденсат срабочего участка
собирается через гидравлический затвор в специальную емкость, после чего его
взвешивают на аналитических весах. Время опыта фиксируют секундомером и также
заносят в журнал наблюдений. Для обеспечения необходимой точности измерений
тепловых потоков продолжительность отдельного опыта выбирают исходя из
получения массы конденсата Gк = (200…250) г.
При переводе установки на новый режим
снова производят ее гидродинамическую и тепловую стабилизацию, устанавливают
необходимое давление пара в котле и его перегрев, после чего приступают к
производству замеров.
Для изучения гидродинамической
обстановки в рабочем объеме камеры производится также измерение скоростей и
давлений в одном или нескольких радиальных сечениях. Для тепловой задачи
основной интерес представляет величина максимальной вращательной скорости wφm,
достигаемой на радиусе rφm. Поэтому
снятие полей скоростей и давлений производят на одном режиме (обычно
максимальном), устанавливая величину rφm, а на остальных режимах
замеры осуществляют лишь на данном радиусе.
При проведении аэродинамических
измерений трехканальным цилиндрическим зондом необходимо придерживаться
следующей последовательности:
) ввернуть ножку координатника зонда
в бобышку измерительного сечения;
) установить зонд в горизонтальное
положение по уровню;
) поворотом лимба координатника
относительно указательной стрелки в соответствующую сторону установить величину
угловой поправки к показаниям зонда по данным его аэродинамической тарировки;
) вращением зонда установить
приемные отверстия против потока и продуть сжатым воздухом (с помощью ручного
насоса) импульсные трубки;
) вращением ходовой гайки
координатника установить приемные отверстия зонда в начальное положение
(относительно стенки камеры), после чего подключить зонд согласно схеме
аэродинамических измерений (см.рисунок 2) и приступить к производству замеров.
При снятии полей скоростей и
давлений производится отсчет и запись следующих величин: радиального расстояния
y = RK - r (r - радиус точки замера) от стенки рабочего объема камеры до точки
измерения (по рейке координатника); угла скоса потока φ (угла между
направлением вектора полной скорости потока и направлением горизонтали),
отсчитываемого по лимбу координатника; полного избыточного давления потока A2
перепада давления между центральным и боковым отверстиями A1 пропорционального
скоростному напору в точке замера.
ОБРАБОТКА РЕЗУЛЬТАТОВ НАБЛЮДЕНИЙ
Определение расхода воздуха через
установку
Модуль сужающего отверстия m вычисляем
по формуле:
;(5.1.1)
Плотность воздуха перед сужающим
устройством
ρ, кг/м3,
вычисляем по формуле:
,(5.1.2)
где g - ускорение силы тяжести,
м/с2, g = 9,81;
кг/м3,
Поправочный множитель на расширение
измеряемой среды ε
для
нормальных диафрагм определяется по формуле:
,(5.1.3)
где k - показатель адиабаты
измеряемой среды, для воздуха k = 1,4;
.
Величина перепада давления:
(5.1.4)
где ρж -
плотность рабочей жидкости микроманометра (спирта) при 20°С, г/см3; 0,8095 -
плотность эталонного спирта при 20°С, г/см3;
,0011 - коэффициент объемного
расширения спирта, 1/°С;ж - температура рабочей жидкости, принимаемая равной
tОС; изм - множитель, равный синусу угла наклона измерительной трубки
микроманометра;
Нпок - показание прибора,
отсчитываемое по измерительной шкале, мм;
мм.вод.ст.
Теоретический расход воздуха через
экспериментальную установкуqт, м3/с, находим по формуле:
;(5.1.5)
где αи - исходный
коэффициент расхода,значение αизависит от типа сужающего
устройства и модуля m:при
,
;(5.1.6)
k2 - поправочный множитель на
шероховатость измерительного трубопровода; - поправочный множитель на неостроту
входной кромки диафрагмы;
произведение поправочных множителей
k2,3 = k2k3 находят из таблицы 2 [1] по значениям m, DТР, k2,3 = 1,009;
м3/с.
Коэффициент кинематической вязкости
воздуха
ν, м/с,
рассчитывают, используя известную формулу Милликена:
;(5.1.7)
м/с.
Число Рейнольдса, отнесенное к
диаметру измерительного трубопроводаRe находим по формуле:
(5.1.8)
Действительный расход воздуха q, м3/с,
вычисляем по формуле:
,(5.1.9)
где k1- поправочный множитель на
число Рейнольдса, определяемый по номограмме, представленной на рисунке 5
[1].Для основной диафрагмы, используемой на стенде (m= 0,259), k1 можно
рассчитать также по приближенному аппроксимационному уравнению:
;(5.1.10)
;
м3/с.
Плотность воздуха во входных каналах
циклонной камерыρвх, кг/м3,
вычисляем по формуле:
;(5.1.11)
кг/м3.
Среднерасходная скорость воздуха в
шлицахVвх, м/с, определяется по формуле:
;(5.1.12)
м/с.
Безразмерное избыточное статическое
давление газа на боковой поверхности циклонной камеры
находим по
формуле:
(5.1.13)
Безразмерное (отнесенное к
динамическому давлению на входе) статическое давление во входных каналах
находим по
формуле:
;(5.1.14)
Гидравлическая характеристика
циклонной камеры - суммарный коэффициент сопротивления по входу ζ вычисляем по
формуле:
,(5.1.15)
где РП- перепад полного давления в
циклоне, мм вод.ст.;
РДИН - динамическое давление во
входных каналах, мм вод.ст.;
Коэффициент кинематической вязкости
воздуха при входных условиях ν, м3/с, рассчитаем по формуле:
;(5.1.16)
Входное число
РейнольдсаReвхвычисляется по формуле:
;(5.1.17)
распределений скоростей и давлений в
объеме
циклонной
камеры (по данным замеров пневмометрическим цилиндрическим зондом)
Избыточное статическое давление
потока в произвольной точкеРс, мм. вод. ст., вычисляется по формуле:
,(5.2.1)
где А1, А2 - показания
пневмометрического насадка, мм вод.ст.;Ц, kЦ-Б - поправочные коэффициенты,
определяемые тарировкой насадка;
мм вод.ст..
Плотность воздуха в произвольной
точке потока
ρ, кг/м3,
определяется по формуле:
; (5.2.2)
кг/м3.
Полная скорость потока в точке
замераV, м/с, определяется по формуле:
; (5.2.3)
м/с.
Безразмерная осевая составляющая
полной скорости
определяется
по формуле:
; (5.2.4)
Безразмерная вращательная
составляющая полной скорости потока
определяется по формуле:
; (5.2.5)
Избыточное безразмерное статическое
давление в точкезамера
определяется по формуле:
; (5.2.6)
.
Безразмерное избыточное полное
давление в точке замера
определяется по формуле:
; (5.2.7)
Размерная величина максимальной
вращательной скорости
, м/с,
определяется по формуле:
; (5.2.8)
м/с
Обсчет опытных данных по
конвективному теплообмену
Суммарный тепловой поток от
калориметра к охлаждающему воздуху Q, Вт, определяется по количеству
конденсата, собранному за время опыта с рабочего участка по формуле:
, (5.3.1)
где GК - масса конденсата, кг;
τ - время опыта, с;- теплота
парообразования, Дж/кг, вычисляется по формуле:
(5.3.2)
температура насыщенияtн, 0С,
определяется по формуле:
; (5.3.3)
где РИЗБ - избыточное давление в
калориметре, создаваемое столбом воды в гидрозатворе, РИЗБ =НГИДР, мм вод.ст;
0С;
Дж/кг;
Вт.
Лучистый тепловой поток между
калориметром и боковой поверхностью циклонной камерыQп, Вт, находим по формуле:
, (5.3.4)
где
- приведенная степень черноты
системы вычисляется по формуле:
; (5.3.5)
εЦ - степени черноты
калориметра, εЦ ≈
0,2;
εСТ- степени
чернотыповерхности циклонной камерыεСТ = 0,35; Ц- площадь
поверхности теплообмена калориметра, м2, вычисляется по формуле:
FЦ=πdЦlК;
(5.3.6)
м2;
FСТ - площадь боковой поверхности
циклонной камеры, м2, вычисляется по формуле:
(5.3.7)
м2;
=5,77 - постоянная
Стефана-Больцмана, Вт/(м2·К4);
ТЦ - абсолютная температура внешней
поверхности калориметра, К; СТ - абсолютная температура внутренней поверхности
камеры (
);
Вт.
Конвективный тепловой потокQк, Вт,
вычисляется по формуле:
; (5.3.8)
Вт.
Приращение температуры воздуха,
охлаждающего калориметр
Δt,
0С, находится по формуле:
, (5.3.9)
где СР - средняя массовая
теплоемкость воздуха при постоянном давлении, равная 1005 Дж/(кг °С) в
диапазоне температур от 0 до 60 0С.
0С.
Средняя температура циклонного
потока
tср,
0С, находится по формуле:
;(5.3.10)
0С.
Коэффициент теплоотдачи конвекцией
от калориметра к закрученному воздуху αк находится по формуле:
;(5.3.11)
Вт/(м2К).
Число Нуссельта Nu вычисляем
по формуле:
,(5.3.12)
где λ -
коэффициент теплопроводности воздуха при средней температуре потока,
Вт/(м2·0С), λ
= λср
и вычисляется по формуле:
;(5.3.13)
Вт/(м.К);
Плотность воздуха на радиусе rφmρт, кг/м3,
вычисляем по формуле:
,(5.3.14)
где РСТ - избыточное статическое
давление воздуха на радиусе rφm, мм вод. ст.;
кг/м3.
Коэффициент кинематической вязкости
воздуха на радиусе rφmνт, м2/с,
находим по формуле:
; (5.3.15)
м2/с.
Число РейнольдсаReφm находим по
формуле:
(5.3.15)
Статистическая обработка данных
После обработки опытных данных по
теплоотдаче для всех исследованных в работе режимов по числу Рейнольдса
устанавливается функциональная связь между числами Nu и Re в виде зависимости
(2.6).
Наиболее обоснованным и широко
распространенным в практике научных исследований видом аппроксимации опытных
данных является метод "наименьших квадратов", связанный со
статистическим законом распределения случайных ошибок эксперимента.
Сущность метода заключается в том,
что он обеспечивает минимальное значение суммы квадратов отклонений опытных
точек по вертикали от расчетной зависимости, описывающей экспериментальные
данные.
Применим данный метод для
окончательной обработки результатов экспериментов, используя значение
показателя степени m при комплекса. D, полученное ранее. (Следует заметить, что
m , как правило, значительно меньше n и погрешность в определении m не
сказывается существенно на результатах расчетов чисел Nu.).
Запишем зависимость в виде:
(5.4.1)
где
(5.4.2)
;
;
;
.
Все опытные данные обобщим в
координатах
.
;
; (5.4.3)
где z - число опытов;
;
; (5.4.4)
где z - число опытов;
;
;
;
;
;
;
; (5.4.5)
;
; (5.4.6)
.
Смешанная зависимость для
обобщенного уравнения числа Nu имеет вид:
РАСЧЕТ СТАТИСТИЧЕСКИХ ПОКАЗАТЕЛЕЙ
Общая дисперсия (рассеивание) точек
относительно среднеарифметического значения lgKo
находится по формуле:
; (6.1)
.
Дисперсия точек относительно линии
регрессии
находится
по формуле:
, (6.2)
где
- дисперсия относительно среднего
значения lgKo вычисляется по формуле:
; (6.3)
.
Среднеквадратичное отклонение точек
от прямой линии регрессии
σ2вычисляется
по формуле:
; (6.4)
.
Граница доверительного интервала по
КоΔКо
вычисляется по формуле:
, (6.5)
; (6.6)
;
tα - коэффициент Стьюдента,
определяемый по таблице 4 [1] в зависимости от величины выборки (числа опытов);
;
Относительная величина отклонения
опытных точек от расчетной зависимости
находится по формуле:
; (6.7)
.
Коэффициент корреляции rx,y находим
по формуле:
(6.8)
.
Среднеквадратичная погрешность
коэффициента корреляции
σr
вычисляется по формуле:
; (6.9)
.
Оценка достоверности прямолинейной
связи
:
;
tα =2,78;
- условие выполняется.
РАСЧЕТ ПОГРЕШНОСТЕЙ ИЗМЕРЕНИЙ
При
можно принять:
. (7.1)
Учитывая, что
; (7.2)
. (7.3)
Если исследуемая величина
является
функцией нескольких независимых переменных а ,b , . . . , c, измеряемых в
процессе эксперимента, относительная ошибка измерения
определяется
следующим образом:
.(7.4)
При расчетах максимально возможные
абсолютные погрешности отдельных измерений определяют по ценам делений
измерительных приборов.
Предельная относительная погрешность
измерения расхода с помощью сужающего устройства
определяется по формуле:
, (7.5)
где
- средняя квадратичная относительная
погрешность измерения расхода, определяется по формуле:
, (7.6)
где
- среднеквадратичная относительная
погрешность коэффициента расхода для диафрагм, определяется по
формуле:
, (7.7)
где
- среднеквадратичная относительная
погрешность исходного коэффициента расхода, определяется по номограмме на
рисунке 8-11 [1];
- среднеквадратичные относительные
погрешности соответственно поправочных коэффициентов К1, К2, К3; Определяются
по номограммам на рисунке 8-11 [1];
;
- среднеквадратичная относительная
погрешность поправочного множителя на расширение измеряемой среды, определяется
по формуле:
, (7.8)
где n - множитель, n = 0,02 для
диафрагм с
;
- среднеарифметическая величина
отношения перепада давления на диафрагме к абсолютному давлению воздуха перед
сужающим устройством, определяется по формуле:
; (7.9)
;
;
- среднеквадратичная относительная
погрешность измерения перепада давления дифференциальным микроманометром,
определяется по формуле:
; (7.10)
где ∆h - основная допускаемая
абсолютная погрешность дифференциального микроманометра, мм вод.ст.;
;
- среднеквадратичная относительная
погрешность плотности измеряемой среды, определяется по формуле:
;
;
;
.
Предельная относительная погрешность
определения погрешность числа Нуссельта
определяется по формуле:
, (7.11)
где
- предельная относительная ошибка
определения коэффициента теплоотдачи конвекцией, определяется по формуле:
; (7.12)
Предельная относительная погрешность
определения числа Рейнольдса
определяется по формуле:
, (7.13)
где
;(7.14)
;
; (7.15)
;
;
, (7.17)
где
;

, (7.18)
где
; (7.19)
;
; (7.20)
;
ºС;
; (7.21)
,
где
, φ - рад;
;
;
.
ПРИЛОЖЕНИЕ А
Таблица 1 - Определение расхода
воздуха через установку
|
Номер
опыта
|
1
|
2
|
3
|
4
|
5
|
|
ρ,
кг/м3
|
1,225
|
1,2355
|
1,2308
|
1,2323
|
1,2387
|
|
ε
|
0,9962
|
0,9967
|
0,9991
|
0,9991
|
0,9995
|
|
ΔР,
мм.вод.ст.
|
103,7127
|
89,5942
|
22,8003
|
23,0012
|
10,9482
|
|
0,11150,10330,05230,05250,0362
|
|
|
|
|
|
|
ν,
м/с∙105
|
1,476
|
1,456
|
1,46
|
1,458
|
1,445
|
|
Re
|
65705,7
|
61679,6
|
31165,2
|
31342,4
|
21762
|
|
q
, м3/с
|
0,112
|
0,1037
|
0,0528
|
0,053
|
0,0366
|
|
ρвх, кг/м3
|
1,2235
|
1,251
|
1,2481
|
1,2497
|
1,2374
|
|
Vвх,
м/с
|
62,3038
|
57,473
|
28,918
|
29,0237
|
20,3618
|
|
0,72680,55831,09930,58690,5735
|
|
|
|
|
|
|
ζ
|
1,8425
|
2,2796
|
6,1489
|
6,1794
|
7,308
|
|
ν,
м3/с∙105
|
1,466
|
1,45
|
1,438
|
1,435
|
1,449
|
|
1317664,61228815,9623370,1626970,5435762,8
|
|
|
|
|
|
ПРИЛОЖЕНИЕ Б
Таблица 2 - Расчет распределения скоростей и
давлений в объеме циклонной камеры
|
Номер
опыта
|
1
|
2
|
3
|
4
|
5
|
|
РС,
мм. вод . ст.
|
99,7907
|
63,7888
|
33,9943
|
24,3981
|
9,7985
|
|
ρ,
кг/м3
|
1,2112
|
1,215
|
1,2198
|
1,2198
|
1,2191
|
|
V,
м/с
|
39,5649
|
30,0799
|
21,3811
|
12,5197
|
10,8455
|
|
0,03320,00910,03870,01880,0139
|
|
|
|
|
|
|
0,63420,52330,73840,43090,5325
|
|
|
|
|
|
|
0,41210,30570,63880,45460,3746
|
|
|
|
|
|
|
0,80530,57031,16510,63350,6499
|
|
|
|
|
|
|
39,510730,075321,351812,507710,8418
|
|
|
|
|
|
ПРИЛОЖЕНИЯ В
Таблица 3 - Обсчет опытных данных по
конвективному теплообмену
|
Номер
опыта
|
1
|
2
|
3
|
4
|
5
|
|
Q,
Вт
|
407,2455
|
337,8917
|
268,782
|
252,2894
|
187,8283
|
|
tH,
˚C
|
100,694
|
100,9151
|
101,0625
|
101,0592
|
101,0625
|
|
rn,
Дж/кг
|
2254820
|
2254227
|
2253832
|
2253841
|
2253832
|
|
QЛ,
Вт
|
8,2175
|
8,2093
|
8,249
|
8,2678
|
8,2811
|
|
QК,
Вт
|
399,0281
|
329,6824
|
260,5331
|
244,0216
|
179,5473
|
|
t,
˚C
|
2,9532
|
2,6231
|
4,1167
|
3,845
|
4,121
|
|
tСР,
˚C
|
18,1266
|
18,5616
|
19,0083
|
18,5725
|
18,5105
|
|
79,458465,8252,204448,639537,7599
|
|
|
|
|
|
|
Nu
|
169,5966
|
140,2951
|
111,1175
|
103,6713
|
76,2342
|
|
0,02580,02580,02580,02580,0258
|
|
|
|
|
|
|
ρm, кг/м3
|
1,214
|
1,2157
|
1,2141
|
1,2126
|
1,2111
|
|
νm, м2/с∙105
|
1,483
|
1,483
|
1,487
|
1,487
|
1,488
|
|
Reφm
|
146509,2
|
111548,5
|
78989,7
|
46269,2
|
40063,2
|
ПРИЛОЖЕНИЕ Г
Таблица 4 - Статистическая обработка данных
|
Номер
опыта
|
1
|
2
|
3
|
4
|
5
|
Σ
|
|
lgKo
|
2,3925
|
2,301
|
2,2089
|
2,1787
|
2,0452
|
11,1355
|
|
(lgKo)2
|
5,7241
|
5,3367
|
4,8791
|
4,7469
|
4,183
|
24,8699
|
|
lgReφm
|
5,1659
|
5,0475
|
4,8976
|
4,6653
|
4,6027
|
24,3789
|
|
(lgReφm)2
|
26,6862
|
25,4769
|
23,9862
|
21,7649
|
21,1853
|
119,0995
|
|
lgReφm∙lgKo
|
12,3594
|
11,6603
|
10,8181
|
10,1645
|
9,4137
|
54,416
|
|
lgKo∙ 0,16540,083-0,0182-0,0484-0,18190
|
|
|
|
|
|
|
|
lgReφm∙ 0,29010,17170,0218-0,2105-0,2730
|
|
|
|
|
|
|
|
lgKo∙ ∙lgReφm∙ 0,0480,0143-0,00040,01020,04970,1217
|
|
|
|
|
|
|
|
(lgKo∙ 0,02740,00690,00030,00230,03310,07
|
|
|
|
|
|
|
|
(lgReφm∙ 0,08410,02950.00050,04430,07460,233
|
|
|
|
|
|
|
ПРИЛОЖЕНИЕ Д
Рисунок 5 -Расчетная зависимость