Организация строительства 9-этажного 54-квартирного жилого здания
КУРСОВОЙ
ПРОЕКТ на тему:
“Организация
строительства 9-этажного
-квартирного
жилого здания”
Содержание
1.
Введение
.
Сведения о выборе способов производства основных СМР, машин и механизмов
.
Расчет требуемых затрат труда и машино-смен и перечень работ и подсчет их
объемов
.
Расчетные материалы и пояснения к сетевому графику строительства объекта
.
Определение потребности в строительных машинах и механизмах
.
Расчет потребности в конструкциях, изделиях полуфабрикатах и основных
материалов
.
Обоснование решений строительного генерального плана объекта с расчетами
площадей приобъектных складов, временных зданий и выбором их типов, потребности
в воде и электроэнергии
.
Решения по производству геодезических работ
.
Решения по технике безопасности
.
Технико-экономические показатели по проекту
Заключение
Литература
строительство дом конструкция
материал
1. Введение
Организация строительства обеспечивает
целенаправленность всех организационных, технических и технологических решений
на достижение конечного результата - ввода в действие объекта с необходимым
качеством и в установленные сроки.
Принимается горизонтальный поярусный способ
монтажа. Здание разбивается на 4 яруса по высоте, которые возводятся
последовательно снизу вверх. Применен башенный кран стационарный с
полноповоротной башней.
Строительство ведется в технологической
последовательности в соответствии с календарным планом с учетом обоснованного
совмещения отдельных видов работ. Выполнение работ с учетом сезонности в
курсовом проекте не учитывается.
Начинают работы по возведению надземных
конструкций здания (или яруса) до полного окончания устройства подземных
конструкций и обратной засыпки пазух с уплотнением грунта до плотности его в
естественном состоянии.
При составлении раздела «Организации
строительства» принято круглогодичное производство строительно-монтажных работ
подрядным способом.
Для производства специальных монтажных работ
привлекаются специализированные монтажные организации.
Принята комплексная механизация строительно-монтажных
работ с использованием механизмов в 2смены и с применением средств малой
механизации, обеспечивающих строительство здания в оптимальные сроки.
Снабжение строящегося объекта строительными
деталями, полуфабрикатами и столярными изделиями обеспечивается с предприятий и
складов г. Москвы.
Здание - 9- этажная 54- квартирная блок секция
Климатический район: II
Ориентация - широтная
Инженерно-геологические условия: обычные
Общая сметная стоимость 354,08 тыс. руб.
Строительный объем 12365,06 м3
Площадь застройки 422,16 м2
Построечные трудовые затраты 2504 чел.-дн.
Нормативная продолжительность возведения объекта
определяется по действующим нормам СНиП 1.04.03-85* «Нормы продолжительности
строительства и задела в строительстве предприятий, зданий и сооружений» М.
1991
Согласно СНиП 1.04.03-85* нормативная
продолжительность строительства объекта пятиэтажного жилого дома составляет 5
месяцев в том числе 1 мес на подготовительный период.
Расчетная продолжительность строительства
объекта определяется на основании расчета параметров модели возведения объекта
- графиком производства работ. Согласно графику производства работ расчетная
продолжительность строительства объекта составляет 6 месяцев.
2. Сведения о выборе способов производства
основных СМР, машин и механизмов
Проект разработан в соответствии с действующими
нормами, правилами, инструкциями , государственными стандартами.
Прогнозируемый уровень грунтовых вод расположен
ниже отметки уровня пола подвала.
Обоснование методов производства основных видов
работ.
. Подготовительные работы.
До начала работ основного периода, выполнить
работы. подготовительного периода:
установить временное ограждение;
установить временную кабину поста охраны
оснащенную аварийным освещением, средствами постовой связи, тревожной сигнализацией;
обеспечить строительную площадку противопожарным
водоснабжением, инвентарем, средствами связи, сигнализацией;
установить прожектора для наружного освещения;
установить временные административно-бытовые
помещения;
выполнить пункт мойки и очистки колес на
насыпной площадке на выезде с территории строительной площадки;
выполнить временные дороги;
выполнить перенос кабеля наружного освещения и
теплотрассы.
Данные работы выполняются генподрядчиком на
площадке принятой от заказчика по акту. Заказчик обязан создать геодезическую
разбивочную основу для строительства и не менее чем за 10 дней до начала
строительства передать на нее генподрядчику техническую документацию.
Геодезическая разбивочная основа, согласно СНиП
3.01.03-84, должна создаваться на строительной площадке в виде сети
закрепленных знаками пунктов, определяющих положение строящихся сооружений на
местности.Для закладки реперов и знаков, закрепляющих оси здания, подготовить
свободные места, а для измерения отрезков, углов, линий - расчистить полосы
шириной не менее 1 м.
Прокладка инженерных коммуникаций.
Работы по прокладке инженерных коммуникаций
вести параллельно работам по возведению надземной части жилого дома, с
максимальным применением механизации.
Подъем, перемещение и опускание труб в траншеи
производить при помощи крана. Обратную засыпку траншей выполнить бульдозером
ДЗ-104.
Технические решения по возведению зданий и
сооружений.
Подземная часть.
Возведение подземной части жилого дома
рекомендуется вести в следующей последовательности:
разработать котлован используя экскаватор
ЭО-4224, оборудованного обратной лопатой с емкостью ковша 1м3;
выполнить фундаментную плиты под башенный кран;
установить башенный кран
выполнить сборный ж/б ленточный фундамент под
здание и сборные стены подземной части
выполнить обратную засыпку пазух котлована с
послойным трамбованием.
Надземная часть.
Возведение надземной части жилого дома вести
башенными кранами .Все работы выполнять в соответствии с проектом производства
работ (ППР) и с соблюдением :
СНиП 12-03-2001 «Безопасность труда в
строительстве» Часть 1. Общие требования;
СНиП 12-04-2002 «Безопасность труда в
строительстве» Часть 2. Строительное производство;
Правил пожарной безопасности в Российской
Федерации» ППБ-01-03-2003г.
Возведение надземной части жилого дома
рекомендуется вести в следующей последовательности:
монтаж стеновых панелей ,установка внутренних
стен, установка лестничных маршей и площадок, установка перегородок, монтаж
лифтовых шахт, монтаж плит и ограждений лоджий, монтаж плит перекрытий, монтаж
мусоропровода, монтаж вент. блоков, монтаж плит покрытия, установка оконных
блоков и дверей, отделочные работы
. Расчет требуемых затрат труда и машино-смен и
перечень работ и подсчет их объемов.
Перечень работ составляется в соответствии с номенклатурой,
принятой в СНиП 4.02 - 91. сборники или ЕНиР.Подсчет объемов работ сводится к
расчету в табличной форме.
|
№
|
Наименование
работ
|
Объем
оработ
|
Обоснование
(ЕНиР)
|
Затраты
труда
|
затраты
маш. Вр.
|
Числ.
Рабочих
|
Число
смен
|
Продолжит.
Раб, дн.
|
Состав
бригады чел.
|
|
|
ед.
изм
|
кол-во
|
|
норм.чел.ч.
|
всего
чел.дн.
|
Машина
|
норм.маш.
ч.
|
всего
маш. см.
|
|
|
|
|
|
|
|
|
|
|
|
|
|
|
|
|
|
|
|
1
|
2
|
3
|
4
|
5
|
6
|
7
|
9
|
10
|
13
|
12
|
11
|
14
|
15
|
|
1
|
Подготовка
территории
|
7%
от общестроительн-ых работ
|
1-30-1
|
-
|
77
|
Бульдозер
59кВт
|
0.35
|
0,08
|
16
|
2
|
5
|
Звено
из 5 человек
|
|
2
|
Механизированные
земляные работы по рытью котлованов и траншей с отвозом лишнего грунта
|
100м³
|
5,59
|
1-17-3
|
0,49
|
2,73
|
ЭкскаваторVк=1,0м3
|
18,7
|
45,53
|
16
|
1
|
1
|
Машинист
6 раз. Машинист 5 раз.
|
|
3
|
Добор
грунта вручную
|
м3
|
46,4
|
1-12-2
|
0,325
|
15,1
|
|
12,7
|
1,83
|
4
|
2
|
4
|
Землекоп
2 раз, 1 раз
|
|
5
|
Ввод
коммуникаций
|
5%
от общ-ных
|
7-1-3
|
|
50
|
КБ
503
|
|
|
4
|
2
|
14
|
Звено
из 7 чел
|
|
6
|
Монтаж
фундаментных блоков под стены, лестн. маршей
|
шт.
|
142
|
7-42-4
|
0.35
|
49.7
|
КБ
503
|
31,5
|
37,49
|
8
|
2
|
6
|
Монтажники
4 раз.,3 раз,2 раз Машинист 5 раз
|
|
7
|
Устройство
бетонной подготовки под полы в подвале
|
100
м2
|
4.22
|
8-4-7
|
1.08
|
4.56
|
КБ
503
|
-
|
-
|
4
|
1
|
1
|
Бетонщик
3 раз,2 раз
|
|
8
|
Устройство
цементной стяжки в подвале
|
100
м2
|
4.22
|
11-11-3
|
2.88
|
12.15
|
КБ
503
|
-
|
-
|
12
|
2
|
1
|
Бетонщики
3 раз 2 раз
|
|
9
|
Устройство
крупнопанельных перегородок в подвале
|
шт
|
15
|
11-4-1
|
0.435
|
6.5
|
КБ
503
|
-
|
-
|
4
|
2
|
2
|
Каменщик
3 раз(2раз)
|
|
10
|
Монтаж
плит перекрытия в подвале
|
шт
|
28
|
11-11-1
|
0.275
|
7.7
|
КБ
503
|
-
|
-
|
4
|
1
|
2
|
Монтажники
4раз, монтажник 3раз,машинист 5раз
|
|
11
|
Гидроизоляция
подземной части
|
100
м2
|
0.95
|
1-166-1
|
0.475
|
0.45
|
|
-
|
-
|
2
|
1
|
1
|
Гидроизолировщик
3 раз.2 раз
|
|
12
|
Обратная
засыпка
|
м3
|
95
|
7-47-4
|
0.121
|
11.5
|
КБ
503
|
46,2
|
0,06
|
4
|
1
|
2
|
Землекоп
3раз
|
|
13
|
Монтаж
башенного крана
|
шт.
|
1
|
7-45-4
|
19
|
19
|
КБ
503
|
36,3
|
0,91
|
5
|
2
|
1
|
Монтажники
4 раз (2), 3 раз, 2 раз Машинист 5 раз.
|
|
14
|
Монтаж
сборных конструкций наземной части
|
шт.
|
837
|
7-49-4
|
0.34,
0.15, 0.135
|
311.3
|
КБ
503
|
30,8
|
3,00
|
10
|
2
|
39
|
|
|
15
|
Устройство
кровли
|
100
м2
|
4.22
|
7-49-4
|
5.31
|
22.4
|
КБ
503
|
30,8
|
3,00
|
7
|
1
|
3
|
Кровельщики
5 раз 4раз,3 раз
|
|
16
|
Устройство
лифтов
|
блок
|
1
|
7-49-4
|
70
|
70
|
КБ
503
|
30,8
|
4,00
|
5
|
2
|
14
|
Монтажники
4раз,5раз
|
|
17
|
Демонтаж
башенного крана
|
шт.
|
1
|
7-50-3
|
608
|
608
|
КБ
503
|
30,8
|
3,23
|
5
|
2
|
3
|
Монтажники
|
|
18
|
Заполнение
оконных и дверных проёмов
|
шт
|
504
|
7-50-3
|
0.213
0.268
|
126.2
|
КБ
503
|
30,8
|
3,23
|
5
|
2
|
27
|
Плотники
4 раз,2 раз
|
|
19
|
Остекление
окон
|
10
м2
|
64.8
|
7-50-3
|
0.65
|
42.12
|
КБ
503
|
30,8
|
3,31
|
5
|
1
|
12
|
Стекольщики
5 раз,4 раз, 3 раз
|
|
20
|
Электромонтажные
работы
|
7-47-2
|
-
|
88
|
КБ
503
|
46,2
|
0,17
|
5
|
2
|
18
|
Звено
из 5 чел.
|
|
21
|
Монтаж
подъёмников
|
шт
|
1
|
7-47-2
|
69,9
|
69.9
|
КБ
503
|
46,2
|
0,17
|
8
|
1
|
8
|
Звено
из 8 чел.
|
|
22
|
Сантехнические
работы
|
10%
общестрит-ных работ
|
7-47-2
|
6,56
|
109
|
КБ
503
|
46,2
|
0,17
|
5
|
2
|
22
|
Звено
из 5 чел.
|
|
23
|
Мокрая
штукатурка стен и потолков
|
100
м2
|
11.4
|
7-47-4
|
6.56
|
75
|
КБ
503
|
46,2
|
0,35
|
5
|
1
|
15
|
Штукатуры
6 раз.5 раз.4раз,3раз,2раз
|
|
24
|
Гидроизоляция
полов
|
100
м2
|
37.99
|
7-47-4
|
0.175
|
6.65
|
КБ
503
|
46,2
|
0,35
|
7
|
1
|
1
|
Гидроизолировщик
3 раз,2 раз.
|
|
25
|
Звукоизоляция
полов
|
100
м2
|
42.2
|
7-47-4
|
1.09
|
46
|
КБ
503
|
46,2
|
0,40
|
3
|
1
|
33
|
Изолировщик
4 раз, 2 раз (2чел.)
|
|
26
|
Устройство
цементной стяжки
|
100
м2
|
37.99
|
7-52-3
|
2.88
|
109.4
|
КБ
503
|
18,7
|
0,42
|
8
|
2
|
12
|
Бетонщики
4 раз.,3 раз,2 раз
|
|
27
|
Побелка
потолков, масляная окраска стен по штукатурке и бетону, обои
|
100
м2
|
96.29
|
7-52-3
|
0.975
5.125 2.875
|
238.6
|
КБ
503
|
18,7
|
0,42
|
11
|
2
|
21
|
Маляры
4 раз,2 раз
|
|
28
|
Облицовка
стен плиткой
|
100
м2
|
7.52
|
7-52-3
|
23.13
|
174
|
КБ
503
|
18,7
|
0,44
|
15
|
1
|
18
|
Облицовщики
5 раз,4 раз,3 раз,2 раз
|
|
29
|
Устройство
линолеумных полов
|
м2
|
2160
|
7-50-3
|
0.034
|
73.44
|
-
|
-
|
-
|
4
|
1
|
18
|
Паркетчик,5
раз,3 раз
|
|
30
|
Демонтаж
подъёмников
|
шт
|
1
|
7-54-4
|
828.1
|
828.1
|
КБ
503
|
-
|
-
|
20
|
1
|
2
|
Монтажники
3 раз.4 раз
|
|
Специальные
работы
|
|
31
|
Дороги,
подъезды, тротуары
|
0.5%
|
мет.т.2
|
-
|
50
|
-
|
-
|
-
|
13
|
2
|
4
|
Звено
из 13 чел.
|
|
32
|
Озеленение
|
1,0%
|
мет.т.2
|
-
|
10
|
Бульдозер
|
-
|
-
|
10
|
1
|
1
|
Звено
из 10 чел.
|
|
33
|
Неучтённые
работы
|
15%
|
мет.т.2
|
-
|
164
|
-
|
-
|
-
|
10
|
2
|
7
|
Звено
из 10 чел.
|
|
34
|
Сдача
объекта
|
1%
|
мет.т.2
|
-
|
10
|
-
|
-
|
-
|
4
|
1
|
3
|
Звено
из 4 чел.
|
По приведенным в таблице данным был составлен
календарный план, а затем построен календарный график и график потребности в
людских ресурсах. Предварительно был построен и рассчитан секторным методом
сетевой график. Для повышения удобочитаемости данных графических представлений
организации работ на стройплощадке ряд работ был укрупнен. Конечным результатом
явился приведенный ниже календарный план.4.Расчетные материалы и пояснения к
сетевому графику строительства объекта
На объект составляем две модели:
. Линейный график
. Сетевой график
При выборе вида модели графика предпочтение
отдается сетевым моделям, они позволяют получать более точную информацию о
резервах времени каждого вида работы.
Календарный график устанавливает
последовательность и сроки выполнения работ, продолжительность строительства
объекта в пределах нормативного срока с максимально возможным совмещением работ
на объекте с учетом ограничений на людские ресурсы. Выполнение этих требований
достигается путем организации строительства поточным методом.
Сменность работ 1 и 2 сменная.
Сетевой график - сетевая модель, содержащая
временные параметры. В строительстве сетевая модель - ориентированный граф, в
котором дугами обозначают работы, а вершинами события.
В ходе построения сетевого графика принята
следующая последовательность работ.
Сначала производится подготовка территории,
работа ведется в одну смену. Затем ведутся механизированные земляные работы и
по окончании их добор грунта. В момент начала механизированных земляных работ
начинаются неучтенные работы, которые распределяем таким образом, что бы на
графике потребности в ресурсах не было так называемых “колодцев”. После
окончания МЗР производится ввод коммуникаций. После добора грунта
осуществляется монтаж фундаментных блоков, затем гидроизоляция подземной части
фундамента. Монтажные работы подземной части производим автомобильным краном.
После окончания работ по подземной части осуществляем обратную засыпку.
Монтажные работы надземной части осуществляется
башенным краном, поэтому по завершении обратной засыпки производится монтаж
башенного крана, затем монтаж конструкций надземной части, а затем демонтаж
башенного крана. После разборки конструкций крана проводятся кровельные работы.
Ручные работы на этаже по требованиям техники
безопасности производятся только после окончания монтажа конструкций краном на
трех вышележащих этажах. Поэтому кирпичная кладка и заполнение окон начинаются
после окончания монтажных работ на 1 - 3 этажах и разбиваются на захватки по
этажам. После окончания заполнения окон на этаже производится остекление, затем
электромонтаж. Заполнение дверей производится только после окончания заполнения
окон на всех этажах, так как эти процессы осуществляются одной бригадой.
Сантехнические работы производятся после устройства кирпичных стен и на
захватки не разбиваются. После окончания сантехнических работ, заполнения
дверей и электромонтажных работ производятся штукатурные работы. Затем одновременно
осуществляется звукоизоляция и гидроизоляция полов всего здания. Цементная
стяжка, выдерживание бетона и побелка потолков разбиты на захватки по этажам и
производятся последовательно на каждом этаже, облицовка стен плиткой и оклейка
стен обоями и окраска стен масляной краской осуществляются одновременно. После
окончания побелки производится клеевая окраска стен, этот процесс не
разбивается на захватки.
По окончании отделки стен производится
устройство полов, далее производят монтаж оборудования, а затем
пуско-наладочные работы. Устройство встроенных шкафов и антресолей осуществляют
после устройства паркетных полов и до начала отделки входа. Отделку входа
производят после монтажа оборудования. Работы по благоустройству территории
начинают после демонтажа башенного крана. После окончания всех работ происходит
сдача объекта.
. Определение потребности в строительных машинах
и механизмах
Выбор башенного крана.
График потребности в трудовых ресурсах строится
после календарного графика.
По готовому графику потребности в трудовых
ресурсах вычисляется коэффициент неравномерности использования трудовых
ресурсов по следующей формуле:
где Nmax - максимальное число
рабочих;
Тстр - продолжительность
строительства.
В данном проекте
Коэффициент К должен лежать в
пределах 1.5 - 1.7. Это условие выполняется.
Для построения графика электрической
нагрузки необходимо составить список потребных строительных машин и механизмов,
потребляющих электроэнергию.
Список необходимых строительных
машин и механизмов
|
Наименование
машин и механизмов
|
Количество
|
Мощность,
кВт
|
|
1.
Бульдозер гусенечный с поворотным отвалом ДЗ - 19
|
2
шт.
|
|
|
2.
Экскаватор одноковшовый ЭО - 4121А
|
1
шт.
|
|
|
3.
Автосамосвал ГАЗ - 53Б, вместимость кузова 4,2 м3
|
2
шт.
|
|
|
4.
Кран автомобильный КС 4561
|
1
шт.
|
|
|
5.
Кран башенный КБк - 160.2
|
2
шт.
|
61.5
кВт.
|
|
6.
Машина для нанесения битумных мастик СО - 122А
|
4
шт.
|
4.9
кВт.
|
|
7.
Машина для приема, приготовления, подачи растворов СО 126
|
3
шт.
|
4
кВт.
|
|
8.
Машина для наклейки рубероида с наплавленным слоем мастики
|
1
шт.
|
4.9
кВт.
|
|
9.
Штукатурный агрегат СО - 57А
|
2
шт.
|
5.25
кВт.
|
|
10.
Штукатурно-затирочная машина СО 86А
|
2
шт.
|
2.2
кВт.
|
|
11.
Окрасочный агрегат СО - 47А
|
6
шт.
|
0.27
кВт.
|
|
12.
Электрокраскопульт СО - 61
|
1
шт.
|
0.27
кВт.
|
|
13.
Компрессорная установка СО - 7А
|
3
шт.
|
4
кВт.
|
|
14.
Сварочная аппаратура переменного тока СТЭ - 24
|
3
шт.
|
54
кВт.
|
Список основных строительных конструкций
|
Наименование
строительных конструкций, изделий, материалов.
|
Единицы
измерения
|
Количество
|
|
1.
Фундаментные блоки
|
шт.
|
142
|
|
2.
Панели: наружные внутренние
|
шт.
шт.
|
252
225
|
|
3.
Крупнопанельные перегородки
|
шт.
|
180
|
|
4.
Кирпич
|
тыс.шт
|
13.8
|
|
5.
Плиты перекрытий
|
шт.
|
280
|
|
6.
Лестничные марши
|
шт.
|
22
|
|
7.
Плиты балконов и лоджий
|
шт.
|
36
|
|
8.
Блоки сантехкабин
|
шт.
|
54
|
|
9.
Вентиляционные блоки
|
шт.
|
108
|
|
10.
Плиты покрытия
|
шт.
|
28
|
|
11.
Гидроизоляционные материалы
|
100
м2
|
8.5
|
|
12.
Звукоизоляционные материалы
|
100
м2
|
90.6
|
|
13.
Цементный раствор
|
м3
|
52
|
|
14.
Плитка
|
м2
|
752
|
|
15.
Линолеум
|
м2
|
2160
|
|
16.
Оконные рамы
|
шт.
|
162
|
|
17.
Дверные рамы
|
шт.
|
342
|
|
18.
Стекло
|
м2
|
648
|
|
19.
Обои
|
м2
|
3418
|
Стройгенплан
А) Подбор кранов, их привязка, определение зон
действия
Выбор кранов осуществлялся в два этапа:
. Исходя из габаритов здания выбираем для
монтажа подземной части самоходный кран на автомобильном шасси, а для монтажа
надземной части кран башенный рельсовый.
. Внутри выбранной группы по рабочим
характеристикам выбираем марку крана:
Самоходный кран
) Необходимая грузоподъемность крана= qmax * k =
1,5 * 1.1 = 1.65 т,
где qmax = 1.75т (вес фундаментного блока) вес
наиболее тяжелого из монтируемых элементов;
k - коэффициент, учитывающий массу
грузозахватных устройств.
) Требуемый вылет стрелы кранак = а
+ с + bn = 2.75 + 2 + 6.0 = 10.75 м,
где а - расстояние от оси вращения
крана до края бровки и ширина заложения откоса;
с - расстояние от подошвы откоса до
оси стены здания;
bn - ширина подземной части.
) Требуемая высота подъема крюка
крана
Нтр = h1 + h2 + h3 + h4 = 0.5 + 0.3
+ 0.5 + 2 = 3.3 м,
где h1 - высота самого высокого
монтажного уровня;
h2 - высота элемента. монтируемого
на этот уровень;
h3 - зазор в 0.5 м;
h4 - высота грузозахватных
устройств.
Принимаем автомобильный кран КС-4561
со следующими характеристиками:
вылет наименьший 14м;
грузоподъемность 16 т;
высота подъема стрелы 24м.
Башенный кран
) Выбор крана производят на
основании анализа следующих параметров:
Требуемой грузоподъемности Q;
Максимального вылета стрелы L;
Наибольшей высоты подъема крюка Н.
Требуемая грузоподъемность
выбираемого крана G рассчитывается по формуле:
кр = Gгр + G гр.у * k = 5.7+ 0.1 *
1.1 = 5.81 т;
где: Gгр=5.7т(масса плиты покрытия)-
масса поднимаемого элемента (груза);гр.у - масса грузозахватного устройства G
гр.у.=01 т.
Вылет стрелы определяется по
формуле:
= a/2 + b + c = 7.5/2 + 3 + 22.4 =
29.15 м.
где: a - ширина подкранового пути.-
расстояние от ближнего к зданию подкранового рельса до ближайшей выступающей
части здания.
с - расстояние от центра тяжести
груза до наиболее выступающей части здания.
Требуемую высоту подъема грузового
крюка крана находим по формуле:
Нтр = hо + hзап + hэл + hг = 28.55 +
0.5 + 2.8 + 1.2 = 33.05 м,
где: hо - уровень верхнего
монтажного горизонта;зап - запас по высоте, необходимый для установки и проноса
элемента над ранее смонтированными конструкциями, принимается по правилам
техники безопасности 0.5 м;эл - наибольшая из высот поднимаемых грузов в
положении подъема;г - высота грузозахватного устройства.
Принимаем башенный кран КБ - 405 со
следующими характеристиками:
|
1.
Грузоподъемность максимальная минимальная
|
4
т. 8 т.
|
|
2.
Вылет
|
30
м.
|
|
3.
Высота подъема
|
54
м.
|
Привязка монтажных кранов необходима для
определения возможности монтажа выбранным механизмом и безопасных условий его
работы.
Самоходный кран
Поперечная привязка
где В - минимальное расстояние от
ближайшей к котловану опоры крана до наружной грани сооружения;
Башенный кран
Поперечная привязка
где В - минимальное расстояние от
оси подкрановых путей до наружной грани сооружения;
bк - колея крана;
lmin - минимальное приближение
ближайшего рельса к выступающим частям здания.
Продольная привязка
где Lп.п. - длина подкрановых путей;
lк.с. - расстояние между крайними
стоянками крана;
H - база крана;
lторм. - величина тормозного пути
крана (не менее 1.5 м);
lтуп. - расстояние от конца рельса
до тупиков (не менее 0.5 м).
Определяемую длину подкрановых путей
корректируем в сторону увеличения с учетом кратности длины полузвена, то есть
6.25 м.
Привязка ограждения подкрановых
путей
Ее производят исходя из
необходимости соблюдения безопасного расстояния между конструкциями крана и
ограждением.
Расстояние от оси ближайшего к
ограждению рельса до ограждения определяют по формуле:
где Rпов - радиус поворотной
платформы крана.
Определение зон действия крана:
а). Монтажная зона - пространство,
где возможно падение груза при установке или закреплении элементов. Она равна
контуру здания плюс 7 метров при высоте здания до 20 метров.
б). Рабочая зона крана - это
пространство, находящееся в пределах линии, которую описывает круг крана. Rmax
= 30 м.
в). Зона перемещения груза -
пространство, находящееся в пределах возможного перемещения груза, подвешенного
на крюке крана. Зона определяется расстоянием по горизонтали от границы рабочей
зоны крана до возможного места падения груза в процессе его перемещения.
Граница зоны определяется суммой максимального рабочего вылета стрелы и ширины
зоны, принимаемой равной 1.5 длины самого длинного элемента.
Rп.г.
= Rmax + 1.5 * lmax = 30 + 1.5 * 4.8 = 37.2 м.
г). Опасная зона - пространство, где
возможно падение груза при его перемещении с учетом вероятного рассеивания при
падении.
оп. = Rmax + 1.5 * lmax + lбез. = 30
+ 1.5 * 4.8 + 7 = 44.4 м.
д). Опасная зона подкрановых путей -
территория, внутри которой запрещено нахождение людей и размещение механизмов.
е). Опасная зона дорог - зона дорог,
которая попадает в опасную зону.
Расчет площадей складов
Расчет необходимых площадей складов
производится в следующей последовательности:
Расчет необходимых запасов хранимых
ресурсов
Выбор метода хранения
Расчет площади складов по видам
хранения.
Определение производственных запасов
Объем складируемого ресурса:
где Робщ - общий объем ресурса; Т -
весь период строительства; Тн - нормативный срок, так как строящееся здание
расположено в пригороде и доставка строительных материалов не представляет
трудностей, принимаем равным 2 дням;- коэффициент неравномерности поступления
материалов; k2 - коэффициент неравномерности потребления материала.
Фактическая площадь склада:
ф = Σ(Sр * кпр)
где Sр - расчетная площадь склада;
кпр - коэффициент проходов и проездов.
р = Sн * Рскл
где Sн - нормативная площадь склада;
Рскл - объем складируемого ресурса.
|
Материалы
и изделия
|
Продолжите-льность
потребления Т
|
Потребность
в ресурсах
|
Коэф.
неравн.
|
Срок
запаса, дни
|
Расчетный
запас материала Рскл = Рсут·Тр
|
Площадь
склада, м2
|
Робщ м3
м3к1к2ТнТр
= Тн·к1·к2Sн - норм.пл. на 1 ресурсаSр = Sн·Рскл,
м2Sф = Sр·кпр
|
м2
|
|
|
|
|
|
|
|
|
|
|
1.
Панели
|
13
|
858.5
м3
|
66.04
|
1.1
|
1.3
|
2
|
2.86
|
188.9
м3
|
1
|
188.9
|
245.6
|
|
2.
Плиты
|
13
|
1663
|
127.9
|
1.1
|
1.3
|
2
|
2.86
|
365.8
м3
|
1
|
365.8
|
475.5
|
|
3.
Лестничные марши
|
13
|
116.5
|
8.9
|
1,1
|
1.3
|
2
|
2.86
|
25.45
м3
|
1
|
25.45
|
33.09
|
|
4.
Блоки сантехкабин
|
13
|
375.65
|
375.65
|
1.1
|
1.3
|
2
|
2.86
|
76.74
м3
|
1
|
76.74
|
99.76
|
|
5.
Вент. блоки
|
13
|
9.50
|
133.06
|
1.1
|
1.3
|
2
|
2.86
|
27.18
м3
|
1
|
27.18
|
35.33
|
Панели
Тр = Тн * к1 * к2 = 2 * 1.1 * 1.3 =
2.86 дней. Рскл = Рсут * Тр = 62.3 * 2.86 = 178.2 м3.р = Sн * Рскл = 1 * 178.2
= 178.2 м2. Sф = Sр * кпр = 178.2 * 1.3= 231.7 м2.
Кирпич
Тр = Тн * к1 * к2 = 2 * 1,1 * 1,3 =
2,86 дней. Рскл = Рсут * Тр = 27* 4 = 108 м3..р = Sн * Рскл = 1 * 108 = 108 м2.
Sф = Sр * кпр = 108 * 1.3= 104.4 м2.
Плиты
Тр = Тн * к1 * к2 = 2 * 1,1 * 1,3 =
2,86 дней. Рскл = Рсут * Тр = 128.9 * 2,86 = 362.7 м3.р = Sн * Рскл = 1,0 *
362.7 = 362.7 м2. Sф = Sр * кпр = 362.7 * 1.3 = 471.5 м2.
Лестничные марши
Тр = Тн * к1 * к2 = 2 * 1,1 * 1,3 =
2,86 дней. Рскл = Рсут * Тр = 8.9 * 2,86 = 25.45 м3.р = Sн * Рскл = 1 * 25.45 =
25.45 м2. Sф = Sр * кпр = 25.45 * 1.3 = 33.09 м2.
Блоки сантехкабин
Тр = Тн * к1 * к2 = 2 * 1,1 * 1,3 =
2.86 дней. Рскл = Рсут * Тр = 26,83 * 2,86 = 76.74 м3.р = Sн * Рскл = 1.0 *
76,74 = 76.74 м2. Sф = Sр * кпр = 76.74 * 1.3 = 99.76 м2.
Вентиляционные блоки
Тр = Тн * к1 * к2 = 2 * 1,1 * 1,3 =
2,86 дней. Рскл = Рсут * Тр = 9,50 * 2,86 = 27,18 м3.р = Sн * Рскл = 1.0 *
27,18 = 27.18 м2. Sф = Sр * кпр = 27.18 * 1.3 = 35.33 м2.
Необходимая площадь складов 975.8
м2.
7. Обоснование решений строительного
генерального плана объекта с расчетами площадей приобъектных складов, временных
зданий и выбором их типов, потребности в воде и электроэнергии
Проектирование временных дорог
Для внутрипостроечных перевозок пользуются
автомобильным транспортом. Строительная площадка должна иметь удобные подъезды
и внутрипостроечные дороги для осуществления бесперебойного подвоза материалов,
машин и оборудования в течении всего строительства.
Проектирование временных автодорог включает:
разработку схемы движения транспорта и
расположение дорог в плане;
определение параметров дорог;
установление опасных зон;
назначение конструкции дорог.
Схема движения автотранспорта должна обеспечить
подъезд в зону действия монтажных и погрузочно-разгрузочных механизмов, к
складам, мастерским, бытовым помещениям. Построечные дороги должны быть
кольцевыми, на тупиковых подъездах устраивают разъездные и разворотные
площадки.
Параметрами временных дорог являются число полос
движения, ширина полотна и проезжей части, радиусы закругления. В данном
проекте принимаем двухполосную дорогу шириной 6 метров, радиус закругления 12
метров.
Конструкция дорог принимается из сборных
железобетонных инвентарных плит положенных на песчаную пастель толщиной 20 мм.
Размер плит 3500 x 6000 мм.
В) Расчет временных зданий
Временными зданиями называют надземные
подсобно-вспомогательные и обслуживающие объекты, необходимые для обеспечения
производства строительно-монтажных работ. По назначению временные здания делят
на производственные, административные, санитарно-бытовые, складские, жилые и
общественные. По конструктивному решению здания могут быть инвентарные и
неинвентарные.
Потребность во временных зданиях и сооружениях
определяется по действующим нормам на расчётное количество рабочих и
инженерно-технических работников.
Максимальная численность рабочих:
|
муж.
16 чел.
|
|
|
|
|
жен.
8 чел.
|
Максимальная численность инженерно-технических
работников:
|
муж.
3 чел.
|
|
|
|
|
жен.
1 чел.
|
Максимальная численность рабочих в наиболее
загруженную смену:
|
муж.
16 чел.
|
|
|
|
|
жен.
18 чел.
|
Максимальная численность инженерно-технических
работников в наиболее загруженную смену:
|
муж.
2 чел.
|
|
|
|
|
жен.
1 чел.
|
Максимальное количество рабочих принимаем по
графику потребности в трудовых ресурсах. Количество рабочих в максимально
загруженную смену принимаем равным максимальному количеству рабочих, т. к. в
период пика потребления трудовых ресурсов работы ведутся в одну смену
|
Наименование
временных зданий
|
Числ.
перс., чел.
|
Норма,
м2 / чел.
|
Расчет.
площ. S, м2
|
Фактическая
площадь Sф, м2
|
Размеры,
м x м
|
Количест.
зданий, шт.
|
Используемый
тип
|
|
I.
Административные
|
|
|
1.
Контора на 3 места по обслуживанию 100-200чел.
|
4
|
4
|
3*4
|
24.3
|
2.7
x 9
|
1
|
контейн.
|
|
2.
Контора мастера с помещением для обогрева и кладовой
|
|
4
|
|
41.4
|
6
x 6,9
|
1
|
контейн.
|
|
3.
Кабинет по технике безопасности и помещение для собраний
|
|
15м²
|
|
24.3
|
2.7
x 9
|
1
|
контейн.
|
|
4.
Сторожевая будка
|
2
|
|
2*3=6
|
6
|
2
x 1.5
|
2
|
неинв.
|
|
II.
Санитарно-бытовые здания
|
|
|
5.
Гардероб с душевой и помещение для личной гигиены женщин
|
54
М 16 Ж 16
|
0.9
0.9
|
0.9*16
0.9*16
|
24.3
24.3
|
2.7
x 9 2.7 x 9
|
М
1
|
Ж
1
|
контейн.
контейн.
|
|
6.
Туалет
|
М
16 Ж 8
|
|
|
8.1
8.1
|
2,7
x 3 2.7 x 3
|
1
|
1
|
контейн.
контейн.
|
|
7.
Умывальная
|
24
|
0.05
|
1.2
|
8.1
|
2.7
x 3
|
1
|
контейн.
|
|
8.
Помещение для обогрева рабочих
|
24
|
1
|
24
|
16.2
|
2.7
x 9
|
2
|
контейн.
|
|
9.
Помещение для сушки специальной одежды и обуви
|
24
|
0.2
|
4.8
|
16.2
|
2.7
x 6
|
1
|
контейн.
|
|
10.
Столовая на 20 мест
|
24
|
1.2
|
28.8
|
124.2
|
6.9
x 18
|
1
|
контейн.
|
|
11.
Здравпункт, м²
на
270чел
|
|
|
|
27.9
|
4.0
x 6.9
|
1
|
контейн.
|
|
III.
Производственные
|
|
12.
Кладовая материальная и инструментальная
|
|
|
|
68.4
|
6.0
x 11.4
|
1
|
контейн.
|
|
13.
Отапливаемый материальный склад
|
|
|
|
360
|
12.0
x 30.0
|
1
|
сборно-разборный
|
|
14.
Холодный материальный склад
|
|
|
|
288
|
12.0
x 24.0
|
|
сборно-разборный
|
Общая площадь временных зданий 1069.8 м².
Из вышеописанных зданий формируют бытовой
городок. Располагают его на территории строительства таким образом, чтобы
наиболее удалённая точка возводимого объекта располагалась на расстоянии не
более, чем 150 м.
Городок огораживают, подводят к нему временные
коммуникации.
Г) Расчет потребности в электроэнергии,
освещении
Порядок проектирования временного
электроснабжения строительства следующий:
расчет электрических нагрузок по периоду пика;
определение количества и мощностей
трансформаторных подстанций;
размещение на СГП трансформаторных подстанций,
силовых и осветительных сетей;
составление схемы электроснабжения.
Расчет электрической нагрузки проводится по
формуле:
где Ртр - требуемая мощность;
α - коэффициент, учитывающий
потери в сети;
кс1 … кс5 - коэффициенты спроса,
зависящие от числа потребителей;
соsφ1 … соsφ5 -
коэффициенты мощности, зависящие от количества загрузки потребителей;
ΣРс - суммарная мощность
силовых потребителей;
ΣРт - суммарная мощность,
необходимая для технологических нужд;
ΣРо.в. - суммарная мощность
внутреннего освещения;
ΣРо.н. - суммарная мощность
наружного освещения;
ΣРсв - суммарная мощность всех
установленных сварочных трансформаторов.
Суммарную мощность силовых
потребителей в период пика определяем по графику электрической нагрузки.
Расчет электрических нагрузок.
Определение мощностей по видам потребителей
|
1.
|
Силовая
электроэнергия
|
= 140,5
кВт.
|
|
-
КБк-160.2, 2 шт.
|
Рс
= 61,5 * 2 = 123 кВт.
|
|
-
машина для приема, приготовления, подачи растворов СО-126, 3 шт.
|
Рс
= 4 * 3 = 12 кВт.
|
|
-
различные мелкие инструменты и механизмы
|
Рс
= 5,5 кВт.
|
|
2.
|
Потребители
для технологических нужд
|
= 0 кВт.
|
|
3.
|
Освещение
внутреннее
|
= 9,48
кВт.
|
|
-
мастерские, конторы, бытовки
|
Рс
= 626,4 * 15 = 9,4 кВт.
|
|
-
закрытые склады
|
Рс
= 41,4 * 2 = 0,08 кВт.
|
|
4.
|
Наружное
освещение
|
= 13,37
кВт.
|
|
-
освещение территории стройплощадки (164,2 x 112,4)
|
Рс
= 18456,08 * 0,4 = 7,38 кВт.
|
|
-
открытые склады * (12 x 60), 2 шт.
|
Рс
= 1440 * 2,0 = 2,88 кВт.
|
|
-
освещение монтажа
|
Рс
= 1036,8 * 3,0 = 3,11 кВт.
|
|
5.
|
Сварочные
машины
|
|
-
СТЭ-24, 2 шт.
|
Рс
= 54 * 2 = 108 кВт.
|
. Суммарная потребная мощность
Подбор источника электропитания
В качестве источника электропитания
принимаем комплексные трансформаторные подстанции КТП СКБ Мосстроя мощностью
320 кВ А.
Расчет количества прожекторов для:
освещения стройплощадки
где p - удельная мощность
прожектора;
Е - необходимая освещенность;
S - площадь, подлежащая освещению;
pл - мощность лампы.
= 164,2 * 112,4 = 18456,08 м2, p =
0,3 Вт/м2*люкс для ПЗС-35, Е = 2 люкса,л = 500 Вт.
Так как ширина стройплощадки менее
150 м, то мощность прожектора может быть менее 1,5 кВт. Принимаем 11 опор по 2
лампы на каждой.
Высоту установки осветительного
прибора принимаем равной 25 м. При этом расстояние между опорами осветительных
приборов должно лежать в пределах 30 - 100 м.
освещения места производства работ
S = 1036,8 м2, p = 0,3 Вт/м2*люкс
для ПЗС-35, Е = 20 люкс, pл = 500 Вт.
Принимаем 6 опор по 2 лампочки на
каждой.
Д) Расчет потребности в воде, подбор
диаметров труб
Временное водоснабжение
предназначено для обеспечения производственных, хозяйственно-бытовых
и противопожарных нужд. Расчет потребности в воде производится для периода с
наибольшим потреблением. Для этого определяются суточный расход воды по группам
потребителей, исходы из установленных нормативов.
Суммарный расход воды определяется
по формуле
где Qпр - расход воды на
производственные нужды;
Qхоз - расход воды на
хозяйственно-бытовые нужды;
Qпож - расход воды на
противопожарные цели.
где кн.р. - коэффициент неучтенного
расхода воды;
qn - удельный расход воды на
производственные нужды;
nn - число потребителей в наиболее
загруженную смену;
кr - коэффициент часовой
неравномерности;
t - число учитываемых расчетом часов
в смену.
где qх - удельный расход воды на
хозяйственно-бытовые нужды;
qд - расход воды на прием одного
душа;
- количество рабочих в наиболее
загруженную смену;
nд - число человек в душе;
кr1 - коэффициент часовой
неравномерности;
t1 - продолжительность использования
душевой установки;
60 - количество секунд в минуте.
так как площадь строительного
участка менее 10 га.
1. Расход
воды на производственные нужды
|
Потребитель
воды
|
Един.
измер.
|
Количество
(в смену)
|
Расчет
расхода воды, л
|
кr
|
t
|
|
1.
Штукатурные работы
|
1
м2
|
74
|
74
* 7 = 516 л
|
1.5
|
8
|
|
2.
Устройство цементной стяжки
|
1
м2
|
2.81
|
2.81
* 230 = 646л
|
1.5
|
8
|
|
3.
Мойка колес автомашин, шт.
|
шт.
|
3*10
|
7
* 500 = 3500 л
|
1.5
|
8
|
2. Расход
воды на хозяйственно-бытовые нужды
3. Расход
воды на противопожарные цели
Определим необходимый диаметр
трубопровода.
где V - скорость движения воды в
трубе.
Примем трубу диаметром 63мм.
. Решения по производству
геодезических работ
Создание геодезической подосновы для
строящегося объкта
.1. Для составления геодезической
части проекта производства работ в жилищно-гражданском строительстве исходными
данными служат: генеральный план существующей и проектируемой застройки; данные
о геодезической основе строительной площадки, в том числе о красных линиях, и
разбивочной основе строящихся зданий; строительный генеральный план
застраиваемого участка; проект вертикальной планировки; данные о этажности и
конструкциях зданий; планы и разрезы фундаментов и типовых этажей.
.2. В задании на разработку
геодезической части проекта производства работ следует указывать: наименование
организаций - заказчика, генподрядчика, субподрядчиков; наименование,
местоположение объекта, его характеристики и назначение; данные о разбивочной
основе; виды работ, подлежащих включению в геодезическую часть проекта производства
работ; специальные требования, не отраженные в нормативной документации, по
точности строительно-монтажных работ; перечень материалов геодезической части
проекта производства работ (текстовые, расчетные, графические); очередность
составления геодезической части проекта производства работ на отдельные здания,
сроки выдачи материалов.
.3. При разработке геодезической
части проекта производства работ рекомендуется предусматривать примерно
следующую очередность выполнения работ.
. Для подготовительного периода:
создание планового и высотного
обоснования; закрепление выносок основных осей знаками; установка и определение
отметок реперов; разбивка и закрепление промежуточных осей сооружения.
. Для подземной части здания:
разбивка контура котлована и перенос
осей и высот на дно котлована; передача осей и высот на обноски; разбивочные
работы при устройстве фундаментов и свайных полей.
. Для надземной части здания:
передача основных осей и отметок на
цоколь и монтажные горизонты; детальная разбивка и закрепление осей и отметок
на монтажном горизонте; разбивка и закрепление рисок под монтаж элементов;
установка маяков; выверка в процессе установки строительных конструкций в
проектное положение; производство исполнительной съемки и составление отчетной
документации.
. Для инженерных сетей:
плановая разбивка сетей; контроль за
глубиной отрывки траншей, плановой и высотной установкой коммуникаций;
исполнительные съемки проложенных сетей.
. Для монтажа технологического
оборудования:
определение проектного положения оборудования;
контроль при установке и закреплении; исполнительные съемки.
. Для вертикальной планировки:
определение и закрепление линий
нулевых работ; трассирование линий заданного уклона, закрепление точек; перенос
и закрепление в натуре проектных плоскостей; исполнительные съемки
спланированных территорий.
.4. В геодезической части проекта
производства работ особое место должно уделяться составу и содержанию
документации, в которую входят: исполнительные геодезические схемы, чертежи,
профили, разрезы; акты геодезических разбивок и готовности работ; журнал
геодезического контроля; акты геодезической проверки; полевые журналы.
Исполнительная геодезическая
документация подразделяется на внутреннюю и приемо-сдаточную. Внутренняя
исполнительная документация составляется на незавершенный строительно-монтажный
этап и является одним из оснований для выдачи главным инженером строительного
управления (и приравненных к нему организаций) разрешения на производство
строительно-монтажных работ. К внутренней исполнительной документации
относятся: исполнительные схемы по разбивке контуров котлованов; акты и
исполнительные схемы по разбивке промежуточных осей; акты разбивки свайных
полей; акты и исполнительные схемы по подготовленным к бетонированию опалубкам;
акты детальной геодезической разбивки на монтажных горизонтах под монтаж яруса,
цоколя, этажа; исполнительные схемы нивелировки бетонных подготовок под полы;
рабочие схемы по установке маяков.
Внутренняя исполнительная
документация может быть составлена и на другие подготовительные виды работ.
Порядок ее оформления устанавливает главный инженер строительно-монтажной
организации. Она не предъявляется рабочей и Государственной комиссиям при сдаче
объекта в эксплуатацию.
Приемо-сдаточная исполнительная
документация составляется на завершенный этап строительно-монтажных работ и
предъявляется авторскому надзору, органам Госархстройконтроля, генподрядным
(субподрядным) организациям, заказчику, рабочим и государственным комиссиям по
приемке объекта в эксплуатацию.
Приемо-сдаточная исполнительная
документация включает в себя: планово-высотные схемы по всем видам инженерных
коммуникаций; планово-высотные схемы и акты по готовому котловану, земляному
полотну дорог и другим земляным сооружениям; планово-высотные схемы свайных полей;
планово-высотные схемы и акты готовых фундаментов (свайных, сборных, монолитных
и др.); планово-высотные схемы колонн; поэтажные планово-высотные схемы зданий
и сооружений в кирпичном, крупноблочном, крупнопанельном исполнении;
планово-высотные схемы по лифтовым шахтам; планово-высотные схемы и акты дорог;
планово-высотные схемы по благоустройству.
Геодезическая исполнительная
документация должна находиться в производственно-техническом отделе
строительно-монтажной организации и у заказчика. При сдаче объекта в
эксплуатацию предъявляется экземпляр, находящийся в производственно-техническом
отделе.
На стадии подготовки площадки к
строительству должна быть создана опорная геодезическая разбивочная основа,
главное назначение которой привязать продольные и поперечные оси здания на
местности. Исходными материалами для разбивки служат стройгенплан, рабочие
чертежи сооружения и разбивочные чертежи. В соответствии с геодезическим планом
определяют положение сооружения на местности, его привязку в горизонтальном и высотном
отношениях.
Для крупных объектов должны быть
обязательно постоянно закреплены несколько геодезических знаков.
Закрепление геодезических знаков в
грунт должно осуществляться путем заглубления репера в грунт ниже зоны
промерзания грунта на min 1000 mm.
Виды постоянных геодезических
знаков:
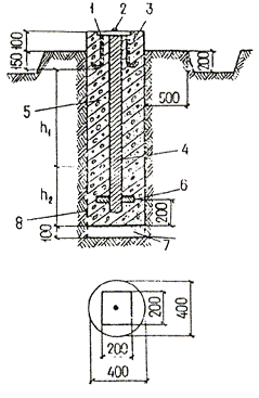
- металлическая пластина размером
200´200´15 мм; 2 -
заклепка из металла; 3 -анкер Æ
15 мм; 4 - металлическая труба Æ
50-70 мм; 5 - бетон классов В7,5 - В12,5; 6 - якорь; 7 - песок; 8 - два слоя
рубероида РЧ = 320; h1 соответствует наибольшей глубине промерзания грунта; h2
определяется по таблице
. Решения по технике безопасности
Охрана труда рабочих должна
обеспечиваться выдачей администрацией необходимых средств индивидуальной
защиты (специальной одежды, обуви и других), выполнением мероприятий по
коллективной защите рабочих (ограждения, освещение, вентиляция, защитные и
предохранительные устройства и приспособления и т.д.), санитарно-бытовыми
помещениями и устройствами в соответствии с действующими нормами и характером
выполняемых работ. Рабочим должны быть созданы необходимые условия труда,
питания и отдыха.
В процессе производства
строительно-монтажных работ должны соблюдаться требования ГОСТ и СНиП по
технике безопасности в строительстве.
Состав и содержание решений по
технике безопасности в проектах производства работ должны соответствовать
требованиям СНиП 12-3-2001.
При разработке календарного плана
производства работ необходимо предусматривать такую последовательность
выполнения работ, чтобы любая из выполняемых работ не являлась источником
производственной опасности для одновременно выполняемых или последующих работ.
Сроки выполнения работ и потребность
в трудовых ресурсах следует устанавливать с учетом обеспечения безопасной
последовательности выполнения работ и времени на выполнение мероприятий по
обеспечению условий безопасного производства работ (временное крепление
элементов строительных конструкций в проектном положении, устройство откосов
или креплений стен выемок в грунте, установка временных защитных ограждений при
выполнении работ на высоте и др.).
На строительном генеральном плане
должны быть обозначены опасные зоны вблизи мест перемещения грузов
подъемно-транспортным оборудованием, вблизи строящегося здания или сооружения,
а также воздушной линии электропередачи.
Границы опасных зон должны
устанавливаться согласно требованиям СНиП 12-3-2001, а в необходимых случаях
определяться расчетом, который должен приводиться в пояснительной записке.
На строительном генеральном плане
должны быть обозначены места размещения санитарно-бытовых помещений,
автомобильных и пешеходных дорог, определяемых с учетом опасных зон,
расположение источников освещения и ограждение территории строительной
площадки.
Санитарно-бытовые помещения,
автомобильные дороги и проходы для работающих должны располагаться за пределами
опасных зон.
В случае нахождения временных
автомобильных дорог в зоне перемещения краном груза должны предусматриваться
решения об установке сигнального ограждения, надписей или дорожных знаков,
предупреждающих о въезде в опасную зону.
Освещенность строительной площадки
должна проектироваться в соответствии с «Инструкцией по проектированию
электрического освещения строительных площадок».
Освещение должно предусматриваться
рабочим, охранным и аварийным.
Расчет освещенности должен
приводиться в пояснительной записке.
При выборе ограждения территории
строительной площадки и участков производства работ должны учитываться
требования ГОСТ 23407-78.
В технологических картах или схемах
на выполнение отдельных видов работ при определении последовательности и
методов выполнения работ необходимо учитывать опасные зоны, возникающие в
процессе работ.
При необходимости выполнения работ в
опасных зонах в технологической карте должны предусматриваться мероприятия по
защите работающих от действия производственной опасности.