Исследование оптических характеристик функционального преобразователя свет-частота на основе высокоомного GaAs
Министерство
образования и науки Российской Федерации
Федеральное
государственное бюджетное образовательное учреждение высшего профессионального
образования
Саратовский
государственный университет имени Н.Г. Чернышевского
Факультет
нано- и биомедицинских технологий
Кафедра
физики полупроводников
Выпускная
квалификационная работа бакалавра
по
направлению 210100 «Электроника и наноэлектроника»
Тема работы:
Исследование
оптических характеристик функционального преобразователя свет-частота на основе
высоомного GаAs
Выполнил
студент 4 курса
Старынин
Михаил Юрьевич
Научный
руководитель
профессор,
д.ф.-м.н. А.И. Михайлов
Саратов,
2014
Введение
1. Исследования
неустойчивостей тока в полупроводниках
2. Современное
состояние элементной базы полупроводниковых оптических преобразователей
2.1
Элементная база
.2
Сферы применения
. Экспериментальное
исследование оптических характеристик преобразователя свет-частота с
металлическими контактами различной формы
.1
Конструкция однокристального преобразователя свет-частота и методика проведения
экспериментального исследования
.2
Результаты экспериментального исследования оптических характеристик
преобразователя свет-частота
.3
Анализ и интерпретация результатов экспериментального исследования
.
Функциональные свойства
Аналоги
Выводы
Введение
Развитие цифровой электроники на сегодняшний
день тесно связанно с возможностями интегральной микроэлектроники. Одним из
наиболее перспективных направлений современной микроэлектроники является
функциональная микроэлектроника, основанная на использовании динамических
неоднородностей, обеспечивающих несхемотехнические принципы работы устройств. В
функциональной микроэлектронике используется взаимодействие потоков электронов
с акустическими и электромагнитными волнами в твёрдом теле, свойства
полупроводников, магнетиков и сверхпроводников в магнитных и электрических
полях и др. [1,2]. В отличие от используемых в схемотехнической
микроэлектронике статических неоднородностей, формируемых в процессе
изготовления прибора, динамические неоднородности возникают в объеме твердого
тела под действием внешних физических факторов при функционировании прибора и
выступают в роли непосредственных носителей информации. Использование
возможностей функциональной микроэлектроники позволяет заменить сложные
интегральные схемы их функциональными аналогами, что, в свою очередь, дает
очевидные преимущества: меньший размер, простота конструкции, меньшее
энергопотребление и др.
Как известно, все современные полупроводниковые
датчики являются аналоговыми приборами, и для применения их в цифровой
электронике необходимо использование аналого-цифровых преобразователей (АЦП).
Кроме дополнительного потребления электроэнергии, АЦП также вносит погрешности
в детектируемый сигнал, которые состоят из ошибок квантования и апертурных
ошибок [3]. Ошибки квантования являются следствием ограниченного разрешения АЦП
и не могут быть устранены ни при каком типе аналого-цифрового преобразования.
Другой вид ошибок связан с тем, что любой шум, или «дрожание» фазы тактовой частоты
АЦП, смешивается с полезным сигналом и в результате происходит искажение формы
преобразуемого сигнала. Подобные системы плохо подходят для детектирования
сложных сигналов в различных системах передачи данных.
Установление механизмов управления динамикой
доменов сильного поля, исследования особенностей проявления этих
неустойчивостей в условиях воздействия однородного или локализованного
оптического излучения открывают перспективы создания различных электронных,
оптоэлектронных и электрооптических элементов и устройств с широкими
функциональными возможностями, способных осуществлять прием, обработку,
хранение, передачу и отображение сложных информационных сигналов в широком
диапазоне частот (от десятков kHz до десятков GHz). Синтез таких систем с использованием
планарной технологии позволяет совместить неоспоримые достоинства интегральной
электроники с большими возможностями функциональных компонентов. А переход от
схемотехнической к функциональной интеграции в таких микроэлектронных
функциональных устройствах снимает необходимость создания множества
мелкоструктурных элементов и межсоединений и обеспечивает возможность
локализованного оптического воздействия на активную область отдельного
элемента.
Таким образом, совмещение функции детектора и
аналогово-цифрового преобразователя в одном функциональном приборе позволит
избавиться от описанных недостатков АЦП. В качестве такого функционального
прибора может быть реализован фотоэлектрический преобразователь свет-частота на
основе высокоомного арсенида галлия.
В связи с этим, целью данной работы является
исследование воздействия электромагнитного излучения видимого и ИК диапазонов
на параметры токовых колебаний в мезапланарных структурах на основе
высокоомного арсенида галлия n-типа.
Для достижения поставленной цели решались
следующие задачи:
анализ литературы, посвященной исследованиям
неустойчивостей тока в полупроводниках;
анализ современного состояния элементной базы
полупроводниковых фотоэлектрических преобразователей;
экспериментальное исследование воздействия
электромагнитного излучения видимого и части ИК диапазонов на постоянную
составляющую тока, амплитуду и частоту токовых колебаний в мезапланарных
структурах на основе высокоомного арсенида галлия n-типа с различной формой
контактных площадок;
экспериментальное исследование влияния
приложенного к мезаструктуре напряжения на характер зависимости частоты от
падающей мощности лазерного излучения;
анализ и интерпретация полученных
экспериментальных результатов;
1. Исследования неустойчивостей тока в полупроводниках
Для построения функциональных устройств
используются нелинейные активные среды, в объеме которых возможно образование и
распространение динамических неоднородностей электрического поля. В
функциональной электронике динамические неоднородности в однородном объеме
твердого тела являются непосредственными носителями информации и в отличие от
статических неоднородностей создаются не в процессе изготовления электронного
устройства, а под действием внешних факторов при функционировании электронного устройства.
Известно большое количество динамических неоднородностей различной физической
природы. Это ансамбли заряженных частиц и квазичастиц (зарядовые пакеты,
флуксоны и т.п.), домены (электрические домены, цилиндрические магнитные домены
и т.п.), динамические неоднородности волновой природы (поверхностные
акустические волны, магнитные статические волны и т.п.). Образование
динамической неоднородности осуществляется за счет различных эффектов,
возникающих в полупроводниковых структурах. Наиболее перспективными средами для
функциональной электроники, в которых возможно возникновение динамических
неоднородностей электрического поля, являются многодолинные широкозонные
полупроводники (GaAs,
GaN, InP, CdTe
и др.). В таких нелинейных средах в сильных электрических полях вследствие
зависимости подвижности электронов от напряженности электрического поля
возможно наблюдение известного эффекта Ганна [4, 5].
Другим типом неустойчивости, проявляющимся в
сильных электрических полях, является рекомбинационная неустойчивость тока,
обусловленная захватом электронов глубокими уровнями [6-11]. Из-за многообразия
физических факторов, которые не всегда удается контролировать, рекомбинационные
неустойчивости тока занимают ведущее место среди других видов неустойчивостей
как по количеству, так и по противоречивости литературных данных.
Анализ работ по рекомбинационным неустойчивостям
тока [12,13] показывает, что необходимым условием существования колебаний
является наличие в образцах электронных ловушек с глубокими энергетическими
уровнями. Такие ловушки создаются либо введением примеси, либо связаны с
наличием всевозможных дефектов или поверхностных состояний.
В работах [14,15] неустойчивость тока
связывается с периодическим заполнением и опустошением поверхностных состояний
и, соответственно, изменением высоты контролируемого ими потенциального
барьера, что позволяет выделить определенный вид неустойчивости -
поверхностно-барьерную неустойчивость тока.
Возникновение области отрицательного
дифференциального сопротивления на вольт-амперной характеристике (ВАХ) образца
и соответствующей рекомбинационной неустойчивости тока обусловлено зависимостью
концентрации свободных электронов от напряженности электрического поля.
Впервые зависимость скорости захвата электронов
от энергии была исследована при комнатной температуре для нейтральных атомов
никеля и однократно заряженных отрицательных ионов меди [16]. Было обнаружено,
что скорость захвата центрами Cu-
увеличивается с ростом энергии электронов, соответствуя не зависящему от
энергии электронов сечению захвата. Несмотря на отталкивающий заряд ионов меди Cu-,
сечение захвата на них было не намного меньше, чем на атомах Ni0.
Предполагалось, что относительная неэффективность кулоновского барьера
обусловлена туннелированием электронов.
При исследовании образца Ge
n-типа, содержащего
ионы Au-,
при 77 К было обнаружено увеличение скорости захвата с ростом энергии
электронов, но оно не было достаточно сильным для возникновения ОДС [17].
Снижение температуры до 20 К и использование образцов, легированных Sb
и Au в таком
соотношении, что захват электронов происходил в основном на ионах Au2-,
позволило Ридли и Пратту получить ОДС и наблюдать возникновение доменной
неустойчивости [18].
ОДС и когерентные колебания, обусловленные
механизмом захвата электронов, были обнаружены при 77 К также в образцах Ge,
легированного Sb и Cu
в таком соотношении, что захват происходил в основном на ионах Cu
[19]. ОДС, вызванное этим механизмом, наблюдалось и в n-GaAs.
Такое наблюдение впервые было сделано в измерениях, проведенных при комнатной
температуре на высокоомном материале, компенсированном кислородом. В полях,
превышающих пороговое (800 В/см), до которого характеристика была омической, в
образце возникали сильные колебания тока. Период колебаний изменялся от миллисекунд
до нескольких секунд в зависимости от температуры и приложенного напряжения.
В работе [20] были исследованы низкочастотные
осцилляции тока в высокоомных образцах CdSnP2
(ρ
≥
104 Ом·см), легированных Cu,
в сильных электрических полях. Исследования проводились при Т = 77 К на
образцах различной длины с двумя омическими контактами при освещении белым
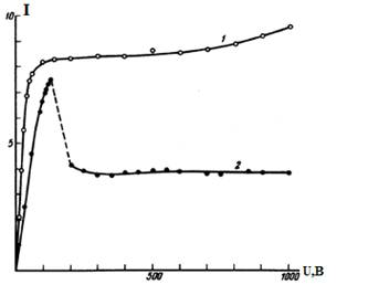
рассеянным светом. Как видно из рисунка 1, вольт-амперная характеристика при
слабой подсветке (кривая 1) в полях, превышающих 0,5 кВ/см имеет сублинейный
характер с участком насыщения тока, сохраняющимся вплоть до 7 кВ/см. При
интенсивности подсветки выше некоторого порогового значения вид зависимости I(V)
существенно изменяется. В полях свыше 1 кВ/см возникали низкочастотные
колебания тока большой амплитуды. Зондовые исследования и изучение кинетики
образования «скачка тока» на вольтамперной характеристике показали, что в
исследовавшихся образцах CdSnP2
при полях превышающих 1 кВ/см наблюдается участок объёмной отрицательной
дифференциальной проводимости и образуется перемещающийся по образцу домен
сильного поля.
Авторами работы было сделано предположение, что
наблюдающиеся низкочастотные неустойчивости в CdSnP2(Cu)
могут быть обусловлены захватом горячих электронов на отталкивающие центры (Ev
+ 0,92) эВ или (Ec
- 0,03) эВ в образцах с различным количеством компенсирующей акцепторной
примеси Cu.
Рис. 1. Вольт-амперные характеристики образца CdSnP2
при малом (1) и большом (2) уровнях подсветки. Масштаб по оси ординат для
кривой 1 - 10-7 А/дел, для кривой 2 - 10-5 А/дел. Длина
образца L = 1 мм
В высокоомном n-GaAs
возникновение медленно движущихся доменов, связанных с зависящим от поля
захватом, было обнаружено Барро. Критические поля возникновения таких доменов
лежали в пределах от 90 В/см до 3100 В/см в зависимости от типа примесных
центров, температуры, освещённости образца и других факторов. Скорость доменов
может лежать в пределах приблизительно от 10-5 до 104
см/с.
В работе [21] авторами была предложена модель
захвата электронов в структурах эпитаксиальная пленка n-GaAs
- полуизолирующая подложка. Модель основана на предположении, что горячие
электроны, появляющиеся в плёнке в сильных электрических полях, проникают через
барьер, имеющийся на границе плёнка-подложка, и захватываются на примесные
центры в полуизолирующей подложке. Справедливость модели подтверждалась
экспериментами по изменению высоты барьера на границе раздела с помощью
напряжения, прикладываемого между пленкой и подложкой.
Было установлено что всем приборам,
изготовленным из эпитаксиальных пленок n-GaAs,
выращенных на полуизолирующей подложке, свойственен захват свободных носителей
заряда со следующими особенностями:
) высокая скорость захвата (характерное время 10-9
с, чему соответствует сечение 10-13 см2 при концентрации
центров 1015 см3);
) особенности влияния подсветки на эффект
захвата показали, что в нем участвуют ловушки с уровнями энергии на 0,4-0,8 эВ
ниже дна зоны проводимости. Так как упомянутые уровни в низкоомной пленке
полностью заполнены (уровень Ферми на глубине Ec
- 0,2 эВ) и не могут участвовать в захвате, было выдвинуто предположение, что
захват электронов происходит на уровни, расположенные в подложке; проникновение
электронов из плёнки в подложку связано с преодолением потенциального барьера
высотой 0,3-0,4 эВ, имеющегося на границе раздела пленка - подложка.
В работах [22-26] было экспериментально
установлено, что в длинных высокоомных планарно-эпитаксиальных структурах на
основе n-GaAs возможно наблюдение отрицательной дифференциальной проводимости и
соответствующих осцилляций тока, частота, амплитуда и форма которых может в существенной
степени определяться величиной приложенного напряжения, интенсивностью и
локализацией засветки. Математическое моделирование [25, 16] показало, что
наблюдаемые колебания тока могут быть обусловлены зависящим от поля механизмом
захвата свободных носителей заряда на глубокие примесные уровни, характерным
для рекомбинационных неустойчивостей. Проведенные до настоящего времени
экспериментальные исследования [22-26] не позволили установить конкретные
факторы, определяющие возникновение указанных неустойчивостей тока.
Возможность применения рекомбинационной
неустойчивости тока в функциональной электронике была описана в работе [27].
Предложенные авторами фотоэлектрические преобразователи представляют собой
эпитаксиальные транзисторные p+-n- структуры на основе кремния с локальным
контактом на n-области. Авторы также показали высокую функциональность и
перспективность применения таких фотопреобразователей в оптоэлектронике.
Появление за последние десятилетия большого
количества новых работ, в которых проводились исследования низкочастотных
колебаний тока в высокоомных полупроводниках, свидетельствует о нарастающем
интересе к данной теме.
2. Современное состояние элементной базы
полупроводниковых фотоэлектрических преобразователей
Раздел электроники, включающий в себя вопросы
преобразования оптической информации в электрический сигнал называется
оптоэлектроникой. Основными элементами оптоэлектроники, помимо источников света
и оптических сред, являются фотоприёмники. Наиболее распространенными полупроводниковыми
фотоприемниками являются: фоторезистор, фототранзистор, фотодиод.
Оптические преобразователи как элементы цепи
преобразования информации применяются в различных системах, предназначенных для
контроля и измерения геометрических размеров и скоростей движения объектов,
температуры, управления различными механизмами, для определения качественного
состава твердых, жидких и газообразных сред, включения и выключения различных
устройств и т.д. Они реагируют на интенсивность излучения, усреднённую по многим
периодам колебания поля, т.к. время реакции приёмника независимо от того, на
каком физическом явлении он основан, определяется процессами переноса и
релаксации, которые происходят медленнее, чем колебания светового поля.
Важными параметрами, характеризующими свойства и
возможности различных типов фотоприемников, является: пороговая
чувствительность - минимальный поток излучения (который может быть обнаружен на
фоне собственных шумов фотоприемника), отнесённый к единице полосы рабочих
частот; коэффициент преобразования (интегральная чувствительность,
относительная чувствительность), который связывает падающий поток излучения с
величиной сигнала на выходе фотоприемника; постоянная времени - время, за
которое сигнал на выходе фотоприемника нарастает до определённого уровня (этот
параметр служит мерой способности регистрировать оптические сигналы минимальной
длительности); спектральная характеристика - зависимость чувствительности
фотоприемника от длины волны излучения. Фотоприемники, у которых чувствительность
слабо зависит от длины волны в широком диапазоне длин волн, называются
неселективными, в отличие от селективных, имеющих на спектральной
характеристике чётко выраженные максимумы и (или) минимумы.
.1 Элементная база
Для изготовления серийных фоторезисторов
используются различные типы материалов: сернистый кадмий (CdS), селенистый
кадмий (CdSe), сернистый свинец (PbS) и селенид свинца (PbSe). В инфракрасной
области могут быть использованы фоторезисторы на основе PbS, PbSe, PbTe, InSb,
в области видимого света и ближнего ультрафиолета - CdS. Фоторезисторы
чувствительные к инфракрасному излучению длинноволнового диапазона
изготавливают на основе соединения кадмий-ртуть-теллур и антимонида индия
(InSb).
Фоторезисторы, изготовленные из кадмиевых
соединений (CdS или CdSe), имеют чувствительность в видимой области спектра от
0,3 до 1,1 мкм. Приборы на основе соединений свинца (PbS, PbSe) обладают
чувствительностью к инфракрасному излучению в диапазоне от 0,5 до 4,6 мкм.
Фоторезисторам присущи собственные шумы. Они зависят от напряжения,
освещенности, температуры и конструкции фоторезистора. Фоторезисторы с
электродами, выполненными из индия и золота, имеют наименьший уровень шума.
Для изготовления полупроводниковых диодов
используются такие материалы, как: германий, кремний, арсенид галлий, арсенид
галлий индий и других полупроводниковых материалов.
Рис. 2. Спектральная чувствительность GaAs

Данные графики, характеризущие спектральную
зависимость материала показывают, что арсенид галлия обладает более широкой
полосой спектральной чувствителности (350-1000 nm),
чем сернистый кадмий(450-650nm),
т.е. GaAs является
неселективным полупроводниковым материалом
2.2 Сферы применения
Основными областями применения
полупроводниковых фотопреобразователей являются: системы фотоэлектрической
автоматики и телемеханики, измерительные приборы, экспонометрические приборы, а
так же тепловизионная аппаратура промышленного, медицинского и оборонного
назначения, в устройствах телеуправления, контроля и регулирования, в автоматах
для разбраковки, при сортировке и счете готовой продукции, для контроля
качества и готовности различных деталей. Широко используются в полиграфической
промышленности при обнаружении обрывов бумажной ленты, контроле за количеством
листов, подаваемых в печатную машину. В измерительной технике применяются для
измерения высоких температур, для регулировки температуры в различных
технологических процессах. Контроль уровня жидкости и сыпучих тел, защита
персонала от входа в опасные зоны, контроля за запыленностью и задымленностью
самых различных объектов, автоматические выключатели уличного освещения.
оптический преобразователь
электромагнитный высокоомный
3. Экспериментальное исследование оптических
характеристик преобразователя свет-частота с металлическими контактами
различной формы
.1 Конструкция однокристального преобразователя
свет-частота и методика проведения экспериментального исследования
Функциональный однокристальный преобразователь
свет-частота представляет собой планарно-эпитаксиальную мезаструктуру на основе
высокоомного n-GaAs
с двумя омическими контактами, схожую по конструкции с фоторезистором но
отличающуюся меньшими размерами (рис. 1). Длина засвечиваемой области
(расстояние между омическими контактами) лежит в диапазоне 50-200 мкм. Согласно
результатам экспериментальных исследований, представленным в работах [28],
ограничение в сторону больших значений длины связано с возрастанием порогового
напряжения возникновения токовых колебаний, в сторону меньших значений длины -
с уменьшением фоточувствительности.
Использование планарно-эпитаксиальных мезаструктур
в качестве конструктивного решения позволяет получить комбинированное действие
двух физических явлений: рекомбинационной неустойчивости тока и внутреннего
фотоэффекта. Исследования [29] показали, что в таких структурах возможно
наблюдение осцилляций тока, параметры которых в существенной степени
определяются величиной постоянного приложенного напряжения, интенсивностью и
локализацией засветки электромагнитным излучением из диапазона длин волн,
соответствующих собственному поглощению арсенида галлия, и рядом других
факторов.
Схема включения функционального преобразователя
свет-частота, представленная на рис. 4, состоит из источника питания Uпит,
напряжением 20-40 В и нагрузочного резистора Rн,
выполняющего функцию датчика тока. Сигнал, представляющий собой колебания
напряжения, частота которых зависит от освещенности Ev,снимается
с вывода f(Ev).
Рис. 4. Структура и схема включения
функционального преобразователя свет-частота
Образец размещался на измерительном столике
микроскопа. С помощью микроскопа на контактных площадках выбранной структуры
располагались прижимные вольфрамовые зонды. Напряжение от источника питания
(ИП) Б5-49 с помощью вольфрамовых зондов подводилось к контактным площадкам
исследуемых структур. Значение тока регистрировалось с помощью амперметра (А)
РВ7-22А. Сигнал снимался с сопротивления нагрузки (100 Ом), включенного
последовательно с исследуемой структурой, и отображался на экране осциллографа
(O). В качестве
источника немонохроматического света использовалась лампа накаливания
микроскопа, яркость свечения которой регулировалась источником напряжения Б5-42
в режиме стабилизации по току. В качестве источника монохроматического
излучения использовался лазерный диод (с длиной волны 650 нм), яркость свечения
которого задавалась с помощью схемы токового регулятора на основе полевого
транзистора, питание которой осуществлялось от стабилизированного источника
напряжения (рис. 5). При осуществлении засветки лазерным излучением, лазерный
пучок собирался коллиматорной линзой таким образом, чтобы полностью
засвечивалась активная область исследуемой структуры. Градуировка освещенности
от лампы накаливания осуществлялась с помощью люксметра, а мощности лазерного
излучения - с помощью градуированного фотодиода.
Рис. 5. Схема установни для проведения
экспериментального исследования оптических характеристик
.2 Результаты экспериментального исследования
оптических характеристик преобразователя свет-частота
На рис. 6, а приведена характерная форма
колебаний тока на нагрузочном сопротивлении Rн
(100 Ом), включенном последовательно с фотопреобразователем. Как видно из рис.
6а, уровень выходного сигнала достаточен для согласованной работы с цифровым
считывающим устройством. Из рис. 6б видно, что воздействие засветки оптическим
излучением с длиной волны, соответствующей собственному поглощению GaAs,
приводит к росту частоты токовых колебаний. При этом, характер данной
зависимости близок к линейной, что представляется очень важным с точки зрения
принципов создания прибора.
Согласно приведенной на рис. 6б осциллограмме,
имеют место переходные процессы при изменении уровня освещенности, что может
быть связанно с процессом рассасывания носителей заряда, сгенерированных под
действием оптического излучения и приводящих к росту постоянной составляющей
тока через структуру. Такие переходные процессы негативно сказываются на
быстродействии преобразователя, однако в аналоговых детекторах они также
наблюдаются.
а
б
Рис. 6. Параметры наблюдаемых колебаний тока: а
- ВАХ и форма токовых колебаний на нагрузочном сопротивлении, б - осциллограмма
переходных процессов при засветке лазером (650 нм) в импульсном режиме
Рис. 7. Зависимость частоты колебания сигнала от
освещенности мезаструктуры с различной формой контактных площадок
На рис. 7 приведена характерная зависимость
частоты колебания сигнала от освещенности мезаструктуры с различной формой контактных
площадок, можно выделить мезаструктуры с встречно заостренными и плоско
заостренными формами контактных площадок, на который колебания сигнала
регистрировались практически на каждом образце. Можно сказать, что форма
контактных площадок не влияет на зависимость частоты токовых колебаний от
освещенности.
Рис. 8. Зависимость частоты колебания сигнала и
постоянной составляющей тока через структуру от освещенности
На рис. 8 приведены сравнительные характеристики
постоянной составляющей тока через структуру в допороговом режиме I1,
в режиме генерации I2 и частоты токовых колебаний f от освещенности
Ev. Из данных характеристик видно что форма зависимости частоты
повторяет форму зависимости тока.
В ходе проведения экспериментального
исследования зависимости частоты токовых колебаний от освещенности было
установленно, что на части образцов при превышении некоего порога интенсивности
(мощьности) излучения происходит срыв генераци. При уменьшении же данного
порога освещенности, при неизменной величине приложенного к структуре
напряжения, генерация токовых колебаний возобновляется. Так же установленно,
что величина порогового значения интенсивности (мощьности) падающего излучения,
соответствующая срыву генерации, зависит от приложенного к структуре
постоянного напряжения (рис. 9).
Рис. 9. Зависимость частоты колебаний от
мощности лазерного излучения с длиной волны 650 нм при различном напряжении на
структуре
Исходя из зависимости, приведенной на рис. 9,
можно сказать, что чем выше напряжение, подаваемое на планарную мезаструктуру,
тем при больших значениях освещенности происходит срыв генерации.
.3 Анализ и интерпретация результатов
экспериментального исследования
Наблюдаемые особенности возникающих колебаний
тока можно объяснить следующим образом. При увеличении внешнего напряжения
область пространственного заряда (ОПЗ) обратносмещенного перехода анодного
контакта Ме-n+-n
-подложка распространяется вглубь высокоомного GaAs
(рис. 10). Известно, что в сильных электрических полях происходит увеличение
сечения захвата электронов примесными акцепторными отталкивающими центрами,
одним из которых может служить медь в пластинах GaAs
марки САГ-2БК [39].
Рис. 10. Схематическое изображение структуры,
поясняющее процесс формирования динамической неоднородности
В той части ОПЗ, где напряженность
электрического поля оказывается достаточной для того, чтобы существенным был
захват электронов на глубокие отрицательно заряженные ловушки, возможно
формирование динамической неоднородности электрического поля. В части ОПЗ,
характеризующейся очень сильными полями, должно происходить разрушение
сформированной и движущейся в сторону анода динамической неоднородности вследствие
активизации процессов выброса захваченных электронов с глубоких уровней в зону
проводимости. Таким образом, в ОПЗ обратносмещенного перехода анодного контакта
Ме-n+-n-подложка
существует область, в которой возможно периодическое формирование, движение и исчезновение
динамической неоднородности электрического поля (ОДН на рис. 10). Эта область
располагается в непосредственной близости от перехода n
- GaAs - подложка
анодного контакта.
Существование этой области является необходимым,
но не достаточным для возникновения динамической неоднородности, так как в ОПЗ
перехода n - GaAs
- подложка мала концентрация свободных электронов, способных быть захваченными
на глубокие примесные уровни.
Вблизи правой границы стравленного участка в
подложке локализована область, в которою прямосмещенным переходом n
- GaAs - подложка
катодного контакта Ме-n+-n-подложка
инжектируются электроны (область инжекции на рис. 10).
Количество электронов, способных достичь ОДН,
существенно зависит от величины напряжения, приложенного к структуре. При малых
напряжениях (меньших порогового напряжения возникновения генерации) большая
часть инжектированных в подложку электронов не достигает ОПЗ обратносмещенного
перехода n - GaAs
- подложка анодного контакта Ме-n+-n-подложка,
а активно захватывается незаполненными центрами в высокоомной подложке. Кроме
того, в этом случае в ОПЗ перехода n
- GaAs - подложка
анодного контакта Ме-n+-n-подложка
ОДН отсутствует.
При увеличении напряжения ОПЗ обратно смещенного
перехода n - GaAs
- подложка анодного контакта расширяется, в ней происходит увеличение
напряженности электрического поля. При достижении порогового напряжения
возникновения генерации в ОПЗ этого перехода формируется ОДН. Вследствие
расширения ОПЗ указанного перехода уменьшается эффективное расстояние между ее
правой границей и областью инжекции. Это создает благоприятные условия для
экстракции областью пространственного заряда обратно смещенного перехода n
- GaAs - подложка
инжектированных в подложку электронов, которые, попадая в ОДН, формируют
динамическую неоднородность электрического поля. Экстрагированные электроны,
достигающие правой границы ОДН, интенсивно захватываются на центры NT-,
в результате чего концентрация свободных электронов вблизи правой границы этой
области уменьшается. Это приводит к ещё большему росту напряженности поля и,
как следствие, к дальнейшему уменьшению концентрации свободных электронов. В то
же время рядом с такой областью, ближе к аноду, формируется область с объемным
положительным зарядом, так как приток электронов к ней со стороны катода из
области с пониженной концентрацией электронов меньше, чем отток в сторону
анода. Поскольку в стационарном состоянии приток электронов со стороны катода
соответствует их оттоку к аноду, динамическая неоднородность электрического
поля смещается в сторону анода. При достижении левой границы ОДН динамическая
неоднородность разрушается, что сопровождается возникновением колебания тока в
цепи структуры. Дальнейшее увеличение напряжения, приложенного к структуре,
приводит к еще большему расширению ОПЗ, а следовательно, и ОДН, в результате
чего увеличивается время ее прохождения динамической неоднородностью, что
приводит к уменьшению частоты колебаний тока. Поскольку в данном случае правая
граница ОДН приближается к области инжекции, уменьшение частоты колебаний тока
сопровождается увеличением их амплитуды.
Однородная засветка структуры приводит к
увеличению проводимости высокоомной подложки, что уменьшает ширину ОПЗ и сужает
ОДН, в результате чего время прохождения динамической неоднородностью ОДН
уменьшается. Это приводит к увеличению частоты осцилляций тока. Поскольку
правая граница ОДН в данном случае удаляется от области инжекции, вместе с
увеличением частоты происходит уменьшение амплитуды генерируемых колебаний.
4. Функциональные свойства
Кроме основной функции прямого преобразования
светового сигнала в цифровой, с помощью предлагаемого фотопреобразователя можно
получать более широкие функциональные возможности. Например, тот факт, что
колебания тока возникают при фиксированном пороговом напряжении, позволяет
использовать такой преобразователь в качестве логического ключа, поскольку на
зависимости частоты колебаний от приложенного напряжения присутствуют два
устойчивых положения, соответствующих логической единице (колебания тока присутствуют)
и логическому нулю (колебания отсутствуют). Кроме того, в ходе
экспериментальных исследований наблюдалось следующее явление: при превышении
некоторого порога интенсивности падающего оптического излучения области
видимого и части ИК диапазона происходит срыв генерации. На рис. 3 приведена
характерная для данного случая зависимость частоты колебаний от освещенности.
Как видно, на данной зависимости имеется два устойчивых положения,
соответствующих логической единице (колебания присутствуют) и логическому нулю
(колебания отсутствуют), переключение между которыми осуществляется засветкой
конечной интенсивности (точки А и B).
При этом положения значения освещенности, соответствующие точкам А и В зависят
от приложенного напряжения. Все это позволяет использовать такой
преобразователь в качестве оптически-переключаемого логического элемента «НЕ»
(инвертора).
Согласно ВАХ на рис. 6, такой преобразователь
также может выполнять роль логического элемента «И», если величина напряжения
каждого из сигналов Ui
будет удовлетворять условию:

,
где Uth
- пороговое напряжение, n
- количество сигналов. В таком случае суммирование сигналов будет приводить к
возникновению генерации, а отсутствие одного из них - к срыву.
Аналогично, исходя из зависимостей f(Ev)
и f(P)
(рис. 9), преобразователь также может выполнять роль логического элемента
«И-НЕ», если уровень интенсивности (мощности) каждого из оптических сигналов Ev
i
(Pi) будет
удовлетворять условию:
,
где Ev th (Pth) -
пороговый уровень интенсивности (мощности). В таком случае суммирование этих
сигналов будет приводить к срыву генерации, а отсутствие одного из них - к возникновению.
Помимо этого, на части
экспериментальных образцов наблюдалось другое явление. При засветке структуры
оптическим излучением происходит срыв генерации подобно описанному ранее
случаю, однако полное прекращение засветки не приводит к возобновлению
генерации при неизменной величине приложенного напряжения. Генерация
возобновляется лишь при кратковременном увеличении приложенного напряжения на 1
В и более относительно исходного. На данном эффекте может быть реализована
энергозависимая оптически переключаемая ячейка памяти, в которой носителем
информации о состоянии является не амплитудный сигнал, а частотный.
Аналоги
Имеющиеся в настоящее время на рынке
аналоги преобразователя свет-частота компаний TAOS
Inc. и HAMAMATSU
представляют собой интегральные схемы, состоящие из фотодиода и схемы
преобразователя ток-частота. В таблице 1 приведены сравнительные характеристики
двух моделей таких преобразователей и разрабатываемого фотоэлектрического
однокристального преобразователя. Исходя из паспортных данных,
энергопотребление преобразователей TSL превышает
энергопотребление экспериментальных образцов в 2 раза. В таблице 1 приведены
сравнительные характеристики интегральных преобразователей свет-частота и
разрабатываемого однокристального преобразователя свет-частота.
Таблица
1
|
TSL 237
|
TSL 245
|
однокристальный
|
|
Напряжение
питания
|
5
В
|
5
В
|
20-40
В
|
|
Максимальная
частота
|
1 МГц
|
500
кГц
|
500
кГц
|
|
Чувствительность
|
1,2
кГц/(мкВт/см2)
|
0,5
кГц/(мкВт/см2)
|
|
Выходное
напряжение высокого уровня
|
4,7
В
|
4,5
В
|
4,5
В
|
|
Энергопотребление
|
4,3-18
мВт
|
5,5-18
мВт
|
4-8
мВт
|
Согласно экспериментальным результатам,
преобразователь свет-частота в виде отдельного однокристального элемента имеет
меньшее энергопотребление без критичных отличий основных рабочих параметров уже
на начальной стадии разработки, без отработки технологии производства.
Выводы
Таким образом, можно сделать вывод о том, что
функциональный однокристальный преобразователь свет-частота может быть
реализован на основе высокоомного n-GaAs
с помощью широко развитых и доступных плнарных технологий и не требует большого
числа технологических операций.
Согласно полученным экспериментальным данным, 1)
форма контактов не влияет на зависимость частоты от освещенности, 2) форма
зависимости частоты от освещенности аналогична форме зависимости среднего тока
через структуру от освещенности. Так же в ходе проведения исследования
установлены некоторые функциональные особенности, которые могут использоваться
в цифровой электронике.
Согласно сравнительной таблице 1, даже без
отработки технологии создания разрабатываемый преобразователь свет-частота
имеет меньшее энергопотребление и некритичные отклонения основных рабочих
параметров. Дальнейшее исследование влияния технологических аспектов на конкретные
рабочие характеристики может позволить свести такие отклонения к минимуму, а
также, возможно, уменьшить и габаритные размеры.
Список литературы
1.
Ефимов И.Е., Козырь И.Я., Горбунов Ю.И. Микроэлектроника: Проектирование, виды
микросхем, функциональная микроэлектроника. - 2-е изд. - М.: «Высшая школа»,
1987. - 416 с.
.
Щука А.А. Функциональная электроника - М. Моск. гос. ин-т радиотехники,
электроники и автоматики (техн. ун-т), 1998. - 259 с.
.
Глинченко А.С. Цифровая обработка сигналов: В 2 ч. Ч. 1. - Красноярск: Изд-во
КГТУ. 2001. - 199 с.
.
Левинштейн М.Е., Пожела Ю.К., Шур М.С. Эффект Ганна. М.: Сов. радио, 1975. 288
с.
.
Шур М.С. Современные приборы на основе арсенида галлия / Пер. с англ.; Под ред.
М.Е. Левинштейна. М.: Мир, 1991. 632 с.
.
Бонч-Бруевич В.Л., Звягин И.П., Миронов А.Г. Доменная электрическая
неустойчивость в полупроводниках. М.: Наука,
1972. 416 с.
.
Neumann A. Slow domains in semi-insulating GaAs // J. Appl. Phys. 2001. V. 90.
№ 1. P. 1-26.
.
Kiyama M., Yamada M., Tatsumi M. Quantitative analysis of low-frequency current
oscillation in semi-insulating GaAs // Eur. Phys.
J. Appl. Phys. 2004. V. 27. P. 185-188.
.
Kiyama
M., Tatsumi M., Yamada M. High-electric-field
current-voltage characteristics and low-frequency oscillations in a
low-dislocation-density semi-insulating GaAs //
J. Appl. Phys. 2005. V. 97. P.
116103-1-116103-3.
.
Yong D., Shengli L., Fuchuan Z. Modulation of low-frequency oscillations in
GaAs MESFETs’ channel current by sidegating bias // Chinese Science Bulletin. 2005.
V. 50. №
9. P. 932-935.
.
Albuquerque H.A., Da Silva R.L., Rubinger R.M., De Oliveira A.G., Ribeiro G.M.,
Rodrigues W.N. Modeling Chaotic Current Oscillations in Semi-Insulating GaAs
with Rate-Equations of Impact Ionization and Field-Enhanced Trapping //
Brazilian J. Phys. 2006. V. 36. № 2A.
P. 248-251.
.
Муравский Б.С., Григорьян Л.Р., Рубцов Г.П., Черный В.Н. Перспективы
использования рекомбинационной неустойчивости тока в функциональной электронике
// Актуальные проблемы твердотельной электроники и микроэлектроники. Труды VII
Всероссийской научно-технической конференции с международным участием.
Таганрог, 2000. С. 69.
.
Neumann A.J. Slow domains in semi-insulating GaAs // Appl. Phys.
2001. V. 90 (1). P.
1-26.
.
Муравский Б.С. и др. Исследование кинетики поверхностно-барьерной
неустойчивости // ФТП. 1972. Т. 6 (11). С. 2114-2122.
.Муравский
Б.С. и др. Исследование кинетики поверхностно-барьерной неустойчивости тока //
Микроэлектроника. 1989. Т.
18 (4). С.
304-309.
.
Zucker J., Conwell E.M. The recombination of hot carriers in germanium // Phys.
and Chem. Solids. 1961. V. 22. P. 141-147.
.
Pratt R.G., Ridley B.K. Hot electrons and negative resistance at 20°K In n-type
germanium containing Au− centers // Phys. and Chem. Solids.
1965. V. 26. № 1. P. 21-31.
.
Ridley B.K., Pratt R.G. The Capture of Hot Electrons by Gold Centres in n-type
Germanium // Proc. Phys. Soc. 1963. V. 81. №6. P. 996-1012.
.
Kagan M.S., Kalashnikov S.G., Zhdanova N.G. Nonlinear Electrical Effects and
Recombination of the Hot Electrons in Compensated Germanium // Phys. Status
Solidi. 1965. V.11. №1. Р.
415-428.
.
Горюнова
Н.А.,
Леонов
Е.И.,
Орлов
В.М.,
Родионов
Л.Ф.,
Сондаевский
В.П.
Неустойчивости
тока
в
CdSnP2 // Письма в
ЖЭТФ.
1970. Т.
12. С. 459-461.
.
Воробьев Ю.В., Костылев С.А., Макарова Т.В., Прохоров Е.Ф. Захват горячих
электронов в структурах эпитаксиальная пленка n-GaAs
- полуизолирующая подложка // ФТП. 1984. Т. 18. №10. С. 1784-1787.
22.
Михайлов А.И., Митин А.В. Экспериментальное исследование неустойчивостей тока в
длинных высокоомных планарных структурах арсенида галлия в условиях воздействия
оптического излучения // Физика и технические приложения волновых процессов:
Тез. докл. VI Международной научно-технической конференции: Приложение к
журналу "Физика волновых процессов и радиотехнические системы" / Под
ред. В.А. Неганова, Г.П. Ярового. Казань, 2007. С. 240-241.
.
Михайлов А.И., Митин А.В. Низкочастотные колебания тока в длинных планарных
высокоомных структурах арсенида галлия // Опто-, наноэлектроника,
нанотехнологии и микросистемы: Труды IX
международной конференции. Ульяновск: УлГУ, 2007. С. 85.
.
Михайлов А.И., Митин А.В. Рекомбинационная неустойчивость тока в длинных
высокоомных планарных структурах арсенида галлия в условиях воздействия
оптического излучения // Физика и технические приложения волновых процессов:
Тез. докл. VII Международной научно-технической конференции, посвященной
150-летию со дня рождения А.С. Попова: Приложение к журналу "Физика
волновых процессов и радиотехнические системы". Самара: «Самарское книжное
издательство», 2008. С. 232-233.
.
Михайлов А.И., Митин А.В., Терентьева А.И., Павлов А.А. Особенности
рекомбинационных неустойчивостей тока в длинных высокоомных
планарно-эпитаксиальных структурах арсенида галлия // Физика и технические
приложения волновых процессов: материалы докладов VIII Международной
научно-технической конференции: Приложение к журналу «Физика волновых процессов
и радиотехнические системы». СПб.: Политехника, 2009. С. 130-131.
.
Михайлов А.И., Митин А.В., Терентьева А.И. Исследование рекомбинационной
неустойчивости тока в длинных структурах на основе высокоомного GaAs // Физика
и технические приложения волновых процессов: материалы IX Международной
научно-технической конференции. Челябинск: Изд-во Челяб. гос. ун-та, 2010. С. 84.
.
Муравский Б.С. Электрофизические
и фотоэлектрические свойства транзисторных структур с распределенным эмиттером
и функциональные приборы на их основе /
Б.С. Муравский, Г.П. Рубцов, Л.Р. Григорьян, О.Н. Куликов// Журнал
радиоэлектроники: электронный журнал. - 2000. № 10.
28.
Михайлов А.И., Митин А.В., Кожевников И.О. Особенности возникновения устойчивых
колебаний тока большой амплитуды в длинных высокоомных планарно-эпитаксиальных
структурах на основе арсенида галлия // Всероссийская конференция «Микроэлектроника
СВЧ»: Сборник трудов конференции, Том 1. СПб.: ГЭТУ, 2012. - С. 49-53.
.
Михайлов А.И., Митин А.В., Кожевников И.О. Многочастотная генерация в
параллельных высокоомных планарно-эпитаксиальных структурах на основе арсенида
галлия// Всероссийская конференция «Микроэлектроника СВЧ»: Сборник трудов
конференции (электронная версия). Санкт-Петербург: СПбГЭТУ, 2013.