Разработка информационно-измерительных систем контроля качества ультразвуковой сварки

  • Вид работы:
    Курсовая работа (т)
  • Предмет:
    Информатика, ВТ, телекоммуникации
  • Язык:
    Русский
    ,
    Формат файла:
    MS Word
    312,7 Кб
  • Опубликовано:
    2014-12-01
Вы можете узнать стоимость помощи в написании студенческой работы.
Помощь в написании работы, которую точно примут!

Разработка информационно-измерительных систем контроля качества ультразвуковой сварки

Министерство образования и науки

Федеральное государственное бюджетное образовательное

Учреждение высшего профессионального образования

"Самарский государственный технический университет"

(ФГБОУ ВПО "СамГТУ")

Кафедра "Автоматизация производств и управление транспортными системами"





КУРСОВОЙ ПРОЕКТ

По дисциплине "Информационно-измерительные системы"

на тему: "Разработка информационно-измерительных систем контроля качества ультразвуковой сварки"


Выполнил: студент гр.3 МиАТ 5

Абдулов Р.Н.

Проверил: Шуваев В.Г.




Самара 2014

Реферат


Пояснительная записка содержит 28 стр., 7 рис., 2 таблицы и 1 графических материала.

МАТЕМАТИЧЕСКАЯ МОДЕЛЬ, АЦП, ИСС, ПОГРЕШНОСТИ, МЕТРОЛОГИЧЕСКИЕ ХАРАКТЕРИСТИКИ, УЛЬТРАЗВУКОВЫЕ ВОЛНЫ

В данном курсовом проекте рассмотрены следующие вопросы:

.        Методы контроля сварных соединений

2.      Математические преобразования для получения математической модели датчика.

.        Произведен выбор АЦП.

.        Разработана структурная схема ИИС.

.        Расписаны метод определения возможной погрешности измерений.

Оглавление

Реферат

Введение

1. Описание объекта с информационных позиций

1.1 Обоснование и выбор информационных параметров и первичных измерительных преобразователей

1.2 Построение структуры ИИС как совокупность измерительных преобразователей

2. Выбор АЦП по метрологическим характеристикам

2.1 Выбор и обоснование интерфейса объединяющего отдельные модули в систему

2.2 Построение математической модели измерительного канала ИК

2.3 Расчет метрологических характеристик компонентов

Заключение

Список источников

Введение


Измерительно-информационная система - комплекс измерительных устройств, обеспечивающих одновременное получение человеком-оператором или ЭВМ необходимой информации о свойствах и состоянии какого-либо объекта. Сварка - ведущий технологический процесс в машиностроении. Объем информации в области сварки особенно увеличился в связи с появлением новых конструкционных материалов, использованием сварки в различных отраслях техники и разработкой прогрессивных способов сварки. Сварку используют для соединения металлов и неметаллов между собой и в разнородных сочетаниях. Монолитность сварных соединений достигается обеспечением физико-химических, атомно-молекулярных связей между элементарными частицами соединяемых тел.

Все известные в настоящее время процессы сварки металлов осуществляются за счет введения только двух видов энергии термической и механической или при их сочетании.

Ультразвук находит широкое применение в науке для исследования некоторых физических явлений и свойств веществ. В промышленности ультразвуковые колебания используются для очистки и обезжиривания изделий, для обработки труднообрабатываемых материалов. Установлено благоприятное влияние ультразвуковых колебаний на кристаллизующиеся расплавы - происходит дегазация и измельчение зерна и улучшение механических характеристик литых металлов. Получены положительные эффекты при воздействии ультразвуковых колебаний с целью снятия остаточных напряжений. Широкое использование ультразвук находит с целью интенсификации многих медленнотекущих химических реакций. Известна аппаратура для контроля уровня жидкости, скоростей ее течения и т.п. Успешно используется ультразвук для контроля качества литья, сварных соединений и т.п.

1. Описание объекта с информационных позиций


1.1 Обоснование и выбор информационных параметров и первичных измерительных преобразователей


При ультразвуковой сварке (УЗС) необходимые условия для образования соединения создаются в результате механических колебаний ультразвукового преобразователя. Энергия вибрации создает сложные напряжения растяжения, сжатия и среза. При превышении предела упругости соединяемых материалов происходит пластическая деформация в зоне их соприкосновения. В результате пластической деформации и диспергирующего действия ультразвука происходит удаление адсорбированных пленок жидкости, газов, органических пленок и поверхностных оксидов, происходит увеличение площади непосредственного контакта, что обеспечивает получение прочного соединения.

В сварочной технике ультразвук может быть использован в различных целях. Воздействуя им на сварочную ванну в процессе кристаллизации, можно улучшить механические свойства сварного соединения благодаря измельчению структуры металла шва и лучшему удалению газов. Ультразвук может быть источником энергии для создания точечных и шовных соединений. Ультразвуковые колебания активно разрушают естественные и искусственные пленки, что позволяет сваривать металлы с окисленной поверхностью, покрытые слоем лака и т.п. Ультразвук уменьшает или снимает собственные напряжения, возникающие при сварке. Им можно стабилизировать структурные составляющие металла сварного соединения, устраняя возможность самопроизвольного деформирования сварных конструкций со временем.

Одним из интересных и перспективных промышленных применений ультразвука является ультразвуковая сварка (УЗС). Ультразвуковая сварка (УЗС) - это способ создания неразъёмных соединений с помощью энергии, выделяющейся в зоне контакта свариваемых деталей при прохождении через последнюю, ультразвуковых механических колебаний. Этот способ сварки характеризуется весьма ценными технологическими свойствами: возможностью соединения металлов без снятия поверхностных пленок и расплавления, особенно хорошей свариваемостью чистого и сверхчистого алюминия, меди, серебра; возможностью соединения тончайших металлических фольг со стеклом и керамикой.

Сварка металлов ультразвуком находит все более широкое применение, так как этот способ имеет ряд преимуществ и особенностей по сравнению с контактной и холодной сваркой. Особенно перспективна ультразвуковая сварка применительно к изделиям микроэлектроники. Весьма перспективна сварка ультразвуком пластмасс; этот метод широко используется в промышленности, так как обладает рядом особенностей, дающих возможность получить высококачественное соединение на многих пластмассах, сварка которых другими методами затруднена или невозможна.

Разработаны оборудование и технология ультразвуковой сварки металлов и пластмасс, успешно использующиеся в промышленности. За рубежом этот метод также находит применение в промышленности.

Особое внимание исследователей привлекла возможность внедрения УЗС при производстве изделий микроэлектроники.

Конкретными примерами применения ультразвуковой сварки металлов является сварка тонких элементов разнотолщинных деталей, выполненных из однородных и разнородных металлов:

·              алюминиевых электролитических конденсаторов

·              выводов трансформаторов и дросселей

·              электронных приборов

·              радиаторов для тепловых и электронных приборов

·              тары изготовленной из фольги, элементов игрушек и т.п.

Основными областями применения являются:

·              автомобильная промышленности

·              авиационная промышленности

·              электронная промышленности

·              электротехническая промышленности

Технология ультразвуковой сварки для каждого вида изделий требует решения целого ряда технологических задач, связанных с выбором оптимальных режимов обработки, влияющих на качество получаемого изделия. На качество сварки влияет: амплитудно-частотная характеристика ультразвукового инструмента; величина акустической мощности, вводимая в зону сварки; усилие прижима ультразвукового инструмента к свариваемому изделию; время и скорость сварки. Подбор оптимальных режимов связан с контролем качества получаемого изделия. Объективный контроль качества (прочность и дефектность шва) является самой важной в данном технологическом процессе. Даже после отработки и регистрации технологических режимов ультразвуковой сварки конкретного вида изделий, из определённого материала в большинстве случаев требуется хотя бы выборочный выходной контроль качества получаемых изделий.

В промышленности широко используются различные средства и методы контроля качества изделий, в том числе и качество сварного шва.

Средства и методы неразрушающего контроля предназначены для выявления дефектов типа нарушения сплошности материала изделий. Они позволяют оценить также параметры технологического процесса сварки и другие качественные показатели продукции.

Их подразделяют на акустические, капиллярные, магнитные, оптические, радиационные, радиоволновые, тепловые, электрические и электромагнитные.

Для контроля качества сварных соединений из полимеров могут быть использованы только часть из них. Чувствительность методов контроля поверхностных дефектов может характеризоваться следующими данными (табл. 1).

Таблица №1

Способ контроля.

Ширина раскрытия, мм

Глубина, мм

Протяженность, мм

Визуально-оптический

0,005-0,01

-

0,1

Люминесцентный

0,001-0,002

0,01-0,03

Ультразвуковой

0,001-0,03

0,1-0,3

-

Рентгенографический

-

1,5-3% толщины

-


При визуальном контроле сварных соединений, проводимом с помощью оптических средств, используют лупы с фокусным расстоянием 125-12,5 мм и увеличением в 2-20 раз.

Применяя для контроля сквозных и поверхностных дефектов сварных соединений капиллярные методы неразрушающего контроля, следует иметь в виду, что проникающие жидкости после обнаружения дефекта трудно удалить из дефектной полости.

В ряде случаев могут быть использованы методы яркостной капиллярной дефектоскопии, при которой в качестве проникающей жидкости используют керосин, невязкое масло или их смеси, подаваемые под давлением или наносимые без давления с внутренней или внешней поверхности сварных швов. В качестве проявителя применяют мел, наносимый с другой стороны в виде водной суспензии с добавками поверхностно-активных веществ или суспензии на основе органических растворителей.

При определении герметичности сварных швов замкнутых полых сварных конструкций из пластмасс широко используют контроль воздухом в водяных ваннах. Давление воздуха назначают, исходя из прочности соединений. Герметичность швов пластмассовых изделий больших размеров можно проверять воздухом с предварительным промыливанием сварных швов снаружи и подачей воздуха внутрь. Сварные швы конструкции из жестких пластиков контролируют после покрытия швов мыльным раствором переносной вакуум-камерой шаговым способом. За каждый цикл проверяют герметичность участка шва, равного длине вакуум-камеры.

Можно добавлять в воздух, подаваемый в замкнутую сварную конструкцию, аммиак, обычно не более 1 % к воздушному объему. В качестве проявителя снаружи швы покрывают тканью или бумагой, пропитанной 5% -ным водным раствором азотнокислой ртути или спиртоводным раствором фенолфталеина. Дефектное участок, место утечки воздуха проявляется в виде черных или фиолетовых пятен.

При люминесцентной дефектоскопии используют проникающие жидкости, способные люминесцировать под воздействием ультрафиолетовых лучей. При капиллярном контроле необходимо поверхности тщательно очищать от загрязнений.

Сквозные дефекты со значительной степенью достоверности могут быть выявлены при помощи галлоидных течеискателей. В отличие от жидких проникающих составов для контроля сквозных несплошностей в сварных швах замкнутых пластмассовых конструкций (емкостях, трубопроводах) применяют газообразные среды с добавлением в небольших дозах веществ, на которые реагируют галлоидные течеискатели. Это, например, четыреххлористый углерод, меркаптаны, гелий.

К электрическим методам контроля сквозных дефектов сварных швов пластмассовых конструкций относятся электроискровой и электролитический. Электроискровая дефектоскопия основана на диэлектрических свойствах полимеров, к которым с внутренней и наружной стороны подводят электроды индуктора под напряжением 15-20 кВ. При синхронном движении электродов вдоль шва через сквозной дефект происходит разряд (проскакивает искра), что может фиксироваться визуально или с помощью загорающейся сигнальной неоновой лампы.

измерительная система ультразвуковая сварка

1.2 Построение структуры ИИС как совокупность измерительных преобразователей


Из выше перечисленных методов контроля, остановим свой выбор контроля основанный на ультразвуковом методе контроля и разработаем ИИС для нее.

Ультразвуковые колебания бывают продольные и поперечные. Если частицы среды перемещаются параллельно направлению распространения волны, то такая волна является продольной, если перпендикулярно-поперечной. Для отыскания дефектов в сварных швах используют в основном поперечные волны, направленные под углом к поверхности свариваемых деталей.

Ультразвуковые волны способны проникать в материальные среды на большую глубину, преломляясь и отражаясь при попадании на границу двух материалов с различной звуковой проницаемостью. Именно эта способность ультразвуковых волн используется в ультразвуковой дефектоскопии сварных соединений.

Ультразвуковые колебания могут распространяться в самых различных средах - воздухе, газах, дереве, металле, жидкостях.

Ультразвуковые волны получают механическим, термическим, магнитострикционным (Магнитострикция - изменение размеров тела при намагничивании) и пьезоэлектрическим (Приставка "пьезо" означает "давить") способами.

Наиболее распространенным является последний способ, основанный на пьезоэлектрическом эффекте некоторых кристаллов (кварца, сегнетовой соли, титаната бария): если противоположные грани пластинки, вырезанной из кристалла, заряжать разноименным электричеством с частотой выше 20 000 гц, то в такт изменениям знаков зарядов пластинка будет вибрировать, передавая механические колебания в окружающую среду в виде ультразвуковой волны. Таким образом, электрические колебания преобразовываются в механические.

В различных системах ультразвуковых дефектоскопов применяют генераторы высокой частоты, задающие на пьезоэлектрические пластинки электрические колебания от сотен тысяч до нескольких миллионов герц.

Пьезоэлектрические пластинки могут служить не только излучателями, но и приемниками ультразвука. В этом случае под действием ультразвуковых волн на гранях кристаллов-приемников возникают электрические заряды малой величины, которые регистрируются специальными усилительными устройствами.

Существуют в основном два метода ультразвуковой контроля: теневой и эхо-импульсный (метод отраженных колебаний).

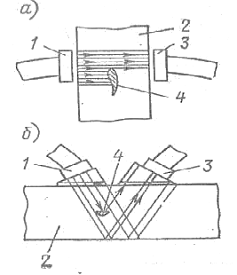
Рисунок 1 - Схемы проведения ультразвукового контроля а - теневым; б - эхо импульсным методом; 1 - щуп-излучатель; 2 - исследуемая деталь; 3 - щуп приемник; 4 - дефект.

При теневом методе (рис. 1, а) ультразвуковые волны, идущие через сварной шов от источника ультразвуковых колебаний (щупа-излучателя), при встрече с дефектом не проникают через него, так как граница дефекта является границей двух разнородных сред (металл - шлак или металл - газ). За дефектом образуется область так называемой "звуковой тени". Интенсивность ультразвуковых колебаний, принятых щупом-приемником, резко падает, а изменение величины импульсов на экране электронно-лучевой трубки дефектоскопа указывает на наличие дефектов. Этот метод имеет ограниченное применение, так как необходим двусторонний доступ к шву, а в ряде случаев требуется снимать усиление шва.

При эхо-импульсном методе (рис. 1, б) щуп-излучатель посылает через сварной шов импульсы ультразвуковых волн, которые при встрече с дефектом отражаются от него и улавливаются щупом-приемником. Эти импульсы фиксируются на экране электроннолучевой трубки дефектоскопа в виде пиков, свидетельствующих о наличии дефекта. Измеряя время от момента посылки импульса до приема обратного сигнала, можно определить и глубину залегания дефектов. Основное достоинство этого метода состоит в том, что контроль можно проводить при одностороннем доступе к сварному шву без снятия усиления или предварительной обработки шва. Этот метод получил наибольшее применение при ультразвуковой дефектоскопии сварных швов.

Рисунок 2 - Структура ИИС

Задающий генератор, питаемый переменным током, вырабатывает электрические колебания, передаваемые на генератор импульсов и пьезоэлектрический датчик. В последнем высокочастотные электрические колебания преобразуются в механические колебания ультразвуковой частоты и посылаются в контролируемое изделие. В интервалах между отдельными посылами высокочастотных импульсов пьезоэлектрический датчик при помощи электронного коммутатора подключается к приемному усилителю, который усиливает полученные от датчика отраженные колебания и направляет их на АЦП. Таким образом, пьезоэлектрический датчик попеременно работает как излучатель и приемник ультразвуковых волн.

При отсутствии дефекта в контролируемом изделии импульс дойдет до нижней поверхности изделия, отразится от нее и возвратится в пьезоэлектрический датчик. В нем механические колебания ультразвуковой частоты снова преобразуются в высокочастотные электрические колебания, усиливаются в приемном усилителе и подаются на АЦП и далее на ЭВМ (донный сигнал).

Если на пути прохождения ультразвука встретится дефект, то часть волн отразится от него раньше, чем донный сигнал достигнет пьезоэлектрического датчика. Эта часть волн усиливается приемным усилителем, подается на АЦП и далее на экране ЭВМ между начальным и донным импульсами возникнет пик импульса от дефекта.

Благодаря синхронной работе генератора импульсов и других устройств, взаимное расположение импульсов на экране характеризует глубину расположения дефекта. Расположив на экране масштабные метки времени, можно сравнительно точно определить глубину залегания дефекта.

2. Выбор АЦП по метрологическим характеристикам


2.1 Выбор и обоснование интерфейса объединяющего отдельные модули в систему


Аналого-цифровые преобразователи (АЦП) служат для преобразования исходной аналоговой величины в соответствующий ей цифровой эквивалент - код, являющийся выходным сигналом преобразователя, т.е. такие устройства по существу являются измерительными.

Преобразование аналогового сигнала происходит в определенные моменты времени, которые называются точками отсчета. Количество отсчетов за единицу времени определяет частоту дискретизации (преобразования), которая, в свою очередь, определяется быстродействием и условиями использования АЦП. Интервал времени между отсчетами Тотс и частота дискретизации fпр связаны соотношением Тотс = 1/fпр.

АЦП обеспечивают квантование входной величины, как по уровню, так и по времени. Обязательность квантования по уровню вытекает из самой природы цифрового представления величин, так как, какое бы большое число градаций ни было принято для изображения всех возможных значений входной величины, неизбежно округление результатов в силу того, что аналоговый сигнал может принимать бесконечное число значений. Необходимость квантования по времени в АЦП связана с рядом причин, одной из которых является то, что для выполнения заданного цикла вычислений необходимо определенное время, так как только после окончания заданного цикла вычислений следует вводить новые исходные данные.

В данном случае от выбранного датчика не требуется высокая точность, поэтому исходя из условия становится ясно, что восьми разрядный АЦП с предельной погрешность в δ=0,391% будет вполне достаточным. Произведя исследования рынка АЦП, был выбран наиболее подходящий для этих целей АЦП фирмы Texas Instruments модели TLC549 (рис.3).

Рисунок 3 - Внешний вид TLC549

- КМОП АЦП, построенные на основе 8 битного АЦП на коммутируемых конденсаторах. Это устройства позволяет передавать по последовательному интерфейсу с тремя состояниями результат преобразования аналогового входного сигнала. Для управления работой прибора TLC549 нужно подать на него только синхроимпульсы вывода данных и сигнал выбора кристалла. Максимальная частота синхронизации данных для TLC549 - 1.1 МГЦ.

Данный АЦП имеет встроенный генератор системных синхроимпульсов с типовой частотой 4 МГц, который не требует никаких внешних элементов. Встроенный генератор позволяет работать независимо от наличия сигналов синхронизации вывода данных, что обычно и требуется в большинстве систем. Прибор TLC549 имеет максимальную производительность 40 000 преобразований в секунду.

АЦП имеет только один аналоговый вход (ANALOG IN) и два входа для подключения опорного напряжения (REF+ и REF-). Вторым аналоговым входом можно считать вывод GND - общий. Если при этом вывод REF - тоже подключен к общему проводу, то на выходе АЦП будет формироваться байт выходного кода, равный 00000000 при нулевом напряжении на аналоговом входе, и 11111111 - при входном напряжении, равном опорному, которое подается на вывод REF+.

Протокол связи этого АЦП достаточно прост. При переходе сигнала на выводе CS от высокого к низкому уровню в регистр вывода данных помещается результат предыдущего преобразования. Поэтому рекомендуется выполнить "пустое преобразование" сразу после включения устройства или в случае выполнения двух преобразований, разделенных достаточно продолжительным интервалом времени. Первое считанное значение выходного кода в этих случаях будет неверным. Следующее преобразование будет правильным, оно начнется по первому переднему фронту импульса, поступившего на вывод CS после низкого уровня. Важно, чтобы на выводе CS был высокий уровень в течение всего времени преобразования, но, поскольку этот процесс длится всего несколько десятков микросекунд, данное условие можно считать автоматически выполняемым, если АЦП управляется процессором с программой, написанной на существенно менее быстром языке, чем Assembler.

Рисунок 4 - Расположения выводов

В дополнение к быстродействующему конвертеру и перенастраиваемой управляющей логике приборы содержат устройство выборки-хранения (УВХ), которое может работать в автономном режиме или под управлением микропроцессора. Внутренние конвертеры приборов имеют дифференциальные входы опорного напряжения, что позволяет производить относительное преобразование и масштабирование и снизить влияние шумов питания.

Применение технологии коммутируемых конденсаторов позволяет производить преобразование с малой ошибкой (не более ±0.5 LSB) за 17 мкс во всем диапазоне рабочих температур. TLC549 имеют рабочий температурный диапазон от 0°C до 70°C.

Рисунок 5 - Функциональная схема

Характеристики TLC549

При своих компактных размерах (5,6х6,5х2 мм), данный АЦП имеет хорошие показатели:

Работа под управлением микропроцессора или автономная работа;

битный АЦП;

Аналоговое входное напряжение - от 0 до 6 В;

Дифференциальные входы опорного напряжения;

Максимальное время преобразования 17 мкс;

Количество преобразований за 1 секунду - до 40 000;

Программно-управляемое встроенное УВХ;

Максимальная полная некорректируемая ошибка ±0.5 LSB;

Встроенный задающий генератор с типовой частотой 4 МГц;

Широкий диапазон питания от 3 В до 6 В;

Малая потребляемая мощность - не более 15 мВт;

Идеально подходит для дешевых высококачественных устройств, включая контрольно - измерительную аппаратуру с автономным питанием;

Совместимость по выводам и управляющим сигналам с семействами 8 битных TLC540 и TLC545 и 10 битных TLC1540 АЦП;

Изготовлен по технологии КМОП.

2.2 Построение математической модели измерительного канала ИК


При сварке ультразвуком неразъемное соединение металлов образуется при совместном воздействии на детали механических колебаний высокой частоты и относительно небольших сдавливающих усилий. В принципе этот метод сварки имеет много общего с холодной сваркой сдвигом.

Колебания, возникающие в какой-либо среде и характеризующиеся упругими деформациями среды, называются упругими. Форма упругих колебаний может быть различна. Наиболее распространенной формой являются гармонические колебания, т.е. колебания, описываемые выражением


где A - смещение или деформация в данном элементе среды в момент времени t; Aм - максимальное значение смещения или деформации; ω - круговая частота колебаний; φ - начальный угол сдвига.

Упругие колебания, частота которых превышает некоторую границу, принято называть ультразвуковыми.

Обычно считают, что нормальный человеческий слух не воспринимает в виде слышимого звука гармонические упругие колебания с частотой выше 17 000-20 000 Гц. В практике упругие колебания используются в диапазоне частот от 8000 Гц до мегагерц. При ультразвуковой сварке обычно используется диапазон частот 18-80 кГц.

Скорость распространения ультразвука зависит от физических свойств материала. Например, в стержне скорость распространения продольных волн определяется из следующего соотношения:


где Е - модуль упругости материала; ρ - плотность материала.

Скорость распространения звуковых волн в большинстве твердых тел колеблется в пределах 2000-6000 м/с и изменяется в зависимости от температуры, давления и интенсивности звука.

Длина волны, соответствующая данной частоте, непосредственно определяется из равенства

,

где c - скорость звука; f - частота.

При частоте 20 кГц длина волны в стали равна 28 см.

Интенсивность плоской продольной звуковой волны в любой среде определяется из уравнения

J=kA2f2ρc,

где А - амплитуда колебаний; f - частота колебаний; ρ - плотность среды; k - коэффициент пропорциональности; с - скорость звука в среде.

Поток энергии волны сквозь некоторую поверхность S равен

,

где β - угол между нормалью к площадке dS и направлением распространения волны.

Мощность ультразвука, которая может быть передана через среду, зависит от физических свойств среды; если напряжения в зонах сжатия и разрушения превысят предел прочности материала, то твердый материал будет разрушаться.


В результате проведенной работы определены основные управляющие параметры, влияющие на качество сварки и величины этих параметров:

амплитуда колебания сварочного наконечника - (А=65мкм)

усилие давления сварочного инструмента на обрабатываемое изделие (P= 32 Н)

скорость сварки - (V =3,8 м/мин)

ширина сварного шва - (0,8 мм - 1,1 мм).

В таблице № 2 показано, насколько прочность сварного соединения зависит от величины амплитуды ультразвукового сварочного наконечника.

№ экспер.

Усилие давления P (Н)

Скорость сварки V (м/мин)

Амплитуда колебаний А (мкм)

Прочность шва (кг/м)

1

32

3,8

20

110

2

32

3,8

30

122

3

32

3,8

40

131

4

32

3,8

50

144

5

32

3,8

60

153

6

32

3,8

70

156

7

32

3,8

75

152


Из данного опыта следует что прочность шва на прямую зависит от амплитуды ультразвуковых волн, чем выше амплитуда тем больше прочность сварного шва.

2.3 Расчет метрологических характеристик компонентов


Любая самая совершенная и интеллектуальная ИИС должна быть метрологически корректной и удовлетворять требованиям системы обеспечения единства измерений в соответствии с государственными законодательными актами и международными нормативными документами ISO, OIML и др. Выделение ИИС в отдельную специфическую разновидность СИ обусловлено рядом их особенностей, порождающих специфику их МО.

Необходимость применения расчетных методов определения МХ систем по МХ компонентов обусловлена агрегатным принципом их построения.

Поскольку расчетные методы предполагают идеализацию свойств системы и требуют большего объема априорной информации, их использование должно быть обосновано технико-экономическими причинами. Методы распространяются на ИК, состоящие из последовательно включенных линейных аналоговых компонентов, а также на ИК, содержащие дискретные компоненты, влиянием дискретности которых на неопределенность показаний ИК можно пренебречь.

Для того чтобы правильно предоставить исходные данные для расчета в виде функциональных зависимостей, связывающих МХ с входным (выходным) сигналом, нужно выбрать математическую модель компонента.

Рассмотрим методику расчета статических МХ на примере определения номинальной функции преобразования ИК.

Исходные данные:

N - количество компонентов в канале;

fsai (x) - номинальная функция преобразования каждого компонента

(i=1,2,…N) задается в виде линейной функции входного сигнала.

 

fsai (x) = Аi x + ai,

где Ai и ai - мультипликативная и аддитивная составляющие функции преобразования, определяющие наклон и смещение fsai.

Мультипликативная составляющая функции преобразования определяется по формуле:

.

Аддитивная составляющая функции преобразования канала определяется из выражения:

.

Тогда для канала в целом:

,

Где .

Например, для ИК, состоящего из трех последовательно соединенных компонентов, k1,k2,k3 аддитивные и мультипликативные функции преобразования, которых обозначим A1, a1, A2, a2, A3, a3, соответственно, расчет номинальной функции преобразования производится следующим образом. Сигнал на выходе K1 можно записать в виде

1 = A1x + a1

 

Этот сигнал является входным для компонента k2 выходной сигнал, которого можно получить из выражения:

x2 = A2 x1 + a2 = A2 (A1x1 + a1) + a2 = A1A2x + A2a1 + a2.

Рисунок 6 - -Простейшая линейная модель ИК

Для компонента K3:

 

у = A3x2 + a3 = A3 (A1A2x + A2 a1 + a2) + a3 = A1A2A3x + A2A3a1 + A3a2 + a3, что соответствует формуле для fsa (x).

Исходными данными для расчета динамических характеристик ИК являются:

Aai (ω) - номинальная АЧХ компонента;

φai (ω) - номинальная ФЧХ компонента;

∆Aai (ω), φai (ω) - наибольшие допускаемые отклонения АЧХ и ФЧХ от номинального значения.

Номинальную АЧХ ИК и ∆Aai (ω), рассчитывают по формуле:

;

Номинальную ФЧХ и наибольшие допускаемые отклонения от нее рассчитывают по формулам:

.

Данные соотношения можно использовать при двух следующих условиях:

·        ИК состоит из линейных аналоговых компонентов, либо включает дискретные компоненты, нелинейными инерционными свойствами которых можно пренебречь;

·        в ИК имеет место стационарный динамический режим, когда математическое ожидание и дисперсия измеряемого сигнала не зависят от времени, а корреляционная функция зависит от разности времени.

В большинстве случаев ИК ИС содержит аналого-цифровой преобразователь (АЦП), который осуществляет дискретизацию во времени и квантование по амплитуде непрерывного сигнала y (t) на выходе аналоговой части ИК системы.

При построении моделей ИК ИИС исходят из предположения, что АЦП - идеальный квантователь. Однако, при широкополосных сигналах, а также измерении и регулировании быстро меняющихся величин динамическая модель будет выглядеть, как это представлено на (рис.7).

ИК представлен как последовательное соединение аналоговых компонентов ИИС, включающих входные устройства АЦП (аналоговая линия часть ИК), с дискретной нелинейной частью, в которой выполняются операции дискретизации во времени и квантованием по уровню.

В этом случае динамические свойства аналоговой части ИК ИИС описываются ее амплитудно- и фазочастотными характеристиками, определенными изложенными выше методами с учетом АЧХ линейной части АЦП, а динамические свойства дискретной части - средней задержкой отсчета и апертурным временем - характеристиками динамических свойств

АЦП.

При этом задержка (опережение) отсчета - разность между заданным и

действительным моментами отсчета, имеет систематическую составляющую

(постоянный сдвиг) t3. с, который всегда можно учесть как поправку и случайную составляющую ∆t3.0 т.е.

3.0 = t3. c+ ∆t3.0

Числовая характеристика распределения задержки отсчета P (∆t3.0) названа апертурным временем ta. Поскольку t3.0 зависит от уровня и скорости изменения входного сигнала АЦП, распределение P (∆t3.0) и, соответственно,

t a наряду с АЧХ аналоговой части канала могут быть использованы для расчета динамической погрешности канала.

Рисунок 7 - Модель ИК ИИС с учетом АЦП

Математическое описание преобразования выходного сигнала x (t) со спектром Sx (ω) аналоговой части канала имеет вид:

.

где:

Aai (ω) - АЧХ аналоговых линейных компонентов;

Aay (ω) - АЧХ аналоговой части АЦП.

Сигнал на выходе дискретизатора:


Где: α - интервал интегрирования слева и справа от заданного временного положения n-го отсчета; Т - период дискретизации. Сигнал на выходе квантователя и ИК в целом может быть представлен с помощью нелинейной пилообразной функции ε (yk) в виде:

.

Тогда динамическая погрешность равна:

.

На основании этой формулы по конкретным значениям временного ряда, полученного в результате измерений, можно вычислить оценку погрешности в каждый момент времени и nT.

Если известны статические характеристики yk (t) и ∆t3.0 можно найти общую оценку неопределенности показаний ИК и стандартное отклонение.

Однако расчет ДХ по приведенным выше выражениям затруднен из-за

сложности вычислений.

Для случаев, когда учет инерционных свойств дискретных компонентов необходим, можно рекомендовать метод математического моделирования с использованием модели канала, представленный на (рис.7).

Для определения погрешности измерения для каждой меры осуществляется по формуле:

.

Где:

Нср - среднее значение твердости, полученное при измерениях на эталонной мере;

Нm - номинальное значение твердости меры.

Был выбран один из методов контроля сварных соединений и разработана структура ИИС.

Была создана математическая модель системы, и произведен выбор АЦП.

Список источников


1.      Ольшанский Н.А. Образование соединения при ультразвуковой сварке. - "Автоматическая сварка №2", 2004.

2.      Холопов Ю.В. Ультразвуковая сварка. Л., "Машиностроение”, 2005.

3.      <http://www.mosexp.ru/uzk.html>

.        http://files. stroyinf.ru/Data1/8/8287/ <http://files.stroyinf.ru/Data1/8/8287/>

.        http://www.pipe-technology.ru/control. php? id=5 <http://www.pipe-technology.ru/control.php?id=5>

Похожие работы на - Разработка информационно-измерительных систем контроля качества ультразвуковой сварки

 

Не нашли материал для своей работы?
Поможем написать уникальную работу
Без плагиата!
Без нейросетей!