Изучение закономерностей формирования наночастиц кобальта в структуре полимерных матриц на основе модифицированного тетрафторэтилена

  • Вид работы:
    Дипломная (ВКР)
  • Предмет:
    Физика
  • Язык:
    Русский
    ,
    Формат файла:
    MS Word
    2,97 Мб
  • Опубликовано:
    2014-08-04
Вы можете узнать стоимость помощи в написании студенческой работы.
Помощь в написании работы, которую точно примут!

Изучение закономерностей формирования наночастиц кобальта в структуре полимерных матриц на основе модифицированного тетрафторэтилена

Министерство образования и науки Российской Федерации

Федеральное государственное бюджетное образовательное учреждение высшего профессионального образования

"Кубанский государственный университет"

(ФГБОУ ВПО "КубГУ")

Физико-технический факультет

Кафедра радиофизики и нанотехнологий

Выпускная квалификационная работа бакалавра

Изучение закономерностей формирования наночастиц кобальта в структуре полимерных матриц на основе модифицированного тетрафторэтилена


Работу выполнил Петров Александр Александрович

Направление 210600.62 - Нанотехнология

Научный руководитель канд. хим. наук М.Е. Соколов

Нормоконтролёр канд. хим. наук М.Е. Соколов


Краснодар 2014

Реферат

Дипломная работа: 81 с., 46 рис., 8 табл., 35 источников, 2 прил.

Наночастицы кобальта, нанокомпозитные полимерные материалы, магнитные материалы, ферромагнитный резонанс, ионообменные мембраны

Объектом исследования дипломной работы являлись нанокомпозитные кобальтсодержащие полимерные материалы на основе политетрафторэтилена.

Целью данной работы являлось изучение закономерностей образования наночастиц кобальта при химическом восстановлении имплантированных ионов Co2+ в структуру полимерных мембран на основе политетрафторэтилена при различных условиях.

В результате выполненной дипломной работы изучено:

влияние концентрации исходного раствора хлорида кобальта при имплантации ионов кобальта в полимерную матрицу на основе политетрафторэтилена на размер получаемых наночастиц кобальта;

влияние концентрации исходного раствора хлорида кобальта при имплантации ионов кобальта в полимерную матрицу на основе политетрафторэтилена на глубину проникновения наночастиц кобальта;

влияние концентрации исходного раствора хлорида кобальта при имплантации ионов кобальта в полимерную матрицу на величину эффективной намагниченности полученного нанокомпозита.

Содержание

Введение

. Литературный обзор

1.1 Магнитные свойства веществ

.1.1 Диамагнетизм

.1.2 Парамагнетизм

.1.3 Ферромагнетизм

.2 Размерные эффекты в магнетизме

.2.1 Магнитные характеристики наночастиц

.2.2 Суперпарамагнетизм

.2.3 Влияние концентрации наночастиц на магнитные свойства полимера

.3 Методы исследования магнитных свойств наночастиц

.3.1 Магнитометры

.3.2 Ферромагнитный резонанс

.4 Методы получения наночастиц в полимерах

.4.1 Общая характеристика методов получения магнитных наночастиц

.4.2 Получение наночастиц переходных металлов методом термического разложения

.4.3 Получение наночастиц методом химического восстановления

.5 Перспективы использования магнитных нанокомпозитных систем

.6 Ионообменные мембраны

.6.1 Общие сведения об ионитах и ионообменных мембранах

.6.2 Ионообменная емкость ионита

.6.3 Изотерма ионного обмена

2. Экспериментальная часть

2.1 Использованные реактивы и растворы

.2 Определение концентрации ионов Co2+ в растворе

.2.1 Комплексонометрическое титрование исходного раствора хлорида кобальта

.2.2 Спектрофотометрическое определение концентрации ионов Co2+

.3 Определение константы ионного обмена полимерного материала

.4 Получение образцов нанокомпозитных полимерных материалов

.4.1 Подготовка полимера

.4.2 Имплантация ионов кобальта в структуру политетрафторэтилена

.4.3 Восстановление имплантированных в политетрафторэтилен ионов кобальта

.5 Исследование структурных и магнитных характеристик нанокомпохитных полимерных материалов

.5.1 Исследование структуры нанокомпозитных полимерных материалов методами РЭМ

.5.2 Исследование магнитных характеристик нанокомпозитных полимерных материалов методами ФМР

3. Обсуждение результатов

3.1 Определение ионной емкости полимера

.2 Средний размер наночастиц кобальта, содержащихся в структуре полимера на основе политетрафторэтилена

.3 Глубина проникновения наночастиц

.4 Исследование эффективной намагниченности

Заключение

Список использованных источников

Приложения

Введение

В настоящее время свойства наночастиц активно изучаются, особое место среди них занимают магнитные свойства, различие которых, по сравнению с массивным материалом, проявляются наиболее сильно.

В области композитных полимерных материалов большое внимание уделяется полимерным нанокомпозитным магнитным материалам, содержащим наночастицы металла. Интерес к таким материалам вызван в первую очередь возможностью их практического применения в авиа-космической и легкой промышленности, электронике, а также медицине и биотехнологиях. Они могут использоваться в системах магнитной записи и хранения информации, в новых постоянных магнитах, в системах магнитного охлаждения, в качестве магнитных сенсоров. Уникальность таких материалов связана с объединением в них практически важных свойств наночастиц с пластичностью, эластичностью, прочностью и другими свойствами полимеров.

Интересным является нанокомпозитные полимерные магнитные материалы на основе политетрафторэтилена. В структуру такого полимера можно вводить катионы различных металлов, включая катионы ферромагнитных металлов, из которых можно получить магнитные наночастицы, подвергнув их химическому восстановлению. На сегодняшний день данный метод не получил должного внимания, а получаемые материалы в настоящее время далеки от совершенства, по сравнению с неорганическими системами. Наилучшие магнитные свойства наблюдаются при условии, что наночастицы распределены в полимере равномерно, и их концентрация в полимере достаточно высока. При больших концентрациях магнитной фазы (более 30%) наблюдается перколяционый переход, связанный с тем, что ансамбль суперпарамагнитных однодоменных наночастиц переходит в состояние коллективного ферромагнетика.

Таким образом, целью данной работы являлось экспериментальное изучение закономерностей образования наночастиц кобальта методом химического восстановления ионов кобальта имплантированных в структуру полимера на основе модифицированного политетрафторэтилена.

В задачи исследования входило:

определить обменную емкость полимерного материала по отношению к ионам Co2+;

изучить влияние начальной концентрации ионов Co2+, имплантированных в структуру полимерного материала, на размер, упорядоченность и глубину проникновения получаемых наночастиц;

изучить влияние начальной концентрации ионов Co2+, имплантированных в структуру полимерного материала, на магнитные свойства нанокомпозита.

1. Литературный обзор

 

.1 Магнитные свойства веществ


Все вещества в той или иной степени магнитны, некоторые из них проявляют свои магнитные свойства всегда, а некоторые, только если их поместить во внешнее магнитное поле. И в том и в другом случае, если поместить тело во внешнее магнитное поле величиной , то оно приобретет магнитный момент . Магнитный момент, отнесенный к единице объема тела, называют намагниченностью тела , в общем случае он определяется как

. (1)

Намагниченность является векторной величиной и направлена параллельно или антипараллельно напряженности внешнего поля. Единица измерения намагниченности совпадают с единицей измерения индукции внешнего поля, следовательно, тело либо ослабляет, либо усиливает внешнее магнитное поле [1].

Следующее выражение, связывающее магнитный момент с напряженностью внешнего поля, в общем случае определяет важную характеристику тела, называемую магнитной восприимчивостью ч:

. (2)

Магнитная восприимчивость может быть как положительной, так и отрицательной. Положительное значение магнитной восприимчивости характерно для ферромагнитных и парамагнитных веществ, отрицательное - для диамагнитных [2].

Намагниченное тело создает вокруг себя магнитное поле , поэтому индукция результирующего магнитного поля будет равна

. (3)

Если учесть, что величина создаваемого телом магнитного поля

, (4)

то величина результирующего внешнего магнитного поля определяется

 (5)

Величину, стоящую в скобках, называют магнитной проницаемостью магнетика  [1].

 

.1.1 Диамагнетизм

Магнитная восприимчивость диамагнетиков отрицательна и по абсолютной величине значительно меньше единицы, это означает, что диамагнетики намагничиваются в направлении, противоположном полю и выталкиваются из области наибольшей величины поля. Диамагнетизм присущ всем веществам, однако часто подавлен на фоне более сильных парамагнетизма и ферромагнетизма и поэтому в чистом виде встречается только у веществ с заполненными электронными оболочками.

Механизм намагничивания диамагнетиков объясняется следующим образом. Электрон, двигаясь по орбите, создает замкнутый контур с током. Любой замкнутый контур с током обладает магнитным моментом. Внешнее магнитное поле старается ориентировать орбиту электрона перпендикулярно напряженности внешнего поля. Это вызывает прецессию орбиты электрона вокруг направления поля. Частота этой прецессии называется ларморовой частотой прецессии. Прецессионное движение создает дополнительное движение электрона, которое создает замкнутый ток, обладающий магнитным моментом, направленным против направления внешнего поля [1].

 

.1.2 Парамагнетизм

Парамагнетизм наблюдается у атомов с незаполненными электронными оболочками и поэтому с отличным от нуля магнитным моментом. Во внешнем магнитном поле парамагнетик приобретает магнитный момент, направленный по полю, и втягивается в область более сильного магнитного поля. Магнитная восприимчивость парамагнетиков положительна и значительно меньше единицы [1].

Возникновение магнитного момента парамагнетика связывают со следующим. Каждый электрон, находящийся на внешнем незаполненном энергетическом уровне обладает орбитальным и спиновым магнитными моментами. Согласно квантовой теории величины этих моментов, а также их проекции на любое направление принимают только определенные значения , т. е. квантуются. Потенциальная энергия атома  во внешнем магнитном поле  будет определяться выражением

 (6)

где и - угол между H и .

Это значение минимально при и = 0, поэтому все атомы стремятся ориентироваться по полю. Результирующий магнитный момент складывается из проекций магнитных моментов всех атомов на направление внешнего магнитного поля. Так как

,

то задача о нахождении результирующего действия сходится к нахождению среднего значения , отвечающего равновесию между ориентирующим действием поля и дезориентирующим действием теплового движения. Эта задача решается методами классической статистики (Ланжевен) и квантовой статистики (Бриллюэн) [3]. Согласно квантовой статистике Бриллюэна намагниченность и магнитная восприимчивость могут быть определены как

, (7)

. (8)

Величина называется постоянной Кюри С. Откуда следует, что формула (8) выражает закон Кюри. Согласно экспериментальным данным намагниченность оказывается обратно пропорциональной температуре, что согласуется с формулами (7) и (8). В сильных полях прямая пропорциональность между  и  нарушается, и намагниченность достигает насыщения:

. (9)

На рисунке 1 показаны зависимость намагниченности парамагнетиков и диамагнетиков в слабых полях (а), и зависимость намагниченности парамагнетиков в сильных полях (б) [3].

Рисунок 1 - Зависимость намагниченности диамагнетиков и парамагнетиков от величины приложенного поля, и намагниченность насыщения парамагнетика в более сильных полях

 

.1.3 Ферромагнетизм

У некоторых атомов с ненулевым магнитным моментом может наблюдаться другой тип магнетизма - ферромагнетизм. Магнитная восприимчивость ферромагнетиков также положительна, но ее величина на несколько порядков выше, чем у парамагнетиков. Ферромагнетик способен намагничиваться до насыщения даже в относительно небольших по сравнению с парамагнетиками магнитных полях, причем ферромагнетик может иметь магнитный момент даже при нулевом внешнем магнитном поле. Все это объясняется тем, что в ферромагнетике есть отдельные области, спонтанно намагниченные до насыщения. Внешне ферромагнетик может быть не намагничен, так как магнитные моменты этих областей направлены по-разному, нивелируя друг друга [1].

Магнитный момент атома складывается из орбитального и спинового моментов его электронов. Ферромагнетизм проявляется только в атомах с незаполненными внутренними 3d- и 4f-оболочками. Таким образом, ферромагнетики - атомы переходных и редкоземельных элементов. Орбитальный момент электронов на внутренних оболочках экранирован внешним уровнем, поэтому в ферромагнетизм вносят вклад только спины этих электронов. В основе упорядочения в ферромагнетизме лежит электростатическое обменное взаимодействие. В рамках этого взаимодействия рассматриваются волновые функции электронов соседних атомов. В результате появляется величина обменной энергии, которая имеет минимальное значение, когда соседние атомы внутри кристаллографической плоскости обладают сонаправленными или противонаправленными спиновыми магнитными моментами. Какая именно взаимная ориентация спинов будет отвечать принципу минимума энергии определяется отношением постоянной решетки a к размеру электронных оболочек d. Если это отношение больше 1,5, то обменная энергия будет иметь минимальное значение при параллельной ориентации спинов. В случае, когда меньше 1,5, то будет наблюдаться антипараллельная ориентация спинов. Магнетики у которых спины соседних атомов имеют противоположное направление называются антиферромагнетиками. Величина обменной энергии в зависимости от отношения  приведены на рисунке 2 [1].

Рисунок 2 - Величина обменного интеграла в зависимости от отношения

Из приведенной зависимости видно, что такие элементы как марганец и хром являются антиферромагнитными. Однако если мы каким-либо образом повлияем на величину постоянной решетки, то можно сделать отношение  больше 1,5. Такого эффекта можно добиться, например, легированием. Так ферромагнитными являются, например, сплавы Mn-Cu-Al и соединения MnSb, MnBi и др [3].

Обменное взаимодействие, однако, не может ориентировать магнитные моменты всех атомов массивного ферромагнетика в одном направлении. В этом случае он бы имел большую избыточную энергию. Ферромагнетик последовательно разбивается на домены, области в которых сохраняется преимущественно одно направление магнитных моментов атомов. Разделение на домены происходит таким образом, что намагниченности соседних доменов направлены в противоположные стороны. На краях ферромагнетика образуются замыкающие домены, с другой ориентацией намагниченности, которые еще сильнее уменьшают свободную энергию. Таким образом, ферромагнетик в ненамагниченном состоянии состоит из отдельных областей, доменов, спонтанно намагниченных до насыщения. Намагниченность от одного домена к другому изменяется не скачкообразно, между доменами присутствует доменная стенка, в которой одно направление намагниченности постепенно изменяется на противоположное. Размер доменов и их количество определяется равновесием двух энергий, упорядочивающей энергией магнитных моментов отдельных атомов внутри доменов, и энергии доменных стенок [3].

У ферромагнетиков есть характерная температура, называемая температурой Кюри, при превышении которой они переходят в парамагнитное состояние. Магнитная восприимчивость после этой температуры будет изменяться линейно [2].

Магнитная восприимчивость ферромагнетика непостоянна с изменением величины приложенного внешнего магнитного поля. Качественная зависимость магнитной восприимчивости приведена на рисунке 3 (в) [2].

Рисунок 3 - Гистерезис (а), зависимость намагниченности (б) и магнитной восприимчивости (в) от напряженности приложенного магнитного поля.

Из рисунка 3 (в) видно, что магнитная восприимчивость при изменении величины внешнего магнитного поля непостоянна и имеет максимум. Вследствие этого намагниченность ферромагнетика меняется, как показано на рисунке 3 (б), видно, что она вначале растет, а потом выходит на насыщение Jнас.

На рисунке 3 (а) показан цикл перемегничивания ферромагнетика вначале из немагнитного состояния до насыщения в одном напралении, а затем на противоположное и так далее. Видно, что изменение намагниченности некоторым образом отстает от изменения напряженности внешнего магнитного поля. Такое поведение ферромагнетика называют магнитным гистерезисом. Площадь петли гистерезиса определят работу, которую необходимо затратить для перемагничивания единичного объема ферромагнетика. В соответствии с этим ферромагнетики с широкой петлей гистерезиса называют магнитотвердыми, а с узкой - магнитомягкими. Также на рисунке 3 (а) имеется обозначены несколько характерных для петли гистерезиса величин. После снятия внешнего магнитного поля ферромагнетик не размагнитится до нуля, а будет обладать так называемой остаточной намагниченностью, обозначенной на рисунке 3 (а) как Jост. Чтобы полностью размагнитить ферромагнетик, необходимо приложить поле, по направлению обратное намагничивающему, а по величине равное Hc, которое также называют коэрцитивной силой. Если рассмотреть изменение намагниченности при приложении внешнего магнитного поля в более высоком масштабе, то можно увидеть, что это изменение не плавное, а носит ступенчатый характер. Такое поведение называется эффектом Баркгаузена, и связано с особым механизмом намагничивания ферромагнетика в целом, которое заключается в постепенном расширении домена, направление намагниченности которого максимально совпадает с направлением внешнего магнитного поля [1-3].

 

.2 Размерные эффекты в магнетизме

 

.2.1 Магнитные характеристики наночастиц

При уменьшении размеров ферромагнитных частиц до наномасштабов их магнитные свойства изменяются в соответствии с несколькими размерными эффектами. Во-первых, при определенном размере частиц, они переходят в однодоменное состояние, когда ее размер становится сопоставимым с корреляционным радиусом обменного взаимодействия [4]. Точнее, при уменьшении объема частиц, удельный вес поверхностной энергии доменных стенок возрастает и становится сравнимым с обменной энергией. В этом случае наиболее энергетически выгодным становится однодоменное состояние и индивидуальная наночастица размером ниже критического представляет собой небольшой постоянный магнит [5]. Величина критического размера перехода в однодоменное состояние носит индивидуальный характер для каждого вещества. Теоретическая оценка критического радиуса в приближении сферических частиц приведена в [6, 7], и показана в таблице 1.

Таблица 1 - Критический диаметр однодоменности для некоторых материалов.

Материал

Критический диаметр, нм

Co

от 68 до 70

Ni

от 32 до 55

Fe

от 12 до 30

Fe3O4

128


Нужно, однако, отметить, что термин однодоменность не означает, что частица намагничена однородно, он лишь подразумевает отсутствие доменных стенок [6].

Вторая особенность наночастиц заключается в изменении структуры, сопровождаемое изменением фазового состава или формированием сложного наноструктурного образования, состоящего из ядра и пассивной оболочки [4].

При переходе к наночастицам существенное изменение претерпевают такие ее магнитные характеристики как намагниченность насыщения, остаточная намагниченность и коэрцитивная сила [5]. На рисунке 4 показан качественный вид изменения коэрцитивной силы магнитных частиц.

Рисунок 4 - Зависимость коэрцитивной силы от размера частиц

На рисунке 4 видно, что коэрцитивная сила имеет непостоянное значение при изменении размера частицы, и существует два характерных критических размера. Первый из них  соответствует переходу частицы из многодомного состояния в однодоменное, коэрцитивная сила при этом имеет максимальное значение. Это объясняется тем, что в многодоменном состоянии перемагничивание начинается с доменных стенок, в отсутствии доменных стенок единственным механизмом перемагничивания является когерентное вращение большинства магнитных моментво частицы. Этому вращению препятствуют анизотропия формы частиц, кристаллографическая анизотропия и магнитная анизотропия. Второй критический размер  отвечает переходу частицы в так называемое суперпарамагнитное состояние, о котором речь пойдет несколько позднее [5, 8].

Экспериментальное подтверждение такого поведения коэрцитивной силы отражено, например, в работе [9]. В ней исследовались магнитные свойства наночастиц железа в оксидной оболочке различного размера от 6 до 75 нм, толщина оболочки имела величину до 3 нм. Коэрцитивная сила таких частиц была максимальное для частиц размером около 25 нм и принимала в этом случае значение 1000 Э. Суперпарамагнитные свойства начали появляться для частиц размером менее 12 нм. При среднем размере частиц 7 нм полученный авторами порошок становился полностью суперпарамагнитным.

Увеличение коэрцитивной силы у наночастиц находит свое подтверждение и в других экспериментах, описанных в статьях [10-12].

Форма петли гистерезиса у наночастиц может сильно отличаться от ее формы для массивных ферромагнетиков. Помимо коэрцитивной силы на ее форму влияют изменяющиеся величины магнитного насыщения и остаточной намагниченности наночастиц. Изменение остаточной намагниченности похоже на изменение коэрцитивной силы и при переходе в суперпарамагнитное состояние, она также становится равной нулю [10-12].

Намагниченность насыщения у наночастиц меньше чем у объемных материалов. В частности экспериментально это продемонстрировано во многих экспериментальных работах. В работе [10] восстановлением хлорида никеля гидразином получали наночастицы никеля в зависимости от условий размером от 15 до 18 нм, величина магнитного насыщения у которых меньше чем у объемного никеля. В работе [13] такая особенность наночастиц объясняется наличием особенной поверхностной структуры наночастиц, в котором спины разупорядочены и не участвуют в намагничивании. В работах [11, 14] такой поверхностный слой из-за специфичности его поведения был назван также "мертвым слоем".

Магнитные свойства наночастиц также находятся в зависимости от температуры. Это хорошо проявляется в таком состоянии наночастиц как суперпарамагнетизм.

 

.2.2 Суперпарамагнетизм

На рисунке 4 дальнейшее уменьшение размера меньше критического размера перехода в однодоменное состояние  сопровождается уменьшением коэрцитивной силы. При достижении размера  коэрцитивная сила обращается в нуль. Отсюда следует, что ансамбль суперпарамагнитных частиц ведет себя подобно парамагнитному газу с той разницей, что вращаются не атомы целиком, а лишь их магнитные моменты [5].

С другой стороны с увеличением температуры, энергия тепловых колебаний становится все более сравнимой с энергией магнитного упорядочения при некотором значении температуры, называемой температурой блокировки, которая значительно ниже температуры Кюри, перестает наблюдаться гистерезис. В этом случае при отсутствии внешнего магнитного поля магнитный момент частицы будет беспорядочно флуктуировать, как это происходит у парамагнетиков, однако магнитный момент суперпарамагнетиков в несколько раз больше [1].

Для наночастиц существенно наличие поверхностной анизотропии. Она проявляется в том, что у наночастицы имеются оси легкого и трудного намагничивания. Простейший вид анизотропии - одноосная анизотропия. Если предположить, что наночастицы изотропны, что почти никогда не выполняется, то можно получить формулу Ланжевена, определяющую магнитный момент системы

, (10)

где  - магнитный момент одной частицы, равный намагниченности насыщения  объемного материала, умноженной на средний объем частиц , N - общее число частиц.

Уравнение 10 можно использовать для определения размеров наночастиц. Так, например, было подтверждено, что средний радиус наночастиц кобальта, полученных восстановлением боргидридом натрия в структуре полимерной матрицы, равен 3,8 нм. Этот результат хорошо согласуется с данными, полученными в этом же исследовании из просвечивающей электронной микроскопии [15].

Если внешнее поле и поверхностная анизотропия отсутствуют, то энергия минимальна, если магнитный момент частицы ориентирован в направлении оси анизотропии, при этом для перехода между направлениями соответствующим минимумам энергии необходимо преодолеть барьер

, (11)

где  - константа объемной анизотропии, V - объем частицы.

Характерное время установления магнитного момента однодоменной частицы с одноосной анизотропией может быть оценено с помощью формулы

. (12)

Коэффициент , вообще говоря, не постоянен и зависит от многих параметров, в числе которых температура, гиромагнитное отношение, намагниченность насыщения, константы анизотропии. Несмотря на этот факт, часто ее значение принимают постоянным в диапазоне от  до  с [6].

Если температура окружающей среды такова, что , то время перехода системы в состояние с минимальной энергией становится малым по сравнению с временем измерения. Этот случай отвечает суперпарамагнитному состоянию вещества. Для температур, при которых , время релаксации превышает время характерного измерения, следовательно система не успевает отрелаксировать к новому равновесному состоянию. При температуре, для которой время релаксации становится равным характерному времени измерения. Такая температура называется температурой необратимости  или температурой блокировки  [6]. Воспользовавшись формулой (12) и стандартного для магнитометрических исследований характеристического времени измерений можно определить температуру блокировки как

. (13)

Температура блокировки, получаемая решением уравнения 13, соответствует случаю, при котором внешнее магнитное поле отсутствует. Величину температуры блокировки в зависимости от величины внешнего магнитного поля можно быть получить по следующей формуле

, (14)

где  для малых полей равна 2, и 2/3 для больших полей,

 - коэрцитивная сила.

Значение  равное 2/3 также отражено в работе [16], при экспериментальном магнитометрическом исследовании Ni0.5Cu0.5Fe2O4 при разных значениях приложенного внешнего поля.

Из зависимости температуры блокировки от коэрцитивной силы следует зависимость температуры блокировки от размера частиц. Согласно данным публикаций [16-19] температура блокировки возрастает с увеличением размера частиц. Так например в [19] наночастицы полученные восстановлением хлорида кобальта боргидридом, которые в зависимости от условий синтеза имели размер от 2,2 до 7,5 нм, показали, что температур блокировки с увеличением частиц растет.

 

.2.3 Влияние концентрации наночастиц на магнитные свойства полимера

На магнитные свойства нанокомпозитных полимерных материалов существенным образом зависят от содержания магнитных наночастиц в немагнитной матрице. Однодоменные наночастицы при температурах выше температуры блокировки, как обсуждалось ранее, имеют суперпарамагнитные свойства. Если содержание наночастиц в полимерной матрице превышает некоторое пороговое значение, называемое порогом перколяции, то происходит структурная перестройка магнитной компоненты, и материал переходит от суперпарамагнитного к ферромагнитному состоянию. Порог перколяции определяется геометрическими особенностями нанокомпозита, одним из которых является толщина диэлектрического барьера, при которой возможно туннелирование поляризованных электронов между соседними магнитными гранулами [20].

 

.3 Методы исследования магнитных свойств наночастиц

 

.3.1 Магнитометры

Свойства магнитных наноматериалов чаще всего изучают, используя магнитометры. С помощью магнитометра можно измерить намагниченность образца при разных величинах приложенного поля и разной температуре. В результате измерения полного цикла перемагничивания образца можно получить петлю гистерезиса, а также увидеть ее изменение при разных температурах. Из петли гистерезиса, как это уже отмечалось выше, можно узнать такие характеристики образца как намагниченность насыщения, остаточную намагниченность и коэрцитивную силу [6].

Существуют много видов магнитометров, однако для исследования свойств наноматериалов наиболее часто применяют вибрационные магнитометры и СКВИД-магнитометр. В вибрационном магнитометре образец помещается в постоянное магнитное поле, создаваемое катушками, и подвергают его механическим колебаниям высокой частоты небольшой амплитуды с помощью пьезоактуатора. В результате этих колебаний образец создает вокруг себя магнитное поле, пропорциональное его магнитному моменту, которое регистрируется специальными датчиками. В СКВИД-магнитометрах измерения основаны на волновых свойствах электронов. Основной элемент такого магнитометра - миниатюрный датчик, представляющий собой проводящее кольцо, разделенное с двух сторон джозефсоновским переходом. Через кольцо пропускают электрический ток, в силу малости кольца электрон рассматривают с точки зрения электромагнитной волны, которая разделяется на две, каждая из которых туннелирует через джозевсоновский контакт, а потом собираются вместе. После прохождения тока через кольцо регистрируется интерференция от двух волн. Если в кольце будет присутствовать магнитное поле, то оно будет приводить к образованию дополнительной разности фаз, определяя которую устанавливают величину магнитного момента. При использовании вибрационных магнитометров и СКВИД-магнитометров образце подвергают заморозке вплоть до температуры 4,2 К, поэтому их оснащают дополнительным оборудованием, которое сможет обеспечить такие температуры [6]. кобальт наночастица политетрафторэтилен полимерный

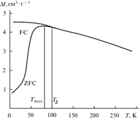
Для того чтобы определить температуру блокировки суперпарамагнитных частиц проводят два исследования: образец замораживают до низких температур при нулевом внешнем магнитном поле, а затем в процессе нагревания производят измерения намагниченности (Zero-Field-Cooling, ZFC); образец замораживают в присутствии внешнего магнитного поля, и производят измерения в процессе его нагревания (Field-Cooling, FC). Полученные зависимости называют ZFC- и FC-кривыми. Их качественный вид представлен на рисунке 5.

Рисунок 5 - Качественный вид ZFC- и FC-кривых, получаемых при исследовании температурной зависимости намагниченности на магнитометре

Процесс измерения проводят при включенном внешнем магнитном поле в обоих случаях. Видно, что кривые намагничивания при уменьшении температуры следуют по одной линии, а затем при температуре, соответствующей температурой блокировки, расходятся. После температуры блокировки дальнейшее уменьшение температуры приводит к росту кривой FC, кривая ZFC вначале еще немного растет, достигает максимального значения и затем уменьшается до небольших значений. Из этого следует, что при температуре ниже температуры блокировки однодоменные частицы ферромагнитны, а при температурах выше температуры блокировки они проявляют суперпарамагнитное поведение.

Для того чтобы получить кривую полного цикла перемагничивания и петлю гистерезиса, при постоянной температуре изменяют величину приложенного магнитного поля так, что образец вначале намагничивают до насыщения в одном направлении, а затем в другом. Так можно получить зависимость коэрцитивной силы, приведенную ранее на рисунке 4 [5, 6].

 

.3.2 Ферромагнитный резонанс

Ферромагнитный резонанс (ФМР) является разновидностью электронного магнитного резонанса. Особенность резонансного поглощения электромагнитного излучения ферромагнетика во внешнем поле заключается в том, что спины атомов не являются изолированными друга, а оказываются сильно связанными обменным взаимодействием. В этом случае рассмотрение механизма резонанса аналогичного парамагнитному невозможно, и поэтому для случая ферромагнетиков разработан метод спиновых волн, которые можно представить как распространение колебаний намагниченности в сплошном ферромагнетике. Можно также отметить, что в случае ФМР можнзмерять как поглощенное поглощение электромагнитной энергии, так и коэффициент отражения волны от поверхности образца, выбор подхода определяется исследуемым материалом [21, 22].

Для исследования ФМР образец помещается в постоянное магнитное поле. При помещении атомов в постоянное магнитное поле наблюдается Эффект Зеемана, связанный со снятием вырождения электронов по энергии и расщеплением их электронных уровней на два подуровня, разделенных энергией, величина которой зависит от напряженности приложенного поля. Помимо постоянного поля, прикладывают еще и высокочастотное переменное электромагнитное поле. Частота этого поля обычно имеет значения в диапазоне от 9 до 10 ГГц. На рисунке 6 показано расщепление энергетических уровней электронов, связанное с помещением образца в постоянное магнитное поле.

Рисунок 6 - Расщепление уровней электрона при помещении образца в постоянное магнитное поле.

Распределение электронов по подуровням подчиняется принципу Больцмана, поэтому на уровне с минимальной энергией количество электронов выше. Если частота внешнего переменного электромагнитного поля будет такая, что энергия кванта будет совпадать с энергетическим зазором между уровнями, то будет наблюдаться резонансное поглощение. Однако на практике чаще изменяют не частоту переменного поля, а величину приложенного постоянного поля [22].

На частоту резонанса оказывают влияние многие факторы: форма образца, магнитная анизотропия, доменная структура. Влияние формы образца и энергии магнитной анизотропии учитывается в модели Киттеля. Учет влияние формы образца сводится с вводом размагничивающих факторов , сумма которых в системе СГС равна 4р, а в системе СИ она равна 1, что показано в формуле (15):

. (15)

Предполагается, что сам ферромагнетик при этом имеет форму эллипсоида вращения. Дальнейший учет размагничивающих факторов и приводит к определению нескольких стандартных моделей, применяемых на практике: тонкая пластинка

,  или , ,

сфера

,

бесконечный цилиндр

,  или ,  [22].

Сама формула определения резонансной частоты выглядит следующим образом:

 (16)

где  - это переменная намагниченность вдоль оси приложенного внешнего постоянного магнитного поля;

 - напряженность внешнего магнитного поля.

В публикации [23] отражен результат исследования методом ФМР наночастиц Co размером от 5 до 9 нм, покрытых полимерной оболочкой. Полученный спектр ФМР и его первая производная показаны на рисунке 7.

Рисунок 7 - Спектр ФМР наночастиц Co в полимерной оболочке: (а) - первая производная спектра, (b) - спектр полученный интегрированием спектра (a)

Для измерения характеристик магнитной анизотропии ФМР спектрометры оборудованы механизмом вращения образца. Благодаря этому получают серию спектров, при разных углах подмагничивания (различных ориентациях постоянного магнитного поля к плоскости образца). При этом как правило поле, при котором наблюдается резонанс смещается от первоначального положения. Угловая зависимость резонансного поля, полученная для, например, ионов кобальта в полимерной матрице и описанная в работе [24], показана на рисунке 8.

Рисунок 8 - Угловая зависимость резонансного поля, полученная для серии полимерных образцов, содержащих наночастиц кобальта

Из рисунка 8 видно, что при определенных ориентациях образца будет наблюдаться максимальная резонансная частота, а для других минимальная. Это связано с явлением магнитной анизотропии, и наличии в образце осей легкого и трудного намагничивания. Намагниченность образца вдоль оси легкого намагничивания всегда выше. В данном случае представлена одноосная анизотропия, для которой характерно наличие одной оси легкого намагничивания.

 

.4 Методы получения наночастиц в полимерах

 

.4.1 Общая характеристика методов получения магнитных наночастиц

Все методы получения наночастиц магнитных металлов можно разделить на физические методы и химические. К физическим методам относят различные механические методы диспергирования, конденсационные методы осаждения из газовой фазы, и другие эпитаксиальные методы (с использованием явления самоорганизации), не связанные с химическими превращениями веществ. Все эти методы дают хорошие результаты, но как правило, такие методы связаны с использованием сложного технического оборудования и затрат высоких энергий. Также проблематичной является стабилизация готовых наночастиц, что ограничивает их использование в магнитных наноматериалах, в частности в магнитных системах записи информации. Химические методы получения наночастиц, могут предоставить более гибкие условия, позволяющие получать большое разнообразие наночастиц. Химический синтез можно проводить как в газовой, так и в жидких средах. Особое внимание следует уделить методам стабилизации наночастиц при синтезе в жидких средах, поскольку высокая площадь поверхности и большая избыточная поверхностная энергия может приводить к агрегации наночастиц. Чаще всего для стабилизации наночастиц используют поверхностно-активные вещества, которые окружают образующиеся наночастицы и оберегают их от агрегации. Особое место занимает синтез в, так называемых, нанореакторах, который еще иногда называют синтезом в водно-органических средах. Наночастицы в этом случае как правило получают химическим восстановлением при смешивании двух растворов, содержащих мицеллы, внутри которых находятся в одном мицеллярном растворе водный раствор соли необходимого металла, а в другом - водный раствор восстановителя. При смешивании мицеллы объединяются и образуют наночастицы металлов, ограничителем роста будет служить сама мицелла [6, 7].

Другим видом стабилизации наночастиц служит присутствие твердой полимерной матрицы. Как правило, такие структуры имеют поры, выступы, впадины и другие неровности, которые являются местом, на котором закрепляются образующиеся наночастицы и их перемещение ограничивается. При этом не обязательно использование именно органических полимеров, неогранические тела, обладающие ажурной структурой также могут служить хорошими стабилизаторами наночастиц. Примером использования неорганических стабилизаторов, может быть стабилизация наночастиц рения в цеолите [25].

Синтез может происходить на поверхности нерастворимых полимерных гранул. Наиболее часто в этом случае для получения наночастиц кобальта или железа применяют метод термического разложения октакарбонила кобальта или пентакарбонила желаза.

Далее можно подробнее рассмотреть химические методы, применяемые для получения наночастиц переходных металлов группы железа, наиболее встречаемые в литературе. Также подробный акцент будет сделан на управление магнитными свойствами изменением условий синтеза.

 

.4.2 Получение наночастиц переходных металлов методом термического разложения

Авторами [18] метод термического разложения ацетата кобальта и пентакарбонила железа были получены наночастицы кобальта на поверхности ультрадисперсного политетрафторэтилена. В емкость, содержащую минеральное масло, вначале добавляли необходимое количество металлсодержащего прекурсора, а затем гранулы политетрафторэтилена; синтез проводили методом термического разложения в атмосфере аргона. Авторами было замечено, что гранулы политетрафторэтилена вначале располагаются на поверхности, а затем по мере наполенения их поверхности наночастицами металла они переходили в более глубокие слои, постоянное перемешивание системы обеспечивало равномерность заполнения гранул политетрафторэтилена наночастицами. После получения необходимого количества материала, минеральное масло заменяли на бензоле и высушивали под вакуумом. Авторами было достигнуто содержание наночастиц в полимерной матрице 5% по массе.

Дальнейшее исследование наночастиц на просвечивающем электронном микроскопе показало, что средний размер наночастиц железа равен 6 нм, а средний размер наночастиц в случае кобальта равен 4,7 нм. Также показано, что частицы имеют сферическую форму. Данные элементарного анализа показали, что содержание кобальта и железа по массе равно соответственно 3,9%, и 4.1%. Исследование магнитных свойств образца содержащего кобальт показало, что при комнатной температуре коэрцитивная сила равна 300 Э и увеличивается до 600 Э при температуре 4.2 К. Наибольшее значение намагниченности около 0,4 emu/g (при 6 кЭ). Исследование кривых FC и ZFC показало типичное для однодоменных частиц поведение: с увеличением температуры магнитный момент растет и достигает максимального значения. Однако при температурах ниже 25 К было обнаружено нетипичное для наночастиц поведение, которое авторы объясняют возможным присутствием фазы CoF2. Исследования образца содержащего железо показало типичное ферромагнитное поведение при комнатной температуре с коэрцитивной силой 150 Э. При температуре 5 К коэрцитивная сила увеличивалась до 700 Э. Наивысшая намагниченность составляла 0,58 emu/g (при 7 кЭ). Также авторами были рассчитаны константы магнитной анизотропии для обоих образцов.

Анализ свойств полученного материала показывает, что он может быть использован в магнитных средствах записи информации и в других областях.

Другой пример использования метода термического разложения для получения наночастиц кобальта описан в работе [26]. В качестве прекурсора использовали формиат кобальта Co(HCOO)2·2H2O. В предварительно нагретое минеральное масло до температуры меньшей, чем необходимо для термического разложения, медленно по каплям добавляли формиат кобальта. Затем масло нагрели до необходимой температуры в атмосфере аргона, чтобы как можно снизить оксидацию. Полученные наночастицы затем отделяли центрифугированием. Размер полученных частиц затем был оценен с помощью просвечивающей электронной микроскопии и составил около 13,8 нм. С помощью рентгеновской дифракции размер частиц был уточнен и оказался равным 9,0 ± 0,8 нм. Также из рентгеноструктурного анализа видно, что в конечном продукте присутствуют оксиды кобальта. Исследований магнитных свойств авторы не проводили, но раз частицы имеют размер существенно меньший чем критический размер перехода в однодоменное состояние, то следует ожидать, что при комнатной температуре частицы могут иметь суперпарамагнитное состояние.

 

.4.3 Получение наночастиц методом химического восстановления

Большой раздел методов получения наночастиц занимают методы получения химическим восстановлением металлов из водных растворов их солей. Чаще всего для получения наночастиц переходных металлов в качестве восстановителя используют тетрагидроборат натрия и гидразин. Первый из них применяют в водных растворах, тогда как гидразин наиболее эффективен в спиртовых растворах.

В работе [27] описан способ получения наночастиц никеля восстановлением гидразином в чистом этаноле, стабилизатором служил поливинвилпирролидон. Порядок синтеза выглядел следующим образом: в колбу содержащую чистый этанол добавляли NiCl2·6H2O и поливинилпирролидон и перемешивали, добиваясь полного их растворения, затем добавляли гидразин. Для обеспечения прохождения реакции необходима щелочная среда (pH больше 8), и повышенная температура (60 °С), поэтому добавляли NaOH и емкость нагревали. Через 5 минут раствор приобретал черный цвет, что свидетельствовало об образовании наночастиц никеля. Полученные наночастицы отделяли центрифугированием и проводили исследование их свойств.

По данным исследования на просвечивающем электронном микроскопе видно, что частицы хорошо распределены внутри полимерной матрицы и имеют средний размер 3 нм. Исследование кривых ZFC и FC, полученных с помощью магнитометрии, показало, что частицы при комнатной температуре ферромагнитны, однако проявляют типичное для однодоменных частиц поведение с температурой блокировки 14 К.

Наночастицы никеля в такой же матрице, но которые представляют собой агрегаты более мелких частиц, получены другими авторами в работе [10]. Условия восстановления были примерно такие же, как и в предыдущем случае, однако вместо этанола был использован водный раствор. Авторы проводили серию опытов, варьируя количество полимера, что впоследствии приводило к различным результатам. Полученный материал затем отмывали водой и спиртом и сушили при температуре 50 °C.

По данным растровой электронной микроскопии размер полученных частиц был около 100 нм. Форма наночастиц была достаточно интересной, частицы имели сферическую форму и были покрыты остроконечными иглами длиной от 20 до 100 нм. По данным рентгеноструктурного анализа удалось подтвердить, что частицы размером 100 нм состоят из более мелких кристаллитов, средний размер которых увеличивался при увеличении количества вводимого полимера. Авторами были получены образцы со средним размером кристаллитов 15,6 нм, 16,3 нм, 17,0 нм и 17,9 нм.

При комнатной температуре материал показывает ферромагнитное поведение: коэрцитивная сила равна 304 Э, намагниченность

насыщения - 52,5 emu/g, остаточная намагниченность - 9,6 emu/g. Коэрцитивная сила заметно выше, коэрцитивной силы массивного никеля (100 Э), а намагниченность насыщения немного меньше.

Наночастицы кобальта или железа можно получить восстановлением CoCl2·6H2O и FeCl3·6H2O боргидридом в водном растворе в присутствии полимерной матрицы. Авторы [12] получали наночастиц Fe и Co, распределенные в полидиметилсилоксановой полимерной матрице. Однако сам процесс включал в себя несколько стадий: вначале получали наночастицы Fe или Co в водном растворе восстановлением боргидридом и при этом их стабилизировали олеиновой кислотой; потом полученные наночастицы переносили в растворенный полидиметилсилоксановый полимер, на следующем этапе полимер подвергали нагреванию до 100 °C, что приводило к его затвердеванию. В результате получали гибкие полимерные мембраны, содержащие магнитные наночастицы железа или кобальта.

Установлено, что содержание наночастиц в мембранах по массе в случае с Co и Fe соответственно равно 16% и 25%. Мембраны имели круглую форму диаметром 50 мм и толщину 250 мкм. Размер наночастиц, полученный по результатам рентгеноструктурного анализа, оказался в среднем равным около 40 нм. Исследование кривой намагничивания наночастиц мембране показало значение коэрцитивной силы равное 150,7 Э, что оказалось выше, чем корцитивная сила наночастиц без полимерной оболочки (52 Э), которые также подвергали исследованию. Однако и в том и в другом случае коэрцитивная сила больше, чем коэрцитивная сила массивного кобальта. Намагниченность насыщения, как это и следует ожидать, у массивного кобальта (162 emu/g) выше, чем у свободных наночастиц (19 emu/g) и у наночастиц в мембране (16 emu/g).

Полученные мембраны, авторы считают пригодными для использования их в качестве магнитных актуаторов.

Другая группа исследователей [13] показала, что в качестве матрицы, стабилизирующей наночастицы кобальта можно использовать микрокристаллическую целлюлозу (МКЦ). Также они проанализировали результаты при использовании двух разных восстановителей: боргидрида натрия и гипофосфита натрия. Вначале производили диффузию ионов Co2+ в МКЦ матрицу, интенсивным премешиванием раствора Co(CH3COO)2 в присутствии МКЦ (при этом pH раствора подняли до 12), далее в раствор добавляли восстановитель.

Исследование на растровом электронном микроскопе показали наличие наночастиц с распреледение размеров от 3 до 14 нм, в некоторых случаях образуются крупные агрегаты. Исследование магнитных свойств показало, что применение для восстановления боргидрида натрия проявляются большие значения коэрцитивной силы. Образцы, полученные восстановлением гипофосфитом натрия обладали меньшими значениями коэрцитивной силы. Такая зависимость объъсяняется авторами работы тем, что частицы, получаемые с помощью боргидрида натрия, покрыты антиферромагнитной оксидной оболочкой, и поэтому коэрцитивная сила увеличивается, так как между оболочкой и ядром частицы появляется внутреннее магнитное поле. В случае использования гипофосфита натрия частицы получаются чисто ферромагнитными, причем частицы имеют однодоменное поведение.

В качестве стабилизирующего полимера можно применять ионообменные мембраны. Авторы серии статей [15, 28-31] получили нанокомпозитные полимерные материалы, представляющие собой мембраны МФ-4СК с наночастицами Ni, Fe и Co в их структуре. Процедура синтеза наночастиц была похожа на приведенный в прошлом примере процесс получения наночастиц в структуре микрокристаллической целлюлозы. Ионообменные мембраны помещали в раствор хлорида соответствующего металла, мембрана МФ-4СК за счет свойственного ей ионного обмена поглощала ионы металлов из раствора, далее мембраны переносили в свежеприготовленный раствор восстановителя - боргидрида натрия. Авторы в своих статьях не раскрывали условий синтеза, но подробно рассматривали свойства полученных частиц. Размер полученных частиц по результатам исследования на просвечивающем микроскопе составил 3,8 нм, 2,8 нм и 1,8 нм для Co, Fe и Ni, соответственно. Распределение размеров было во всех случаях достаточно узким: ± 1 нм. С помощью

СКВИД-магнитометра провели исследования намагничивания образцов. Образцы, содержащие наночастицы кобальта, представляли для авторов наибольший интерес, поэтому их было приготовлено три образца с разным содержанием наночастиц кобальта. Образцы, содержащие 1,6·1020 атомов на 1 грамм полимера, показывали при комнатной температуре типичное ферромагнитное поведение и имели петлю гистерезиса. Коэрцитивная сила была равна 325 Э, что превышает коэрцитивную силу массивного кобальта. Образцы, содержащие большее количество кобальта, при комнатной температуре показывали уже суперпарамагнитное поведение. По результатам исследования кривых ZFC и FC, установлено, что температура блокировки с увеличением количества кобальта на 1 грамм полимера уменьшалась. Приложение разных магнитных полей во время получения кривых ZFC и FC, показало, что с увеличением приложенного поля намагниченность на грамм увеличивается, а температура блокировки уменьшается. Также авторы провели исследование ферромагнитного резонанса полученных мембран. Полученная зависимость резонансного поля и ширины линии поглощения от угла подмагничивания приведена на рисунке 9.

Видно, что материал проявляет анизотропные свойства, вид которых описывается стандартной моделью тонкой бесконечно большой пластинки [22]. Ось легкого намагничивания параллельна плоскости полимера.

Рисунок 9 - Угловая зависимость резонансного магнитного поля и ширины линии поглощения, полученные с помощью ФМР

Исследование магнитных свойств образцов содержащих Ni и Fe показали, что при комнатной температуре они суперпарамагнитны. Температура блокировки образца, содержащего Fe, оказалась равной 200 К, а образца, содержащего Ni была равна 9 К.

 

1.5 Перспективы использования магнитных нанокомпозитных систем


Дальнейшие перспективы использования наночастиц в полимерах будут связаны с использованием их в системах магнитной записи информации. Об этом свидетельствуют многочисленные работы по спинтронике - новой области электроники, которая имеет дело с зарядами и спинами. Это связано с большими перспективами, отрывающимися благодаря использованию не только заряда, но и магнитных моментов, связанных со спином. Ожидается, что использование магнитного момента носителя заряда существенно расширит возможности проектирования электронных устройств. В частности это касается разрабатываемой в настоящее время энергонезависимой сверхплотной магнитной памяти MRAM (Magnetic Random Access Memory), которая не подвержена износу при операциях чтения и записи. Созданные на сегодняшний день образцы такой памяти пока далеки от совершенства и представляют собой лабораторные образцы, получение которых в промышленных масштабах пока не оправдано [6, 7].

Одной из нерешенных проблем пока является не очень большая коэрцитивная сила, которая заметно меньше теоретических пределов. Другой не менее важной проблемой является недостаточно развитая упорядоченность наночастиц в полимерных материалах. Для создания новых высокоупорядоченных функциональных магнитных материалов с улучшенными свойствами, требуется разработать методик организации наночастиц [6, 7].

Помимо систем записи информации наночастицы, могут применяться в других областях. Примером могут служить, например, магнитомеханические устройствах, в частности в магнитные актуаторы. Их можно применять для бесконтактного перемещения объектов на небольшие расстояния там, где использование пьезоактуаторов ограничено. Недавно был предложен материал, представляющий собой гибкую полимерную мембрану, в которой распределены ферромагнитные наночастицы. Приложение магнитного поля вызывает растяжение или сжатие материала [12]

 

.6 Ионообменные мембраны

 

.6.1 Общие сведения об ионитах и ионообменных мембранах

Ионитом чаще всего выступает полимерное тело, в структуре которого имеются вещества, или отростки, способные диссоциировать на ионы. Также ионитом могут выступать достаточно развитые и неорганические вещества с ажурной или сетчатой структурой, например цеолиты. Ионит образует отдельную гетерогенную фазу. При диссоциации, по крайней мере, одна разновидность ионов по тем или иным причинам не должна иметь возможности покинуть фазу ионита и перейти границу раздела. Такие ионы называют фиксированными, они чаще всего образуются при диссоциации фиксированных ионогенных групп. Также в ионите содержится эквивалентное фиксированным группам по заряду количество ионов противоположного знака, называемых противоионами, которые могут переходить границу раздела в эквивалентных количествах. Отсюда следует, что фаза иона электрически нейтральна, и противоионы свободно переходят границу раздела, причем количество перешедших в ионит ионов в единицу времени равно количеству вышедших из ионита ионов того же знака за этот же промежуток времени [32]. Так определяют понятие ионного обмена - гетерогенный химический процесс с участием электролитов и образуемых ими ионов. Одной из фаз этой гетерогенной системы обязательно является ион [32].

Стоит отметить, что иониты по виду заряда противоиона разделяют на катиониты, противоион в которых имеет положительный заряд, аниониты, противоионы имеют отрицательный заряд, и амфолиты, в них противоионами выступают как положительные так и отрицательные ионы [32].

Одно из важных свойств ионита как полимерного тела - набухание, которое обеспечивает быстрое течение ионного обмена и существенно влияет на его характер. Набухание протекает в силу двух причин. Первая связана с наличием в ионите полярных функциональных групп, способных к гидратации или сольватации и к удержанию в ионите противоионов. Вторая связана с противоионами, которые способны к гидратации и независимому движению в ионите. Набухание зависит в первую очередь от заряда противоионов в ионите: чем выше заряд противоиона, тем меньшее количество противоионов входит в ионит. Отсюда следует, что чем выше заряд противоиона, тем меньшее количество воды поглощается ионитом. С электростатической точки зрения, кулоновское взаимодействие противоионов меньшего заряда с функциональными группами слабее, чем ионов большего заряда. Поэтому и силы отталкивания одноименно заряженных фрагментов цепей друг от друга сильнее, и они находятся в набухшем состоянии дальше друг от друга. Также, на набухание влияют и другие параметры: степень сшивки матрицы, концентрация и состав внешнего раствора, степень диссоциации функциональных групп, pH системы [32].

Согласно [33] гетерогенные ионообменные мембраны получают прессованием соответствующего ионита и полиэтилена. В результате получаются тонкие листы толщиной от 0,3 до 0,4 мм (иногда тоньше). Мембраны как правило обладают достаточно высокой химической стойкостью и их можно использовать при любом pH. Катионообменные мембраны, однако, обладают более высокой стойкостью, чем анионообменные. Бывают также и гомогенные мембраны, изготавливаемые введением функциональных групп в матрицы, изготовленные на основе термопласта, к которому привиты моно- и дивинильные мономеры.

Использованные в данной работе, модифицированные перфторированные мембраны марки МФ-4СК. В них основой служит политетрафторэтилен, который регулярно разделен перфторвиниловым эфиром, а также имеет боковую цепь, которая заканчивается сульфогруппой, к которой могут прикрепляться положительно заряженные ионы. Химическая формула такого полимера приведена на рисунке 10 [34].

Рисунок 10 - Химическая формула полимера МФ-4СК.

На рисунке 10 символ М+ показывает любой положительный ион, который может быть присоединен к сульфогруппе. Установлено, что в мембране присутствует две несмешивающиеся фазы: фтороуглеродная фаза и ионоводная фаза. Показано, что вторая фаза представляет собой структуру, называемую "кластерной сетью". Схематично внутренняя структура мембраны показана на рисунке 11.

Рисунок 11 - Схема внутренней структуры мембраны МФ-4СК

Из рисунка видно, что полимерная фтороуглеродная цепь образует поры, соединенные каналами. Внутри этих пор и каналов помещается ионоводная фаза, которая обеспечивает ионный транспорт в мембране. Среднее расстояние между порами составляет 5 нм, средний диаметр поры 4 нм, а средняя ширина канала равняется 1 нм [34].

 

.6.2 Ионообменная емкость ионита

Емкость обмена является важнейшей количественной характеристикой ионитов, характеризующая суммарное количество противоионов, приходящееся на единицы массы сухого ионита. Эта величина теоретически должна соответствовать числу функциональных групп и может быть оценена по их содержанию в ионите [32].

Мерой обеднения или обогащения любого сорбента служит величина, называемая коэффициентом распределения  и равная отношению концентрации вещества в сорбенте  к концентрации вещества в растворе , что показано в формуле (17) [32].

. (17)

Однако обычно желательно отделить нужный ион от других ионов раствора, для это нужно, чтобы ионит проявлял избирательность (селективность) по отношению к выбранному иону по сравнению с другими ионами системы. Самой удобной мерой такой избирательности является коэффициент избирательности, равный отношению коэффициентов распределения конкурирующих ионов A и B и показанный в формуле (18) [32].

. (18)

Если ионит проявляет избирательность к какому-либо иону, то говорят о специфичности ионита. Чаще всего такая специфичность связана с химическим взаимодействием ионов. Формула (19) показывает другую часто применяемую величину характеризующую избирательность. Ее также называют коэффициент избирательности или коэффициент равновесия

, (19)

где zA, zB - соответственно заряды противоионов A и B [32].

 

.6.3 Изотерма ионного обмена

Распределение ионов между внешним раствором и ионитом зависит от химического состава системы и от внешних параметров (температура и давление). Чаще всего оно изучается при некоторых постоянных температуре и давлении, поэтому функциональную зависимость состава ионита от состава внешнего раствора называют изотермой-изобарой ионного обмена или, кратко, изотермой ионного обмена [32].

Наиболее часто применяют графический способ построения изотерм обмена. Он основан на применении безразмерных переменных - степеней заполнения ионита (формулы (20)) и ионных долей в растворе (формулы (21)).

, , (20)

, . (21)

где N0 - полная нормальность внешнего раствора, она равно сумме произведений концентраций противоионов и их зарядов [32].

Величины  и  изменяются в интервале от 0 до 1, и сумма + равна 1, поэтому изотермы обмена обычно строят в квадрате со стороной равной 1. Самой изотермой является одна из функций , . Качественный вид изотерм для разных значений KA,B приведен на рисунке 12.

Рисунок 12 - Качественный вид изотермы ионного обмена для различных величин KA,B

На изотерме, построенной в таких координатах, диагональ квадрата AD означает линию отсутствия селективности. Остальные графики, представляющие собой гиперболы, означают линии изоселективности. Если гипербола лежит выше диагонали, то это означает, что ионит селективен к иону B, если гипербола лежит ниже диагонали - к иону A [32].

Изотермы не всегда имеют форму, показанную на рисунке 12. Различают несколько групп изотерм. Обычные изотермы, два их вида показаны на рисунке 12, третий вид обычных изотерм это S-образные изотермы, у них есть точка перегиба и они могу изменять избирательность. Изотермы с гистерезисом, они характеризуются несовпадением хода изотерм при прямом и обратном процессах, наблюдаются такие изотермы в неорганических ионитах, и причиной ему является фазовый переход при определенной степени насыщения ионита. Изотермы с аномалиями, такими изотермами называют те их виды, которые имеют экстремум, различные ступеньки, несколько точек перегиба и другие особенности [32].

2. Экспериментальная часть

 

.1 Использованные реактивы и растворы


В работе использовались следующие реактивы: 6-водный хлорид кобальта, хлорид натрия, боргидрид натрия, азотная кислота, перекись водорода, дистиллированная вода, модифицированные перфторированные мембраны марки МФ-4СК.

Все используемые реактивы имели квалификацию "химически чистый", 6-водный хлорид кобальта дополнительно перекристаллизован.

Их данных реактивов были приготовлены следующие растворы:

исходный раствор хлорида кобальта концентрацией 0,1 моль/л в дистиллированной воде;

исходный раствор хлорида натрия концентрацией 0,1 моль/л в дистиллированной воде;

раствор хлорида натрия концентрацией 1,5 моль/л;

раствор боргидрида натрия концентрацией 2 моль/л в дистиллированной воде.

Примечание - раствор боргидрида натрия каждый раз использовали свежеприготовленным.

 

.2 Определение концентрации ионов Co2+ в растворе

 

.2.1 Комплексонометрическое титрование исходного раствора хлорида кобальта

С целью подтверждения концентрации приготовленного раствора хлорида кобальта провели его комплексонометрическое титрование. Из раствора хлорида кобальта концентрацией 0,1М отобрали аликвоту объемом 3 мл; добавили в нее 3 капли индикатора (ксиленол оранжевый); добавили 1 каплю конц. HCl; добавляем постепенно 25-й раствор уротропина до появления розовой окраски. Теперь полученный раствор с помощью микробюретки титруем раствором ЭДТА до изменения окраски. Титрование повторили 3 раза, объем раствора ЭДТА ушедший на титрование во всех трех случаях занесен в таблицу 2.

Таблица 2 - Объем раствора ЭДТА, ушедший на титрование

№ п/п

Объем ЭДТА, мл

1

6,02

2

6,02

3

6,04


Концентрацию ионов Co2+ определяли по формуле

, (17)

где  - объем ЭДТА, ушедший на титрование, л;

 - концентрация раствора ЭДТА, моль/л;

 - объем аликвоты раствора хлорида кобальта, л.

Полученная концентрация кобальта с учетом среднеквадратической погрешности оказалась равной (0,100 ± 0,002) моль/л. Такой результат показывает, что полученный нами раствор кобальта обладает достаточной химической чистотой, а его концентрация получена достаточно точно.

 

.2.2 Спектрофотометрическое определение концентрации ионов Co2+

Концентрацию ионов кобальта до и после вымачивания мембран определяли спектрофотометрически по калибровочному графику, который показан на рисунке 13

Рисунок 13 - Калибровачный график, полученный при спектрофотометрическом исследовании исходных растворов известной концентрации

Калибровочный график строили по интенсивности максимума полосы поглощения иона Co2+ ( нм) в растворах приготовленных из исходного раствора хлорида кобальта известной концентрации (0,1М) определенной методом комплексонометрического титрования, описанного в пункте 2.2.1. Спетктрофотометрическое исследование проводили на спектрофотометре Hitach U-2900 в диапазоне длин волн от 190 до 1 000 нм, при скорости сканирования 400 нм/мин. Уровень шума ± 0,00015Abs (на длине волны 500 нм).

Спектры поглощения растворов хлорида кобальта до вымачивания полимерной матрицы приведены на рисунке 14.

Рисунок 14 - Спектры поглощения растворов хлорида кобальта полученные на спектрофотометре до вымачивания полимера

Калибровочный график линейно аппроксимировали методом наименьших квадратов. Уравнение прямой имеет вид

. (18)

Коэффициенты a и b определяли по формулам (19) и (20) соответственно.

, (19)

, (20)

Полученное с помощью формулы (2) уравнение прямой имеет вид

. (21)

Таблица 3 - Результаты спектрофотометрического исследования. Концентрации растворов до и после вымачивания.

№ образца

Вычисленная концентрация растворов


Abs до вымачивания

Abs после вымачивания

Концентрация Co2+ до вымачивания мембран, моль/л

Концентрация Co2+ после вымачивания мембран, моль/л

1

0,026

-

0,005

-

2

0,051

0,023

0,010

0,006

3

0,092

0,059

0,020

0,013

4

0,146

0,094

0,030

0,020

5

0,193

0,139

0,040

0,028

6

0,314

0,236

0,060

0,048

7

0,397

0,327

0,080

0,066

8

0,444

0,365

0,090

0,073

9

0,504

0,472

0,100

0,085


2.3 Определение константы ионного обмена полимерного материала


По вычисленным концентрациям растворов хлорида кобальта до и после вымачивания полимеров определили количество вещества, которое может быть имплантировано в полимер при данной концентрации. Количество вещества в миллимолях, содержащееся в единице массы мембраны.

 (22)

где  - концентрация раствора до вымачивания полимера, моль/л;

 - концентрация раствора после вымачивания полимера, моль/л;

 - объем раствора для вымачивания, л;  - масса полимера, г.

Рассчитанное по формуле (22) количество ионов кобальта, приходящееся на единицу массы полимера после имплантации, приведены в таблице 4.

Таблица 4 - Количество вещества, приходящееся на единицу массы полимера после имплантации.

№ п/п

Концентрация Co2+ до вымачивания мембран, моль/л

Количество вещества в единице массы полимера, ммоль/г

1

0,005

-

0,005

2

0,010

0,006

0,010

3

0,020

0,013

0,020

4

0,030

0,020

0,030

5

0,040

0,028

0,040

6

0,060

0,048

0,060

7

0,080

0,066

0,080

8

0,090

0,073

0,090

9

0,100

0,085

0,100

2.4 Получение образцов нанокомпозитных полимерных материалов


В качестве полимерной матрицы, используемой модификации наночастицами кобальта, были выбраны ионообменные мембраны МФ-4СК предствляют собой листы толщиной около 300 мкм.

 

.4.1 Подготовка полимера

Для подготовки мембран их последовательно кипятили:

в 5%-м растворе азотной кислоты;

в 10%-м растворе перекиси водорода;

в дистиллированной воде;

в течение 1,5 часов в каждом.

Таким образом получали набухшие мембраны в H-форме. Для того чтобы перевести мембрану в Na-форму, полученные мембраны промывали в водном растворе хлорида натрия концентрацией 1,5 моль/л несколько раз.

 

.4.2 Имплантация ионов кобальта в структуру политетрафторэтилена

Введение ионов кобальта в ионообменную мембрану проводили путем вымачивания образцов полимерного материла в водном растворе хлорида кобальта различных концентраций. Мембраны массой 250 мг в набухшем состоянии помещали на 24 часа в смешанный раствор хлорида кобальта и хлорида натрия общим объемом 5 мл. Концентрации компонентов смешанных растворов, приготовленных для вымачивания, приведены в таблице 5.

Таблица 5 - Концентрация компонентов раствора при вымачивании мембран

№ п/п

Концентрация CoCl2·6H2O, моль/л

Концентрация NaCl, моль/л

1

0,005

0.095

2

0,010

0,090

3

0,020

0,080

4

0,030

0,070

5

0,040

0,060

6

0,060

0,040

7

0,080

0,020

8

0,090

0,010

9

0,100

0,000


Перед вымачиванием концентрации растворов определялись спектрофотометрически по процедуре, описанной в пункте 2.2.2. Используемые ионообменные мембраны были модифицированы сульфитной группой, к которой в процессе подготовки мембран, описанной в пункте 2.4.1, присоединялись ионы Na+, поэтому во время вымачивания мембран ионы Na+, закрепленные на сульфогруппах, замещались на ионы Co2+ из раствора по реакции:

 (23)

 

.4.3 Восстановление имплантированных в политетрафторэтилен ионов кобальта

Мембраны после вымачивания в водном растворе CoCl2·6H2O готовы к восстановлению. Для восстановления от исходных мембран массой 250 мг отрезали часть прямоугольной формы и размером 1 см на 0,5 см. В качестве восстановителя использовался боргидрид натрия NaBH4. Согласно данным [35] уравнение реакции выглядит следующим образом

. (24)

Борид кобальта далее взаимодействует с кислородом, и в ходе реакции образуется металлический кобальт

. (25)

Непосредственно перед проведением реакции готовили свежий раствор боргидрида натрия концентрацией 2 моль/л.

Мембраны после вымачивания перемещали в свежеприготовленный раствор восстановителя (приготовленный не более двух минут назад). Объем восстановителя для каждой мембраны специально не поддерживался постоянным и составлял от 20 до 30 мл. После помещения мембраны в восстановитель она сразу же меняла цвет с розового на черный, что свидетельствует об образовании металлического кобальта. Также во время реакции наблюдалось обильное выделение газа водорода с поверхности мембраны, при этом следили, чтобы выделяющийся газ не приводил к плаванию мембраны на поверхности раствора.

В этом случае мембрану специально утапливали стеклянной палочкой. Продолжительность проведения реакции всегда выдерживали 30 минут. После этого раствор NaBH4 сливали, и промывали мембраны дистиллированной водой до полного прекращения реакции на их поверхности. Затем мембраны помещали под пресс между двумя листами фильтровальной бумаги. Пресс нужен, для того чтобы не допустить сворачивания мембраны в процессе высушивания.

 

2.5 Исследование структурных и магнитных характеристик нанокомпохитных полимерных материалов

 

.5.1 Исследование структуры нанокомпозитных полимерных материалов методами РЭМ

Структурную упорядоченность полученных нанокомпозитных полимерных материалов изучали методами растровой электронной микроскопии (РЭМ). Для этого изоготовляли торцевой срез полимера. Для изготовления торцевого среза полимер вначале замораживали в жидком азоте, а потом аккуратно отламывали ножом необходимую часть. Исследование проводили на растровом электронном микроскопе JEOL JSM-7500F в режиме отраженных электронов (COMPO). Для каждого образца получали изображения торцевого среза с различным увеличением от 1 000 до 50 000 раз. На рисунке 15 приведено изображение образца нанокомпозитного материала в небольшом увеличении, который вымачивался в растворе хлорида кобальта концентрацией 0,1 моль/л.

На рисунке 16 показано изображение торцевого среза этого же образца при более высоком увеличении показаны на рисунке 2.4

Изображения торцевого среза других образцов, полученные на растровом электронном микроскоепе, приведены в приложении А. По РЭМ изображениям торцевого среза с большим увеличением можно определить распределение размеров полученных наночастиц и представить их в виде гистограммы. К примеру, полученное распределение наночастиц образца нанокомпозитного материала, изображение торцевого среза которого представлено на рисунке 15, показано на рисунке 17.

Рисунок 15 - Увеличенное в 1 000 раз изображение торцевого среза полученного нанокомпозитного материала, который вымачивался в растворе концентрацией 0,1 моль/л

Рисунок 16 - Увеличенное в 10 000 (а) и 30 000 раз изображение торцевого среза полученного нанокомпозитного материала, который вымачивался в растворе концентрацией 0,1 моль/л

Рисунок 17 - Гистограмма распределения наночастиц по размерам в образце нанокомпозитного полимерного материала, который вымачивался в растворе хлорида кобальта концентрацией 0,1 моль/л

Определение глубины проникновения наночастиц проводили, используя РЭМ изображения образцов, измеряя расстояние между краем мембраны и границы, на которой перестают наблюдаться наночастицы. Измерения проводили в пяти различных точках и затем вычисляли среднее значение.

Так, например, на РЭМ изображении образца, который вымачивался в растворе хлорида кобальта концентрацией 0,1 моль/л, показанном на рисунке 15, глубина проникновения наночастиц измеренная в пяти различных точках равна 42,7 мкм. Глубина проникновения, полученная таким способом для всех образцов полученных нанокомпозитных полимеров представлена в таблице 6.

Таблица 6 - Глубина проникновения образующихся наночастиц в образцах при разных концентрациях хлорида кобальта при вымачивании.

№ п/п

Концентрация Co2+ до вымачивания мембран, моль/л

Глубина проникновения наночастиц, мкм

1

0,005

120

2

0,01

100

3

0,02

56

4

0,03

100

5

0,04

48

6

0,06

60

7

0,08

52

8

0,09

52

9

0,10

43


2.5.2 Исследование магнитных характеристик нанокомпозитных полимерных материалов методами ФМР

Полученные кобальтсодержащие полимерные мембраны на основе политетрафторэтилена изучались методом ФМР на ЭПР спектрометре JES-FA 300. Исследование проводили при величине постоянного поля 475 Э в диапазоне от 0 до 975 Э, при этом образец поворачивался относительно направления постоянного поля с шагом 6 градусов с помощью дополнительного автоматизированного поворотного узла ES-UCR2M. ФМР спектр одного из полученных образцов показан на рисунке 18.

Рисунок 18 - ФМР спектр при угле подмагничивания 0 и 90 градусов образца кобальтсодержащего нанокомпозитного полимерного материала, полученный при вымачивании в растворе хлорида кобальта концентрацией 0,06 моль/л

На рисунке 18 изображены два спектра, один из которых соответствует параллельной ориентации плоскости мембраны и направлению силовых линий поля, а другой соответствует их перпендикулярной взаимной ориентации. ФМР спектры всех остальных образцов имели вид, похожий на изображенный на рисунке 18 и представлены в приложении Б.

Расчет эффективной намагниченности проводили в рамках стандартной модели Киттеля. Полученные ионообменные мембраны, содержащие наночастицы кобальта, в рамках модели Киттеля соответствую стандартному образцу "тонкая пластинка". Для определения эффективной намагниченности необходимо решить систему уравнений.

 (26)

где  - резонансная частота, Гц

 - гиромагнитное отношение;

 - резонансное поле при угле подмагничивания 90 градусов, Э;

 - резонансное поле при угле подмагничивания 0 градусов, Э;

 - эффективная намагниченность, Э.

Решением системы уравнений (26) являются два корня:

, (27)

один из которых при дальнейших вычисления будет давать отрицательные значения намагниченности, стремящиеся к нулю, следовательно, такое решение не отображает реальную физическую картину. Поэтому для определения эффективной намагничености кобальтсодержащих нанокомпозитов применяли второе решение из (27)

. (28)

С помощью формулы (28) рассчитали значения эффективной намагниченности всех образцов. Рассчитанные значения эффективной намагниченности, а также величины резонансных полей при угле подмагничивания 0 градусов и 90 градусов приведены в таблице 7.

Таблица 7 - Рассчитанные значения эффективной намагниченности полученных кобальтсодержащих нанокомпозитов

№ образца

Концентрация ионов Co2+ при вымачивании, моль/л

Резонансное поле поглощения на ФМР спектре при различных углах подмагничивания, Э

Эффективная намагниченность нанокомпозита M, Э



0 градусов 90 градусов



1

0,005

302,669

313,683

73,96

2

0,01

302,190

308.255

73,27

3

0,02

305,806

313.388

71,80

4

0,03

312,302

313,977

74,76

5

0,04

319,955

308,942

75,68

6

0,06

314,162

305,861

74,26

7

0,08

318,097

310,834

75,87

8

0,09

315,382

309,557

74,37

9

0,10

310,754

309,956

73,70


3. Обсуждение результатов

 

.1 Определение ионной емкости полимера


В таблице 4 приведено вычисленное количество вещества ионов Co2+ приходящееся на единицу массы полимера после имплантации. Графическое представление этих данных имеет вид, показанный на рисунке 20.

Рисунок 20 - Зависимость количества введенного Co2+ в структуру полимерных мембран МФ-4СК от начальной Концентрации ионов Co2+ в растворе при вымачивании

Концентрация имплантированных ионов кобальта в структуру полимерной матрицы нелинейно зависит от концентрации исходного раствора при вымачивании.

Максимум количества имплантированных ионов наблюдается при концентрации раствора хлорида кобальта выше 0,05 моль/л. Дальнейшее увеличение концентрации раствора при вымачивании практически не влияет на имплантацию ионов кобальта.

 

3.2 Средний размер наночастиц кобальта, содержащихся в структуре полимера на основе политетрафторэтилена


Проанализировав и наночастицы на РЭМ изображениях торцевого среза ионообменных мембран с увеличением 30 000 можно определить распределение наночастиц по размерам, построив при этом гистограмму распределения, и определить средний размер частиц в образце. На рисунках 21-25 представлены гистограммы распределения наночастиц по размерам в полученных образцах.

Рисунок 21 - Распределение наночастиц по размерам в нанокомпозитах, полученных при вымачивании в растворе хлорида кобальта концентрацией 0,005 моль/л (а) и 0,01 моль/л (б)

Рисунок 22 - Распределения наночастиц по размерам в нанокомпозитах, полученных при вымачивании в растворе хлорида кобальта концентрацией 0,04 моль/л (а) и 0,06 моль/л (б)

Рисунок 23 - Распределения наночастиц по размерам в нанокомпозитах, полученных при вымачивании в растворе хлорида кобальтаконцентрацией 0,04 моль/л (а) и 0,06 моль/л (б)

Рисунок 24 - Распределения наночастиц по размерам в нанокомпозитах, полученных при вымачивании в растворе хлорида кобальта концентрацией 0,08 моль/л (а) и 0,09 моль/л (б)

Рисунок 25 - Распределения наночастиц по размерам в нанокомпозитах, полученных при вымачивании в растворе хлорида кобальта концентрацией 0,10 моль/л

Средний размер наночастиц, полученный с помощью гистограмм для образцов, вымачиваемых в растворах разной концентрации приведен таблице 8

Таблица 8 - Средний размер полученных наночастиц в

№ образца

Концентрация Co2+ до вымачивания мембран, моль/л

Средний размер наночастиц, нм

1

0,005

46

2

0,010

50

3

0,020

47

4

0,030

46

5

0,040

51

6

0,060

93

7

0,080

48

8

0,090

51

9

0,100

34


Графическая зависимость среднего размера наночастиц от концентрации хлорида кобальта при вымачивании показана на рисунке 26.

Рисунок 26 - Зависимость среднего размера образующихся наночастиц от концентрации хлорида кобальта при вымачивании

В соответствии с рисунком 26 можно сказать, что средний размер наночастиц не зависит от концентрации ионов кобальта при вымачивании. Вычисленные для всех образцов средние размеры лежат в диапазоне от 30 до 60 нм.

 

3.3 Глубина проникновения наночастиц


По данным глубины проникновения образующихся наночастиц кобальта в полимерной матрице, показанных в таблице 6 можно построить зависимость глубины проникновения наночастиц в образце от концентрации, в которой этот образец вымачивался. Полученная таким образом зависимость глубины проникновения показана на рисунке 27.

Рисунок 27 - Зависимость глубины проникновения образующихся наночастиц кобальта от концентрации раствора хлорида кобальта, в котором вымачивались образцы.

Из показанной на рисунке 27 зависимости можно заключить, что глубина проникновения наночастиц в области высоких концентраций линейно слабо зависит от концентрации, тогда как в области низких концентраций наблюдается резкое увеличение глубины проникновения наночастиц. Более детальное исследование глубины проникновения на растровом электронном микроскопе показало, что самая наибольшая глубина проникновения (120 мкм) наблюдалась в образцах которые вымачивались растворах концентрации 0,005 и 0,01 моль/л. Из такой зависимости глубины проникновения следует, что наибольшую степень заполнения нанокомпозитного материала наночастицами можно получить используя мембрану меньшей толщины или растворы меньших концентраций.

3.4 Исследование эффективной намагниченности


Графическая зависимость эффективной намагниченности образцов ионообменных мембран содержащих наночастицы кобальта, полученных при вымачивании в растворах хлорида кобальта разной концентрации, построенная по данным, приведенным в таблице 6, представлена на рисунке 28

Рисунок 28 - Зависимость эффективной намагниченности полученных образцов нанокомпозитных полимеров, от концентрации раствора хлорида кобальта при вымачивании

В соответствии с рисунком 28 можно сказать, что в пределах исследуемой концентрационной зависимости эффективная намагниченность образцов не зависит от концентрации частиц кобальта и составляет около 74 Э, что говорит суперпарамагнитных свойствах полученных образцов. Другими словами концентрация магнитной фазы в полученных образцах недостаточна для получения ферромагнитного полимерного материала. Следовательно, для получения ферромагнитных свойств необходимо проводить многократную имплантацию и последующее восстановление ионов кобальта при изученных условиях.

Заключение

В ходе работы была получена серия образцов кобальтсодержащих полимерных нанокомпозитов методом химического восстановления ионов кобальта имплантированных в полимерную матрицу при различных условиях.

Была определена зависимость ионной емкости полимера от концентрации хлорида кобальта при вымачивании в нем полимера. По установленной зависимости можно заключить, что зная необходимое количество ионов кобальта, которые необходимо ввести в полимер, можно точно знать необходимую для этого концентрацию раствора. Растворы больших концентраций в этом случае будут расходоваться неэффективно, так как полимер будет находиться в состоянии насыщения.

Было определено, что на данном диапазоне концентраций исходного раствора средний размер получаемых наночастиц не зависит от концентрации исходного раствора хлорида кобальта.

Установлено, что глубина проникновения наночастиц в полимер в области высоких концентраций исходного раствора кобальта при вымачивании практически не зависит от концентрации ионов кобальта в растворе. Однако при переходе в область низких концентраций наблюдается резкое увеличение глубины проникновения. Отсюда следует, что для получения равномерно распределенных наночастиц в структуре полимера следует использовать растворы небольших концентраций и мембраны меньшей толщины.

Исследования магнитных свойств полученных кобальтсодержащих нанокомпозитов методом ФМР не показали какой-либо выраженной зависимость эффективной намагниченности от концентрации растворов ионов кобальта при вымачивании. Это свидетельствует о том, что концентрация магнитной фазы в полимере недостаточна для преодоления порога перколяции, и материал обладает суперпарамагнитными свойствами. Для того чтобы материал стал обладать ферромагнитными свойствами необходимо проводить многократную имплантацию и восстановление ионов кобальта.

Список использованных источников

. Епифанов Г.И. Твердотельная электроника: учебник для студентов вузов / Г.И. Епифанов, Ю.А. Мома. - М.: Высшая школа, 1986. - 304 с.

. Андреев А.Д. Физика. Магнетизм: конспект лекций / А.Д. Андреев, Л.М. Черных. - СПб.: ГОУВПО СПбГУТ, 2009. - 56 с.

. Епифанов Г.И. Физика твердого тела: Учебное пособие. 4-у изд., стер. - СПб.: Издательство "Лань", 2011. - 283 с.

. Исхаков Р.С. Эффекты магнитного взаимодействия между суперпарамагнитными частицами в наногранулированных пленках Co // Р.С. Исхоков, Г.И. Фролов, В.С. Жигалов и др. / Письма в журнал технической физики. - 2004. - Т. 30. - № 16. - С 51-57.

. Фролов Г.И. Магнитные свойства наночастиц 3d-металлов / Г.И. Фролов, О.И. Бачина, М.М, Завьялова и др. // Журнал технической физики. - 2008. - Т. 78. - № 8. - С. 101-106.

. Магнитные наночастицы: методы получения, строение, свойства / С.П. Губин, Ю.А. Кокшаров, Г.Б. Хомутов и др. // Успехи химии. - 2005. - Т. 74. - № 6. - С. 539-574.

. Помогайло А.Д. Наночастицы металлов в полимерах / А.Д. Помогайло, А.С. Розенберг, И.Е. Уфлянд. - М.: Химия, 2000. - 672 с.

. Гусев А.И. Наноматериалы, наноструктуры, нанотехнологии. - М.: ФИЗМАТЛИТ, 2005. - 416 с.

. Толочко О.В. Стуруктура и магнитные свойства наночастиц на основе железа в оксидной оболочке // О.В. Толочко, Д.-В. Ли, Ч.-Дж. Чой и др. // Письма в журнал технической физики. - 2005. - Т. 31. - № 18. - С. 30-36.

10. Morphology control synthesis of nickel nanoparticles in the presence of pol-yvinylpyrrolidone (PVPK30) / D. Liu, S. Ren, H. Wu et al. // Journal of Materials Science. - 2008. - Vol. 43. - № 7. - P. 1974-1978.

. Magnetic properties and thermal behavior of mullite-iron nanocomposite powders / H. Wang, W.-M. Wang, Z.-Y. Fu et al. // Journal of Electroceramics. - 2008. - Vol. 21. - № 1-4. - P. 353-356.

. A magnetic nano-composite soft polymeric membrane / A. Singh, M. Shirolkar, M.V. Limaye et al. // Microsystem Technologies. - 2013. - Vol. 19. - № 3. - P. 409-418.

. Nanocomposites of magnetic cobalt nanoparticles and cellulose / K. Pirkkalainen, K. Lappдnen, U. Vainio et al. // The European Physical Journal D. - 2008. - Vol. 49. - № 3. - P. 333-342.

. Structure and magnetism of well defined cobalt nanoparticles emedded in niobium matrix // M. Jamet, V. Dupuis, P. Mйlinon et al. / Physical review B. - 2000. - Vol. 62. - № 1. - P. 493-499

. Magnetic properties and microstructure of cobalt nanoparticles in a polymer film / I.-W. Park, M. Yoon, Y.M. Kim et al. // Solid State Communications. - 2003. - Vol. 126. - № 7. - P. 385-389.

. Magnetic behavior of nanocrystalline Ni0.5Cu0.5Fe2O4 spinel ferrite / S.N. Dolia, A.S. Prasad, M.S. Dhawan et al. // Hyperfine Interact. - 2008. -. 184. - № 1-3. - P. 75-81.

. Dolia S.N. Size dependent magnetic behavior of nanocrystalline Ni0.8Cu0.2Fe2O4 ferrite / S.N. Dolia // Journal of Physics: Conference Series. - 2010. - Vol. 200. - № 7. - P. 072026.

. New magnetic materials based on cobalt and iron-containing nanoparticles / G. Yu Yurkov, D.A. Baranov, I.P. Dotsenko et al. // Composites Part B: Engineering. - 2006. - Vol. 37. - № 6. - P. 413-417.

. Size and shape control for water-soluble magnetic cobalt nanoparticles using polymer ligands / L.T. Lu, L.D. Tung, I. Robinson et al. // Journal of Materials Chemistry. - 2008. - Vol. 18. - № 21. - P. 2453-2458.

20. Губин С.П. Что такое наночастица? Тенденции развития нанохимии и нанотехнологии / С.П. Губин // Рос. хим. журн. - 2000. - Т. 44. - С. 23-31.

. Бланк А.Я. Ферромагнитный резонанс и плазменные эффекты в металлах / А.Я. Бланк, М.И. Каганов // Успехи физических наук. - 1967. - Т. 92. - № 4. - С. 583-619.

. Боровик Е.С. Лекции по магнетизму / Е.С. Боровик, В.В. Еременко, А.С. Мальнер. - 3-е изд., пераб. и доп. - М.: ФИЗМАТЛИТ, 2005. -512 с.

. Ферромагнитный резонанс кобальтовых наночастиц в полимерной оболочке / Р.Б. Моргунов, А.И. Дмитриев, Г.И. Джардималиева и др. / Физика твердого тела. - 2006. - Т. 49. - № 8. - С. 1436-1441.

24. Ferromagteic resonance investigations of cobalt-implanted polyimides / B. Ramaev, C. Okay, F. Yildiz et al. // Journal of Magnetism and Magnetic Materials. - 2004. - Vol. 278. - № 1-2. - P. 164-171.

. Zahmakэran M. Zeolite framework stabilized rhodium(0) nanoclusters catalyst for the hydrolysis of ammonia-borane in air: Outstanding catalytic activity, reusability and lifetime // M. Zahmakэran, S. Хzkar / Applied Catalysis B: Environmental. - 2009. - Vol. 89. - № 1-2. - P. 104-110.

. Synthesis of cobalt-containing nanoparticles by cobalt formate thermolysis in hydrocarbon oil without stabilizing ligands / M.A. Zaporozhets, D.A. Baranov, N.A. Kataeva et al. // Russian Journal of Inorganic Chemistry. - 2009. - Vol. 54. - № 4. - P. 517-520.

. Liquid-phase synthesis of nickel nanoparticles stabilized by PVP and study of their structural and magnetic properties / M. Singh, M. Kumar, F. Љtмpбnek et al. // Advanced Materials Letters. - 2011. - Vol. 2. - № 6. - P. 409-414.

. Magnetic properties of iron nanoparticles in a polymer film / M. Yoon, Y.M. Kim, Y. Kim et al. // Journal of Magnetism and Magnetic Materials. - 2003. - Vol. 265. - № 3. - P. 357-362.

. Superparamagnetic properties of nickel nanoparticles in an ion-exchange polymer film / M. Yoon, Y. Kim, Y.M. Kim et al. // Materials Chemistry and Physics. -2005. - Vol. 91. - № 1. - P. 104-107.

. Superparamagnetism of transition metal nanoparticles in conducting polymer film / M. Yoon, Y. Kim, Y.M. Kim et al. // Journal of Magnetism and Magnetic Materials. - 2004. - Vol. 272-276 Supplement. - P. E1259-E1261.

. Synthesis of cobalt nanoparticles in polymeric membrane and their magnetic anisotropy / I.-W. Park, M. Yoon, Y.M. Kim et al. // Journal of Magnetism and Magnetic Materials. - 2004. - Vol. 272-276, Part 2. - P. 1413-1414.

32. Кокотов Ю.А. Иониты и ионный обмен. - Л.: Химия, 1980. - 152 с.

. Гребенюк В.Д. Обессоливание воды ионитами / В.Д. Гребенюк, А.А. Мазо. - М.: Химия, 1980 - 256 с.

34. Heither-Wirguin C. Recent advances in perfluorinated ionomer membranes: structure, properties and applicaions / C. Heither-Wirguin // Journal of Membrane Science. - 1996. - Vol. 120. - № 1. - P. 1-33

. Borohydride reduction of metal ions. A new understanding of the chemistry leading to nanoscale particles of metals, borides and metal borates / G.N. Glavee, K.J. Klabunde, C.M. Sorensen, G.C. Hadjapanayis // Langmuir. - 1992. - Vol. 8. - № 3. - P. 771-773.

Приложение А. РЭМ изображения полученных нанокомпозитов

Ниже представлены РЭМ изображения торцевого среза полученных нанокомпозитов.

Рисунок А.1 - РЭМ изображение торцевого среза полученного нанокомпозита который вымачивался в растворе хлорида кобальта концентрацией 0,005 моль/л, на увеличении 500 (а), 30 000 (б)

Рисунок А.2 - РЭМ изображение торцевого среза полученного нанокомпозита который вымачивался в растворе хлорида кобальта концентрацией 0,01 моль/л, на увеличении 1 000 (а), 10 000 (б), 30 000 (в)

Рисунок А.3 - РЭМ изображение торцевого среза полученного нанокомпозита который вымачивался в растворе хлорида кобальта концентрацией 0,02 моль/л, на увеличении 1 000 (а), 10 000 (б), 30 000 (в)

Рисунок А.4 - РЭМ изображение торцевого среза полученного нанокомпозита который вымачивался в растворе хлорида кобальта концентрацией 0,03 моль/л, на увеличении 30 000

Рисунок А.5 - РЭМ изображение торцевого среза полученного нанокомпозита который вымачивался в растворе хлорида кобальта концентрацией 0,04 моль/л, на увеличении 1 000 (а), 10 000 (б), 30 000 (в)

Рисунок А.6 - РЭМ изображение торцевого среза полученного нанокомпозита который вымачивался в растворе хлорида кобальта концентрацией 0,06 моль/л, на увеличении 1 000 (а), 10 000 (б), 30 000 (в)

Рисунок А.7 - РЭМ изображение торцевого среза полученного нанокомпозита который вымачивался в растворе хлорида кобальта концентрацией 0,08 моль/л, на увеличении 1 000 (а), 10 000 (б)

Рисунок А.8 - РЭМ изображение торцевого среза полученного нанокомпозита который вымачивался в растворе хлорида кобальта концентрацией 0,09 моль/л, на увеличении 1 000 (а), 10 000 (б), 30 000 (в)

Рисунок А.9 - РЭМ изображение торцевого среза полученного нанокомпозита который вымачивался в растворе хлорида кобальта концентрацией 0,1 моль/л, на увеличении 1 000 (а), 10 000 (б), 30 000 (в)

Приложение Б. ФМР спектры полученных нанокомпозитов

Ниже представлены ФМР спектры образцов ионообменных мембран, содержащих наночастицы кобальта, полученные при двух углах подмагничивания: 0 градусов и 90 градусов.

Рисунок Б.1 - ФМР спектр при угле подмагничивания 0 и 90 градусов образца кобальтсодержащего нанокомпозитного полимерного материала, полученный при вымачивании в растворе хлорида кобальта концентрацией 0,005 моль/л

Рисунок Б.2 - ФМР спектр при угле подмагничивания 0 и 90 градусов образца кобальтсодержащего нанокомпозитного полимерного материала, полученный при вымачивании в растворе хлорида кобальта концентрацией 0,01 моль/л

Рисунок Б.3 - ФМР спектр при угле подмагничивания 0 и 90 градусов образца кобальтсодержащего нанокомпозитного полимерного материала, полученный при вымачивании в растворе хлорида кобальта концентрацией 0,02 моль/л

Рисунок Б.4 - ФМР спектр при угле подмагничивания 0 и 90 градусов образца кобальтсодержащего нанокомпозитного полимерного материала, полученный при вымачивании в растворе хлорида кобальта концентрацией 0,03 моль/л

Рисунок Б.5 - ФМР спектр при угле подмагничивания 0 и 90 градусов образца кобальтсодержащего нанокомпозитного полимерного материала, полученный при вымачивании в растворе хлорида кобальта концентрацией 0,04 моль/л

Рисунок Б.6 - ФМР спектр при угле подмагничивания 0 и 90 градусов образца кобальтсодержащего нанокомпозитного полимерного материала, полученный при вымачивании в растворе хлорида кобальта концентрацией 0,06 моль/л

Рисунок Б.7 - ФМР спектр при угле подмагничивания 0 и 90 градусов образца кобальтсодержащего нанокомпозитного полимерного материала, полученный при вымачивании в растворе хлорида кобальта концентрацией 0,08 моль/л

Рисунок Б.8 - ФМР спектр при угле подмагничивания 0 и 90 градусов образца кобальтсодержащего нанокомпозитного полимерного материала, полученный при вымачивании в растворе хлорида кобальта концентрацией 0,08 моль/л

Рисунок Б.9 - ФМР спектр при угле подмагничивания 0 и 90 градусов образца кобальтсодержащего нанокомпозитного полимерного материала, полученный при вымачивании в растворе хлорида кобальта концентрацией 0,10 моль/л

Похожие работы на - Изучение закономерностей формирования наночастиц кобальта в структуре полимерных матриц на основе модифицированного тетрафторэтилена

 

Не нашли материал для своей работы?
Поможем написать уникальную работу
Без плагиата!
Без нейросетей!