Проект модернизации рабочего оборудования землеройно-транспортной машины
МИНИСТЕРСТВО
ОБРАЗОВАНИЯ РЕСПУБЛИКИ БЕЛАРУСЬ
Учреждение
образования «Гомельский государственный дорожно-строительный колледж имени
Ленинского комсомола Белоруссии»
ПОЯСНИТЕЛЬНАЯ
ЗАПИСКА К ДИПЛОМНОМУ ПРОЕКТУ
На тему:
Проект модернизации рабочего оборудования землеройно-транспортной машины
Учащийся-дипломник
Беляев А.В
Руководитель
Мартиновский В.А
Гомель
2009
1. Обоснование темы
дипломного проекта
Дипломное проектирование является важным
заключительным этапом процесса формирования знаний техника-механика.
Дипломное проектирование закрепляет, углубляет и
обобщает знания, полученные во время лекционных и практических занятий, учит
пользоваться справочной литературой, ГОСТами, таблицами, номограммами, нормами,
умело сочетая справочные данные с теоретическими знаниями, полученными в
процессе обучения в «Гомельском государственном дорожно-строительном колледже
имени Ленинского комсомола Белоруссии».
Бульдозер - самоходная землеройная машина,
представляющая собой гусеничный или колёсный трактор, тягач и т.п. с навесным
рабочим органом криволинейным в сечении отвалом (щитом), расположенным вне базы
ходовой части машины. Служит для послойного копания, планировки и перемещения
(на расстояние 60-300 м) грунтов, полезных ископаемых, дорожно-строительных и
др. материалов при строительстве и ремонте дорог, каналов, гидротехнических и
т.п. сооружений.
Бульдозеры - большие и мощные транспортные
средства. То, что большинство из них оснащено гусеницами, даёт им возможность
передвигаться по бездорожью и через очень грубый ландшафт. Широкая площадь
гусениц равномерно распределяет вес бульдозера, препятствуя его увязанию в
песчаном или жидком составе грунта. Бульдозеры используют свой собственный вес,
чтобы передвигать какие либо тяжелые предметы. Без бульдозеров не обходятся ни
одни крупномасштабные строительные работы. Современные бульдозеры являются
конструктивно подобными машинами, базовые тракторы и навесное оборудование
которых широко унифицированы. Наиболее распространены бульдозеры с неповоротным
отвалом, с поворотным отвалом, бульдозеры-рыхлители, а также
бульдозеры-погрузчики.
В настоящее время существует много проблем
связанных с повышением производительности строительно-дорожных машин. В связи с
этим в наши дни продолжается процесс развития бульдозеров. В новых моделях
происходит постепенное усложнение конструкции в целях повышения надёжности,
долговечности и других качеств этих строительно-дорожных машин. А в целях
улучшения производительности уже существующих моделей производится их
модернизация. Целью данного дипломного проекта является модернизация рабочего
оборудования бульдозера ДЗ-110А с целью повышения производительности.
1.1 Результаты
патентного поиска
В результате патентного поиска было найдено
несколько авторских свидетельств связанных с решением этой проблемы. Рассмотрим
недостатки данных изобретений (найденные авторские свидетельства представлены в
приложении).
Основным недостатком большинства найденных
решений является то, что конструкции представленных изобретений являются
сложными и трудоемкими в изготовлении. Рассмотрим каждое авторское изобретение
в отдельности.
бульдозер нож шток гидроцилиндр
Авторское свидетельство СССР № 1062351, кл. Е 02
F 3/76, 1982
РАБОЧИЙ ОРГАН БУЛЬДОЗЕРА.
Изобретение относится к дорожным машинам и
позволяет повысить качество очистки поверхности бульдозера. Рабочий орган
бульдозера содержит отвал 1 с лобовым листом (ЛЛ) 2, очистной элемент (ОЭ) и
гидроцилиндр (ГЦ) 8 перемещения ОЭ, Выполнен ОЭ в виде бруса 3 с двумя режущими
кромками на обращенной к ЛЛ 2 криволинейной стороне, а ее поверхность совмещена
с поверхностью ЛЛ 2. Смонтирован ГЦ 8 на отвале 1 посредством закрепленной на
его верхней части стойки 9. Шток ГЦ 8 связан с брусом 3 с помощью траверсы 7.
Боковые тяги 6 траверсы 7 шарнирно соединены с торцовыми сторонами бруса 3. На
них смонтированы ролики 5, которые установлены в криволинейных направляющих,
Для очистки отвала 1 включают ГЦ 8. Он воздействует на траверсу 7, а через нее
на брус 3. Брус 3 перемещается вниз, очищая от налипшего грунта ЛЛ 2. После
достижений брусом 3 нижнего положения ГЦ 8 переключают на обратное движение.
Изобретение относится к землеройно-транспортной
технике.
Цель изобретения - повышение качества очистки
отвала бульдозера.
На фиг. 1 изображен бульдозер; на фиг. 2 -
рабочий орган бульдозера.
Рабочий орган бульдозера включает отвал 1 с
лобовым листом 2, очистной элемент 3, выполненный в виде треугольного бруса,
тыльная криволинейная сторона которого совмещена с поверхностью лобового листа.
По торцам очистного элемента 3 расположены оси 4, на которых установлены ролики
5. Боковые тяги 6 шарнирно закреплены на осях 4. Траверса 7 жестко прикреплена
к боковым тягам 6. В центре траверсы 7 шарнирно закреплен шток гидроцилиндра 8,
корпус которого шарнирно прикреплен к силовой стойке 9. Силовая стойка 9 жестко
прикреплена к тыльной верхней стороне отвала Т.
Ролики 5 установлены в криволинейных
направляющих отвала 1, выполненных в его боковых щеках. Очистной элемент 3
имеет две режущие кромки.
Бульдозер работает следующим образом.
Отвал 1 опускается на грунт. Включают
передвижение базовой машины и бульдозер начинает работу. По мере налипания 30
грунта на отвал 1 его освобождают от грунта. Очистной элемент 3 находится во
время работы бульдозера в верхней части отвала. После освобождения отвала от
грунта включают гидроцилиндр 8, корпус которого закреплен к силовой стойке 9.
Гидроцилиндр 8 своим штоком воздействует на траверсу 7, а она, в свою очередь,
на боковые тяги 6. Боковые тяги 6 передают толкающее усилие на оси 4. Очистной
элемент с помощью роликов 5 перемещается вниз, очищая налипший грунт с отвала.
По мере достижения нижнего положения переключают гидроцилиндр 9. на обратное
движение» штока и очистной элемент 3 снова занимает верхнее положение.
Формула изобретения Рабочий орган бульдозера,
включающий отвал с лобовым листом, установленный торцовыми сторонами в боковых
криволинейных направляющих отвала очистной элемент и гидроцилиндр перемещения
последнего по лобовому листу, отличающийся тем, что, с целью повышения качества
очистки, очистной элемент выполнен в виде бруса с двумя режущими кромками на
обращенной к лобовому листу криволинейной стороне, поверхность которой
совмещена с поверхностью лобового листа, и корпус гидроцилиндра смонтирован на
отвале посредством закрепленной на его верхней части стойки, а шток связан с
очистным брусом посредством шарнирно соединенной с ним траверсы с жесткими
боковыми тягами, которые шарнирно соединены с торцовыми сторонами очистного
бруса.
Авторское свидетельство СССР № 604919, кл. Е 02 F
3/66, 1978
БУЛЬДОЗЕР.
Изобретение относится к землеройно-транспортным
машинам и позволяет повысить производительность бульдозера за счет равномерного
распределения усилия по гидроцилиндрам управления угла резания (ГУУР) и
толкающим брусьям. Для этого гидросистема, содержащая ГУУР 4 с
гидрораспределителями (ГР) 8 и гидроцилиндры 6 подъема и опускания отвала,
снабжена гидроуправляемыми основными 12 и дополнительными 15 трехпозиционными
ГР и пятипозиционными ГР 7. В средней и крайних позициях ГР 7 выполнены
проходные каналы (К), а в промежуточных - запертые К. Вдоль осей ГУУР 4 жестко
смонтированы гидродатчики 5 в виде двухштоковых гидроцилиндров, полости которых
сообщены с управляющими полостями ГР 7. В крайних позициях ГР 12 выполнены
проходные К, а в средней - запертые К- Управляющие полости ГР 12 соединены с ГР
7. В полостях, шарнирно связанных с толкающими брусьями наружных штоков
гидродатчиков 5, установлены пружины 14 сжатия. Гидродатчики 5 расположены в
единых корпусах с ГУУР 4, а их внутренние штоки - в промежуточной полости
единых корпусов, сообщенной с атмосферой. В средней позиции ГР 15,
расположенных в магистралях, соединяющих ГР 8 и 12, выполнены проходные К, а в
крайних - запертые К. Управляющие полости ГР 15 сообщены с напорной 16 и
сливной 11 гидромагистралями гидроцилиндров 6, сообщенных с проходными К ГР 12.
При перегрузке или недогрузке одного из верхних или нижних углов отвала под
действием пружины 14 происходит повышение давления во внутренней или внешней
штоковых полостях гидродатчика 5 или выравнивание давлений в них. Под действием
давления жидкости происходит подключение штоковой или поршневой полостей ГУУР 4
через ГР 7, 8 и 12 к напорным 9 и 10 или сливной 11 магистралям. Усилие, действующее
на отвал, снижается, и происходит его выглубление. При перегрузках и
недогрузках верхнего и нижнего края отвала в работу включаются два гидродатчика
5. При этом напорная 16 и сливная 11 магистрали подключаются к поршневой или
штоковой полостям гидроцилиндров 6. 3 з.п.ф-лы, 2 ил.
Изобретение относится к землеройно-транспортным
машинам, а именно к гидроприводам бульдозеров. Целью изобретения является
повышение производительности работы бульдозера.
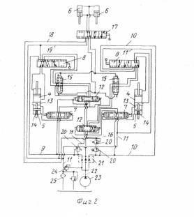
На фиг. 1 изображен бульдозер, вид сбоку; на
фиг. 2 - гидравлическая схема управления бульдозерным оборудованием.
Бульдозер включает базовый трактор 1, на котором
смонтирован отвал 2 с толкающими брусьями 3. Между отвалом 2 и толкающими
брусьями 3 смонтированы гидроцилиндры 4 управления углом резания, обеспечивающие
жесткость конструкции бульдозера. Вдоль осей гидроцилиндров 4 жестко
смонтированы гидродатчики 5. Гидроцилиндры 6 подъема и опускания отвала
соединены шарнирно с базовым трактором 1 и отвалом 2. Полости гидродатчиков 5
(фиг. 2) соединены с управляющими полостями дополнительных пятипозиционных
гидрораспределителей 7, выполненных с перепускными каналами в средней и крайних
позициях и запорными каналами в промежуточных позициях. Гидрораспределители 8
гидроцилиндров 4 выполнены четырехпозиционными и снабжены дополнительными
каналами, посредством которых полости гидроцилиндров 4 соединены с напорными 9
и 10 и сливной 11 гидромагистралями через трехпозиционные гидрораспределители
12 и проходные каналы пятипозиционных гидрораспределителей 7. Гидрораспределители
8 выполнены со всеми запертыми каналами в одной крайней позиции, инверсируемыми
основными проходными каналами и запертыми дополнительными каналами в двух
промежуточных позициях; запертыми основными и проходными дополнительными
каналами в другой крайней позиции, причем основными проходными каналами полости
гидроцилиндров 4 соединены с напорными 9 и 10 и сливной 11 магистралями.
Гидрораспределители 12 выполнены с проходными каналами в крайних позициях,
запертыми каналами в средней позиции и управляющими полостями, соединенными
указанными проходными каналами гидрораспределителей 7.
Гидродатчики 5 выполнены в виде двухштоковых
гидроцилиндров, внутренние штоки которых выведены в промежуточные полости 13,
соединенные с атмосферой. Гидродатчики 5 и гидроцилиндры 4 смонтированы в
единых корпусах и шарнирно прикреплены с одной стороны к отвалу штоками
гидроцилиндров 4, а с другой - к толкающим брусьям наружными штоками
гидродатчиков 5. В последних полости наружных штоков снабжены пружинами 14
сжатия.
В напорных 9 и 10 и сливной 11 гидромагистралях
гидроцилиндров 4, подведенных через проходные каналы крайних позиций
гидрораспределителей 12, установлены дополнительные трехпозиционные
гидрораспределители 15 с проходными каналами в средней позиции, запорными
каналами в крайних позициях и управляющими полостями, соединенными с напорной
16 и сливной 11 магистралями гидроцилиндров 6. Напорная 16 и сливная 11
гидромагистрали подключены к гидроцилиндрам 6 подъема и опускания отвала через
другие проходные каналы крайних позиций гидрораспределителей 12 и проходные
каналы одной из позиций гидрораспределителя 17, который выполнен в других
позициях с полностью запертыми каналами, а также с запертыми указанными
проходными каналами гидромагистралей 16 и 11 и инверсируемыми открытыми
проходными каналами, соединенными дополнительными гидромагистралями 18 и 19
соответственно с напорной 16 и сливной 11 гидромагистралями до
гидрораспределителей 12.
Напорные гидромагистрали 9, 10 и 16 снабжены
предохранительными клапанами 20 и через делитель 21 потока соединены с напорной
гидромагистралью 22 насоса 23. Напорная гидромагистраль 22 также соединена
предохранительным клапаном 24 со сливной гидромагистралью 11, в которой обычным
образом смонтирован фильтр 25.
Бульдозер работает следующим образом.
В процессе копания грунта на нижнюю кромку
отвала 2 действует усилие Р (фиг. 1). которое воздействует одновременно на
гидроцилиндры 4, вызывая повышение давления в их штоковых полостях, и на
гидродатчики 5, вызывая сжатие пружин 14 в полостях их наружных штоков. При
соединении гидроцилиндров 6 посредством инверсируемых проходных каналов
гидрораспределителя 17 с дополнительными гидромагистралями 18 и 19
осуществляется обычным образом подъем и опускание отвала 2 в режиме ручного
управления. При одновременном соединении гидроцилиндров 4 посредством
инверсируемых проходных каналов средних позиций гидрораспределителей 8 с
напорными гидромагистралями 9 и 10 и сливной гидромагистралью 11 происходит
обычным образом изменение угла резания отвала 2, при соединении только одного
из гидроцилиндров 4 с напорными гидромагистралями 9 или 10 происходит обычным
образом поперечной перекос отвала в соответствующую сторону в режиме ручного
управления.
Соединением гидроцилиндров 4 посредством
гидрораспределителей 8 с дополнительными гидрораспределителями 15 и
гидроцилиндров 6 посредством гидрораспределителя 17 с гидрораспределителями 12
гидросистема переводится в режим автоматического управления. Тогда при
перегрузке одного из нижних углов отвала 2, что может в обычных условиях привести
к потере курсовой устойчивости или развороту бульдозера, в соответствующем
гидродатчике 5 возникает растягивающее усилие, превышающее усилие сжатия
пружины 14, что вызывает повышение давления во внешней штоковой полости
гидродатчика 5. Под действием давления жидкости управляющая полость переключает
гидрораспределитель 7 в крайнюю позицию, тем самым переключая из нейтрального
запертого положения в крайнюю левую позицию соответствующий гидрораспределитель
12 и соединяя через его проходные каналы и проходные каналы гидрораспределителя
7 и проходные каналы средней позиции гидрораспределителя 15 штоковую полость
соответствующего гидроцилиндра 4 с напорной гидромагистралью 9 и 10 и поршневую
полость этого гидроцилиндра со сливной гидромагистралью 11. В результате этого
происходит втягивание штока соответствующего гидроцилиндра 4 и выглубление того
угла отвала 2, на который действует усилие со стороны грунта, превышающее
допустимый максимум. Проходные каналы крайней левой позиции гидрораспределителя
12, соединяющее напорную гидромагистраль 16 и сливную гидромагистраль 11 с
гидроцилиндрами 6 подъема и опускания отвала 2, блокированы при этом запертыми
каналами средней позиции другого гидрораспределителя 12, на гидродатчик 5
которого не действуют экстремальные нагрузки.
При перегрузке одного из верхних углов отвала 2,
например в случае набора несимметричной призмы волочения максимальных размеров,
что также может привести в обычных условиях к потере курсовой устойчивости или
развороту бульдозера, в соответствующих гидроцилиндре 4 и гидродатчике 5
возникает сжимающее усилие, вызывающее повышение давления во внутренней
штоковой полости гидродатчика 5. В результате гидрораспределитель 7 занимает
другую крайнюю позицию, а давление жидкости также подается в штоковую полость
данного гидроцилиндра 4, что приводит к аналогичному выглублению
соответствующего угла отвала 2 и уменьшению действующих на него усилий.
В данном случае проходные каналы крайней левой
позиции трехпозиционного гидрораспределителя 12, соединяющие напорную
магистраль 16 и сливную магистраль 11 с гидроцилиндрами 6, также блокированы
запертыми каналами средней позиции другого гидрораспределителя 12, на
гидродатчик 5 которого не действуют экстремальные нагрузки.
При недогрузке одного из нижних углов отвала
давление в полостях соответствующего гидродатчика 5 выравнивается, т. е.
разница давлений в полостях становится меньше предела регулирования, а пружина
14 сжатия находится в нейтральном или слабонагруженном положении. Тогда
соответствующий гидрораспределитель 7 находится в средней позиции, обеспечивая
переключение гидрораспределителя 12 в крайнюю правую позицию и подключение
через его проходные каналы, а также через проходные каналы гидрораспределителя
15 поршневой полости соответствующего гидроцилиндра 4 к напорной
гидромагистрали 9 или 10 и штоковой полости этого гидроцилиндра - к сливной
гидромагистрали 11. В результате происходит выдвижение штока соответствующего
гидроцилиндра 4 и заглубление в грунт недогруженного угла отвала. В данном
случае проходные каналы крайней правой позиции гидрораспределителя 12,
соединяющие напорную 16 и сливную 11 магистрали с гидроцилиндрами 6, также
блокированы запертыми каналами средней позиции другого гидрораспределителя 12,
на гидродатчик которого не действуют экстремальные нагрузки.
При перегрузке нижнего края всего отвала 2
возникает повышенное давление во внешних штоковых полостях обоих гидродатчиков
5, что обеспечивает одновременное включение крайних позиций обоих
гидрораспределителей 7 и крайних левых позиций обоих гидрораспределителей 12,
через проходные каналы которых напорная гидромагистраль 16 соединяется со
штоковыми, а сливная гидромагистралъ 11 - с поршневыми полостями гидроцилиндров
6. Это обеспечивает подъем всего отвала 2 до предела, когда перегрузка уменьшится
до допустимого предела и произойдет переключение обоих гидрораспределителей 7 в
среднюю позицию, что в свою очередь вызывает переключение гидрораспределителей
12 в крайнюю правую позицию, обеспечивающую соединение напорной гидромагистрали
16 с поршневыми, а сливной гидромагистрали 11 - со штоковыми полостями
гидроцилиндров 6 и опускание всего отвала 2. Пульсирующее переключение
гидроцилиндров 6 отвала 2 предупреждено использованием промежуточных позиций с
запертыми каналами в гидрораспределителях 7. Таким образом, при достижении
отвалом 2 оптимального с точки зрения действующих на него усилий уровня
установки гидрораспределители 7 занимают промежуточную позицию с запертыми
каналами, в которой остаются в установленных пределах регулирования.
Одновременное переключение гидрораспределителей 12 в крайнюю позицию вызывает
синхронно с автоматической подачей давления к гидроцилиндрам 6 поступление
жидкости под давлением в управляющие полости гидрораспределителей 15, в
результате чего они переключаются в крайнюю позицию с запертыми каналами,
разобщая тем самым напорные магистрали 9 и 10 и сливную магистраль 11 с
гидроцилиндрами 4 управления углом резания, которые бездействуют в течение
всего периода изменения положения гидроцилиндров 6 отвала 2.
При перегрузке верхнего края всего отвала 2
происходят аналогичные процессы регулирования с той разнице, что избыточное
давление создается во внутренней штоковой полости гидродатчика 5 и
гидрораспределители 7 сначала занимают крайнюю позицию, а в конце регулирования
подъема и опускания отвала 2 гидроцилиндрами 6 - другую промежуточную позицию с
запертыми каналами.
При недогрузе нижнего края всего отвала 2
происходят аналогичные процессы регулирования с той разницей, что перепад
давлений в обеих полостях гидродатчиков 5 становится меньше предела
регулирования, гидрораспределители 7 сначала занимают под действием собственных
пружин, как показано на фиг. 2, среднюю позицию, а в конце регулирования
подъема и опускания отвала 2 гидроцилиндрами 6 - одну или другую промежуточную
позицию с запертыми каналами.
Формула изобретения
Бульдозер, включающий базовый трактор, отвал,
толкающие брусья и гидросистему, содержащую гидроцилиндры подъема и опускания
отвала и гидроцилиндры управления углом резания с их гидрораспределителями,
отличающийся тем, что, с целью повышения производительности работы бульдозера,
гидросистема снабжена гидроуправляемыми трехпозиционными гидрораспределителями,
пятипозиционными гидрораспределителями, выполненными с проходными каналами в
средней и крайних позициях и с запертыми каналами в промежуточных позициях, и
расположенными вдоль осей гидроцилиндров управления углом резания жестко
смонтированными на них гидродатчиками, через которые последние соединены с
толкающими брусьями, при этом гидродатчики выполнены в виде двухштоковых
гидроцилиндров, полости которых сообщены с управляющими полостями
пятипозиционных гидрораспределителей, полости гидроцилиндров управления углом
резания последовательно соединены с напорной и сливной магистралями через
дополнительные каналы своих гидрораспределителей, трехпозиционные
гидрораспределители и пятипозиционные гидрораспределители, а трехпозиционные
гидрораспределители выполнены с проходными каналами в крайних позициях и
запертыми каналами в средней позиции и управляющими полостями соединены с
пятипозиционным гидрораспределителем.
Бульдозер по п. 1, отличающийся тем, что
гидродатчики расположены в единых корпусах с гидроцилиндрами управления углом
резания, а внутренние штоки гидродатчиков - в промежуточной полости единых
корпусов, сообщенной с атмосферой, при этом наружные штоки гидродатчиков
шарнирно связаны с толкающими брусьями.
Бульдозер по пп. 1 и 2, отличающийся тем, что
гидродатчики снабжены установленными в полостях наружных штоков пружинами
сжатия.
. Бульдозер по пп. 1-3, отличающийся тем, что
гидросистема снабжена дополнительными гидроуправляемыми трехпозиционными
гидрораспределителями, выполненными с проходными каналами в средней позиции и с
запертыми каналами в крайних позициях и расположенными в магистралях,
соединяющих гидрораспределители гидроцилиндров управления углом резания с
первыми трехпозиционными гидрораспределителями, при этом управляющие полости
дополнительных трехпозиционных гидрораспределителей сообщены с напорной и
сливной гидромагистралями гидроцилиндров подъема и опускания отвала, которые
сообщены с проходными каналами крайних позиций первых трехпозиционных
гидрораспределителей.
Авторское свидетельство СССР № 1201422,кл. Е 02 F
3/76, 1984
БУЛЬДОЗЕРНОЕ ОБОРУДОВАНИЕ.
Изобретение относится к землеройным машинам типа
бульдозера.
Цель - упрощение конструкции. Бульдозерное
оборудование содержит толкающие брусья 3 с отвалом 4 и грузовую площадку (ГП) 5
в форме полудиска. Механизм перевода ГП 5 из рабочего положения в транспортное
состоит из горизонтальной траверсы (ГТ) 6 с жестко прикрепленными к ней
стойками (С) 7. Последние смонтированы в направляющих втулках 8 на тыльной
стороне отвала 4. На нижних концах С 7 закреплены поддерживающие ролики 9,
между которыми размещена ГП 5 Параллельно С 7 расположен приводной вал 10,
смонтированный в дополнительных направляющих втулках 11 на тыльной стороне
отвала 4. Вал 10 нижним концом прикреплен к ГП 5 в центр ее окружности, а
верхним концом установлен в ГТ 6. Гидроцилиндр 11 перемещения ГП 5 на высоте
смонтирован на отвале 4 и соединен с ГТ 6. Двигатель 12 для выдвижения ГП 5 под
отвалом закреплен на ГТ 6 и кинематически связан с приводным валом 10.
Гидроцилиндром 11 опускают ГП 5 ниже уровня ножей отвала 4. Двигателем 12
поворачивают ГП 5 в переднее рабочее положение. Гидроцилиндром 11 поднимают ГП
5 до упора в ножи отвала 4 и набирают грунт или другой груз. Поднимают отвал и
транспортируют груз. При выгрузке опускают ГП 5, выключают двигатель 12, поворачивают
ГП 5 в транспортное положение.
Изобретение относится к строительно-дорожным
машинам, в частности к землеройным машинам типа бульдозеров.
Цель изобретения - упрощение конструкции
оборудования.
На фиг. 1 изображено бульдозерное оборудование,
вид сбоку; на фиг.2 - то же, в плане.
Бульдозерное оборудование 1, навешенное на
базовую машину 2, включает толкающие брусья 3 с отвалом 4 и грузовую площадку
5, выполненную в форме полудиска. Механизм перевода площадки 5 из рабочего
положения в транспортное состоит из горизонтальной траверсы 6 с жестко
прикрепленными к ней стержнями в виде стоек 7, смонтированных посредством
направляющих втулок 8 на тыльной стороне отвала 4. На нижних концах стоек 7
закреплены поддерживающие опорные ролики 9, между которыми размещена площадка
5. Параллельно стойкам 7 расположен приводной вал 10, смонтированный в
дополнительных направляющих втулках 11 на тыльной стороне отвала 4. Вал 10
нижним концом прикреплен к полудисковой платформе 5 в центре ее окружности, а
верхним концом установлен в траверсе 6. Гидроцилиндр 12 перемещения грузовой
площадки 5 по высоте смонтирован на отвале 4 и соединен с траверсой 6.
Двигатель 13 для выдвижения площадки 5 под отвалом закреплен на траверсе и
кинематически связан с приводным валом 10.
Работает бульдозерное оборудование следующим
образом. Базовая машина 2 с бульдозерным оборудованием 1 подъезжает к куче
грунта или другому грузу. Гидроцилиндром 12 грузовая площадка 5 совместно с
траверсой 6 и стойками 7 опускается в нижнее положение, ниже уровня ножей
отвала 4, Затем посредством двигателя 13 и вала 10 поворачивается в переднее
рабочее положение до упора в ограничители этого вала. Гидроцилиндром 12
поднимается площадка 5 до упора в ножи отвала 4. В таком положении оборудования
набирается материал на площадку 5. Далее поднимается отвал и транспортируется
расположенный на площадке груз к месту выгрузки. При выгрузке опускается
грузовая площадка 5, включается двигатель 13 и поворачивается площадка 5 в
транспортное положение.
Формула изобретения Бульдозерное оборудование,
включающее толкающие брусья, закрепленный на них отвал, грузоподъемную
площадку, которая смонтирована посредством механизма ее перевода из рабочего
положения в транспортное с возможностью установки в рабочее положение перед
отвалом и под его режущим ножом, и двигатели управления механизмом перевода для
перемещения грузовой площадки по высоте и для ее выдвижения под отвалом, первый
из которых выполнен в виде гидроцилиндра, отличающееся тем, что, с целью упрощения
его конструкции, грузовая площадка выполнена в виде полудиска, а механизм ее
перевода из рабочего положения в транспортное состоит из горизонтальной
траверсы с жестко прикрепленными к ней стержнями в виде стоек, смонтированными
посредством направляющих втулок на тыльной стороне отвала с возможностью
перемещения вдоль их продольных осей и имеющими закрепленные на их нижних
концах поддерживающие опорные ролики, между которыми размещена полудисковая
грузовая площадка, и из расположенного параллельно стержням приводного вала,
который смонтирован на тыльной стороне отвала посредством дополнительных
направляющих втулок и нижним концом прикреплен к полудисковой грузовой площадке
в центре ее окружности, а верхним связан с траверсой, при этом гидроцилиндр перемещения
грузовой площадки по высоте смонтирован на отвале и соединен с траверсой, а
двигатель для ее выдвижения под отвалом закреплен на траверсе и кинематически
связан с приводным валом.
4. Авторское свидетельство СССР № 635179, кл. Е
02 F 3/76, 1978.
РАБОЧИЙ ОРГАН БУЛЬДОЗЕРА, включающий отвал с
лобовым листом и выступающий средний нож с гидроцилиндрами управления,
отличающийся тем, что с целью повышения производительности, он снабжен ковшом,
выполненным из расположенных перед лобовым листом отвала задней стенки, днища,
к передней части которого прикреплен средний нож, и из боковых стенок с
расположенными в верхних частях и примыкающих к задней стенке разгрузочными
окнами, при этом ковш смонтирован на отвале шарнирно и соединен с
гидроцилиндрами управления.
Известен рабочий орган бульдозера, включающий отвал
с выступающим средним ножом.
Недостаток данного устройства заключается в том,
что поднимаемый средним ножом пласт грунта испытывает значительную пригрузку со
стороны призмы волочения.
Наиболее близким к изобретению по технической
сущности является рабочий орган, включающий отвал с лобовым листом и
выступающим средним ножом с гидроцилиндрами управления.
Недостаток известного устройства заключается в
том, что поднимаемый средним ножом пласт грунта значительно пригружен призмой
волочения, в связи с чем требуются дополнительные затраты тягового усилия, что
отрицательно сказывается на производительности. Кроме того, имеют место также
потери грунта в боковые валики, что также сказывается на снижении
производительности.
Целью изобретения является повышение производительности.
Поставленная цель достигается тем, что рабочий
орган бульдозера, включающий отвал с лобовым листом и выступающий средний нож с
гидроцилиндрами управления, снабжен ковшом, выполненным из расположенных перед
лобовым листом отвала задней стенки, днища( к передней части которого
прикреплен средний нож, и из боковых стенок с расположенными в верхних частях и
примыкающих к задней стенке разгрузочными окнами, при этом ковш смонтирован на
отвале шарнирно и соединен с гидроцилиндрами управления.
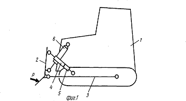
На фиг. 1 изображен в изометрии рабочий орган,
общий вид; на фиг. 2 - процесс копания грунта; на фиг. 3 - транспортировка
грунта в ковше.
Рабочий орган бульдозера включает отвал I с
лобовым листом 2 и режущими ножами 3, гидроцилиндры 4 управления.
На отвале шарнирно смонтирован ковш 5, состоящий
из задней б стенки, расположенной перед лобовым листом 2 отвала 1, днища 7 со
средним ножом 8 и боковых стенок 9, в верхних частях которых выполнены
разгрузочные окна.
Шарнирное соединение ковша 5 с отвалом 1
выполнено посредством шарниров 10, соединяющих между собой кронштейны 11,
закрепленные на тыльной стороне отвала 1, и рычаги 12, жестко связанные одними
концами с ковшом 5, а другими с гидроцилиндрами 4 управления. С базовым
трактором рабочий орган соединен посредством толкающих брусьев 13 и
гидроцилиндров 14.
Орган бульдозера работает следующим образом.
При опускании отвала 1 с помощью гидроцилиндров
14 осуществляется взаимодействие выступающего ножа 8 с грунтом. Штоки
гидроцилиндров 4 при этом выдвинуты. Вырезаемый грунт узким выступающим ножом
8, в условиях наличия боковых стенок 9, поднимается вверх по криволинейной
поверхности задней стенки 6. Наличие разгрузочных окон в боковых стенках 9
обеспечивает формирование перед отвалом 1 призмы волочения (движение грунта
показано стрелками на фиг. 1). Режущий нож 3 при этом перемещается по дневной
поверхности грунта без подрезания. Если же имеется резерв тягового усилия,
тогда оператор с помощью гидроцилиндров 14 опускает отвал 1 с ножом 3 на
некоторую глубину, происходит копание грунта ножами 8 и 3.
При возрастании сопротивления копания уменьшение
толщины стружки, вырезаемой ножом 8, осуществляется гидроцилиндрами 4. При
втягивании штоков гидроцилиндров 4, происходит уменьшение толщины стружки,
вырезаемой ножом 8.
Таким образом, вырезаемый средним ножом грунт
накопляется в ковше 5 и не оказывает давления на разрабатываемый грунт в зоне
резания, что уменьшает общее сопротивление грунта копанию и, следовательно,
позволяет получить увеличение производительности. Управление ковшом 5 в
процессе резания грунта также позволяет снизить потери грунта в боковые валики,
так как основная масса грунта формируется в средней части отвала 1.
При необходимости транспортировка грунта может
быть осуществлена в поднятом ковше 5.
Авторское свидетельство СССР № 848541, кл. Е 02 F
3/76, 1979 (прототип)
РАБОЧЕЕ ОБОРУДОВАНИЕ БУЛЬДОЗЕРА, включающее
отвал с коробкой жесткости и основным режущим ножом, кронштейн с шарнирно
присоединенным средним ножом и механизм прижатия среднего ножа к основному
ножу, отличающееся тем, что, с целью упрощения перемонтажа среднего ножа при
работе на грунтах с различными физико-механическими свойствами, средний нож
выполнен с двумя противолежащими режущими кромками разной длины, а шарнир его
соединения с кронштейном- выполнен сферическим.
Изобретение относится к землеройно-транспортному
машиностроению, в частности к рабочему оборудованию бульдозерного типа.
Наиболее близким к изобретению техническим
решением является рабочее оборудование бульдозера, включающее отвал с коробкой
жесткости и основным режущим ножом, кронштейн с шарнирно присоединенным ножом и
механизм прижатия среднего ножа к основному ножу. Кронштейн выполнен полым с
продольным пазом и снабжен установленным в нем ползуном с упорным рычагом,
расположенным в пазу с возможностью взаимодействия с нижней частью среднего
ножа, а ползун и кронштейн соединены натяжным клином. Данная конструкция
позволяет жестко фиксировать дополнительный средний нож на отвале при монтаже
независимо от угла резания основного ножа отвала.
Недостатком известного устройства является
невозможность изменения длины режущей кромки среднего, ножа. При разработке
бульдозером грунтов различной прочности обычно используется средний нож одного
типоразмера, что существенно снижает эффективность работы бульдозера, или
производится замена средних ножей в соответствии с прочностью разрабатываемого
грунта, что приводит к большим технологическим потерям времени вследствие
сложности перемонтажа среднего ножа.
Целью изобретения является упрощение перемонтажа
среднего ножа, при работе бульдозеров на грунтах с различными
физико-механическими свойствами.
Указанная цель достигается тем, что в рабочем
оборудовании бульдозера, включающем отвал с коробкой жесткости и основным
режущим ножом, кронштейн с шарнирно присоединенным средним ножом и механизм
прижатия среднего ножа к основному ножу, средний нож выполнен с двумя
противолежащими режущими кромками разной длины, а шарнир его соединения с
кронштейном выполнен сферическим.
На отвале 1 бульдозера, снабженном основным
ножом 2, снизу смонтирован кронштейн 3 со средним ножом 4. Средний нож 4
выполнен с верхней 5 и нижней 6 режущими кромками различной длины. Кронштейн 3
передним концом соединен с дополнительным выступающим ножом 4 посредством
сферического шарнира 7, снабженного горизонтальным сквозным отверстием, в
котором установлен фиксатор, например штифт 8. Средний нож 4 сопряжен нижней
частью с упорным рычагом 9,. который жестко смонтирован снизу на ползуне 10.
Ползун 10 размещен в продольных пазах 1 1 кронштейна 3 и закреплен в нем
посредством натяжного клина 12. Верхняя 5 и нижняя 6 режущие кромки расположены
симметрично относительно сферического шарнира 7. Задний конец кронштейна 3
посредством шарнира 13 соединен с рычагом 14, который при помощи пальца 15
закреплен в проушине 16 с тыльной стороны отвала 1. На рычаге 14
смонтирован.механизм натяжения в виде установленного по резьбе болта-17,
сферический конец которого установлен на коробке 18 жесткости отвала 1. Монтаж
среднего ножа на отвале бульдозера осуществляется следующим образом.
Средний нож 4 устанавливают тыльной стороной на
основной нож 2 отвала 1. Соединяют шарниром 13 кронштейн 3 с рычагом 14 и
последний - пальцем 15 с проушиной отвала 1. Затем поперечным перемещением
клина 12 и затяжкой болта 17 обеспечивают надежное прилегание среднего ножа 4 к
основному ножу 2 и жесткое крепление сменного оборудования на отвале.
При необходимости изменения длины режущей кромки
среднего ножа 4 ослабляют клин 12 и болт 17, вынимают штифт 8 и поворачивают
средний нож 4 на 180° на сферической опоре 7 в плоскости основного ножа 2,
снова устанавливают штифт 8 в горизонтальное сквозное отверстие сферического
шарнира 7 и натягивают клин 12 и болт 17. При этом верхняя 5 и нижняя 6 режущие
кромки меняются местами.
Предлагаемая конструкция обеспечивает
возможность быстрого изменения длины режущей кромки среднего ножа при одновременном
надежном и жестком креплении его на отвале, что значительно расширяет диапазон
разрабатываемых грунтов и повышает универсальность рабочего оборудования.
1.2 Описание
проектируемой конструкции и внесённых в неё изменений
На основании рассмотренных авторских
свидетельств была выбрана разработка, применение которой, на мой взгляд,
обеспечивает наибольший прирост производительности бульдозера.
РАБОЧИЙ ОРГАН ДЛЯ ПЕРЕМЕЩЕНИЯ ВЯЗКИХ МАТЕРИАЛОВ,
включающий отвал с выходными соплами, которые соединены с замкнутой камерой,
сообщенной с источником давления рабочей среды, отличающийся тем, что, с целью
снижения усилия трения движения вязкого материала по отвалу при оптимальном
расходе рабочей среды, сопла выполнены по всей рабочей поверхности отвала, а
камера снабжена мембраной из пластичного материала, разделяющей ее на сопловую
и замкнутую полости, каждая из которых сообщена с источником давления среды
посредством редукционного клапана. Рабочий орган по п. 1, отличающийся тем, что
выходные сопла на рабочей поверхности отвала направлены в сторону основания
последнего.
Изобретение относится к землеройным машинам и
может быть использовано для перемещения вязких материалов, например навоза в
сельском хозяйстве.
Цель изобретения - снижение усилия трения
движения вязкого материала по отвалу при оптимальном расходе рабочей среды.
На фиг. 1 изображен рабочий орган для
перемещения вязких материалов; на фиг. 2 - отвал, поперечное сечение; на фиг. 3
- сечение А-А на фиг. 2; на фиг. 4 - сечение Б-Б на фиг. 2.
Рабочий орган крепится к базовой машине с
помощью толкающих брусьев 1 и включает снабженный соплами 2 отвал 3 с задней
стенкой 4 и с лобовым листом 5, образующими замкнутую камеру 6, внутри которой
установлена мембрана 7, выполненная из пластичного материала, например из
резины, и. разделяющая ее на сопловую 8 и замкнутую 9 полости.
Обе полости сообщены через редукционные клапаны
10 и 11 с источником давления рабочей среды (не показан), которая может быть
сжатым воздухом, водой или другим компонентом. Сопла 2 расположены по всей
рабочей поверхности лобового листа 5.
Устройство работает следующим образом.
При отсутствии материала на лобовом листе 5
отвала 3 и подаче среды, например сжатого воздуха, через редукционные клапаны
10 и 11 в полости 8 и 9 давление в последней будет больше, так как воздух из
полости 8 выходит через сопла 2. Давлением в полости 9 мембрана 7 прижимается к
внутренней поверхности лобового листа 5, перекрывая сопла 2, кроме нижнего
ряда. Редукционный клапан 11 настроен на большее давление, чем клапан 10,
поэтому после перекрытия мембраной 7 сопел 2 в полости 8 возрастает давление,
которое отжимает нижнюю часть мембраны 7, открывая нижние ряды сопел и снова
перекрывая их, т. е. мембрана 7 входит в колебания, ограничивая расход сжатого
воздуха. При перемещении вязкого материала сопла перекрываются им и давления в
полостях 8 и 9 уравниваются, мембрана отжимается и сжатый воздух подается на
вязкий материал, снижая усилие трения его по отвалу, при этом в местах, где
сопла не перекрыты разрабатываемым материалом, мембрана перекрывает их,
колеблясь в граничных зонах материала.
Применение данного рабочего органа позволит
снизить тяговое усилие базовой машины и работать по перемещению материала с
полным или частично заполненным отвалом при оптимальном расходе рабочей среды.

1.3 Назначение и рациональная область применения
Для выполнения земляных работ созданы
универсальные и специализированные строительные машины.
Бульдозер - землеройная машина, состоящая из
базового тягача и бульдозерного (навесного) оборудования, предназначенная для
резания и перемещения грунта и планировки разрабатываемой поверхности.
Бульдозеры применяют при сооружении насыпей,
засыпке траншей и канав, разработке взорванных скальных грунтов, перемещении и
штабелировании сыпучих материалов, подаче каменных материалов к питателям
дробильных установок, очистке территорий от шлака, мусора и снега, планировке
откосов и др.
Бульдозеры как навесное оборудование на
тракторы, тягачи и другие базовые машины широко распространены, что объясняется
простотой их конструкций, высокой производительностью, возможностью их
использования в самых разнообразных грунтовых и климатических условиях и
относительно низкой стоимостью выполненных работ.
Проектируемая конструкция позволяет повысить
производительность бульдозера при работе с грунтами различных категорий, а в
особенности с сыпучими грунтами и вязкими материалами. Следовательно,
проектируемая конструкция может найти применение в агрогородках и крупных
хозяйствах, особенно учитывая их развитие и рост в настоящее время.
Также бульдозер с усовершенствованным отвалом
может выполнять все виды операций, производимые до модернизации.
.4 Уровень унификации и
стандартизации
При разработке дипломного проекта я
руководствовался существующими нормативными документами и ГОСТами, такими как:
ГОСТ 12.1.003-83* ССБТ. Шум. Общие требования
безопасности
ГОСТ 12.1.012-90 ССБТ. Вибрационная
безопасность. Общие требования
ГОСТ 12.2.007.0-75* ССБТ. Изделия
электротехнические. Общие требования безопасности
ГОСТ 12.2.011-75* ССБТ. Машины строительные и
дорожные. Общие требования безопасности
ГОСТ 12.3.033-84 ССБТ. Строительные машины.
Общие требования безопасности при эксплуатации
ГОСТ 12.4.026-76* ССБТ. Цвета сигнальные и знаки
безопасности
ГОСТ 17.2.2.05-97 Охрана природы. Атмосфера.
Нормы и методы определения выбросов вредных веществ с отработавшими газами
дизелей тракторов и самоходных сельскохозяйственных машин
ГОСТ 2.601-95* ЕСКД. Эксплуатационные документы
ГОСТ 25646-95 Эксплуатация строительных машин.
Общие требования
ГОСТ 27251-87 Машины землеройные. Метод
испытаний по определению времени перемещения рабочих органов
ГОСТ 27252-87 Машины землеройные. Консервация и
хранение
ГОСТ 27253-87 Машины землеройные. Приборы для
обслуживания
ГОСТ 27714-88 Машины землеройные. Устройства
защиты при опрокидывании. Лабораторные испытания и технические требования.
Часть 1. Гусеничные и колесные погрузчики и тракторы, обратные
лопаты-погрузчики, автогрейдеры, самоходные скреперы, землевозы с
шарнирно-сочлененной рамой
ГОСТ 27718-88 Машины землеройные. Инструмент для
технического обслуживания. Часть 2. Ремонтный инструмент. Механические съемники
ГОСТ 28632-90 Машины землеройные. Определение и
условные обозначения размерных характеристик. 2. Рабочее оборудование
ГОСТ 28633-90 Машины землеройные. Определение и
условные обозначения разменных характеристик. 1. Базовая машина
ГОСТ 28769-90 Машины землеройные. Требования к
эффективности и методы испытаний тормозных систем колесных машин
ГОСТ 28983-91 Машины землеройные. Инструмент для
технического обслуживания. 1. Инструмент для ухода и регулировки
ГОСТ 27.002-89 Надёжность в технике. Основные
понятия. Термины и определения
ГОСТ 18322-78 Система технического обслуживания
и ремонта техники. Термины и определения
ГОСТ 25866-83 Эксплуатация техники. Термины и
определения
2. Расчёт основных
параметров
.1 Выбор и обоснование
главных параметров
Главный параметр гусеничного бульдозера -
номинальное тяговое усилие, под которым понимают усилие, развиваемое базовым
трактором на плотном грунте с учётом его догрузки от веса навесного
оборудования при буксовании не выше 7% и скорости 2,5 - 3 км/ч.
Основные параметры бульдозера: эксплуатационный
вес бульдозера; основные рабочие скорости; среднее статическое удельное
давление и смещение центра давления; удельные усилия на режущей кромке ножа
отвала, определяющие возможность разработки бульдозером грунтов с различным
сопротивлением копанию.
К основным конструктивным параметрам рабочего
оборудовании бульдозера относятся: длина и высота отвала, параметры профиля
иной поверхности, углы установки отвала, наибольшая высота подъема и опускания
отвала, угол въезда, скорость подъёма и опускания отвала.
В таблице 1 приведена техническая характеристика
рассматриваемого в данной работе бульдозера.
Таблица 1. Техническая характеристика бульдозера
|
Показатели
|
Бульдозер
ДЗ-110А
|
|
Тяговый
класс
|
10
|
|
Марка
трактора
|
Т-130
МГ-1
|
|
Мощность
двигателя, кВт
|
118
|
|
Тип
отвала бульдозера
|
Неповоротный
|
|
Отвал:
длина по ножу в мм высота по хорде в мм высота подъема в мм наибольшее
заглубление в мм управление
|
3220
1300 995 400 гидравлическое
|
|
Габаритные
размеры в мм: длина ширина высота
|
5500
3300 3300
|
|
Вес
в кг: бульдозерного оборудования бульдозера с трактором
|
2100
16035
|
|
Скорость
движения, км/ч: вперед назад
|
3,7-10,27
3,56-9,9
|
2.2 Тяговый расчёт
Тяговый расчет бульдозера сводится к определению
суммарного сопротивления его движению и сравнению полученного значения со
значением номинальной силы тяги бульдозера.
Это сравнение можно обозначить так:
(1)
где
- номинальная сила тяги бульдозера,
Н;
- суммарное
сопротивление движению, Н.
Номинальное тяговое усилие
бульдозера находится по формуле
(2)
где
- коэффициент использования веса
базовой машины с оборудованием по сцеплению, соответствующий допустимому
буксованию движителей (для промышленных бульдозеров на гусеничном ходу
);
- сцепной вес бульдозера в рабочем
состоянии,
.
Суммарное сопротивление можно
вычислить по формуле
(3)
где
- сопротивление резанию, Н;
- сопротивление перемещению призмы
грунта перед отвалом, Н;
- сопротивление перемещению грунта
по отвалу, Н;
- сопротивление перемещению
бульдозера, Н;
(4)
где
- удельное сопротивление лобовому
резанию, кг/м2;
;
- длина отвала по ножу, м;
- глубина резания во время
перемещения призмы волочения грунта, м.
При перемещении призмы волочения
часть ее теряется в боковые валики, поэтому нож бульдозера должен быть
заглублен на некоторую величину
для срезания стружки, восполняющей
потери грунта в боковые валики. Потери грунта в боковые валики на 1 м пути
могут быть оценены коэффициентом
, который зависит от свойств грунта.
Для связных грунтов
.
Величина заглубления
(5)
где
- фактический объем призмы волочения
в плотном теле, м3.
Объем призмы волочения
(6)
где
- ширина отвала, м;
- высота отвала с учетом козырька,
м;
- коэффициент, зависящий от
характера грунта;
.
Тогда
В этом случае
Сопротивление перемещению призмы
волочения
(7)
где
- вес призмы волочения, Н;
- объемный вес грунта в плотном
теле, кг/м3,
;
- коэффициент трения грунта по
грунту,
.
(8)
.
Сопротивление от перемещения грунта
по отвалу
(9)
где
- угол резания,
;
- коэффициент трения грунта по
металлу,
.
Тогда
.
Сопротивление перемещению бульдозера
(10)
где
- вес трактора и бульдозера, Н;
;
- коэффициент сопротивления
перемещению движителей трактора,
.
Вычисляем суммарное сопротивление
движению бульдозера
Тяга по двигателю Tдв=98,6кН -
по техническим данным.
Необходимое условие
выполняется
.
2.3 Расчёт
гидросистемы
Для выполнения расчётов гидросистемы
был произведён расчёт усилий на гидроцилиндрах бульдозера. Расчетное усилие F=118кН.
Поскольку гидроцилиндров два, то на каждом F=59кН.
Внутренний диаметр цилиндра
определяют по формуле:
, мм (11)
где F - расчетное
усилие, кН;- максимальное удельное давление в гидросистеме, МПа; q=16 МПа.
мм
По ГОСТ 12447-80 принимаем
=63мм.
Расчет диаметра штока производится
по формуле:
(12)
=0,45
Dц=0,45
63=28,35мм.
По
ГОСТ 12447-80 принимаем d=28мм.
Определяем
толщину стенки гидроцилиндров по формуле:
(13)
Где:
[σ]p=110-120МПа
- допускаемое напряжение для кованной углеродистой стали;
[σ]p=150-180МПа
- для легированных сталей;
q - максимальное рабочее давление в
гидросистеме, МПа.
Расход
жидкости при включении рабочего оборудования на подъем, и опускание или
передвижение определяется по формуле:
(14)
где
Vц - скорость
передвижения рабочего оборудования, см/мин
Fп - рабочая площадь поршня, см2
Трубопроводы
для гидросистемы изготовляют из стали 10 или стали 20. Внутренний диаметр
трубопроводов определяют по формуле:
(15)
где
Q - расход
жидкости в л/мин;- скорость жидкости в трубе, м/сек.
В
нагнетательном трубопроводе принимают V=5 м/сек. Во
всасывающем V=l м/сек.
При
расчёте принимается стандартный насос, установленный на базовой машине -
НШ-100А-3.
Определение
мощности , затрачиваемой на работу насосов.
Мощность,
затрачиваемую на работу насосов, определяют по формуле:
, кВт (16)
где
q - рабочее
давление насоса, МПа
Q - общий ход жидкости в л/мин
η - общий КПД
привода η =0,89-0,97;
Емкость
масляного бака, исходя из технических данных базовой машины, равна W=120 л.
Применяемая
рабочая жидкость МГ-15-Б.
Гидрораспределитель
принимается также стандартный базовой машины Р.75.16-20-01-10.4-05-30 ОСТ
22-829-74.
2.4 Расчёт технической производительности
Эксплуатационная
производительность, м3/ч, бульдозера при резании и перемещении грунта
Прэ
= 3600
Vгр
kу
kн
kв/Тц, (17)
где
Vгр - геометрический объем призмы волочения грунта впереди отвала, м3;гр =
3,201м3 (формула 6);
ky - коэффициент, учитывающий влияние
уклона местности на производительность (при работе на подъемах от 5 до 15 % kу
уменьшается от 0,67 до 0,4, при работе на уклонах от 5 до 15 % kу
увеличивается с 1,35 до 2,25);
kн - коэффициент наполнения
геометрического объема призмы волочения грунтом (0,85...1,05);
kв - коэффициент использования
бульдозера по времени (0,8...0,9);
Тц
- продолжительность цикла, с,
Тц
= lр/vр + lп/vп + lо/vо + tп, (18)
где
lp, lп и lo =
lр + lп - длины соответственно участков резания, перемещения грунта и обратного
хода бульдозера, м;
р
= Vгр/A, (19)
где
А - площадь срезаемого слоя грунта, м2;
А=В
h, (20)
Где:
В - высота отвала, м;- средняя толщина срезаемого слоя;р , vп ,vo - скорости
трактора при резании, перемещении грунта и обратном ходе, м/с;п - время на
переключение передач в течение цикла, tп = 15...20 с.
Резание
грунта производится на скорости 2,5...4,5 км/ч, перемещение грунта - на
скорости 4,5...6 км/ч.
А=3,22
0,4=1,288м2
Тц=2,5/1,25+10/1,66+15/2,36+15=29с.
.5 Техническая производительность (характеристика)
Одним
из основных показателей эффективности проведения модернизации базового
бульдозера является техническая производительность. С помощью справочных
пособий мной было установлено, что средняя производительность бульдозера 10
класса при перемещении грунта I категории на расстояние 10 метров
составила 285,7 м3/ч.
Благодаря
проведенной модернизации в той же ситуации техническая производительность
составляет 375,5 м3/ч. То есть за стандартную 8-ми часовую смену прирост производительность
равен 718,4 м3.
Следовательно,
предложенная мной модернизация позволяет существенно повысить техническую
производительность базового бульдозера ДЗ-110А.
3. Расчёт на прочность
.1 Расчёт пальца, соединяющего шток гидроцилиндра
подъема отвала с шарниром рабочего органа бульдозера
Принимаем
палец из стали 60ХГВ, σт=340МПа.
Усилие,
действующее на палец F=59кН.
Для
проверки необходимо чтобы соблюдалось условие τср≤ [τср],
где:
τср и [τср] -
расчётное и допускаемое напряжение среза пальца.
Допускаемое
напряжение составляет
[τср]=(0,25…0,35)
σт, МПа (21)
где:
σт - предел
прочности при растяжении для стали.
[τср]=0,35
340=119 МПа
Расчетное
напряжение на разрез находим по формуле:
(22)
где:
F - усилие на
пальце, F=59000Н;
D - диаметр пальца, D=40 мм.
Условие
прочности на срез τср≤ [τср]
выполняется: 47<119. Следовательно, выбранный диаметр соединительного пальца
выдержит нагрузку, создающуюся на рабочем органе бульдозера.
3.2 Расчет на прочность стыкового сварного соединения
Расчет
на прочность основан на допущении, что напряжение в шве распределяется
равномерно как по длине, так и по сечению.
Расчет
шва производится на сжатие по сечению соединяемых деталей без учета утолщение
шва.
Принимаем
соединяемые детали из стали 60ХГВ, σт=340МПа.
Усилие,
действующее на шов F=25,7кН.
Условие
прочности шва на срез при действии сжимающей силы: τ’ср≤[τ]’ср;
τ’ср=F/A=F/(0,7
k
lш),
МПа, (23)
где:
τ’ср и [τ]’ср -
расчетное и допускаемой напряжение среза для шва;
lш - расчетная длина шва, lш=820мм.
Допускаемое
напряжение составляет
[τср]’=0,65
σт, МПа (24)
где:
σт - предел
прочности при растяжении для стали.
[τср]’=0,65
340=221 МПа
τ’ср
=25700/(0,7
5
820)=8,95 МПа.
Условие
прочности на срез τ’ср≤[τ]’ср
выполняется: 8,95<221. Следовательно, выбранный диаметр соединительного
пальца выдержит нагрузку, создающуюся на рабочем органе бульдозера.
4. Мероприятия ОТ, ТБ и защиты окружающей среды
В
настоящее время в нашей республике огромное значение придается охране труда и
технике безопасности. Работы в дорожной отрасли связаны с большими рисками.
Поэтому во избежание возможных несчастных случаев принимаются меры, исключающие
или в значительной мере сокращающие травматизм и особенно несчастные случаи.
К
управлению дорожно-строительными машинами могут допускаться только лица не
моложе 18 лет, прошедшие специальную подготовку, имеющие удостоверение на право
управления и изучившие охрану труда.
Персонал,
работающий с дорожно-строительной техникой и обслуживающий её, должен знать
инструкцию по эксплуатации машины, и руководствоваться её в свое деятельности.
Перед
началом работы все машины должны быть осмотрены и проверены. Выпуск на работу
неисправных машин запрещён. Машинист машины должен работать в специальном
костюме, рукавицах. Во время работы он должен быть застегнут, манжеты
допускается завязывать завязками, концы которых убирают. Волосы следует
заправлять под головной убор. Во время работы нельзя оставлять машину с
работающим двигателем.
Работы
по модернизации и обслуживанию машин выполняются в установленных местах, в
соответствии с требованиями технологических карт и иных документов. Каждое
рабочее место оснащается оборудованием приборами и инструментом согласно табелю
технического оснащения.
К
работам по модернизации и обслуживанию машин допускаются лица, прошедшие
специальную подготовку по указанным видам работ, и прошедшие инструктаж по
безопасным методам ведения работ.
Станок,
на котором работает рабочий, должен занимать устойчивое положение и содержаться
в чистоте.
Очищать
его от стружки, опилок и осколков следует щеткой, веником, метлой или
обтирочным материалом.
Пролитое
на пол масло необходимо удалять сразу, а это место посыпать песком или
опилками. Перед началом работ на подъемно-транспортных средствах необходимо
проверить соответствия их массы поднимаемого груза, исправность их действия и
состояние грузозахватных устройств.
При
подъеме груза следует убедиться в надежности его закрепления на грузозахватном
устройстве. Поднимать и опускать груз необходимо только вертикально.
В
процессе работы слесари пользуются электрической энергией для освещения
рабочего места, привода инструмента, станков и участвуют в ремонте и испытании
электрооборудования. При этом существует опасность поражения их электрическим
током.
Для
защиты людей от вредного и опасного его воздействия, а также от влияния
электрической дуги, электромагнитного поля и статического электричества на
каждом ремонтном предприятии оборудование заземляют, под каждым рабочим местом
укладываются резиновые коврики, содержат рабочее место в сухом состоянии.
Каждый
объект снабжается средствами для тушения пожаров. Количество первичных средств
пожаротушения, которыми снабжаются объекты, назначается в зависимости от их
характера и должно обеспечивать ликвидацию или нераспространение пожара до
прибытия пожарной службы.
Вода
является самым распространенным средством пожаротушения, так как она обладает
способностью поглощать большое количество тепла. При тушении пожара воду под
большим давлением (напором) в виде струй направляют на горящую поверхность.
Но
есть моменты, когда нельзя применять воду: при горении нефтепродуктов и
воспламенении проводки. Тогда применяют сухие и пенные огнетушители.
В
целях защиты окружающей среды необходимо постоянно поддерживать топливную
аппаратуру в исправном состоянии, и периодически проводить проверку на
содержание в выбрасываемых ими отработанных газах примесей углерода и свинца.
Следует
избегать загрязнения почвы и водоемов отработанными нефтерпродуктами,
кислотами, щелочами, различными отстоями. Отработанные масла и смазки должны
собираться и сдаваться нефтеснабжающим организациям на регенерацию
(восстановление).
Должны
быть установлены урны для отдельных видов отходов после ремонтных работ. Мусор
должен собираться в контейнеры у увозиться в специальные места для их хранения
или переработки. У всех вытяжных устройств должен быть исправен фильтрующий
элемент.
5. Технологический процесс перестановки ножей отвала
бульдозера ДЗ-110А
Перед
перестановкой ножей отвала бульдозера его необходимо установить на ровную
площадку с твердым покрытием, очистить отвал от загрязнений и внешним осмотром
убедиться в отсутствии на ножах трещин и сколов. При равномерном износе и
необходимости перестановки ножей под толкатели отвала устанавливаются колодки.
Ножи переставляются при износе свыше межцентрового расстояния.
Сначала
производится перестановка среднего ножа.
После
обследования ножей на наличие сколов и трещин, а также на равномерность износа
рожковым ключом на 22 отворачиваются гайки болтов, крепящих нож к подножевой
плите. Затем нож опускается до совмещения верхнего ряда отверстий в ноже с
отверстиями под болты в подножевой плите, вставляются болты и закручиваются
гайки. При вторичном износе кромки нож снимается с отвала, переворачивается на
90о и закрепляется в нижнем ряду отверстий.
Затем
производится перестановка бокового ножа.
Ножи
проверяются на наличие трещин и сколов. Также важен равномерный износ. При
соответствии ножей этим требованиям рожковым ключом на 22 отворачиваются гайки
болтов, которыми нож крепиться к подножевой плите. Нож опускается до совмещения
верхнего ряда отверстий в ноже с отверстиями под болты в подножевой плите,
вставляются болты и закручиваются гайки. Когда режущая кромка снова
изнашивается, нож снимается с отвала, переворачивается на 90о и закрепляется в
нижнем ряду отверстий.
В
заключительной операции технологического процесса перестановки ножей отвала
производится внешний осмотр и проверка правильности установки ножей. Режущая
кромка должна быть параллельна подножевой плите, равномерно заострена.
Параллельность проверяется с помощью измерительной рейки. Также проверяется
затяжка соединений, для чего можно использовать динамометрическую рукоятку. При
полном соответствии установки ножей всем требованиям, из-под толкателей отвала
убираются колодки, и отвал подготавливается к работе.
Слесарю
3-го разряда на перестановку ножей отвала требуется около 0,45 чел.-ч.
6. Экономическая часть
.1 Расчет стоимости рабочего оборудования
.1.1 Расчет затрат на материалы для изготовления
рабочего оборудования
Зм(р.о.)=(m
1,2
Ц)/1000, руб. (25)
где:
m - вес
рабочего оборудования, кг; m=2100кг;
,2
- коэффициент, учитывающий отходы;
Ц
- цена за 1 тонну материала, Ц=1551000руб;
Зм(р.о.)=(2100
1,2
1551000)/1000=3908520руб
Зр.о.=Тр.о.
Сч
1,7(1+Кдз)
1,2, руб. (26)
где:
Тр.о. - трудоемкость изготовления рабочего оборудования, чел.-ч.; Тр.о.=98
чел.-ч. - 2 человека в 7 смен;
Сч
- среднечасовая тарифная ставка;
Сч=Сч1
Кср
Кк, руб./час (27)
где:
Сч1 - часовая тарифная ставка рабочего первого разряда, руб./час;
Кср
- тарифный коэффициент 4-го разряда, Кср=1,57;
Кк
- корректирующий коэффициент повышения тарифных ставок, Кк=1,1;
(Постановление
Министерства труда и соц.защиты РБ от 14.02.07г. №23)
Сч1=(См/Фм)
К, руб./час, (28)
где:
См - месячная тарифная ставка рабочего (ДСТ-2, См=185000);
Фм
- месячный фонд рабочего времени, часов (из производственного календаря);
К
- отраслевой коэффициент повышения ставок рабочего (Постановление Министерства
труда и соц. Защиты РБ от 22.12.06г. №162; К=1,2);
Кдз
- коэффициент дополнительной заработной платы, Кдз=0,2;
,2
- коэффициент, учитывающий начисления на заработную плату;
-
процент отчисления в фонд занятости;
Сч1=(185000/169,3)
1,2=1310 руб./час
Сч=1310
1,57
1,1=2262 раб./час
Зр.о.=98
2262
1,7(1+0,2)
1,2=542663 руб.
6.1.3 Прямые затраты
Зпр(р.о.)=Зм(р.о.)+З(р.о.),
руб. (29)
Зпр(р.о.)=3908520+542663=4451183
руб.
6.1.4 Расчет накладных расходов
Нр(р.о.)=(Зпр(р.о.)
Унр)/100, руб., (30)
где:
Унр - уровень накладных расходов, Унр=150%;
Нр(р.о.)=(4451183
150)/100=6676775руб.
6.1.5 Стоимость рабочего оборудования
К(р.о.)=Зм(р.о.)+Зр.о.+Нр(р.о.),
руб. (31)
К(р.о.)=3908520+542663+6676775=11127958
руб.
.2 Цена рабочего оборудования
Цр.о.=К(р.о.)+НДС+П,
руб., (32)
где:
НДС - налог на добавленную стоимость, НДС=18%;
НДС=0,18(К(р.о.)+П-М),
руб., (33)
П
- прибыль, руб.;
П=(20
К(р.о.))/100, руб., (34)
где:
20 - 20% - уровень плановой рентабельности;
П=(20
11127958)/100=2225592 руб.
М
- затраты на материалы;
М=Зм(р.о.)+0,5
Нр(р.о.), руб. . (35)
М=3908520+0,5
6676775=7246908 руб.
НДС=0,18(11127958+2225592-7246908)=6106642
руб.
Цр.о.=11127958+6106642+2225592=19460192
руб.
6.3 Расчет себестоимости одной машино-смены без
модернизации
.3.1 Амортизационные отчисления
Асм=(Цб
1,24
На)/(100
120), руб. (36)
где:
Цб - цена бульдозера; Цб=412000000 руб.
,24
- коэффициент, учитывающий расходы на транспортировку
На
- норма амортизации, На=10%;
-
количество смен работы бульдозера;
Асм=(412000000
1,24
10)/(100
190)=268884 руб.
.4 Затраты на топливо
Зт=Нт
Т
Ксм
Цт, руб., (37)
где:
Нт - норма расхода топлива бульдозером, Нт=30л;
Цт
- цена одного литра топлива, по предприятию договорная, Цт=2010 руб.;
Т
- продолжительность смены, Т=8 часов;
Ксм
- коэффициент выполнения норм выработки, Ксм=0,7;
Зт=30
8
0,7
2010=337680 руб.
.4.1 Затраты на смазочные материалы
Зсм=0,2
Зт, руб., (38)
Зсм=0,2
337680=67536 руб.
6.5 Затраты на ТО и ремонт
Трудоемкость
То и ТР за цикл, Тч=1280, чел-ч
6.5.1 Зарплата по тарифу производственных рабочих
Зм=Тц
Сч, руб. (39)
Зм=1280
2262=2895360 руб.
6.5.2 Доплата за вредность
Д1=См
0,3
11, руб. (40)
Д1=185000
0,3
11=610500 руб.
6.5.3 Доплата за профессиональное мастерство
Д2=См
0,25
11, руб. (41)
Д2=185000
0,25
11=509750 руб.
Пр=Зм+Д1+Д2,
руб. (42)
Пр=2895360+610500+509750=4015610
руб.
6.5.5 Надбавка за непрерывный стаж работы
Д3=См
0,25, руб. (43)
Д3=185000
0,25=46250 руб.
6.5.6 Основная зарплата
Зосн=Зм+Пр+Д1+Д2+Д3,
руб. (44)
Зосн=2895360+4015610+610500+509750+46250=8077470
руб.
6.5.7 Дополнительная зарплата
Здоп=Зосн
0,12, руб., (45)
где:
0,12 - коэффициент дополнительной заработной платы;
Здоп=8077470
0,12=969296 руб.
6.5.8 Месячная зарплата
Змес=(Здоп+Зосн)/(11
1), руб. (46)
Змес=(8077470+969296)/(11
1)=822433 руб.
6.5.9 Общая сумма затрат на ТО и ремонт
Сто
и р=Зосн
2,7, руб. (47)
Сто
и р=8077470
2,7=21809169 руб.
6.5.10 Сумма затрат на То и ТР
З
то и тр=(Сто и р
0,98)/190, руб., (48)
где:
0,98 - коэффициент перехода от цикла к циклу;
Зто
и р=(21809169
0,98)/190=112489 руб.
6.6 Затраты на зарплату машинисту
Змаш=Т
Сч
1,7
1,5
1,2, руб. (49)
Змаш=8
2262
1,7
1,5
1,2=55374 руб.
6.7 Себестоимость одной
машино-смены
См-см(б)=Асм+Зт+Зсм+Зто и тр+Змаш+Нр, руб (50)
Нр=0,1
(Асм+Зт+Зсм+Зто и тр)+0,5
Змаш (51)
Нр=0,1
(268884+337680+67536+112489)+0,5
55374=106346 руб.
См-сб(б)=268884+337680+67536+112489+55374+106346=948309
руб.
.8
определение себестоимости одной машино-смены бульдозера после модернизации
рабочего оборудования
Асм(р.о.)=((Цб+Цр.о.)
1,24
На)/100
190, руб. (52)
Асм(р.о.)=((412000000+19460192)
1,24
10)/100
190=281585 руб.
Нр=0,1
(Асм(р.о.)+Зт+Зсм+Зто и тр)+0,5
Змаш, руб. (53)
Нр=0,1
(281585+337680+67536+112489)+0,5
55374=107616 руб.
Себестоимость равна:
См-см(р.о.)=Асм(р.о.)+Зт+Зсм+Зто и
тр+Змаш+Нр, руб. (54)
См-см(р.о.)=281585+337680+67536+112489+55374+107616=962280
руб.
.9
Капитальные вложения по бульдозеру без модернизации
Кб=См-см(б)/Пэ.см., руб. (55)
где: Пэ.см. - эксплуатационная
производительность бульдозера до модернизации рабочего оборудования;
Пэ.см.=285,7 м3/ч;
Кб=948309/285,7=3319 руб.
.10
Капитальные вложения по бульдозеру с модернизированным рабочим оборудованием
(56)
где: Пэ.см.(р.о.) - эксплуатационная
производительность Бульдозера после модернизации рабочего оборудования;
Пэ.см.(р.о.)=375,5 м3/ч.
.11
Экономический эффект от внедрения приспособления составит
Ээф=Кр.о.-Кб, руб. (57)
Ээф=3455-3319=136 руб.
6.12
Годовой экономический эффект от модернизации составит
Ээф.п.=Ээф
Пэ.см.(р.о.)
190, руб. (58)
Ээф.п.=136
375,5
190=9702920 руб.
Заключение
В процессе выполнения дипломного проекта
изучил возможные конструкции бульдозеров, а также классификацию бульдозеров по
различным признакам и параметрам. Кроме этого выбрал и рассчитал основные
параметры бульдозера, скорректировал их по стандартным значениям. Произвел
тяговый расчет бульдозера, в итоге которого выяснил, что тягового усилия,
развиваемого бульдозером, достаточно для выполнения работы в заданных условиях.
Произвел расчет механизма управления отвалом; определил усилие, действующее на
него при возникновении случайных нагрузок. По полученным данным произвёл расчёт
гидросистемы. Затем был произведен расчёт технической производительности и
сравнение её со стандартными значениями. Произвёл расчёт на прочность некоторых
соединений. Следующей стадией выполнения дипломного проекта стало выполнение
расчётов по экономической части и подведение итогов работы.
Список
литературы
1. Белецкий,
Б.Ф. Строительные машины и оборудование: справ. пособие/Б.Ф. Белецкий.
-Ростов-н/Д, 2002.-592с.:ил.-(Учебники и учебные пособия).
. Добронравов,
С.С. Строительные машины и оборудование: справочник/С.С. Добронравов. -М.,
1991.-456с. Жил.
. Куклин,
Н.Г., Куклина Г.С. Детали машин: учебник для машиностроительных специальностей
техникумов/Н.Г. Куклин, Г.С. Куклина. - М., 1987.-383с.: ил.
. Вопросы
охраны труда и окружающей среды в дипломных проектах: методические рекомендации
для учащихся ССУЗ технических специальностей/Л.Н. Кравченко, В.Г. Шабель, З.И.
Лагутина, Л.П. Кузнецова. - Мн., 2001.-40с.
. Строительные
машины: справочник. В 2-х томах. Т.1. машины для строительства промышленных,
гражданских сооружений и дорог/ под ред. Э.Н. Кузина. -5-е изд., перераб. -М.,
191-496с.: ил.
. Строительные
машины: учебник/ под ред. Д.П. Волкова. -М., 1988. -319с.:ил.
. Щемелев,
А.М. Проектирование гидропривода машин для земляных работ: учеб. пособие/А.М.
Щемелев. -Могилёв, 1995.-322с.:ил.
. Шестопалов,
К.К. Подъемно-транспортные, строительные и дорожные машины и оборудование:
учеб. пособие/К.К. Шестопалов. 2-е изд., испр. -М., 2005.-302с.- (Среднее
специальное образование).
. Единые
нормы амортизационных отчислений.
. Постановление
С.М. РБ от 26 сентября 2003г. №1220.
. Сборник
патентов секции СДМ и оборудования.
. Производственный
календарь за 2009 год.
. Курсовой
и дипломный проект по экономике: методические указания.